САУ армии США: позор Америки

Зря заокеанские «стратеги» решили помериться с Россией стволами
Американское издание The National Interest в своей ревизии российского оружия дошло до самоходных артиллерийских установок (САУ), являющихся гаубицами на гусеничном ходу. Сопоставление с американским оружием этого типа получилось весьма однобоким, поскольку американский эксперт мог предложить для сравнения только одну использующуюся в Сухопутных войсках США гаубицу — М109 (см. верхнее фото). Точнее две ее модификации.
В российской армии используется почти десять самоходок, имеющих калибры от 120 мм до 240 мм, что полезно для решения различных боевых задач. То есть, нет необходимости лупить из 240-мм самоходного миномета, что называется, по воробьям. Для этого есть орудия с более скромной огневой мощью.
Выводы, которые завершают статью, также в высшей степени оригинальны. Да, этот тип российского оружия более эффективен, чем в армии США, но зато американская концепция самоходной артиллерии более прогрессивна.
Вот что говорится о самой растиражированной САУ M109A6 «Паладин» калибра 155 мм: «Это надежная и точная система, но по огневой мощи ее превосходят и российские, и европейские, и азиатские артиллерийские установки». К ее достоинствам автор в первую очередь относит быструю смену позиции с целью уйти от ответного контрбатарейного огня противника.
«Палладин» не имеет автомата заряжания, весь процесс осуществляется вручную. В связи с чем самоходка имеет рекордно низкую скорострельность — 1 выстрел в минуту. В боекомплект входят 28 снарядов различных типов — обычные, активно-реактивные (с реактивным двигателем) и корректируемые. У российских САУ боекомплект достигает полусотни снарядов.
Базовая модификация М109 начала воевать еще во Вьетнаме в начале 70-х годов. Модификация «Паладин» — предпоследняя, но наиболее используемая в американской армии. Она имеет несколько, можно сказать, атавистических механизмов. Так, не только откатный механизм, но и механизм наводки имеют гидравлический привод. Доводка ствола производится механически — вручную. Используется оптический прицел.
Дальность стрельбы обычными снарядами — 14,5 км, активно-реактивными — 19,5 км.
Вершина самоходной американской артиллерии — гаубица М109А7, появившаяся в 2012 году. В ней используется орудие, имеющее большую огневую мощь, а также 670-сильный двигатель вместо 400-сильного. Самоходку «научили» плавать. Гидравлические приводы заменили на электрические. Ввели электронную систему управления огнем. Но при этом введение автомата заряжания не оправдало надежд на существенное повышение скорострельности. Она равна 4 выстрелам в минуту, это почти позорный показатель. Тем не менее, новую модификацию можно считать немалым шагом вперед.
Возросла дальность стрельбы. Для обычных снарядов — до 18 км, для активно-реактивных — до 24 км. В боекомплект входят 40 снарядов.
Российские самоходки дошли до наших дней также в результате череды модернизаций. К САУ самого мощного гаубичного калибра 152 мм относятся 2С3 «Акация» и
САУ «Мста-С»
Сравнение, например, с «Мстой-С» 2С19М2 образца 2012 года более щадяще для американского самолюбия. Дальность стрельбы осколочно-фугасными снарядами — 30 км, активно-реактивными — 41 км. При этом скорострельность достигает 10 выстрелов в минуту.
Динамика эволюции этой самоходки выше, чем у американской М109. Базовая модификация была принята на вооружение в 1989 году. А теперь серийно выпускается уже четвертая модификация. Причем одна из них — экспортная, она сделана под натовский калибр 155 мм.
Для 2С19М2 разработали модернизированную гаубицу 2А64М2 с повышенной эффективностью огня и скорострельностью. На самоходку установили новую систему управления огнем, которая стала электронной. Благодаря этому удалось не только повысить точность стрельбы, но и поражать одну цель с разных баллистических направлений. Введена новая система навигации, один из каналов которой получает сигналы от спутниковых сетей ГЛОНАСС/GPS. Также снижены радиолокационная и тепловая заметность самоходной гаубицы.
Самым мощным российским самоходным орудием является миномет калибра 240 мм 2С4 «Тюльпан». Несмотря на то, что он снят с производства в 1988 году, миномет продолжает эксплуатироваться в связи с тем, что имеет громадную огневую мощь. Он предназначен для уничтожения наиболее прочных фортификационных сооружений и объектов, с которыми трудно справиться орудиям меньших калибров. Легко расправляется с бронетехникой, способен выводить из строя крупные соединения живой силы. Для особых случаев предусмотрен ядерный заряд мощностью в 2 килотонны.
Самоходный миномет калибра 240 мм 2С4 «Тюльпан»
Это единственное в мире самоходное орудие такого калибра. К этой проблеме в свое время пытались подступиться японские конструкторы (273 мм) и американские (250 мм). Однако созданные ими опытные образцы выдерживали не более десяти выстрелов, после чего приходили в полную негодность.
У «Тюльпана» получилась прекрасная дальность, достигающая 20 км. И полный спектр боеприпасов: фугасные, зажигательные, кассетные, ядерные. Максимальная масса взрывчатого вещества приближается к 50 кг. Среди них есть управляемая мина «Смельчак-М», имеющая лазерное наведение на цель.
Ну, и, наконец, о САУ калибра 152 мм 2С35 «Коалиция-СВ». Сравнивать ее с американской самоходкой бессмысленно, ввиду явного преимущества. Но и лучшие иностранные — немецкие, японские, корейские — «Коалиция-СВ» превосходит в 1,5−2 раза.
За счет того, что в качестве шасси используется платформа «Армата», «Коалиция-СВ» максимально предохранена от поражения ответным огнем за счет использования активной защиты. Экипаж находится внутри бронированной капсулы и с боекомплектом не соприкасается.
САУ калибра 152 мм 2С35 «Коалиция-СВ»
Все операции автоматизированы, начиная от использования пневматического автомата заряжания орудия, до расчетов траектории полета снаряда в зависимости от целого ряда параметров, к которым, например, относятся температура ствола и его изношенность, состояние атмосферы, скорость и направление перемещения цели. Экипаж управляет стрельбой, а, по сути, лишь задает цели для их поражения при помощи компьютерной системы.
Впрочем, самоходка «Коалиция-СВ» и вовсе может обходиться без вмешательства экипажа
Главный элемент самоходки — гаубица 2А88 калибра 152 мм. Длина нарезного ствола — 52 калибра или около 7,5 метра. Орудие имеет модульное (картузное) заряжание — воспламеняющийся заряд и снаряд не объединены гильзой, а подаются в камору раздельно. Причем для достижения необходимой дальности стрельбы возможно использовать для одного снаряда необходимое количество зарядов (от одного до шести). Все это осуществляется автоматически, вплоть до подбора необходимых заряда и снаряда.
«Коалиция-СВ» обладает рекордной скорострельностью. Точные данные по этому параметру хранятся в секрете. Известно лишь, что она не меньше 15 выстрелов в минуту. Правда, существует полуофициальная информация относительно того, что во время испытаний удалось добиться скорострельности в 22 выстрела в минуту. Однако и 15 — это тоже очень много, таких результатов нет ни у одной гаубицы. Лучший результат для западных гаубиц — 10 выстрелов в минуту — принадлежит немецкой САУ PzH-2000.
В процессе полигонных стрельб неоднократно удавалось посылать снаряды в одну и ту же воронку. Столь высокая точность стрельбы основывается на использовании в некоторых разновидностях снарядов лазерной головки самонаведения.
О том, насколько российские конструкторы артиллерийских систем опередили своих западных коллег, можно получить достаточное представление при сравнении характеристик ряда иностранных САУ с российской гаубицей.
ТТХ «Коалиция-СВ», PzH-2000 (ФРГ), К9 (Ю.Корея), М109А7 (США)
Масса САУ, т: 48 — 55 — 57 — 36
Калибр, мм: 152 — 155 — 155- 155
Длина ствола, калибры: 52 — 52 — 52 — 39
Боезапас: 70 — 60 — 48 — 40
Дальность стрельбы, км: 40 — 30 — 30 — 18
Дальность стрельбы реактивными снарядами, км: 70 — 50 — 50 — 24
Скорострельность, выстр./мин: 15 — 10 — 8 — 4
/Владимир Тучков, svpressa.ru/
army-news.ru
САУ США — вся ветка американских САУ Второй Мировой войны в World Of Tanks
Назад к учебнику танкиста
Статье требуется доработка напильником
Оформление и содержание статьи не соответствует требованиям проекта.
Американские САУ в World of Tanks обладают обладают такими характерными чертами как, хорошие углы наводки вкупе с неплохой подвижностью и небольшими габаритами. Огневая мощь принесена в жертву скорострельности, однако в финале американцы с лихвой навёрстывают упущенное. Рассмотрим краткий обзор моделей данной категории техники.
Для своего класса отличный танк: высокая скорострельность, толстая броня (среди конкурентов), маневренность. Характеристики этого танка помогут вам выступить не только в роли САУ, но и ПТ-САУ. Хороший угол горизонтальной наводки и высокая убойность делает этот танк лучшим в низкоуровневых боях.Часто его называют непробиваемым. Этот американский САУ преподносит нам ужасное стоковое орудие, низкую скорость сведения, но очень большой боекомплект (126 снарядов), после покупки новой пушки — 105mm Howitzer M4, мы получаем высокую дальность стрельбы и более высокую скорострельность, но скорость сведения не очень радует. При умелых руках может преподнести хорошее количество денег и опыта. Основная САУ США во Второй Мировой войне. Орудие, доставшееся от М37, имеет очень маленькую дальность стрельбы, а так-же низкую броне пробиваемость. Покупая модули мы ухудшаем динамику САУ, но имеем пушку с отличной дальностью стрельбы и быстрой перезарядкой, опять же как и у всех американских САУ получаем хороший угол горизонтальной наводки. Кроме того, M7 Priest есть очень хорошая особенность: нижний бронелист имеет 100 мм наклонной брони, что может оказаться очень неприятным сюрпризом для врагов. Первая серьезная американская САУ в WoT, в топ пушке ошибки будут стоить нам дорого (учитывая стоимость снарядов), но все-же она приносит очень-таки хороший доход. Мы теряем высокий боекомплект (18 снарядов), но приобретаем пушку со средней точностью и хорошей скорострельностью. Если вы хотите использовать эту САУ для фарма, то лучше использовать первое орудие, которое к тому же гораздо быстрее сводится. До некоторого времени являлась самой убыточной САУ, но в патче 0.6.5 этот печальный недостаток исправили. Общие впечатления от M12 ужасны: она неповоротлива, плохо бронирована, с малым углом поворота орудия и малой скоростью сведения, а так же с большим разбросом, что связано с большой скоростью поворота ствола. Скорострельность стоковой пушки достаточно высока для своего класса, но плохая точность не даёт воспользоваться этим плюсом в полной мере, так как цена снаряда переваливает за 1200. Из плюсов можно отметить достаточно высокий урон и скорострельность, а так же наибольшую дальность связи среди САУ своего класса. Эта машина стоит того, чтобы до неё дойти. Благодаря орудию 203 мм, её огневая мощь без всяких скидок сравнялась с одноклассниками, а шасси танка Шерман обеспечивает хорошую подвижность. Добавим к этому отличные углы наводки орудия и сравнительно небольшие размеры. В итоге мы имеем отличную САУ, которая не спасует даже в ближнем бою. Вершина развития американской ветки САУ. 240 мм орудие — мощнейшее в игре и это заставляет мириться со всеми недостатками Т92. А их у неё хватает: беспомощность в ближнем бою из-за невозможности опустить ствол для огня прямой наводкой, долгое сведение и низкая точность. К тому же, как и всякая топовая техника, эта САУ убыточна из-за очень дорогого ремонта.Американские САУ периода Второй Мировой войны. Часть I » Военное обозрение
В период между двумя мировыми войнами было создано несколько различных стратегий ведения боевых действий. Согласно одной из них – она в будущем наглядно покажет свою эффективность – главным ударным средством армии должны были стать танки. Благодаря сочетанию ходовых и огневых качеств, а также при помощи хорошей защиты эта техника могла взламывать оборону противника и сравнительно быстро продвигаться вглубь позиций противника, имея незначительные потери. Единственным классом вооружения, который мог бороться с бронемашинами, была артиллерия. Однако при большой огневой мощи она имела недостаточную мобильность. Нужно было нечто, обладающее и хорошими показателями бронепробиваемости, и достаточной подвижностью. Компромиссом между этими двумя вещами стали противотанковые самоходные артиллерийские установки.Первые попытки
В Соединенных Штатах Америки создание самоходных противотанковых артустановок началось почти сразу после окончания Первой Мировой войны. Правда, тогдашние САУ оказались неудачными – ни о каком принятии на вооружение речи не шло. Про тематику противотанковых самоходок вспомнили только в середине тридцатых. В качестве эксперимента была доработана 37-миллиметровая полевая пушка: ее калибр увеличился на 10 мм. Противооткатные устройства и лафет были переработаны так, чтобы орудие можно было поставить в импровизированной рубке на шасси легкого танка M2. Машина получилась оригинальной и, как казалось ее создателям, перспективной. Однако первые же испытания показали несостоятельность произведенной переделки орудия. Дело в том, что увеличение калибра повлекло за собой уменьшение относительной длины ствола, что, в конечном счете, сказалось на начальной скорости снаряда и максимальной толщине пробиваемой брони. Про самоходные артиллерийские установки снова на время забыли.
Окончательное возвращение к идее самоходного истребителя танков состоялось в самом начале 1940 года. В Европе уже несколько месяцев шла Вторая Мировая война и за океаном прекрасно знали, как именно наступают германские войска. Главным наступательным средством немцев были танки, а это значило, что в самое ближайшее время все страны, которые могут быть втянуты в конфликт, станут развивать свои бронетанковые войска. Снова возникла идея создать и довести до ума противотанковую самоходку. Первый вариант повышения мобильности 37-мм пушки M3 был простым. Предлагалось сделать простую систему для крепления орудия на автомобилях Dodge серии 3/4 ton. Получившаяся САУ T21 выглядела очень и очень непривычно. До этого на автомобилях устанавливались только пулеметы, а пушки транспортировались исключительно при помощи буксировочных устройств. Но все же главной проблемой новой «самоходки» была не необычность. Автомобильное шасси не имело никакой защиты от пуль и осколков, а его габаритов было недостаточно для размещения всего расчета и достаточного количества боеприпасов. Как следствие, экспериментальный образец импровизированной САУ T21 так и остался в единственном экземпляре.

Противотанковое орудие калибра 37 мм пытались приспособить на джип неоднократно, но ограниченные размеры кузова автомобиля повышенной проходимости не позволяли разместить в нем еще и расчет с боекомплектом
По состоянию на 1940 год, противотанковые пушки калибра 37 миллиметров все еще были достаточным «аргументом» против вражеской брони. Однако в самые ближайшие годы следовало ожидать рост толщины брони и ее устойчивости к снарядам. Для перспективного истребителя танков калибр 37 мм был недостаточен. Поэтому в конце 1940 года началось создание гусеничной самоходки с трехдюймовым орудием. За основу для новой машины взяли конструкцию трактора фирмы Cleveland Tractor Company, использовавшегося в качестве аэродромного тягача. В задней части усиленного корпуса шасси установили орудие со щитом. 75-миллиметровая пушка M1897A3, восходящая еще к французской конструкции XIX века, была немного доработана с учетом особенностей эксплуатации на самоходном шасси. Теперь она носила название T7. Сама же САУ получила обозначение T1. Огневая мощь новой самоходки была впечатляющей. Благодаря хорошему калибру ее можно было использовать не только против бронетехники противника. В то же время, ходовая часть T1 оказалась перетяжеленна, вследствие чего регулярно возникали проблемы технического характера. Тем не менее, военно-политическая ситуация в мире стремительно изменялась и обстановка требовала новых решений. Поэтому в январе 1942 года новая САУ была принята на вооружение под индексом M5 Gun Motor Carriage. Военные заказали 1580 единиц M5, но фактический выпуск ограничился всего лишь несколькими десятками. Шасси бывшего трактора плохо справлялось с новыми нагрузками и задачами, его требовалось значительно изменить, но все работы в этом направлении ограничивались лишь небольшими доработками. Как следствие, к моменту готовности начать крупносерийное производство на вооружении армии США были более новые и совершенные САУ. Программу M5 свернули.
M3 GMC
Одной из тех машин, которые поставили крест на самоходке M5, была артиллерийская установка на базе новенького бронетранспортера M3. В боевом отделении полугусеничной машины смонтировали металлическую конструкцию, которая одновременно служила опорой для пушки и контейнером для боекомплекта. В ячейках опоры размещалось 19 снарядов калибра 75 миллиметров. Еще четыре десятка можно было уложить в ящики, находившиеся в задней части САУ. На опорной конструкции размещалась пушка M1897A4, которая могла наводиться по горизонтали на 19° влево и 21° вправо, а также в секторе от -10° до +29° по вертикали. Бронебойный снаряд M61 на расстоянии в километр пробивал не менее 50-55 миллиметров брони. Установка на бронетранспортер достаточно тяжелой пушки и укладок для боекомплекта почти не сказалась на ходовых качествах бывшего бронетранспортера. Осенью 1941 года самоходку приняли на вооружение под обозначением M3 Gun Motor Carriage (M3 GMC) и запустили в серию. За почти два года было собрано более 2200 единиц, которые использовались до конца войны.

Истребитель танков Т-12 представлял собой полугусеничный бронеавтомобиль М-3 «Хэлфтрэк», вооруженный 75-мм орудием М1987М3
В боях на островах Тихого океана M3 GMC показали хорошие способности в борьбе не только с танками, но и с укреплениями противника. Касаемо первых можно сказать следующее: японские бронемашины, обладая не очень серьезной защитой (броня танка Чи-Ха имела толщину до 27 мм), при попадании снаряда пушки M1897A4 гарантированно уничтожались. В то же время, собственное бронирование американских самоходок не выдерживало 57-мм снаряды танков Чи-Ха, из-за чего в бою этих бронемашин не было заведомого фаворита. Еще в самом начале массового производства M3 GMC получили несколько нововведений в конструкции. Прежде всего, была изменена противопульная защита расчета пушки. По результатам опытной эксплуатации прототипов и первых серийных машин на Филиппинах, вместо щитка был установлен металлический короб. Часть самоходок M3 GMC смогла дожить до конца Второй Мировой войны, хотя доля таких машин невелика. Ввиду слабой защиты, которая не выдерживала попадание снарядов большинства полевых и тем более противотанковых орудий, в последние месяцы войны более 1300 САУ были переоборудованы в бронетранспортеры – для этого требовалось демонтировать пушку и ее опору, укладки снарядов, а также переместить топливные баки из кормовой части машины в среднюю.
На базе «Генерала Ли»
Несмотря на значительный боевой стаж, самоходка M3 GMC изначально должна была стать всего лишь временной мерой в ожидании более солидной техники с серьезным бронированием. Немного позже разработки M3 GMC было начато два проекта, которые и должны были прийти ей на смену. Согласно первому, на шасси легкого танка M3 Stuart требовалось установить гаубицу M1 калибра 75 миллиметров. Второй проект подразумевал бронемашину на основе среднего танка M3 Lee, вооруженную пушкой M3 того же калибра, что и в первом варианте. Как показали расчеты, трехдюймовая гаубица, расположенная на шасси легкого танка «Стюарт» могла успешно бороться не только с танками и укреплениями противника. Значительной отдачи хватило бы еще и для довольно быстрого выведения из строя собственного шасси. Проект «Стюарта» с гаубицей закрыли за бесперспективностью.

Т-24 представлял собой «промежуточный вариант» истребителя танков
Второй проект САУ, который имел в своей основе танк M3 Lee, продолжили под обозначением T24. К осени был построен первый прототип. Фактически, он представлял собой тот же самый танк «Ли», но без крыши бронекорпуса, без башни и с демонтированным спонсоном для родной 75-мм пушки. Ходовые характеристики самоходки оказались не хуже, чем у исходного танка. А вот с боевыми качествами возникла целая проблема. Дело в том, что система крепления орудия M3 делалась на базе существующего оборудования для зенитных пушек. Ввиду такого «происхождения» опорной системы наведение орудия на цель представляло собой сложную и длительную процедуру. Во-первых, возвышение ствола регулировалось в пределах всего от -1° до +16°. Во-вторых, при повороте пушки для наведения по горизонтали начинал «гулять» минимальный угол возвышения. В крайних точках горизонтального сектора шириной по 33° в обе стороны он составлял +2°. Само собой, военные не хотели получить пушку с такими премудростями и потребовали переделать злополучный узел. Кроме того, нарекания вызвала большая высота машины с открытым верхом рубки – лишний раз рисковать экипажем тоже никто не хотел.
В декабре 1941 года по предложению командующего сухопутных войск генерала Л. Макнэйра в Форт-Миде был открыт Tank Destroyer Center – «Центр истребителей танков». Предполагалось, что эта организация сможет эффективно собирать, обобщать и использовать полученный опыт, касающийся облика и эксплуатации противотанковых самоходок. Стоит отметить, что генерал Макнэйр был ярым сторонником этого направления бронетехники. По его мнению, танки не могли со всей возможной эффективностью бороться с танками. Для обеспечения перевеса требовались дополнительные бронемашины с солидным вооружением, какими и были САУ. Кроме того, 7 декабря Япония напала на Перл-Харбор, после чего Соединенным Штатам пришлось увеличить финансирование ряда оборонных программ, в список которых попали и противотанковые самоходные артустановки.

Шасси танка М-3, которое использовалось при создании истребителя танков Т-24, послужило базой и для самоходки Т-40. Истребитель танков Т-40 отличался от неудачного предшественника более низким силуэтом и более мощным орудием. По результатам испытания самоходку Т-40 приняли на вооружение под обозначением М-9
К началу 1942 года проект T24 был значительно переработан. Путем перекомпоновки внутренних объемов танкового шасси ощутимо снизили общую высоту машины, а также поменяли систему крепления пушки и само орудие. Теперь углы горизонтальной наводки составляли 15° и 5° вправо от оси и влево соответственно, а возвышение регулировалось в пределах от +5° до 35°. Ввиду дефицита пушек M3 обновленная самоходка должна была нести зенитную пушку M1918 того же калибра. Кроме того, конструкция шасси претерпела еще несколько изменений, из-за которых было решено выдать новой САУ новый индекс – T40. С новой пушкой самоходка почти не проиграла в боевых качествах, зато выиграла в простоте производства – тогда казалось, что проблем с ним не будет. Весной 42-го T40 была принята на вооружение под названием M9. На заводе в Пенсильвании уже было построено несколько экземпляров новой самоходки, но тут свое слово сказало руководство Центра истребителей танков. По его мнению, M9 имела недостаточную проходимость и скорость. Кроме того, внезапно выяснилось, что на складах не наберется и трех десятков пушек M1918, а возобновлять их производство никто не даст. Поскольку времени на очередную доработку проекта не было, производство свернули. В августе 42-го M9 окончательно закрыли.
M10
САУ M9 была не совсем удачным проектом. В то же время, она наглядно показала принципиальную возможность переделки среднего танка в носитель тяжелого артиллерийского вооружения. Одновременно с этим военные не одобрили идею истребителя танков, не оснащенного башней. В случае с углами наводки орудия САУ T40 это оборачивалось невозможностью обстрела цели, движущейся перпендикулярно оси орудия. Все эти проблемы требовалось решить в проекте T35, который должен был оснащаться 76-миллиметровой танковой пушкой и вращающейся башней. В качестве шасси для новой самоходки предложили средний танк M4 Sherman. Для простоты конструкции за основу для комплекса вооружения была взята башня тяжелого танка M6, оснащавшаяся пушкой M7. У исходной башни изменили форму бортов с целью упрощения производства. Серьезнее пришлось поработать над бронированным корпусом шасси танка M4: толщину лобовых и кормового листов уменьшили до дюйма. Лоб танка не изменяли. Благодаря ослаблению защиты удалось сохранить подвижность на уровне исходного «Шермана».

Опыт боев на Филиппинах наглядно продемонстрировал преимущества рационального наклона бронелистов, в результате изначальный корпус танка «Шерман», послуживший базой для создания истребителя танков Т-35, пришлось перепроектировать. Самоходка, имевшая корпус с установленными под наклоном бортами, получила обозначение Т-35Е1. Именно эта машина была запущена в серийное производство под наименованием М-10
В самом начале 1942 года первый прототип самоходки T35 отправился на Абердинский полигон. Огневые и ходовые качества опытного образца удовлетворили военных, что нельзя было сказать об уровне защиты и удобстве работы внутри тесной башни. Во время начала испытаний с Тихого океана и из Европы стали приходить первые сообщения об эффективности наклонного расположения броневых листов. Это ноу-хау привлекло внимание заказчика в лице американского военного ведомства, и он не преминул вписать соответствующий пункт в технические требования к самоходке. К концу весны 42-го были построены новые прототипы с рациональным наклоном бортовых листов. Этот вариант САУ с названием T35E1 оказался значительно лучше предыдущего, его рекомендовали к принятию на вооружение. К тому времени поступило новое предложение технологического характера: делать бронекорпус из катаных листов, а не из литых плит. Вместе с корпусом предлагалось переработать и башню, но это оказалось не так-то просто. В итоге была создана новая конструкция без крыши, имевшая пятиугольную форму. В конце лета 42-го T35E1 была принята на вооружение под названием M10, а в сентябре началось серийное производство. До конца следующего 1943 года было построено более 6700 бронемашин в двух модификациях: по ряду технологических причин в одной из них была значительно переработана силовая установка. В частности, дизельный двигатель был заменен бензиновым.
Некоторое количество самоходок M10 по ленд-лизу было поставлено в Великобританию, где они получили обозначение 3-in. SP Wolverine. Кроме того, англичане самостоятельно модернизировали поставляемые M10, устанавливая на них пушки собственного изготовления. 76-миллиметровые QF 17-pdr. Mk. V давали ощутимый прирост в эффективности огня, хотя и требовали некоторых доработок. В первую очередь, приходилось значительно изменять конструкцию креплений пушки, а также наваривать на броневую маску орудия дополнительную защиту. Последнее делалось для закрытия щели, образовывавшейся после установки в старую маску новой пушки, чей ствол имел меньший диаметр, нежели у M7. Кроме того, английское орудие оказалось тяжелее американского, из-за чего на задней части башни пришлось добавить противовесы. После такой доработки M10 получали обозначение 76 mm QF-17 Achilles.

Истребитель танков M10, вооруженный 90-мм орудием T7, на испытаниях
M10 стали первым типом американских САУ, который одновременно получил и хорошее вооружение, и достойную защиту. Правда, боевой опыт вскоре показал, что эта защита была недостаточна. Так, открытая сверху башня часто приводила к большим потерям личного состава при действиях в лесах или городах. Поскольку в штабах и конструкторских бюро проблемой повышения защищенности никто не занимался, экипажам приходилось самостоятельно заботиться о своей безопасности. На броне размещались мешки с песком, траки гусениц и т.д. В прифронтовых мастерских на башню устанавливались импровизированные крыши, что привело к значительному сокращению потерь среди экипажей.

САУ M10 «Уолверайн» (M10 3in. GMC Wolverine) 702-го батальона истребителей танков, подбитая немецкой артиллерией на улицах Ибаха (Ubach), Германия. Серийный номер на лобовом листе машины закрашен цензором

САУ M10 «Уолверайн» (M10 3in. GMC Wolverine) 601-го батальона истребителей танков армии США на дороге в Ле Клавье, Франция

Репетиция высадки на песчаные пляжи батальона истребителей танков M10 и нескольких рот пехоты в Слапстон Сэндс (Slapton Sands) в Англии

Замаскированный истребитель танков M10 703-го батальона 3-й бронетанковой дивизии и танк M4 «Шерман» двигаются через перекресток дорог между Луже-Сюр-Мэр (Louge-sur-Maire), Ла Белланжери (La Bellangerie) и Монтрей-о-Улм (Montreuil-au-Houlme)

M10 ведет огонь в районе Сен-Ло

M10 из состава 701-го танкового истребительного батальона двигается по горной дороге в поддержку 10-й горной дивизии, которая продвигается к северу от Poretta к долине реки По. Италия
По материалам сайтов:
http://vadimvswar.narod.ru/
http://armor.kiev.ua/
http://alternathistory.org.ua/
http://wwiivehicles.com/
http://onwar.com/
http://militaryhistoryonline.com/
topwar.ru
M44. САУ. (США)

M44. САУ. (США)
M44 — американская самоходная артиллерийская установка. Относится к классу самоходных гаубиц.
Самоходная установка M44 была создана фирмой «Массей Харрис» на базе агрегатов легкого танка M41 «Уокер Бульдог». Она являлась самой большой и тяжелой машиной семейства этого танка — ее боевая масса равнялась 28 т и предназначалась для замены 155-мм самоходной гаубицы M41, выпускавшейся с 1945 года. Серийное производство M44 началось с 1951 года. На самоходной гаубице M44 была принята компоновка с передним расположением моторно-трансмиссионного отделения. Для охлаждения трансмиссии и двигателя в верхнем лобовом листе и на крыше корпуса были предусмотрены специальные жалюзи, через которые воздух попадал к агрегатам силовой группы.
M44 вооружалась 155-мм гаубицей и 12,7-мм зенитным пулеметом, который монтировался слева в задней части боевого отделения на простой турели, обеспечивавшей круговой обстрел.
Открытое сверху боевое отделение располагалось в кормовой части корпуса и было защищено противопульной броней. Задняя стенка боевого отделения откидывалась и служила площадкой для боевого расчета, боковые стенки могли сниматься. Все члены экипажа размещались внутри боевого отделения. Сиденье водителя находилось слева сверху, что несколько усложнило органы управления. Сиденье командира машины располагалось справа от орудия. На марше при натянутой брезентовой крыше наблюдение из боевого отделения велось через ветровое стекло.

M44. САУ. (США)
155-мм гаубица M44, снабженная затвором поршневого типа, заряжалась вручную выстрелами раздельного заряжания с помощью пружинно-гидравлического досылателя, который облегчал работу заряжающего, гарантировал полноту досылания и обеспечивал высокую скорострельность, однако гаубица могла заряжаться и без досылателя. Для наведения орудия в цель использовался панорамный прицел и телескопический прицел прямой наводки. Орудийная установка оснащалась гидравлической противооткатной системой с уменьшенной величиной отката, что позволило использовать освободившееся в боевом отделении место для увеличения углов вертикальной и горизонтальной наводки. Угол возвышения гаубицы составлял +65°, склонения -5°, в горизонтальной плоскости наведение орудия осуществлялось в секторе ±30° относительно продольной оси машины.
Максимальная дальность стрельбы при использовании стандартного фугасно-осколочного снаряда составляла 14600 м. Боеукладка позволяла производить несколько выстрелов без изменения положения орудия для доступа к снарядам.
В моторно-трансмиссионном отделении машины установлен карбюраторный шестицилиндровый двигатель воздушного охлаждения с турбонаддувом AOS-895-3 мощностью 367 кВт при 2800 об/мин, который позволял машине двигаться по дорогам с твердым покрытием с максимальной скоростью 56 км/ч.
Для уменьшения удельного давления на грунт и повышения устойчивости ходовая часть машины была удлинена на один опорный каток на борт. Эти катки являлись одновременно направляющими колесами. Кроме того, в кормовой части имелся сошник с гидравлическим механизмом управления. Благодаря повышенной устойчивости САУ могла вести огонь с ходу, а при использовании сошника — и на подъемах в 12—15°.
В 1956 году самоходная гаубица M44 была модернизирована путем установки двигателя с непосредственным впрыском топлива AOSI-895-5 фирмы «Континентал». Модернизированный образец получил наименование M44A1.
По заказу турецкой армии на базе M44 германским консорциумом была разработана самоходная гаубица, получившая обозначение M44T. Вместо прежней артиллерийской части на ней была установлена качающаяся часть 155-мм буксируемой гаубицы FH-70, новый дизельный двигатель, новые топливные баки и электрические системы. Последующие изменения вносились турецкими специалистами в процессе эксплуатации машины.
Серийное производство 155-мм самоходной гаубицы M44 завершено. Машины этого типа состоят на вооружении сухопутных войск Греции, Иордании, Тайваня и Турции (усовершенствованные системы M44T).

M44. САУ. (США)
Характеристики:
- Боевая масса, т: 29,0;
Компоновочная схема: моторное отделение спереди, боевое и управления в рубке сзади;
Экипаж, чел.: 5;
Количество выпущенных, шт.: около 600;
Длина корпуса, мм: 6160;
Ширина корпуса, мм: 3239;
Высота, мм: 3112;
Клиренс, мм: 480;
Тип брони: стальная катаная гомогенная; Лоб корпуса (верх), мм/град. 13 / 52—81°; Лоб корпуса (низ), мм/град. 13 / 40—66°; Борт корпуса, мм/град. 13 / 0°; Корма корпуса, мм/град. 13 / 0°; Днище, мм 10; Маска орудия, мм/град. 13; Борт рубки, мм/град. 13 / 0°; Корма рубки, мм/град. 13 / 0°; Крыша рубки, мм/град. открытая;
Калибр и марка пушки: 155-мм M45;
Тип пушки: гаубица;
Длина ствола, калибров: 23,2;
Боекомплект пушки: 24; Углы ВН, град. −5…+65; Углы ГН, град. ±30;
Дальность стрельбы, км: 15;
Прицелы телескопический: M93, панорамный телескопический M12A7K;
Пулеметы: 1 × 12,7-мм M2HB;
Тип двигателя: оппозитный 6-цилиндровый карбюраторный воздушного охлаждения;
Мощность двигателя, л. с.: 500;
Скорость по шоссе, км/ч: 56;
Запас хода по шоссе, км: 120;
Удельная мощность, л. с./т: 15,6;
Тип подвески: индивидуальная торсионная с гидравлическими амортизаторами;
Удельное давление на грунт, кг/см²: 0,71;
Преодолеваемый подъем, град.: 30;
Преодолеваемая стенка, м: 0,75;
Преодолеваемый ров, м: 1,85;
Преодолеваемый брод, м: 1,05.
modernweapon.ru
M107. САУ. (США)

M107. САУ. (США)
M107 — американская самоходная артиллерийская установка калибра 175 мм 1960-х годов.
В 1956 году вашингтонская фирма «Pacific Car & Foundry» получила заказ на разработку аэротранспортабельной самоходной артиллерийской установки и, начиная с 1958 года, на базе одного и того же шасси построила три различные машины: 175-мм самоходную пушку T235, которая впоследствии была стандартизована как M107; 203,2-мм самоходную гаубицу T236 – будущую M110, 155-мм самоходную пушку T245, которая очень быстро отправилась на свалку, небронированную ремонтно-эвакуационную машину T119 и бронированную ремонтно-эвакуационную машину T120.

M107. САУ. (США)
Базой для всех вышеперечисленных самоходных артсистем стало универсальное гусеничное шасси T249, созданное с целью повышения подвижности, увеличения дальности действия, обеспечения авиатранспортабельности и унификации базы самоходной артиллерии большой мощности. Особенностями нового гусеничного шасси были небольшие габариты и вес, сравнительно высокая грузоподъемность, обеспечение машинам, созданным на его базе, максимальной скорости движения свыше 50 км/час.
Корпус машины сваривался из стальных листов. Первые опытные образцы шасси оснащались восьмицилиндровым бензиновым двигателем воздушного охлаждения «Continental» AOI-628-3 с горизонтальным противоположным расположением цилиндров, развивавшим – мощность 230 кВт, и трансмиссией XTG-410-2 фирмы «Allison». Двигатель был оборудован системой непосредственного впрыска топлива. В дальнейшем его заменили дизельным двигателем мощностью 309 кВт.
Моторно-трансмиссионное отделение и ведущие колеса располагались спереди. Двигатель находился справа от механика-водителя. Съемная панель, располагавшаяся на крыше моторно-трансмиссионного отделения (справа от люка механика-водителя), обеспечивала доступ к двигателю для проведения регламентных работ и ремонта.
В состав ходовой части входили пять катков большого диаметра на борт, ведущие колеса переднего расположения, направляющие колеса заднего расположения были опущены на землю и одновременно выполняли функции опорных катков. Поддерживающих роликов не было. Гусеницы с металлическим шарниром оборудовались съемными резиновыми подушками. Элементы ходовой части крепились к корпусу машины при помощи индивидуальной торсионной подвески. Каждый каток был снабжен гидравлическим амортизатором двойного действия. Устройство амортизатора позволяло с места механика-водителя регулировать жесткость подвески, а следовательно, и плавность хода в различных дорожных условиях или блокировать всю подвеску для обеспечения устойчивости корпуса при ведении огня.
Механизм блокировки подвески обеспечивал передачу усилия, прилагаемого к машине, непосредственно на грунт. Это новое качество подвески было использовано также при создании ремонтно-эвакуационных машин, оснащенных подъемным краном. Оно позволяло сохранить положение крана постоянным при подъеме груза на заданную высоту.
Наличие механизма блокировки подвески допускало в определенных пределах изменение величины клиренса машины, а также возможность придания корпусу различных углов наклона относительно поперечной оси, что можно было использовать для увеличения углов вертикального наведения орудия.
В кормовой части шасси имелся сошник, который откидывался посредством гидравлического механизма и обеспечивал устойчивость машины при ведении огня.

M107. САУ. (США)
В случае авиатранспортировки шасси предполагалось перевозить отдельно от устанавливавшегося на нем оборудования. На прототипах самоходок, созданных на базе универсального шасси T249, были установлены карбюраторные двигатели, которые спустя некоторое время заменили дизелями, добившись тем самым существенного увеличения запаса хода. Прототип T235 с дизельным двигателем получил обозначение T235E1 и в 1962 году после окончания испытаний и доводки был стандартизирован под обозначением M107 и пошел в серийное производство. В 1963 году первый серийный образец новой САУ был передан армии. В различные периоды времени САУ M107 производили три разные фирмы: FMC, «Bowen-McLaughlin York» и «Pacific Car & Foundry». Всего до завершения серийного производства в мае 1980 года были выпущены 524 самоходные пушки M107.
Корпус машины сваривался из листов алюминиевого сплава, который обеспечивал защиту от огня стрелкового вооружения, а также от осколков снарядов и мин. Механик-водитель располагался в передней части корпуса слева. Справа от него находился двигатель.
175-мм пушка M126 была смонтирована совершенно открыто на специальной тумбовой установке в кормовой части корпуса. Ее ствол длиной 10,7 м представлял собой моноблок либо трубу со сменным вставным лейнером. К стволу крепился навинтной казенник, оснащенный поршневым затвором. Орудие было оборудовано гидропневматическим противооткатным устройством и таким же уравновешивающим механизмом. Наведение пушки по вертикали осуществлялось в пределах от -2° до +65°. Угол наведения по горизонтали составлял 30° вправо и столько же влево относительно продольной оси машины. В распоряжении наводчика имелся панорамный прицел. Механизмы наведения орудия имели гидравлический и ручной приводы. Механизм заряжания был оснащен подъемником и досылателем с гидравлическим приводом и для обеспечения отката отводился в сторону.
В армии США для 175-мм пушки самоходки M107 применялся только один вид боеприпаса – фугасно-осколочный выстрел M437. Дальность стрельбы этим снарядом составляла 32700 м, а активно-реактивным – до 40000 м при массе снаряда 66,9 кг. Ядерных боеприпасов в боекомплекте пушки не было, так как в полевой артиллерии США считалось достаточным иметь их только для 155-мм и 203-мм гаубиц. Применяя неполные заряды, из пушки можно было вести навесной огонь. Теоретически скорострельность пушки составляла один выстрел в минуту, но хорошо обученный и слаженный экипаж мог увеличить ее по меньшей мере вдвое. Мощный сошник с гидравлическим приводом передавал на землю энергию отката и обеспечивал устойчивость M107 во время стрельбы.
В качестве силовой установки самоходная пушка M107 оснащался двухтактным восьмицилиндровым дизелем жидкостного охлаждения с турбонаддувом 8V71T фирмы «Детройт дизель», который развивал мощность 299 кВт при 2300 об/мин и обеспечивал движение самоходки по дорогам с твердым покрытием с максимальной скоростью 56 км/ч. Ходовой частью самоходная пушка M107 не отличалась от универсального гусеничного шасси T249.

M107. САУ. (США)
Экипаж M107 состоял из пяти человек: командира самоходки, механика-водителя, наводчика и двух заряжающих. Восемь остальных членов орудийного расчета располагались в бронетранспортере M548, который являлся в то же время и подвозчиком боеприпасов, поскольку возимый боекомплект САУ M107 состоял всего из двух готовых к стрельбе выстрелов. В состав стандартного оборудования самоходной установки входил инфракрасный перископ, которым пользовался механик-водитель для вождения машины ночью. Система защиты от оружия массового поражения M107 отсутствовала.
Перед транспортировкой по воздуху M107 разбирали, на одном самолете везли шасси, на другом – артиллерийскую часть. Пушка M107 состояла на вооружении корпусной артиллерии США; с 1964 года – в армии ФРГ; позже – в армиях Англии, Израиля, Ирана и других государств. Орудие активно использовалось во вьетнамской войне, а также в ближневосточных конфликтах. Уже во Вьетнаме выяснилось, что живучесть ствола пушки M107 очень низка: при ведении огня полными зарядами стволы, рассчитанные на 700 выстрелов, выгорали и приходили в негодность после 200-300 выстрелов из-за повышенного давления пороховых газов. При этом полным зарядом производилось не более 30 % выстрелов. Для поддержания боеготовности батарей во Вьетнам летали специально переоборудованные самолеты С – 141, в грузовые отсеки которых загружалось по три запасных ствола. Смена ствола производилась тридцатью специалистами с тремя подъемными кранами за 3 часа. Кроме того, были зафиксированы случаи неисправностей систем гидропривода и противооткатных устройств.
В начале 70-х гг. самоходные установки М107 модернизировали, оснастив их автофретированными стволами, обладавшими большим сроком службы, усовершенствованными механизмами заряжания и более эффективными противооткатными устройствами.
Однако многочисленные конструктивные недостатки и желание стандартизировать боеприпасы (155-мм и 203-мм) привели к тому, что в конце 70-х годов M107, в том числе и модернизированные, перешли в категорию устаревших, и с 1978 г. их стали заменять 203-мм самоходными гаубицами M110A2.
В настоящее время 175-мм самоходные пушки M107 состоят на вооружении сухопутных войск Греции, Ирана, Израиля, Турции и Южной Кореи.

M107. САУ. (США)
Характеристики:
- Боевая масса, т: 28,2;
- Компоновочная схема: переднемоторная;
- Экипаж, чел.: 5;
- Длина корпуса, мм: 6459;
- Длина с пушкой вперед, мм: 11 298;
- Ширина корпуса, мм: 3150;
- Высота, мм: 3475;
- Клиренс, мм: 440;
- Тип брони: стальная катаная гомогенная;
- Калибр и марка пушки: 175-мм M113;
- Тип пушки: нарезная;
- Длина ствола, калибров: 60;
- Боекомплект пушки: 2;
- Углы ВН, град.: −2…+65°;
- Углы ГН, град.: ±30°;
- Дальность стрельбы, км: 32,7;
- Прицелы: артиллерийская панорама M115, телескопический M116C;
- Тип двигателя: V-образный 8-цилиндровый двухтактный дизельный жидкостного охлаждения;
- Мощность двигателя, л. с.: 405 или 345;
- Скорость по шоссе, км/ч: 55;
- Запас хода по шоссе, км: 725;
- Удельная мощность, л. с./т 14,4 или 12,2;
- Тип подвески: индивидуальная торсионная, с гидравлическими амортизаторами;
- Удельное давление на грунт, кг/см²: 0,82;
- Преодолеваемый подъем, град.: 30°;
- Преодолеваемая стенка, м: 1,02;
- Преодолеваемый ров, м: 2,14;
- Преодолеваемый брод, м: 1,07.
modernweapon.ru
Самоходная артиллерийская установка M52 (США) » Военное обозрение
До начала пятидесятых годов армия США продолжала эксплуатацию самоходных артиллерийских установок, созданных еще в годы Второй мировой войны. Такая техника все еще могла решать поставленные задачи, но уже не в полной мере отвечала актуальным требованиям и требовала замены. В самом конце сороковых стартовали несколько проектов, целью которых было создание новых самоходок. Одной из первых попыток создания техники нового типа стал проект M52 SPH.C 1945 года американская армия эксплуатировала гаубичную САУ M37 Howitzer Motor Carriage. Эта боевая машина, построенная на шасси легкого танка M24 Chaffee, несла орудие M4 калибром 105 мм и предназначалась для огневой поддержки войск со стрельбой прямой наводкой или с закрытых позиций. Самоходка M37 не успела на Вторую мировую войну, но нашла применение в ходе войны в Корее. Тем не менее, задолго до того, как такая техника сделала первые выстрелы на полях реальных сражений, было принято решение о ее замене. Шасси легкого танка M24 посчитали устаревающим, а специфическая компоновка, заимствованная в одном из предыдущих проектов, накладывала определенные ограничения на характеристики.

САУ M52 SPH. Фото Wikimedia Commons
В 1948 году Детройтский арсенал получил приказ начать разработку перспективной боевой машины класса Howitzer Motor Carriage. Новый образец следовало строить на основе шасси новейшего легкого танка M41 Walker Bulldog и оснащать орудием калибра 105 мм, размещенным во вращающейся башне. С учетом опыта эксплуатации самоходной артиллерии предыдущих моделей заказчик потребовал выполнить башню полностью закрытой и способной защитить экипаж от обстрела со всех ракурсов.
Новый проект получил рабочее обозначение T98. Класс техники изначально определялся как Howitzer Motor Carriage или HMC. Позже, после проведения испытаний и доводки, перспективная САУ была принята на вооружение с названием M52. Примерно в это же время была пересмотрена существующая классификация боевых бронированных машин, в связи с чем самоходку обозначили как Self-Propelled Howitzer или SPH.
Параллельно с проектом T98 разрабатывалась другая перспективная самоходка с более мощным орудием. Бронемашина, впоследствии принятая на вооружение под обозначением M44, тоже основывалась на шасси легкого танка M41. Для упрощения разработки и последующего массового производства в двух проектах предлагалось использовать схожие идеи и решения, касавшиеся адаптации существующего шасси к выполнению новых задач. Как следствие, серийные машины M44 и M52 имели схожие корпуса и ходовые части, отличаясь преимущественно боевым отделением.

Самоходка во время службы в армии США. Фото US Army
Танк «Уокер Бульдог» строился по классической компоновке с кормовым размещением моторно-трансмиссионного отделения. В проекте перспективной САУ предлагалось использовать иное размещение агрегатов, связанное с применением кормового боевого отделения. Как следствие, имеющееся шасси пришлось подвергнуть серьезным доработкам. Фактически гусеничное шасси развернули задом наперед, перенеся моторный отсек в переднюю часть машины. Бывшие отделение управления и боевое отделение, соответственно, оказались перенесены в корму, где должна была располагаться новая башня.
Доработанный корпус шасси имел сварную конструкцию и должен был собираться из катаных броневых листов толщиной до 12,7 мм. Менее тонкая броня использовалась только на днище, имевшем толщину 9,6 мм. Лобовая часть корпуса состояла из двух наклонных листов, образующих конструкцию клиновидного профиля. Позади них находилась горизонтальная крыша с набором люков и решеток для доступа воздуха в моторный отсек. Борта корпуса размещались вертикально и комплектовались надгусеничными полками. В корме корпуса предусматривался увеличенный в сравнении с базовым танком коробчатый агрегат с вертикальным кормовым листом.
На погоне в кормовой части корпуса предлагалось устанавливать полностью закрытую башню. Как и корпус, она должна была собираться при помощи сварки и защищать экипаж 12,7-мм броней. Башня имела развитые бортовые агрегаты лба, между которыми располагалась вертикальная деталь с амбразурой орудия. Лобовая проекция башни защищалась наклонными нижними и изогнутыми верхними деталями. Предусматривалось использование двух вертикальных бортов относительно сложной формы. Кормовой лист башни фактически отсутствовал, поскольку представлял собой дугообразную деталь с центральной вертикальной стойкой. Прочие площади кормовой проекции занимались створками двух крупных люков.

Вид на корму. Фото Afvdb.50megs.com
Использование готового шасси серийного танка привело к сохранению существующего состава силовой установки. В переднем отсеке корпуса T98 располагался шестицилиндровый бензиновый двигатель оппозитной компоновки Continental AOS-895-3 мощностью 500 л.с. С двигателем сопрягалась трансмиссия Allison CD-500-3 с двумя передачами переднего хода и одной заднего. Выдача крутящего момента осуществлялась на передние ведущие колеса. Размещение поста управления в поворотной башне заставило авторов проекта использовать оригинальные системы для передачи команд к двигателю.
Ходовая часть САУ T98 основывалась на деталях танка M41, но имела большее сходство с агрегатами самоходки M44. На каждом борту располагалось по шесть опорных катков с индивидуальной торсионной подвеской. Первая, вторая и пятая пары катков оснащались дополнительными амортизаторами. В передней части корпуса имелась пара ведущих колес. Функции ленивцев выполняли задние катки, опущенные на уровень грунта. Также в составе ходовой части присутствовали четыре поддерживающих катка на каждом борту. Заимствованная у танка гусеница имела траки шириной 530 мм.
В передней части башни разместили орудийную установку типа M85 с креплениями для качающейся артиллерийской части. Основным оружием самоходки стала 105-мм гаубица M49. Орудие имело нарезной ствол длиной 22,5 калибра и оснащалось гидравлическими противооткатными устройствами. Последние удалось полностью разместить внутри боевого отделения, что позволило упростить конструкцию маски орудия. Гаубица использовала унитарные выстрелы калибра 105 мм. Допускалось применение всех существующих снарядов различного назначения.
Требования к проекту T98 HMC подразумевали использование поворотной башни. В связи с особенностями компоновки боевого отделения и конструкцией орудийной установки не удалось обеспечить круговое вращение башни. При этом, однако, допускался поворот на 60° вправо и влево от продольной оси машины, что значительно улучшало боевые возможности в сравнении с техникой, не имеющей поворотной башни. Поворот осуществлялся при помощи ручного привода с гидравлическим усилением. Артиллерийская часть качалась в пределах вертикального сектора от -10° до +65°.

Оборудование на рабочем месте наводчика. Фото Afvdb.50megs.com
Стрельбу прямой наводкой предлагалось осуществлять при помощи телескопического прицела M101. Для работы на закрытых позициях предлагались прицелы M99 и M100. Также имелись квадрант типа M1 и указатель азимута модели T24. Все прицельные приспособления монтировались на рабочем месте наводчика справа от орудия.
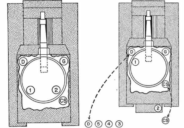
В передней и задней частях башни и боевого отделения в целом удалось разместить несколько стеллажей для перевозки артиллерийских выстрелов. Боекомплект состоял из 102 унитарных снарядов. 21 выстрел находился в укладке первой очереди.
В качестве дополнительного вооружения для самообороны предлагалось использовать крупнокалиберный пулемет M2HB. Это оружие устанавливалось на турели, размещенной на крыше башни у правого борта. Командир самоходки мог использовать пулемет, высунувшись из собственного люка. Боекомплект пулемета состоял из 900 патронов в лентах.
Экипаж САУ T98 состоял из пяти человек; все они помещались в общем боевом отделении. Механик-водитель находился слева от орудия, над его местом располагалась небольшая башенка с набором смотровых приборов. В левом борту рядом с водителем имелась небольшая дверь. Справа от гаубицы разместили место наводчика со всеми прицельными системами и органами управления орудием. Позади наводчика, под собственным люком, находился командир. Помощник наводчика и заряжающий размещались в свободных объемах боевого отделения. При длительной стрельбе, подразумевающей подачу боеприпасов с грунта, водитель и командир должны были спешиваться и помогать заряжающим. Кроме того, в таком случае экипаж мог дополняться тремя бойцами, подающими снаряды.

Размещение экипажа на марше или при стрельбе с использованием возимого боекомплекта (слева), а также при подаче выстрелов с грунта (справа). D — механик-водитель, G- наводчик, CS — командир, цифрами обозначены заряжающие. Рисунок Afvdb.50megs.com
Основными средствами доступа в боевое отделение были кормовые люки корпуса и башни. Крупный проем в кормовом листе корпуса прикрывался прямоугольной крышкой, поднимаемой вверх. Кроме того, на корме корпуса имелась откидываемая вниз подножка. При переводе в походное положение сначала закрывалась крышка люка, а затем вверх поднималась подножка. Почти вся кормовая проекция башни, за исключением крупной дуги и центральной стойки, была занята двумя люками больших размеров. Сверху люки закрывались поднимающимися вверх створками, снизу – отводящимися вбок.
Длина самоходной гаубицы T98 составляла 5,8 м, ширина – 3,14 м, высота (с учетом пулеметной установки) – 3,3 м. Боевая масса достигла 24,5 т. Имеющаяся силовая установка позволяла самоходке развивать скорость до 56 км/ч и показывать запас хода на уровне 140-145 км. Машина могла подниматься на склон крутизной 30°, пересекать 1,8-м ров или забираться на стенку высотой 76 см. Водные преграды пересекались по бродам глубиной до 1,2 м; плавать бронемашина не могла.
В 1950 году был построен и выпущен на испытания первый опытный образец перспективной самоходной 105-мм гаубицы. Во время испытаний были подтверждены основные характеристики машины, а также выявлены некоторые недостатки. Часть обнаруженных проблем можно было решить путем незначительного изменения конструкции тех или иных агрегатов, тогда как другие требовали более сложного решения. Так, имеющееся боевое отделение имело некоторые проблемы компоновочного и эргономического характера, из-за чего его следовало переделать.

Самоходка, ранее эксплуатировавшаяся вооруженными силами ФРГ. Фото Wikimedia Commons
Проект САУ с обновленным боевым отделением получил новое обозначение T98E1. Главным нововведением этого проекта было увеличение диаметра погона до 1850 мм. За счет этого удавалось обеспечить оптимальное размещение вооружения и других агрегатов. В то же время, увеличение погона потребовало переделать крышу корпуса и днище башни.
К январю 1951 года основные работы по доводке имеющегося образца были завершены, после чего заказчик разрешил разворачивать серийное производство техники. Тем не менее, даже к этому времени самоходка не избавилась от всех проблем и не полностью соответствовала требованиям армии. В течение некоторого времени конструкторы оборонной промышленности в сотрудничестве с армейскими специалистами определяли реальные возможности техники, формировали списки необходимых доработок, а затем реализовывали их. За несколько лет были переработаны отдельные элементы шасси и башни. К примеру, в определенный момент было принято решение об отказе от имеющихся гидравлических усилителей в составе механизмов наведения.
Доводка имеющегося образца завершилась только в 1955 году. К этому времени боевая машина была принята на вооружение под названием M52. Завершение совершенствования техники позволило приступить к полномасштабному серийному производству. В течение нескольких лет, начиная с 1951 года, американская промышленность построила 683 САУ нового типа. Машины первых выпусков со временем были доработаны в соответствии с актуальной версией проекта.

САУ M52 в музее Латруна, Израиль. Фото Wikimedia Commons
В дальнейшем техника прошла еще одну модернизацию. Все имевшиеся машины получили новый двигатель Continental AOSI-895-5, отличавшийся от ранее использованного наличием прямого впрыска топлива. После такого обновления самоходки получали название M52A1.
Первым эксплуатантом гаубичной САУ M52 стала армия США. Начало испытаний в 1950 году давало возможность завершить все необходимые работы в кратчайшие сроки, после чего отправить новую технику в Корею. Тем не менее, доводка затянулась, из-за чего серийные бронемашины поступили в полноценную эксплуатацию только на второй год после окончания войны. Вследствие этого серийные самоходки с достаточной активностью использовались артиллерийскими частями, но во время службы в американской армии так и не попали на войну.
Соединенные Штаты продолжали эксплуатацию подобной техники до начала шестидесятых годов. В этот период командование сочло легкий танк M41 Walker Bulldog устаревшим и решило снять его с вооружения. Та же участь вскоре должна была постичь и технику на его базе. К середине десятилетия армия США отказалась от самоходок M44 и M52 на подобном шасси. Следует отметить, что техника с не до конца выработанным ресурсом не отправлялась на разборку. Наоборот, все еще пригодные к использованию машины уходили на ремонт, а затем передавались дружественным государствам.

Модернизированная машина M52T. Фото Military-today.com
До конца шестидесятых годов самоходки M52 SPH успели пополнить парк техники сухопутных войск Австрии, Греции, ФРГ, Иордании, Испании, Туниса, Японии, Турции и т.д. Американо-турецкий контракт представляет особый интерес. Тогда как большинство заказчиков приобретало не более нескольких десятков машин, турецкая армия закупила свыше 360 самоходок. Кроме того, почти все зарубежные армии со временем сняли M52 с вооружения. Турция, в свою очередь, решила не отказываться от устаревших машин. В середине восьмидесятых годов стартовала программа модернизации старых САУ американского производства. Одним из результатов этих работ стало появление самоходки M52T. За счет новой силовой установки, иного орудия и современной электроники удалось в разы повысить боевой потенциал, сохранив имеющиеся шасси. Модернизированные САУ M52T до сих пор состоят на вооружении турецкой армии или числятся в резерве.
В пятидесятых годах американская промышленность построила не слишком большое число самоходок M52 / M52A1. Тем не менее, в силу тех или иных причин, значительному количеству такой техники по окончании эксплуатации удалось избежать утилизации. На данный момент в различных музеях находится почти два десятка самоходок. Кроме того, не менее 300-350 САУ улучшенной модификации до сих пор остаются в строю или в резерве в Турции.
Гаубичная самоходная артиллерийская установка M52 американской разработки была похожа на аналогичную машину M44 не только с точки зрения базового шасси. Обе машины имели шансы попасть на Корейскую войну, но банально не успели на нее по причине затянувшейся доводки. Дальнейшая эксплуатация в армии страны-разработчика не отличалась интенсивностью и заметными событиями. Позже машины списали и распродали третьим странам. Почти все они со временем отказались от устаревшей техники, но один из новых эксплуатантов провел модернизацию и продолжает ее эксплуатацию. Весьма интересная судьба для техники, созданной в еще начале пятидесятых годов.
По материалам сайтов:
http://afvdb.50megs.com/
http://globalsecurity.org/
http://militaryfactory.com/
http://the.shadock.free.fr/
http://military-today.com/
Список сохранившихся САУ M52 SPH:
http://massimocorner.com/afv/Surviving_M52.pdf
topwar.ru
САУ США WoT
Многообразие техники, вот главный аргумент каждой нации в игре World of Tanks. Практически каждая нация готова предложить для игр по 5 уникальных классов боевых машин. Которые имеют свои предназначения, характеристики и внешний вид. Но сегодня мы затронем самый специфический из всех существующих классов, это САУ и возьмем для обзора США. Этот класс всегда считался самым необычным, тяжело играбельным и жутко специфичным, но чтобы-то ни было, игроки продолжают осваивать эту технику и постоянно стараются выходить на ней в бой.

Немного о боевых машинах
САУ – это танки дальнего действия, они способны простреливать огромные расстояния (в нашем случае практически всю игровую карту), имеет просто колоссальный урон и имеют повышенный бонус к незаметности, правда из-за своих габаритов, это бонус на фоне ПТ-САУ является лишь легким добавлением, не влияющим на игровой процесс. Но тут же стоит заметить, что американские конструкторы уделяли очень мало внимания этому классу, поэтому говорить про боевую эффективность и прочие положительные стороны очень сложно, но, несмотря на это, эти танки имеются в игровом обороте, хоть и незначительном.
Ветка развития США на сегодня предлагает нам 9 уникальных по своему строению и характеристикам боевых машин. Начиная с просто восхитительного и неповторимого Т57 и заканчивая самым разрушающим Т92, вы будете то получать удовольствие от игры, то просто не понимать, как такое можно было сконструировать. Да, к сожалению, США имеет очень слабых и практически лишенных боевого потенциала танков, которые придется проходить, ради достижения более перспективной техники.
В процессе изучения вы сможете насладиться игрой на M7 Priest, M12 и M40/M43. Будете недоумевать на M37, M41, M44. И сможете полноценно насладиться этим боевым классом на M53/M55 и Т92. Да, перспективы сильно разняться, но деваться некуда, придется пробовать играть на всем, даже маленькая хитрость сокращения развития при помощи танка M24 Chaffee, который позволяет перескочить первоначальные уровни не сильно-то и помогает.
Радует только одно, что, несмотря на все свои отрицательные и некоторые положительные стороны, играть на САУ США можно и порой даже очень успешно.
Отрицательные и положительные стороны
САУ США самая разнообразная ветка развития в игре, имея в составе всего лишь 9 боевых машин, американцам удалось вместить в них практически всевозможные положительные отрицательные стороны.
Начиная со 2 по 6 уровень развития, американская боевая техника славится своим большим боезапасом, высокой маневренностью и скоростью, а так же повышенным показателем скорострельности. Это позволяет устраивать настоящий «ливень» из боевых снарядов для врага. Но при этом эта техника имеет заниженный показатель урона и плохую траекторию полета снаряда, которая не позволяет выкуривать игрока из-за укрытия и при этом снаряды имеют оче6нь маленький сплеш.
Касательно 7 и 8 уровня, то там ситуация обстоит совсем наоборот. Техника имеет посредственные показатели маневренности и скорости, обладает же приличным уроном и отличным сплешом. Но из-за больших габаритов приходится выбирать себе наиболее защищенные места на карте, иначе жизненный цикл будет длиться до первого засвета. Дальность обстрела при этом остается на высоком уровне.
А вот две последние САУ 9 и 10 уровня, смогли сбалансировать практически во всех аспектах. Эта артиллерия имеет приемлемые габариты, вполне приличную скорость и маневренность для топовой техники, а так самый высокий урон среди всех аналогичных моделей. Но есть у них и очень щепетильный недостаток, ближний бой полностью исключен, так как орудие не опускается до такого уровня, чтобы уничтожать цель перед собой. Что касается перезарядки, то она соответствует всем аналогичным машинам, а боезапас является выше нормы, что не может не радовать.
Таким образом, мы рассмотрели все стороны этой боевой техники и можно сделать вывод, чтобы играть на этой техники успешно, придется обкатать не одну сотню боев, а уже после вы сможете показывать превосходный результат.
Сравнение топовой техники
Итак, мы дошли до сравнения. На самом деле сравнивать САУ не имеет смысла, они очень многогранны и в большинстве случаев боевой потенциал полностью зависит от навыков самих игроков. Но факт остается фатом, поэтому стоит отметить, что ни одна аналогичная САУ не имеет высокого разового урона по сравнению с Т92. Стоит учитывать, что для сравнения берется урон за один выстрел, а барабан заряжания не учитывается.
Вторым преобладающим моментом является сплеш от взрыва, который позволяет охватывать большую область и повреждать наибольшее количество врагов, столпившихся в одном месте.
И третьим преимуществом является маленькие размеры, которые позволяют наиболее эффективно скрывать свои габариты и долгое время находиться в незамеченном состоянии.
Но, несмотря на все эти преимущества, американская САУ занимает далеко не первое место в плане своей боевой эффективности. Она уступает французскому Bat.-Châtillon 155 58 и советскому Объект 261, зато превосходит все остальные танки. Но еще раз напоминаем, что АРТ-САУ является очень специфическим классом и е эффективность полностью зависит от самого игрока.
Дополнительная экипировка и навыки экипажа
И как это часто бывает, эффективные и профессиональные игроки всегда экспериментируют со снаряжением и навыками экипажа для того, чтобы другие игроки перенять их опыт и воспользоваться им для своей игры.
В ячейки снаряжения рекомендуется устанавливать ящик колы, малый ремкомплект и малую аптечку. Да, эффективность экипажа играет ключевую роль на этой технике.
Дополнительные модули должны иметь следующий ряд установок: досылатель, усиленные приводы наводки и маскировочная сеть. Это позволит повысить свои шансы в боевом плане и позволит намного эффективнее скрываться от вражеского засвета.
Что касается навыков экипажа, то никаких особых наборов здесь нет, все как по стандарту, а точнее, как и у других Арт-САУ. В первом столбце навыков обязательно должна быть изучена «маскировка», во втором столбце стоит полностью у всех изучить «Боевое братство», а третий столбец лучше всего посвятить навыкам первой необходимости, то есть «Лампочка», «Снайпер», «Интуиция», «Виртуоз» и «Изобретатель». Остальные же столбы можно заполнять по своему усмотрению.
Тактическое применение
А вот тактическое применение не блещет особыми рекомендациями, или какими-то хитрыми тактиками, АРТ-САУ вообще очень ограничена в этом плане. Американские САУ не далеко ушли от такого стандарта им предпочтительно использование дальней стрельбы в условиях незаметности. То есть вы по стандарту должны будете выбирать себе точку для обстрела, становится там и уничтожать противника в порядке предпочтения, то есть поначалу уничтожать самых сильных и быстрых, а уже потом браться за другие танки. Соответственно наиболее предпочтительными являются вражеские САУ и ПТ-САУ. Всем известно, как действует САУ в условиях боя. Поэтому проблем в своих действиях у вас не возникнет, главное выбрать правильное место и чтобы были кусты или укрытие.
Смотрите также:
wot-top.ru
