ΠΠΊΡΠΈΠ²Π½Π°Ρ ΡΠ°Π½ΠΊΠΎΠ²Π°Ρ Π±ΡΠΎΠ½Ρ Β» ΠΠΎΠ΅Π½Π½ΠΎΠ΅ ΠΎΠ±ΠΎΠ·ΡΠ΅Π½ΠΈΠ΅
Π‘ ΠΌΠΎΠΌΠ΅Π½ΡΠ° ΠΏΠΎΡΠ²Π»Π΅Π½ΠΈΡ Π±ΡΠΎΠ½Π΅ΡΠ΅Ρ Π½ΠΈΠΊΠΈ ΠΈΠ·Π²Π΅ΡΠ½ΠΎΠ΅ ΡΡΠ°ΠΆΠ΅Π½ΠΈΠ΅ ΠΌΠ΅ΠΆΠ΄Ρ ΡΠ½Π°ΡΡΠ΄ΠΎΠΌ ΠΈ Π±ΡΠΎΠ½Π΅ΠΉ ΠΎΠ±ΠΎΡΡΡΠΈΠ»ΠΎΡΡ. ΠΠ΄Π½ΠΈ ΠΊΠΎΠ½ΡΡΡΡΠΊΡΠΎΡΡ ΡΡΡΠ΅ΠΌΠΈΠ»ΠΈΡΡ ΡΠ²Π΅Π»ΠΈΡΠΈΡΡ ΠΏΡΠΎΠ±ΠΈΠ²Π½ΡΡ ΡΠΏΠΎΡΠΎΠ±Π½ΠΎΡΡΡ ΡΠ½Π°ΡΡΠ΄ΠΎΠ², Π΄ΡΡΠ³ΠΈΠ΅ ΠΏΠΎΠ²ΡΡΠ°Π»ΠΈ ΡΡΠΎΠΉΠΊΠΎΡΡΡ Π±ΡΠΎΠ½ΠΈ. ΠΠΎΡΡΠ±Π° ΠΏΡΠΎΠ΄ΠΎΠ»ΠΆΠ°Π΅ΡΡΡ ΠΈ ΡΠ΅ΠΉΡΠ°Ρ. Π ΡΠΎΠΌ, ΠΊΠ°ΠΊ ΡΡΡΡΠΎΠ΅Π½Π° ΡΠΎΠ²ΡΠ΅ΠΌΠ΅Π½Π½Π°Ρ ΡΠ°Π½ΠΊΠΎΠ²Π°Ρ Π±ΡΠΎΠ½Ρ, Β«ΠΠΎΠΏΡΠ»ΡΡΠ½ΠΎΠΉ ΠΌΠ΅Ρ Π°Π½ΠΈΠΊΠ΅Β» ΡΠ°ΡΡΠΊΠ°Π·Π°Π» ΠΏΡΠΎΡΠ΅ΡΡΠΎΡ ΠΠΠ’Π£ ΠΈΠΌ. Π.Π. ΠΠ°ΡΠΌΠ°Π½Π°, Π΄ΠΈΡΠ΅ΠΊΡΠΎΡ ΠΏΠΎ Π½Π°ΡΠΊΠ΅ ΠΠΠ ΡΡΠ°Π»ΠΈ ΠΠ°Π»Π΅ΡΠΈΠΉ ΠΡΠΈΠ³ΠΎΡΡΠ½ΠΠΎΠ½Π°ΡΠ°Π»Ρ Π°ΡΠ°ΠΊΠ° Π½Π° Π±ΡΠΎΠ½Ρ Π²Π΅Π»Π°ΡΡ Π² Π»ΠΎΠ±: ΠΏΠΎΠΊΠ° ΠΎΡΠ½ΠΎΠ²Π½ΡΠΌ Π²ΠΈΠ΄ΠΎΠΌ Π²ΠΎΠ·Π΄Π΅ΠΉΡΡΠ²ΠΈΡ Π±ΡΠ» Π±ΡΠΎΠ½Π΅Π±ΠΎΠΉΠ½ΡΠΉ ΡΠ½Π°ΡΡΠ΄ ΠΊΠΈΠ½Π΅ΡΠΈΡΠ΅ΡΠΊΠΎΠ³ΠΎ Π΄Π΅ΠΉΡΡΠ²ΠΈΡ, Π΄ΡΡΠ»Ρ ΠΊΠΎΠ½ΡΡΡΡΠΊΡΠΎΡΠΎΠ² ΡΠ²ΠΎΠ΄ΠΈΠ»Π°ΡΡ ΠΊ ΡΠ²Π΅Π»ΠΈΡΠ΅Π½ΠΈΡ ΠΊΠ°Π»ΠΈΠ±ΡΠ° ΠΏΡΡΠΊΠΈ, ΡΠΎΠ»ΡΠΈΠ½Ρ ΠΈ ΡΠ³Π»ΠΎΠ² Π½Π°ΠΊΠ»ΠΎΠ½Π° Π±ΡΠΎΠ½ΠΈ. ΠΡΠ° ΡΠ²ΠΎΠ»ΡΡΠΈΡ Ρ ΠΎΡΠΎΡΠΎ Π²ΠΈΠ΄Π½Π° Π½Π° ΠΏΡΠΈΠΌΠ΅ΡΠ΅ ΡΠ°Π·Π²ΠΈΡΠΈΡ ΡΠ°Π½ΠΊΠΎΠ²ΡΡ Π²ΠΎΠΎΡΡΠΆΠ΅Π½ΠΈΠΉ ΠΈ Π±ΡΠΎΠ½ΠΈ Π²ΠΎ ΠΡΠΎΡΠΎΠΉ ΠΌΠΈΡΠΎΠ²ΠΎΠΉ. ΠΠΎΠ½ΡΡΡΡΠΊΡΠΈΠ²Π½ΡΠ΅ ΡΠ΅ΡΠ΅Π½ΠΈΡ ΡΠΎΠ³ΠΎ Π²ΡΠ΅ΠΌΠ΅Π½ΠΈ Π΄ΠΎΡΡΠ°ΡΠΎΡΠ½ΠΎ ΠΎΡΠ΅Π²ΠΈΠ΄Π½Ρ: ΡΠ΄Π΅Π»Π°Π΅ΠΌ ΠΏΡΠ΅Π³ΡΠ°Π΄Ρ ΡΠΎΠ»ΡΠ΅; Π΅ΡΠ»ΠΈ Π΅Π΅ Π½Π°ΠΊΠ»ΠΎΠ½ΠΈΡΡ β ΡΠ½Π°ΡΡΠ΄Ρ ΠΏΡΠΈΠ΄Π΅ΡΡΡ ΠΏΡΠΎΠΉΡΠΈ Π±ΠΎΠ»ΡΡΠΈΠΉ ΠΏΡΡΡ Π² ΡΠΎΠ»ΡΠ΅ ΠΌΠ΅ΡΠ°Π»Π»Π°, Π΄Π° ΠΈ Π²Π΅ΡΠΎΡΡΠ½ΠΎΡΡΡ ΡΠΈΠΊΠΎΡΠ΅ΡΠ° ΡΠ²Π΅Π»ΠΈΡΠΈΡΡΡ. ΠΠ°ΠΆΠ΅ ΠΏΠΎΡΠ»Π΅ ΠΏΠΎΡΠ²Π»Π΅Π½ΠΈΡ Π² Π±ΠΎΠ΅ΠΊΠΎΠΌΠΏΠ»Π΅ΠΊΡΠ°Ρ ΡΠ°Π½ΠΊΠΎΠ²ΡΡ ΠΈ ΠΏΡΠΎΡΠΈΠ²ΠΎΡΠ°Π½ΠΊΠΎΠ²ΡΡ ΠΏΡΡΠ΅ΠΊ Π±ΡΠΎΠ½Π΅Π±ΠΎΠΉΠ½ΡΡ ΡΠ½Π°ΡΡΠ΄ΠΎΠ² Ρ ΠΆΠ΅ΡΡΠΊΠΈΠΌ Π½Π΅ΡΠ°Π·ΡΡΡΠ°ΡΡΠΈΠΌΡΡ ΡΠ΅ΡΠ΄Π΅ΡΠ½ΠΈΠΊΠΎΠΌ ΠΌΠ°Π»ΠΎ ΡΡΠΎ ΠΈΠ·ΠΌΠ΅Π½ΠΈΠ»ΠΎΡΡ.



ΠΠ»Π΅ΠΌΠ΅Π½ΡΡ Π΄ΠΈΠ½Π°ΠΌΠΈΡΠ΅ΡΠΊΠΎΠΉ Π·Π°ΡΠΈΡΡ (ΠΠΠ)
ΠΡΠ΅Π΄ΡΡΠ°Π²Π»ΡΡΡ ΡΠΎΠ±ΠΎΠΉ Β«ΡΡΠ½Π΄Π²ΠΈΡΠΈΒ» ΠΈΠ· Π΄Π²ΡΡ ΠΌΠ΅ΡΠ°Π»Π»ΠΈΡΠ΅ΡΠΊΠΈΡ ΠΏΠ»Π°ΡΡΠΈΠ½ ΠΈ Π²Π·ΡΡΠ²ΡΠ°ΡΠΎΠ³ΠΎ Π²Π΅ΡΠ΅ΡΡΠ²Π°. ΠΠΠ ΠΏΠΎΠΌΠ΅ΡΠ΅Π½Ρ Π² ΠΊΠΎΠ½ΡΠ΅ΠΉΠ½Π΅ΡΡ, ΠΊΡΡΡΠΊΠΈ ΠΊΠΎΡΠΎΡΡΡ Π·Π°ΡΠΈΡΠ°ΡΡ ΠΈΡ ΠΎΡ Π²Π½Π΅ΡΠ½ΠΈΡ Π²ΠΎΠ·Π΄Π΅ΠΉΡΡΠ²ΠΈΠΉ ΠΈ ΠΎΠ΄Π½ΠΎΠ²ΡΠ΅ΠΌΠ΅Π½Π½ΠΎ ΠΏΡΠ΅Π΄ΡΡΠ°Π²Π»ΡΡΡ ΡΠΎΠ±ΠΎΠΉ ΠΌΠ΅ΡΠ°Π΅ΠΌΡΠ΅ ΡΠ»Π΅ΠΌΠ΅Π½ΡΡ
Π‘ΠΌΠ΅ΡΡΠ΅Π»ΡΠ½ΡΠΉ ΠΏΠ»Π΅Π²ΠΎΠΊ
ΠΠ΄Π½Π°ΠΊΠΎ ΡΠΆΠ΅ Π² Π½Π°ΡΠ°Π»Π΅ ΠΡΠΎΡΠΎΠΉ ΠΌΠΈΡΠΎΠ²ΠΎΠΉ Π² ΠΏΠΎΡΠ°ΠΆΠ°ΡΡΠΈΡ ΡΠ²ΠΎΠΉΡΡΠ²Π°Ρ Π±ΠΎΠ΅ΠΏΡΠΈΠΏΠ°ΡΠΎΠ² ΠΏΡΠΎΠΈΠ·ΠΎΡΠ»Π° ΡΠ΅Π²ΠΎΠ»ΡΡΠΈΡ: ΠΏΠΎΡΠ²ΠΈΠ»ΠΈΡΡ ΠΊΡΠΌΡΠ»ΡΡΠΈΠ²Π½ΡΠ΅ ΡΠ½Π°ΡΡΠ΄Ρ. Π 1941 Π³ΠΎΠ΄Ρ Hohlladungsgeschoss (Β«ΡΠ½Π°ΡΡΠ΄ Ρ Π²ΡΠ΅ΠΌΠΊΠΎΠΉ Π² Π·Π°ΡΡΠ΄Π΅Β») Π½Π°ΡΠ°Π»ΠΈ ΠΏΡΠΈΠΌΠ΅Π½ΡΡΡ Π½Π΅ΠΌΠ΅ΡΠΊΠΈΠ΅ Π°ΡΡΠΈΠ»Π»Π΅ΡΠΈΡΡΡ, Π° Π² 1942-ΠΌ ΠΈ Π² Π‘Π‘Π‘Π Π±ΡΠ» ΠΏΡΠΈΠ½ΡΡ Π½Π° Π²ΠΎΠΎΡΡΠΆΠ΅Π½ΠΈΠ΅ 76-ΠΌΠΌ ΡΠ½Π°ΡΡΠ΄ ΠΠ-350Π, ΡΠ°Π·ΡΠ°Π±ΠΎΡΠ°Π½Π½ΡΠΉ ΠΏΠΎΡΠ»Π΅ ΠΈΠ·ΡΡΠ΅Π½ΠΈΡ ΡΡΠΎΡΠ΅ΠΉΠ½ΡΡ ΠΎΠ±ΡΠ°Π·ΡΠΎΠ². Π’Π°ΠΊ Π±ΡΠ»ΠΈ ΡΡΡΡΠΎΠ΅Π½Ρ ΠΈ Π·Π½Π°ΠΌΠ΅Π½ΠΈΡΡΠ΅ ΡΠ°ΡΡΡ-ΠΏΠ°ΡΡΠΎΠ½Ρ. ΠΠΎΠ·Π½ΠΈΠΊΠ»Π° ΠΏΡΠΎΠ±Π»Π΅ΠΌΠ°, Π½Π΅ ΡΠ°Π·ΡΠ΅ΡΠΈΠΌΠ°Ρ ΡΡΠ°Π΄ΠΈΡΠΈΠΎΠ½Π½ΡΠΌΠΈ ΡΠΏΠΎΡΠΎΠ±Π°ΠΌΠΈ ΠΈΠ·-Π·Π° Π½Π΅ΠΏΡΠΈΠ΅ΠΌΠ»Π΅ΠΌΠΎΠ³ΠΎ ΡΠ²Π΅Π»ΠΈΡΠ΅Π½ΠΈΡ ΠΌΠ°ΡΡΡ ΡΠ°Π½ΠΊΠ°.
Π Π³ΠΎΠ»ΠΎΠ²Π½ΠΎΠΉ ΡΠ°ΡΡΠΈ ΠΊΡΠΌΡΠ»ΡΡΠΈΠ²Π½ΠΎΠ³ΠΎ Π±ΠΎΠ΅ΠΏΡΠΈΠΏΠ°ΡΠ° ΡΠ΄Π΅Π»Π°Π½Π° ΠΊΠΎΠ½ΠΈΡΠ΅ΡΠΊΠ°Ρ Π²ΡΠ΅ΠΌΠΊΠ° Π² Π²ΠΈΠ΄Π΅ ΠΎΠ±Π»ΠΈΡΠΎΠ²Π°Π½Π½ΠΎΠΉ ΡΠΎΠ½ΠΊΠΈΠΌ ΡΠ»ΠΎΠ΅ΠΌ ΠΌΠ΅ΡΠ°Π»Π»Π° Π²ΠΎΡΠΎΠ½ΠΊΠΈ (ΡΠ°ΡΡΡΡΠ±ΠΎΠΌ Π²ΠΏΠ΅ΡΠ΅Π΄). ΠΠ΅ΡΠΎΠ½Π°ΡΠΈΡ Π²Π·ΡΡΠ²ΡΠ°ΡΠΎΠ³ΠΎ Π²Π΅ΡΠ΅ΡΡΠ²Π° Π½Π°ΡΠΈΠ½Π°Π΅ΡΡΡ ΡΠΎ ΡΡΠΎΡΠΎΠ½Ρ, Π±Π»ΠΈΠΆΠ°ΠΉΡΠ΅ΠΉ ΠΊ Π²Π΅ΡΡΠΈΠ½Π΅ Π²ΠΎΡΠΎΠ½ΠΊΠΈ. ΠΠ΅ΡΠΎΠ½Π°ΡΠΈΠΎΠ½Π½Π°Ρ Π²ΠΎΠ»Π½Π° Β«ΡΡ Π»ΠΎΠΏΡΠ²Π°Π΅ΡΒ» Π²ΠΎΡΠΎΠ½ΠΊΡ ΠΊ ΠΎΡΠΈ ΡΠ½Π°ΡΡΠ΄Π°, Π° ΠΏΠΎΡΠΊΠΎΠ»ΡΠΊΡ Π΄Π°Π²Π»Π΅Π½ΠΈΠ΅ ΠΏΡΠΎΠ΄ΡΠΊΡΠΎΠ² Π²Π·ΡΡΠ²Π° (ΠΏΠΎΡΡΠΈ ΠΏΠΎΠ»ΠΌΠΈΠ»Π»ΠΈΠΎΠ½Π° Π°ΡΠΌΠΎΡΡΠ΅Ρ) ΠΏΡΠ΅Π²ΡΡΠ°Π΅Ρ ΠΏΡΠ΅Π΄Π΅Π» ΠΏΠ»Π°ΡΡΠΈΡΠ΅ΡΠΊΠΎΠΉ Π΄Π΅ΡΠΎΡΠΌΠ°ΡΠΈΠΈ ΠΎΠ±ΠΊΠ»Π°Π΄ΠΊΠΈ, ΠΏΠΎΡΠ»Π΅Π΄Π½ΡΡ Π½Π°ΡΠΈΠ½Π°Π΅Ρ Π²Π΅ΡΡΠΈ ΡΠ΅Π±Ρ ΠΊΠ°ΠΊ ΠΊΠ²Π°Π·ΠΈΠΆΠΈΠ΄ΠΊΠΎΡΡΡ. Π’Π°ΠΊΠΎΠΉ ΠΏΡΠΎΡΠ΅ΡΡ Π½Π΅ ΠΈΠΌΠ΅Π΅Ρ Π½ΠΈΡΠ΅Π³ΠΎ ΠΎΠ±ΡΠ΅Π³ΠΎ Ρ ΠΏΠ»Π°Π²Π»Π΅Π½ΠΈΠ΅ΠΌ, ΡΡΠΎ ΠΈΠΌΠ΅Π½Π½ΠΎ Β«Ρ ΠΎΠ»ΠΎΠ΄Π½ΠΎΠ΅Β» ΡΠ΅ΡΠ΅Π½ΠΈΠ΅ ΠΌΠ°ΡΠ΅ΡΠΈΠ°Π»Π°. ΠΠ· ΡΡ Π»ΠΎΠΏΡΠ²Π°ΡΡΠ΅ΠΉΡΡ Π²ΠΎΡΠΎΠ½ΠΊΠΈ Π²ΡΠ΄Π°Π²Π»ΠΈΠ²Π°Π΅ΡΡΡ ΡΠΎΠ½ΠΊΠ°Ρ (ΡΡΠ°Π²Π½ΠΈΠΌΠ°Ρ Ρ ΡΠΎΠ»ΡΠΈΠ½ΠΎΠΉ ΠΎΠ±ΠΎΠ»ΠΎΡΠΊΠΈ) ΠΊΡΠΌΡΠ»ΡΡΠΈΠ²Π½Π°Ρ ΡΡΡΡΡ, ΠΊΠΎΡΠΎΡΠ°Ρ ΡΠ°Π·Π³ΠΎΠ½ΡΠ΅ΡΡΡ Π΄ΠΎ ΡΠΊΠΎΡΠΎΡΡΠ΅ΠΉ ΠΏΠΎΡΡΠ΄ΠΊΠ° ΡΠΊΠΎΡΠΎΡΡΠΈ Π΄Π΅ΡΠΎΠ½Π°ΡΠΈΠΈ ΠΠ (Π° ΠΈΠ½ΠΎΠ³Π΄Π° ΠΈ Π²ΡΡΠ΅), ΡΠΎ Π΅ΡΡΡ ΠΎΠΊΠΎΠ»ΠΎ 10 ΠΊΠΌ/Ρ ΠΈ Π±ΠΎΠ»Π΅Π΅. Π‘ΠΊΠΎΡΠΎΡΡΡ ΠΊΡΠΌΡΠ»ΡΡΠΈΠ²Π½ΠΎΠΉ ΡΡΡΡΠΈ ΡΡΡΠ΅ΡΡΠ²Π΅Π½Π½ΠΎ ΠΏΡΠ΅Π²ΡΡΠ°Π΅Ρ ΡΠΊΠΎΡΠΎΡΡΡ ΡΠ°ΡΠΏΡΠΎΡΡΡΠ°Π½Π΅Π½ΠΈΡ Π·Π²ΡΠΊΠ° Π² ΠΌΠ°ΡΠ΅ΡΠΈΠ°Π»Π΅ Π±ΡΠΎΠ½ΠΈ (ΠΏΠΎΡΡΠ΄ΠΊΠ° 4 ΠΊΠΌ/Ρ). ΠΠΎΡΡΠΎΠΌΡ Π²Π·Π°ΠΈΠΌΠΎΠ΄Π΅ΠΉΡΡΠ²ΠΈΠ΅ ΡΡΡΡΠΈ ΠΈ Π±ΡΠΎΠ½ΠΈ ΠΏΡΠΎΠΈΡΡ ΠΎΠ΄ΠΈΡ ΠΏΠΎ Π·Π°ΠΊΠΎΠ½Π°ΠΌ Π³ΠΈΠ΄ΡΠΎΠ΄ΠΈΠ½Π°ΠΌΠΈΠΊΠΈ, ΡΠΎ Π΅ΡΡΡ ΠΎΠ½ΠΈ Π²Π΅Π΄ΡΡ ΡΠ΅Π±Ρ ΠΊΠ°ΠΊ ΠΆΠΈΠ΄ΠΊΠΎΡΡΠΈ: ΡΡΡΡΡ Π²ΠΎΠ²ΡΠ΅ Π½Π΅ ΠΏΡΠΎΠΆΠΈΠ³Π°Π΅Ρ Π±ΡΠΎΠ½Ρ (ΡΡΠΎ ΡΠΈΡΠΎΠΊΠΎ ΡΠ°ΡΠΏΡΠΎΡΡΡΠ°Π½Π΅Π½Π½ΠΎΠ΅ Π·Π°Π±Π»ΡΠΆΠ΄Π΅Π½ΠΈΠ΅), Π° ΠΏΡΠΎΠ½ΠΈΠΊΠ°Π΅Ρ Π² Π½Π΅Π΅, ΠΏΠΎΠ΄ΠΎΠ±Π½ΠΎ ΡΠΎΠΌΡ ΠΊΠ°ΠΊ ΡΡΡΡΡ Π²ΠΎΠ΄Ρ ΠΏΠΎΠ΄ Π΄Π°Π²Π»Π΅Π½ΠΈΠ΅ΠΌ ΡΠ°Π·ΠΌΡΠ²Π°Π΅Ρ ΠΏΠ΅ΡΠΎΠΊ.
Π‘Π»ΠΎΠ΅Π½Π°Ρ Π·Π°ΡΠΈΡΠ°
ΠΠ΅ΡΠ²ΠΎΠΉ Π·Π°ΡΠΈΡΠΎΠΉ ΠΎΡ ΠΊΡΠΌΡΠ»ΡΡΠΈΠ²Π½ΡΡ Π±ΠΎΠ΅ΠΏΡΠΈΠΏΠ°ΡΠΎΠ² ΡΡΠ°Π»ΠΎ ΠΏΡΠΈΠΌΠ΅Π½Π΅Π½ΠΈΠ΅ ΡΠΊΡΠ°Π½ΠΎΠ² (Π΄Π²ΡΡ ΠΏΡΠ΅Π³ΡΠ°Π΄Π½ΠΎΠΉ Π±ΡΠΎΠ½ΠΈ). ΠΡΠΌΡΠ»ΡΡΠΈΠ²Π½Π°Ρ ΡΡΡΡΡ ΡΠΎΡΠΌΠΈΡΡΠ΅ΡΡΡ Π½Π΅ ΠΌΠ³Π½ΠΎΠ²Π΅Π½Π½ΠΎ, Π΄Π»Ρ Π΅Π΅ ΠΌΠ°ΠΊΡΠΈΠΌΠ°Π»ΡΠ½ΠΎΠΉ ΡΡΡΠ΅ΠΊΡΠΈΠ²Π½ΠΎΡΡΠΈ Π²Π°ΠΆΠ½ΠΎ Π²Π·ΠΎΡΠ²Π°ΡΡ Π·Π°ΡΡΠ΄ Π½Π° ΠΎΠΏΡΠΈΠΌΠ°Π»ΡΠ½ΠΎΠΌ ΡΠ°ΡΡΡΠΎΡΠ½ΠΈΠΈ ΠΎΡ Π±ΡΠΎΠ½ΠΈ (ΡΠΎΠΊΡΡΠ½ΠΎΠ΅ ΡΠ°ΡΡΡΠΎΡΠ½ΠΈΠ΅). ΠΡΠ»ΠΈ ΠΏΠ΅ΡΠ΅Π΄ ΠΎΡΠ½ΠΎΠ²Π½ΠΎΠΉ Π±ΡΠΎΠ½Π΅ΠΉ ΠΏΠΎΠΌΠ΅ΡΡΠΈΡΡ ΡΠΊΡΠ°Π½ ΠΈΠ· Π΄ΠΎΠΏΠΎΠ»Π½ΠΈΡΠ΅Π»ΡΠ½ΡΡ Π»ΠΈΡΡΠΎΠ² ΠΌΠ΅ΡΠ°Π»Π»Π°, ΡΠΎ ΠΏΠΎΠ΄ΡΡΠ² ΠΏΡΠΎΠΈΠ·ΠΎΠΉΠ΄Π΅Ρ ΡΠ°Π½ΡΡΠ΅ ΠΈ ΡΡΡΠ΅ΠΊΡΠΈΠ²Π½ΠΎΡΡΡ Π²ΠΎΠ·Π΄Π΅ΠΉΡΡΠ²ΠΈΡ ΡΠ½ΠΈΠ·ΠΈΡΡΡ. ΠΠΎ Π²ΡΠ΅ΠΌΡ ΠΡΠΎΡΠΎΠΉ ΠΌΠΈΡΠΎΠ²ΠΎΠΉ Π΄Π»Ρ Π·Π°ΡΠΈΡΡ ΠΎΡ ΡΠ°ΡΡΡΠΏΠ°ΡΡΠΎΠ½ΠΎΠ² ΡΠ°Π½ΠΊΠΈΡΡΡ ΠΊΡΠ΅ΠΏΠΈΠ»ΠΈ Π½Π° ΡΠ²ΠΎΠΈ ΠΌΠ°ΡΠΈΠ½Ρ ΡΠΎΠ½ΠΊΠΈΠ΅ ΠΌΠ΅ΡΠ°Π»Π»ΠΈΡΠ΅ΡΠΊΠΈΠ΅ Π»ΠΈΡΡΡ ΠΈ ΡΠ΅ΡΡΠ°ΡΡΠ΅ ΡΠΊΡΠ°Π½Ρ (ΡΠ°ΡΠΏΡΠΎΡΡΡΠ°Π½Π΅Π½Π° Π±Π°ΠΉΠΊΠ° ΠΎΠ± ΠΈΡΠΏΠΎΠ»ΡΠ·ΠΎΠ²Π°Π½ΠΈΠΈ Π² ΡΡΠΎΠΌ ΠΊΠ°ΡΠ΅ΡΡΠ²Π΅ ΠΏΠ°Π½ΡΠΈΡΠ½ΡΡ ΠΊΡΠΎΠ²Π°ΡΠ΅ΠΉ, Ρ ΠΎΡΡ Π² ΡΠ΅Π°Π»ΡΠ½ΠΎΡΡΠΈ ΠΏΡΠΈΠΌΠ΅Π½ΡΠ»ΠΈΡΡ ΡΠΏΠ΅ΡΠΈΠ°Π»ΡΠ½ΡΠ΅ ΡΠ΅ΡΠΊΠΈ). ΠΠΎ ΡΠ°ΠΊΠΎΠ΅ ΡΠ΅ΡΠ΅Π½ΠΈΠ΅ Π±ΡΠ»ΠΎ Π½Π΅ ΡΠ»ΠΈΡΠΊΠΎΠΌ ΡΡΡΠ΅ΠΊΡΠΈΠ²Π½ΡΠΌ β ΠΏΡΠΈΡΠΎΡΡ ΡΡΠΎΠΉΠΊΠΎΡΡΠΈ ΡΠΎΡΡΠ°Π²Π»ΡΠ» Π² ΡΡΠ΅Π΄Π½Π΅ΠΌ Π²ΡΠ΅Π³ΠΎ 9β18%.
ΠΠΎΡΡΠΎΠΌΡ ΠΏΡΠΈ ΡΠ°Π·ΡΠ°Π±ΠΎΡΠΊΠ΅ Π½ΠΎΠ²ΠΎΠ³ΠΎ ΠΏΠΎΠΊΠΎΠ»Π΅Π½ΠΈΡ ΡΠ°Π½ΠΊΠΎΠ² (Π’-64, Π’-72, Π’-80) ΠΊΠΎΠ½ΡΡΡΡΠΊΡΠΎΡΡ ΠΏΡΠΈΠΌΠ΅Π½ΠΈΠ»ΠΈ Π΄ΡΡΠ³ΠΎΠ΅ ΡΠ΅ΡΠ΅Π½ΠΈΠ΅ β ΠΌΠ½ΠΎΠ³ΠΎΡΠ»ΠΎΠΉΠ½ΡΡ Π±ΡΠΎΠ½Ρ. ΠΠ½Π° ΡΠΎΡΡΠΎΡΠ»Π° ΠΈΠ· Π΄Π²ΡΡ ΡΠ»ΠΎΠ΅Π² ΡΡΠ°Π»ΠΈ, ΠΌΠ΅ΠΆΠ΄Ρ ΠΊΠΎΡΠΎΡΡΠΌΠΈ ΠΏΠΎΠΌΠ΅ΡΠ°Π»ΡΡ ΡΠ»ΠΎΠΉ ΠΌΠ°Π»ΠΎΠΏΠ»ΠΎΡΠ½ΠΎΠ³ΠΎ Π½Π°ΠΏΠΎΠ»Π½ΠΈΡΠ΅Π»Ρ β ΡΡΠ΅ΠΊΠ»ΠΎΠΏΠ»Π°ΡΡΠΈΠΊΠ° ΠΈΠ»ΠΈ ΠΊΠ΅ΡΠ°ΠΌΠΈΠΊΠΈ. Π’Π°ΠΊΠΎΠΉ Β«ΠΏΠΈΡΠΎΠ³Β» Π΄Π°Π²Π°Π» Π²ΡΠΈΠ³ΡΡΡ Π² ΡΡΠ°Π²Π½Π΅Π½ΠΈΠΈ Ρ ΠΌΠΎΠ½ΠΎΠ»ΠΈΡΠ½ΠΎΠΉ ΡΡΠ°Π»ΡΠ½ΠΎΠΉ Π±ΡΠΎΠ½Π΅ΠΉ Π΄ΠΎ 30%. ΠΠ΄Π½Π°ΠΊΠΎ ΡΡΠΎΡ ΡΠΏΠΎΡΠΎΠ± Π±ΡΠ» Π½Π΅ΠΏΡΠΈΠΌΠ΅Π½ΠΈΠΌ Π΄Π»Ρ Π±Π°ΡΠ½ΠΈ: Ρ ΡΡΠΈΡ ΠΌΠΎΠ΄Π΅Π»Π΅ΠΉ ΠΎΠ½Π° Π»ΠΈΡΠ°Ρ ΠΈ ΠΏΠΎΠΌΠ΅ΡΡΠΈΡΡ Π²Π½ΡΡΡΡ ΡΡΠ΅ΠΊΠ»ΠΎΠΏΠ»Π°ΡΡΠΈΠΊ ΡΠ»ΠΎΠΆΠ½ΠΎ Ρ ΡΠ΅Ρ Π½ΠΎΠ»ΠΎΠ³ΠΈΡΠ΅ΡΠΊΠΎΠΉ ΡΠΎΡΠΊΠΈ Π·ΡΠ΅Π½ΠΈΡ. ΠΠΎΠ½ΡΡΡΡΠΊΡΠΎΡΡ ΠΠΠΠ-100 (Π½ΡΠ½Π΅ ΠΠΠΠ Β«Π’ΡΠ°Π½ΡΠΌΠ°ΡΒ») ΠΏΡΠ΅Π΄Π»ΠΎΠΆΠΈΠ»ΠΈ Π²ΠΏΠ»Π°Π²Π»ΡΡΡ Π²Π½ΡΡΡΡ Π±Π°ΡΠ΅Π½Π½ΠΎΠΉ Π±ΡΠΎΠ½ΠΈ ΡΠ°ΡΡ ΠΈΠ· ΡΠ»ΡΡΡΠ°ΡΠ°ΡΡΠΎΡΠ°, ΡΠ΄Π΅Π»ΡΠ½Π°Ρ ΡΡΡΡΠ΅Π³Π°ΡΡΡΠ°Ρ ΡΠΏΠΎΡΠΎΠ±Π½ΠΎΡΡΡ ΠΊΠΎΡΠΎΡΠΎΠ³ΠΎ Π² 2β2,5 ΡΠ°Π·Π° Π²ΡΡΠ΅, ΡΠ΅ΠΌ Ρ Π±ΡΠΎΠ½Π΅Π²ΠΎΠΉ ΡΡΠ°Π»ΠΈ. Π‘ΠΏΠ΅ΡΠΈΠ°Π»ΠΈΡΡΡ ΠΠΠ ΡΡΠ°Π»ΠΈ Π²ΡΠ±ΡΠ°Π»ΠΈ Π΄ΡΡΠ³ΠΎΠΉ Π²Π°ΡΠΈΠ°Π½Ρ: ΠΌΠ΅ΠΆΠ΄Ρ Π²Π½Π΅ΡΠ½ΠΈΠΌ ΠΈ Π²Π½ΡΡΡΠ΅Π½Π½ΠΈΠΌ ΡΠ»ΠΎΡΠΌΠΈ Π±ΡΠΎΠ½ΠΈ ΠΏΠΎΠΌΠ΅ΡΠ°Π»ΠΈΡΡ ΠΏΠ°ΠΊΠ΅ΡΡ ΠΈΠ· Π²ΡΡΠΎΠΊΠΎΠΏΡΠΎΡΠ½ΠΎΠΉ ΡΠ²Π΅ΡΠ΄ΠΎΠΉ ΡΡΠ°Π»ΠΈ. ΠΠ½ΠΈ ΠΏΡΠΈΠ½ΠΈΠΌΠ°Π»ΠΈ Π½Π° ΡΠ΅Π±Ρ ΡΠ΄Π°Ρ ΠΎΡΠ»Π°Π±Π»Π΅Π½Π½ΠΎΠΉ ΠΊΡΠΌΡΠ»ΡΡΠΈΠ²Π½ΠΎΠΉ ΡΡΡΡΠΈ Π½Π° ΡΠΊΠΎΡΠΎΡΡΡΡ , ΠΊΠΎΠ³Π΄Π° Π²Π·Π°ΠΈΠΌΠΎΠ΄Π΅ΠΉΡΡΠ²ΠΈΠ΅ ΠΏΡΠΎΠΈΡΡ ΠΎΠ΄ΠΈΡ ΡΠΆΠ΅ Π½Π΅ ΠΏΠΎ Π·Π°ΠΊΠΎΠ½Π°ΠΌ Π³ΠΈΠ΄ΡΠΎΠ΄ΠΈΠ½Π°ΠΌΠΈΠΊΠΈ, Π° Π² Π·Π°Π²ΠΈΡΠΈΠΌΠΎΡΡΠΈ ΠΎΡ ΡΠ²Π΅ΡΠ΄ΠΎΡΡΠΈ ΠΌΠ°ΡΠ΅ΡΠΈΠ°Π»Π°.
ΠΠ±ΡΡΠ½ΠΎ ΡΠΎΠ»ΡΠΈΠ½Π° Π±ΡΠΎΠ½ΠΈ, ΠΊΠΎΡΠΎΡΡΡ ΡΠΏΠΎΡΠΎΠ±Π΅Π½ ΠΏΡΠΎΠ±ΠΈΡΡ ΠΊΡΠΌΡΠ»ΡΡΠΈΠ²Π½ΡΠΉ Π·Π°ΡΡΠ΄, ΡΠΎΡΡΠ°Π²Π»ΡΠ΅Ρ 6β8 Π΅Π³ΠΎ ΠΊΠ°Π»ΠΈΠ±ΡΠΎΠ², Π° Π΄Π»Ρ Π·Π°ΡΡΠ΄ΠΎΠ² Ρ ΠΎΠ±ΠΊΠ»Π°Π΄ΠΊΠ°ΠΌΠΈ ΠΈΠ· ΡΠ°ΠΊΠΈΡ
ΠΌΠ°ΡΠ΅ΡΠΈΠ°Π»ΠΎΠ², ΠΊΠ°ΠΊ ΠΎΠ±Π΅Π΄Π½Π΅Π½Π½ΡΠΉ ΡΡΠ°Π½, ΡΡΠΎ Π·Π½Π°ΡΠ΅Π½ΠΈΠ΅ ΠΌΠΎΠΆΠ΅Ρ Π΄ΠΎΡΡΠΈΠ³Π°ΡΡ 10ΠΠΎΠ»ΡΠ°ΠΊΡΠΈΠ²Π½Π°Ρ Π±ΡΠΎΠ½Ρ
Π₯ΠΎΡΡ Π·Π°ΡΠΎΡΠΌΠΎΠ·ΠΈΡΡ ΠΊΡΠΌΡΠ»ΡΡΠΈΠ²Π½ΡΡ ΡΡΡΡΡ Π΄ΠΎΡΡΠ°ΡΠΎΡΠ½ΠΎ Π½Π΅ΠΏΡΠΎΡΡΠΎ, ΠΎΠ½Π° ΡΡΠ·Π²ΠΈΠΌΠ° Π² ΠΏΠΎΠΏΠ΅ΡΠ΅ΡΠ½ΠΎΠΌ Π½Π°ΠΏΡΠ°Π²Π»Π΅Π½ΠΈΠΈ ΠΈ Π»Π΅Π³ΠΊΠΎ ΠΌΠΎΠΆΠ΅Ρ Π±ΡΡΡ ΡΠ°Π·ΡΡΡΠ΅Π½Π° Π΄Π°ΠΆΠ΅ ΡΠ»Π°Π±ΡΠΌ Π±ΠΎΠΊΠΎΠ²ΡΠΌ Π²ΠΎΠ·Π΄Π΅ΠΉΡΡΠ²ΠΈΠ΅ΠΌ. ΠΠΎΡΡΠΎΠΌΡ Π΄Π°Π»ΡΠ½Π΅ΠΉΡΠ΅Π΅ ΡΠ°Π·Π²ΠΈΡΠΈΠ΅ ΡΠ΅Ρ
Π½ΠΎΠ»ΠΎΠ³ΠΈΠΈ ΡΠΎΡΡΠΎΡΠ»ΠΎ Π² ΡΠΎΠΌ, ΡΡΠΎ ΠΊΠΎΠΌΠ±ΠΈΠ½ΠΈΡΠΎΠ²Π°Π½Π½Π°Ρ Π±ΡΠΎΠ½Ρ Π»ΠΎΠ±ΠΎΠ²ΡΡ
ΠΈ Π±ΠΎΡΡΠΎΠ²ΡΡ
ΡΠ°ΡΡΠ΅ΠΉ Π»ΠΈΡΠΎΠΉ Π±Π°ΡΠ½ΠΈ ΠΎΠ±ΡΠ°Π·ΠΎΠ²ΡΠ²Π°Π»Π°ΡΡ Π·Π° ΡΡΠ΅Ρ ΠΎΡΠΊΡΡΡΠΎΠΉ ΡΠ²Π΅ΡΡ
Ρ ΠΏΠΎΠ»ΠΎΡΡΠΈ, Π·Π°ΠΏΠΎΠ»Π½Π΅Π½Π½ΠΎΠΉ ΡΠ»ΠΎΠΆΠ½ΡΠΌ Π½Π°ΠΏΠΎΠ»Π½ΠΈΡΠ΅Π»Π΅ΠΌ; ΡΠ²Π΅ΡΡ
Ρ ΠΏΠΎΠ»ΠΎΡΡΡ Π·Π°ΠΊΡΡΠ²Π°Π»Π°ΡΡ ΠΏΡΠΈΠ²Π°ΡΠ½ΡΠΌΠΈ Π·Π°Π³Π»ΡΡΠΊΠ°ΠΌΠΈ. ΠΠ°ΡΠ½ΠΈ ΡΠ°ΠΊΠΎΠΉ ΠΊΠΎΠ½ΡΡΡΡΠΊΡΠΈΠΈ ΠΏΡΠΈΠΌΠ΅Π½ΡΠ»ΠΈΡΡ Π½Π° Π±ΠΎΠ»Π΅Π΅ ΠΏΠΎΠ·Π΄Π½ΠΈΡ
ΠΌΠΎΠ΄ΠΈΡΠΈΠΊΠ°ΡΠΈΡΡ
ΡΠ°Π½ΠΊΠΎΠ² β Π’-72Π, Π’-80Π£ ΠΈ Π’-80Π£Π. ΠΡΠΈΠ½ΡΠΈΠΏ Π΄Π΅ΠΉΡΡΠ²ΠΈΡ Π²ΡΡΠ°Π²ΠΎΠΊ Π±ΡΠ» ΡΠ°Π·Π½ΡΠΌ, Π½ΠΎ ΠΈΡΠΏΠΎΠ»ΡΠ·ΠΎΠ²Π°Π» ΡΠΏΠΎΠΌΡΠ½ΡΡΡΡ Β«Π±ΠΎΠΊΠΎΠ²ΡΡ ΡΡΠ·Π²ΠΈΠΌΠΎΡΡΡΒ» ΠΊΡΠΌΡΠ»ΡΡΠΈΠ²Π½ΠΎΠΉ ΡΡΡΡΠΈ. Π’Π°ΠΊΡΡ Π±ΡΠΎΠ½Ρ ΠΏΡΠΈΠ½ΡΡΠΎ ΠΎΡΠ½ΠΎΡΠΈΡΡ ΠΊ Β«ΠΏΠΎΠ»ΡΠ°ΠΊΡΠΈΠ²Π½ΡΠΌΒ» ΡΠΈΡΡΠ΅ΠΌΠ°ΠΌ Π·Π°ΡΠΈΡΡ, ΠΏΠΎΡΠΊΠΎΠ»ΡΠΊΡ Π² Π½ΠΈΡ
ΠΈΡΠΏΠΎΠ»ΡΠ·ΡΠ΅ΡΡΡ ΡΠ½Π΅ΡΠ³ΠΈΡ ΡΠ°ΠΌΠΎΠ³ΠΎ ΡΡΠ΅Π΄ΡΡΠ²Π° ΠΏΠΎΡΠ°ΠΆΠ΅Π½ΠΈΡ.
ΠΠ΄ΠΈΠ½ ΠΈΠ· Π²Π°ΡΠΈΠ°Π½ΡΠΎΠ² ΡΠ°ΠΊΠΈΡ ΡΠΈΡΡΠ΅ΠΌ β ΡΡΠ΅ΠΈΡΡΠ°Ρ Π±ΡΠΎΠ½Ρ, ΠΏΡΠΈΠ½ΡΠΈΠΏ Π΄Π΅ΠΉΡΡΠ²ΠΈΡ ΠΊΠΎΡΠΎΡΠΎΠΉ Π±ΡΠ» ΠΏΡΠ΅Π΄Π»ΠΎΠΆΠ΅Π½ ΡΠΎΡΡΡΠ΄Π½ΠΈΠΊΠ°ΠΌΠΈ ΠΠ½ΡΡΠΈΡΡΡΠ° Π³ΠΈΠ΄ΡΠΎΠ΄ΠΈΠ½Π°ΠΌΠΈΠΊΠΈ Π‘ΠΈΠ±ΠΈΡΡΠΊΠΎΠ³ΠΎ ΠΎΡΠ΄Π΅Π»Π΅Π½ΠΈΡ ΠΠ Π‘Π‘Π‘Π . ΠΡΠΎΠ½Ρ ΡΠΎΡΡΠΎΠΈΡ ΠΈΠ· Π½Π°Π±ΠΎΡΠ° ΠΏΠΎΠ»ΠΎΡΡΠ΅ΠΉ, Π·Π°ΠΏΠΎΠ»Π½Π΅Π½Π½ΡΡ ΠΊΠ²Π°Π·ΠΈΠΆΠΈΠ΄ΠΊΠΈΠΌ Π²Π΅ΡΠ΅ΡΡΠ²ΠΎΠΌ (ΠΏΠΎΠ»ΠΈΡΡΠ΅ΡΠ°Π½, ΠΏΠΎΠ»ΠΈΡΡΠΈΠ»Π΅Π½). ΠΡΠΌΡΠ»ΡΡΠΈΠ²Π½Π°Ρ ΡΡΡΡΡ, ΠΏΠΎΠΏΠ°Π² Π² ΡΠ°ΠΊΠΎΠΉ ΠΎΠ±ΡΠ΅ΠΌ, ΠΎΠ³ΡΠ°Π½ΠΈΡΠ΅Π½Π½ΡΠΉ ΠΌΠ΅ΡΠ°Π»Π»ΠΈΡΠ΅ΡΠΊΠΈΠΌΠΈ ΡΡΠ΅Π½ΠΊΠ°ΠΌΠΈ, Π³Π΅Π½Π΅ΡΠΈΡΡΠ΅Ρ Π² ΠΊΠ²Π°Π·ΠΈΠΆΠΈΠ΄ΠΊΠΎΡΡΠΈ ΡΠ΄Π°ΡΠ½ΡΡ Π²ΠΎΠ»Π½Ρ, ΠΊΠΎΡΠΎΡΠ°Ρ, ΠΎΡΡΠ°ΠΆΠ°ΡΡΡ ΠΎΡ ΡΡΠ΅Π½ΠΎΠΊ, Π²ΠΎΠ·Π²ΡΠ°ΡΠ°Π΅ΡΡΡ ΠΊ ΠΎΡΠΈ ΡΡΡΡΠΈ ΠΈ ΡΡ Π»ΠΎΠΏΡΠ²Π°Π΅Ρ ΠΊΠ°Π²Π΅ΡΠ½Ρ, Π²ΡΠ·ΡΠ²Π°Ρ ΡΠΎΡΠΌΠΎΠΆΠ΅Π½ΠΈΠ΅ ΠΈ ΡΠ°Π·ΡΡΡΠ΅Π½ΠΈΠ΅ ΡΡΡΡΠΈ. Π’Π°ΠΊΠΎΠΉ ΡΠΈΠΏ Π±ΡΠΎΠ½ΠΈ ΠΎΠ±Π΅ΡΠΏΠ΅ΡΠΈΠ²Π°Π΅Ρ Π²ΡΠΈΠ³ΡΡΡ ΠΏΠΎ ΠΏΡΠΎΡΠΈΠ²ΠΎΠΊΡΠΌΡΠ»ΡΡΠΈΠ²Π½ΠΎΠΉ ΡΡΠΎΠΉΠΊΠΎΡΡΠΈ Π΄ΠΎ 30β40%.
ΠΡΠ΅ ΠΎΠ΄ΠΈΠ½ Π²Π°ΡΠΈΠ°Π½Ρ β Π±ΡΠΎΠ½Ρ Ρ ΠΎΡΡΠ°ΠΆΠ°ΡΡΠΈΠΌΠΈ Π»ΠΈΡΡΠ°ΠΌΠΈ. ΠΡΠΎ ΡΡΠ΅Ρ ΡΠ»ΠΎΠΉΠ½Π°Ρ ΠΏΡΠ΅Π³ΡΠ°Π΄Π°, ΡΠΎΡΡΠΎΡΡΠ°Ρ ΠΈΠ· ΠΏΠ»ΠΈΡΡ, ΠΏΡΠΎΠΊΠ»Π°Π΄ΠΊΠΈ ΠΈ ΡΠΎΠ½ΠΊΠΎΠΉ ΠΏΠ»Π°ΡΡΠΈΠ½Ρ. Π‘ΡΡΡΡ, ΠΏΡΠΎΠ½ΠΈΠΊΠ°Ρ Π² ΠΏΠ»ΠΈΡΡ, ΡΠΎΠ·Π΄Π°Π΅Ρ Π½Π°ΠΏΡΡΠΆΠ΅Π½ΠΈΡ, ΠΏΡΠΈΠ²ΠΎΠ΄ΡΡΠΈΠ΅ ΡΠ½Π°ΡΠ°Π»Π° ΠΊ ΠΌΠ΅ΡΡΠ½ΠΎΠΌΡ Π²ΡΠΏΡΡΠΈΠ²Π°Π½ΠΈΡ ΡΡΠ»ΡΠ½ΠΎΠΉ ΠΏΠΎΠ²Π΅ΡΡ Π½ΠΎΡΡΠΈ, Π° Π·Π°ΡΠ΅ΠΌ ΠΊ Π΅Π΅ ΡΠ°Π·ΡΡΡΠ΅Π½ΠΈΡ. ΠΡΠΈ ΡΡΠΎΠΌ ΠΏΡΠΎΠΈΡΡ ΠΎΠ΄ΠΈΡ Π·Π½Π°ΡΠΈΡΠ΅Π»ΡΠ½ΠΎΠ΅ Π²ΡΠΏΡΡΠΈΠ²Π°Π½ΠΈΠ΅ ΠΏΡΠΎΠΊΠ»Π°Π΄ΠΊΠΈ ΠΈ ΡΠΎΠ½ΠΊΠΎΠ³ΠΎ Π»ΠΈΡΡΠ°. ΠΠΎΠ³Π΄Π° ΡΡΡΡΡ ΠΏΡΠΎΠ±ΠΈΠ²Π°Π΅Ρ ΠΏΡΠΎΠΊΠ»Π°Π΄ΠΊΡ ΠΈ ΡΠΎΠ½ΠΊΡΡ ΠΏΠ»Π°ΡΡΠΈΠ½Ρ, ΠΏΠΎΡΠ»Π΅Π΄Π½ΡΡ ΡΠΆΠ΅ Π½Π°ΡΠ°Π»Π° Π΄Π²ΠΈΠΆΠ΅Π½ΠΈΠ΅ Π² ΡΡΠΎΡΠΎΠ½Ρ ΠΎΡ ΡΡΠ»ΡΠ½ΠΎΠΉ ΠΏΠΎΠ²Π΅ΡΡ Π½ΠΎΡΡΠΈ ΠΏΠ»ΠΈΡΡ. ΠΠΎΡΠΊΠΎΠ»ΡΠΊΡ ΠΌΠ΅ΠΆΠ΄Ρ Π½Π°ΠΏΡΠ°Π²Π»Π΅Π½ΠΈΡΠΌΠΈ Π΄Π²ΠΈΠΆΠ΅Π½ΠΈΡ ΡΡΡΡΠΈ ΠΈ ΡΠΎΠ½ΠΊΠΎΠΉ ΠΏΠ»Π°ΡΡΠΈΠ½Ρ ΠΈΠΌΠ΅Π΅ΡΡΡ Π½Π΅ΠΊΠΎΡΠΎΡΡΠΉ ΡΠ³ΠΎΠ», ΡΠΎ Π² ΠΊΠ°ΠΊΠΎΠΉ-ΡΠΎ ΠΌΠΎΠΌΠ΅Π½Ρ Π²ΡΠ΅ΠΌΠ΅Π½ΠΈ ΠΏΠ»Π°ΡΡΠΈΠ½Π° Π½Π°ΡΠΈΠ½Π°Π΅Ρ Π½Π°Π±Π΅Π³Π°ΡΡ Π½Π° ΡΡΡΡΡ, ΡΠ°Π·ΡΡΡΠ°Ρ Π΅Π΅. Π ΡΡΠ°Π²Π½Π΅Π½ΠΈΠΈ Ρ ΠΌΠΎΠ½ΠΎΠ»ΠΈΡΠ½ΠΎΠΉ Π±ΡΠΎΠ½Π΅ΠΉ ΡΠΎΠΉ ΠΆΠ΅ ΠΌΠ°ΡΡΡ ΡΡΡΠ΅ΠΊΡ ΠΎΡ ΠΈΡΠΏΠΎΠ»ΡΠ·ΠΎΠ²Π°Π½ΠΈΡ Β«ΠΎΡΡΠ°ΠΆΠ°ΡΡΠΈΡ Β» Π»ΠΈΡΡΠΎΠ² ΠΌΠΎΠΆΠ΅Ρ Π΄ΠΎΡΡΠΈΠ³Π°ΡΡ 40%.
Π‘Π»Π΅Π΄ΡΡΡΠΈΠΌ ΡΡΠΎΠ²Π΅ΡΡΠ΅Π½ΡΡΠ²ΠΎΠ²Π°Π½ΠΈΠ΅ΠΌ ΠΊΠΎΠ½ΡΡΡΡΠΊΡΠΈΠΈ Π±ΡΠ» ΠΏΠ΅ΡΠ΅Ρ ΠΎΠ΄ Π½Π° Π±Π°ΡΠ½ΠΈ ΡΠΎ ΡΠ²Π°ΡΠ½ΠΎΠΉ ΠΎΡΠ½ΠΎΠ²ΠΎΠΉ. Π‘ΡΠ°Π»ΠΎ ΡΡΠ½ΠΎ, ΡΡΠΎ ΡΠ°Π·ΡΠ°Π±ΠΎΡΠΊΠΈ ΠΏΠΎ ΡΠ²Π΅Π»ΠΈΡΠ΅Π½ΠΈΡ ΠΏΡΠΎΡΠ½ΠΎΡΡΠΈ ΠΊΠ°ΡΠ°Π½ΠΎΠΉ Π±ΡΠΎΠ½ΠΈ Π±ΠΎΠ»Π΅Π΅ ΠΏΠ΅ΡΡΠΏΠ΅ΠΊΡΠΈΠ²Π½Ρ. Π ΡΠ°ΡΡΠ½ΠΎΡΡΠΈ, Π² 1980-Ρ Π³ΠΎΠ΄Π°Ρ Π±ΡΠ»ΠΈ ΡΠ°Π·ΡΠ°Π±ΠΎΡΠ°Π½Ρ ΠΈ Π³ΠΎΡΠΎΠ²Ρ ΠΊ ΡΠ΅ΡΠΈΠΉΠ½ΠΎΠΌΡ ΠΏΡΠΎΠΈΠ·Π²ΠΎΠ΄ΡΡΠ²Ρ Π½ΠΎΠ²ΡΠ΅ ΡΡΠ°Π»ΠΈ ΠΏΠΎΠ²ΡΡΠ΅Π½Π½ΠΎΠΉ ΡΠ²Π΅ΡΠ΄ΠΎΡΡΠΈ: Π‘Π-2Π¨, Π‘Π-3Π¨. ΠΡΠΈΠΌΠ΅Π½Π΅Π½ΠΈΠ΅ Π±Π°ΡΠ΅Π½ Ρ ΠΎΡΠ½ΠΎΠ²ΠΎΠΉ ΠΈΠ· ΠΏΡΠΎΠΊΠ°ΡΠ° ΠΏΠΎΠ·Π²ΠΎΠ»ΠΈΠ»ΠΎ ΠΏΠΎΠ²ΡΡΠΈΡΡ Π·Π°ΡΠΈΡΠ½ΡΠΉ ΡΠΊΠ²ΠΈΠ²Π°Π»Π΅Π½Ρ ΠΏΠΎ ΠΎΡΠ½ΠΎΠ²Π΅ Π±Π°ΡΠ½ΠΈ. Π ΡΠ΅Π·ΡΠ»ΡΡΠ°ΡΠ΅ Π±Π°ΡΠ½Ρ Π΄Π»Ρ ΡΠ°Π½ΠΊΠ° Π’-72Π Ρ ΠΎΡΠ½ΠΎΠ²ΠΎΠΉ ΠΈΠ· ΠΏΡΠΎΠΊΠ°ΡΠ° ΠΎΠ±Π»Π°Π΄Π°Π»Π° ΡΠ²Π΅Π»ΠΈΡΠ΅Π½Π½ΡΠΌ Π²Π½ΡΡΡΠ΅Π½Π½ΠΈΠΌ ΠΎΠ±ΡΠ΅ΠΌΠΎΠΌ, ΡΠΎΡΡ ΠΌΠ°ΡΡΡ ΡΠΎΡΡΠ°Π²ΠΈΠ» 400 ΠΊΠ³ ΠΏΠΎ ΡΡΠ°Π²Π½Π΅Π½ΠΈΡ Ρ ΡΠ΅ΡΠΈΠΉΠ½ΠΎΠΉ Π»ΠΈΡΠΎΠΉ Π±Π°ΡΠ½Π΅ΠΉ ΡΠ°Π½ΠΊΠ° Π’-72Π. ΠΠ°ΠΊΠ΅Ρ Π½Π°ΠΏΠΎΠ»Π½ΠΈΡΠ΅Π»Ρ Π±Π°ΡΠ½ΠΈ Π²ΡΠΏΠΎΠ»Π½ΡΠ»ΡΡ Ρ ΠΏΡΠΈΠΌΠ΅Π½Π΅Π½ΠΈΠ΅ΠΌ ΠΊΠ΅ΡΠ°ΠΌΠΈΡΠ΅ΡΠΊΠΈΡ ΠΌΠ°ΡΠ΅ΡΠΈΠ°Π»ΠΎΠ² ΠΈ ΡΡΠ°Π»ΠΈ ΠΏΠΎΠ²ΡΡΠ΅Π½Π½ΠΎΠΉ ΡΠ²Π΅ΡΠ΄ΠΎΡΡΠΈ ΠΈΠ»ΠΈ ΠΈΠ· ΠΏΠ°ΠΊΠ΅ΡΠ° Π½Π° ΠΎΡΠ½ΠΎΠ²Π΅ ΡΡΠ°Π»ΡΠ½ΡΡ ΠΏΠ»Π°ΡΡΠΈΠ½ Ρ Β«ΠΎΡΡΠ°ΠΆΠ°ΡΡΠΈΠΌΠΈΒ» Π»ΠΈΡΡΠ°ΠΌΠΈ. ΠΠΊΠ²ΠΈΠ²Π°Π»Π΅Π½ΡΠ½Π°Ρ Π±ΡΠΎΠ½Π΅ΡΡΠΎΠΉΠΊΠΎΡΡΡ ΡΡΠ°Π»Π° ΡΠ°Π²Π½Π° 500β550 ΠΌΠΌ Π³ΠΎΠΌΠΎΠ³Π΅Π½Π½ΠΎΠΉ ΡΡΠ°Π»ΠΈ.
ΠΡΠΈΠ½ΡΠΈΠΏ Π΄Π΅ΠΉΡΡΠ²ΠΈΡ Π΄ΠΈΠ½Π°ΠΌΠΈΡΠ΅ΡΠΊΠΎΠΉ Π·Π°ΡΠΈΡΡΠΡΠΈ ΠΏΡΠΎΠ±ΠΈΡΠΈΠΈ ΡΠ»Π΅ΠΌΠ΅Π½ΡΠ° ΠΠ ΠΊΡΠΌΡΠ»ΡΡΠΈΠ²Π½ΠΎΠΉ ΡΡΡΡΠ΅ΠΉ Π²Π·ΡΡΠ²ΡΠ°ΡΠΎΠ΅ Π²Π΅ΡΠ΅ΡΡΠ²ΠΎ, Π½Π°Ρ ΠΎΠ΄ΡΡΠ΅Π΅ΡΡ Π² Π½Π΅ΠΌ, Π΄Π΅ΡΠΎΠ½ΠΈΡΡΠ΅Ρ ΠΈ ΠΌΠ΅ΡΠ°Π»Π»ΠΈΡΠ΅ΡΠΊΠΈΠ΅ ΠΏΠ»Π°ΡΡΠΈΠ½Ρ ΠΊΠΎΡΠΏΡΡΠ° Π½Π°ΡΠΈΠ½Π°ΡΡ ΡΠ°Π·Π»Π΅ΡΠ°ΡΡΡΡ. ΠΡΠΈ ΡΡΠΎΠΌ ΠΎΠ½ΠΈ ΠΏΠ΅ΡΠ΅ΡΠ΅ΠΊΠ°ΡΡ ΡΡΠ°Π΅ΠΊΡΠΎΡΠΈΡ ΡΡΡΡΠΈ ΠΏΠΎΠ΄ ΡΠ³Π»ΠΎΠΌ, ΠΏΠΎΡΡΠΎΡΠ½Π½ΠΎ ΠΏΠΎΠ΄ΡΡΠ°Π²Π»ΡΡ ΠΏΠΎΠ΄ Π½Π΅Π΅ Π½ΠΎΠ²ΡΠ΅ ΡΡΠ°ΡΡΠΊΠΈ. Π§Π°ΡΡΡ ΡΠ½Π΅ΡΠ³ΠΈΠΈ ΡΠ°ΡΡ ΠΎΠ΄ΡΠ΅ΡΡΡ Π½Π° ΠΏΡΠΎΠ±ΠΈΡΠΈΠ΅ ΠΏΠ»Π°ΡΡΠΈΠ½, Π° Π±ΠΎΠΊΠΎΠ²ΠΎΠΉ ΠΈΠΌΠΏΡΠ»ΡΡ ΠΎΡ ΡΠΎΡΠ΄Π°ΡΠ΅Π½ΠΈΡ Π΄Π΅ΡΡΠ°Π±ΠΈΠ»ΠΈΠ·ΠΈΡΡΠ΅Ρ ΡΡΡΡΡ. ΠΠ ΡΠ½ΠΈΠΆΠ°Π΅Ρ Π±ΡΠΎΠ½Π΅ΠΏΡΠΎΠ±ΠΈΠ²Π½ΡΠ΅ Ρ Π°ΡΠ°ΠΊΡΠ΅ΡΠΈΡΡΠΈΠΊΠΈ ΠΊΡΠΌΡΠ»ΡΡΠΈΠ²Π½ΡΡ ΡΡΠ΅Π΄ΡΡΠ² Π½Π° 50β80%. ΠΡΠΈ ΡΡΠΎΠΌ, ΡΡΠΎ ΠΎΡΠ΅Π½Ρ Π²Π°ΠΆΠ½ΠΎ, ΠΠ Π½Π΅ Π΄Π΅ΡΠΎΠ½ΠΈΡΡΠ΅Ρ ΠΏΡΠΈ ΠΎΠ±ΡΡΡΠ΅Π»Π΅ ΠΈΠ· ΡΡΡΠ΅Π»ΠΊΠΎΠ²ΠΎΠ³ΠΎ ΠΎΡΡΠΆΠΈΡ. ΠΡΠΈΠΌΠ΅Π½Π΅Π½ΠΈΠ΅ ΠΠ ΡΡΠ°Π»ΠΎ ΡΠ΅Π²ΠΎΠ»ΡΡΠΈΠ΅ΠΉ Π² Π·Π°ΡΠΈΡΠ΅ Π±ΡΠΎΠ½Π΅ΡΠ΅Ρ Π½ΠΈΠΊΠΈ. ΠΠΎΡΠ²ΠΈΠ»Π°ΡΡ ΡΠ΅Π°Π»ΡΠ½Π°Ρ Π²ΠΎΠ·ΠΌΠΎΠΆΠ½ΠΎΡΡΡ Π²ΠΎΠ·Π΄Π΅ΠΉΡΡΠ²ΠΎΠ²Π°ΡΡ Π½Π° Π²Π½Π΅Π΄ΡΡΡΡΠ΅Π΅ΡΡ ΠΏΠΎΡΠ°ΠΆΠ°ΡΡΠ΅Π΅ ΡΡΠ΅Π΄ΡΡΠ²ΠΎ ΡΠ°ΠΊ ΠΆΠ΅ Π°ΠΊΡΠΈΠ²Π½ΠΎ, ΠΊΠ°ΠΊ Π΄ΠΎ ΡΡΠΎΠ³ΠΎ ΠΎΠ½ΠΎ Π²ΠΎΠ·Π΄Π΅ΠΉΡΡΠ²ΠΎΠ²Π°Π»ΠΎ Π½Π° ΠΏΠ°ΡΡΠΈΠ²Π½ΡΡ Π±ΡΠΎΠ½Ρ
Π’Π΅ΠΌ Π²ΡΠ΅ΠΌΠ΅Π½Π΅ΠΌ ΡΠ΅Ρ Π½ΠΎΠ»ΠΎΠ³ΠΈΠΈ Π² ΠΎΠ±Π»Π°ΡΡΠΈ ΠΊΡΠΌΡΠ»ΡΡΠΈΠ²Π½ΡΡ Π±ΠΎΠ΅ΠΏΡΠΈΠΏΠ°ΡΠΎΠ² ΠΏΡΠΎΠ΄ΠΎΠ»ΠΆΠ°Π»ΠΈ ΡΠΎΠ²Π΅ΡΡΠ΅Π½ΡΡΠ²ΠΎΠ²Π°ΡΡΡΡ. ΠΡΠ»ΠΈ Π² Π³ΠΎΠ΄Ρ ΠΡΠΎΡΠΎΠΉ ΠΌΠΈΡΠΎΠ²ΠΎΠΉ Π²ΠΎΠΉΠ½Ρ Π±ΡΠΎΠ½Π΅ΠΏΡΠΎΠ±ΠΈΠ²Π°Π΅ΠΌΠΎΡΡΡ ΠΊΡΠΌΡΠ»ΡΡΠΈΠ²Π½ΡΡ ΡΠ½Π°ΡΡΠ΄ΠΎΠ² Π½Π΅ ΠΏΡΠ΅Π²ΡΡΠ°Π»Π° 4β5 ΠΊΠ°Π»ΠΈΠ±ΡΠΎΠ², ΡΠΎ ΠΏΠΎΠ·Π΄Π½Π΅Π΅ ΠΎΠ½Π° Π·Π½Π°ΡΠΈΡΠ΅Π»ΡΠ½ΠΎ Π²ΡΡΠΎΡΠ»Π°. Π’Π°ΠΊ, ΠΏΡΠΈ ΠΊΠ°Π»ΠΈΠ±ΡΠ΅ 100β105 ΠΌΠΌ ΠΎΠ½Π° ΡΠΆΠ΅ ΡΠΎΡΡΠ°Π²Π»ΡΠ»Π° 6β7 ΠΊΠ°Π»ΠΈΠ±ΡΠΎΠ² (Π² ΡΡΠ°Π»ΡΠ½ΠΎΠΌ ΡΠΊΠ²ΠΈΠ²Π°Π»Π΅Π½ΡΠ΅ 600β700 ΠΌΠΌ), ΠΏΡΠΈ ΠΊΠ°Π»ΠΈΠ±ΡΠ΅ 120β152 ΠΌΠΌ Π±ΡΠΎΠ½Π΅ΠΏΡΠΎΠ±ΠΈΠ²Π°Π΅ΠΌΠΎΡΡΡ ΡΠ΄Π°Π»ΠΎΡΡ ΠΏΠΎΠ΄Π½ΡΡΡ Π΄ΠΎ 8β10 ΠΊΠ°Π»ΠΈΠ±ΡΠΎΠ² (900β1200 ΠΌΠΌ Π³ΠΎΠΌΠΎΠ³Π΅Π½Π½ΠΎΠΉ ΡΡΠ°Π»ΠΈ). Π§ΡΠΎΠ±Ρ Π·Π°ΡΠΈΡΠΈΡΡΡΡ ΠΎΡ ΡΡΠΈΡ Π±ΠΎΠ΅ΠΏΡΠΈΠΏΠ°ΡΠΎΠ², ΡΡΠ΅Π±ΠΎΠ²Π°Π»ΠΎΡΡ ΠΊΠ°ΡΠ΅ΡΡΠ²Π΅Π½Π½ΠΎ Π½ΠΎΠ²ΠΎΠ΅ ΡΠ΅ΡΠ΅Π½ΠΈΠ΅.
Π Π°Π±ΠΎΡΡ Π½Π°Π΄ ΠΏΡΠΎΡΠΈΠ²ΠΎΠΊΡΠΌΡΠ»ΡΡΠΈΠ²Π½ΠΎΠΉ, ΠΈΠ»ΠΈ Β«Π΄ΠΈΠ½Π°ΠΌΠΈΡΠ΅ΡΠΊΠΎΠΉΒ», Π±ΡΠΎΠ½Π΅ΠΉ, ΠΎΡΠ½ΠΎΠ²Π°Π½Π½ΠΎΠΉ Π½Π° ΠΏΡΠΈΠ½ΡΠΈΠΏΠ΅ ΠΊΠΎΠ½ΡΡΠ²Π·ΡΡΠ²Π°, Π²Π΅Π»ΠΈΡΡ Π² Π‘Π‘Π‘Π Ρ 1950-Ρ Π³ΠΎΠ΄ΠΎΠ². Π 1970-ΠΌ Π΅Π΅ ΠΊΠΎΠ½ΡΡΡΡΠΊΡΠΈΡ ΡΠΆΠ΅ Π±ΡΠ»Π° ΠΎΡΡΠ°Π±ΠΎΡΠ°Π½Π° Π²ΠΎ ΠΠΠΠ ΡΡΠ°Π»ΠΈ, Π½ΠΎ ΠΏΡΠΈΠ½ΡΡΡ Π΅Π΅ Π½Π° Π²ΠΎΠΎΡΡΠΆΠ΅Π½ΠΈΠ΅ ΠΌΠ΅ΡΠ°Π»Π° ΠΏΡΠΈΡ ΠΎΠ»ΠΎΠ³ΠΈΡΠ΅ΡΠΊΠ°Ρ Π½Π΅ΠΏΠΎΠ΄Π³ΠΎΡΠΎΠ²Π»Π΅Π½Π½ΠΎΡΡΡ Π²ΡΡΠΎΠΊΠΎΠΏΠΎΡΡΠ°Π²Π»Π΅Π½Π½ΡΡ ΠΏΡΠ΅Π΄ΡΡΠ°Π²ΠΈΡΠ΅Π»Π΅ΠΉ Π°ΡΠΌΠΈΠΈ ΠΈ ΠΏΡΠΎΠΌΡΡΠ»Π΅Π½Π½ΠΎΡΡΠΈ. Π£Π±Π΅Π΄ΠΈΡΡ ΠΈΡ ΠΏΠΎΠΌΠΎΠ³Π»ΠΎ ΡΠΎΠ»ΡΠΊΠΎ ΡΡΠΏΠ΅ΡΠ½ΠΎΠ΅ ΠΏΡΠΈΠΌΠ΅Π½Π΅Π½ΠΈΠ΅ ΠΈΠ·ΡΠ°ΠΈΠ»ΡΡΠΊΠΈΠΌΠΈ ΡΠ°Π½ΠΊΠΈΡΡΠ°ΠΌΠΈ Π°Π½Π°Π»ΠΎΠ³ΠΈΡΠ½ΠΎΠΉ Π±ΡΠΎΠ½ΠΈ Π½Π° ΡΠ°Π½ΠΊΠ°Ρ Π48 ΠΈ Π60 Π² Ρ ΠΎΠ΄Π΅ Π°ΡΠ°Π±ΠΎ-ΠΈΠ·ΡΠ°ΠΈΠ»ΡΡΠΊΠΎΠΉ Π²ΠΎΠΉΠ½Ρ 1982 Π³ΠΎΠ΄Π°. ΠΠΎΡΠΊΠΎΠ»ΡΠΊΡ ΡΠ΅Ρ Π½ΠΈΡΠ΅ΡΠΊΠΈΠ΅, ΠΊΠΎΠ½ΡΡΡΡΠΊΡΠΎΡΡΠΊΠΈΠ΅ ΠΈ ΡΠ΅Ρ Π½ΠΎΠ»ΠΎΠ³ΠΈΡΠ΅ΡΠΊΠΈΠ΅ ΡΠ΅ΡΠ΅Π½ΠΈΡ Π±ΡΠ»ΠΈ ΠΏΠΎΠ»Π½ΠΎΡΡΡΡ ΠΏΠΎΠ΄Π³ΠΎΡΠΎΠ²Π»Π΅Π½Ρ, ΠΎΡΠ½ΠΎΠ²Π½ΠΎΠΉ ΡΠ°Π½ΠΊΠΎΠ²ΡΠΉ ΠΏΠ°ΡΠΊ Π‘ΠΎΠ²Π΅ΡΡΠΊΠΎΠ³ΠΎ Π‘ΠΎΡΠ·Π° Π±ΡΠ» ΠΎΡΠ½Π°ΡΠ΅Π½ ΠΏΡΠΎΡΠΈΠ²ΠΎΠΊΡΠΌΡΠ»ΡΡΠΈΠ²Π½ΠΎΠΉ Π΄ΠΈΠ½Π°ΠΌΠΈΡΠ΅ΡΠΊΠΎΠΉ Π·Π°ΡΠΈΡΠΎΠΉ (ΠΠ) Β«ΠΠΎΠ½ΡΠ°ΠΊΡ-1Β» Π² ΡΠ΅ΠΊΠΎΡΠ΄Π½ΡΠΉ ΡΡΠΎΠΊ β Π²ΡΠ΅Π³ΠΎ Π·Π° Π³ΠΎΠ΄. Π£ΡΡΠ°Π½ΠΎΠ²ΠΊΠ° ΠΠ Π½Π° ΡΠ°Π½ΠΊΠΈ Π’-64Π, Π’-72Π, Π’-80Π, ΠΈ Π±Π΅Π· ΡΠΎΠ³ΠΎ ΡΠΆΠ΅ ΠΎΠ±Π»Π°Π΄Π°Π²ΡΠΈΠ΅ Π΄ΠΎΡΡΠ°ΡΠΎΡΠ½ΠΎ ΠΌΠΎΡΠ½ΡΠΌ Π±ΡΠΎΠ½ΠΈΡΠΎΠ²Π°Π½ΠΈΠ΅ΠΌ, ΠΏΡΠ°ΠΊΡΠΈΡΠ΅ΡΠΊΠΈ ΠΎΠ΄Π½ΠΎΠΌΠΎΠΌΠ΅Π½ΡΠ½ΠΎ ΠΎΠ±Π΅ΡΡΠ΅Π½ΠΈΠ»Π° ΡΡΡΠ΅ΡΡΠ²ΠΎΠ²Π°Π²ΡΠΈΠ΅ Π°ΡΡΠ΅Π½Π°Π»Ρ ΠΏΡΠΎΡΠΈΠ²ΠΎΡΠ°Π½ΠΊΠΎΠ²ΠΎΠ³ΠΎ ΡΠΏΡΠ°Π²Π»ΡΠ΅ΠΌΠΎΠ³ΠΎ Π²ΠΎΠΎΡΡΠΆΠ΅Π½ΠΈΡ ΠΏΠΎΡΠ΅Π½ΡΠΈΠ°Π»ΡΠ½ΡΡ ΠΏΡΠΎΡΠΈΠ²Π½ΠΈΠΊΠΎΠ².
ΠΡΠΎΡΠΈΠ² Π»ΠΎΠΌΠ° Π΅ΡΡΡ ΠΏΡΠΈΠ΅ΠΌΡ
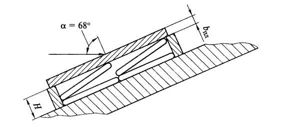
ΠΡΠΌΡΠ»ΡΡΠΈΠ²Π½ΡΠΉ ΡΠ½Π°ΡΡΠ΄ β Π½Π΅ Π΅Π΄ΠΈΠ½ΡΡΠ²Π΅Π½Π½ΠΎΠ΅ ΡΡΠ΅Π΄ΡΡΠ²ΠΎ ΠΏΠΎΡΠ°ΠΆΠ΅Π½ΠΈΡ Π±ΡΠΎΠ½Π΅ΡΠ΅Ρ Π½ΠΈΠΊΠΈ. ΠΠΎΡΠ°Π·Π΄ΠΎ Π±ΠΎΠ»Π΅Π΅ ΠΎΠΏΠ°ΡΠ½ΡΠ΅ ΠΏΡΠΎΡΠΈΠ²Π½ΠΈΠΊΠΈ Π±ΡΠΎΠ½ΠΈ β Π±ΡΠΎΠ½Π΅Π±ΠΎΠΉΠ½ΡΠ΅ ΠΏΠΎΠ΄ΠΊΠ°Π»ΠΈΠ±Π΅ΡΠ½ΡΠ΅ ΡΠ½Π°ΡΡΠ΄Ρ (ΠΠΠ‘). ΠΠΎ ΠΊΠΎΠ½ΡΡΡΡΠΊΡΠΈΠΈ ΡΠ°ΠΊΠΎΠΉ ΡΠ½Π°ΡΡΠ΄ ΠΏΡΠΎΡΡ β ΠΎΠ½ ΠΏΡΠ΅Π΄ΡΡΠ°Π²Π»ΡΠ΅Ρ ΡΠΎΠ±ΠΎΠΉ Π΄Π»ΠΈΠ½Π½ΡΠΉ Π»ΠΎΠΌ (ΡΠ΅ΡΠ΄Π΅ΡΠ½ΠΈΠΊ) ΠΈΠ· ΡΡΠΆΠ΅Π»ΠΎΠ³ΠΎ ΠΈ Π²ΡΡΠΎΠΊΠΎΠΏΡΠΎΡΠ½ΠΎΠ³ΠΎ ΠΌΠ°ΡΠ΅ΡΠΈΠ°Π»Π° (ΠΎΠ±ΡΡΠ½ΠΎ ΡΡΠΎ ΠΊΠ°ΡΠ±ΠΈΠ΄ Π²ΠΎΠ»ΡΡΡΠ°ΠΌΠ° ΠΈΠ»ΠΈ ΠΎΠ±Π΅Π΄Π½Π΅Π½Π½ΡΠΉ ΡΡΠ°Π½) Ρ ΠΎΠΏΠ΅ΡΠ΅Π½ΠΈΠ΅ΠΌ Π΄Π»Ρ ΡΡΠ°Π±ΠΈΠ»ΠΈΠ·Π°ΡΠΈΠΈ Π² ΠΏΠΎΠ»Π΅ΡΠ΅. ΠΠΈΠ°ΠΌΠ΅ΡΡ ΡΠ΅ΡΠ΄Π΅ΡΠ½ΠΈΠΊΠ° Π½Π°ΠΌΠ½ΠΎΠ³ΠΎ ΠΌΠ΅Π½ΡΡΠ΅ ΠΊΠ°Π»ΠΈΠ±ΡΠ° ΡΡΠ²ΠΎΠ»Π° β ΠΎΡΡΡΠ΄Π° ΠΈ Π½Π°Π·Π²Π°Π½ΠΈΠ΅ Β«ΠΏΠΎΠ΄ΠΊΠ°Π»ΠΈΠ±Π΅ΡΠ½ΡΠ΅Β». ΠΠ΅ΡΡΡΠΈΠΉ ΡΠΎ ΡΠΊΠΎΡΠΎΡΡΡΡ 1,5β1,6 ΠΊΠΌ/Ρ Β«Π΄ΡΠΎΡΠΈΠΊΒ» ΠΌΠ°ΡΡΠΎΠΉ Π² Π½Π΅ΡΠΊΠΎΠ»ΡΠΊΠΎ ΠΊΠΈΠ»ΠΎΠ³ΡΠ°ΠΌΠΌΠΎΠ² ΠΎΠ±Π»Π°Π΄Π°Π΅Ρ ΡΠ°ΠΊΠΎΠΉ ΠΊΠΈΠ½Π΅ΡΠΈΡΠ΅ΡΠΊΠΎΠΉ ΡΠ½Π΅ΡΠ³ΠΈΠ΅ΠΉ, ΡΡΠΎ ΠΏΡΠΈ ΠΏΠΎΠΏΠ°Π΄Π°Π½ΠΈΠΈ ΡΠΏΠΎΡΠΎΠ±Π΅Π½ ΠΏΡΠΎΠ±ΠΈΠ²Π°ΡΡ Π±ΠΎΠ»Π΅Π΅ 650 ΠΌΠΌ Π³ΠΎΠΌΠΎΠ³Π΅Π½Π½ΠΎΠΉ ΡΡΠ°Π»ΠΈ. ΠΡΠΈΡΠ΅ΠΌ ΠΎΠΏΠΈΡΠ°Π½Π½ΡΠ΅ Π²ΡΡΠ΅ ΡΠΏΠΎΡΠΎΠ±Ρ ΡΡΠΈΠ»Π΅Π½ΠΈΡ ΠΏΡΠΎΡΠΈΠ²ΠΎΠΊΡΠΌΡΠ»ΡΡΠΈΠ²Π½ΠΎΠΉ Π·Π°ΡΠΈΡΡ ΠΏΡΠ°ΠΊΡΠΈΡΠ΅ΡΠΊΠΈ Π½Π΅ Π²Π»ΠΈΡΡΡ Π½Π° ΠΏΠΎΠ΄ΠΊΠ°Π»ΠΈΠ±Π΅ΡΠ½ΡΠ΅ ΡΠ½Π°ΡΡΠ΄Ρ. ΠΠΎΠΏΡΠ΅ΠΊΠΈ Π·Π΄ΡΠ°Π²ΠΎΠΌΡ ΡΠΌΡΡΠ»Ρ, Π½Π°ΠΊΠ»ΠΎΠ½ Π±ΡΠΎΠ½Π΅Π²ΡΡ Π»ΠΈΡΡΠΎΠ² Π½Π΅ ΡΠΎΠ»ΡΠΊΠΎ Π½Π΅ Π²ΡΠ·ΡΠ²Π°Π΅Ρ ΡΠΈΠΊΠΎΡΠ΅Ρ ΠΏΠΎΠ΄ΠΊΠ°Π»ΠΈΠ±Π΅ΡΠ½ΠΎΠ³ΠΎ ΡΠ½Π°ΡΡΠ΄Π°, Π½ΠΎ Π΄Π°ΠΆΠ΅ ΠΎΡΠ»Π°Π±Π»ΡΠ΅Ρ ΡΡΠ΅ΠΏΠ΅Π½Ρ Π·Π°ΡΠΈΡΡ ΠΎΡ Π½ΠΈΡ ! Π‘ΠΎΠ²ΡΠ΅ΠΌΠ΅Π½Π½ΡΠ΅ Β«ΡΡΠ°Π±Π°ΡΡΠ²Π°ΡΡΠΈΠ΅ΡΡΒ» ΡΠ΅ΡΠ΄Π΅ΡΠ½ΠΈΠΊΠΈ Π½Π΅ ΡΠΈΠΊΠΎΡΠ΅ΡΠΈΡΡΡΡ: ΠΏΡΠΈ ΠΊΠΎΠ½ΡΠ°ΠΊΡΠ΅ Ρ Π±ΡΠΎΠ½Π΅ΠΉ Π½Π° ΠΏΠ΅ΡΠ΅Π΄Π½Π΅ΠΌ ΠΊΠΎΠ½ΡΠ΅ ΡΠ΅ΡΠ΄Π΅ΡΠ½ΠΈΠΊΠ° ΠΎΠ±ΡΠ°Π·ΡΠ΅ΡΡΡ Π³ΡΠΈΠ±ΠΎΠ²ΠΈΠ΄Π½ΡΠΉ ΠΎΠ³ΠΎΠ»ΠΎΠ²ΠΎΠΊ, ΠΈΠ³ΡΠ°ΡΡΠΈΠΉ ΡΠΎΠ»Ρ ΡΠ°ΡΠ½ΠΈΡΠ°, ΠΈ ΡΠ½Π°ΡΡΠ΄ Π΄ΠΎΠ²ΠΎΡΠ°ΡΠΈΠ²Π°Π΅ΡΡΡ Π² ΡΡΠΎΡΠΎΠ½Ρ ΠΏΠ΅ΡΠΏΠ΅Π½Π΄ΠΈΠΊΡΠ»ΡΡΠ° ΠΊ Π±ΡΠΎΠ½Π΅, ΡΠΎΠΊΡΠ°ΡΠ°Ρ ΠΏΡΡΡ Π² Π΅Π΅ ΡΠΎΠ»ΡΠ΅.
Π‘Π»Π΅Π΄ΡΡΡΠΈΠΌ ΠΏΠΎΠΊΠΎΠ»Π΅Π½ΠΈΠ΅ΠΌ ΠΠ ΡΡΠ°Π»Π° ΡΠΈΡΡΠ΅ΠΌΠ° Β«ΠΠΎΠ½ΡΠ°ΠΊΡ-5Β». Π‘ΠΏΠ΅ΡΠΈΠ°Π»ΠΈΡΡΡ ΠΠΠ ΡΡΠ°Π»ΠΈ ΠΏΡΠΎΠ΄Π΅Π»Π°Π»ΠΈ Π±ΠΎΠ»ΡΡΡΡ ΡΠ°Π±ΠΎΡΡ, ΡΠ΅ΡΠΈΠ² ΠΌΠ½ΠΎΠΆΠ΅ΡΡΠ²ΠΎ ΠΏΡΠΎΡΠΈΠ²ΠΎΡΠ΅ΡΠΈΠ²ΡΡ ΠΏΡΠΎΠ±Π»Π΅ΠΌ: ΠΠ Π΄ΠΎΠ»ΠΆΠ½Π° Π±ΡΠ»Π° Π΄Π°Π²Π°ΡΡ ΠΌΠΎΡΠ½ΡΠΉ Π±ΠΎΠΊΠΎΠ²ΠΎΠΉ ΠΈΠΌΠΏΡΠ»ΡΡ, ΠΏΠΎΠ·Π²ΠΎΠ»ΡΡΡΠΈΠΉ Π΄Π΅ΡΡΠ°Π±ΠΈΠ»ΠΈΠ·ΠΈΡΠΎΠ²Π°ΡΡ ΠΈΠ»ΠΈ ΡΠ°Π·ΡΡΡΠΈΡΡ ΡΠ΅ΡΠ΄Π΅ΡΠ½ΠΈΠΊ ΠΠΠΠ‘, Π²Π·ΡΡΠ²ΡΠ°ΡΠΎΠ΅ Π²Π΅ΡΠ΅ΡΡΠ²ΠΎ Π΄ΠΎΠ»ΠΆΠ½ΠΎ Π±ΡΠ»ΠΎ Π½Π°Π΄Π΅ΠΆΠ½ΠΎ Π΄Π΅ΡΠΎΠ½ΠΈΡΠΎΠ²Π°ΡΡ ΠΎΡ Π½ΠΈΠ·ΠΊΠΎΡΠΊΠΎΡΠΎΡΡΠ½ΠΎΠ³ΠΎ (ΠΏΠΎ ΡΡΠ°Π²Π½Π΅Π½ΠΈΡ Ρ ΠΊΡΠΌΡΠ»ΡΡΠΈΠ²Π½ΠΎΠΉ ΡΡΡΡΠ΅ΠΉ) ΡΠ΅ΡΠ΄Π΅ΡΠ½ΠΈΠΊΠ° ΠΠΠΠ‘, Π½ΠΎ ΠΏΡΠΈ ΡΡΠΎΠΌ Π΄Π΅ΡΠΎΠ½Π°ΡΠΈΡ ΠΎΡ ΠΏΠΎΠΏΠ°Π΄Π°Π½ΠΈΡ ΠΏΡΠ»Ρ ΠΈ ΠΎΡΠΊΠΎΠ»ΠΊΠΎΠ² ΡΠ½Π°ΡΡΠ΄ΠΎΠ² ΠΈΡΠΊΠ»ΡΡΠ°Π»Π°ΡΡ. Π‘ ΡΡΠΈΠΌΠΈ ΠΏΡΠΎΠ±Π»Π΅ΠΌΠ°ΠΌΠΈ ΠΏΠΎΠΌΠΎΠ³Π»Π° ΡΠΏΡΠ°Π²ΠΈΡΡΡΡ ΠΊΠΎΠ½ΡΡΡΡΠΊΡΠΈΡ Π±Π»ΠΎΠΊΠΎΠ². ΠΡΡΡΠΊΠ° Π±Π»ΠΎΠΊΠ° ΠΠ Π²ΡΠΏΠΎΠ»Π½Π΅Π½Π° ΠΈΠ· ΡΠΎΠ»ΡΡΠΎΠΉ (ΠΎΠΊΠΎΠ»ΠΎ 20 ΠΌΠΌ) Π²ΡΡΠΎΠΊΠΎΠΏΡΠΎΡΠ½ΠΎΠΉ Π±ΡΠΎΠ½Π΅Π²ΠΎΠΉ ΡΡΠ°Π»ΠΈ. ΠΡΠΈ ΡΠ΄Π°ΡΠ΅ Π² Π½Π΅Π΅ ΠΠΠ‘ Π³Π΅Π½Π΅ΡΠΈΡΡΠ΅Ρ ΠΏΠΎΡΠΎΠΊ Π²ΡΡΠΎΠΊΠΎΡΠΊΠΎΡΠΎΡΡΠ½ΡΡ ΠΎΡΠΊΠΎΠ»ΠΊΠΎΠ², ΠΊΠΎΡΠΎΡΡΠ΅ ΠΈ Π΄Π΅ΡΠΎΠ½ΠΈΡΡΡΡ Π·Π°ΡΡΠ΄. ΠΠΎΠ·Π΄Π΅ΠΉΡΡΠ²ΠΈΠ΅ Π½Π° ΠΠΠ‘ Π΄Π²ΠΈΠΆΡΡΠ΅ΠΉΡΡ ΡΠΎΠ»ΡΡΠΎΠΉ ΠΊΡΡΡΠΊΠΈ ΠΎΠΊΠ°Π·ΡΠ²Π°Π΅ΡΡΡ Π΄ΠΎΡΡΠ°ΡΠΎΡΠ½ΡΠΌ, ΡΡΠΎΠ±Ρ ΡΠ½ΠΈΠ·ΠΈΡΡ Π΅Π³ΠΎ Π±ΡΠΎΠ½Π΅ΠΏΡΠΎΠ±ΠΈΠ²Π½ΡΠ΅ Ρ Π°ΡΠ°ΠΊΡΠ΅ΡΠΈΡΡΠΈΠΊΠΈ. ΠΠΎΠ·Π΄Π΅ΠΉΡΡΠ²ΠΈΠ΅ Π½Π° ΠΊΡΠΌΡΠ»ΡΡΠΈΠ²Π½ΡΡ ΡΡΡΡΡ ΡΠ°ΠΊΠΆΠ΅ ΡΠ²Π΅Π»ΠΈΡΠΈΠ²Π°Π΅ΡΡΡ ΠΏΠΎ ΡΡΠ°Π²Π½Π΅Π½ΠΈΡ Ρ ΡΠΎΠ½ΠΊΠΎΠΉ (3 ΠΌΠΌ) ΠΏΠ»Π°ΡΡΠΈΠ½ΠΎΠΉ Β«ΠΠΎΠ½ΡΠ°ΠΊΡ-1Β». Π ΡΠ΅Π·ΡΠ»ΡΡΠ°ΡΠ΅ ΡΡΡΠ°Π½ΠΎΠ²ΠΊΠ° ΠΠ Β«ΠΠΎΠ½ΡΠ°ΠΊΡ-5Β» Π½Π° ΡΠ°Π½ΠΊΠΈ ΠΏΠΎΠ²ΡΡΠ°Π΅Ρ ΠΏΡΠΎΡΠΈΠ²ΠΎΠΊΡΠΌΡΠ»ΡΡΠΈΠ²Π½ΡΡ ΡΡΠΎΠΉΠΊΠΎΡΡΡ Π² 1,5β1,8 ΡΠ°Π·Π° ΠΈ ΠΎΠ±Π΅ΡΠΏΠ΅ΡΠΈΠ²Π°Π΅Ρ ΠΏΠΎΠ²ΡΡΠ΅Π½ΠΈΠ΅ ΡΡΠΎΠ²Π½Ρ Π·Π°ΡΠΈΡΡ ΠΎΡ ΠΠΠ‘ Π² 1,2β1,5 ΡΠ°Π·Π°. ΠΠΎΠΌΠΏΠ»Π΅ΠΊΡ Β«ΠΠΎΠ½ΡΠ°ΠΊΡ-5Β» ΡΡΡΠ°Π½Π°Π²Π»ΠΈΠ²Π°Π΅ΡΡΡ Π½Π° ΡΠΎΡΡΠΈΠΉΡΠΊΠΈΠ΅ ΡΠ΅ΡΠΈΠΉΠ½ΡΠ΅ ΡΠ°Π½ΠΊΠΈ Π’-80Π£, Π’-80Π£Π, Π’-72Π (Π½Π°ΡΠΈΠ½Π°Ρ Ρ 1988 Π³ΠΎΠ΄Π°) ΠΈ Π’-90.
ΠΠΎΡΠ»Π΅Π΄Π½Π΅Π΅ ΠΏΠΎΠΊΠΎΠ»Π΅Π½ΠΈΠ΅ ΡΠΎΡΡΠΈΠΉΡΠΊΠΎΠΉ ΠΠ β ΠΊΠΎΠΌΠΏΠ»Π΅ΠΊΡ Β«Π Π΅Π»ΠΈΠΊΡΒ», ΡΠ°ΠΊΠΆΠ΅ ΡΠ°Π·ΡΠ°Π±ΠΎΡΠ°Π½Π½ΡΠΉ ΡΠΏΠ΅ΡΠΈΠ°Π»ΠΈΡΡΠ°ΠΌΠΈ ΠΠΠ ΡΡΠ°Π»ΠΈ. Π ΡΡΠΎΠ²Π΅ΡΡΠ΅Π½ΡΡΠ²ΠΎΠ²Π°Π½Π½ΡΡ ΠΠΠ ΡΠ΄Π°Π»ΠΎΡΡ ΡΡΡΡΠ°Π½ΠΈΡΡ ΠΌΠ½ΠΎΠ³ΠΈΠ΅ Π½Π΅Π΄ΠΎΡΡΠ°ΡΠΊΠΈ, Π½Π°ΠΏΡΠΈΠΌΠ΅Ρ Π½Π΅Π΄ΠΎΡΡΠ°ΡΠΎΡΠ½ΡΡ ΡΡΠ²ΡΡΠ²ΠΈΡΠ΅Π»ΡΠ½ΠΎΡΡΡ ΠΏΡΠΈ ΠΈΠ½ΠΈΡΠΈΠΈΡΠΎΠ²Π°Π½ΠΈΠΈ ΠΌΠ°Π»ΠΎΡΠΊΠΎΡΠΎΡΡΠ½ΡΠΌΠΈ ΠΊΠΈΠ½Π΅ΡΠΈΡΠ΅ΡΠΊΠΈΠΌΠΈ ΡΠ½Π°ΡΡΠ΄Π°ΠΌΠΈ ΠΈ Π½Π΅ΠΊΠΎΡΠΎΡΡΠΌΠΈ ΡΠΈΠΏΠ°ΠΌΠΈ ΠΊΡΠΌΡΠ»ΡΡΠΈΠ²Π½ΡΡ Π±ΠΎΠ΅ΠΏΡΠΈΠΏΠ°ΡΠΎΠ². ΠΠΎΠ²ΡΡΠ΅Π½Π½Π°Ρ ΡΡΡΠ΅ΠΊΡΠΈΠ²Π½ΠΎΡΡΡ ΠΏΡΠΈ Π·Π°ΡΠΈΡΠ΅ ΠΎΡ ΠΊΠΈΠ½Π΅ΡΠΈΡΠ΅ΡΠΊΠΈΡ ΠΈ ΠΊΡΠΌΡΠ»ΡΡΠΈΠ²Π½ΡΡ Π±ΠΎΠ΅ΠΏΡΠΈΠΏΠ°ΡΠΎΠ² Π΄ΠΎΡΡΠΈΠ³Π°Π΅ΡΡΡ Π·Π° ΡΡΠ΅Ρ ΠΏΡΠΈΠΌΠ΅Π½Π΅Π½ΠΈΡ Π΄ΠΎΠΏΠΎΠ»Π½ΠΈΡΠ΅Π»ΡΠ½ΡΡ ΠΌΠ΅ΡΠ°ΡΠ΅Π»ΡΠ½ΡΡ ΠΏΠ»Π°ΡΡΠΈΠ½ ΠΈ Π²ΠΊΠ»ΡΡΠ΅Π½ΠΈΡ Π² ΠΈΡ ΡΠΎΡΡΠ°Π² Π½Π΅ΠΌΠ΅ΡΠ°Π»Π»ΠΈΡΠ΅ΡΠΊΠΈΡ ΡΠ»Π΅ΠΌΠ΅Π½ΡΠΎΠ². Π ΡΠ΅Π·ΡΠ»ΡΡΠ°ΡΠ΅ Π±ΡΠΎΠ½Π΅ΠΏΡΠΎΠ±ΠΈΠ²Π°Π΅ΠΌΠΎΡΡΡ ΠΏΠΎΠ΄ΠΊΠ°Π»ΠΈΠ±Π΅ΡΠ½ΡΠΌΠΈ ΡΠ½Π°ΡΡΠ΄Π°ΠΌΠΈ ΡΠ½ΠΈΠΆΠ°Π΅ΡΡΡ Π½Π° 20β60%, Π° Π±Π»Π°Π³ΠΎΠ΄Π°ΡΡ Π²ΠΎΠ·ΡΠΎΡΡΠ΅ΠΌΡ Π²ΡΠ΅ΠΌΠ΅Π½ΠΈ Π²ΠΎΠ·Π΄Π΅ΠΉΡΡΠ²ΠΈΡ Π½Π° ΠΊΡΠΌΡΠ»ΡΡΠΈΠ²Π½ΡΡ ΡΡΡΡΡ ΡΠ΄Π°Π»ΠΎΡΡ Π΄ΠΎΠ±ΠΈΡΡΡΡ ΠΈ ΠΎΠΏΡΠ΅Π΄Π΅Π»Π΅Π½Π½ΠΎΠΉ ΡΡΡΠ΅ΠΊΡΠΈΠ²Π½ΠΎΡΡΠΈ ΠΏΠΎ ΠΊΡΠΌΡΠ»ΡΡΠΈΠ²Π½ΡΠΌ ΡΡΠ΅Π΄ΡΡΠ²Π°ΠΌ Ρ ΡΠ°Π½Π΄Π΅ΠΌΠ½ΠΎΠΉ Π±ΠΎΠ΅Π²ΠΎΠΉ ΡΠ°ΡΡΡΡ.
topwar.ru
ΠΡΡΡΠ΅ΡΠ½Π°Ρ Π°ΡΠ°ΠΊΠ°: Π°ΠΊΡΠΈΠ²Π½Π°Ρ ΡΠ°Π½ΠΊΠΎΠ²Π°Ρ Π±ΡΠΎΠ½Ρ
Π‘Β ΠΌΠΎΠΌΠ΅Π½ΡΠ° ΠΏΠΎΡΠ²Π»Π΅Π½ΠΈΡ Π±ΡΠΎΠ½Π΅ΡΠ΅Ρ Π½ΠΈΠΊΠΈ ΠΈΠ·Π²Π΅ΡΠ½ΠΎΠ΅ ΡΡΠ°ΠΆΠ΅Π½ΠΈΠ΅ ΠΌΠ΅ΠΆΠ΄Ρ ΡΠ½Π°ΡΡΠ΄ΠΎΠΌ ΠΈΒ Π±ΡΠΎΠ½Π΅ΠΉ ΠΎΠ±ΠΎΡΡΡΠΈΠ»ΠΎΡΡ. ΠΠ΄Π½ΠΈ ΠΊΠΎΠ½ΡΡΡΡΠΊΡΠΎΡΡ ΡΡΡΠ΅ΠΌΠΈΠ»ΠΈΡΡ ΡΠ²Π΅Π»ΠΈΡΠΈΡΡ ΠΏΡΠΎΠ±ΠΈΠ²Π½ΡΡ ΡΠΏΠΎΡΠΎΠ±Π½ΠΎΡΡΡ ΡΠ½Π°ΡΡΠ΄ΠΎΠ², Π΄ΡΡΠ³ΠΈΠ΅ ΠΏΠΎΠ²ΡΡΠ°Π»ΠΈ ΡΡΠΎΠΉΠΊΠΎΡΡΡ Π±ΡΠΎΠ½ΠΈ. ΠΠΎΡΡΠ±Π° ΠΏΡΠΎΠ΄ΠΎΠ»ΠΆΠ°Π΅ΡΡΡ ΠΈΒ ΡΠ΅ΠΉΡΠ°Ρ. ΠΒ ΡΠΎΠΌ, ΠΊΠ°ΠΊ ΡΡΡΡΠΎΠ΅Π½Π° ΡΠΎΠ²ΡΠ΅ΠΌΠ΅Π½Π½Π°Ρ ΡΠ°Π½ΠΊΠΎΠ²Π°Ρ Π±ΡΠΎΠ½Ρ, Β«ΠΠΎΠΏΡΠ»ΡΡΠ½ΠΎΠΉ ΠΌΠ΅Ρ Π°Π½ΠΈΠΊΠ΅Β» ΡΠ°ΡΡΠΊΠ°Π·Π°Π» ΠΏΡΠΎΡΠ΅ΡΡΠΎΡ ΠΠΠ’Π£ ΠΈΠΌ.Β Π. Π. ΠΠ°ΡΠΌΠ°Π½Π°, Π΄ΠΈΡΠ΅ΠΊΡΠΎΡ ΠΏΠΎΒ Π½Π°ΡΠΊΠ΅ ΠΠΠΒ ΡΡΠ°Π»ΠΈ ΠΠ°Π»Π΅ΡΠΈΠΉ ΠΡΠΈΠ³ΠΎΡΡΠ½.
ΠΠΎΠ½Π°ΡΠ°Π»Ρ Π°ΡΠ°ΠΊΠ° Π½Π°Β Π±ΡΠΎΠ½Ρ Π²Π΅Π»Π°ΡΡ Π²Β Π»ΠΎΠ±: ΠΏΠΎΠΊΠ° ΠΎΡΠ½ΠΎΠ²Π½ΡΠΌ Π²ΠΈΠ΄ΠΎΠΌ Π²ΠΎΠ·Π΄Π΅ΠΉΡΡΠ²ΠΈΡ Π±ΡΠ» Π±ΡΠΎΠ½Π΅Π±ΠΎΠΉΠ½ΡΠΉ ΡΠ½Π°ΡΡΠ΄ ΠΊΠΈΠ½Π΅ΡΠΈΡΠ΅ΡΠΊΠΎΠ³ΠΎ Π΄Π΅ΠΉΡΡΠ²ΠΈΡ, Π΄ΡΡΠ»Ρ ΠΊΠΎΠ½ΡΡΡΡΠΊΡΠΎΡΠΎΠ² ΡΠ²ΠΎΠ΄ΠΈΠ»Π°ΡΡ ΠΊΒ ΡΠ²Π΅Π»ΠΈΡΠ΅Π½ΠΈΡ ΠΊΠ°Π»ΠΈΠ±ΡΠ° ΠΏΡΡΠΊΠΈ, ΡΠΎΠ»ΡΠΈΠ½Ρ ΠΈΒ ΡΠ³Π»ΠΎΠ² Π½Π°ΠΊΠ»ΠΎΠ½Π° Π±ΡΠΎΠ½ΠΈ. ΠΡΠ° ΡΠ²ΠΎΠ»ΡΡΠΈΡ Ρ ΠΎΡΠΎΡΠΎ Π²ΠΈΠ΄Π½Π° Π½Π°Β ΠΏΡΠΈΠΌΠ΅ΡΠ΅ ΡΠ°Π·Π²ΠΈΡΠΈΡ ΡΠ°Π½ΠΊΠΎΠ²ΡΡ Π²ΠΎΠΎΡΡΠΆΠ΅Π½ΠΈΠΉ ΠΈΒ Π±ΡΠΎΠ½ΠΈ Π²ΠΎΒ ΠΡΠΎΡΠΎΠΉ ΠΌΠΈΡΠΎΠ²ΠΎΠΉ. ΠΠΎΠ½ΡΡΡΡΠΊΡΠΈΠ²Π½ΡΠ΅ ΡΠ΅ΡΠ΅Π½ΠΈΡ ΡΠΎΠ³ΠΎ Π²ΡΠ΅ΠΌΠ΅Π½ΠΈ Π΄ΠΎΡΡΠ°ΡΠΎΡΠ½ΠΎ ΠΎΡΠ΅Π²ΠΈΠ΄Π½Ρ: ΡΠ΄Π΅Π»Π°Π΅ΠΌ ΠΏΡΠ΅Π³ΡΠ°Π΄Ρ ΡΠΎΠ»ΡΠ΅; Π΅ΡΠ»ΠΈ Π΅Π΅Β Π½Π°ΠΊΠ»ΠΎΠ½ΠΈΡΡΒ β ΡΠ½Π°ΡΡΠ΄Ρ ΠΏΡΠΈΠ΄Π΅ΡΡΡ ΠΏΡΠΎΠΉΡΠΈ Π±ΠΎΠ»ΡΡΠΈΠΉ ΠΏΡΡΡ Π²Β ΡΠΎΠ»ΡΠ΅ ΠΌΠ΅ΡΠ°Π»Π»Π°, Π΄Π°Β ΠΈΒ Π²Π΅ΡΠΎΡΡΠ½ΠΎΡΡΡ ΡΠΈΠΊΠΎΡΠ΅ΡΠ° ΡΠ²Π΅Π»ΠΈΡΠΈΡΡΡ. ΠΠ°ΠΆΠ΅ ΠΏΠΎΡΠ»Π΅ ΠΏΠΎΡΠ²Π»Π΅Π½ΠΈΡ Π²Β Π±ΠΎΠ΅ΠΊΠΎΠΌΠΏΠ»Π΅ΠΊΡΠ°Ρ ΡΠ°Π½ΠΊΠΎΠ²ΡΡ ΠΈΒ ΠΏΡΠΎΡΠΈΠ²ΠΎΡΠ°Π½ΠΊΠΎΠ²ΡΡ ΠΏΡΡΠ΅ΠΊ Π±ΡΠΎΠ½Π΅Π±ΠΎΠΉΠ½ΡΡ ΡΠ½Π°ΡΡΠ΄ΠΎΠ² ΡΒ ΠΆΠ΅ΡΡΠΊΠΈΠΌ Π½Π΅ΡΠ°Π·ΡΡΡΠ°ΡΡΠΈΠΌΡΡ ΡΠ΅ΡΠ΄Π΅ΡΠ½ΠΈΠΊΠΎΠΌ ΠΌΠ°Π»ΠΎ ΡΡΠΎ ΠΈΠ·ΠΌΠ΅Π½ΠΈΠ»ΠΎΡΡ.
Π‘ΠΌΠ΅ΡΡΠ΅Π»ΡΠ½ΡΠΉ ΠΏΠ»Π΅Π²ΠΎΠΊ
ΠΠ΄Π½Π°ΠΊΠΎ ΡΠΆΠ΅ Π²Β Π½Π°ΡΠ°Π»Π΅ ΠΡΠΎΡΠΎΠΉ ΠΌΠΈΡΠΎΠ²ΠΎΠΉ Π²Β ΠΏΠΎΡΠ°ΠΆΠ°ΡΡΠΈΡ ΡΠ²ΠΎΠΉΡΡΠ²Π°Ρ Π±ΠΎΠ΅ΠΏΡΠΈΠΏΠ°ΡΠΎΠ² ΠΏΡΠΎΠΈΠ·ΠΎΡΠ»Π° ΡΠ΅Π²ΠΎΠ»ΡΡΠΈΡ: ΠΏΠΎΡΠ²ΠΈΠ»ΠΈΡΡ ΠΊΡΠΌΡΠ»ΡΡΠΈΠ²Π½ΡΠ΅ ΡΠ½Π°ΡΡΠ΄Ρ. ΠΒ 1941 Π³ΠΎΠ΄Ρ Hohlladungsgeschoss (Β«ΡΠ½Π°ΡΡΠ΄ ΡΒ Π²ΡΠ΅ΠΌΠΊΠΎΠΉ Π²Β Π·Π°ΡΡΠ΄Π΅Β») Π½Π°ΡΠ°Π»ΠΈ ΠΏΡΠΈΠΌΠ΅Π½ΡΡΡ Π½Π΅ΠΌΠ΅ΡΠΊΠΈΠ΅ Π°ΡΡΠΈΠ»Π»Π΅ΡΠΈΡΡΡ, Π°Β Π²Β 1942-ΠΌ ΠΈΒ Π²Β Π‘Π‘Π‘Π Π±ΡΠ» ΠΏΡΠΈΠ½ΡΡ Π½Π°Β Π²ΠΎΠΎΡΡΠΆΠ΅Π½ΠΈΠ΅ 76-ΠΌΠΌ ΡΠ½Π°ΡΡΠ΄ ΠΠ-350Π, ΡΠ°Π·ΡΠ°Π±ΠΎΡΠ°Π½Π½ΡΠΉ ΠΏΠΎΡΠ»Π΅ ΠΈΠ·ΡΡΠ΅Π½ΠΈΡ ΡΡΠΎΡΠ΅ΠΉΠ½ΡΡ ΠΎΠ±ΡΠ°Π·ΡΠΎΠ². Π’Π°ΠΊ Π±ΡΠ»ΠΈ ΡΡΡΡΠΎΠ΅Π½Ρ ΠΈΒ Π·Π½Π°ΠΌΠ΅Π½ΠΈΡΡΠ΅ ΡΠ°ΡΡΡ-ΠΏΠ°ΡΡΠΎΠ½Ρ. ΠΠΎΠ·Π½ΠΈΠΊΠ»Π° ΠΏΡΠΎΠ±Π»Π΅ΠΌΠ°, Π½Π΅Β ΡΠ°Π·ΡΠ΅ΡΠΈΠΌΠ°Ρ ΡΡΠ°Π΄ΠΈΡΠΈΠΎΠ½Π½ΡΠΌΠΈ ΡΠΏΠΎΡΠΎΠ±Π°ΠΌΠΈ ΠΈΠ·-Π·Π° Π½Π΅ΠΏΡΠΈΠ΅ΠΌΠ»Π΅ΠΌΠΎΠ³ΠΎ ΡΠ²Π΅Π»ΠΈΡΠ΅Π½ΠΈΡ ΠΌΠ°ΡΡΡ ΡΠ°Π½ΠΊΠ°.
ΠΠ»Π΅ΠΌΠ΅Π½ΡΡ Π΄ΠΈΠ½Π°ΠΌΠΈΡΠ΅ΡΠΊΠΎΠΉ Π·Π°ΡΠΈΡΡ (ΠΠΠ) ΠΡΠ΅Π΄ΡΡΠ°Π²Π»ΡΡΡ ΡΠΎΠ±ΠΎΠΉ Β«ΡΡΠ½Π΄Π²ΠΈΡΠΈΒ» ΠΈΠ·Β Π΄Π²ΡΡ
ΠΌΠ΅ΡΠ°Π»Π»ΠΈΡΠ΅ΡΠΊΠΈΡ
ΠΏΠ»Π°ΡΡΠΈΠ½ ΠΈΒ Π²Π·ΡΡΠ²ΡΠ°ΡΠΎΠ³ΠΎ Π²Π΅ΡΠ΅ΡΡΠ²Π°. ΠΠΠ ΠΏΠΎΠΌΠ΅ΡΠ΅Π½Ρ Π²Β ΠΊΠΎΠ½ΡΠ΅ΠΉΠ½Π΅ΡΡ, ΠΊΡΡΡΠΊΠΈ ΠΊΠΎΡΠΎΡΡΡ
Π·Π°ΡΠΈΡΠ°ΡΡ ΠΈΡ
Β ΠΎΡΒ Π²Π½Π΅ΡΠ½ΠΈΡ
Π²ΠΎΠ·Π΄Π΅ΠΉΡΡΠ²ΠΈΠΉ ΠΈΒ ΠΎΠ΄Π½ΠΎΠ²ΡΠ΅ΠΌΠ΅Π½Π½ΠΎ ΠΏΡΠ΅Π΄ΡΡΠ°Π²Π»ΡΡΡ ΡΠΎΠ±ΠΎΠΉ ΠΌΠ΅ΡΠ°Π΅ΠΌΡΠ΅ ΡΠ»Π΅ΠΌΠ΅Π½ΡΡ.
ΠΒ Π³ΠΎΠ»ΠΎΠ²Π½ΠΎΠΉ ΡΠ°ΡΡΠΈ ΠΊΡΠΌΡΠ»ΡΡΠΈΠ²Π½ΠΎΠ³ΠΎ Π±ΠΎΠ΅ΠΏΡΠΈΠΏΠ°ΡΠ° ΡΠ΄Π΅Π»Π°Π½Π° ΠΊΠΎΠ½ΠΈΡΠ΅ΡΠΊΠ°Ρ Π²ΡΠ΅ΠΌΠΊΠ° Π²Β Π²ΠΈΠ΄Π΅ ΠΎΠ±Π»ΠΈΡΠΎΠ²Π°Π½Π½ΠΎΠΉ ΡΠΎΠ½ΠΊΠΈΠΌ ΡΠ»ΠΎΠ΅ΠΌ ΠΌΠ΅ΡΠ°Π»Π»Π° Π²ΠΎΡΠΎΠ½ΠΊΠΈ (ΡΠ°ΡΡΡΡΠ±ΠΎΠΌ Π²ΠΏΠ΅ΡΠ΅Π΄). ΠΠ΅ΡΠΎΠ½Π°ΡΠΈΡ Π²Π·ΡΡΠ²ΡΠ°ΡΠΎΠ³ΠΎ Π²Π΅ΡΠ΅ΡΡΠ²Π° Π½Π°ΡΠΈΠ½Π°Π΅ΡΡΡ ΡΠΎΒ ΡΡΠΎΡΠΎΠ½Ρ, Π±Π»ΠΈΠΆΠ°ΠΉΡΠ΅ΠΉ ΠΊΒ Π²Π΅ΡΡΠΈΠ½Π΅ Π²ΠΎΡΠΎΠ½ΠΊΠΈ. ΠΠ΅ΡΠΎΠ½Π°ΡΠΈΠΎΠ½Π½Π°Ρ Π²ΠΎΠ»Π½Π° Β«ΡΡ Π»ΠΎΠΏΡΠ²Π°Π΅ΡΒ» Π²ΠΎΡΠΎΠ½ΠΊΡ ΠΊΒ ΠΎΡΠΈ ΡΠ½Π°ΡΡΠ΄Π°, Π°Β ΠΏΠΎΡΠΊΠΎΠ»ΡΠΊΡ Π΄Π°Π²Π»Π΅Π½ΠΈΠ΅ ΠΏΡΠΎΠ΄ΡΠΊΡΠΎΠ² Π²Π·ΡΡΠ²Π° (ΠΏΠΎΡΡΠΈ ΠΏΠΎΠ»ΠΌΠΈΠ»Π»ΠΈΠΎΠ½Π° Π°ΡΠΌΠΎΡΡΠ΅Ρ) ΠΏΡΠ΅Π²ΡΡΠ°Π΅Ρ ΠΏΡΠ΅Π΄Π΅Π» ΠΏΠ»Π°ΡΡΠΈΡΠ΅ΡΠΊΠΎΠΉ Π΄Π΅ΡΠΎΡΠΌΠ°ΡΠΈΠΈ ΠΎΠ±ΠΊΠ»Π°Π΄ΠΊΠΈ, ΠΏΠΎΡΠ»Π΅Π΄Π½ΡΡ Π½Π°ΡΠΈΠ½Π°Π΅Ρ Π²Π΅ΡΡΠΈ ΡΠ΅Π±Ρ ΠΊΠ°ΠΊ ΠΊΠ²Π°Π·ΠΈΠΆΠΈΠ΄ΠΊΠΎΡΡΡ. Π’Π°ΠΊΠΎΠΉ ΠΏΡΠΎΡΠ΅ΡΡ Π½Π΅Β ΠΈΠΌΠ΅Π΅Ρ Π½ΠΈΡΠ΅Π³ΠΎ ΠΎΠ±ΡΠ΅Π³ΠΎ ΡΒ ΠΏΠ»Π°Π²Π»Π΅Π½ΠΈΠ΅ΠΌ, ΡΡΠΎ ΠΈΠΌΠ΅Π½Π½ΠΎ Β«Ρ ΠΎΠ»ΠΎΠ΄Π½ΠΎΠ΅Β» ΡΠ΅ΡΠ΅Π½ΠΈΠ΅ ΠΌΠ°ΡΠ΅ΡΠΈΠ°Π»Π°. ΠΠ·Β ΡΡ Π»ΠΎΠΏΡΠ²Π°ΡΡΠ΅ΠΉΡΡ Π²ΠΎΡΠΎΠ½ΠΊΠΈ Π²ΡΠ΄Π°Π²Π»ΠΈΠ²Π°Π΅ΡΡΡ ΡΠΎΠ½ΠΊΠ°Ρ (ΡΡΠ°Π²Π½ΠΈΠΌΠ°Ρ ΡΒ ΡΠΎΠ»ΡΠΈΠ½ΠΎΠΉ ΠΎΠ±ΠΎΠ»ΠΎΡΠΊΠΈ) ΠΊΡΠΌΡΠ»ΡΡΠΈΠ²Π½Π°Ρ ΡΡΡΡΡ, ΠΊΠΎΡΠΎΡΠ°Ρ ΡΠ°Π·Π³ΠΎΠ½ΡΠ΅ΡΡΡ Π΄ΠΎΒ ΡΠΊΠΎΡΠΎΡΡΠ΅ΠΉ ΠΏΠΎΡΡΠ΄ΠΊΠ° ΡΠΊΠΎΡΠΎΡΡΠΈ Π΄Π΅ΡΠΎΠ½Π°ΡΠΈΠΈΒ ΠΠ (Π°Β ΠΈΠ½ΠΎΠ³Π΄Π° ΠΈΒ Π²ΡΡΠ΅), ΡΠΎΒ Π΅ΡΡΡ ΠΎΠΊΠΎΠ»ΠΎ 10 ΠΊΠΌ/Ρ ΠΈΒ Π±ΠΎΠ»Π΅Π΅. Π‘ΠΊΠΎΡΠΎΡΡΡ ΠΊΡΠΌΡΠ»ΡΡΠΈΠ²Π½ΠΎΠΉ ΡΡΡΡΠΈ ΡΡΡΠ΅ΡΡΠ²Π΅Π½Π½ΠΎ ΠΏΡΠ΅Π²ΡΡΠ°Π΅Ρ ΡΠΊΠΎΡΠΎΡΡΡ ΡΠ°ΡΠΏΡΠΎΡΡΡΠ°Π½Π΅Π½ΠΈΡ Π·Π²ΡΠΊΠ° Π²Β ΠΌΠ°ΡΠ΅ΡΠΈΠ°Π»Π΅ Π±ΡΠΎΠ½ΠΈ (ΠΏΠΎΡΡΠ΄ΠΊΠ° 4 ΠΊΠΌ/Ρ). ΠΠΎΡΡΠΎΠΌΡ Π²Π·Π°ΠΈΠΌΠΎΠ΄Π΅ΠΉΡΡΠ²ΠΈΠ΅ ΡΡΡΡΠΈ ΠΈΒ Π±ΡΠΎΠ½ΠΈ ΠΏΡΠΎΠΈΡΡ ΠΎΠ΄ΠΈΡ ΠΏΠΎΒ Π·Π°ΠΊΠΎΠ½Π°ΠΌ Π³ΠΈΠ΄ΡΠΎΠ΄ΠΈΠ½Π°ΠΌΠΈΠΊΠΈ, ΡΠΎΒ Π΅ΡΡΡ ΠΎΠ½ΠΈ Π²Π΅Π΄ΡΡ ΡΠ΅Π±Ρ ΠΊΠ°ΠΊ ΠΆΠΈΠ΄ΠΊΠΎΡΡΠΈ: ΡΡΡΡΡ Π²ΠΎΠ²ΡΠ΅ Π½Π΅Β ΠΏΡΠΎΠΆΠΈΠ³Π°Π΅Ρ Π±ΡΠΎΠ½Ρ (ΡΡΠΎ ΡΠΈΡΠΎΠΊΠΎ ΡΠ°ΡΠΏΡΠΎΡΡΡΠ°Π½Π΅Π½Π½ΠΎΠ΅ Π·Π°Π±Π»ΡΠΆΠ΄Π΅Π½ΠΈΠ΅), Π°Β ΠΏΡΠΎΠ½ΠΈΠΊΠ°Π΅Ρ Π²Β Π½Π΅Π΅, ΠΏΠΎΠ΄ΠΎΠ±Π½ΠΎ ΡΠΎΠΌΡ ΠΊΠ°ΠΊ ΡΡΡΡΡ Π²ΠΎΠ΄Ρ ΠΏΠΎΠ΄Β Π΄Π°Π²Π»Π΅Π½ΠΈΠ΅ΠΌ ΡΠ°Π·ΠΌΡΠ²Π°Π΅Ρ ΠΏΠ΅ΡΠΎΠΊ.

Π‘Π»ΠΎΠ΅Π½Π°Ρ Π·Π°ΡΠΈΡΠ°
ΠΠ΅ΡΠ²ΠΎΠΉ Π·Π°ΡΠΈΡΠΎΠΉ ΠΎΡΒ ΠΊΡΠΌΡΠ»ΡΡΠΈΠ²Π½ΡΡ Π±ΠΎΠ΅ΠΏΡΠΈΠΏΠ°ΡΠΎΠ² ΡΡΠ°Π»ΠΎ ΠΏΡΠΈΠΌΠ΅Π½Π΅Π½ΠΈΠ΅ ΡΠΊΡΠ°Π½ΠΎΠ² (Π΄Π²ΡΡ ΠΏΡΠ΅Π³ΡΠ°Π΄Π½ΠΎΠΉ Π±ΡΠΎΠ½ΠΈ). ΠΡΠΌΡΠ»ΡΡΠΈΠ²Π½Π°Ρ ΡΡΡΡΡ ΡΠΎΡΠΌΠΈΡΡΠ΅ΡΡΡ Π½Π΅Β ΠΌΠ³Π½ΠΎΠ²Π΅Π½Π½ΠΎ, Π΄Π»ΡΒ Π΅Π΅Β ΠΌΠ°ΠΊΡΠΈΠΌΠ°Π»ΡΠ½ΠΎΠΉ ΡΡΡΠ΅ΠΊΡΠΈΠ²Π½ΠΎΡΡΠΈ Π²Π°ΠΆΠ½ΠΎ Π²Π·ΠΎΡΠ²Π°ΡΡ Π·Π°ΡΡΠ΄ Π½Π°Β ΠΎΠΏΡΠΈΠΌΠ°Π»ΡΠ½ΠΎΠΌ ΡΠ°ΡΡΡΠΎΡΠ½ΠΈΠΈ ΠΎΡΒ Π±ΡΠΎΠ½ΠΈ (ΡΠΎΠΊΡΡΠ½ΠΎΠ΅ ΡΠ°ΡΡΡΠΎΡΠ½ΠΈΠ΅). ΠΡΠ»ΠΈ ΠΏΠ΅ΡΠ΅Π΄Β ΠΎΡΠ½ΠΎΠ²Π½ΠΎΠΉ Π±ΡΠΎΠ½Π΅ΠΉ ΠΏΠΎΠΌΠ΅ΡΡΠΈΡΡ ΡΠΊΡΠ°Π½ ΠΈΠ·Β Π΄ΠΎΠΏΠΎΠ»Π½ΠΈΡΠ΅Π»ΡΠ½ΡΡ Π»ΠΈΡΡΠΎΠ² ΠΌΠ΅ΡΠ°Π»Π»Π°, ΡΠΎΒ ΠΏΠΎΠ΄ΡΡΠ² ΠΏΡΠΎΠΈΠ·ΠΎΠΉΠ΄Π΅Ρ ΡΠ°Π½ΡΡΠ΅ ΠΈΒ ΡΡΡΠ΅ΠΊΡΠΈΠ²Π½ΠΎΡΡΡ Π²ΠΎΠ·Π΄Π΅ΠΉΡΡΠ²ΠΈΡ ΡΠ½ΠΈΠ·ΠΈΡΡΡ. ΠΠΎΒ Π²ΡΠ΅ΠΌΡ ΠΡΠΎΡΠΎΠΉ ΠΌΠΈΡΠΎΠ²ΠΎΠΉ Π΄Π»ΡΒ Π·Π°ΡΠΈΡΡ ΠΎΡΒ ΡΠ°ΡΡΡΠΏΠ°ΡΡΠΎΠ½ΠΎΠ² ΡΠ°Π½ΠΊΠΈΡΡΡ ΠΊΡΠ΅ΠΏΠΈΠ»ΠΈ Π½Π°Β ΡΠ²ΠΎΠΈ ΠΌΠ°ΡΠΈΠ½Ρ ΡΠΎΠ½ΠΊΠΈΠ΅ ΠΌΠ΅ΡΠ°Π»Π»ΠΈΡΠ΅ΡΠΊΠΈΠ΅ Π»ΠΈΡΡΡ ΠΈΒ ΡΠ΅ΡΡΠ°ΡΡΠ΅ ΡΠΊΡΠ°Π½Ρ (ΡΠ°ΡΠΏΡΠΎΡΡΡΠ°Π½Π΅Π½Π° Π±Π°ΠΉΠΊΠ° ΠΎΠ±Β ΠΈΡΠΏΠΎΠ»ΡΠ·ΠΎΠ²Π°Π½ΠΈΠΈ Π²Β ΡΡΠΎΠΌ ΠΊΠ°ΡΠ΅ΡΡΠ²Π΅ ΠΏΠ°Π½ΡΠΈΡΠ½ΡΡ ΠΊΡΠΎΠ²Π°ΡΠ΅ΠΉ, Ρ ΠΎΡΡ Π²Β ΡΠ΅Π°Π»ΡΠ½ΠΎΡΡΠΈ ΠΏΡΠΈΠΌΠ΅Π½ΡΠ»ΠΈΡΡ ΡΠΏΠ΅ΡΠΈΠ°Π»ΡΠ½ΡΠ΅ ΡΠ΅ΡΠΊΠΈ). ΠΠΎΒ ΡΠ°ΠΊΠΎΠ΅ ΡΠ΅ΡΠ΅Π½ΠΈΠ΅ Π±ΡΠ»ΠΎ Π½Π΅Β ΡΠ»ΠΈΡΠΊΠΎΠΌ ΡΡΡΠ΅ΠΊΡΠΈΠ²Π½ΡΠΌΒ β ΠΏΡΠΈΡΠΎΡΡ ΡΡΠΎΠΉΠΊΠΎΡΡΠΈ ΡΠΎΡΡΠ°Π²Π»ΡΠ» Π²Β ΡΡΠ΅Π΄Π½Π΅ΠΌ Π²ΡΠ΅Π³ΠΎ 9β18%.
ΠΠ°ΠΏΠ°Π΄Π½ΡΠ΅ Π°Π½Π°Π»ΠΎΠ³ΠΈ
ΠΠ½ΠΎΡΡΡΠ°Π½Π½ΡΠ΅ ΠΎΠ±ΡΠ°Π·ΡΡΒ ΠΠ ΠΎΡΠ½ΠΎΠ²Π°Π½Ρ Π½Π°Β ΡΠ°ΠΌΡΡ ΡΠ°Π·Π½ΡΡ ΠΌΠ°ΡΠ΅ΡΠΈΠ°Π»Π°Ρ ΠΈΒ ΠΏΡΠΈΠ½ΡΠΈΠΏΠ°Ρ . ΠΠ΅ΡΠ²ΡΠΉ ΡΠΈΠΏΒ β ΡΡΠ°Π΄ΠΈΡΠΈΠΎΠ½Π½ΡΠ΅ ΠΊΠΎΠΌΠΏΠ»Π΅ΠΊΡΡΒ ΠΠ ΡΒ ΠΈΡΠΏΠΎΠ»ΡΠ·ΠΎΠ²Π°Π½ΠΈΠ΅ΠΌ ΠΎΠ±ΡΡΠ½ΡΡ Β ΠΠ. ΠΠ°ΠΊ ΠΏΡΠ°-Π²ΠΈΠ»ΠΎ, ΡΡΠΎΒ ΠΠ ΠΏΠ΅ΡΠ²ΡΡ ΠΏΠΎΠΊΠΎΠ»Π΅Π½ΠΈΠΉ ΠΈΒ ΠΠ Π½ΠΎΠ²ΡΡ ΡΠ°Π·ΡΠ°Π±ΠΎΡΠΎΠΊ ΠΠΈΡΠ°Ρ, ΠΠ°ΠΊΠΈΡΡΠ°Π½Π°, ΠΡΠ°Π½Π°. ΠΒ Π½ΠΈΠΌ ΠΎΡΠ½ΠΎΡΡΡΡΡ Blazer, SuperBlazer (ΠΠ·ΡΠ°ΠΈΠ»Ρ), ERAWA (ΠΠΎΠ»ΡΡΠ°), Dyna (Π§Π΅Ρ ΠΈΡ), Brenus (Π€ΡΠ°Π½ΡΠΈΡ), SABLIN (ΠΡΠΏΠ°Π½ΠΈΡ) ΠΈΒ Π΄ΡΡΠ³ΠΈΠ΅. ΠΠ΄Π΅Ρ ΠΏΠΎΡΡΠΎΡΠ½Π½ΠΎΠ΅ ΡΠΎΠ²Π΅ΡΡΠ΅Π½ΡΡΠ²ΠΎΠ²Π°Π½ΠΈΠ΅ ΡΠ°ΠΊΠΈΡ ΡΠΈΡΡΠ΅ΠΌ, ΠΏΠΎΡΠΊΠΎΠ»ΡΠΊΡ ΠΏΡΠΈΒ ΡΡΡΠ°Π½ΠΎΠ²ΠΊΠ΅ ΠΈΡ Β Π½Π°Β Π»Π΅Π³ΠΊΠΎΠ±ΡΠΎΠ½ΠΈΡΠΎΠ²Π°Π½Π½ΡΡ ΡΠ΅Ρ Π½ΠΈΠΊΡ ΡΡΠ΅ΡΠ± ΠΎΡΒ ΠΈΡ Β ΡΡΠ°Π±Π°ΡΡΠ²Π°Π½ΠΈΡ ΡΠ°ΠΌ ΠΏΠΎΒ ΡΠ΅Π±Π΅ ΠΎΠΊΠ°Π·ΡΠ²Π°Π΅ΡΡΡ ΡΠ°Π·ΡΡΡΠΈΡΠ΅Π»ΡΠ½ΡΠΌ. ΠΡΠΎΡΠΎΠΉ ΡΠΈΠΏΒ β ΠΠΒ ΡΒ ΠΈΡΠΏΠΎΠ»ΡΠ·ΠΎΠ²Π°Π½ΠΈΠ΅ΠΌ ΡΠΏΠ΅ΡΠΈΠ°Π»ΡΠ½ΡΡ Β ΠΠ: ΠΌΠ°Π»ΠΎΠΏΠ»ΠΎΡΠ½ΡΡ , ΡΒ Π½ΠΈΠ·ΠΊΠΎΠΉ ΡΠΊΠΎΡΠΎ-ΡΡΡΡ Π³ΠΎΡΠ΅Π½ΠΈΡ, ΠΌΠ°Π»ΠΎΡΡΠ²ΡΡΠ²ΠΈΡΠ΅Π»ΡΠ½ΡΡ . Π’Π°ΠΊΠΈΠ΅Β ΠΠ ΠΈΡΠΏΠΎΠ»ΡΠ·ΡΡΡΒ ΠΠ ΡΒ ΡΠ°Π·Π»ΠΈΡΠ½ΡΠΌΠΈ Π΄ΠΎΠ±Π°Π²ΠΊΠ°ΠΌΠΈ, ΡΠΏΠ΅ΡΠΈΠ°Π»ΡΠ½ΡΠΌΠΈ Π½Π°ΠΏΠΎΠ»Π½ΠΈΡΠ΅Π»ΡΠΌΠΈ Π²Β Π²ΠΈΠ΄Π΅ ΠΌΠΈΠΊΡΠΎΡΡΠ΅Ρ, Π½Π΅ΠΌΠ΅ΡΠ°Π»Π»ΠΈΡΠ΅ΡΠΊΠΈΠΌΠΈ ΠΌΠ΅ΡΠ°Π΅ΠΌΡΠΌΠΈ ΡΠ»Π΅ΠΌΠ΅Π½-ΡΠ°ΠΌΠΈ, ΡΡΠΎ ΠΏΠΎΠ·Π²ΠΎΠ»ΡΠ΅Ρ ΡΠ½ΠΈΠ·ΠΈΡΡ ΠΏΠΎΠ±ΠΎΡΠ½ΡΠ΅ ΡΡΡΠ΅ΠΊΡΡ ΠΈΒ ΡΠ°Π·ΠΌΠ΅ΡΠ°ΡΡ ΡΠ°ΠΊΠΈΠ΅ ΠΊΠΎΠΌΠΏΠ»Π΅ΠΊΡΡ Π½Π°Β Π»Π΅Π³-ΠΊΠΎΠ±ΡΠΎΠ½ΠΈΡΠΎΠ²Π°Π½Π½ΠΎΠΉ ΡΠ΅Ρ Π½ΠΈΠΊΠ΅. ΠΠΒ ΡΡΠΎΠΉ Π³ΡΡΠΏΠΏΡ ΡΠ°ΡΠ΅ ΠΏΡΠΈΠΌΠ΅Π½ΡΡΡΡΡ ΠΊΠ°ΠΊ ΠΎΡΠ½ΠΎΠ²Π½Π°Ρ ΡΠΎΡΡΠ°Π²Π»ΡΡΡΠ°Ρ Π²Β Π³ΠΈΠ±ΡΠΈΠ΄Π½ΡΡ ΡΠΈΡΡΠ΅ΠΌΠ°Ρ Π·Π°ΡΠΈΡΡ, Π²Β ΠΊΠΎΠΌΠΏΠ»Π΅ΠΊΡΠ΅ ΡΒ Π΄ΡΡΠ³ΠΈΠΌΠΈ ΡΠΈΠΏΠ°ΠΌΠΈΒ ΠΠ ΠΈΠ»ΠΈ Π΄ΠΎΠΏΠΎΠ»Π½ΠΈΡΠ΅Π»ΡΠ½ΠΎΠΉ ΠΏΠ°ΡΡΠΈΠ²Π½ΠΎΠΉ Π±ΡΠΎΠ½Π΅ΠΉ. ΠΡΠ΅Π΄ΡΡΠ°Π²ΠΈΡΠ΅Π»ΡΠΌΠΈ ΡΠ²Π»ΡΡΡΡΡ Clara (ΠΠ΅ΡΠΌΠ°Π½ΠΈΡ), IRA, LERA, L-VAS (ΠΠ·ΡΠ°-ΠΈΠ»Ρ). ΠΠΒ ΡΡΠ΅ΡΡΠ΅Π³ΠΎ ΡΠΈΠΏΠ° Π²ΠΎΠΎΠ±ΡΠ΅ Π½Π΅Β ΠΈΡΠΏΠΎΠ»ΡΠ·ΡΠ΅Ρ ΠΠ, ΠΈΡ Β Π΄Π΅ΠΉΡΡΠ²ΠΈΠ΅ ΠΎΡΠ½ΠΎΠ²Π°Π½ΠΎ Π½Π°Β ΡΠ½Π΅ΡΠ³Π΅ΡΠΈΡΠ΅ΡΠΊΠΈΡ ΡΠ²ΠΎΠΉΡΡΠ²Π°Ρ ΠΏΡΠΈΠΌΠ΅Π½ΡΠ΅ΠΌΡΡ ΠΌΠ°ΡΠ΅ΡΠΈΠ°Π»ΠΎΠ² (ΠΏΠΎΠ»ΠΈΠΊΠ°ΡΠ±ΠΎΠ½Π°Ρ, ΠΏΠΎΠ»ΠΈΡΡΠ΅ΡΠ°Π½, ΡΠΈΠ»ΠΈΠΊΠΎΠ½ ΠΈΒ ΠΏΡ.), ΠΈΒ ΠΏΠΎΠ±ΠΎΡ-Π½ΡΠ΅ ΡΡΡΠ΅ΠΊΡΡ ΡΒ ΡΠ°ΠΊΠΈΡ ΡΠΈΡΡΠ΅ΠΌ ΠΌΠΈΠ½ΠΈΠΌΠ°Π»ΡΠ½Ρ. ΠΠΎΡΡΠΎΠΌΡ ΠΎΠ½ΠΈ ΠΈΡΠΏΠΎΠ»ΡΠ·ΡΡΡΡΡ Π²Β ΠΏΠ΅ΡΠ²ΡΡ ΠΎΡΠ΅ΡΠ΅Π΄Ρ Π½Π°Β ΡΠ»Π°Π±ΠΎΠ·Π°ΡΠΈΡΠ΅Π½Π½ΠΎΠΉ ΡΠ΅Ρ Π½ΠΈΠΊΠ΅, Π½Π°ΠΏΡΠΈΠΌΠ΅Ρ Π²Β ΡΠΎΡΡΠ°Π²Π΅ Π³ΠΈΠ±ΡΠΈΠ΄Π½ΠΎΠΉ Π±ΡΠΎΠ½ΠΈ. ΠΒ ΠΊΠ°ΡΠ΅ΡΡΠ²Π΅ ΡΠ°ΠΌΠΎΡΡΠΎΡ-ΡΠ΅Π»ΡΠ½ΠΎΠ³ΠΎ Π²ΠΈΠ΄Π° Π·Π°ΡΠΈΡΡ ΡΡΠΎΡ ΡΠΈΠΏΒ ΠΠ ΠΏΡΠΈΠΌΠ΅Π½Π΅Π½ Π½Π°Β ΠΈΠ·ΡΠ°ΠΈΠ»ΡΡΠΊΠΈΡ ΡΠ°Π½ΠΊΠ°Ρ ΠΠ΅ΡΠΊΠ°Π²Π°-III ΠΈΒ ΠΠ΅ΡΠΊΠ°-Π²Π°-IV, Π³Π΄Π΅ ΠΎΠ½Π° Π²ΡΠΏΠΎΠ»Π½Π΅Π½Π° Π²Β Π²ΠΈΠ΄Π΅ ΡΠΊΡΠ°Π½ΠΎΠ² ΠΈΠ·Β ΠΎΡΠ³ΡΡΠ΅ΠΊΠ»Π° ΡΠΎΠ»ΡΠΈΠ½ΠΎΠΉ 100Β ΠΌΠΌ. Π§Π°ΡΡΠΎ Π²Β ΠΊΠ°ΡΠ΅ΡΡΠ²Π΅ ΡΠ½Π΅ΡΠ³Π΅ΡΠΈΡΠ΅ΡΠΊΠΎΠ³ΠΎ ΡΠΎΡΡΠ°Π²Π° ΠΏΡΠΈΠΌΠ΅Π½ΡΠ΅ΡΡΡ ΡΠΈΠ»ΠΈΠΊΠΎΠ½, Π°Β Π²Β ΠΊΠ°ΡΠ΅ΡΡΠ²Π΅ ΠΊΠ°ΡΠ°Π»ΠΈΠ·Π°ΡΠΎΡΠΎΠ²Β β ΠΎΠΊΠΈΡΠ»Ρ ΠΌΠ΅-ΡΠ°Π»Π»ΠΎΠ². ΠΒ ΡΠΎΡΡΠ°Π² ΡΠ°ΠΊΠΆΠ΅ Π²Π²ΠΎΠ΄ΡΡ ΠΌΠΈΠΊΡΠΎΡΡΠ΅ΡΡ Π΄Π»ΡΒ ΠΏΠΎΠ²ΡΡΠ΅Π½ΠΈΡ ΡΡΠ²ΡΡΠ²ΠΈΡΠ΅Π»ΡΠ½ΠΎΡΡΠΈ. ΠΡΠΎΡ ΡΠΈΠΏΒ ΠΠ Π·Π°Β ΡΡΠ±Π΅ΠΆΠΎΠΌ ΡΠ°ΡΡΠΌΠ°ΡΡΠΈΠ²Π°Π΅ΡΡΡ ΠΊΠ°ΠΊ Π½Π°ΠΈΠ±ΠΎΠ»Π΅Π΅ ΠΏΠ΅ΡΡΠΏΠ΅ΠΊΡΠΈΠ²Π½ΡΠΉ, ΡΠ°ΠΊ ΠΊΠ°ΠΊ Π»Π΅Π³ΠΊΠΎ ΡΠΎΡΠ΅ΡΠ°Π΅ΡΡΡ ΡΒ Π΄ΡΡΠ³ΠΈΠΌΠΈ Π²ΠΈΠ΄Π°ΠΌΠΈ Π·Π°ΡΠΈΡΡ. ΠΡΠ΅Π΄ΡΡΠ°Π²ΠΈΡΠ΅Π»ΠΈΒ β RUAG (Π¨Π²Π΅ΠΉΡΠ°ΡΠΈΡ), NxTRA (Π‘Π¨Π). ΠΠΒ ΡΠ΅ΡΠ²Π΅ΡΡΠΎΠ³ΠΎ ΡΠΈΠΏΠ° Π½Π΅Β ΡΠΎΠ΄Π΅ΡΠΆΠ°Ρ ΡΠ½Π΅ΡΠ³Π΅ΡΠΈΡΠ΅ΡΠΊΠΈΡ ΠΌΠ°ΡΠ΅ΡΠΈΠ°Π»ΠΎΠ² ΠΈΒ ΠΈΡΠΏΠΎΠ»ΡΠ·ΡΡΡ ΡΠ½Π΅ΡΠ³ΠΈΡ ΡΠ°ΠΌΠΎΠΉ ΡΡΡΡΠΈ ΠΈΠ»ΠΈ ΡΠ½Π°ΡΡΠ΄Π°. ΠΡΠΎ ΠΎΡΡΠ°ΠΆΠ°ΡΡΠ°Ρ Π±ΡΠΎΠ½Ρ, ΡΡΠ΅ΠΈΡΡΠ°Ρ Π±ΡΠΎΠ½Ρ, Π°Β ΡΠ°ΠΊΠΆΠ΅ ΠΎΡΠΊΠΎΠ»ΡΠ½Π°Ρ Π±ΡΠΎ-Π½Ρ. ΠΒ ΠΏΠΎΡΠ»Π΅Π΄Π½Π΅ΠΉ ΡΡΠ»ΡΠ½Π°Ρ ΡΡΠΎΡΠΎΠ½Π° Π»ΠΈΡΡΠΎΠ² ΠΈΠΌΠ΅Π΅Ρ ΡΠΏΠ΅ΡΠΈΠ°Π»ΡΠ½ΡΠΉ ΡΠ΅Π»ΡΠ΅Ρ, ΠΊΠΎΡΠΎΡΡΠΉ ΠΏΡΠΈΒ ΠΏΠΎΠΏΠ°Π΄Π°-Π½ΠΈΠΈ ΠΊΡΠΌΡΠ»ΡΡΠΈΠ²Π½ΠΎΠΉ ΡΡΡΡΠΈ ΡΠΎΡΠΌΠΈΡΡΠ΅Ρ ΠΏΠΎΡΠΎΠΊ ΠΎΡΠΊΠΎΠ»ΠΊΠΎΠ², Π½Π°ΡΠ΅Π»Π΅Π½Π½ΡΠΉ Π½Π°Β ΡΠ°Π·ΡΡΡΠ΅Π½ΠΈΠ΅ ΡΠ°ΠΌΠΎΠΉ ΡΡΡΡΠΈ. Π’Π°ΠΊΠΈΠ΅ ΡΠΈΡΡΠ΅ΠΌΡ Π²Β Π ΠΎΡΡΠΈΠΈ ΡΠΆΠ΅ Π½Π΅Β ΡΠ°ΡΡΠΌΠ°ΡΡΠΈΠ²Π°ΡΡΡΡ ΠΊΠ°ΠΊ ΠΏΠ΅ΡΡΠΏΠ΅ΠΊΡΠΈΠ²Π½ΡΠ΅, Ρ ΠΎΡΡ Π·Π°Β ΡΡΠ±Π΅-ΠΆΠΎΠΌ ΠΈΠΌΒ ΠΏΠΎ-ΠΏΡΠ΅ΠΆΠ½Π΅ΠΌΡ ΡΠ΄Π΅Π»ΡΡΡ Π²Π½ΠΈΠΌΠ°Π½ΠΈΠ΅. Π₯Π°ΡΠ°ΠΊΡΠ΅ΡΠ½ΡΠΉ ΠΏΡΠ΅Π΄ΡΡΠ°Π²ΠΈΡΠ΅Π»ΡΒ β NERA (ΠΠ·ΡΠ°ΠΈΠ»Ρ). ΠΡΠΎ Β«ΠΏΠΈΡΠΎΠ³Β», ΡΠΎΡΡΠΎΡΡΠΈΠΉ ΠΈΠ·Β ΠΊΠΎΠΌΠΏΠΎΠ·ΠΈΡΠΈΠΈ Β«ΠΊΠ΅ΡΠ°ΠΌΠΈΠΊΠ°-ΡΠ΅Π·ΠΈΠ½Π°-ΡΡΠ°Π»ΡΒ», ΡΠΈΡΠΎΠΊΠΎ ΠΈΡΠΏΠΎΠ»ΡΠ·ΡΠ΅ΡΡΡ Π²Β Π³ΠΈΠ±ΡΠΈΠ΄Π½ΡΡ ΡΠΈΡΡΠ΅ΠΌΠ°Ρ . Π‘Π°ΠΌΡΠΌ ΠΏΠ΅ΡΡΠΏΠ΅ΠΊΡΠΈΠ²Π½ΡΠΌ ΠΌΠ΅ΡΠΎΠ΄ΠΎΠΌ Π·Π°Β ΡΡΠ±Π΅ΠΆΠΎΠΌ ΡΡΠΈΡΠ°Π΅ΡΡΡ ΠΏΡΠΈΠΌΠ΅Π½Π΅Π½ΠΈΠ΅ Π³ΠΈΠ±ΡΠΈΠ΄Π½ΠΎΠΉ Π±ΡΠΎΠ½ΠΈ, Ρ. Π΅. Π±ΡΠΎΠ½ΠΈ, Π²Β ΡΠ°Π·Π½ΡΡ ΠΊΠΎΠΌΠ±ΠΈΠ½Π°ΡΠΈΡΡ Π²ΠΊΠ»ΡΡΠ°ΡΡΠ΅ΠΉ Π²Β ΡΠ΅Π±Ρ Π½Π°ΡΠΊΠΎΠ»ΡΠΊΠΎ ΡΠΈΠΏΠΎΠ² Π·Π°ΡΠΈΡΡ. Π‘Π΅Π³ΠΎΠ΄Π½Ρ Π»ΡΡΡΠΈΠΌΠΈ ΡΠ²Π»ΡΡΡΡΡ ASPRO (ΠΠ·ΡΠ°ΠΈΠ»Ρ, Π΄Π»ΡΒ M2 ΠΈΒ Π³ΡΡΠ·ΠΎΠ²ΠΈΠΊΠΎΠ²), ARAT (Π‘Π¨Π, Π΄Π»ΡΒ ΡΠ°Π½ΠΊΠΎΠ² Π1), BRAT (Π‘Π¨Π, Π΄Π»ΡΒ ΠΠΠ Bradley).
ΠΠΎΡΡΠΎΠΌΡ ΠΏΡΠΈΒ ΡΠ°Π·ΡΠ°Π±ΠΎΡΠΊΠ΅ Π½ΠΎΠ²ΠΎΠ³ΠΎ ΠΏΠΎΠΊΠΎΠ»Π΅Π½ΠΈΡ ΡΠ°Π½ΠΊΠΎΠ² (Π’-64, Π’-72, Π’-80) ΠΊΠΎΠ½ΡΡΡΡΠΊΡΠΎΡΡ ΠΏΡΠΈΠΌΠ΅Π½ΠΈΠ»ΠΈ Π΄ΡΡΠ³ΠΎΠ΅ ΡΠ΅ΡΠ΅Π½ΠΈΠ΅Β β ΠΌΠ½ΠΎΠ³ΠΎΡΠ»ΠΎΠΉΠ½ΡΡ Π±ΡΠΎΠ½Ρ. ΠΠ½Π° ΡΠΎΡΡΠΎΡΠ»Π° ΠΈΠ·Β Π΄Π²ΡΡ ΡΠ»ΠΎΠ΅Π² ΡΡΠ°Π»ΠΈ, ΠΌΠ΅ΠΆΠ΄Ρ ΠΊΠΎΡΠΎΡΡΠΌΠΈ ΠΏΠΎΠΌΠ΅ΡΠ°Π»ΡΡ ΡΠ»ΠΎΠΉ ΠΌΠ°Π»ΠΎΠΏΠ»ΠΎΡΠ½ΠΎΠ³ΠΎ Π½Π°ΠΏΠΎΠ»Π½ΠΈΡΠ΅Π»ΡΒ β ΡΡΠ΅ΠΊΠ»ΠΎΠΏΠ»Π°ΡΡΠΈΠΊΠ° ΠΈΠ»ΠΈ ΠΊΠ΅ΡΠ°ΠΌΠΈΠΊΠΈ. Π’Π°ΠΊΠΎΠΉ Β«ΠΏΠΈΡΠΎΠ³Β» Π΄Π°Π²Π°Π» Π²ΡΠΈΠ³ΡΡΡ Π²Β ΡΡΠ°Π²Π½Π΅Π½ΠΈΠΈ ΡΒ ΠΌΠΎΠ½ΠΎΠ»ΠΈΡΠ½ΠΎΠΉ ΡΡΠ°Π»ΡΠ½ΠΎΠΉ Π±ΡΠΎΠ½Π΅ΠΉ Π΄ΠΎΒ 30%. ΠΠ΄Π½Π°ΠΊΠΎ ΡΡΠΎΡ ΡΠΏΠΎΡΠΎΠ± Π±ΡΠ» Π½Π΅ΠΏΡΠΈΠΌΠ΅Π½ΠΈΠΌ Π΄Π»ΡΒ Π±Π°ΡΠ½ΠΈ: ΡΒ ΡΡΠΈΡ ΠΌΠΎΠ΄Π΅Π»Π΅ΠΉ ΠΎΠ½Π° Π»ΠΈΡΠ°Ρ ΠΈΒ ΠΏΠΎΠΌΠ΅ΡΡΠΈΡΡ Π²Π½ΡΡΡΡ ΡΡΠ΅ΠΊΠ»ΠΎΠΏΠ»Π°ΡΡΠΈΠΊ ΡΠ»ΠΎΠΆΠ½ΠΎ ΡΒ ΡΠ΅Ρ Π½ΠΎΠ»ΠΎΠ³ΠΈΡΠ΅ΡΠΊΠΎΠΉ ΡΠΎΡΠΊΠΈ Π·ΡΠ΅Π½ΠΈΡ. ΠΠΎΠ½ΡΡΡΡΠΊΡΠΎΡΡ ΠΠΠΠ-100 (Π½ΡΠ½Π΅ ΠΠΠΠ Β«Π’ΡΠ°Π½ΡΠΌΠ°ΡΒ») ΠΏΡΠ΅Π΄Π»ΠΎΠΆΠΈΠ»ΠΈ Π²ΠΏΠ»Π°Π²Π»ΡΡΡ Π²Π½ΡΡΡΡ Π±Π°ΡΠ΅Π½Π½ΠΎΠΉ Π±ΡΠΎΠ½ΠΈ ΡΠ°ΡΡ ΠΈΠ·Β ΡΠ»ΡΡΡΠ°ΡΠ°ΡΡΠΎΡΠ°, ΡΠ΄Π΅Π»ΡΠ½Π°Ρ ΡΡΡΡΠ΅Π³Π°ΡΡΡΠ°Ρ ΡΠΏΠΎΡΠΎΠ±Π½ΠΎΡΡΡ ΠΊΠΎΡΠΎΡΠΎΠ³ΠΎ Π²Β 2β2,5 ΡΠ°Π·Π° Π²ΡΡΠ΅, ΡΠ΅ΠΌ ΡΒ Π±ΡΠΎΠ½Π΅Π²ΠΎΠΉ ΡΡΠ°Π»ΠΈ. Π‘ΠΏΠ΅ΡΠΈΠ°Π»ΠΈΡΡΡ ΠΠΠ ΡΡΠ°Π»ΠΈ Π²ΡΠ±ΡΠ°Π»ΠΈ Π΄ΡΡΠ³ΠΎΠΉ Π²Π°ΡΠΈΠ°Π½Ρ: ΠΌΠ΅ΠΆΠ΄Ρ Π²Π½Π΅ΡΠ½ΠΈΠΌ ΠΈΒ Π²Π½ΡΡΡΠ΅Π½Π½ΠΈΠΌ ΡΠ»ΠΎΡΠΌΠΈ Π±ΡΠΎΠ½ΠΈ ΠΏΠΎΠΌΠ΅ΡΠ°Π»ΠΈΡΡ ΠΏΠ°ΠΊΠ΅ΡΡ ΠΈΠ·Β Π²ΡΡΠΎΠΊΠΎΠΏΡΠΎΡΠ½ΠΎΠΉ ΡΠ²Π΅ΡΠ΄ΠΎΠΉ ΡΡΠ°Π»ΠΈ. ΠΠ½ΠΈ ΠΏΡΠΈΠ½ΠΈΠΌΠ°Π»ΠΈ Π½Π°Β ΡΠ΅Π±Ρ ΡΠ΄Π°Ρ ΠΎΡΠ»Π°Π±Π»Π΅Π½Π½ΠΎΠΉ ΠΊΡΠΌΡΠ»ΡΡΠΈΠ²Π½ΠΎΠΉ ΡΡΡΡΠΈ Π½Π°Β ΡΠΊΠΎΡΠΎΡΡΡΡ , ΠΊΠΎΠ³Π΄Π° Π²Π·Π°ΠΈΠΌΠΎΠ΄Π΅ΠΉΡΡΠ²ΠΈΠ΅ ΠΏΡΠΎΠΈΡΡ ΠΎΠ΄ΠΈΡ ΡΠΆΠ΅ Π½Π΅Β ΠΏΠΎΒ Π·Π°ΠΊΠΎΠ½Π°ΠΌ Π³ΠΈΠ΄ΡΠΎΠ΄ΠΈΠ½Π°ΠΌΠΈΠΊΠΈ, Π°Β Π²Β Π·Π°Π²ΠΈΡΠΈΠΌΠΎΡΡΠΈ ΠΎΡΒ ΡΠ²Π΅ΡΠ΄ΠΎΡΡΠΈ ΠΌΠ°ΡΠ΅ΡΠΈΠ°Π»Π°.

ΠΠΎΠ»ΡΠ°ΠΊΡΠΈΠ²Π½Π°Ρ Π±ΡΠΎΠ½Ρ
Π₯ΠΎΡΡ Π·Π°ΡΠΎΡΠΌΠΎΠ·ΠΈΡΡ ΠΊΡΠΌΡΠ»ΡΡΠΈΠ²Π½ΡΡ ΡΡΡΡΡ Π΄ΠΎΡΡΠ°ΡΠΎΡΠ½ΠΎ Π½Π΅ΠΏΡΠΎΡΡΠΎ, ΠΎΠ½Π° ΡΡΠ·Π²ΠΈΠΌΠ° Π²Β ΠΏΠΎΠΏΠ΅ΡΠ΅ΡΠ½ΠΎΠΌ Π½Π°ΠΏΡΠ°Π²Π»Π΅Π½ΠΈΠΈ ΠΈΒ Π»Π΅Π³ΠΊΠΎ ΠΌΠΎΠΆΠ΅Ρ Π±ΡΡΡ ΡΠ°Π·ΡΡΡΠ΅Π½Π° Π΄Π°ΠΆΠ΅ ΡΠ»Π°Π±ΡΠΌ Π±ΠΎΠΊΠΎΠ²ΡΠΌ Π²ΠΎΠ·Π΄Π΅ΠΉΡΡΠ²ΠΈΠ΅ΠΌ. ΠΠΎΡΡΠΎΠΌΡ Π΄Π°Π»ΡΠ½Π΅ΠΉΡΠ΅Π΅ ΡΠ°Π·Π²ΠΈΡΠΈΠ΅ ΡΠ΅Ρ Π½ΠΎΠ»ΠΎΠ³ΠΈΠΈ ΡΠΎΡΡΠΎΡΠ»ΠΎ Π²Β ΡΠΎΠΌ, ΡΡΠΎ ΠΊΠΎΠΌΠ±ΠΈΠ½ΠΈΡΠΎΠ²Π°Π½Π½Π°Ρ Π±ΡΠΎΠ½Ρ Π»ΠΎΠ±ΠΎΠ²ΡΡ ΠΈΒ Π±ΠΎΡΡΠΎΠ²ΡΡ ΡΠ°ΡΡΠ΅ΠΉ Π»ΠΈΡΠΎΠΉ Π±Π°ΡΠ½ΠΈ ΠΎΠ±ΡΠ°Π·ΠΎΠ²ΡΠ²Π°Π»Π°ΡΡ Π·Π°Β ΡΡΠ΅Ρ ΠΎΡΠΊΡΡΡΠΎΠΉ ΡΠ²Π΅ΡΡ Ρ ΠΏΠΎΠ»ΠΎΡΡΠΈ, Π·Π°ΠΏΠΎΠ»Π½Π΅Π½Π½ΠΎΠΉ ΡΠ»ΠΎΠΆΠ½ΡΠΌ Π½Π°ΠΏΠΎΠ»Π½ΠΈΡΠ΅Π»Π΅ΠΌ; ΡΠ²Π΅ΡΡ Ρ ΠΏΠΎΠ»ΠΎΡΡΡ Π·Π°ΠΊΡΡΠ²Π°Π»Π°ΡΡ ΠΏΡΠΈΠ²Π°ΡΠ½ΡΠΌΠΈ Π·Π°Π³Π»ΡΡΠΊΠ°ΠΌΠΈ. ΠΠ°ΡΠ½ΠΈ ΡΠ°ΠΊΠΎΠΉ ΠΊΠΎΠ½ΡΡΡΡΠΊΡΠΈΠΈ ΠΏΡΠΈΠΌΠ΅Π½ΡΠ»ΠΈΡΡ Π½Π°Β Π±ΠΎΠ»Π΅Π΅ ΠΏΠΎΠ·Π΄Π½ΠΈΡ ΠΌΠΎΠ΄ΠΈΡΠΈΠΊΠ°ΡΠΈΡΡ ΡΠ°Π½ΠΊΠΎΠ²Β β Π’-72Π, Π’-80Π£ ΠΈΒ Π’-80Π£Π. ΠΡΠΈΠ½ΡΠΈΠΏ Π΄Π΅ΠΉΡΡΠ²ΠΈΡ Π²ΡΡΠ°Π²ΠΎΠΊ Π±ΡΠ» ΡΠ°Π·Π½ΡΠΌ, Π½ΠΎΒ ΠΈΡΠΏΠΎΠ»ΡΠ·ΠΎΠ²Π°Π» ΡΠΏΠΎΠΌΡΠ½ΡΡΡΡ Β«Π±ΠΎΠΊΠΎΠ²ΡΡ ΡΡΠ·Π²ΠΈΠΌΠΎΡΡΡΒ» ΠΊΡΠΌΡΠ»ΡΡΠΈΠ²Π½ΠΎΠΉ ΡΡΡΡΠΈ. Π’Π°ΠΊΡΡ Π±ΡΠΎΠ½Ρ ΠΏΡΠΈΠ½ΡΡΠΎ ΠΎΡΠ½ΠΎΡΠΈΡΡ ΠΊΒ Β«ΠΏΠΎΠ»ΡΠ°ΠΊΡΠΈΠ²Π½ΡΠΌΒ» ΡΠΈΡΡΠ΅ΠΌΠ°ΠΌ Π·Π°ΡΠΈΡΡ, ΠΏΠΎΡΠΊΠΎΠ»ΡΠΊΡ Π²Β Π½ΠΈΡ ΠΈΡΠΏΠΎΠ»ΡΠ·ΡΠ΅ΡΡΡ ΡΠ½Π΅ΡΠ³ΠΈΡ ΡΠ°ΠΌΠΎΠ³ΠΎ ΡΡΠ΅Π΄ΡΡΠ²Π° ΠΏΠΎΡΠ°ΠΆΠ΅Π½ΠΈΡ.
ΠΡΠΈΠ½ΡΠΈΠΏΡ ΠΏΠΎΠ»ΡΠ°ΠΊΡΠΈΠ²Π½ΠΎΠΉ Π·Π°ΡΠΈΡΡ ΡΒ ΠΈΡΠΏΠΎΠ»ΡΠ·ΠΎΠ²Π°Π½ΠΈΠ΅ΠΌ ΡΠ½Π΅ΡΠ³ΠΈΠΈ ΡΠ°ΠΌΠΎΠΉ ΡΡΡΡΠΈ
Π―ΡΠ΅ΠΈΡΡΠ°Ρ Π±ΡΠΎΠ½Ρ, ΡΡΠ΅ΠΉΠΊΠΈ ΠΊΠΎΡΠΎΡΠΎΠΉ Π·Π°ΠΏΠΎΠ»Π½Π΅Π½Ρ ΠΊΠ²Π°Π·ΠΈΠΆΠΈΠ΄ΠΊΠΈΠΌ Π²Π΅ΡΠ΅ΡΡΠ²ΠΎΠΌ (ΠΏΠΎΠ»ΠΈΡΡΠ΅ΡΠ°Π½, ΠΏΠΎΠ»ΠΈΡΡΠΈΠ»Π΅Π½). Π£Π΄Π°ΡΠ½Π°Ρ Π²ΠΎΠ»Π½Π° ΠΊΡΠΌΡΠ»ΡΡΠΈΠ²Π½ΠΎΠΉ ΡΡΡΡΠΈ ΠΎΡΡΠ°ΠΆΠ°Π΅ΡΡΡ ΠΎΡΒ ΡΡΠ΅Π½ΠΎΠΊ ΠΈΒ ΡΡ Π»ΠΎΠΏΡΠ²Π°Π΅Ρ ΠΊΠ°Π²Π΅ΡΠ½Ρ, Π²ΡΠ·ΡΠ²Π°Ρ ΡΠ°Π·ΡΡΡΠ΅Π½ΠΈΠ΅ ΡΡΡΡΠΈ. ΠΠ°Β ΡΠΎΡΠΎ: Π±ΡΠΎΠ½Ρ ΡΒ ΠΎΡΡΠ°ΠΆΠ°ΡΡΠΈΠΌΠΈ Π»ΠΈΡΡΠ°ΠΌΠΈ. ΠΠ°Β ΡΡΠ΅Ρ Π²ΡΠΏΡΡΠΈΠ²Π°Π½ΠΈΡ ΡΡΠ»ΡΠ½ΠΎΠΉ ΠΏΠΎΠ²Π΅ΡΡ Π½ΠΎΡΡΠΈ ΠΈΒ ΠΏΡΠΎΠΊΠ»Π°Π΄ΠΊΠΈ ΡΠΎΠ½ΠΊΠ°Ρ ΠΏΠ»Π°ΡΡΠΈΠ½Π° ΡΠΌΠ΅ΡΠ°Π΅ΡΡΡ, Π½Π°Π±Π΅Π³Π°Ρ Π½Π°Β ΡΡΡΡΡ ΠΈΒ ΡΠ°Π·ΡΡΡΠ°ΡΒ Π΅Π΅. Π’Π°ΠΊΠΈΠ΅ ΡΠΏΠΎΡΠΎΠ±Ρ ΡΠ²Π΅Π»ΠΈΡΠΈΠ²Π°ΡΡ ΠΏΡΠΎΡΠΈΠ²ΠΎΠΊΡΠΌΡΠ»ΡΡΠΈΠ²Π½ΡΡ ΡΡΠΎΠΉΠΊΠΎΡΡΡ Π½Π°Β 30β40%.
ΠΠ΄ΠΈΠ½ ΠΈΠ·Β Π²Π°ΡΠΈΠ°Π½ΡΠΎΠ² ΡΠ°ΠΊΠΈΡ ΡΠΈΡΡΠ΅ΠΌΒ β ΡΡΠ΅ΠΈΡΡΠ°Ρ Π±ΡΠΎΠ½Ρ, ΠΏΡΠΈΠ½ΡΠΈΠΏ Π΄Π΅ΠΉΡΡΠ²ΠΈΡ ΠΊΠΎΡΠΎΡΠΎΠΉ Π±ΡΠ» ΠΏΡΠ΅Π΄Π»ΠΎΠΆΠ΅Π½ ΡΠΎΡΡΡΠ΄Π½ΠΈΠΊΠ°ΠΌΠΈ ΠΠ½ΡΡΠΈΡΡΡΠ° Π³ΠΈΠ΄ΡΠΎΠ΄ΠΈΠ½Π°ΠΌΠΈΠΊΠΈ Π‘ΠΈΠ±ΠΈΡΡΠΊΠΎΠ³ΠΎ ΠΎΡΠ΄Π΅Π»Π΅Π½ΠΈΡΒ ΠΠ Π‘Π‘Π‘Π . ΠΡΠΎΠ½Ρ ΡΠΎΡΡΠΎΠΈΡ ΠΈΠ·Β Π½Π°Π±ΠΎΡΠ° ΠΏΠΎΠ»ΠΎΡΡΠ΅ΠΉ, Π·Π°ΠΏΠΎΠ»Π½Π΅Π½Π½ΡΡ ΠΊΠ²Π°Π·ΠΈΠΆΠΈΠ΄ΠΊΠΈΠΌ Π²Π΅ΡΠ΅ΡΡΠ²ΠΎΠΌ (ΠΏΠΎΠ»ΠΈΡΡΠ΅ΡΠ°Π½, ΠΏΠΎΠ»ΠΈΡΡΠΈΠ»Π΅Π½). ΠΡΠΌΡΠ»ΡΡΠΈΠ²Π½Π°Ρ ΡΡΡΡΡ, ΠΏΠΎΠΏΠ°Π² Π²Β ΡΠ°ΠΊΠΎΠΉ ΠΎΠ±ΡΠ΅ΠΌ, ΠΎΠ³ΡΠ°Π½ΠΈΡΠ΅Π½Π½ΡΠΉ ΠΌΠ΅ΡΠ°Π»Π»ΠΈΡΠ΅ΡΠΊΠΈΠΌΠΈ ΡΡΠ΅Π½ΠΊΠ°ΠΌΠΈ, Π³Π΅Π½Π΅ΡΠΈΡΡΠ΅Ρ Π²Β ΠΊΠ²Π°Π·ΠΈΠΆΠΈΠ΄ΠΊΠΎΡΡΠΈ ΡΠ΄Π°ΡΠ½ΡΡ Π²ΠΎΠ»Π½Ρ, ΠΊΠΎΡΠΎΡΠ°Ρ, ΠΎΡΡΠ°ΠΆΠ°ΡΡΡ ΠΎΡΒ ΡΡΠ΅Π½ΠΎΠΊ, Π²ΠΎΠ·Π²ΡΠ°ΡΠ°Π΅ΡΡΡ ΠΊΒ ΠΎΡΠΈ ΡΡΡΡΠΈ ΠΈΒ ΡΡ Π»ΠΎΠΏΡΠ²Π°Π΅Ρ ΠΊΠ°Π²Π΅ΡΠ½Ρ, Π²ΡΠ·ΡΠ²Π°Ρ ΡΠΎΡΠΌΠΎΠΆΠ΅Π½ΠΈΠ΅ ΠΈΒ ΡΠ°Π·ΡΡΡΠ΅Π½ΠΈΠ΅ ΡΡΡΡΠΈ. Π’Π°ΠΊΠΎΠΉ ΡΠΈΠΏ Π±ΡΠΎΠ½ΠΈ ΠΎΠ±Π΅ΡΠΏΠ΅ΡΠΈΠ²Π°Π΅Ρ Π²ΡΠΈΠ³ΡΡΡ ΠΏΠΎΒ ΠΏΡΠΎΡΠΈΠ²ΠΎΠΊΡΠΌΡΠ»ΡΡΠΈΠ²Π½ΠΎΠΉ ΡΡΠΎΠΉΠΊΠΎΡΡΠΈ Π΄ΠΎΒ 30β40%.
ΠΡΠ΅ ΠΎΠ΄ΠΈΠ½ Π²Π°ΡΠΈΠ°Π½ΡΒ β Π±ΡΠΎΠ½Ρ ΡΒ ΠΎΡΡΠ°ΠΆΠ°ΡΡΠΈΠΌΠΈ Π»ΠΈΡΡΠ°ΠΌΠΈ. ΠΡΠΎ ΡΡΠ΅Ρ ΡΠ»ΠΎΠΉΠ½Π°Ρ ΠΏΡΠ΅Π³ΡΠ°Π΄Π°, ΡΠΎΡΡΠΎΡΡΠ°Ρ ΠΈΠ·Β ΠΏΠ»ΠΈΡΡ, ΠΏΡΠΎΠΊΠ»Π°Π΄ΠΊΠΈ ΠΈΒ ΡΠΎΠ½ΠΊΠΎΠΉ ΠΏΠ»Π°ΡΡΠΈΠ½Ρ. Π‘ΡΡΡΡ, ΠΏΡΠΎΠ½ΠΈΠΊΠ°Ρ Π²Β ΠΏΠ»ΠΈΡΡ, ΡΠΎΠ·Π΄Π°Π΅Ρ Π½Π°ΠΏΡΡΠΆΠ΅Π½ΠΈΡ, ΠΏΡΠΈΠ²ΠΎΠ΄ΡΡΠΈΠ΅ ΡΠ½Π°ΡΠ°Π»Π° ΠΊΒ ΠΌΠ΅ΡΡΠ½ΠΎΠΌΡ Π²ΡΠΏΡΡΠΈΠ²Π°Π½ΠΈΡ ΡΡΠ»ΡΠ½ΠΎΠΉ ΠΏΠΎΠ²Π΅ΡΡ Π½ΠΎΡΡΠΈ, Π°Β Π·Π°ΡΠ΅ΠΌ ΠΊΒ Π΅Π΅Β ΡΠ°Π·ΡΡΡΠ΅Π½ΠΈΡ. ΠΡΠΈΒ ΡΡΠΎΠΌ ΠΏΡΠΎΠΈΡΡ ΠΎΠ΄ΠΈΡ Π·Π½Π°ΡΠΈΡΠ΅Π»ΡΠ½ΠΎΠ΅ Π²ΡΠΏΡΡΠΈΠ²Π°Π½ΠΈΠ΅ ΠΏΡΠΎΠΊΠ»Π°Π΄ΠΊΠΈ ΠΈΒ ΡΠΎΠ½ΠΊΠΎΠ³ΠΎ Π»ΠΈΡΡΠ°. ΠΠΎΠ³Π΄Π° ΡΡΡΡΡ ΠΏΡΠΎΠ±ΠΈΠ²Π°Π΅Ρ ΠΏΡΠΎΠΊΠ»Π°Π΄ΠΊΡ ΠΈΒ ΡΠΎΠ½ΠΊΡΡ ΠΏΠ»Π°ΡΡΠΈΠ½Ρ, ΠΏΠΎΡΠ»Π΅Π΄Π½ΡΡ ΡΠΆΠ΅ Π½Π°ΡΠ°Π»Π° Π΄Π²ΠΈΠΆΠ΅Π½ΠΈΠ΅ Π²Β ΡΡΠΎΡΠΎΠ½Ρ ΠΎΡΒ ΡΡΠ»ΡΠ½ΠΎΠΉ ΠΏΠΎΠ²Π΅ΡΡ Π½ΠΎΡΡΠΈ ΠΏΠ»ΠΈΡΡ. ΠΠΎΡΠΊΠΎΠ»ΡΠΊΡ ΠΌΠ΅ΠΆΠ΄Ρ Π½Π°ΠΏΡΠ°Π²Π»Π΅Π½ΠΈΡΠΌΠΈ Π΄Π²ΠΈΠΆΠ΅Π½ΠΈΡ ΡΡΡΡΠΈ ΠΈΒ ΡΠΎΠ½ΠΊΠΎΠΉ ΠΏΠ»Π°ΡΡΠΈΠ½Ρ ΠΈΠΌΠ΅Π΅ΡΡΡ Π½Π΅ΠΊΠΎΡΠΎΡΡΠΉ ΡΠ³ΠΎΠ», ΡΠΎΒ Π²Β ΠΊΠ°ΠΊΠΎΠΉ-ΡΠΎ ΠΌΠΎΠΌΠ΅Π½Ρ Π²ΡΠ΅ΠΌΠ΅Π½ΠΈ ΠΏΠ»Π°ΡΡΠΈΠ½Π° Π½Π°ΡΠΈΠ½Π°Π΅Ρ Π½Π°Π±Π΅Π³Π°ΡΡ Π½Π°Β ΡΡΡΡΡ, ΡΠ°Π·ΡΡΡΠ°ΡΒ Π΅Π΅. ΠΒ ΡΡΠ°Π²Π½Π΅Π½ΠΈΠΈ ΡΒ ΠΌΠΎΠ½ΠΎΠ»ΠΈΡΠ½ΠΎΠΉ Π±ΡΠΎΠ½Π΅ΠΉ ΡΠΎΠΉΒ ΠΆΠ΅ ΠΌΠ°ΡΡΡ ΡΡΡΠ΅ΠΊΡ ΠΎΡΒ ΠΈΡΠΏΠΎΠ»ΡΠ·ΠΎΠ²Π°Π½ΠΈΡ Β«ΠΎΡΡΠ°ΠΆΠ°ΡΡΠΈΡ Β» Π»ΠΈΡΡΠΎΠ² ΠΌΠΎΠΆΠ΅Ρ Π΄ΠΎΡΡΠΈΠ³Π°ΡΡ 40%.
Π ΠΎΡΡΠΈΡ ΠΈΒ ΠΠ°ΠΏΠ°Π΄
Π‘Π»Π΅Π΄ΡΠ΅Ρ Π·Π°ΠΌΠ΅ΡΠΈΡΡ, ΡΡΠΎ ΡΠΎΡΡΠΈΠΉΡΠΊΠ°Ρ ΠΊΠΎΠ½ΡΠ΅ΠΏΡΠΈΡ ΠΏΡΠΈΠΌΠ΅Π½Π΅Π½ΠΈΡ Π΄ΠΈΠ½Π°ΠΌΠΈΡΠ΅ΡΠΊΠΎΠΉ Π·Π°ΡΠΈΡΡ ΠΊΠ°ΡΠ΄ΠΈΠ½Π°Π»ΡΠ½ΠΎ ΠΎΡΠ»ΠΈΡΠ°Π΅ΡΡΡ ΠΎΡΒ Π·Π°ΠΏΠ°Π΄Π½ΠΎΠΉ. ΠΒ Π ΠΎΡΡΠΈΠΈ ΠΠΒ β ΡΡΠΎ ΠΎΠ±ΡΠ·Π°ΡΠ΅Π»ΡΠ½Π°Ρ ΡΠΎΡΡΠ°Π²Π½Π°Ρ ΡΠ°ΡΡΡ ΠΊΠΎΠΌΠΏΠ»Π΅ΠΊΡΠ½ΠΎΠΉ Π±ΡΠΎΠ½Π΅Π·Π°ΡΠΈΡΡ, ΠΊΠΎΡΠΎΡΠ°Ρ ΠΈΡΠΏΠΎΠ»ΡΠ·ΡΠ΅ΡΡΡ Π½Π°Β Π²ΡΠ΅Ρ Π±Π΅Π·Β ΠΈΡΠΊΠ»ΡΡΠ΅Π½ΠΈΡ ΡΠΎΡΡΠΈΠΉΡΠΊΠΈΡ ΡΠ°Π½ΠΊΠ°Ρ . Π’ΡΠ΅Π±ΠΎΠ²Π°Π½ΠΈΡ ΠΊΒ ΡΡΠΎΠ²Π½Ρ Π·Π°ΡΠΈΡΡ ΠΏΠΎΡΡΠΎΡΠ½Π½ΠΎ ΡΠ°ΡΡΡΡ. ΠΒ ΡΠΎΒ ΠΆΠ΅ Π²ΡΠ΅ΠΌΡ Π½Π°Β Π»Π΅Π³ΠΊΠΎΠ±ΡΠΎΠ½ΠΈΡΠΎΠ²Π°Π½Π½ΠΎΠΉ ΡΠ΅Ρ Π½ΠΈΠΊΠ΅ ΠΎΠ½Π° ΠΏΠΎΒ ΡΠ°Π·Π½ΡΠΌ ΠΏΡΠΈΡΠΈΠ½Π°ΠΌ Π½Π΅Β ΠΈΡΠΏΠΎΠ»ΡΠ·ΡΠ΅ΡΡΡ. ΠΒ Π·Π°ΠΏΠ°Π΄Π½ΡΡ ΡΡΡΠ°Π½Π°Ρ ΠΈΠ΄Π΅Ρ ΠΏΡΡΠΌΠΎ ΠΏΡΠΎΡΠΈΠ²ΠΎΠΏΠΎΠ»ΠΎΠΆΠ½ΡΠΉ ΠΏΡΠΎΡΠ΅ΡΡ. ΠΠΈΠ½Π°ΠΌΠΈΡΠ΅ΡΠΊΠ°Ρ Π·Π°ΡΠΈΡΠ° ΡΡΠ°Π½ΠΎΠ²ΠΈΡΡΡ ΠΎΠ±ΡΠ·Π°ΡΠ΅Π»ΡΠ½ΡΠΌ Π°ΡΡΠΈΠ±ΡΡΠΎΠΌ Π»Π΅Π³ΠΊΠΎΠ±ΡΠΎΠ½ΠΈΡΠΎΠ²Π°Π½Π½ΠΎΠΉ ΡΠ΅Ρ Π½ΠΈΠΊΠΈ, ΠΈΒ ΠΎΠ³ΡΠ°Π½ΠΈΡΠ΅Π½Π½ΠΎ ΠΈΡΠΏΠΎΠ»ΡΠ·ΡΠ΅ΡΡΡ Π½Π°Β ΡΠ°Π½ΠΊΠ°Ρ . ΠΡΠΈΒ ΡΡΠΎΠΌ ΡΡΠ΅Π±ΠΎΠ²Π°Π½ΠΈΡ ΠΊΒ ΡΡΠΎΠ²Π½Ρ Π·Π°ΡΠΈΡΡ ΠΎΠ³ΡΠ°Π½ΠΈΡΠ΅Π½Ρ 400Β ΠΌΠΌ, Ρ. Π΅. ΠΏΡΠΎΡΠΈΠ² Π½Π°ΠΈΠ±ΠΎΠ»Π΅Π΅ ΠΌΠ°ΡΡΠΎΠ²ΠΎ ΠΏΡΠΈΠΌΠ΅Π½ΡΠ΅ΠΌΡΡ ΠΊΡΠΌΡΠ»ΡΡΠΈΠ²Π½ΡΡ ΡΡΠ΅Π΄ΡΡΠ² ΠΏΠΎΡΠ°ΠΆΠ΅Π½ΠΈΡ. ΠΡΠΎ ΠΌΠΎΠΆΠ½ΠΎ ΠΎΠ±ΡΡΡΠ½ΠΈΡΡ ΠΊΠ°ΠΊ ΡΠ°Π·Π»ΠΈΡΠΈΡΠΌΠΈ Π²ΠΎΠ΅Π½Π½ΠΎΠΉ Π΄ΠΎΠΊΡΡΠΈΠ½Ρ, ΡΠ°ΠΊ ΠΈΒ ΡΡΠ°Π΄ΠΈΡΠΈΠΎΠ½Π½ΠΎΠΉ ΡΠΎΡΡΠΈΠΉΡΠΊΠΎΠΉ Π½Π΅ΠΏΠΎΠ²ΠΎΡΠΎΡΠ»ΠΈΠ²ΠΎΡΡΡΡ.
Π‘Π»Π΅Π΄ΡΡΡΠΈΠΌ ΡΡΠΎΠ²Π΅ΡΡΠ΅Π½ΡΡΠ²ΠΎΠ²Π°Π½ΠΈΠ΅ΠΌ ΠΊΠΎΠ½ΡΡΡΡΠΊΡΠΈΠΈ Π±ΡΠ» ΠΏΠ΅ΡΠ΅Ρ ΠΎΠ΄ Π½Π°Β Π±Π°ΡΠ½ΠΈ ΡΠΎΒ ΡΠ²Π°ΡΠ½ΠΎΠΉ ΠΎΡΠ½ΠΎΠ²ΠΎΠΉ. Π‘ΡΠ°Π»ΠΎ ΡΡΠ½ΠΎ, ΡΡΠΎ ΡΠ°Π·ΡΠ°Π±ΠΎΡΠΊΠΈ ΠΏΠΎΒ ΡΠ²Π΅Π»ΠΈΡΠ΅Π½ΠΈΡ ΠΏΡΠΎΡΠ½ΠΎΡΡΠΈ ΠΊΠ°ΡΠ°Π½ΠΎΠΉ Π±ΡΠΎΠ½ΠΈ Π±ΠΎΠ»Π΅Π΅ ΠΏΠ΅ΡΡΠΏΠ΅ΠΊΡΠΈΠ²Π½Ρ. ΠΒ ΡΠ°ΡΡΠ½ΠΎΡΡΠΈ, Π²Β 1980-Ρ Π³ΠΎΠ΄Π°Ρ Π±ΡΠ»ΠΈ ΡΠ°Π·ΡΠ°Π±ΠΎΡΠ°Π½Ρ ΠΈΒ Π³ΠΎΡΠΎΠ²Ρ ΠΊΒ ΡΠ΅ΡΠΈΠΉΠ½ΠΎΠΌΡ ΠΏΡΠΎΠΈΠ·Π²ΠΎΠ΄ΡΡΠ²Ρ Π½ΠΎΠ²ΡΠ΅ ΡΡΠ°Π»ΠΈ ΠΏΠΎΠ²ΡΡΠ΅Π½Π½ΠΎΠΉ ΡΠ²Π΅ΡΠ΄ΠΎΡΡΠΈ: Π‘Π-2Π¨, Π‘Π-3Π¨. ΠΡΠΈΠΌΠ΅Π½Π΅Π½ΠΈΠ΅ Π±Π°ΡΠ΅Π½ ΡΒ ΠΎΡΠ½ΠΎΠ²ΠΎΠΉ ΠΈΠ·Β ΠΏΡΠΎΠΊΠ°ΡΠ° ΠΏΠΎΠ·Π²ΠΎΠ»ΠΈΠ»ΠΎ ΠΏΠΎΠ²ΡΡΠΈΡΡ Π·Π°ΡΠΈΡΠ½ΡΠΉ ΡΠΊΠ²ΠΈΠ²Π°Π»Π΅Π½Ρ ΠΏΠΎΒ ΠΎΡΠ½ΠΎΠ²Π΅ Π±Π°ΡΠ½ΠΈ. ΠΒ ΡΠ΅Π·ΡΠ»ΡΡΠ°ΡΠ΅ Π±Π°ΡΠ½Ρ Π΄Π»ΡΒ ΡΠ°Π½ΠΊΠ° Π’-72Π ΡΒ ΠΎΡΠ½ΠΎΠ²ΠΎΠΉ ΠΈΠ·Β ΠΏΡΠΎΠΊΠ°ΡΠ° ΠΎΠ±Π»Π°Π΄Π°Π»Π° ΡΠ²Π΅Π»ΠΈΡΠ΅Π½Π½ΡΠΌ Π²Π½ΡΡΡΠ΅Π½Π½ΠΈΠΌ ΠΎΠ±ΡΠ΅ΠΌΠΎΠΌ, ΡΠΎΡΡ ΠΌΠ°ΡΡΡ ΡΠΎΡΡΠ°Π²ΠΈΠ» 400Β ΠΊΠ³ ΠΏΠΎΒ ΡΡΠ°Π²Π½Π΅Π½ΠΈΡ ΡΒ ΡΠ΅ΡΠΈΠΉΠ½ΠΎΠΉ Π»ΠΈΡΠΎΠΉ Π±Π°ΡΠ½Π΅ΠΉ ΡΠ°Π½ΠΊΠ° Π’-72Π. ΠΠ°ΠΊΠ΅Ρ Π½Π°ΠΏΠΎΠ»Π½ΠΈΡΠ΅Π»Ρ Π±Π°ΡΠ½ΠΈ Π²ΡΠΏΠΎΠ»Π½ΡΠ»ΡΡ ΡΒ ΠΏΡΠΈΠΌΠ΅Π½Π΅Π½ΠΈΠ΅ΠΌ ΠΊΠ΅ΡΠ°ΠΌΠΈΡΠ΅ΡΠΊΠΈΡ ΠΌΠ°ΡΠ΅ΡΠΈΠ°Π»ΠΎΠ² ΠΈΒ ΡΡΠ°Π»ΠΈ ΠΏΠΎΠ²ΡΡΠ΅Π½Π½ΠΎΠΉ ΡΠ²Π΅ΡΠ΄ΠΎΡΡΠΈ ΠΈΠ»ΠΈ ΠΈΠ·Β ΠΏΠ°ΠΊΠ΅ΡΠ° Π½Π°Β ΠΎΡΠ½ΠΎΠ²Π΅ ΡΡΠ°Π»ΡΠ½ΡΡ ΠΏΠ»Π°ΡΡΠΈΠ½ ΡΒ Β«ΠΎΡΡΠ°ΠΆΠ°ΡΡΠΈΠΌΠΈΒ» Π»ΠΈΡΡΠ°ΠΌΠΈ. ΠΠΊΠ²ΠΈΠ²Π°Π»Π΅Π½ΡΠ½Π°Ρ Π±ΡΠΎΠ½Π΅ΡΡΠΎΠΉΠΊΠΎΡΡΡ ΡΡΠ°Π»Π° ΡΠ°Π²Π½Π° 500β550 ΠΌΠΌΒ Π³ΠΎΠΌΠΎΠ³Π΅Π½Π½ΠΎΠΉ ΡΡΠ°Π»ΠΈ.
ΠΠ·ΡΡΠ² Π½Π°Π²ΡΡΡΠ΅ΡΡ
Π’Π΅ΠΌ Π²ΡΠ΅ΠΌΠ΅Π½Π΅ΠΌ ΡΠ΅Ρ Π½ΠΎΠ»ΠΎΠ³ΠΈΠΈ Π²Β ΠΎΠ±Π»Π°ΡΡΠΈ ΠΊΡΠΌΡΠ»ΡΡΠΈΠ²Π½ΡΡ Π±ΠΎΠ΅ΠΏΡΠΈΠΏΠ°ΡΠΎΠ² ΠΏΡΠΎΠ΄ΠΎΠ»ΠΆΠ°Π»ΠΈ ΡΠΎΠ²Π΅ΡΡΠ΅Π½ΡΡΠ²ΠΎΠ²Π°ΡΡΡΡ. ΠΡΠ»ΠΈ Π²Β Π³ΠΎΠ΄Ρ ΠΡΠΎΡΠΎΠΉ ΠΌΠΈΡΠΎΠ²ΠΎΠΉ Π²ΠΎΠΉΠ½Ρ Π±ΡΠΎΠ½Π΅ΠΏΡΠΎΠ±ΠΈΠ²Π°Π΅ΠΌΠΎΡΡΡ ΠΊΡΠΌΡΠ»ΡΡΠΈΠ²Π½ΡΡ ΡΠ½Π°ΡΡΠ΄ΠΎΠ² Π½Π΅Β ΠΏΡΠ΅Π²ΡΡΠ°Π»Π° 4β5 ΠΊΠ°Π»ΠΈΠ±ΡΠΎΠ², ΡΠΎΒ ΠΏΠΎΠ·Π΄Π½Π΅Π΅ ΠΎΠ½Π° Π·Π½Π°ΡΠΈΡΠ΅Π»ΡΠ½ΠΎ Π²ΡΡΠΎΡΠ»Π°. Π’Π°ΠΊ, ΠΏΡΠΈΒ ΠΊΠ°Π»ΠΈΠ±ΡΠ΅ 100β105 ΠΌΠΌΒ ΠΎΠ½Π° ΡΠΆΠ΅ ΡΠΎΡΡΠ°Π²Π»ΡΠ»Π° 6β7 ΠΊΠ°Π»ΠΈΠ±ΡΠΎΠ² (Π²Β ΡΡΠ°Π»ΡΠ½ΠΎΠΌ ΡΠΊΠ²ΠΈΠ²Π°Π»Π΅Π½ΡΠ΅ 600β700 ΠΌΠΌ), ΠΏΡΠΈΒ ΠΊΠ°Π»ΠΈΠ±ΡΠ΅ 120β152 ΠΌΠΌΒ Π±ΡΠΎΠ½Π΅ΠΏΡΠΎΠ±ΠΈΠ²Π°Π΅ΠΌΠΎΡΡΡ ΡΠ΄Π°Π»ΠΎΡΡ ΠΏΠΎΠ΄Π½ΡΡΡ Π΄ΠΎΒ 8β10 ΠΊΠ°Π»ΠΈΠ±ΡΠΎΠ² (900β1200 ΠΌΠΌΒ Π³ΠΎΠΌΠΎΠ³Π΅Π½Π½ΠΎΠΉ ΡΡΠ°Π»ΠΈ). Π§ΡΠΎΠ±Ρ Π·Π°ΡΠΈΡΠΈΡΡΡΡ ΠΎΡΒ ΡΡΠΈΡ Π±ΠΎΠ΅ΠΏΡΠΈΠΏΠ°ΡΠΎΠ², ΡΡΠ΅Π±ΠΎΠ²Π°Π»ΠΎΡΡ ΠΊΠ°ΡΠ΅ΡΡΠ²Π΅Π½Π½ΠΎ Π½ΠΎΠ²ΠΎΠ΅ ΡΠ΅ΡΠ΅Π½ΠΈΠ΅.

Π Π°Π±ΠΎΡΡ Π½Π°Π΄Β ΠΏΡΠΎΡΠΈΠ²ΠΎΠΊΡΠΌΡΠ»ΡΡΠΈΠ²Π½ΠΎΠΉ, ΠΈΠ»ΠΈ Β«Π΄ΠΈΠ½Π°ΠΌΠΈΡΠ΅ΡΠΊΠΎΠΉΒ», Π±ΡΠΎΠ½Π΅ΠΉ, ΠΎΡΠ½ΠΎΠ²Π°Π½Π½ΠΎΠΉ Π½Π°Β ΠΏΡΠΈΠ½ΡΠΈΠΏΠ΅ ΠΊΠΎΠ½ΡΡΠ²Π·ΡΡΠ²Π°, Π²Π΅Π»ΠΈΡΡ Π²Β Π‘Π‘Π‘Π ΡΒ 1950-Ρ Π³ΠΎΠ΄ΠΎΠ². ΠΒ 1970-ΠΌ Π΅Π΅Β ΠΊΠΎΠ½ΡΡΡΡΠΊΡΠΈΡ ΡΠΆΠ΅ Π±ΡΠ»Π° ΠΎΡΡΠ°Π±ΠΎΡΠ°Π½Π° Π²ΠΎΒ ΠΠΠΠ ΡΡΠ°Π»ΠΈ, Π½ΠΎΒ ΠΏΡΠΈΠ½ΡΡΡ Π΅Π΅Β Π½Π°Β Π²ΠΎΠΎΡΡΠΆΠ΅Π½ΠΈΠ΅ ΠΌΠ΅ΡΠ°Π»Π° ΠΏΡΠΈΡ ΠΎΠ»ΠΎΠ³ΠΈΡΠ΅ΡΠΊΠ°Ρ Π½Π΅ΠΏΠΎΠ΄Π³ΠΎΡΠΎΠ²Π»Π΅Π½Π½ΠΎΡΡΡ Π²ΡΡΠΎΠΊΠΎΠΏΠΎΡΡΠ°Π²Π»Π΅Π½Π½ΡΡ ΠΏΡΠ΅Π΄ΡΡΠ°Π²ΠΈΡΠ΅Π»Π΅ΠΉ Π°ΡΠΌΠΈΠΈ ΠΈΒ ΠΏΡΠΎΠΌΡΡΠ»Π΅Π½Π½ΠΎΡΡΠΈ. Π£Π±Π΅Π΄ΠΈΡΡ ΠΈΡ Β ΠΏΠΎΠΌΠΎΠ³Π»ΠΎ ΡΠΎΠ»ΡΠΊΠΎ ΡΡΠΏΠ΅ΡΠ½ΠΎΠ΅ ΠΏΡΠΈΠΌΠ΅Π½Π΅Π½ΠΈΠ΅ ΠΈΠ·ΡΠ°ΠΈΠ»ΡΡΠΊΠΈΠΌΠΈ ΡΠ°Π½ΠΊΠΈΡΡΠ°ΠΌΠΈ Π°Π½Π°Π»ΠΎΠ³ΠΈΡΠ½ΠΎΠΉ Π±ΡΠΎΠ½ΠΈ Π½Π°Β ΡΠ°Π½ΠΊΠ°Ρ Π48 ΠΈΒ Π60 Π²Β Ρ ΠΎΠ΄Π΅ Π°ΡΠ°Π±ΠΎ-ΠΈΠ·ΡΠ°ΠΈΠ»ΡΡΠΊΠΎΠΉ Π²ΠΎΠΉΠ½Ρ 1982 Π³ΠΎΠ΄Π°. ΠΠΎΡΠΊΠΎΠ»ΡΠΊΡ ΡΠ΅Ρ Π½ΠΈΡΠ΅ΡΠΊΠΈΠ΅, ΠΊΠΎΠ½ΡΡΡΡΠΊΡΠΎΡΡΠΊΠΈΠ΅ ΠΈΒ ΡΠ΅Ρ Π½ΠΎΠ»ΠΎΠ³ΠΈΡΠ΅ΡΠΊΠΈΠ΅ ΡΠ΅ΡΠ΅Π½ΠΈΡ Π±ΡΠ»ΠΈ ΠΏΠΎΠ»Π½ΠΎΡΡΡΡ ΠΏΠΎΠ΄Π³ΠΎΡΠΎΠ²Π»Π΅Π½Ρ, ΠΎΡΠ½ΠΎΠ²Π½ΠΎΠΉ ΡΠ°Π½ΠΊΠΎΠ²ΡΠΉ ΠΏΠ°ΡΠΊ Π‘ΠΎΠ²Π΅ΡΡΠΊΠΎΠ³ΠΎ Π‘ΠΎΡΠ·Π° Π±ΡΠ» ΠΎΡΠ½Π°ΡΠ΅Π½ ΠΏΡΠΎΡΠΈΠ²ΠΎΠΊΡΠΌΡΠ»ΡΡΠΈΠ²Π½ΠΎΠΉ Π΄ΠΈΠ½Π°ΠΌΠΈΡΠ΅ΡΠΊΠΎΠΉ Π·Π°ΡΠΈΡΠΎΠΉ (ΠΠ) Β«ΠΠΎΠ½ΡΠ°ΠΊΡ-1Β» Π²Β ΡΠ΅ΠΊΠΎΡΠ΄Π½ΡΠΉ ΡΡΠΎΠΊΒ β Π²ΡΠ΅Π³ΠΎ Π·Π°Β Π³ΠΎΠ΄. Π£ΡΡΠ°Π½ΠΎΠ²ΠΊΠ°Β ΠΠ Π½Π°Β ΡΠ°Π½ΠΊΠΈ Π’-64Π, Π’-72Π, Π’-80Π, ΠΈΒ Π±Π΅Π· ΡΠΎΠ³ΠΎ ΡΠΆΠ΅ ΠΎΠ±Π»Π°Π΄Π°Π²ΡΠΈΠ΅ Π΄ΠΎΡΡΠ°ΡΠΎΡΠ½ΠΎ ΠΌΠΎΡΠ½ΡΠΌ Π±ΡΠΎΠ½ΠΈΡΠΎΠ²Π°Π½ΠΈΠ΅ΠΌ, ΠΏΡΠ°ΠΊΡΠΈΡΠ΅ΡΠΊΠΈ ΠΎΠ΄Π½ΠΎΠΌΠΎΠΌΠ΅Π½ΡΠ½ΠΎ ΠΎΠ±Π΅ΡΡΠ΅Π½ΠΈΠ»Π° ΡΡΡΠ΅ΡΡΠ²ΠΎΠ²Π°Π²ΡΠΈΠ΅ Π°ΡΡΠ΅Π½Π°Π»Ρ ΠΏΡΠΎΡΠΈΠ²ΠΎΡΠ°Π½ΠΊΠΎΠ²ΠΎΠ³ΠΎ ΡΠΏΡΠ°Π²Π»ΡΠ΅ΠΌΠΎΠ³ΠΎ Π²ΠΎΠΎΡΡΠΆΠ΅Π½ΠΈΡ ΠΏΠΎΡΠ΅Π½ΡΠΈΠ°Π»ΡΠ½ΡΡ ΠΏΡΠΎΡΠΈΠ²Π½ΠΈΠΊΠΎΠ².
ΠΠ·ΡΡΠ²ΡΠ°ΡΠΊΠ° ΠΏΠΎΠ²Π΅ΡΡ Π±ΡΠΎΠ½ΠΈ
ΠΡΠΈΒ ΠΏΡΠΎΠ±ΠΈΡΠΈΠΈ ΡΠ»Π΅ΠΌΠ΅Π½ΡΠ°Β ΠΠ ΠΊΡΠΌΡΠ»ΡΡΠΈΠ²Π½ΠΎΠΉ ΡΡΡΡΠ΅ΠΉ Π²Π·ΡΡΠ²ΡΠ°ΡΠΎΠ΅ Π²Π΅ΡΠ΅ΡΡΠ²ΠΎ, Π½Π°Ρ ΠΎΠ΄ΡΡΠ΅Π΅ΡΡ Π²Β Π½Π΅ΠΌ, Π΄Π΅ΡΠΎΠ½ΠΈΡΡΠ΅Ρ ΠΈΒ ΠΌΠ΅ΡΠ°Π»Π»ΠΈΡΠ΅ΡΠΊΠΈΠ΅ ΠΏΠ»Π°ΡΡΠΈΠ½Ρ ΠΊΠΎΡΠΏΡΡΠ° Π½Π°ΡΠΈΠ½Π°ΡΡ ΡΠ°Π·Π»Π΅ΡΠ°ΡΡΡΡ. ΠΡΠΈΒ ΡΡΠΎΠΌ ΠΎΠ½ΠΈ ΠΏΠ΅ΡΠ΅ΡΠ΅ΠΊΠ°ΡΡ ΡΡΠ°Π΅ΠΊΡΠΎΡΠΈΡ ΡΡΡΡΠΈ ΠΏΠΎΠ΄Β ΡΠ³Π»ΠΎΠΌ, ΠΏΠΎΡΡΠΎΡΠ½Π½ΠΎ ΠΏΠΎΠ΄ΡΡΠ°Π²Π»ΡΡ ΠΏΠΎΠ΄Β Π½Π΅Π΅ Π½ΠΎΠ²ΡΠ΅ ΡΡΠ°ΡΡΠΊΠΈ. Π§Π°ΡΡΡ ΡΠ½Π΅ΡΠ³ΠΈΠΈ ΡΠ°ΡΡ ΠΎΠ΄ΡΠ΅ΡΡΡ Π½Π°Β ΠΏΡΠΎΠ±ΠΈΡΠΈΠ΅ ΠΏΠ»Π°ΡΡΠΈΠ½, Π°Β Π±ΠΎΠΊΠΎΠ²ΠΎΠΉ ΠΈΠΌΠΏΡΠ»ΡΡ ΠΎΡΒ ΡΠΎΡΠ΄Π°ΡΠ΅Π½ΠΈΡ Π΄Π΅ΡΡΠ°Π±ΠΈΠ»ΠΈΠ·ΠΈΡΡΠ΅Ρ ΡΡΡΡΡ. ΠΠΒ ΡΠ½ΠΈΠΆΠ°Π΅Ρ Π±ΡΠΎΠ½Π΅ΠΏΡΠΎΠ±ΠΈΠ²Π½ΡΠ΅ Ρ Π°ΡΠ°ΠΊΡΠ΅ΡΠΈΡΡΠΈΠΊΠΈ ΠΊΡΠΌΡΠ»ΡΡΠΈΠ²Π½ΡΡ ΡΡΠ΅Π΄ΡΡΠ² Π½Π°Β 50β80%. ΠΡΠΈΒ ΡΡΠΎΠΌ, ΡΡΠΎ ΠΎΡΠ΅Π½Ρ Π²Π°ΠΆΠ½ΠΎ, ΠΠΒ Π½Π΅Β Π΄Π΅ΡΠΎΠ½ΠΈΡΡΠ΅Ρ ΠΏΡΠΈΒ ΠΎΠ±ΡΡΡΠ΅Π»Π΅ ΠΈΠ·Β ΡΡΡΠ΅Π»ΠΊΠΎΠ²ΠΎΠ³ΠΎ ΠΎΡΡΠΆΠΈΡ. ΠΡΠΈΠΌΠ΅Π½Π΅Π½ΠΈΠ΅Β ΠΠ ΡΡΠ°Π»ΠΎ ΡΠ΅Π²ΠΎΠ»ΡΡΠΈΠ΅ΠΉ Π²Β Π·Π°ΡΠΈΡΠ΅ Π±ΡΠΎΠ½Π΅ΡΠ΅Ρ Π½ΠΈΠΊΠΈ. ΠΠΎΡΠ²ΠΈΠ»Π°ΡΡ ΡΠ΅Π°Π»ΡΠ½Π°Ρ Π²ΠΎΠ·ΠΌΠΎΠΆΠ½ΠΎΡΡΡ Π²ΠΎΠ·Π΄Π΅ΠΉΡΡΠ²ΠΎΠ²Π°ΡΡ Π½Π°Β Π²Π½Π΅Π΄ΡΡΡΡΠ΅Π΅ΡΡ ΠΏΠΎΡΠ°ΠΆΠ°ΡΡΠ΅Π΅ ΡΡΠ΅Π΄ΡΡΠ²ΠΎ ΡΠ°ΠΊΒ ΠΆΠ΅ Π°ΠΊΡΠΈΠ²Π½ΠΎ, ΠΊΠ°ΠΊ Π΄ΠΎΒ ΡΡΠΎΠ³ΠΎ ΠΎΠ½ΠΎ Π²ΠΎΠ·Π΄Π΅ΠΉΡΡΠ²ΠΎΠ²Π°Π»ΠΎ Π½Π°Β ΠΏΠ°ΡΡΠΈΠ²Π½ΡΡ Π±ΡΠΎΠ½Ρ.
ΠΡΠΎΡΠΈΠ² Π»ΠΎΠΌΠ° Π΅ΡΡΡ ΠΏΡΠΈΠ΅ΠΌΡ
ΠΡΠΌΡΠ»ΡΡΠΈΠ²Π½ΡΠΉ ΡΠ½Π°ΡΡΠ΄Β β Π½Π΅Β Π΅Π΄ΠΈΠ½ΡΡΠ²Π΅Π½Π½ΠΎΠ΅ ΡΡΠ΅Π΄ΡΡΠ²ΠΎ ΠΏΠΎΡΠ°ΠΆΠ΅Π½ΠΈΡ Π±ΡΠΎΠ½Π΅ΡΠ΅Ρ Π½ΠΈΠΊΠΈ. ΠΠΎΡΠ°Π·Π΄ΠΎ Π±ΠΎΠ»Π΅Π΅ ΠΎΠΏΠ°ΡΠ½ΡΠ΅ ΠΏΡΠΎΡΠΈΠ²Π½ΠΈΠΊΠΈ Π±ΡΠΎΠ½ΠΈΒ β Π±ΡΠΎΠ½Π΅Π±ΠΎΠΉΠ½ΡΠ΅ ΠΏΠΎΠ΄ΠΊΠ°Π»ΠΈΠ±Π΅ΡΠ½ΡΠ΅ ΡΠ½Π°ΡΡΠ΄Ρ (ΠΠΠ‘). ΠΠΎΒ ΠΊΠΎΠ½ΡΡΡΡΠΊΡΠΈΠΈ ΡΠ°ΠΊΠΎΠΉ ΡΠ½Π°ΡΡΠ΄ ΠΏΡΠΎΡΡΒ β ΠΎΠ½Β ΠΏΡΠ΅Π΄ΡΡΠ°Π²Π»ΡΠ΅Ρ ΡΠΎΠ±ΠΎΠΉ Π΄Π»ΠΈΠ½Π½ΡΠΉ Π»ΠΎΠΌ (ΡΠ΅ΡΠ΄Π΅ΡΠ½ΠΈΠΊ) ΠΈΠ·Β ΡΡΠΆΠ΅Π»ΠΎΠ³ΠΎ ΠΈΒ Π²ΡΡΠΎΠΊΠΎΠΏΡΠΎΡΠ½ΠΎΠ³ΠΎ ΠΌΠ°ΡΠ΅ΡΠΈΠ°Π»Π° (ΠΎΠ±ΡΡΠ½ΠΎ ΡΡΠΎ ΠΊΠ°ΡΠ±ΠΈΠ΄ Π²ΠΎΠ»ΡΡΡΠ°ΠΌΠ° ΠΈΠ»ΠΈ ΠΎΠ±Π΅Π΄Π½Π΅Π½Π½ΡΠΉ ΡΡΠ°Π½) ΡΒ ΠΎΠΏΠ΅ΡΠ΅Π½ΠΈΠ΅ΠΌ Π΄Π»ΡΒ ΡΡΠ°Π±ΠΈΠ»ΠΈΠ·Π°ΡΠΈΠΈ Π²Β ΠΏΠΎΠ»Π΅ΡΠ΅. ΠΠΈΠ°ΠΌΠ΅ΡΡ ΡΠ΅ΡΠ΄Π΅ΡΠ½ΠΈΠΊΠ° Π½Π°ΠΌΠ½ΠΎΠ³ΠΎ ΠΌΠ΅Π½ΡΡΠ΅ ΠΊΠ°Π»ΠΈΠ±ΡΠ° ΡΡΠ²ΠΎΠ»Π°Β β ΠΎΡΡΡΠ΄Π° ΠΈΒ Π½Π°Π·Π²Π°Π½ΠΈΠ΅ Β«ΠΏΠΎΠ΄ΠΊΠ°Π»ΠΈΠ±Π΅ΡΠ½ΡΠ΅Β». ΠΠ΅ΡΡΡΠΈΠΉ ΡΠΎΒ ΡΠΊΠΎΡΠΎΡΡΡΡ 1,5β1,6 ΠΊΠΌ/Ρ Β«Π΄ΡΠΎΡΠΈΠΊΒ» ΠΌΠ°ΡΡΠΎΠΉ Π²Β Π½Π΅ΡΠΊΠΎΠ»ΡΠΊΠΎ ΠΊΠΈΠ»ΠΎΠ³ΡΠ°ΠΌΠΌΠΎΠ² ΠΎΠ±Π»Π°Π΄Π°Π΅Ρ ΡΠ°ΠΊΠΎΠΉ ΠΊΠΈΠ½Π΅ΡΠΈΡΠ΅ΡΠΊΠΎΠΉ ΡΠ½Π΅ΡΠ³ΠΈΠ΅ΠΉ, ΡΡΠΎ ΠΏΡΠΈΒ ΠΏΠΎΠΏΠ°Π΄Π°Π½ΠΈΠΈ ΡΠΏΠΎΡΠΎΠ±Π΅Π½ ΠΏΡΠΎΠ±ΠΈΠ²Π°ΡΡ Π±ΠΎΠ»Π΅Π΅ 650Β ΠΌΠΌ Π³ΠΎΠΌΠΎΠ³Π΅Π½Π½ΠΎΠΉ ΡΡΠ°Π»ΠΈ. ΠΡΠΈΡΠ΅ΠΌ ΠΎΠΏΠΈΡΠ°Π½Π½ΡΠ΅ Π²ΡΡΠ΅ ΡΠΏΠΎΡΠΎΠ±Ρ ΡΡΠΈΠ»Π΅Π½ΠΈΡ ΠΏΡΠΎΡΠΈΠ²ΠΎΠΊΡΠΌΡΠ»ΡΡΠΈΠ²Π½ΠΎΠΉ Π·Π°ΡΠΈΡΡ ΠΏΡΠ°ΠΊΡΠΈΡΠ΅ΡΠΊΠΈ Π½Π΅Β Π²Π»ΠΈΡΡΡ Π½Π°Β ΠΏΠΎΠ΄ΠΊΠ°Π»ΠΈΠ±Π΅ΡΠ½ΡΠ΅ ΡΠ½Π°ΡΡΠ΄Ρ. ΠΠΎΠΏΡΠ΅ΠΊΠΈ Π·Π΄ΡΠ°Π²ΠΎΠΌΡ ΡΠΌΡΡΠ»Ρ, Π½Π°ΠΊΠ»ΠΎΠ½ Π±ΡΠΎΠ½Π΅Π²ΡΡ Π»ΠΈΡΡΠΎΠ² Π½Π΅Β ΡΠΎΠ»ΡΠΊΠΎ Π½Π΅Β Π²ΡΠ·ΡΠ²Π°Π΅Ρ ΡΠΈΠΊΠΎΡΠ΅Ρ ΠΏΠΎΠ΄ΠΊΠ°Π»ΠΈΠ±Π΅ΡΠ½ΠΎΠ³ΠΎ ΡΠ½Π°ΡΡΠ΄Π°, Π½ΠΎΒ Π΄Π°ΠΆΠ΅ ΠΎΡΠ»Π°Π±Π»ΡΠ΅Ρ ΡΡΠ΅ΠΏΠ΅Π½Ρ Π·Π°ΡΠΈΡΡ ΠΎΡΒ Π½ΠΈΡ ! Π‘ΠΎΠ²ΡΠ΅ΠΌΠ΅Π½Π½ΡΠ΅ Β«ΡΡΠ°Π±Π°ΡΡΠ²Π°ΡΡΠΈΠ΅ΡΡΒ» ΡΠ΅ΡΠ΄Π΅ΡΠ½ΠΈΠΊΠΈ Π½Π΅Β ΡΠΈΠΊΠΎΡΠ΅ΡΠΈΡΡΡΡ: ΠΏΡΠΈΒ ΠΊΠΎΠ½ΡΠ°ΠΊΡΠ΅ ΡΒ Π±ΡΠΎΠ½Π΅ΠΉ Π½Π°Β ΠΏΠ΅ΡΠ΅Π΄Π½Π΅ΠΌ ΠΊΠΎΠ½ΡΠ΅ ΡΠ΅ΡΠ΄Π΅ΡΠ½ΠΈΠΊΠ° ΠΎΠ±ΡΠ°Π·ΡΠ΅ΡΡΡ Π³ΡΠΈΠ±ΠΎΠ²ΠΈΠ΄Π½ΡΠΉ ΠΎΠ³ΠΎΠ»ΠΎΠ²ΠΎΠΊ, ΠΈΠ³ΡΠ°ΡΡΠΈΠΉ ΡΠΎΠ»Ρ ΡΠ°ΡΠ½ΠΈΡΠ°, ΠΈΒ ΡΠ½Π°ΡΡΠ΄ Π΄ΠΎΠ²ΠΎΡΠ°ΡΠΈΠ²Π°Π΅ΡΡΡ Π²Β ΡΡΠΎΡΠΎΠ½Ρ ΠΏΠ΅ΡΠΏΠ΅Π½Π΄ΠΈΠΊΡΠ»ΡΡΠ° ΠΊΒ Π±ΡΠΎΠ½Π΅, ΡΠΎΠΊΡΠ°ΡΠ°Ρ ΠΏΡΡΡ Π²Β Π΅Π΅Β ΡΠΎΠ»ΡΠ΅.
Π‘Ρ
Π΅ΠΌΠ° ΡΠ°Π±ΠΎΡΡ ΠΊΡΠΌΡΠ»ΡΡΠΈΠ²Π½ΠΎΠΉ Π·Π°ΡΠΈΡΡ Β«ΠΠΎΠΆΒ»
Π‘Π»Π΅Π΄ΡΡΡΠΈΠΌ ΠΏΠΎΠΊΠΎΠ»Π΅Π½ΠΈΠ΅ΠΌΒ ΠΠ ΡΡΠ°Π»Π° ΡΠΈΡΡΠ΅ΠΌΠ° Β«ΠΠΎΠ½ΡΠ°ΠΊΡ-5Β». Π‘ΠΏΠ΅ΡΠΈΠ°Π»ΠΈΡΡΡ ΠΠΠ ΡΡΠ°Π»ΠΈ ΠΏΡΠΎΠ΄Π΅Π»Π°Π»ΠΈ Π±ΠΎΠ»ΡΡΡΡ ΡΠ°Π±ΠΎΡΡ, ΡΠ΅ΡΠΈΠ² ΠΌΠ½ΠΎΠΆΠ΅ΡΡΠ²ΠΎ ΠΏΡΠΎΡΠΈΠ²ΠΎΡΠ΅ΡΠΈΠ²ΡΡ ΠΏΡΠΎΠ±Π»Π΅ΠΌ: ΠΠΒ Π΄ΠΎΠ»ΠΆΠ½Π° Π±ΡΠ»Π° Π΄Π°Π²Π°ΡΡ ΠΌΠΎΡΠ½ΡΠΉ Π±ΠΎΠΊΠΎΠ²ΠΎΠΉ ΠΈΠΌΠΏΡΠ»ΡΡ, ΠΏΠΎΠ·Π²ΠΎΠ»ΡΡΡΠΈΠΉ Π΄Π΅ΡΡΠ°Π±ΠΈΠ»ΠΈΠ·ΠΈΡΠΎΠ²Π°ΡΡ ΠΈΠ»ΠΈ ΡΠ°Π·ΡΡΡΠΈΡΡ ΡΠ΅ΡΠ΄Π΅ΡΠ½ΠΈΠΊ ΠΠΠΠ‘, Π²Π·ΡΡΠ²ΡΠ°ΡΠΎΠ΅ Π²Π΅ΡΠ΅ΡΡΠ²ΠΎ Π΄ΠΎΠ»ΠΆΠ½ΠΎ Π±ΡΠ»ΠΎ Π½Π°Π΄Π΅ΠΆΠ½ΠΎ Π΄Π΅ΡΠΎΠ½ΠΈΡΠΎΠ²Π°ΡΡ ΠΎΡΒ Π½ΠΈΠ·ΠΊΠΎΡΠΊΠΎΡΠΎΡΡΠ½ΠΎΠ³ΠΎ (ΠΏΠΎΒ ΡΡΠ°Π²Π½Π΅Π½ΠΈΡ ΡΒ ΠΊΡΠΌΡΠ»ΡΡΠΈΠ²Π½ΠΎΠΉ ΡΡΡΡΠ΅ΠΉ) ΡΠ΅ΡΠ΄Π΅ΡΠ½ΠΈΠΊΠ° ΠΠΠΠ‘, Π½ΠΎΒ ΠΏΡΠΈ ΡΡΠΎΠΌ Π΄Π΅ΡΠΎΠ½Π°ΡΠΈΡ ΠΎΡΒ ΠΏΠΎΠΏΠ°Π΄Π°Π½ΠΈΡ ΠΏΡΠ»Ρ ΠΈΒ ΠΎΡΠΊΠΎΠ»ΠΊΠΎΠ² ΡΠ½Π°ΡΡΠ΄ΠΎΠ² ΠΈΡΠΊΠ»ΡΡΠ°Π»Π°ΡΡ. Π‘Β ΡΡΠΈΠΌΠΈ ΠΏΡΠΎΠ±Π»Π΅ΠΌΠ°ΠΌΠΈ ΠΏΠΎΠΌΠΎΠ³Π»Π° ΡΠΏΡΠ°Π²ΠΈΡΡΡΡ ΠΊΠΎΠ½ΡΡΡΡΠΊΡΠΈΡ Π±Π»ΠΎΠΊΠΎΠ². ΠΡΡΡΠΊΠ° Π±Π»ΠΎΠΊΠ°Β ΠΠ Π²ΡΠΏΠΎΠ»Π½Π΅Π½Π° ΠΈΠ·Β ΡΠΎΠ»ΡΡΠΎΠΉ (ΠΎΠΊΠΎΠ»ΠΎ 20 ΠΌΠΌ) Π²ΡΡΠΎΠΊΠΎΠΏΡΠΎΡΠ½ΠΎΠΉ Π±ΡΠΎΠ½Π΅Π²ΠΎΠΉ ΡΡΠ°Π»ΠΈ. ΠΡΠΈΒ ΡΠ΄Π°ΡΠ΅ Π²Β Π½Π΅Π΅ ΠΠΠ‘ Π³Π΅Π½Π΅ΡΠΈΡΡΠ΅Ρ ΠΏΠΎΡΠΎΠΊ Π²ΡΡΠΎΠΊΠΎΡΠΊΠΎΡΠΎΡΡΠ½ΡΡ ΠΎΡΠΊΠΎΠ»ΠΊΠΎΠ², ΠΊΠΎΡΠΎΡΡΠ΅ ΠΈΒ Π΄Π΅ΡΠΎΠ½ΠΈΡΡΡΡ Π·Π°ΡΡΠ΄. ΠΠΎΠ·Π΄Π΅ΠΉΡΡΠ²ΠΈΠ΅ Π½Π°Β ΠΠΠ‘ Π΄Π²ΠΈΠΆΡΡΠ΅ΠΉΡΡ ΡΠΎΠ»ΡΡΠΎΠΉ ΠΊΡΡΡΠΊΠΈ ΠΎΠΊΠ°Π·ΡΠ²Π°Π΅ΡΡΡ Π΄ΠΎΡΡΠ°ΡΠΎΡΠ½ΡΠΌ, ΡΡΠΎΠ±Ρ ΡΠ½ΠΈΠ·ΠΈΡΡ Π΅Π³ΠΎ Π±ΡΠΎΠ½Π΅ΠΏΡΠΎΠ±ΠΈΠ²Π½ΡΠ΅ Ρ Π°ΡΠ°ΠΊΡΠ΅ΡΠΈΡΡΠΈΠΊΠΈ. ΠΠΎΠ·Π΄Π΅ΠΉΡΡΠ²ΠΈΠ΅ Π½Π°Β ΠΊΡΠΌΡΠ»ΡΡΠΈΠ²Π½ΡΡ ΡΡΡΡΡ ΡΠ°ΠΊΠΆΠ΅ ΡΠ²Π΅Π»ΠΈΡΠΈΠ²Π°Π΅ΡΡΡ ΠΏΠΎΒ ΡΡΠ°Π²Π½Π΅Π½ΠΈΡ ΡΒ ΡΠΎΠ½ΠΊΠΎΠΉ (3 ΠΌΠΌ) ΠΏΠ»Π°ΡΡΠΈΠ½ΠΎΠΉ Β«ΠΠΎΠ½ΡΠ°ΠΊΡ-1Β». ΠΒ ΡΠ΅Π·ΡΠ»ΡΡΠ°ΡΠ΅ ΡΡΡΠ°Π½ΠΎΠ²ΠΊΠ°Β ΠΠ Β«ΠΠΎΠ½ΡΠ°ΠΊΡ-5Β» Π½Π°Β ΡΠ°Π½ΠΊΠΈ ΠΏΠΎΠ²ΡΡΠ°Π΅Ρ ΠΏΡΠΎΡΠΈΠ²ΠΎΠΊΡΠΌΡΠ»ΡΡΠΈΠ²Π½ΡΡ ΡΡΠΎΠΉΠΊΠΎΡΡΡ Π²Β 1,5β1,8 ΡΠ°Π·Π° ΠΈΒ ΠΎΠ±Π΅ΡΠΏΠ΅ΡΠΈΠ²Π°Π΅Ρ ΠΏΠΎΠ²ΡΡΠ΅Π½ΠΈΠ΅ ΡΡΠΎΠ²Π½Ρ Π·Π°ΡΠΈΡΡ ΠΎΡΒ ΠΠΠ‘ Π²Β 1,2β1,5 ΡΠ°Π·Π°. ΠΠΎΠΌΠΏΠ»Π΅ΠΊΡ Β«ΠΠΎΠ½ΡΠ°ΠΊΡ-5Β» ΡΡΡΠ°Π½Π°Π²Π»ΠΈΠ²Π°Π΅ΡΡΡ Π½Π°Β ΡΠΎΡΡΠΈΠΉΡΠΊΠΈΠ΅ ΡΠ΅ΡΠΈΠΉΠ½ΡΠ΅ ΡΠ°Π½ΠΊΠΈ Π’-80Π£, Π’-80Π£Π, Π’-72Π (Π½Π°ΡΠΈΠ½Π°Ρ ΡΒ 1988 Π³ΠΎΠ΄Π°) ΠΈΒ Π’-90.

ΠΠΎΡΠ»Π΅Π΄Π½Π΅Π΅ ΠΏΠΎΠΊΠΎΠ»Π΅Π½ΠΈΠ΅ ΡΠΎΡΡΠΈΠΉΡΠΊΠΎΠΉ ΠΠΒ β ΠΊΠΎΠΌΠΏΠ»Π΅ΠΊΡ Β«Π Π΅Π»ΠΈΠΊΡΒ», ΡΠ°ΠΊΠΆΠ΅ ΡΠ°Π·ΡΠ°Π±ΠΎΡΠ°Π½Π½ΡΠΉ ΡΠΏΠ΅ΡΠΈΠ°Π»ΠΈΡΡΠ°ΠΌΠΈ ΠΠΠ ΡΡΠ°Π»ΠΈ. ΠΒ ΡΡΠΎΠ²Π΅ΡΡΠ΅Π½ΡΡΠ²ΠΎΠ²Π°Π½Π½ΡΡ ΠΠΠ ΡΠ΄Π°Π»ΠΎΡΡ ΡΡΡΡΠ°Π½ΠΈΡΡ ΠΌΠ½ΠΎΠ³ΠΈΠ΅ Π½Π΅Π΄ΠΎΡΡΠ°ΡΠΊΠΈ, Π½Π°ΠΏΡΠΈΠΌΠ΅Ρ Π½Π΅Π΄ΠΎΡΡΠ°ΡΠΎΡΠ½ΡΡ ΡΡΠ²ΡΡΠ²ΠΈΡΠ΅Π»ΡΠ½ΠΎΡΡΡ ΠΏΡΠΈΒ ΠΈΠ½ΠΈΡΠΈΠΈΡΠΎΠ²Π°Π½ΠΈΠΈ ΠΌΠ°Π»ΠΎΡΠΊΠΎΡΠΎΡΡΠ½ΡΠΌΠΈ ΠΊΠΈΠ½Π΅ΡΠΈΡΠ΅ΡΠΊΠΈΠΌΠΈ ΡΠ½Π°ΡΡΠ΄Π°ΠΌΠΈ ΠΈΒ Π½Π΅ΠΊΠΎΡΠΎΡΡΠΌΠΈ ΡΠΈΠΏΠ°ΠΌΠΈ ΠΊΡΠΌΡΠ»ΡΡΠΈΠ²Π½ΡΡ Π±ΠΎΠ΅ΠΏΡΠΈΠΏΠ°ΡΠΎΠ². ΠΠΎΠ²ΡΡΠ΅Π½Π½Π°Ρ ΡΡΡΠ΅ΠΊΡΠΈΠ²Π½ΠΎΡΡΡ ΠΏΡΠΈΒ Π·Π°ΡΠΈΡΠ΅ ΠΎΡΒ ΠΊΠΈΠ½Π΅ΡΠΈΡΠ΅ΡΠΊΠΈΡ ΠΈΒ ΠΊΡΠΌΡΠ»ΡΡΠΈΠ²Π½ΡΡ Π±ΠΎΠ΅ΠΏΡΠΈΠΏΠ°ΡΠΎΠ² Π΄ΠΎΡΡΠΈΠ³Π°Π΅ΡΡΡ Π·Π°Β ΡΡΠ΅Ρ ΠΏΡΠΈΠΌΠ΅Π½Π΅Π½ΠΈΡ Π΄ΠΎΠΏΠΎΠ»Π½ΠΈΡΠ΅Π»ΡΠ½ΡΡ ΠΌΠ΅ΡΠ°ΡΠ΅Π»ΡΠ½ΡΡ ΠΏΠ»Π°ΡΡΠΈΠ½ ΠΈΒ Π²ΠΊΠ»ΡΡΠ΅Π½ΠΈΡ Π²Β ΠΈΡ Β ΡΠΎΡΡΠ°Π² Π½Π΅ΠΌΠ΅ΡΠ°Π»Π»ΠΈΡΠ΅ΡΠΊΠΈΡ ΡΠ»Π΅ΠΌΠ΅Π½ΡΠΎΠ². ΠΒ ΡΠ΅Π·ΡΠ»ΡΡΠ°ΡΠ΅ Π±ΡΠΎΠ½Π΅ΠΏΡΠΎΠ±ΠΈΠ²Π°Π΅ΠΌΠΎΡΡΡ ΠΏΠΎΠ΄ΠΊΠ°Π»ΠΈΠ±Π΅ΡΠ½ΡΠΌΠΈ ΡΠ½Π°ΡΡΠ΄Π°ΠΌΠΈ ΡΠ½ΠΈΠΆΠ°Π΅ΡΡΡ Π½Π°Β 20β60%, Π°Β Π±Π»Π°Π³ΠΎΠ΄Π°ΡΡ Π²ΠΎΠ·ΡΠΎΡΡΠ΅ΠΌΡ Π²ΡΠ΅ΠΌΠ΅Π½ΠΈ Π²ΠΎΠ·Π΄Π΅ΠΉΡΡΠ²ΠΈΡ Π½Π°Β ΠΊΡΠΌΡΠ»ΡΡΠΈΠ²Π½ΡΡ ΡΡΡΡΡ ΡΠ΄Π°Π»ΠΎΡΡ Π΄ΠΎΠ±ΠΈΡΡΡΡ ΠΈΒ ΠΎΠΏΡΠ΅Π΄Π΅Π»Π΅Π½Π½ΠΎΠΉ ΡΡΡΠ΅ΠΊΡΠΈΠ²Π½ΠΎΡΡΠΈ ΠΏΠΎΒ ΠΊΡΠΌΡΠ»ΡΡΠΈΠ²Π½ΡΠΌ ΡΡΠ΅Π΄ΡΡΠ²Π°ΠΌ ΡΒ ΡΠ°Π½Π΄Π΅ΠΌΠ½ΠΎΠΉ Π±ΠΎΠ΅Π²ΠΎΠΉ ΡΠ°ΡΡΡΡ.
Π‘ΡΠ°ΡΡΡ ΠΎΠΏΡΠ±Π»ΠΈΠΊΠΎΠ²Π°Π½Π° Π² ΠΆΡΡΠ½Π°Π»Π΅ Β«ΠΠΎΠΏΡΠ»ΡΡΠ½Π°Ρ ΠΌΠ΅Ρ Π°Π½ΠΈΠΊΠ°Β» (β7, ΠΡΠ»Ρ 2010).www.popmech.ru
Π°ΠΊΡΠΈΠ²Π½Π°Ρ ΡΠ°Π½ΠΊΠΎΠ²Π°Ρ Π±ΡΠΎΠ½Ρ Β» ΠΠΎΠ΅Π½Π½ΠΎΠ΅ ΠΎΠ±ΠΎΠ·ΡΠ΅Π½ΠΈΠ΅

Π‘ ΠΌΠΎΠΌΠ΅Π½ΡΠ° ΠΏΠΎΡΠ²Π»Π΅Π½ΠΈΡ Π±ΡΠΎΠ½Π΅ΡΠ΅Ρ Π½ΠΈΠΊΠΈ ΠΈΠ·Π²Π΅ΡΠ½ΠΎΠ΅ ΡΡΠ°ΠΆΠ΅Π½ΠΈΠ΅ ΠΌΠ΅ΠΆΠ΄Ρ ΡΠ½Π°ΡΡΠ΄ΠΎΠΌ ΠΈ Π±ΡΠΎΠ½Π΅ΠΉ ΠΎΠ±ΠΎΡΡΡΠΈΠ»ΠΎΡΡ. ΠΠ΄Π½ΠΈ ΠΊΠΎΠ½ΡΡΡΡΠΊΡΠΎΡΡ ΡΡΡΠ΅ΠΌΠΈΠ»ΠΈΡΡ ΡΠ²Π΅Π»ΠΈΡΠΈΡΡ ΠΏΡΠΎΠ±ΠΈΠ²Π½ΡΡ ΡΠΏΠΎΡΠΎΠ±Π½ΠΎΡΡΡ ΡΠ½Π°ΡΡΠ΄ΠΎΠ², Π΄ΡΡΠ³ΠΈΠ΅ ΠΏΠΎΠ²ΡΡΠ°Π»ΠΈ ΡΡΠΎΠΉΠΊΠΎΡΡΡ Π±ΡΠΎΠ½ΠΈ. ΠΠΎΡΡΠ±Π° ΠΏΡΠΎΠ΄ΠΎΠ»ΠΆΠ°Π΅ΡΡΡ ΠΈ ΡΠ΅ΠΉΡΠ°Ρ. Π ΡΠΎΠΌ, ΠΊΠ°ΠΊ ΡΡΡΡΠΎΠ΅Π½Π° ΡΠΎΠ²ΡΠ΅ΠΌΠ΅Π½Π½Π°Ρ ΡΠ°Π½ΠΊΠΎΠ²Π°Ρ Π±ΡΠΎΠ½Ρ, Β«ΠΠΎΠΏΡΠ»ΡΡΠ½ΠΎΠΉ ΠΌΠ΅Ρ Π°Π½ΠΈΠΊΠ΅Β» ΡΠ°ΡΡΠΊΠ°Π·Π°Π» ΠΏΡΠΎΡΠ΅ΡΡΠΎΡ ΠΠΠ’Π£ ΠΈΠΌ. Π. Π. ΠΠ°ΡΠΌΠ°Π½Π°, Π΄ΠΈΡΠ΅ΠΊΡΠΎΡ ΠΏΠΎ Π½Π°ΡΠΊΠ΅ ΠΠΠ ΡΡΠ°Π»ΠΈ ΠΠ°Π»Π΅ΡΠΈΠΉ ΠΡΠΈΠ³ΠΎΡΡΠ½.
ΠΠΎΠ½Π°ΡΠ°Π»Ρ Π°ΡΠ°ΠΊΠ° Π½Π° Π±ΡΠΎΠ½Ρ Π²Π΅Π»Π°ΡΡ Π² Π»ΠΎΠ±: ΠΏΠΎΠΊΠ° ΠΎΡΠ½ΠΎΠ²Π½ΡΠΌ Π²ΠΈΠ΄ΠΎΠΌ Π²ΠΎΠ·Π΄Π΅ΠΉΡΡΠ²ΠΈΡ Π±ΡΠ» Π±ΡΠΎΠ½Π΅Π±ΠΎΠΉΠ½ΡΠΉ ΡΠ½Π°ΡΡΠ΄ ΠΊΠΈΠ½Π΅ΡΠΈΡΠ΅ΡΠΊΠΎΠ³ΠΎ Π΄Π΅ΠΉΡΡΠ²ΠΈΡ, Π΄ΡΡΠ»Ρ ΠΊΠΎΠ½ΡΡΡΡΠΊΡΠΎΡΠΎΠ² ΡΠ²ΠΎΠ΄ΠΈΠ»Π°ΡΡ ΠΊ ΡΠ²Π΅Π»ΠΈΡΠ΅Π½ΠΈΡ ΠΊΠ°Π»ΠΈΠ±ΡΠ° ΠΏΡΡΠΊΠΈ, ΡΠΎΠ»ΡΠΈΠ½Ρ ΠΈ ΡΠ³Π»ΠΎΠ² Π½Π°ΠΊΠ»ΠΎΠ½Π° Π±ΡΠΎΠ½ΠΈ. ΠΡΠ° ΡΠ²ΠΎΠ»ΡΡΠΈΡ Ρ ΠΎΡΠΎΡΠΎ Π²ΠΈΠ΄Π½Π° Π½Π° ΠΏΡΠΈΠΌΠ΅ΡΠ΅ ΡΠ°Π·Π²ΠΈΡΠΈΡ ΡΠ°Π½ΠΊΠΎΠ²ΡΡ Π²ΠΎΠΎΡΡΠΆΠ΅Π½ΠΈΠΉ ΠΈ Π±ΡΠΎΠ½ΠΈ Π²ΠΎ ΠΡΠΎΡΠΎΠΉ ΠΌΠΈΡΠΎΠ²ΠΎΠΉ. ΠΠΎΠ½ΡΡΡΡΠΊΡΠΈΠ²Π½ΡΠ΅ ΡΠ΅ΡΠ΅Π½ΠΈΡ ΡΠΎΠ³ΠΎ Π²ΡΠ΅ΠΌΠ΅Π½ΠΈ Π΄ΠΎΡΡΠ°ΡΠΎΡΠ½ΠΎ ΠΎΡΠ΅Π²ΠΈΠ΄Π½Ρ: ΡΠ΄Π΅Π»Π°Π΅ΠΌ ΠΏΡΠ΅Π³ΡΠ°Π΄Ρ ΡΠΎΠ»ΡΠ΅; Π΅ΡΠ»ΠΈ Π΅Π΅ Π½Π°ΠΊΠ»ΠΎΠ½ΠΈΡΡ β ΡΠ½Π°ΡΡΠ΄Ρ ΠΏΡΠΈΠ΄Π΅ΡΡΡ ΠΏΡΠΎΠΉΡΠΈ Π±ΠΎΠ»ΡΡΠΈΠΉ ΠΏΡΡΡ Π² ΡΠΎΠ»ΡΠ΅ ΠΌΠ΅ΡΠ°Π»Π»Π°, Π΄Π° ΠΈ Π²Π΅ΡΠΎΡΡΠ½ΠΎΡΡΡ ΡΠΈΠΊΠΎΡΠ΅ΡΠ° ΡΠ²Π΅Π»ΠΈΡΠΈΡΡΡ. ΠΠ°ΠΆΠ΅ ΠΏΠΎΡΠ»Π΅ ΠΏΠΎΡΠ²Π»Π΅Π½ΠΈΡ Π² Π±ΠΎΠ΅ΠΊΠΎΠΌΠΏΠ»Π΅ΠΊΡΠ°Ρ ΡΠ°Π½ΠΊΠΎΠ²ΡΡ ΠΈ ΠΏΡΠΎΡΠΈΠ²ΠΎΡΠ°Π½ΠΊΠΎΠ²ΡΡ ΠΏΡΡΠ΅ΠΊ Π±ΡΠΎΠ½Π΅Π±ΠΎΠΉΠ½ΡΡ ΡΠ½Π°ΡΡΠ΄ΠΎΠ² Ρ ΠΆΠ΅ΡΡΠΊΠΈΠΌ Π½Π΅ΡΠ°Π·ΡΡΡΠ°ΡΡΠΈΠΌΡΡ ΡΠ΅ΡΠ΄Π΅ΡΠ½ΠΈΠΊΠΎΠΌ ΠΌΠ°Π»ΠΎ ΡΡΠΎ ΠΈΠ·ΠΌΠ΅Π½ΠΈΠ»ΠΎΡΡ.
Π‘ΠΌΠ΅ΡΡΠ΅Π»ΡΠ½ΡΠΉ ΠΏΠ»Π΅Π²ΠΎΠΊ
ΠΠ΄Π½Π°ΠΊΠΎ ΡΠΆΠ΅ Π² Π½Π°ΡΠ°Π»Π΅ ΠΡΠΎΡΠΎΠΉ ΠΌΠΈΡΠΎΠ²ΠΎΠΉ Π² ΠΏΠΎΡΠ°ΠΆΠ°ΡΡΠΈΡ ΡΠ²ΠΎΠΉΡΡΠ²Π°Ρ Π±ΠΎΠ΅ΠΏΡΠΈΠΏΠ°ΡΠΎΠ² ΠΏΡΠΎΠΈΠ·ΠΎΡΠ»Π° ΡΠ΅Π²ΠΎΠ»ΡΡΠΈΡ: ΠΏΠΎΡΠ²ΠΈΠ»ΠΈΡΡ ΠΊΡΠΌΡΠ»ΡΡΠΈΠ²Π½ΡΠ΅ ΡΠ½Π°ΡΡΠ΄Ρ. Π 1941 Π³ΠΎΠ΄Ρ Hohlladungsgeschoss (Β«ΡΠ½Π°ΡΡΠ΄ Ρ Π²ΡΠ΅ΠΌΠΊΠΎΠΉ Π² Π·Π°ΡΡΠ΄Π΅Β») Π½Π°ΡΠ°Π»ΠΈ ΠΏΡΠΈΠΌΠ΅Π½ΡΡΡ Π½Π΅ΠΌΠ΅ΡΠΊΠΈΠ΅ Π°ΡΡΠΈΠ»Π»Π΅ΡΠΈΡΡΡ, Π° Π² 1942-ΠΌ ΠΈ Π² Π‘Π‘Π‘Π Π±ΡΠ» ΠΏΡΠΈΠ½ΡΡ Π½Π° Π²ΠΎΠΎΡΡΠΆΠ΅Π½ΠΈΠ΅ 76-ΠΌΠΌ ΡΠ½Π°ΡΡΠ΄ ΠΠ-350Π, ΡΠ°Π·ΡΠ°Π±ΠΎΡΠ°Π½Π½ΡΠΉ ΠΏΠΎΡΠ»Π΅ ΠΈΠ·ΡΡΠ΅Π½ΠΈΡ ΡΡΠΎΡΠ΅ΠΉΠ½ΡΡ ΠΎΠ±ΡΠ°Π·ΡΠΎΠ². Π’Π°ΠΊ Π±ΡΠ»ΠΈ ΡΡΡΡΠΎΠ΅Π½Ρ ΠΈ Π·Π½Π°ΠΌΠ΅Π½ΠΈΡΡΠ΅ ΡΠ°ΡΡΡ-ΠΏΠ°ΡΡΠΎΠ½Ρ. ΠΠΎΠ·Π½ΠΈΠΊΠ»Π° ΠΏΡΠΎΠ±Π»Π΅ΠΌΠ°, Π½Π΅ ΡΠ°Π·ΡΠ΅ΡΠΈΠΌΠ°Ρ ΡΡΠ°Π΄ΠΈΡΠΈΠΎΠ½Π½ΡΠΌΠΈ ΡΠΏΠΎΡΠΎΠ±Π°ΠΌΠΈ ΠΈΠ·-Π·Π° Π½Π΅ΠΏΡΠΈΠ΅ΠΌΠ»Π΅ΠΌΠΎΠ³ΠΎ ΡΠ²Π΅Π»ΠΈΡΠ΅Π½ΠΈΡ ΠΌΠ°ΡΡΡ ΡΠ°Π½ΠΊΠ°.

ΠΠ»Π΅ΠΌΠ΅Π½ΡΡ Π΄ΠΈΠ½Π°ΠΌΠΈΡΠ΅ΡΠΊΠΎΠΉ Π·Π°ΡΠΈΡΡ (ΠΠΠ) ΠΡΠ΅Π΄ΡΡΠ°Π²Π»ΡΡΡ ΡΠΎΠ±ΠΎΠΉ Β«ΡΡΠ½Π΄Π²ΠΈΡΠΈΒ» ΠΈΠ· Π΄Π²ΡΡ ΠΌΠ΅ΡΠ°Π»Π»ΠΈΡΠ΅ΡΠΊΠΈΡ ΠΏΠ»Π°ΡΡΠΈΠ½ ΠΈ Π²Π·ΡΡΠ²ΡΠ°ΡΠΎΠ³ΠΎ Π²Π΅ΡΠ΅ΡΡΠ²Π°. ΠΠΠ ΠΏΠΎΠΌΠ΅ΡΠ΅Π½Ρ Π² ΠΊΠΎΠ½ΡΠ΅ΠΉΠ½Π΅ΡΡ, ΠΊΡΡΡΠΊΠΈ ΠΊΠΎΡΠΎΡΡΡ Π·Π°ΡΠΈΡΠ°ΡΡ ΠΈΡ ΠΎΡ Π²Π½Π΅ΡΠ½ΠΈΡ Π²ΠΎΠ·Π΄Π΅ΠΉΡΡΠ²ΠΈΠΉ ΠΈ ΠΎΠ΄Π½ΠΎΠ²ΡΠ΅ΠΌΠ΅Π½Π½ΠΎ ΠΏΡΠ΅Π΄ΡΡΠ°Π²Π»ΡΡΡ ΡΠΎΠ±ΠΎΠΉ ΠΌΠ΅ΡΠ°Π΅ΠΌΡΠ΅ ΡΠ»Π΅ΠΌΠ΅Π½ΡΡ.
Π Π³ΠΎΠ»ΠΎΠ²Π½ΠΎΠΉ ΡΠ°ΡΡΠΈ ΠΊΡΠΌΡΠ»ΡΡΠΈΠ²Π½ΠΎΠ³ΠΎ Π±ΠΎΠ΅ΠΏΡΠΈΠΏΠ°ΡΠ° ΡΠ΄Π΅Π»Π°Π½Π° ΠΊΠΎΠ½ΠΈΡΠ΅ΡΠΊΠ°Ρ Π²ΡΠ΅ΠΌΠΊΠ° Π² Π²ΠΈΠ΄Π΅ ΠΎΠ±Π»ΠΈΡΠΎΠ²Π°Π½Π½ΠΎΠΉ ΡΠΎΠ½ΠΊΠΈΠΌ ΡΠ»ΠΎΠ΅ΠΌ ΠΌΠ΅ΡΠ°Π»Π»Π° Π²ΠΎΡΠΎΠ½ΠΊΠΈ (ΡΠ°ΡΡΡΡΠ±ΠΎΠΌ Π²ΠΏΠ΅ΡΠ΅Π΄). ΠΠ΅ΡΠΎΠ½Π°ΡΠΈΡ Π²Π·ΡΡΠ²ΡΠ°ΡΠΎΠ³ΠΎ Π²Π΅ΡΠ΅ΡΡΠ²Π° Π½Π°ΡΠΈΠ½Π°Π΅ΡΡΡ ΡΠΎ ΡΡΠΎΡΠΎΠ½Ρ, Π±Π»ΠΈΠΆΠ°ΠΉΡΠ΅ΠΉ ΠΊ Π²Π΅ΡΡΠΈΠ½Π΅ Π²ΠΎΡΠΎΠ½ΠΊΠΈ. ΠΠ΅ΡΠΎΠ½Π°ΡΠΈΠΎΠ½Π½Π°Ρ Π²ΠΎΠ»Π½Π° Β«ΡΡ Π»ΠΎΠΏΡΠ²Π°Π΅ΡΒ» Π²ΠΎΡΠΎΠ½ΠΊΡ ΠΊ ΠΎΡΠΈ ΡΠ½Π°ΡΡΠ΄Π°, Π° ΠΏΠΎΡΠΊΠΎΠ»ΡΠΊΡ Π΄Π°Π²Π»Π΅Π½ΠΈΠ΅ ΠΏΡΠΎΠ΄ΡΠΊΡΠΎΠ² Π²Π·ΡΡΠ²Π° (ΠΏΠΎΡΡΠΈ ΠΏΠΎΠ»ΠΌΠΈΠ»Π»ΠΈΠΎΠ½Π° Π°ΡΠΌΠΎΡΡΠ΅Ρ) ΠΏΡΠ΅Π²ΡΡΠ°Π΅Ρ ΠΏΡΠ΅Π΄Π΅Π» ΠΏΠ»Π°ΡΡΠΈΡΠ΅ΡΠΊΠΎΠΉ Π΄Π΅ΡΠΎΡΠΌΠ°ΡΠΈΠΈ ΠΎΠ±ΠΊΠ»Π°Π΄ΠΊΠΈ, ΠΏΠΎΡΠ»Π΅Π΄Π½ΡΡ Π½Π°ΡΠΈΠ½Π°Π΅Ρ Π²Π΅ΡΡΠΈ ΡΠ΅Π±Ρ ΠΊΠ°ΠΊ ΠΊΠ²Π°Π·ΠΈΠΆΠΈΠ΄ΠΊΠΎΡΡΡ. Π’Π°ΠΊΠΎΠΉ ΠΏΡΠΎΡΠ΅ΡΡ Π½Π΅ ΠΈΠΌΠ΅Π΅Ρ Π½ΠΈΡΠ΅Π³ΠΎ ΠΎΠ±ΡΠ΅Π³ΠΎ Ρ ΠΏΠ»Π°Π²Π»Π΅Π½ΠΈΠ΅ΠΌ, ΡΡΠΎ ΠΈΠΌΠ΅Π½Π½ΠΎ Β«Ρ ΠΎΠ»ΠΎΠ΄Π½ΠΎΠ΅Β» ΡΠ΅ΡΠ΅Π½ΠΈΠ΅ ΠΌΠ°ΡΠ΅ΡΠΈΠ°Π»Π°. ΠΠ· ΡΡ Π»ΠΎΠΏΡΠ²Π°ΡΡΠ΅ΠΉΡΡ Π²ΠΎΡΠΎΠ½ΠΊΠΈ Π²ΡΠ΄Π°Π²Π»ΠΈΠ²Π°Π΅ΡΡΡ ΡΠΎΠ½ΠΊΠ°Ρ (ΡΡΠ°Π²Π½ΠΈΠΌΠ°Ρ Ρ ΡΠΎΠ»ΡΠΈΠ½ΠΎΠΉ ΠΎΠ±ΠΎΠ»ΠΎΡΠΊΠΈ) ΠΊΡΠΌΡΠ»ΡΡΠΈΠ²Π½Π°Ρ ΡΡΡΡΡ, ΠΊΠΎΡΠΎΡΠ°Ρ ΡΠ°Π·Π³ΠΎΠ½ΡΠ΅ΡΡΡ Π΄ΠΎ ΡΠΊΠΎΡΠΎΡΡΠ΅ΠΉ ΠΏΠΎΡΡΠ΄ΠΊΠ° ΡΠΊΠΎΡΠΎΡΡΠΈ Π΄Π΅ΡΠΎΠ½Π°ΡΠΈΠΈ ΠΠ (Π° ΠΈΠ½ΠΎΠ³Π΄Π° ΠΈ Π²ΡΡΠ΅), ΡΠΎ Π΅ΡΡΡ ΠΎΠΊΠΎΠ»ΠΎ 10 ΠΊΠΌ/Ρ ΠΈ Π±ΠΎΠ»Π΅Π΅. Π‘ΠΊΠΎΡΠΎΡΡΡ ΠΊΡΠΌΡΠ»ΡΡΠΈΠ²Π½ΠΎΠΉ ΡΡΡΡΠΈ ΡΡΡΠ΅ΡΡΠ²Π΅Π½Π½ΠΎ ΠΏΡΠ΅Π²ΡΡΠ°Π΅Ρ ΡΠΊΠΎΡΠΎΡΡΡ ΡΠ°ΡΠΏΡΠΎΡΡΡΠ°Π½Π΅Π½ΠΈΡ Π·Π²ΡΠΊΠ° Π² ΠΌΠ°ΡΠ΅ΡΠΈΠ°Π»Π΅ Π±ΡΠΎΠ½ΠΈ (ΠΏΠΎΡΡΠ΄ΠΊΠ° 4 ΠΊΠΌ/Ρ). ΠΠΎΡΡΠΎΠΌΡ Π²Π·Π°ΠΈΠΌΠΎΠ΄Π΅ΠΉΡΡΠ²ΠΈΠ΅ ΡΡΡΡΠΈ ΠΈ Π±ΡΠΎΠ½ΠΈ ΠΏΡΠΎΠΈΡΡ ΠΎΠ΄ΠΈΡ ΠΏΠΎ Π·Π°ΠΊΠΎΠ½Π°ΠΌ Π³ΠΈΠ΄ΡΠΎΠ΄ΠΈΠ½Π°ΠΌΠΈΠΊΠΈ, ΡΠΎ Π΅ΡΡΡ ΠΎΠ½ΠΈ Π²Π΅Π΄ΡΡ ΡΠ΅Π±Ρ ΠΊΠ°ΠΊ ΠΆΠΈΠ΄ΠΊΠΎΡΡΠΈ: ΡΡΡΡΡ Π²ΠΎΠ²ΡΠ΅ Π½Π΅ ΠΏΡΠΎΠΆΠΈΠ³Π°Π΅Ρ Π±ΡΠΎΠ½Ρ (ΡΡΠΎ ΡΠΈΡΠΎΠΊΠΎ ΡΠ°ΡΠΏΡΠΎΡΡΡΠ°Π½Π΅Π½Π½ΠΎΠ΅ Π·Π°Π±Π»ΡΠΆΠ΄Π΅Π½ΠΈΠ΅), Π° ΠΏΡΠΎΠ½ΠΈΠΊΠ°Π΅Ρ Π² Π½Π΅Π΅, ΠΏΠΎΠ΄ΠΎΠ±Π½ΠΎ ΡΠΎΠΌΡ ΠΊΠ°ΠΊ ΡΡΡΡΡ Π²ΠΎΠ΄Ρ ΠΏΠΎΠ΄ Π΄Π°Π²Π»Π΅Π½ΠΈΠ΅ΠΌ ΡΠ°Π·ΠΌΡΠ²Π°Π΅Ρ ΠΏΠ΅ΡΠΎΠΊ.
Π‘Π»ΠΎΠ΅Π½Π°Ρ Π·Π°ΡΠΈΡΠ°
ΠΠ΅ΡΠ²ΠΎΠΉ Π·Π°ΡΠΈΡΠΎΠΉ ΠΎΡ ΠΊΡΠΌΡΠ»ΡΡΠΈΠ²Π½ΡΡ Π±ΠΎΠ΅ΠΏΡΠΈΠΏΠ°ΡΠΎΠ² ΡΡΠ°Π»ΠΎ ΠΏΡΠΈΠΌΠ΅Π½Π΅Π½ΠΈΠ΅ ΡΠΊΡΠ°Π½ΠΎΠ² (Π΄Π²ΡΡ ΠΏΡΠ΅Π³ΡΠ°Π΄Π½ΠΎΠΉ Π±ΡΠΎΠ½ΠΈ). ΠΡΠΌΡΠ»ΡΡΠΈΠ²Π½Π°Ρ ΡΡΡΡΡ ΡΠΎΡΠΌΠΈΡΡΠ΅ΡΡΡ Π½Π΅ ΠΌΠ³Π½ΠΎΠ²Π΅Π½Π½ΠΎ, Π΄Π»Ρ Π΅Π΅ ΠΌΠ°ΠΊΡΠΈΠΌΠ°Π»ΡΠ½ΠΎΠΉ ΡΡΡΠ΅ΠΊΡΠΈΠ²Π½ΠΎΡΡΠΈ Π²Π°ΠΆΠ½ΠΎ Π²Π·ΠΎΡΠ²Π°ΡΡ Π·Π°ΡΡΠ΄ Π½Π° ΠΎΠΏΡΠΈΠΌΠ°Π»ΡΠ½ΠΎΠΌ ΡΠ°ΡΡΡΠΎΡΠ½ΠΈΠΈ ΠΎΡ Π±ΡΠΎΠ½ΠΈ (ΡΠΎΠΊΡΡΠ½ΠΎΠ΅ ΡΠ°ΡΡΡΠΎΡΠ½ΠΈΠ΅). ΠΡΠ»ΠΈ ΠΏΠ΅ΡΠ΅Π΄ ΠΎΡΠ½ΠΎΠ²Π½ΠΎΠΉ Π±ΡΠΎΠ½Π΅ΠΉ ΠΏΠΎΠΌΠ΅ΡΡΠΈΡΡ ΡΠΊΡΠ°Π½ ΠΈΠ· Π΄ΠΎΠΏΠΎΠ»Π½ΠΈΡΠ΅Π»ΡΠ½ΡΡ Π»ΠΈΡΡΠΎΠ² ΠΌΠ΅ΡΠ°Π»Π»Π°, ΡΠΎ ΠΏΠΎΠ΄ΡΡΠ² ΠΏΡΠΎΠΈΠ·ΠΎΠΉΠ΄Π΅Ρ ΡΠ°Π½ΡΡΠ΅ ΠΈ ΡΡΡΠ΅ΠΊΡΠΈΠ²Π½ΠΎΡΡΡ Π²ΠΎΠ·Π΄Π΅ΠΉΡΡΠ²ΠΈΡ ΡΠ½ΠΈΠ·ΠΈΡΡΡ. ΠΠΎ Π²ΡΠ΅ΠΌΡ ΠΡΠΎΡΠΎΠΉ ΠΌΠΈΡΠΎΠ²ΠΎΠΉ Π΄Π»Ρ Π·Π°ΡΠΈΡΡ ΠΎΡ ΡΠ°ΡΡΡΠΏΠ°ΡΡΠΎΠ½ΠΎΠ² ΡΠ°Π½ΠΊΠΈΡΡΡ ΠΊΡΠ΅ΠΏΠΈΠ»ΠΈ Π½Π° ΡΠ²ΠΎΠΈ ΠΌΠ°ΡΠΈΠ½Ρ ΡΠΎΠ½ΠΊΠΈΠ΅ ΠΌΠ΅ΡΠ°Π»Π»ΠΈΡΠ΅ΡΠΊΠΈΠ΅ Π»ΠΈΡΡΡ ΠΈ ΡΠ΅ΡΡΠ°ΡΡΠ΅ ΡΠΊΡΠ°Π½Ρ (ΡΠ°ΡΠΏΡΠΎΡΡΡΠ°Π½Π΅Π½Π° Π±Π°ΠΉΠΊΠ° ΠΎΠ± ΠΈΡΠΏΠΎΠ»ΡΠ·ΠΎΠ²Π°Π½ΠΈΠΈ Π² ΡΡΠΎΠΌ ΠΊΠ°ΡΠ΅ΡΡΠ²Π΅ ΠΏΠ°Π½ΡΠΈΡΠ½ΡΡ ΠΊΡΠΎΠ²Π°ΡΠ΅ΠΉ, Ρ ΠΎΡΡ Π² ΡΠ΅Π°Π»ΡΠ½ΠΎΡΡΠΈ ΠΏΡΠΈΠΌΠ΅Π½ΡΠ»ΠΈΡΡ ΡΠΏΠ΅ΡΠΈΠ°Π»ΡΠ½ΡΠ΅ ΡΠ΅ΡΠΊΠΈ). ΠΠΎ ΡΠ°ΠΊΠΎΠ΅ ΡΠ΅ΡΠ΅Π½ΠΈΠ΅ Π±ΡΠ»ΠΎ Π½Π΅ ΡΠ»ΠΈΡΠΊΠΎΠΌ ΡΡΡΠ΅ΠΊΡΠΈΠ²Π½ΡΠΌ β ΠΏΡΠΈΡΠΎΡΡ ΡΡΠΎΠΉΠΊΠΎΡΡΠΈ ΡΠΎΡΡΠ°Π²Π»ΡΠ» Π² ΡΡΠ΅Π΄Π½Π΅ΠΌ Π²ΡΠ΅Π³ΠΎ 9β18%.
ΠΠ°ΠΏΠ°Π΄Π½ΡΠ΅ Π°Π½Π°Π»ΠΎΠ³ΠΈ
ΠΠ½ΠΎΡΡΡΠ°Π½Π½ΡΠ΅ ΠΎΠ±ΡΠ°Π·ΡΡ ΠΠ ΠΎΡΠ½ΠΎΠ²Π°Π½Ρ Π½Π° ΡΠ°ΠΌΡΡ ΡΠ°Π·Π½ΡΡ ΠΌΠ°ΡΠ΅ΡΠΈΠ°Π»Π°Ρ ΠΈ ΠΏΡΠΈΠ½ΡΠΈΠΏΠ°Ρ .
ΠΠ΅ΡΠ²ΡΠΉ ΡΠΈΠΏ β ΡΡΠ°Π΄ΠΈΡΠΈΠΎΠ½Π½ΡΠ΅ ΠΊΠΎΠΌΠΏΠ»Π΅ΠΊΡΡ ΠΠ Ρ ΠΈΡΠΏΠΎΠ»ΡΠ·ΠΎΠ²Π°Π½ΠΈΠ΅ΠΌ ΠΎΠ±ΡΡΠ½ΡΡ ΠΠ. ΠΠ°ΠΊ ΠΏΡΠ°-Π²ΠΈΠ»ΠΎ, ΡΡΠΎ ΠΠ ΠΏΠ΅ΡΠ²ΡΡ ΠΏΠΎΠΊΠΎΠ»Π΅Π½ΠΈΠΉ ΠΈ ΠΠ Π½ΠΎΠ²ΡΡ ΡΠ°Π·ΡΠ°Π±ΠΎΡΠΎΠΊ ΠΠΈΡΠ°Ρ, ΠΠ°ΠΊΠΈΡΡΠ°Π½Π°, ΠΡΠ°Π½Π°. Π Π½ΠΈΠΌ ΠΎΡΠ½ΠΎΡΡΡΡΡ Blazer, SuperBlazer (ΠΠ·ΡΠ°ΠΈΠ»Ρ), ERAWA (ΠΠΎΠ»ΡΡΠ°), Dyna (Π§Π΅Ρ ΠΈΡ), Brenus (Π€ΡΠ°Π½ΡΠΈΡ), SABLIN (ΠΡΠΏΠ°Π½ΠΈΡ) ΠΈ Π΄ΡΡΠ³ΠΈΠ΅. ΠΠ΄Π΅Ρ ΠΏΠΎΡΡΠΎΡΠ½Π½ΠΎΠ΅ ΡΠΎΠ²Π΅ΡΡΠ΅Π½ΡΡΠ²ΠΎΠ²Π°Π½ΠΈΠ΅ ΡΠ°ΠΊΠΈΡ ΡΠΈΡΡΠ΅ΠΌ, ΠΏΠΎΡΠΊΠΎΠ»ΡΠΊΡ ΠΏΡΠΈ ΡΡΡΠ°Π½ΠΎΠ²ΠΊΠ΅ ΠΈΡ Π½Π° Π»Π΅Π³ΠΊΠΎΠ±ΡΠΎΠ½ΠΈΡΠΎΠ²Π°Π½Π½ΡΡ ΡΠ΅Ρ Π½ΠΈΠΊΡ ΡΡΠ΅ΡΠ± ΠΎΡ ΠΈΡ ΡΡΠ°Π±Π°ΡΡΠ²Π°Π½ΠΈΡ ΡΠ°ΠΌ ΠΏΠΎ ΡΠ΅Π±Π΅ ΠΎΠΊΠ°Π·ΡΠ²Π°Π΅ΡΡΡ ΡΠ°Π·ΡΡΡΠΈΡΠ΅Π»ΡΠ½ΡΠΌ.
ΠΡΠΎΡΠΎΠΉ ΡΠΈΠΏ β ΠΠ Ρ ΠΈΡΠΏΠΎΠ»ΡΠ·ΠΎΠ²Π°Π½ΠΈΠ΅ΠΌ ΡΠΏΠ΅ΡΠΈΠ°Π»ΡΠ½ΡΡ ΠΠ: ΠΌΠ°Π»ΠΎΠΏΠ»ΠΎΡΠ½ΡΡ , Ρ Π½ΠΈΠ·ΠΊΠΎΠΉ ΡΠΊΠΎΡΠΎ-ΡΡΡΡ Π³ΠΎΡΠ΅Π½ΠΈΡ, ΠΌΠ°Π»ΠΎΡΡΠ²ΡΡΠ²ΠΈΡΠ΅Π»ΡΠ½ΡΡ . Π’Π°ΠΊΠΈΠ΅ ΠΠ ΠΈΡΠΏΠΎΠ»ΡΠ·ΡΡΡ ΠΠ Ρ ΡΠ°Π·Π»ΠΈΡΠ½ΡΠΌΠΈ Π΄ΠΎΠ±Π°Π²ΠΊΠ°ΠΌΠΈ, ΡΠΏΠ΅ΡΠΈΠ°Π»ΡΠ½ΡΠΌΠΈ Π½Π°ΠΏΠΎΠ»Π½ΠΈΡΠ΅Π»ΡΠΌΠΈ Π² Π²ΠΈΠ΄Π΅ ΠΌΠΈΠΊΡΠΎΡΡΠ΅Ρ, Π½Π΅ΠΌΠ΅ΡΠ°Π»Π»ΠΈΡΠ΅ΡΠΊΠΈΠΌΠΈ ΠΌΠ΅ΡΠ°Π΅ΠΌΡΠΌΠΈ ΡΠ»Π΅ΠΌΠ΅Π½-ΡΠ°ΠΌΠΈ, ΡΡΠΎ ΠΏΠΎΠ·Π²ΠΎΠ»ΡΠ΅Ρ ΡΠ½ΠΈΠ·ΠΈΡΡ ΠΏΠΎΠ±ΠΎΡΠ½ΡΠ΅ ΡΡΡΠ΅ΠΊΡΡ ΠΈ ΡΠ°Π·ΠΌΠ΅ΡΠ°ΡΡ ΡΠ°ΠΊΠΈΠ΅ ΠΊΠΎΠΌΠΏΠ»Π΅ΠΊΡΡ Π½Π° Π»Π΅Π³-ΠΊΠΎΠ±ΡΠΎΠ½ΠΈΡΠΎΠ²Π°Π½Π½ΠΎΠΉ ΡΠ΅Ρ Π½ΠΈΠΊΠ΅. ΠΠ ΡΡΠΎΠΉ Π³ΡΡΠΏΠΏΡ ΡΠ°ΡΠ΅ ΠΏΡΠΈΠΌΠ΅Π½ΡΡΡΡΡ ΠΊΠ°ΠΊ ΠΎΡΠ½ΠΎΠ²Π½Π°Ρ ΡΠΎΡΡΠ°Π²Π»ΡΡΡΠ°Ρ Π² Π³ΠΈΠ±ΡΠΈΠ΄Π½ΡΡ ΡΠΈΡΡΠ΅ΠΌΠ°Ρ Π·Π°ΡΠΈΡΡ, Π² ΠΊΠΎΠΌΠΏΠ»Π΅ΠΊΡΠ΅ Ρ Π΄ΡΡΠ³ΠΈΠΌΠΈ ΡΠΈΠΏΠ°ΠΌΠΈ ΠΠ ΠΈΠ»ΠΈ Π΄ΠΎΠΏΠΎΠ»Π½ΠΈΡΠ΅Π»ΡΠ½ΠΎΠΉ ΠΏΠ°ΡΡΠΈΠ²Π½ΠΎΠΉ Π±ΡΠΎΠ½Π΅ΠΉ. ΠΡΠ΅Π΄ΡΡΠ°Π²ΠΈΡΠ΅Π»ΡΠΌΠΈ ΡΠ²Π»ΡΡΡΡΡ Clara (ΠΠ΅ΡΠΌΠ°Π½ΠΈΡ), IRA, LERA, L-VAS (ΠΠ·ΡΠ°-ΠΈΠ»Ρ).
ΠΠ ΡΡΠ΅ΡΡΠ΅Π³ΠΎ ΡΠΈΠΏΠ° Π²ΠΎΠΎΠ±ΡΠ΅ Π½Π΅ ΠΈΡΠΏΠΎΠ»ΡΠ·ΡΠ΅Ρ ΠΠ, ΠΈΡ
Π΄Π΅ΠΉΡΡΠ²ΠΈΠ΅ ΠΎΡΠ½ΠΎΠ²Π°Π½ΠΎ Π½Π° ΡΠ½Π΅ΡΠ³Π΅ΡΠΈΡΠ΅ΡΠΊΠΈΡ
ΡΠ²ΠΎΠΉΡΡΠ²Π°Ρ
ΠΏΡΠΈΠΌΠ΅Π½ΡΠ΅ΠΌΡΡ
ΠΌΠ°ΡΠ΅ΡΠΈΠ°Π»ΠΎΠ² (ΠΏΠΎΠ»ΠΈΠΊΠ°ΡΠ±ΠΎΠ½Π°Ρ, ΠΏΠΎΠ»ΠΈΡΡΠ΅ΡΠ°Π½, ΡΠΈΠ»ΠΈΠΊΠΎΠ½ ΠΈ ΠΏΡ.), ΠΈ ΠΏΠΎΠ±ΠΎΡ-Π½ΡΠ΅ ΡΡΡΠ΅ΠΊΡΡ Ρ ΡΠ°ΠΊΠΈΡ
ΡΠΈΡΡΠ΅ΠΌ ΠΌΠΈΠ½ΠΈΠΌΠ°Π»ΡΠ½Ρ. ΠΠΎΡΡΠΎΠΌΡ ΠΎΠ½ΠΈ ΠΈΡΠΏΠΎΠ»ΡΠ·ΡΡΡΡΡ Π² ΠΏΠ΅ΡΠ²ΡΡ ΠΎΡΠ΅ΡΠ΅Π΄Ρ Π½Π° ΡΠ»Π°Π±ΠΎΠ·Π°ΡΠΈΡΠ΅Π½Π½ΠΎΠΉ ΡΠ΅Ρ
Π½ΠΈΠΊΠ΅, Π½Π°ΠΏΡΠΈΠΌΠ΅Ρ Π² ΡΠΎΡΡΠ°Π²Π΅ Π³ΠΈΠ±ΡΠΈΠ΄Π½ΠΎΠΉ Π±ΡΠΎΠ½ΠΈ. Π ΠΊΠ°ΡΠ΅ΡΡΠ²Π΅ ΡΠ°ΠΌΠΎΡΡΠΎΡ-ΡΠ΅Π»ΡΠ½ΠΎΠ³ΠΎ Π²ΠΈΠ΄Π° Π·Π°ΡΠΈΡΡ ΡΡΠΎΡ ΡΠΈΠΏ ΠΠ ΠΏΡΠΈΠΌΠ΅Π½Π΅Π½ Π½Π° ΠΈΠ·ΡΠ°ΠΈΠ»ΡΡΠΊΠΈΡ
ΡΠ°Π½ΠΊΠ°Ρ
ΠΠ΅ΡΠΊΠ°Π²Π°-III ΠΈ ΠΠ΅ΡΠΊΠ°-Π²Π°-IV, Π³Π΄Π΅ ΠΎΠ½Π° Π²ΡΠΏΠΎΠ»Π½Π΅Π½Π° Π² Π²ΠΈΠ΄Π΅ ΡΠΊΡΠ°Π½ΠΎΠ² ΠΈΠ· ΠΎΡΠ³ΡΡΠ΅ΠΊΠ»Π° ΡΠΎΠ»ΡΠΈΠ½ΠΎΠΉ 100 ΠΌΠΌ. Π§Π°ΡΡΠΎ Π² ΠΊΠ°ΡΠ΅ΡΡΠ²Π΅ ΡΠ½Π΅ΡΠ³Π΅ΡΠΈΡΠ΅ΡΠΊΠΎΠ³ΠΎ ΡΠΎΡΡΠ°Π²Π° ΠΏΡΠΈΠΌΠ΅Π½ΡΠ΅ΡΡΡ ΡΠΈΠ»ΠΈΠΊΠΎΠ½, Π° Π² ΠΊΠ°ΡΠ΅ΡΡΠ²Π΅ ΠΊΠ°ΡΠ°Π»ΠΈΠ·Π°ΡΠΎΡΠΎΠ² β ΠΎΠΊΠΈΡΠ»Ρ ΠΌΠ΅-ΡΠ°Π»Π»ΠΎΠ². Π ΡΠΎΡΡΠ°Π² ΡΠ°ΠΊΠΆΠ΅ Π²Π²ΠΎΠ΄ΡΡ ΠΌΠΈΠΊΡΠΎΡΡΠ΅ΡΡ Π΄Π»Ρ ΠΏΠΎΠ²ΡΡΠ΅Π½ΠΈΡ ΡΡΠ²ΡΡΠ²ΠΈΡΠ΅Π»ΡΠ½ΠΎΡΡΠΈ. ΠΡΠΎΡ ΡΠΈΠΏ ΠΠ Π·Π° ΡΡΠ±Π΅ΠΆΠΎΠΌ ΡΠ°ΡΡΠΌΠ°ΡΡΠΈΠ²Π°Π΅ΡΡΡ ΠΊΠ°ΠΊ Π½Π°ΠΈΠ±ΠΎΠ»Π΅Π΅ ΠΏΠ΅ΡΡΠΏΠ΅ΠΊΡΠΈΠ²Π½ΡΠΉ, ΡΠ°ΠΊ ΠΊΠ°ΠΊ Π»Π΅Π³ΠΊΠΎ ΡΠΎΡΠ΅ΡΠ°Π΅ΡΡΡ Ρ Π΄ΡΡΠ³ΠΈΠΌΠΈ Π²ΠΈΠ΄Π°ΠΌΠΈ Π·Π°ΡΠΈΡΡ. ΠΡΠ΅Π΄ΡΡΠ°Π²ΠΈΡΠ΅Π»ΠΈ β RUAG (Π¨Π²Π΅ΠΉΡΠ°ΡΠΈΡ), NxTRA (Π‘Π¨Π).
ΠΠ ΡΠ΅ΡΠ²Π΅ΡΡΠΎΠ³ΠΎ ΡΠΈΠΏΠ° Π½Π΅ ΡΠΎΠ΄Π΅ΡΠΆΠ°Ρ ΡΠ½Π΅ΡΠ³Π΅ΡΠΈΡΠ΅ΡΠΊΠΈΡ ΠΌΠ°ΡΠ΅ΡΠΈΠ°Π»ΠΎΠ² ΠΈ ΠΈΡΠΏΠΎΠ»ΡΠ·ΡΡΡ ΡΠ½Π΅ΡΠ³ΠΈΡ ΡΠ°ΠΌΠΎΠΉ ΡΡΡΡΠΈ ΠΈΠ»ΠΈ ΡΠ½Π°ΡΡΠ΄Π°. ΠΡΠΎ ΠΎΡΡΠ°ΠΆΠ°ΡΡΠ°Ρ Π±ΡΠΎΠ½Ρ, ΡΡΠ΅ΠΈΡΡΠ°Ρ Π±ΡΠΎΠ½Ρ, Π° ΡΠ°ΠΊΠΆΠ΅ ΠΎΡΠΊΠΎΠ»ΡΠ½Π°Ρ Π±ΡΠΎ-Π½Ρ. Π ΠΏΠΎΡΠ»Π΅Π΄Π½Π΅ΠΉ ΡΡΠ»ΡΠ½Π°Ρ ΡΡΠΎΡΠΎΠ½Π° Π»ΠΈΡΡΠΎΠ² ΠΈΠΌΠ΅Π΅Ρ ΡΠΏΠ΅ΡΠΈΠ°Π»ΡΠ½ΡΠΉ ΡΠ΅Π»ΡΠ΅Ρ, ΠΊΠΎΡΠΎΡΡΠΉ ΠΏΡΠΈ ΠΏΠΎΠΏΠ°Π΄Π°-Π½ΠΈΠΈ ΠΊΡΠΌΡΠ»ΡΡΠΈΠ²Π½ΠΎΠΉ ΡΡΡΡΠΈ ΡΠΎΡΠΌΠΈΡΡΠ΅Ρ ΠΏΠΎΡΠΎΠΊ ΠΎΡΠΊΠΎΠ»ΠΊΠΎΠ², Π½Π°ΡΠ΅Π»Π΅Π½Π½ΡΠΉ Π½Π° ΡΠ°Π·ΡΡΡΠ΅Π½ΠΈΠ΅ ΡΠ°ΠΌΠΎΠΉ ΡΡΡΡΠΈ. Π’Π°ΠΊΠΈΠ΅ ΡΠΈΡΡΠ΅ΠΌΡ Π² Π ΠΎΡΡΠΈΠΈ ΡΠΆΠ΅ Π½Π΅ ΡΠ°ΡΡΠΌΠ°ΡΡΠΈΠ²Π°ΡΡΡΡ ΠΊΠ°ΠΊ ΠΏΠ΅ΡΡΠΏΠ΅ΠΊΡΠΈΠ²Π½ΡΠ΅, Ρ ΠΎΡΡ Π·Π° ΡΡΠ±Π΅-ΠΆΠΎΠΌ ΠΈΠΌ ΠΏΠΎ-ΠΏΡΠ΅ΠΆΠ½Π΅ΠΌΡ ΡΠ΄Π΅Π»ΡΡΡ Π²Π½ΠΈΠΌΠ°Π½ΠΈΠ΅. Π₯Π°ΡΠ°ΠΊΡΠ΅ΡΠ½ΡΠΉ ΠΏΡΠ΅Π΄ΡΡΠ°Π²ΠΈΡΠ΅Π»Ρ β NERA (ΠΠ·ΡΠ°ΠΈΠ»Ρ). ΠΡΠΎ Β«ΠΏΠΈΡΠΎΠ³Β», ΡΠΎΡΡΠΎΡΡΠΈΠΉ ΠΈΠ· ΠΊΠΎΠΌΠΏΠΎΠ·ΠΈΡΠΈΠΈ Β«ΠΊΠ΅ΡΠ°ΠΌΠΈΠΊΠ°-ΡΠ΅Π·ΠΈΠ½Π°-ΡΡΠ°Π»ΡΒ», ΡΠΈΡΠΎΠΊΠΎ ΠΈΡΠΏΠΎΠ»ΡΠ·ΡΠ΅ΡΡΡ Π² Π³ΠΈΠ±ΡΠΈΠ΄Π½ΡΡ ΡΠΈΡΡΠ΅ΠΌΠ°Ρ .
Π‘Π°ΠΌΡΠΌ ΠΏΠ΅ΡΡΠΏΠ΅ΠΊΡΠΈΠ²Π½ΡΠΌ ΠΌΠ΅ΡΠΎΠ΄ΠΎΠΌ Π·Π° ΡΡΠ±Π΅ΠΆΠΎΠΌ ΡΡΠΈΡΠ°Π΅ΡΡΡ ΠΏΡΠΈΠΌΠ΅Π½Π΅Π½ΠΈΠ΅ Π³ΠΈΠ±ΡΠΈΠ΄Π½ΠΎΠΉ Π±ΡΠΎΠ½ΠΈ, Ρ. Π΅. Π±ΡΠΎΠ½ΠΈ, Π² ΡΠ°Π·Π½ΡΡ ΠΊΠΎΠΌΠ±ΠΈΠ½Π°ΡΠΈΡΡ Π²ΠΊΠ»ΡΡΠ°ΡΡΠ΅ΠΉ Π² ΡΠ΅Π±Ρ Π½Π°ΡΠΊΠΎΠ»ΡΠΊΠΎ ΡΠΈΠΏΠΎΠ² Π·Π°ΡΠΈΡΡ. Π‘Π΅Π³ΠΎΠ΄Π½Ρ Π»ΡΡΡΠΈΠΌΠΈ ΡΠ²Π»ΡΡΡΡΡ ASPRO (ΠΠ·ΡΠ°ΠΈΠ»Ρ, Π΄Π»Ρ M2 ΠΈ Π³ΡΡΠ·ΠΎΠ²ΠΈΠΊΠΎΠ²), ARAT (Π‘Π¨Π, Π΄Π»Ρ ΡΠ°Π½ΠΊΠΎΠ² Π1), BRAT (Π‘Π¨Π, Π΄Π»Ρ ΠΠΠ Bradley).
ΠΠΎΡΡΠΎΠΌΡ ΠΏΡΠΈ ΡΠ°Π·ΡΠ°Π±ΠΎΡΠΊΠ΅ Π½ΠΎΠ²ΠΎΠ³ΠΎ ΠΏΠΎΠΊΠΎΠ»Π΅Π½ΠΈΡ ΡΠ°Π½ΠΊΠΎΠ² (Π’-64, Π’-72, Π’-80) ΠΊΠΎΠ½ΡΡΡΡΠΊΡΠΎΡΡ ΠΏΡΠΈΠΌΠ΅Π½ΠΈΠ»ΠΈ Π΄ΡΡΠ³ΠΎΠ΅ ΡΠ΅ΡΠ΅Π½ΠΈΠ΅ β ΠΌΠ½ΠΎΠ³ΠΎΡΠ»ΠΎΠΉΠ½ΡΡ Π±ΡΠΎΠ½Ρ. ΠΠ½Π° ΡΠΎΡΡΠΎΡΠ»Π° ΠΈΠ· Π΄Π²ΡΡ ΡΠ»ΠΎΠ΅Π² ΡΡΠ°Π»ΠΈ, ΠΌΠ΅ΠΆΠ΄Ρ ΠΊΠΎΡΠΎΡΡΠΌΠΈ ΠΏΠΎΠΌΠ΅ΡΠ°Π»ΡΡ ΡΠ»ΠΎΠΉ ΠΌΠ°Π»ΠΎΠΏΠ»ΠΎΡΠ½ΠΎΠ³ΠΎ Π½Π°ΠΏΠΎΠ»Π½ΠΈΡΠ΅Π»Ρ β ΡΡΠ΅ΠΊΠ»ΠΎΠΏΠ»Π°ΡΡΠΈΠΊΠ° ΠΈΠ»ΠΈ ΠΊΠ΅ΡΠ°ΠΌΠΈΠΊΠΈ. Π’Π°ΠΊΠΎΠΉ Β«ΠΏΠΈΡΠΎΠ³Β» Π΄Π°Π²Π°Π» Π²ΡΠΈΠ³ΡΡΡ Π² ΡΡΠ°Π²Π½Π΅Π½ΠΈΠΈ Ρ ΠΌΠΎΠ½ΠΎΠ»ΠΈΡΠ½ΠΎΠΉ ΡΡΠ°Π»ΡΠ½ΠΎΠΉ Π±ΡΠΎΠ½Π΅ΠΉ Π΄ΠΎ 30%. ΠΠ΄Π½Π°ΠΊΠΎ ΡΡΠΎΡ ΡΠΏΠΎΡΠΎΠ± Π±ΡΠ» Π½Π΅ΠΏΡΠΈΠΌΠ΅Π½ΠΈΠΌ Π΄Π»Ρ Π±Π°ΡΠ½ΠΈ: Ρ ΡΡΠΈΡ ΠΌΠΎΠ΄Π΅Π»Π΅ΠΉ ΠΎΠ½Π° Π»ΠΈΡΠ°Ρ ΠΈ ΠΏΠΎΠΌΠ΅ΡΡΠΈΡΡ Π²Π½ΡΡΡΡ ΡΡΠ΅ΠΊΠ»ΠΎΠΏΠ»Π°ΡΡΠΈΠΊ ΡΠ»ΠΎΠΆΠ½ΠΎ Ρ ΡΠ΅Ρ Π½ΠΎΠ»ΠΎΠ³ΠΈΡΠ΅ΡΠΊΠΎΠΉ ΡΠΎΡΠΊΠΈ Π·ΡΠ΅Π½ΠΈΡ. ΠΠΎΠ½ΡΡΡΡΠΊΡΠΎΡΡ ΠΠΠΠ-100 (Π½ΡΠ½Π΅ ΠΠΠΠ Β«Π’ΡΠ°Π½ΡΠΌΠ°ΡΒ») ΠΏΡΠ΅Π΄Π»ΠΎΠΆΠΈΠ»ΠΈ Π²ΠΏΠ»Π°Π²Π»ΡΡΡ Π²Π½ΡΡΡΡ Π±Π°ΡΠ΅Π½Π½ΠΎΠΉ Π±ΡΠΎΠ½ΠΈ ΡΠ°ΡΡ ΠΈΠ· ΡΠ»ΡΡΡΠ°ΡΠ°ΡΡΠΎΡΠ°, ΡΠ΄Π΅Π»ΡΠ½Π°Ρ ΡΡΡΡΠ΅Π³Π°ΡΡΡΠ°Ρ ΡΠΏΠΎΡΠΎΠ±Π½ΠΎΡΡΡ ΠΊΠΎΡΠΎΡΠΎΠ³ΠΎ Π² 2β2,5 ΡΠ°Π·Π° Π²ΡΡΠ΅, ΡΠ΅ΠΌ Ρ Π±ΡΠΎΠ½Π΅Π²ΠΎΠΉ ΡΡΠ°Π»ΠΈ. Π‘ΠΏΠ΅ΡΠΈΠ°Π»ΠΈΡΡΡ ΠΠΠ ΡΡΠ°Π»ΠΈ Π²ΡΠ±ΡΠ°Π»ΠΈ Π΄ΡΡΠ³ΠΎΠΉ Π²Π°ΡΠΈΠ°Π½Ρ: ΠΌΠ΅ΠΆΠ΄Ρ Π²Π½Π΅ΡΠ½ΠΈΠΌ ΠΈ Π²Π½ΡΡΡΠ΅Π½Π½ΠΈΠΌ ΡΠ»ΠΎΡΠΌΠΈ Π±ΡΠΎΠ½ΠΈ ΠΏΠΎΠΌΠ΅ΡΠ°Π»ΠΈΡΡ ΠΏΠ°ΠΊΠ΅ΡΡ ΠΈΠ· Π²ΡΡΠΎΠΊΠΎΠΏΡΠΎΡΠ½ΠΎΠΉ ΡΠ²Π΅ΡΠ΄ΠΎΠΉ ΡΡΠ°Π»ΠΈ. ΠΠ½ΠΈ ΠΏΡΠΈΠ½ΠΈΠΌΠ°Π»ΠΈ Π½Π° ΡΠ΅Π±Ρ ΡΠ΄Π°Ρ ΠΎΡΠ»Π°Π±Π»Π΅Π½Π½ΠΎΠΉ ΠΊΡΠΌΡΠ»ΡΡΠΈΠ²Π½ΠΎΠΉ ΡΡΡΡΠΈ Π½Π° ΡΠΊΠΎΡΠΎΡΡΡΡ , ΠΊΠΎΠ³Π΄Π° Π²Π·Π°ΠΈΠΌΠΎΠ΄Π΅ΠΉΡΡΠ²ΠΈΠ΅ ΠΏΡΠΎΠΈΡΡ ΠΎΠ΄ΠΈΡ ΡΠΆΠ΅ Π½Π΅ ΠΏΠΎ Π·Π°ΠΊΠΎΠ½Π°ΠΌ Π³ΠΈΠ΄ΡΠΎΠ΄ΠΈΠ½Π°ΠΌΠΈΠΊΠΈ, Π° Π² Π·Π°Π²ΠΈΡΠΈΠΌΠΎΡΡΠΈ ΠΎΡ ΡΠ²Π΅ΡΠ΄ΠΎΡΡΠΈ ΠΌΠ°ΡΠ΅ΡΠΈΠ°Π»Π°.
ΠΠΎΠ»ΡΠ°ΠΊΡΠΈΠ²Π½Π°Ρ Π±ΡΠΎΠ½Ρ
Π₯ΠΎΡΡ Π·Π°ΡΠΎΡΠΌΠΎΠ·ΠΈΡΡ ΠΊΡΠΌΡΠ»ΡΡΠΈΠ²Π½ΡΡ ΡΡΡΡΡ Π΄ΠΎΡΡΠ°ΡΠΎΡΠ½ΠΎ Π½Π΅ΠΏΡΠΎΡΡΠΎ, ΠΎΠ½Π° ΡΡΠ·Π²ΠΈΠΌΠ° Π² ΠΏΠΎΠΏΠ΅ΡΠ΅ΡΠ½ΠΎΠΌ Π½Π°ΠΏΡΠ°Π²Π»Π΅Π½ΠΈΠΈ ΠΈ Π»Π΅Π³ΠΊΠΎ ΠΌΠΎΠΆΠ΅Ρ Π±ΡΡΡ ΡΠ°Π·ΡΡΡΠ΅Π½Π° Π΄Π°ΠΆΠ΅ ΡΠ»Π°Π±ΡΠΌ Π±ΠΎΠΊΠΎΠ²ΡΠΌ Π²ΠΎΠ·Π΄Π΅ΠΉΡΡΠ²ΠΈΠ΅ΠΌ. ΠΠΎΡΡΠΎΠΌΡ Π΄Π°Π»ΡΠ½Π΅ΠΉΡΠ΅Π΅ ΡΠ°Π·Π²ΠΈΡΠΈΠ΅ ΡΠ΅Ρ Π½ΠΎΠ»ΠΎΠ³ΠΈΠΈ ΡΠΎΡΡΠΎΡΠ»ΠΎ Π² ΡΠΎΠΌ, ΡΡΠΎ ΠΊΠΎΠΌΠ±ΠΈΠ½ΠΈΡΠΎΠ²Π°Π½Π½Π°Ρ Π±ΡΠΎΠ½Ρ Π»ΠΎΠ±ΠΎΠ²ΡΡ ΠΈ Π±ΠΎΡΡΠΎΠ²ΡΡ ΡΠ°ΡΡΠ΅ΠΉ Π»ΠΈΡΠΎΠΉ Π±Π°ΡΠ½ΠΈ ΠΎΠ±ΡΠ°Π·ΠΎΠ²ΡΠ²Π°Π»Π°ΡΡ Π·Π° ΡΡΠ΅Ρ ΠΎΡΠΊΡΡΡΠΎΠΉ ΡΠ²Π΅ΡΡ Ρ ΠΏΠΎΠ»ΠΎΡΡΠΈ, Π·Π°ΠΏΠΎΠ»Π½Π΅Π½Π½ΠΎΠΉ ΡΠ»ΠΎΠΆΠ½ΡΠΌ Π½Π°ΠΏΠΎΠ»Π½ΠΈΡΠ΅Π»Π΅ΠΌ; ΡΠ²Π΅ΡΡ Ρ ΠΏΠΎΠ»ΠΎΡΡΡ Π·Π°ΠΊΡΡΠ²Π°Π»Π°ΡΡ ΠΏΡΠΈΠ²Π°ΡΠ½ΡΠΌΠΈ Π·Π°Π³Π»ΡΡΠΊΠ°ΠΌΠΈ. ΠΠ°ΡΠ½ΠΈ ΡΠ°ΠΊΠΎΠΉ ΠΊΠΎΠ½ΡΡΡΡΠΊΡΠΈΠΈ ΠΏΡΠΈΠΌΠ΅Π½ΡΠ»ΠΈΡΡ Π½Π° Π±ΠΎΠ»Π΅Π΅ ΠΏΠΎΠ·Π΄Π½ΠΈΡ ΠΌΠΎΠ΄ΠΈΡΠΈΠΊΠ°ΡΠΈΡΡ ΡΠ°Π½ΠΊΠΎΠ² β Π’-72Π, Π’-80Π£ ΠΈ Π’-80Π£Π. ΠΡΠΈΠ½ΡΠΈΠΏ Π΄Π΅ΠΉΡΡΠ²ΠΈΡ Π²ΡΡΠ°Π²ΠΎΠΊ Π±ΡΠ» ΡΠ°Π·Π½ΡΠΌ, Π½ΠΎ ΠΈΡΠΏΠΎΠ»ΡΠ·ΠΎΠ²Π°Π» ΡΠΏΠΎΠΌΡΠ½ΡΡΡΡ Β«Π±ΠΎΠΊΠΎΠ²ΡΡ ΡΡΠ·Π²ΠΈΠΌΠΎΡΡΡΒ» ΠΊΡΠΌΡΠ»ΡΡΠΈΠ²Π½ΠΎΠΉ ΡΡΡΡΠΈ. Π’Π°ΠΊΡΡ Π±ΡΠΎΠ½Ρ ΠΏΡΠΈΠ½ΡΡΠΎ ΠΎΡΠ½ΠΎΡΠΈΡΡ ΠΊ Β«ΠΏΠΎΠ»ΡΠ°ΠΊΡΠΈΠ²Π½ΡΠΌΒ» ΡΠΈΡΡΠ΅ΠΌΠ°ΠΌ Π·Π°ΡΠΈΡΡ, ΠΏΠΎΡΠΊΠΎΠ»ΡΠΊΡ Π² Π½ΠΈΡ ΠΈΡΠΏΠΎΠ»ΡΠ·ΡΠ΅ΡΡΡ ΡΠ½Π΅ΡΠ³ΠΈΡ ΡΠ°ΠΌΠΎΠ³ΠΎ ΡΡΠ΅Π΄ΡΡΠ²Π° ΠΏΠΎΡΠ°ΠΆΠ΅Π½ΠΈΡ.
ΠΡΠΈΠ½ΡΠΈΠΏΡ ΠΏΠΎΠ»ΡΠ°ΠΊΡΠΈΠ²Π½ΠΎΠΉ Π·Π°ΡΠΈΡΡ Ρ ΠΈΡΠΏΠΎΠ»ΡΠ·ΠΎΠ²Π°Π½ΠΈΠ΅ΠΌ ΡΠ½Π΅ΡΠ³ΠΈΠΈ ΡΠ°ΠΌΠΎΠΉ ΡΡΡΡΠΈ
Π―ΡΠ΅ΠΈΡΡΠ°Ρ Π±ΡΠΎΠ½Ρ, ΡΡΠ΅ΠΉΠΊΠΈ ΠΊΠΎΡΠΎΡΠΎΠΉ Π·Π°ΠΏΠΎΠ»Π½Π΅Π½Ρ ΠΊΠ²Π°Π·ΠΈΠΆΠΈΠ΄ΠΊΠΈΠΌ Π²Π΅ΡΠ΅ΡΡΠ²ΠΎΠΌ (ΠΏΠΎΠ»ΠΈΡΡΠ΅ΡΠ°Π½, ΠΏΠΎΠ»ΠΈΡΡΠΈΠ»Π΅Π½). Π£Π΄Π°ΡΠ½Π°Ρ Π²ΠΎΠ»Π½Π° ΠΊΡΠΌΡΠ»ΡΡΠΈΠ²Π½ΠΎΠΉ ΡΡΡΡΠΈ ΠΎΡΡΠ°ΠΆΠ°Π΅ΡΡΡ ΠΎΡ ΡΡΠ΅Π½ΠΎΠΊ ΠΈ ΡΡ Π»ΠΎΠΏΡΠ²Π°Π΅Ρ ΠΊΠ°Π²Π΅ΡΠ½Ρ, Π²ΡΠ·ΡΠ²Π°Ρ ΡΠ°Π·ΡΡΡΠ΅Π½ΠΈΠ΅ ΡΡΡΡΠΈ. ΠΠ° ΡΠΎΡΠΎ: Π±ΡΠΎΠ½Ρ Ρ ΠΎΡΡΠ°ΠΆΠ°ΡΡΠΈΠΌΠΈ Π»ΠΈΡΡΠ°ΠΌΠΈ. ΠΠ° ΡΡΠ΅Ρ Π²ΡΠΏΡΡΠΈΠ²Π°Π½ΠΈΡ ΡΡΠ»ΡΠ½ΠΎΠΉ ΠΏΠΎΠ²Π΅ΡΡ Π½ΠΎΡΡΠΈ ΠΈ ΠΏΡΠΎΠΊΠ»Π°Π΄ΠΊΠΈ ΡΠΎΠ½ΠΊΠ°Ρ ΠΏΠ»Π°ΡΡΠΈΠ½Π° ΡΠΌΠ΅ΡΠ°Π΅ΡΡΡ, Π½Π°Π±Π΅Π³Π°Ρ Π½Π° ΡΡΡΡΡ ΠΈ ΡΠ°Π·ΡΡΡΠ°Ρ Π΅Π΅. Π’Π°ΠΊΠΈΠ΅ ΡΠΏΠΎΡΠΎΠ±Ρ ΡΠ²Π΅Π»ΠΈΡΠΈΠ²Π°ΡΡ ΠΏΡΠΎΡΠΈΠ²ΠΎΠΊΡΠΌΡΠ»ΡΡΠΈΠ²Π½ΡΡ ΡΡΠΎΠΉΠΊΠΎΡΡΡ Π½Π° 30β40%.
ΠΠ΄ΠΈΠ½ ΠΈΠ· Π²Π°ΡΠΈΠ°Π½ΡΠΎΠ² ΡΠ°ΠΊΠΈΡ ΡΠΈΡΡΠ΅ΠΌ β ΡΡΠ΅ΠΈΡΡΠ°Ρ Π±ΡΠΎΠ½Ρ, ΠΏΡΠΈΠ½ΡΠΈΠΏ Π΄Π΅ΠΉΡΡΠ²ΠΈΡ ΠΊΠΎΡΠΎΡΠΎΠΉ Π±ΡΠ» ΠΏΡΠ΅Π΄Π»ΠΎΠΆΠ΅Π½ ΡΠΎΡΡΡΠ΄Π½ΠΈΠΊΠ°ΠΌΠΈ ΠΠ½ΡΡΠΈΡΡΡΠ° Π³ΠΈΠ΄ΡΠΎΠ΄ΠΈΠ½Π°ΠΌΠΈΠΊΠΈ Π‘ΠΈΠ±ΠΈΡΡΠΊΠΎΠ³ΠΎ ΠΎΡΠ΄Π΅Π»Π΅Π½ΠΈΡ ΠΠ Π‘Π‘Π‘Π . ΠΡΠΎΠ½Ρ ΡΠΎΡΡΠΎΠΈΡ ΠΈΠ· Π½Π°Π±ΠΎΡΠ° ΠΏΠΎΠ»ΠΎΡΡΠ΅ΠΉ, Π·Π°ΠΏΠΎΠ»Π½Π΅Π½Π½ΡΡ ΠΊΠ²Π°Π·ΠΈΠΆΠΈΠ΄ΠΊΠΈΠΌ Π²Π΅ΡΠ΅ΡΡΠ²ΠΎΠΌ (ΠΏΠΎΠ»ΠΈΡΡΠ΅ΡΠ°Π½, ΠΏΠΎΠ»ΠΈΡΡΠΈΠ»Π΅Π½). ΠΡΠΌΡΠ»ΡΡΠΈΠ²Π½Π°Ρ ΡΡΡΡΡ, ΠΏΠΎΠΏΠ°Π² Π² ΡΠ°ΠΊΠΎΠΉ ΠΎΠ±ΡΠ΅ΠΌ, ΠΎΠ³ΡΠ°Π½ΠΈΡΠ΅Π½Π½ΡΠΉ ΠΌΠ΅ΡΠ°Π»Π»ΠΈΡΠ΅ΡΠΊΠΈΠΌΠΈ ΡΡΠ΅Π½ΠΊΠ°ΠΌΠΈ, Π³Π΅Π½Π΅ΡΠΈΡΡΠ΅Ρ Π² ΠΊΠ²Π°Π·ΠΈΠΆΠΈΠ΄ΠΊΠΎΡΡΠΈ ΡΠ΄Π°ΡΠ½ΡΡ Π²ΠΎΠ»Π½Ρ, ΠΊΠΎΡΠΎΡΠ°Ρ, ΠΎΡΡΠ°ΠΆΠ°ΡΡΡ ΠΎΡ ΡΡΠ΅Π½ΠΎΠΊ, Π²ΠΎΠ·Π²ΡΠ°ΡΠ°Π΅ΡΡΡ ΠΊ ΠΎΡΠΈ ΡΡΡΡΠΈ ΠΈ ΡΡ Π»ΠΎΠΏΡΠ²Π°Π΅Ρ ΠΊΠ°Π²Π΅ΡΠ½Ρ, Π²ΡΠ·ΡΠ²Π°Ρ ΡΠΎΡΠΌΠΎΠΆΠ΅Π½ΠΈΠ΅ ΠΈ ΡΠ°Π·ΡΡΡΠ΅Π½ΠΈΠ΅ ΡΡΡΡΠΈ. Π’Π°ΠΊΠΎΠΉ ΡΠΈΠΏ Π±ΡΠΎΠ½ΠΈ ΠΎΠ±Π΅ΡΠΏΠ΅ΡΠΈΠ²Π°Π΅Ρ Π²ΡΠΈΠ³ΡΡΡ ΠΏΠΎ ΠΏΡΠΎΡΠΈΠ²ΠΎΠΊΡΠΌΡΠ»ΡΡΠΈΠ²Π½ΠΎΠΉ ΡΡΠΎΠΉΠΊΠΎΡΡΠΈ Π΄ΠΎ 30β40%.
ΠΡΠ΅ ΠΎΠ΄ΠΈΠ½ Π²Π°ΡΠΈΠ°Π½Ρ β Π±ΡΠΎΠ½Ρ Ρ ΠΎΡΡΠ°ΠΆΠ°ΡΡΠΈΠΌΠΈ Π»ΠΈΡΡΠ°ΠΌΠΈ. ΠΡΠΎ ΡΡΠ΅Ρ ΡΠ»ΠΎΠΉΠ½Π°Ρ ΠΏΡΠ΅Π³ΡΠ°Π΄Π°, ΡΠΎΡΡΠΎΡΡΠ°Ρ ΠΈΠ· ΠΏΠ»ΠΈΡΡ, ΠΏΡΠΎΠΊΠ»Π°Π΄ΠΊΠΈ ΠΈ ΡΠΎΠ½ΠΊΠΎΠΉ ΠΏΠ»Π°ΡΡΠΈΠ½Ρ. Π‘ΡΡΡΡ, ΠΏΡΠΎΠ½ΠΈΠΊΠ°Ρ Π² ΠΏΠ»ΠΈΡΡ, ΡΠΎΠ·Π΄Π°Π΅Ρ Π½Π°ΠΏΡΡΠΆΠ΅Π½ΠΈΡ, ΠΏΡΠΈΠ²ΠΎΠ΄ΡΡΠΈΠ΅ ΡΠ½Π°ΡΠ°Π»Π° ΠΊ ΠΌΠ΅ΡΡΠ½ΠΎΠΌΡ Π²ΡΠΏΡΡΠΈΠ²Π°Π½ΠΈΡ ΡΡΠ»ΡΠ½ΠΎΠΉ ΠΏΠΎΠ²Π΅ΡΡ Π½ΠΎΡΡΠΈ, Π° Π·Π°ΡΠ΅ΠΌ ΠΊ Π΅Π΅ ΡΠ°Π·ΡΡΡΠ΅Π½ΠΈΡ. ΠΡΠΈ ΡΡΠΎΠΌ ΠΏΡΠΎΠΈΡΡ ΠΎΠ΄ΠΈΡ Π·Π½Π°ΡΠΈΡΠ΅Π»ΡΠ½ΠΎΠ΅ Π²ΡΠΏΡΡΠΈΠ²Π°Π½ΠΈΠ΅ ΠΏΡΠΎΠΊΠ»Π°Π΄ΠΊΠΈ ΠΈ ΡΠΎΠ½ΠΊΠΎΠ³ΠΎ Π»ΠΈΡΡΠ°. ΠΠΎΠ³Π΄Π° ΡΡΡΡΡ ΠΏΡΠΎΠ±ΠΈΠ²Π°Π΅Ρ ΠΏΡΠΎΠΊΠ»Π°Π΄ΠΊΡ ΠΈ ΡΠΎΠ½ΠΊΡΡ ΠΏΠ»Π°ΡΡΠΈΠ½Ρ, ΠΏΠΎΡΠ»Π΅Π΄Π½ΡΡ ΡΠΆΠ΅ Π½Π°ΡΠ°Π»Π° Π΄Π²ΠΈΠΆΠ΅Π½ΠΈΠ΅ Π² ΡΡΠΎΡΠΎΠ½Ρ ΠΎΡ ΡΡΠ»ΡΠ½ΠΎΠΉ ΠΏΠΎΠ²Π΅ΡΡ Π½ΠΎΡΡΠΈ ΠΏΠ»ΠΈΡΡ. ΠΠΎΡΠΊΠΎΠ»ΡΠΊΡ ΠΌΠ΅ΠΆΠ΄Ρ Π½Π°ΠΏΡΠ°Π²Π»Π΅Π½ΠΈΡΠΌΠΈ Π΄Π²ΠΈΠΆΠ΅Π½ΠΈΡ ΡΡΡΡΠΈ ΠΈ ΡΠΎΠ½ΠΊΠΎΠΉ ΠΏΠ»Π°ΡΡΠΈΠ½Ρ ΠΈΠΌΠ΅Π΅ΡΡΡ Π½Π΅ΠΊΠΎΡΠΎΡΡΠΉ ΡΠ³ΠΎΠ», ΡΠΎ Π² ΠΊΠ°ΠΊΠΎΠΉ-ΡΠΎ ΠΌΠΎΠΌΠ΅Π½Ρ Π²ΡΠ΅ΠΌΠ΅Π½ΠΈ ΠΏΠ»Π°ΡΡΠΈΠ½Π° Π½Π°ΡΠΈΠ½Π°Π΅Ρ Π½Π°Π±Π΅Π³Π°ΡΡ Π½Π° ΡΡΡΡΡ, ΡΠ°Π·ΡΡΡΠ°Ρ Π΅Π΅. Π ΡΡΠ°Π²Π½Π΅Π½ΠΈΠΈ Ρ ΠΌΠΎΠ½ΠΎΠ»ΠΈΡΠ½ΠΎΠΉ Π±ΡΠΎΠ½Π΅ΠΉ ΡΠΎΠΉ ΠΆΠ΅ ΠΌΠ°ΡΡΡ ΡΡΡΠ΅ΠΊΡ ΠΎΡ ΠΈΡΠΏΠΎΠ»ΡΠ·ΠΎΠ²Π°Π½ΠΈΡ Β«ΠΎΡΡΠ°ΠΆΠ°ΡΡΠΈΡ Β» Π»ΠΈΡΡΠΎΠ² ΠΌΠΎΠΆΠ΅Ρ Π΄ΠΎΡΡΠΈΠ³Π°ΡΡ 40%.
Π ΠΎΡΡΠΈΡ ΠΈ ΠΠ°ΠΏΠ°Π΄
Π‘Π»Π΅Π΄ΡΠ΅Ρ Π·Π°ΠΌΠ΅ΡΠΈΡΡ, ΡΡΠΎ ΡΠΎΡΡΠΈΠΉΡΠΊΠ°Ρ ΠΊΠΎΠ½ΡΠ΅ΠΏΡΠΈΡ ΠΏΡΠΈΠΌΠ΅Π½Π΅Π½ΠΈΡ Π΄ΠΈΠ½Π°ΠΌΠΈΡΠ΅ΡΠΊΠΎΠΉ Π·Π°ΡΠΈΡΡ ΠΊΠ°ΡΠ΄ΠΈΠ½Π°Π»ΡΠ½ΠΎ ΠΎΡΠ»ΠΈΡΠ°Π΅ΡΡΡ ΠΎΡ Π·Π°ΠΏΠ°Π΄Π½ΠΎΠΉ. Π Π ΠΎΡΡΠΈΠΈ ΠΠ β ΡΡΠΎ ΠΎΠ±ΡΠ·Π°ΡΠ΅Π»ΡΠ½Π°Ρ ΡΠΎΡΡΠ°Π²Π½Π°Ρ ΡΠ°ΡΡΡ ΠΊΠΎΠΌΠΏΠ»Π΅ΠΊΡΠ½ΠΎΠΉ Π±ΡΠΎΠ½Π΅Π·Π°ΡΠΈΡΡ, ΠΊΠΎΡΠΎΡΠ°Ρ ΠΈΡΠΏΠΎΠ»ΡΠ·ΡΠ΅ΡΡΡ Π½Π° Π²ΡΠ΅Ρ Π±Π΅Π· ΠΈΡΠΊΠ»ΡΡΠ΅Π½ΠΈΡ ΡΠΎΡΡΠΈΠΉΡΠΊΠΈΡ ΡΠ°Π½ΠΊΠ°Ρ . Π’ΡΠ΅Π±ΠΎΠ²Π°Π½ΠΈΡ ΠΊ ΡΡΠΎΠ²Π½Ρ Π·Π°ΡΠΈΡΡ ΠΏΠΎΡΡΠΎΡΠ½Π½ΠΎ ΡΠ°ΡΡΡΡ. Π ΡΠΎ ΠΆΠ΅ Π²ΡΠ΅ΠΌΡ Π½Π° Π»Π΅Π³ΠΊΠΎΠ±ΡΠΎΠ½ΠΈΡΠΎΠ²Π°Π½Π½ΠΎΠΉ ΡΠ΅Ρ Π½ΠΈΠΊΠ΅ ΠΎΠ½Π° ΠΏΠΎ ΡΠ°Π·Π½ΡΠΌ ΠΏΡΠΈΡΠΈΠ½Π°ΠΌ Π½Π΅ ΠΈΡΠΏΠΎΠ»ΡΠ·ΡΠ΅ΡΡΡ. Π Π·Π°ΠΏΠ°Π΄Π½ΡΡ ΡΡΡΠ°Π½Π°Ρ ΠΈΠ΄Π΅Ρ ΠΏΡΡΠΌΠΎ ΠΏΡΠΎΡΠΈΠ²ΠΎΠΏΠΎΠ»ΠΎΠΆΠ½ΡΠΉ ΠΏΡΠΎΡΠ΅ΡΡ. ΠΠΈΠ½Π°ΠΌΠΈΡΠ΅ΡΠΊΠ°Ρ Π·Π°ΡΠΈΡΠ° ΡΡΠ°Π½ΠΎΠ²ΠΈΡΡΡ ΠΎΠ±ΡΠ·Π°ΡΠ΅Π»ΡΠ½ΡΠΌ Π°ΡΡΠΈΠ±ΡΡΠΎΠΌ Π»Π΅Π³ΠΊΠΎΠ±ΡΠΎΠ½ΠΈΡΠΎΠ²Π°Π½Π½ΠΎΠΉ ΡΠ΅Ρ Π½ΠΈΠΊΠΈ, ΠΈ ΠΎΠ³ΡΠ°Π½ΠΈΡΠ΅Π½Π½ΠΎ ΠΈΡΠΏΠΎΠ»ΡΠ·ΡΠ΅ΡΡΡ Π½Π° ΡΠ°Π½ΠΊΠ°Ρ . ΠΡΠΈ ΡΡΠΎΠΌ ΡΡΠ΅Π±ΠΎΠ²Π°Π½ΠΈΡ ΠΊ ΡΡΠΎΠ²Π½Ρ Π·Π°ΡΠΈΡΡ ΠΎΠ³ΡΠ°Π½ΠΈΡΠ΅Π½Ρ 400 ΠΌΠΌ, Ρ. Π΅. ΠΏΡΠΎΡΠΈΠ² Π½Π°ΠΈΠ±ΠΎΠ»Π΅Π΅ ΠΌΠ°ΡΡΠΎΠ²ΠΎ ΠΏΡΠΈΠΌΠ΅Π½ΡΠ΅ΠΌΡΡ ΠΊΡΠΌΡΠ»ΡΡΠΈΠ²Π½ΡΡ ΡΡΠ΅Π΄ΡΡΠ² ΠΏΠΎΡΠ°ΠΆΠ΅Π½ΠΈΡ. ΠΡΠΎ ΠΌΠΎΠΆΠ½ΠΎ ΠΎΠ±ΡΡΡΠ½ΠΈΡΡ ΠΊΠ°ΠΊ ΡΠ°Π·Π»ΠΈΡΠΈΡΠΌΠΈ Π²ΠΎΠ΅Π½Π½ΠΎΠΉ Π΄ΠΎΠΊΡΡΠΈΠ½Ρ, ΡΠ°ΠΊ ΠΈ ΡΡΠ°Π΄ΠΈΡΠΈΠΎΠ½Π½ΠΎΠΉ ΡΠΎΡΡΠΈΠΉΡΠΊΠΎΠΉ Π½Π΅ΠΏΠΎΠ²ΠΎΡΠΎΡΠ»ΠΈΠ²ΠΎΡΡΡΡ.
Π‘Π»Π΅Π΄ΡΡΡΠΈΠΌ ΡΡΠΎΠ²Π΅ΡΡΠ΅Π½ΡΡΠ²ΠΎΠ²Π°Π½ΠΈΠ΅ΠΌ ΠΊΠΎΠ½ΡΡΡΡΠΊΡΠΈΠΈ Π±ΡΠ» ΠΏΠ΅ΡΠ΅Ρ ΠΎΠ΄ Π½Π° Π±Π°ΡΠ½ΠΈ ΡΠΎ ΡΠ²Π°ΡΠ½ΠΎΠΉ ΠΎΡΠ½ΠΎΠ²ΠΎΠΉ. Π‘ΡΠ°Π»ΠΎ ΡΡΠ½ΠΎ, ΡΡΠΎ ΡΠ°Π·ΡΠ°Π±ΠΎΡΠΊΠΈ ΠΏΠΎ ΡΠ²Π΅Π»ΠΈΡΠ΅Π½ΠΈΡ ΠΏΡΠΎΡΠ½ΠΎΡΡΠΈ ΠΊΠ°ΡΠ°Π½ΠΎΠΉ Π±ΡΠΎΠ½ΠΈ Π±ΠΎΠ»Π΅Π΅ ΠΏΠ΅ΡΡΠΏΠ΅ΠΊΡΠΈΠ²Π½Ρ. Π ΡΠ°ΡΡΠ½ΠΎΡΡΠΈ, Π² 1980-Ρ Π³ΠΎΠ΄Π°Ρ Π±ΡΠ»ΠΈ ΡΠ°Π·ΡΠ°Π±ΠΎΡΠ°Π½Ρ ΠΈ Π³ΠΎΡΠΎΠ²Ρ ΠΊ ΡΠ΅ΡΠΈΠΉΠ½ΠΎΠΌΡ ΠΏΡΠΎΠΈΠ·Π²ΠΎΠ΄ΡΡΠ²Ρ Π½ΠΎΠ²ΡΠ΅ ΡΡΠ°Π»ΠΈ ΠΏΠΎΠ²ΡΡΠ΅Π½Π½ΠΎΠΉ ΡΠ²Π΅ΡΠ΄ΠΎΡΡΠΈ: Π‘Π-2Π¨, Π‘Π-3Π¨. ΠΡΠΈΠΌΠ΅Π½Π΅Π½ΠΈΠ΅ Π±Π°ΡΠ΅Π½ Ρ ΠΎΡΠ½ΠΎΠ²ΠΎΠΉ ΠΈΠ· ΠΏΡΠΎΠΊΠ°ΡΠ° ΠΏΠΎΠ·Π²ΠΎΠ»ΠΈΠ»ΠΎ ΠΏΠΎΠ²ΡΡΠΈΡΡ Π·Π°ΡΠΈΡΠ½ΡΠΉ ΡΠΊΠ²ΠΈΠ²Π°Π»Π΅Π½Ρ ΠΏΠΎ ΠΎΡΠ½ΠΎΠ²Π΅ Π±Π°ΡΠ½ΠΈ. Π ΡΠ΅Π·ΡΠ»ΡΡΠ°ΡΠ΅ Π±Π°ΡΠ½Ρ Π΄Π»Ρ ΡΠ°Π½ΠΊΠ° Π’-72Π Ρ ΠΎΡΠ½ΠΎΠ²ΠΎΠΉ ΠΈΠ· ΠΏΡΠΎΠΊΠ°ΡΠ° ΠΎΠ±Π»Π°Π΄Π°Π»Π° ΡΠ²Π΅Π»ΠΈΡΠ΅Π½Π½ΡΠΌ Π²Π½ΡΡΡΠ΅Π½Π½ΠΈΠΌ ΠΎΠ±ΡΠ΅ΠΌΠΎΠΌ, ΡΠΎΡΡ ΠΌΠ°ΡΡΡ ΡΠΎΡΡΠ°Π²ΠΈΠ» 400 ΠΊΠ³ ΠΏΠΎ ΡΡΠ°Π²Π½Π΅Π½ΠΈΡ Ρ ΡΠ΅ΡΠΈΠΉΠ½ΠΎΠΉ Π»ΠΈΡΠΎΠΉ Π±Π°ΡΠ½Π΅ΠΉ ΡΠ°Π½ΠΊΠ° Π’-72Π. ΠΠ°ΠΊΠ΅Ρ Π½Π°ΠΏΠΎΠ»Π½ΠΈΡΠ΅Π»Ρ Π±Π°ΡΠ½ΠΈ Π²ΡΠΏΠΎΠ»Π½ΡΠ»ΡΡ Ρ ΠΏΡΠΈΠΌΠ΅Π½Π΅Π½ΠΈΠ΅ΠΌ ΠΊΠ΅ΡΠ°ΠΌΠΈΡΠ΅ΡΠΊΠΈΡ ΠΌΠ°ΡΠ΅ΡΠΈΠ°Π»ΠΎΠ² ΠΈ ΡΡΠ°Π»ΠΈ ΠΏΠΎΠ²ΡΡΠ΅Π½Π½ΠΎΠΉ ΡΠ²Π΅ΡΠ΄ΠΎΡΡΠΈ ΠΈΠ»ΠΈ ΠΈΠ· ΠΏΠ°ΠΊΠ΅ΡΠ° Π½Π° ΠΎΡΠ½ΠΎΠ²Π΅ ΡΡΠ°Π»ΡΠ½ΡΡ ΠΏΠ»Π°ΡΡΠΈΠ½ Ρ Β«ΠΎΡΡΠ°ΠΆΠ°ΡΡΠΈΠΌΠΈΒ» Π»ΠΈΡΡΠ°ΠΌΠΈ. ΠΠΊΠ²ΠΈΠ²Π°Π»Π΅Π½ΡΠ½Π°Ρ Π±ΡΠΎΠ½Π΅ΡΡΠΎΠΉΠΊΠΎΡΡΡ ΡΡΠ°Π»Π° ΡΠ°Π²Π½Π° 500β550 ΠΌΠΌ Π³ΠΎΠΌΠΎΠ³Π΅Π½Π½ΠΎΠΉ ΡΡΠ°Π»ΠΈ.
ΠΠ·ΡΡΠ² Π½Π°Π²ΡΡΡΠ΅ΡΡ
Π’Π΅ΠΌ Π²ΡΠ΅ΠΌΠ΅Π½Π΅ΠΌ ΡΠ΅Ρ Π½ΠΎΠ»ΠΎΠ³ΠΈΠΈ Π² ΠΎΠ±Π»Π°ΡΡΠΈ ΠΊΡΠΌΡΠ»ΡΡΠΈΠ²Π½ΡΡ Π±ΠΎΠ΅ΠΏΡΠΈΠΏΠ°ΡΠΎΠ² ΠΏΡΠΎΠ΄ΠΎΠ»ΠΆΠ°Π»ΠΈ ΡΠΎΠ²Π΅ΡΡΠ΅Π½ΡΡΠ²ΠΎΠ²Π°ΡΡΡΡ. ΠΡΠ»ΠΈ Π² Π³ΠΎΠ΄Ρ ΠΡΠΎΡΠΎΠΉ ΠΌΠΈΡΠΎΠ²ΠΎΠΉ Π²ΠΎΠΉΠ½Ρ Π±ΡΠΎΠ½Π΅ΠΏΡΠΎΠ±ΠΈΠ²Π°Π΅ΠΌΠΎΡΡΡ ΠΊΡΠΌΡΠ»ΡΡΠΈΠ²Π½ΡΡ ΡΠ½Π°ΡΡΠ΄ΠΎΠ² Π½Π΅ ΠΏΡΠ΅Π²ΡΡΠ°Π»Π° 4β5 ΠΊΠ°Π»ΠΈΠ±ΡΠΎΠ², ΡΠΎ ΠΏΠΎΠ·Π΄Π½Π΅Π΅ ΠΎΠ½Π° Π·Π½Π°ΡΠΈΡΠ΅Π»ΡΠ½ΠΎ Π²ΡΡΠΎΡΠ»Π°. Π’Π°ΠΊ, ΠΏΡΠΈ ΠΊΠ°Π»ΠΈΠ±ΡΠ΅ 100β105 ΠΌΠΌ ΠΎΠ½Π° ΡΠΆΠ΅ ΡΠΎΡΡΠ°Π²Π»ΡΠ»Π° 6β7 ΠΊΠ°Π»ΠΈΠ±ΡΠΎΠ² (Π² ΡΡΠ°Π»ΡΠ½ΠΎΠΌ ΡΠΊΠ²ΠΈΠ²Π°Π»Π΅Π½ΡΠ΅ 600β700 ΠΌΠΌ), ΠΏΡΠΈ ΠΊΠ°Π»ΠΈΠ±ΡΠ΅ 120β152 ΠΌΠΌ Π±ΡΠΎΠ½Π΅ΠΏΡΠΎΠ±ΠΈΠ²Π°Π΅ΠΌΠΎΡΡΡ ΡΠ΄Π°Π»ΠΎΡΡ ΠΏΠΎΠ΄Π½ΡΡΡ Π΄ΠΎ 8β10 ΠΊΠ°Π»ΠΈΠ±ΡΠΎΠ² (900β1200 ΠΌΠΌ Π³ΠΎΠΌΠΎΠ³Π΅Π½Π½ΠΎΠΉ ΡΡΠ°Π»ΠΈ). Π§ΡΠΎΠ±Ρ Π·Π°ΡΠΈΡΠΈΡΡΡΡ ΠΎΡ ΡΡΠΈΡ Π±ΠΎΠ΅ΠΏΡΠΈΠΏΠ°ΡΠΎΠ², ΡΡΠ΅Π±ΠΎΠ²Π°Π»ΠΎΡΡ ΠΊΠ°ΡΠ΅ΡΡΠ²Π΅Π½Π½ΠΎ Π½ΠΎΠ²ΠΎΠ΅ ΡΠ΅ΡΠ΅Π½ΠΈΠ΅.
Π Π°Π±ΠΎΡΡ Π½Π°Π΄ ΠΏΡΠΎΡΠΈΠ²ΠΎΠΊΡΠΌΡΠ»ΡΡΠΈΠ²Π½ΠΎΠΉ, ΠΈΠ»ΠΈ Β«Π΄ΠΈΠ½Π°ΠΌΠΈΡΠ΅ΡΠΊΠΎΠΉΒ», Π±ΡΠΎΠ½Π΅ΠΉ, ΠΎΡΠ½ΠΎΠ²Π°Π½Π½ΠΎΠΉ Π½Π° ΠΏΡΠΈΠ½ΡΠΈΠΏΠ΅ ΠΊΠΎΠ½ΡΡΠ²Π·ΡΡΠ²Π°, Π²Π΅Π»ΠΈΡΡ Π² Π‘Π‘Π‘Π Ρ 1950-Ρ Π³ΠΎΠ΄ΠΎΠ². Π 1970-ΠΌ Π΅Π΅ ΠΊΠΎΠ½ΡΡΡΡΠΊΡΠΈΡ ΡΠΆΠ΅ Π±ΡΠ»Π° ΠΎΡΡΠ°Π±ΠΎΡΠ°Π½Π° Π²ΠΎ ΠΠΠΠ ΡΡΠ°Π»ΠΈ, Π½ΠΎ ΠΏΡΠΈΠ½ΡΡΡ Π΅Π΅ Π½Π° Π²ΠΎΠΎΡΡΠΆΠ΅Π½ΠΈΠ΅ ΠΌΠ΅ΡΠ°Π»Π° ΠΏΡΠΈΡ ΠΎΠ»ΠΎΠ³ΠΈΡΠ΅ΡΠΊΠ°Ρ Π½Π΅ΠΏΠΎΠ΄Π³ΠΎΡΠΎΠ²Π»Π΅Π½Π½ΠΎΡΡΡ Π²ΡΡΠΎΠΊΠΎΠΏΠΎΡΡΠ°Π²Π»Π΅Π½Π½ΡΡ ΠΏΡΠ΅Π΄ΡΡΠ°Π²ΠΈΡΠ΅Π»Π΅ΠΉ Π°ΡΠΌΠΈΠΈ ΠΈ ΠΏΡΠΎΠΌΡΡΠ»Π΅Π½Π½ΠΎΡΡΠΈ. Π£Π±Π΅Π΄ΠΈΡΡ ΠΈΡ ΠΏΠΎΠΌΠΎΠ³Π»ΠΎ ΡΠΎΠ»ΡΠΊΠΎ ΡΡΠΏΠ΅ΡΠ½ΠΎΠ΅ ΠΏΡΠΈΠΌΠ΅Π½Π΅Π½ΠΈΠ΅ ΠΈΠ·ΡΠ°ΠΈΠ»ΡΡΠΊΠΈΠΌΠΈ ΡΠ°Π½ΠΊΠΈΡΡΠ°ΠΌΠΈ Π°Π½Π°Π»ΠΎΠ³ΠΈΡΠ½ΠΎΠΉ Π±ΡΠΎΠ½ΠΈ Π½Π° ΡΠ°Π½ΠΊΠ°Ρ Π48 ΠΈ Π60 Π² Ρ ΠΎΠ΄Π΅ Π°ΡΠ°Π±ΠΎ-ΠΈΠ·ΡΠ°ΠΈΠ»ΡΡΠΊΠΎΠΉ Π²ΠΎΠΉΠ½Ρ 1982 Π³ΠΎΠ΄Π°. ΠΠΎΡΠΊΠΎΠ»ΡΠΊΡ ΡΠ΅Ρ Π½ΠΈΡΠ΅ΡΠΊΠΈΠ΅, ΠΊΠΎΠ½ΡΡΡΡΠΊΡΠΎΡΡΠΊΠΈΠ΅ ΠΈ ΡΠ΅Ρ Π½ΠΎΠ»ΠΎΠ³ΠΈΡΠ΅ΡΠΊΠΈΠ΅ ΡΠ΅ΡΠ΅Π½ΠΈΡ Π±ΡΠ»ΠΈ ΠΏΠΎΠ»Π½ΠΎΡΡΡΡ ΠΏΠΎΠ΄Π³ΠΎΡΠΎΠ²Π»Π΅Π½Ρ, ΠΎΡΠ½ΠΎΠ²Π½ΠΎΠΉ ΡΠ°Π½ΠΊΠΎΠ²ΡΠΉ ΠΏΠ°ΡΠΊ Π‘ΠΎΠ²Π΅ΡΡΠΊΠΎΠ³ΠΎ Π‘ΠΎΡΠ·Π° Π±ΡΠ» ΠΎΡΠ½Π°ΡΠ΅Π½ ΠΏΡΠΎΡΠΈΠ²ΠΎΠΊΡΠΌΡΠ»ΡΡΠΈΠ²Π½ΠΎΠΉ Π΄ΠΈΠ½Π°ΠΌΠΈΡΠ΅ΡΠΊΠΎΠΉ Π·Π°ΡΠΈΡΠΎΠΉ (ΠΠ) Β«ΠΠΎΠ½ΡΠ°ΠΊΡ-1Β» Π² ΡΠ΅ΠΊΠΎΡΠ΄Π½ΡΠΉ ΡΡΠΎΠΊ β Π²ΡΠ΅Π³ΠΎ Π·Π° Π³ΠΎΠ΄. Π£ΡΡΠ°Π½ΠΎΠ²ΠΊΠ° ΠΠ Π½Π° ΡΠ°Π½ΠΊΠΈ Π’-64Π, Π’-72Π, Π’-80Π, ΠΈ Π±Π΅Π· ΡΠΎΠ³ΠΎ ΡΠΆΠ΅ ΠΎΠ±Π»Π°Π΄Π°Π²ΡΠΈΠ΅ Π΄ΠΎΡΡΠ°ΡΠΎΡΠ½ΠΎ ΠΌΠΎΡΠ½ΡΠΌ Π±ΡΠΎΠ½ΠΈΡΠΎΠ²Π°Π½ΠΈΠ΅ΠΌ, ΠΏΡΠ°ΠΊΡΠΈΡΠ΅ΡΠΊΠΈ ΠΎΠ΄Π½ΠΎΠΌΠΎΠΌΠ΅Π½ΡΠ½ΠΎ ΠΎΠ±Π΅ΡΡΠ΅Π½ΠΈΠ»Π° ΡΡΡΠ΅ΡΡΠ²ΠΎΠ²Π°Π²ΡΠΈΠ΅ Π°ΡΡΠ΅Π½Π°Π»Ρ ΠΏΡΠΎΡΠΈΠ²ΠΎΡΠ°Π½ΠΊΠΎΠ²ΠΎΠ³ΠΎ ΡΠΏΡΠ°Π²Π»ΡΠ΅ΠΌΠΎΠ³ΠΎ Π²ΠΎΠΎΡΡΠΆΠ΅Π½ΠΈΡ ΠΏΠΎΡΠ΅Π½ΡΠΈΠ°Π»ΡΠ½ΡΡ ΠΏΡΠΎΡΠΈΠ²Π½ΠΈΠΊΠΎΠ².
ΠΠ·ΡΡΠ²ΡΠ°ΡΠΊΠ° ΠΏΠΎΠ²Π΅ΡΡ Π±ΡΠΎΠ½ΠΈ
ΠΡΠΈ ΠΏΡΠΎΠ±ΠΈΡΠΈΠΈ ΡΠ»Π΅ΠΌΠ΅Π½ΡΠ° ΠΠ ΠΊΡΠΌΡΠ»ΡΡΠΈΠ²Π½ΠΎΠΉ ΡΡΡΡΠ΅ΠΉ Π²Π·ΡΡΠ²ΡΠ°ΡΠΎΠ΅ Π²Π΅ΡΠ΅ΡΡΠ²ΠΎ, Π½Π°Ρ ΠΎΠ΄ΡΡΠ΅Π΅ΡΡ Π² Π½Π΅ΠΌ, Π΄Π΅ΡΠΎΠ½ΠΈΡΡΠ΅Ρ ΠΈ ΠΌΠ΅ΡΠ°Π»Π»ΠΈΡΠ΅ΡΠΊΠΈΠ΅ ΠΏΠ»Π°ΡΡΠΈΠ½Ρ ΠΊΠΎΡΠΏΡΡΠ° Π½Π°ΡΠΈΠ½Π°ΡΡ ΡΠ°Π·Π»Π΅ΡΠ°ΡΡΡΡ. ΠΡΠΈ ΡΡΠΎΠΌ ΠΎΠ½ΠΈ ΠΏΠ΅ΡΠ΅ΡΠ΅ΠΊΠ°ΡΡ ΡΡΠ°Π΅ΠΊΡΠΎΡΠΈΡ ΡΡΡΡΠΈ ΠΏΠΎΠ΄ ΡΠ³Π»ΠΎΠΌ, ΠΏΠΎΡΡΠΎΡΠ½Π½ΠΎ ΠΏΠΎΠ΄ΡΡΠ°Π²Π»ΡΡ ΠΏΠΎΠ΄ Π½Π΅Π΅ Π½ΠΎΠ²ΡΠ΅ ΡΡΠ°ΡΡΠΊΠΈ. Π§Π°ΡΡΡ ΡΠ½Π΅ΡΠ³ΠΈΠΈ ΡΠ°ΡΡ ΠΎΠ΄ΡΠ΅ΡΡΡ Π½Π° ΠΏΡΠΎΠ±ΠΈΡΠΈΠ΅ ΠΏΠ»Π°ΡΡΠΈΠ½, Π° Π±ΠΎΠΊΠΎΠ²ΠΎΠΉ ΠΈΠΌΠΏΡΠ»ΡΡ ΠΎΡ ΡΠΎΡΠ΄Π°ΡΠ΅Π½ΠΈΡ Π΄Π΅ΡΡΠ°Π±ΠΈΠ»ΠΈΠ·ΠΈΡΡΠ΅Ρ ΡΡΡΡΡ. ΠΠ ΡΠ½ΠΈΠΆΠ°Π΅Ρ Π±ΡΠΎΠ½Π΅ΠΏΡΠΎΠ±ΠΈΠ²Π½ΡΠ΅ Ρ Π°ΡΠ°ΠΊΡΠ΅ΡΠΈΡΡΠΈΠΊΠΈ ΠΊΡΠΌΡΠ»ΡΡΠΈΠ²Π½ΡΡ ΡΡΠ΅Π΄ΡΡΠ² Π½Π° 50β80%. ΠΡΠΈ ΡΡΠΎΠΌ, ΡΡΠΎ ΠΎΡΠ΅Π½Ρ Π²Π°ΠΆΠ½ΠΎ, ΠΠ Π½Π΅ Π΄Π΅ΡΠΎΠ½ΠΈΡΡΠ΅Ρ ΠΏΡΠΈ ΠΎΠ±ΡΡΡΠ΅Π»Π΅ ΠΈΠ· ΡΡΡΠ΅Π»ΠΊΠΎΠ²ΠΎΠ³ΠΎ ΠΎΡΡΠΆΠΈΡ. ΠΡΠΈΠΌΠ΅Π½Π΅Π½ΠΈΠ΅ ΠΠ ΡΡΠ°Π»ΠΎ ΡΠ΅Π²ΠΎΠ»ΡΡΠΈΠ΅ΠΉ Π² Π·Π°ΡΠΈΡΠ΅ Π±ΡΠΎΠ½Π΅ΡΠ΅Ρ Π½ΠΈΠΊΠΈ. ΠΠΎΡΠ²ΠΈΠ»Π°ΡΡ ΡΠ΅Π°Π»ΡΠ½Π°Ρ Π²ΠΎΠ·ΠΌΠΎΠΆΠ½ΠΎΡΡΡ Π²ΠΎΠ·Π΄Π΅ΠΉΡΡΠ²ΠΎΠ²Π°ΡΡ Π½Π° Π²Π½Π΅Π΄ΡΡΡΡΠ΅Π΅ΡΡ ΠΏΠΎΡΠ°ΠΆΠ°ΡΡΠ΅Π΅ ΡΡΠ΅Π΄ΡΡΠ²ΠΎ ΡΠ°ΠΊ ΠΆΠ΅ Π°ΠΊΡΠΈΠ²Π½ΠΎ, ΠΊΠ°ΠΊ Π΄ΠΎ ΡΡΠΎΠ³ΠΎ ΠΎΠ½ΠΎ Π²ΠΎΠ·Π΄Π΅ΠΉΡΡΠ²ΠΎΠ²Π°Π»ΠΎ Π½Π° ΠΏΠ°ΡΡΠΈΠ²Π½ΡΡ Π±ΡΠΎΠ½Ρ.
ΠΡΠΎΡΠΈΠ² Π»ΠΎΠΌΠ° Π΅ΡΡΡ ΠΏΡΠΈΠ΅ΠΌΡ
ΠΡΠΌΡΠ»ΡΡΠΈΠ²Π½ΡΠΉ ΡΠ½Π°ΡΡΠ΄ β Π½Π΅ Π΅Π΄ΠΈΠ½ΡΡΠ²Π΅Π½Π½ΠΎΠ΅ ΡΡΠ΅Π΄ΡΡΠ²ΠΎ ΠΏΠΎΡΠ°ΠΆΠ΅Π½ΠΈΡ Π±ΡΠΎΠ½Π΅ΡΠ΅Ρ Π½ΠΈΠΊΠΈ. ΠΠΎΡΠ°Π·Π΄ΠΎ Π±ΠΎΠ»Π΅Π΅ ΠΎΠΏΠ°ΡΠ½ΡΠ΅ ΠΏΡΠΎΡΠΈΠ²Π½ΠΈΠΊΠΈ Π±ΡΠΎΠ½ΠΈ β Π±ΡΠΎΠ½Π΅Π±ΠΎΠΉΠ½ΡΠ΅ ΠΏΠΎΠ΄ΠΊΠ°Π»ΠΈΠ±Π΅ΡΠ½ΡΠ΅ ΡΠ½Π°ΡΡΠ΄Ρ (ΠΠΠ‘). ΠΠΎ ΠΊΠΎΠ½ΡΡΡΡΠΊΡΠΈΠΈ ΡΠ°ΠΊΠΎΠΉ ΡΠ½Π°ΡΡΠ΄ ΠΏΡΠΎΡΡ β ΠΎΠ½ ΠΏΡΠ΅Π΄ΡΡΠ°Π²Π»ΡΠ΅Ρ ΡΠΎΠ±ΠΎΠΉ Π΄Π»ΠΈΠ½Π½ΡΠΉ Π»ΠΎΠΌ (ΡΠ΅ΡΠ΄Π΅ΡΠ½ΠΈΠΊ) ΠΈΠ· ΡΡΠΆΠ΅Π»ΠΎΠ³ΠΎ ΠΈ Π²ΡΡΠΎΠΊΠΎΠΏΡΠΎΡΠ½ΠΎΠ³ΠΎ ΠΌΠ°ΡΠ΅ΡΠΈΠ°Π»Π° (ΠΎΠ±ΡΡΠ½ΠΎ ΡΡΠΎ ΠΊΠ°ΡΠ±ΠΈΠ΄ Π²ΠΎΠ»ΡΡΡΠ°ΠΌΠ° ΠΈΠ»ΠΈ ΠΎΠ±Π΅Π΄Π½Π΅Π½Π½ΡΠΉ ΡΡΠ°Π½) Ρ ΠΎΠΏΠ΅ΡΠ΅Π½ΠΈΠ΅ΠΌ Π΄Π»Ρ ΡΡΠ°Π±ΠΈΠ»ΠΈΠ·Π°ΡΠΈΠΈ Π² ΠΏΠΎΠ»Π΅ΡΠ΅. ΠΠΈΠ°ΠΌΠ΅ΡΡ ΡΠ΅ΡΠ΄Π΅ΡΠ½ΠΈΠΊΠ° Π½Π°ΠΌΠ½ΠΎΠ³ΠΎ ΠΌΠ΅Π½ΡΡΠ΅ ΠΊΠ°Π»ΠΈΠ±ΡΠ° ΡΡΠ²ΠΎΠ»Π° β ΠΎΡΡΡΠ΄Π° ΠΈ Π½Π°Π·Π²Π°Π½ΠΈΠ΅ Β«ΠΏΠΎΠ΄ΠΊΠ°Π»ΠΈΠ±Π΅ΡΠ½ΡΠ΅Β». ΠΠ΅ΡΡΡΠΈΠΉ ΡΠΎ ΡΠΊΠΎΡΠΎΡΡΡΡ 1,5β1,6 ΠΊΠΌ/Ρ Β«Π΄ΡΠΎΡΠΈΠΊΒ» ΠΌΠ°ΡΡΠΎΠΉ Π² Π½Π΅ΡΠΊΠΎΠ»ΡΠΊΠΎ ΠΊΠΈΠ»ΠΎΠ³ΡΠ°ΠΌΠΌΠΎΠ² ΠΎΠ±Π»Π°Π΄Π°Π΅Ρ ΡΠ°ΠΊΠΎΠΉ ΠΊΠΈΠ½Π΅ΡΠΈΡΠ΅ΡΠΊΠΎΠΉ ΡΠ½Π΅ΡΠ³ΠΈΠ΅ΠΉ, ΡΡΠΎ ΠΏΡΠΈ ΠΏΠΎΠΏΠ°Π΄Π°Π½ΠΈΠΈ ΡΠΏΠΎΡΠΎΠ±Π΅Π½ ΠΏΡΠΎΠ±ΠΈΠ²Π°ΡΡ Π±ΠΎΠ»Π΅Π΅ 650 ΠΌΠΌ Π³ΠΎΠΌΠΎΠ³Π΅Π½Π½ΠΎΠΉ ΡΡΠ°Π»ΠΈ. ΠΡΠΈΡΠ΅ΠΌ ΠΎΠΏΠΈΡΠ°Π½Π½ΡΠ΅ Π²ΡΡΠ΅ ΡΠΏΠΎΡΠΎΠ±Ρ ΡΡΠΈΠ»Π΅Π½ΠΈΡ ΠΏΡΠΎΡΠΈΠ²ΠΎΠΊΡΠΌΡΠ»ΡΡΠΈΠ²Π½ΠΎΠΉ Π·Π°ΡΠΈΡΡ ΠΏΡΠ°ΠΊΡΠΈΡΠ΅ΡΠΊΠΈ Π½Π΅ Π²Π»ΠΈΡΡΡ Π½Π° ΠΏΠΎΠ΄ΠΊΠ°Π»ΠΈΠ±Π΅ΡΠ½ΡΠ΅ ΡΠ½Π°ΡΡΠ΄Ρ. ΠΠΎΠΏΡΠ΅ΠΊΠΈ Π·Π΄ΡΠ°Π²ΠΎΠΌΡ ΡΠΌΡΡΠ»Ρ, Π½Π°ΠΊΠ»ΠΎΠ½ Π±ΡΠΎΠ½Π΅Π²ΡΡ Π»ΠΈΡΡΠΎΠ² Π½Π΅ ΡΠΎΠ»ΡΠΊΠΎ Π½Π΅ Π²ΡΠ·ΡΠ²Π°Π΅Ρ ΡΠΈΠΊΠΎΡΠ΅Ρ ΠΏΠΎΠ΄ΠΊΠ°Π»ΠΈΠ±Π΅ΡΠ½ΠΎΠ³ΠΎ ΡΠ½Π°ΡΡΠ΄Π°, Π½ΠΎ Π΄Π°ΠΆΠ΅ ΠΎΡΠ»Π°Π±Π»ΡΠ΅Ρ ΡΡΠ΅ΠΏΠ΅Π½Ρ Π·Π°ΡΠΈΡΡ ΠΎΡ Π½ΠΈΡ ! Π‘ΠΎΠ²ΡΠ΅ΠΌΠ΅Π½Π½ΡΠ΅ Β«ΡΡΠ°Π±Π°ΡΡΠ²Π°ΡΡΠΈΠ΅ΡΡΒ» ΡΠ΅ΡΠ΄Π΅ΡΠ½ΠΈΠΊΠΈ Π½Π΅ ΡΠΈΠΊΠΎΡΠ΅ΡΠΈΡΡΡΡ: ΠΏΡΠΈ ΠΊΠΎΠ½ΡΠ°ΠΊΡΠ΅ Ρ Π±ΡΠΎΠ½Π΅ΠΉ Π½Π° ΠΏΠ΅ΡΠ΅Π΄Π½Π΅ΠΌ ΠΊΠΎΠ½ΡΠ΅ ΡΠ΅ΡΠ΄Π΅ΡΠ½ΠΈΠΊΠ° ΠΎΠ±ΡΠ°Π·ΡΠ΅ΡΡΡ Π³ΡΠΈΠ±ΠΎΠ²ΠΈΠ΄Π½ΡΠΉ ΠΎΠ³ΠΎΠ»ΠΎΠ²ΠΎΠΊ, ΠΈΠ³ΡΠ°ΡΡΠΈΠΉ ΡΠΎΠ»Ρ ΡΠ°ΡΠ½ΠΈΡΠ°, ΠΈ ΡΠ½Π°ΡΡΠ΄ Π΄ΠΎΠ²ΠΎΡΠ°ΡΠΈΠ²Π°Π΅ΡΡΡ Π² ΡΡΠΎΡΠΎΠ½Ρ ΠΏΠ΅ΡΠΏΠ΅Π½Π΄ΠΈΠΊΡΠ»ΡΡΠ° ΠΊ Π±ΡΠΎΠ½Π΅, ΡΠΎΠΊΡΠ°ΡΠ°Ρ ΠΏΡΡΡ Π² Π΅Π΅ ΡΠΎΠ»ΡΠ΅.

Π‘Ρ Π΅ΠΌΠ° ΡΠ°Π±ΠΎΡΡ ΠΊΡΠΌΡΠ»ΡΡΠΈΠ²Π½ΠΎΠΉ Π·Π°ΡΠΈΡΡ Β«ΠΠΎΠΆΒ»
Π‘Π»Π΅Π΄ΡΡΡΠΈΠΌ ΠΏΠΎΠΊΠΎΠ»Π΅Π½ΠΈΠ΅ΠΌ ΠΠ ΡΡΠ°Π»Π° ΡΠΈΡΡΠ΅ΠΌΠ° Β«ΠΠΎΠ½ΡΠ°ΠΊΡ-5Β». Π‘ΠΏΠ΅ΡΠΈΠ°Π»ΠΈΡΡΡ ΠΠΠ ΡΡΠ°Π»ΠΈ ΠΏΡΠΎΠ΄Π΅Π»Π°Π»ΠΈ Π±ΠΎΠ»ΡΡΡΡ ΡΠ°Π±ΠΎΡΡ, ΡΠ΅ΡΠΈΠ² ΠΌΠ½ΠΎΠΆΠ΅ΡΡΠ²ΠΎ ΠΏΡΠΎΡΠΈΠ²ΠΎΡΠ΅ΡΠΈΠ²ΡΡ ΠΏΡΠΎΠ±Π»Π΅ΠΌ: ΠΠ Π΄ΠΎΠ»ΠΆΠ½Π° Π±ΡΠ»Π° Π΄Π°Π²Π°ΡΡ ΠΌΠΎΡΠ½ΡΠΉ Π±ΠΎΠΊΠΎΠ²ΠΎΠΉ ΠΈΠΌΠΏΡΠ»ΡΡ, ΠΏΠΎΠ·Π²ΠΎΠ»ΡΡΡΠΈΠΉ Π΄Π΅ΡΡΠ°Π±ΠΈΠ»ΠΈΠ·ΠΈΡΠΎΠ²Π°ΡΡ ΠΈΠ»ΠΈ ΡΠ°Π·ΡΡΡΠΈΡΡ ΡΠ΅ΡΠ΄Π΅ΡΠ½ΠΈΠΊ ΠΠΠΠ‘, Π²Π·ΡΡΠ²ΡΠ°ΡΠΎΠ΅ Π²Π΅ΡΠ΅ΡΡΠ²ΠΎ Π΄ΠΎΠ»ΠΆΠ½ΠΎ Π±ΡΠ»ΠΎ Π½Π°Π΄Π΅ΠΆΠ½ΠΎ Π΄Π΅ΡΠΎΠ½ΠΈΡΠΎΠ²Π°ΡΡ ΠΎΡ Π½ΠΈΠ·ΠΊΠΎΡΠΊΠΎΡΠΎΡΡΠ½ΠΎΠ³ΠΎ (ΠΏΠΎ ΡΡΠ°Π²Π½Π΅Π½ΠΈΡ Ρ ΠΊΡΠΌΡΠ»ΡΡΠΈΠ²Π½ΠΎΠΉ ΡΡΡΡΠ΅ΠΉ) ΡΠ΅ΡΠ΄Π΅ΡΠ½ΠΈΠΊΠ° ΠΠΠΠ‘, Π½ΠΎ ΠΏΡΠΈ ΡΡΠΎΠΌ Π΄Π΅ΡΠΎΠ½Π°ΡΠΈΡ ΠΎΡ ΠΏΠΎΠΏΠ°Π΄Π°Π½ΠΈΡ ΠΏΡΠ»Ρ ΠΈ ΠΎΡΠΊΠΎΠ»ΠΊΠΎΠ² ΡΠ½Π°ΡΡΠ΄ΠΎΠ² ΠΈΡΠΊΠ»ΡΡΠ°Π»Π°ΡΡ. Π‘ ΡΡΠΈΠΌΠΈ ΠΏΡΠΎΠ±Π»Π΅ΠΌΠ°ΠΌΠΈ ΠΏΠΎΠΌΠΎΠ³Π»Π° ΡΠΏΡΠ°Π²ΠΈΡΡΡΡ ΠΊΠΎΠ½ΡΡΡΡΠΊΡΠΈΡ Π±Π»ΠΎΠΊΠΎΠ². ΠΡΡΡΠΊΠ° Π±Π»ΠΎΠΊΠ° ΠΠ Π²ΡΠΏΠΎΠ»Π½Π΅Π½Π° ΠΈΠ· ΡΠΎΠ»ΡΡΠΎΠΉ (ΠΎΠΊΠΎΠ»ΠΎ 20 ΠΌΠΌ) Π²ΡΡΠΎΠΊΠΎΠΏΡΠΎΡΠ½ΠΎΠΉ Π±ΡΠΎΠ½Π΅Π²ΠΎΠΉ ΡΡΠ°Π»ΠΈ. ΠΡΠΈ ΡΠ΄Π°ΡΠ΅ Π² Π½Π΅Π΅ ΠΠΠ‘ Π³Π΅Π½Π΅ΡΠΈΡΡΠ΅Ρ ΠΏΠΎΡΠΎΠΊ Π²ΡΡΠΎΠΊΠΎΡΠΊΠΎΡΠΎΡΡΠ½ΡΡ ΠΎΡΠΊΠΎΠ»ΠΊΠΎΠ², ΠΊΠΎΡΠΎΡΡΠ΅ ΠΈ Π΄Π΅ΡΠΎΠ½ΠΈΡΡΡΡ Π·Π°ΡΡΠ΄. ΠΠΎΠ·Π΄Π΅ΠΉΡΡΠ²ΠΈΠ΅ Π½Π° ΠΠΠ‘ Π΄Π²ΠΈΠΆΡΡΠ΅ΠΉΡΡ ΡΠΎΠ»ΡΡΠΎΠΉ ΠΊΡΡΡΠΊΠΈ ΠΎΠΊΠ°Π·ΡΠ²Π°Π΅ΡΡΡ Π΄ΠΎΡΡΠ°ΡΠΎΡΠ½ΡΠΌ, ΡΡΠΎΠ±Ρ ΡΠ½ΠΈΠ·ΠΈΡΡ Π΅Π³ΠΎ Π±ΡΠΎΠ½Π΅ΠΏΡΠΎΠ±ΠΈΠ²Π½ΡΠ΅ Ρ Π°ΡΠ°ΠΊΡΠ΅ΡΠΈΡΡΠΈΠΊΠΈ. ΠΠΎΠ·Π΄Π΅ΠΉΡΡΠ²ΠΈΠ΅ Π½Π° ΠΊΡΠΌΡΠ»ΡΡΠΈΠ²Π½ΡΡ ΡΡΡΡΡ ΡΠ°ΠΊΠΆΠ΅ ΡΠ²Π΅Π»ΠΈΡΠΈΠ²Π°Π΅ΡΡΡ ΠΏΠΎ ΡΡΠ°Π²Π½Π΅Π½ΠΈΡ Ρ ΡΠΎΠ½ΠΊΠΎΠΉ (3 ΠΌΠΌ) ΠΏΠ»Π°ΡΡΠΈΠ½ΠΎΠΉ Β«ΠΠΎΠ½ΡΠ°ΠΊΡ-1Β». Π ΡΠ΅Π·ΡΠ»ΡΡΠ°ΡΠ΅ ΡΡΡΠ°Π½ΠΎΠ²ΠΊΠ° ΠΠ Β«ΠΠΎΠ½ΡΠ°ΠΊΡ-5Β» Π½Π° ΡΠ°Π½ΠΊΠΈ ΠΏΠΎΠ²ΡΡΠ°Π΅Ρ ΠΏΡΠΎΡΠΈΠ²ΠΎΠΊΡΠΌΡΠ»ΡΡΠΈΠ²Π½ΡΡ ΡΡΠΎΠΉΠΊΠΎΡΡΡ Π² 1,5β1,8 ΡΠ°Π·Π° ΠΈ ΠΎΠ±Π΅ΡΠΏΠ΅ΡΠΈΠ²Π°Π΅Ρ ΠΏΠΎΠ²ΡΡΠ΅Π½ΠΈΠ΅ ΡΡΠΎΠ²Π½Ρ Π·Π°ΡΠΈΡΡ ΠΎΡ ΠΠΠ‘ Π² 1,2β1,5 ΡΠ°Π·Π°. ΠΠΎΠΌΠΏΠ»Π΅ΠΊΡ Β«ΠΠΎΠ½ΡΠ°ΠΊΡ-5Β» ΡΡΡΠ°Π½Π°Π²Π»ΠΈΠ²Π°Π΅ΡΡΡ Π½Π° ΡΠΎΡΡΠΈΠΉΡΠΊΠΈΠ΅ ΡΠ΅ΡΠΈΠΉΠ½ΡΠ΅ ΡΠ°Π½ΠΊΠΈ Π’-80Π£, Π’-80Π£Π, Π’-72Π (Π½Π°ΡΠΈΠ½Π°Ρ Ρ 1988 Π³ΠΎΠ΄Π°) ΠΈ Π’-90.
ΠΠΎΡΠ»Π΅Π΄Π½Π΅Π΅ ΠΏΠΎΠΊΠΎΠ»Π΅Π½ΠΈΠ΅ ΡΠΎΡΡΠΈΠΉΡΠΊΠΎΠΉ ΠΠ β ΠΊΠΎΠΌΠΏΠ»Π΅ΠΊΡ Β«Π Π΅Π»ΠΈΠΊΡΒ», ΡΠ°ΠΊΠΆΠ΅ ΡΠ°Π·ΡΠ°Π±ΠΎΡΠ°Π½Π½ΡΠΉ ΡΠΏΠ΅ΡΠΈΠ°Π»ΠΈΡΡΠ°ΠΌΠΈ ΠΠΠ ΡΡΠ°Π»ΠΈ. Π ΡΡΠΎΠ²Π΅ΡΡΠ΅Π½ΡΡΠ²ΠΎΠ²Π°Π½Π½ΡΡ ΠΠΠ ΡΠ΄Π°Π»ΠΎΡΡ ΡΡΡΡΠ°Π½ΠΈΡΡ ΠΌΠ½ΠΎΠ³ΠΈΠ΅ Π½Π΅Π΄ΠΎΡΡΠ°ΡΠΊΠΈ, Π½Π°ΠΏΡΠΈΠΌΠ΅Ρ Π½Π΅Π΄ΠΎΡΡΠ°ΡΠΎΡΠ½ΡΡ ΡΡΠ²ΡΡΠ²ΠΈΡΠ΅Π»ΡΠ½ΠΎΡΡΡ ΠΏΡΠΈ ΠΈΠ½ΠΈΡΠΈΠΈΡΠΎΠ²Π°Π½ΠΈΠΈ ΠΌΠ°Π»ΠΎΡΠΊΠΎΡΠΎΡΡΠ½ΡΠΌΠΈ ΠΊΠΈΠ½Π΅ΡΠΈΡΠ΅ΡΠΊΠΈΠΌΠΈ ΡΠ½Π°ΡΡΠ΄Π°ΠΌΠΈ ΠΈ Π½Π΅ΠΊΠΎΡΠΎΡΡΠΌΠΈ ΡΠΈΠΏΠ°ΠΌΠΈ ΠΊΡΠΌΡΠ»ΡΡΠΈΠ²Π½ΡΡ Π±ΠΎΠ΅ΠΏΡΠΈΠΏΠ°ΡΠΎΠ². ΠΠΎΠ²ΡΡΠ΅Π½Π½Π°Ρ ΡΡΡΠ΅ΠΊΡΠΈΠ²Π½ΠΎΡΡΡ ΠΏΡΠΈ Π·Π°ΡΠΈΡΠ΅ ΠΎΡ ΠΊΠΈΠ½Π΅ΡΠΈΡΠ΅ΡΠΊΠΈΡ ΠΈ ΠΊΡΠΌΡΠ»ΡΡΠΈΠ²Π½ΡΡ Π±ΠΎΠ΅ΠΏΡΠΈΠΏΠ°ΡΠΎΠ² Π΄ΠΎΡΡΠΈΠ³Π°Π΅ΡΡΡ Π·Π° ΡΡΠ΅Ρ ΠΏΡΠΈΠΌΠ΅Π½Π΅Π½ΠΈΡ Π΄ΠΎΠΏΠΎΠ»Π½ΠΈΡΠ΅Π»ΡΠ½ΡΡ ΠΌΠ΅ΡΠ°ΡΠ΅Π»ΡΠ½ΡΡ ΠΏΠ»Π°ΡΡΠΈΠ½ ΠΈ Π²ΠΊΠ»ΡΡΠ΅Π½ΠΈΡ Π² ΠΈΡ ΡΠΎΡΡΠ°Π² Π½Π΅ΠΌΠ΅ΡΠ°Π»Π»ΠΈΡΠ΅ΡΠΊΠΈΡ ΡΠ»Π΅ΠΌΠ΅Π½ΡΠΎΠ². Π ΡΠ΅Π·ΡΠ»ΡΡΠ°ΡΠ΅ Π±ΡΠΎΠ½Π΅ΠΏΡΠΎΠ±ΠΈΠ²Π°Π΅ΠΌΠΎΡΡΡ ΠΏΠΎΠ΄ΠΊΠ°Π»ΠΈΠ±Π΅ΡΠ½ΡΠΌΠΈ ΡΠ½Π°ΡΡΠ΄Π°ΠΌΠΈ ΡΠ½ΠΈΠΆΠ°Π΅ΡΡΡ Π½Π° 20β60%, Π° Π±Π»Π°Π³ΠΎΠ΄Π°ΡΡ Π²ΠΎΠ·ΡΠΎΡΡΠ΅ΠΌΡ Π²ΡΠ΅ΠΌΠ΅Π½ΠΈ Π²ΠΎΠ·Π΄Π΅ΠΉΡΡΠ²ΠΈΡ Π½Π° ΠΊΡΠΌΡΠ»ΡΡΠΈΠ²Π½ΡΡ ΡΡΡΡΡ ΡΠ΄Π°Π»ΠΎΡΡ Π΄ΠΎΠ±ΠΈΡΡΡΡ ΠΈ ΠΎΠΏΡΠ΅Π΄Π΅Π»Π΅Π½Π½ΠΎΠΉ ΡΡΡΠ΅ΠΊΡΠΈΠ²Π½ΠΎΡΡΠΈ ΠΏΠΎ ΠΊΡΠΌΡΠ»ΡΡΠΈΠ²Π½ΡΠΌ ΡΡΠ΅Π΄ΡΡΠ²Π°ΠΌ Ρ ΡΠ°Π½Π΄Π΅ΠΌΠ½ΠΎΠΉ Π±ΠΎΠ΅Π²ΠΎΠΉ ΡΠ°ΡΡΡΡ.
topwar.ru
ΠΠΊΡΠΈΠ²Π½Π°Ρ Π±ΡΠΎΠ½Ρ Π½Π° Π·Π°ΡΠΈΡΠ΅ ΡΠ°Π½ΠΊΠ°: ΠΊΠ°ΠΊ ΡΡΠΎ ΡΠ°Π±ΠΎΡΠ°Π΅Ρ
Π‘ ΠΌΠΎΠΌΠ΅Π½ΡΠ° ΠΏΠΎΡΠ²Π»Π΅Π½ΠΈΡ Π±ΡΠΎΠ½Π΅ΡΠ΅Ρ Π½ΠΈΠΊΠΈ ΠΈΠ·Π²Π΅ΡΠ½ΠΎΠ΅ ΡΡΠ°ΠΆΠ΅Π½ΠΈΠ΅ ΠΌΠ΅ΠΆΠ΄Ρ ΡΠ½Π°ΡΡΠ΄ΠΎΠΌ ΠΈ Π±ΡΠΎΠ½Π΅ΠΉ ΠΎΠ±ΠΎΡΡΡΠΈΠ»ΠΎΡΡ. ΠΠ΄Π½ΠΈ ΠΊΠΎΠ½ΡΡΡΡΠΊΡΠΎΡΡ ΡΡΡΠ΅ΠΌΠΈΠ»ΠΈΡΡ ΡΠ²Π΅Π»ΠΈΡΠΈΡΡ ΠΏΡΠΎΠ±ΠΈΠ²Π½ΡΡ ΡΠΏΠΎΡΠΎΠ±Π½ΠΎΡΡΡ ΡΠ½Π°ΡΡΠ΄ΠΎΠ², Π΄ΡΡΠ³ΠΈΠ΅ ΠΏΠΎΠ²ΡΡΠ°Π»ΠΈ ΡΡΠΎΠΉΠΊΠΎΡΡΡ Π±ΡΠΎΠ½ΠΈ. ΠΠΎΡΡΠ±Π° ΠΏΡΠΎΠ΄ΠΎΠ»ΠΆΠ°Π΅ΡΡΡ ΠΈ ΡΠ΅ΠΉΡΠ°Ρ. Π ΡΠΎΠΌ, ΠΊΠ°ΠΊ ΡΡΡΡΠΎΠ΅Π½Π° ΡΠΎΠ²ΡΠ΅ΠΌΠ΅Π½Π½Π°Ρ ΡΠ°Π½ΠΊΠΎΠ²Π°Ρ Π±ΡΠΎΠ½Ρ, Β«ΠΠΎΠΏΡΠ»ΡΡΠ½ΠΎΠΉ ΠΌΠ΅Ρ Π°Π½ΠΈΠΊΠ΅Β» ΡΠ°ΡΡΠΊΠ°Π·Π°Π» ΠΏΡΠΎΡΠ΅ΡΡΠΎΡ ΠΠΠ’Π£ ΠΈΠΌ. Π. Π. ΠΠ°ΡΠΌΠ°Π½Π°, Π΄ΠΈΡΠ΅ΠΊΡΠΎΡ ΠΏΠΎ Π½Π°ΡΠΊΠ΅ ΠΠΠ ΡΡΠ°Π»ΠΈ ΠΠ°Π»Π΅ΡΠΈΠΉ ΠΡΠΈΠ³ΠΎΡΡΠ½.Β ΠΠΎΠ½Π°ΡΠ°Π»Ρ Π°ΡΠ°ΠΊΠ° Π½Π° Π±ΡΠΎΠ½Ρ Π²Π΅Π»Π°ΡΡ Π² Π»ΠΎΠ±: ΠΏΠΎΠΊΠ° ΠΎΡΠ½ΠΎΠ²Π½ΡΠΌ Π²ΠΈΠ΄ΠΎΠΌ Π²ΠΎΠ·Π΄Π΅ΠΉΡΡΠ²ΠΈΡ Π±ΡΠ» Π±ΡΠΎΠ½Π΅Π±ΠΎΠΉΠ½ΡΠΉ ΡΠ½Π°ΡΡΠ΄ ΠΊΠΈΠ½Π΅ΡΠΈΡΠ΅ΡΠΊΠΎΠ³ΠΎ Π΄Π΅ΠΉΡΡΠ²ΠΈΡ, Π΄ΡΡΠ»Ρ ΠΊΠΎΠ½ΡΡΡΡΠΊΡΠΎΡΠΎΠ² ΡΠ²ΠΎΠ΄ΠΈΠ»Π°ΡΡ ΠΊ ΡΠ²Π΅Π»ΠΈΡΠ΅Π½ΠΈΡ ΠΊΠ°Π»ΠΈΠ±ΡΠ° ΠΏΡΡΠΊΠΈ, ΡΠΎΠ»ΡΠΈΠ½Ρ ΠΈ ΡΠ³Π»ΠΎΠ² Π½Π°ΠΊΠ»ΠΎΠ½Π° Π±ΡΠΎΠ½ΠΈ. ΠΡΠ° ΡΠ²ΠΎΠ»ΡΡΠΈΡ Ρ ΠΎΡΠΎΡΠΎ Π²ΠΈΠ΄Π½Π° Π½Π° ΠΏΡΠΈΠΌΠ΅ΡΠ΅ ΡΠ°Π·Π²ΠΈΡΠΈΡ ΡΠ°Π½ΠΊΠΎΠ²ΡΡ Π²ΠΎΠΎΡΡΠΆΠ΅Π½ΠΈΠΉ ΠΈ Π±ΡΠΎΠ½ΠΈ Π²ΠΎ ΠΡΠΎΡΠΎΠΉ ΠΌΠΈΡΠΎΠ²ΠΎΠΉ.

ΠΠΎΡΠΏΠΎΠ»ΡΠ·ΡΠΉΡΠ΅ΡΡ Π½Π°ΡΠΈΠΌΠΈ ΡΡΠ»ΡΠ³Π°ΠΌΠΈ
ΠΠΎΠ½ΡΡΡΡΠΊΡΠΈΠ²Π½ΡΠ΅ ΡΠ΅ΡΠ΅Π½ΠΈΡ ΡΠΎΠ³ΠΎ Π²ΡΠ΅ΠΌΠ΅Π½ΠΈ Π΄ΠΎΡΡΠ°ΡΠΎΡΠ½ΠΎ ΠΎΡΠ΅Π²ΠΈΠ΄Π½Ρ: ΡΠ΄Π΅Π»Π°Π΅ΠΌ ΠΏΡΠ΅Π³ΡΠ°Π΄Ρ ΡΠΎΠ»ΡΠ΅; Π΅ΡΠ»ΠΈ Π΅Π΅ Π½Π°ΠΊΠ»ΠΎΠ½ΠΈΡΡ β ΡΠ½Π°ΡΡΠ΄Ρ ΠΏΡΠΈΠ΄Π΅ΡΡΡ ΠΏΡΠΎΠΉΡΠΈ Π±ΠΎΠ»ΡΡΠΈΠΉ ΠΏΡΡΡ Π² ΡΠΎΠ»ΡΠ΅ ΠΌΠ΅ΡΠ°Π»Π»Π°, Π΄Π° ΠΈ Π²Π΅ΡΠΎΡΡΠ½ΠΎΡΡΡ ΡΠΈΠΊΠΎΡΠ΅ΡΠ° ΡΠ²Π΅Π»ΠΈΡΠΈΡΡΡ. ΠΠ°ΠΆΠ΅ ΠΏΠΎΡΠ»Π΅ ΠΏΠΎΡΠ²Π»Π΅Π½ΠΈΡ Π² Π±ΠΎΠ΅ΠΊΠΎΠΌΠΏΠ»Π΅ΠΊΡΠ°Ρ ΡΠ°Π½ΠΊΠΎΠ²ΡΡ ΠΈ ΠΏΡΠΎΡΠΈΠ²ΠΎΡΠ°Π½ΠΊΠΎΠ²ΡΡ ΠΏΡΡΠ΅ΠΊ Π±ΡΠΎΠ½Π΅Π±ΠΎΠΉΠ½ΡΡ ΡΠ½Π°ΡΡΠ΄ΠΎΠ² Ρ ΠΆΠ΅ΡΡΠΊΠΈΠΌ Π½Π΅ΡΠ°Π·ΡΡΡΠ°ΡΡΠΈΠΌΡΡ ΡΠ΅ΡΠ΄Π΅ΡΠ½ΠΈΠΊΠΎΠΌ ΠΌΠ°Π»ΠΎ ΡΡΠΎ ΠΈΠ·ΠΌΠ΅Π½ΠΈΠ»ΠΎΡΡ.
Π‘ΠΌΠ΅ΡΡΠ΅Π»ΡΠ½ΡΠΉ ΠΏΠ»Π΅Π²ΠΎΠΊ
ΠΠ΄Π½Π°ΠΊΠΎ ΡΠΆΠ΅ Π² Π½Π°ΡΠ°Π»Π΅ ΠΡΠΎΡΠΎΠΉ ΠΌΠΈΡΠΎΠ²ΠΎΠΉ Π² ΠΏΠΎΡΠ°ΠΆΠ°ΡΡΠΈΡ ΡΠ²ΠΎΠΉΡΡΠ²Π°Ρ Π±ΠΎΠ΅ΠΏΡΠΈΠΏΠ°ΡΠΎΠ² ΠΏΡΠΎΠΈΠ·ΠΎΡΠ»Π° ΡΠ΅Π²ΠΎΠ»ΡΡΠΈΡ: ΠΏΠΎΡΠ²ΠΈΠ»ΠΈΡΡ ΠΊΡΠΌΡΠ»ΡΡΠΈΠ²Π½ΡΠ΅ ΡΠ½Π°ΡΡΠ΄Ρ. Π 1941 Π³ΠΎΠ΄Ρ Hohlladungsgeschoss (Β«ΡΠ½Π°ΡΡΠ΄ Ρ Π²ΡΠ΅ΠΌΠΊΠΎΠΉ Π² Π·Π°ΡΡΠ΄Π΅Β») Π½Π°ΡΠ°Π»ΠΈ ΠΏΡΠΈΠΌΠ΅Π½ΡΡΡ Π½Π΅ΠΌΠ΅ΡΠΊΠΈΠ΅ Π°ΡΡΠΈΠ»Π»Π΅ΡΠΈΡΡΡ, Π° Π² 1942-ΠΌ ΠΈ Π² Π‘Π‘Π‘Π Π±ΡΠ» ΠΏΡΠΈΠ½ΡΡ Π½Π° Π²ΠΎΠΎΡΡΠΆΠ΅Π½ΠΈΠ΅ 76-ΠΌΠΌ ΡΠ½Π°ΡΡΠ΄ ΠΠ-350Π, ΡΠ°Π·ΡΠ°Π±ΠΎΡΠ°Π½Π½ΡΠΉ ΠΏΠΎΡΠ»Π΅ ΠΈΠ·ΡΡΠ΅Π½ΠΈΡ ΡΡΠΎΡΠ΅ΠΉΠ½ΡΡ ΠΎΠ±ΡΠ°Π·ΡΠΎΠ². Π’Π°ΠΊ Π±ΡΠ»ΠΈ ΡΡΡΡΠΎΠ΅Π½Ρ ΠΈ Π·Π½Π°ΠΌΠ΅Π½ΠΈΡΡΠ΅ ΡΠ°ΡΡΡ-ΠΏΠ°ΡΡΠΎΠ½Ρ. ΠΠΎΠ·Π½ΠΈΠΊΠ»Π° ΠΏΡΠΎΠ±Π»Π΅ΠΌΠ°, Π½Π΅ ΡΠ°Π·ΡΠ΅ΡΠΈΠΌΠ°Ρ ΡΡΠ°Π΄ΠΈΡΠΈΠΎΠ½Π½ΡΠΌΠΈ ΡΠΏΠΎΡΠΎΠ±Π°ΠΌΠΈ ΠΈΠ·-Π·Π° Π½Π΅ΠΏΡΠΈΠ΅ΠΌΠ»Π΅ΠΌΠΎΠ³ΠΎ ΡΠ²Π΅Π»ΠΈΡΠ΅Π½ΠΈΡ ΠΌΠ°ΡΡΡ ΡΠ°Π½ΠΊΠ°.

ΠΠ»Π΅ΠΌΠ΅Π½ΡΡ Π΄ΠΈΠ½Π°ΠΌΠΈΡΠ΅ΡΠΊΠΎΠΉ Π·Π°ΡΠΈΡΡ (ΠΠΠ) ΠΡΠ΅Π΄ΡΡΠ°Π²Π»ΡΡΡ ΡΠΎΠ±ΠΎΠΉ Β«ΡΡΠ½Π΄Π²ΠΈΡΠΈΒ» ΠΈΠ· Π΄Π²ΡΡ ΠΌΠ΅ΡΠ°Π»Π»ΠΈΡΠ΅ΡΠΊΠΈΡ ΠΏΠ»Π°ΡΡΠΈΠ½ ΠΈ Π²Π·ΡΡΠ²ΡΠ°ΡΠΎΠ³ΠΎ Π²Π΅ΡΠ΅ΡΡΠ²Π°. ΠΠΠ ΠΏΠΎΠΌΠ΅ΡΠ΅Π½Ρ Π² ΠΊΠΎΠ½ΡΠ΅ΠΉΠ½Π΅ΡΡ, ΠΊΡΡΡΠΊΠΈ ΠΊΠΎΡΠΎΡΡΡ Π·Π°ΡΠΈΡΠ°ΡΡ ΠΈΡ ΠΎΡ Π²Π½Π΅ΡΠ½ΠΈΡ Π²ΠΎΠ·Π΄Π΅ΠΉΡΡΠ²ΠΈΠΉ ΠΈ ΠΎΠ΄Π½ΠΎΠ²ΡΠ΅ΠΌΠ΅Π½Π½ΠΎ ΠΏΡΠ΅Π΄ΡΡΠ°Π²Π»ΡΡΡ ΡΠΎΠ±ΠΎΠΉ ΠΌΠ΅ΡΠ°Π΅ΠΌΡΠ΅ ΡΠ»Π΅ΠΌΠ΅Π½ΡΡ.
Π Π³ΠΎΠ»ΠΎΠ²Π½ΠΎΠΉ ΡΠ°ΡΡΠΈ ΠΊΡΠΌΡΠ»ΡΡΠΈΠ²Π½ΠΎΠ³ΠΎ Π±ΠΎΠ΅ΠΏΡΠΈΠΏΠ°ΡΠ° ΡΠ΄Π΅Π»Π°Π½Π° ΠΊΠΎΠ½ΠΈΡΠ΅ΡΠΊΠ°Ρ Π²ΡΠ΅ΠΌΠΊΠ° Π² Π²ΠΈΠ΄Π΅ ΠΎΠ±Π»ΠΈΡΠΎΠ²Π°Π½Π½ΠΎΠΉ ΡΠΎΠ½ΠΊΠΈΠΌ ΡΠ»ΠΎΠ΅ΠΌ ΠΌΠ΅ΡΠ°Π»Π»Π° Π²ΠΎΡΠΎΠ½ΠΊΠΈ (ΡΠ°ΡΡΡΡΠ±ΠΎΠΌ Π²ΠΏΠ΅ΡΠ΅Π΄). ΠΠ΅ΡΠΎΠ½Π°ΡΠΈΡ Π²Π·ΡΡΠ²ΡΠ°ΡΠΎΠ³ΠΎ Π²Π΅ΡΠ΅ΡΡΠ²Π° Π½Π°ΡΠΈΠ½Π°Π΅ΡΡΡ ΡΠΎ ΡΡΠΎΡΠΎΠ½Ρ, Π±Π»ΠΈΠΆΠ°ΠΉΡΠ΅ΠΉ ΠΊ Π²Π΅ΡΡΠΈΠ½Π΅ Π²ΠΎΡΠΎΠ½ΠΊΠΈ. ΠΠ΅ΡΠΎΠ½Π°ΡΠΈΠΎΠ½Π½Π°Ρ Π²ΠΎΠ»Π½Π° Β«ΡΡ Π»ΠΎΠΏΡΠ²Π°Π΅ΡΒ» Π²ΠΎΡΠΎΠ½ΠΊΡ ΠΊ ΠΎΡΠΈ ΡΠ½Π°ΡΡΠ΄Π°, Π° ΠΏΠΎΡΠΊΠΎΠ»ΡΠΊΡ Π΄Π°Π²Π»Π΅Π½ΠΈΠ΅ ΠΏΡΠΎΠ΄ΡΠΊΡΠΎΠ² Π²Π·ΡΡΠ²Π° (ΠΏΠΎΡΡΠΈ ΠΏΠΎΠ»ΠΌΠΈΠ»Π»ΠΈΠΎΠ½Π° Π°ΡΠΌΠΎΡΡΠ΅Ρ) ΠΏΡΠ΅Π²ΡΡΠ°Π΅Ρ ΠΏΡΠ΅Π΄Π΅Π» ΠΏΠ»Π°ΡΡΠΈΡΠ΅ΡΠΊΠΎΠΉ Π΄Π΅ΡΠΎΡΠΌΠ°ΡΠΈΠΈ ΠΎΠ±ΠΊΠ»Π°Π΄ΠΊΠΈ, ΠΏΠΎΡΠ»Π΅Π΄Π½ΡΡ Π½Π°ΡΠΈΠ½Π°Π΅Ρ Π²Π΅ΡΡΠΈ ΡΠ΅Π±Ρ ΠΊΠ°ΠΊ ΠΊΠ²Π°Π·ΠΈΠΆΠΈΠ΄ΠΊΠΎΡΡΡ. Π’Π°ΠΊΠΎΠΉ ΠΏΡΠΎΡΠ΅ΡΡ Π½Π΅ ΠΈΠΌΠ΅Π΅Ρ Π½ΠΈΡΠ΅Π³ΠΎ ΠΎΠ±ΡΠ΅Π³ΠΎ Ρ ΠΏΠ»Π°Π²Π»Π΅Π½ΠΈΠ΅ΠΌ, ΡΡΠΎ ΠΈΠΌΠ΅Π½Π½ΠΎ Β«Ρ ΠΎΠ»ΠΎΠ΄Π½ΠΎΠ΅Β» ΡΠ΅ΡΠ΅Π½ΠΈΠ΅ ΠΌΠ°ΡΠ΅ΡΠΈΠ°Π»Π°. ΠΠ· ΡΡ Π»ΠΎΠΏΡΠ²Π°ΡΡΠ΅ΠΉΡΡ Π²ΠΎΡΠΎΠ½ΠΊΠΈ Π²ΡΠ΄Π°Π²Π»ΠΈΠ²Π°Π΅ΡΡΡ ΡΠΎΠ½ΠΊΠ°Ρ (ΡΡΠ°Π²Π½ΠΈΠΌΠ°Ρ Ρ ΡΠΎΠ»ΡΠΈΠ½ΠΎΠΉ ΠΎΠ±ΠΎΠ»ΠΎΡΠΊΠΈ) ΠΊΡΠΌΡΠ»ΡΡΠΈΠ²Π½Π°Ρ ΡΡΡΡΡ, ΠΊΠΎΡΠΎΡΠ°Ρ ΡΠ°Π·Π³ΠΎΠ½ΡΠ΅ΡΡΡ Π΄ΠΎ ΡΠΊΠΎΡΠΎΡΡΠ΅ΠΉ ΠΏΠΎΡΡΠ΄ΠΊΠ° ΡΠΊΠΎΡΠΎΡΡΠΈ Π΄Π΅ΡΠΎΠ½Π°ΡΠΈΠΈ ΠΠ (Π° ΠΈΠ½ΠΎΠ³Π΄Π° ΠΈ Π²ΡΡΠ΅), ΡΠΎ Π΅ΡΡΡ ΠΎΠΊΠΎΠ»ΠΎ 10 ΠΊΠΌ/Ρ ΠΈ Π±ΠΎΠ»Π΅Π΅. Π‘ΠΊΠΎΡΠΎΡΡΡ ΠΊΡΠΌΡΠ»ΡΡΠΈΠ²Π½ΠΎΠΉ ΡΡΡΡΠΈ ΡΡΡΠ΅ΡΡΠ²Π΅Π½Π½ΠΎ ΠΏΡΠ΅Π²ΡΡΠ°Π΅Ρ ΡΠΊΠΎΡΠΎΡΡΡ ΡΠ°ΡΠΏΡΠΎΡΡΡΠ°Π½Π΅Π½ΠΈΡ Π·Π²ΡΠΊΠ° Π² ΠΌΠ°ΡΠ΅ΡΠΈΠ°Π»Π΅ Π±ΡΠΎΠ½ΠΈ (ΠΏΠΎΡΡΠ΄ΠΊΠ° 4 ΠΊΠΌ/Ρ). ΠΠΎΡΡΠΎΠΌΡ Π²Π·Π°ΠΈΠΌΠΎΠ΄Π΅ΠΉΡΡΠ²ΠΈΠ΅ ΡΡΡΡΠΈ ΠΈ Π±ΡΠΎΠ½ΠΈ ΠΏΡΠΎΠΈΡΡ ΠΎΠ΄ΠΈΡ ΠΏΠΎ Π·Π°ΠΊΠΎΠ½Π°ΠΌ Π³ΠΈΠ΄ΡΠΎΠ΄ΠΈΠ½Π°ΠΌΠΈΠΊΠΈ, ΡΠΎ Π΅ΡΡΡ ΠΎΠ½ΠΈ Π²Π΅Π΄ΡΡ ΡΠ΅Π±Ρ ΠΊΠ°ΠΊ ΠΆΠΈΠ΄ΠΊΠΎΡΡΠΈ: ΡΡΡΡΡ Π²ΠΎΠ²ΡΠ΅ Π½Π΅ ΠΏΡΠΎΠΆΠΈΠ³Π°Π΅Ρ Π±ΡΠΎΠ½Ρ (ΡΡΠΎ ΡΠΈΡΠΎΠΊΠΎ ΡΠ°ΡΠΏΡΠΎΡΡΡΠ°Π½Π΅Π½Π½ΠΎΠ΅ Π·Π°Π±Π»ΡΠΆΠ΄Π΅Π½ΠΈΠ΅), Π° ΠΏΡΠΎΠ½ΠΈΠΊΠ°Π΅Ρ Π² Π½Π΅Π΅, ΠΏΠΎΠ΄ΠΎΠ±Π½ΠΎ ΡΠΎΠΌΡ ΠΊΠ°ΠΊ ΡΡΡΡΡ Π²ΠΎΠ΄Ρ ΠΏΠΎΠ΄ Π΄Π°Π²Π»Π΅Π½ΠΈΠ΅ΠΌ ΡΠ°Π·ΠΌΡΠ²Π°Π΅Ρ ΠΏΠ΅ΡΠΎΠΊ.
Π‘Π»ΠΎΠ΅Π½Π°Ρ Π·Π°ΡΠΈΡΠ°
ΠΠ΅ΡΠ²ΠΎΠΉ Π·Π°ΡΠΈΡΠΎΠΉ ΠΎΡ ΠΊΡΠΌΡΠ»ΡΡΠΈΠ²Π½ΡΡ Π±ΠΎΠ΅ΠΏΡΠΈΠΏΠ°ΡΠΎΠ² ΡΡΠ°Π»ΠΎ ΠΏΡΠΈΠΌΠ΅Π½Π΅Π½ΠΈΠ΅ ΡΠΊΡΠ°Π½ΠΎΠ² (Π΄Π²ΡΡ ΠΏΡΠ΅Π³ΡΠ°Π΄Π½ΠΎΠΉ Π±ΡΠΎΠ½ΠΈ). ΠΡΠΌΡΠ»ΡΡΠΈΠ²Π½Π°Ρ ΡΡΡΡΡ ΡΠΎΡΠΌΠΈΡΡΠ΅ΡΡΡ Π½Π΅ ΠΌΠ³Π½ΠΎΠ²Π΅Π½Π½ΠΎ, Π΄Π»Ρ Π΅Π΅ ΠΌΠ°ΠΊΡΠΈΠΌΠ°Π»ΡΠ½ΠΎΠΉ ΡΡΡΠ΅ΠΊΡΠΈΠ²Π½ΠΎΡΡΠΈ Π²Π°ΠΆΠ½ΠΎ Π²Π·ΠΎΡΠ²Π°ΡΡ Π·Π°ΡΡΠ΄ Π½Π° ΠΎΠΏΡΠΈΠΌΠ°Π»ΡΠ½ΠΎΠΌ ΡΠ°ΡΡΡΠΎΡΠ½ΠΈΠΈ ΠΎΡ Π±ΡΠΎΠ½ΠΈ (ΡΠΎΠΊΡΡΠ½ΠΎΠ΅ ΡΠ°ΡΡΡΠΎΡΠ½ΠΈΠ΅). ΠΡΠ»ΠΈ ΠΏΠ΅ΡΠ΅Π΄ ΠΎΡΠ½ΠΎΠ²Π½ΠΎΠΉ Π±ΡΠΎΠ½Π΅ΠΉ ΠΏΠΎΠΌΠ΅ΡΡΠΈΡΡ ΡΠΊΡΠ°Π½ ΠΈΠ· Π΄ΠΎΠΏΠΎΠ»Π½ΠΈΡΠ΅Π»ΡΠ½ΡΡ Π»ΠΈΡΡΠΎΠ² ΠΌΠ΅ΡΠ°Π»Π»Π°, ΡΠΎ ΠΏΠΎΠ΄ΡΡΠ² ΠΏΡΠΎΠΈΠ·ΠΎΠΉΠ΄Π΅Ρ ΡΠ°Π½ΡΡΠ΅ ΠΈ ΡΡΡΠ΅ΠΊΡΠΈΠ²Π½ΠΎΡΡΡ Π²ΠΎΠ·Π΄Π΅ΠΉΡΡΠ²ΠΈΡ ΡΠ½ΠΈΠ·ΠΈΡΡΡ. ΠΠΎ Π²ΡΠ΅ΠΌΡ ΠΡΠΎΡΠΎΠΉ ΠΌΠΈΡΠΎΠ²ΠΎΠΉ Π΄Π»Ρ Π·Π°ΡΠΈΡΡ ΠΎΡ ΡΠ°ΡΡΡΠΏΠ°ΡΡΠΎΠ½ΠΎΠ² ΡΠ°Π½ΠΊΠΈΡΡΡ ΠΊΡΠ΅ΠΏΠΈΠ»ΠΈ Π½Π° ΡΠ²ΠΎΠΈ ΠΌΠ°ΡΠΈΠ½Ρ ΡΠΎΠ½ΠΊΠΈΠ΅ ΠΌΠ΅ΡΠ°Π»Π»ΠΈΡΠ΅ΡΠΊΠΈΠ΅ Π»ΠΈΡΡΡ ΠΈ ΡΠ΅ΡΡΠ°ΡΡΠ΅ ΡΠΊΡΠ°Π½Ρ (ΡΠ°ΡΠΏΡΠΎΡΡΡΠ°Π½Π΅Π½Π° Π±Π°ΠΉΠΊΠ° ΠΎΠ± ΠΈΡΠΏΠΎΠ»ΡΠ·ΠΎΠ²Π°Π½ΠΈΠΈ Π² ΡΡΠΎΠΌ ΠΊΠ°ΡΠ΅ΡΡΠ²Π΅ ΠΏΠ°Π½ΡΠΈΡΠ½ΡΡ ΠΊΡΠΎΠ²Π°ΡΠ΅ΠΉ, Ρ ΠΎΡΡ Π² ΡΠ΅Π°Π»ΡΠ½ΠΎΡΡΠΈ ΠΏΡΠΈΠΌΠ΅Π½ΡΠ»ΠΈΡΡ ΡΠΏΠ΅ΡΠΈΠ°Π»ΡΠ½ΡΠ΅ ΡΠ΅ΡΠΊΠΈ). ΠΠΎ ΡΠ°ΠΊΠΎΠ΅ ΡΠ΅ΡΠ΅Π½ΠΈΠ΅ Π±ΡΠ»ΠΎ Π½Π΅ ΡΠ»ΠΈΡΠΊΠΎΠΌ ΡΡΡΠ΅ΠΊΡΠΈΠ²Π½ΡΠΌ β ΠΏΡΠΈΡΠΎΡΡ ΡΡΠΎΠΉΠΊΠΎΡΡΠΈ ΡΠΎΡΡΠ°Π²Π»ΡΠ» Π² ΡΡΠ΅Π΄Π½Π΅ΠΌ Π²ΡΠ΅Π³ΠΎ 9β18%.
ΠΠ°ΠΏΠ°Π΄Π½ΡΠ΅ Π°Π½Π°Π»ΠΎΠ³ΠΈ
ΠΠ½ΠΎΡΡΡΠ°Π½Π½ΡΠ΅ ΠΎΠ±ΡΠ°Π·ΡΡ ΠΠ ΠΎΡΠ½ΠΎΠ²Π°Π½Ρ Π½Π° ΡΠ°ΠΌΡΡ ΡΠ°Π·Π½ΡΡ ΠΌΠ°ΡΠ΅ΡΠΈΠ°Π»Π°Ρ ΠΈ ΠΏΡΠΈΠ½ΡΠΈΠΏΠ°Ρ .
ΠΠ΅ΡΠ²ΡΠΉ ΡΠΈΠΏ β ΡΡΠ°Π΄ΠΈΡΠΈΠΎΠ½Π½ΡΠ΅ ΠΊΠΎΠΌΠΏΠ»Π΅ΠΊΡΡ ΠΠ Ρ ΠΈΡΠΏΠΎΠ»ΡΠ·ΠΎΠ²Π°Π½ΠΈΠ΅ΠΌ ΠΎΠ±ΡΡΠ½ΡΡ ΠΠ. ΠΠ°ΠΊ ΠΏΡΠ°-Π²ΠΈΠ»ΠΎ, ΡΡΠΎ ΠΠ ΠΏΠ΅ΡΠ²ΡΡ ΠΏΠΎΠΊΠΎΠ»Π΅Π½ΠΈΠΉ ΠΈ ΠΠ Π½ΠΎΠ²ΡΡ ΡΠ°Π·ΡΠ°Π±ΠΎΡΠΎΠΊ ΠΠΈΡΠ°Ρ, ΠΠ°ΠΊΠΈΡΡΠ°Π½Π°, ΠΡΠ°Π½Π°. Π Π½ΠΈΠΌ ΠΎΡΠ½ΠΎΡΡΡΡΡ Blazer, SuperBlazer (ΠΠ·ΡΠ°ΠΈΠ»Ρ), ERAWA (ΠΠΎΠ»ΡΡΠ°), Dyna (Π§Π΅Ρ ΠΈΡ), Brenus (Π€ΡΠ°Π½ΡΠΈΡ), SABLIN (ΠΡΠΏΠ°Π½ΠΈΡ) ΠΈ Π΄ΡΡΠ³ΠΈΠ΅. ΠΠ΄Π΅Ρ ΠΏΠΎΡΡΠΎΡΠ½Π½ΠΎΠ΅ ΡΠΎΠ²Π΅ΡΡΠ΅Π½ΡΡΠ²ΠΎΠ²Π°Π½ΠΈΠ΅ ΡΠ°ΠΊΠΈΡ ΡΠΈΡΡΠ΅ΠΌ, ΠΏΠΎΡΠΊΠΎΠ»ΡΠΊΡ ΠΏΡΠΈ ΡΡΡΠ°Π½ΠΎΠ²ΠΊΠ΅ ΠΈΡ Π½Π° Π»Π΅Π³ΠΊΠΎΠ±ΡΠΎΠ½ΠΈΡΠΎΠ²Π°Π½Π½ΡΡ ΡΠ΅Ρ Π½ΠΈΠΊΡ ΡΡΠ΅ΡΠ± ΠΎΡ ΠΈΡ ΡΡΠ°Π±Π°ΡΡΠ²Π°Π½ΠΈΡ ΡΠ°ΠΌ ΠΏΠΎ ΡΠ΅Π±Π΅ ΠΎΠΊΠ°Π·ΡΠ²Π°Π΅ΡΡΡ ΡΠ°Π·ΡΡΡΠΈΡΠ΅Π»ΡΠ½ΡΠΌ.
ΠΡΠΎΡΠΎΠΉ ΡΠΈΠΏ β ΠΠ Ρ ΠΈΡΠΏΠΎΠ»ΡΠ·ΠΎΠ²Π°Π½ΠΈΠ΅ΠΌ ΡΠΏΠ΅ΡΠΈΠ°Π»ΡΠ½ΡΡ ΠΠ: ΠΌΠ°Π»ΠΎΠΏΠ»ΠΎΡΠ½ΡΡ , Ρ Π½ΠΈΠ·ΠΊΠΎΠΉ ΡΠΊΠΎΡΠΎ-ΡΡΡΡ Π³ΠΎΡΠ΅Π½ΠΈΡ, ΠΌΠ°Π»ΠΎΡΡΠ²ΡΡΠ²ΠΈΡΠ΅Π»ΡΠ½ΡΡ . Π’Π°ΠΊΠΈΠ΅ ΠΠ ΠΈΡΠΏΠΎΠ»ΡΠ·ΡΡΡ ΠΠ Ρ ΡΠ°Π·Π»ΠΈΡΠ½ΡΠΌΠΈ Π΄ΠΎΠ±Π°Π²ΠΊΠ°ΠΌΠΈ, ΡΠΏΠ΅ΡΠΈΠ°Π»ΡΠ½ΡΠΌΠΈ Π½Π°ΠΏΠΎΠ»Π½ΠΈΡΠ΅Π»ΡΠΌΠΈ Π² Π²ΠΈΠ΄Π΅ ΠΌΠΈΠΊΡΠΎΡΡΠ΅Ρ, Π½Π΅ΠΌΠ΅ΡΠ°Π»Π»ΠΈΡΠ΅ΡΠΊΠΈΠΌΠΈ ΠΌΠ΅ΡΠ°Π΅ΠΌΡΠΌΠΈ ΡΠ»Π΅ΠΌΠ΅Π½-ΡΠ°ΠΌΠΈ, ΡΡΠΎ ΠΏΠΎΠ·Π²ΠΎΠ»ΡΠ΅Ρ ΡΠ½ΠΈΠ·ΠΈΡΡ ΠΏΠΎΠ±ΠΎΡΠ½ΡΠ΅ ΡΡΡΠ΅ΠΊΡΡ ΠΈ ΡΠ°Π·ΠΌΠ΅ΡΠ°ΡΡ ΡΠ°ΠΊΠΈΠ΅ ΠΊΠΎΠΌΠΏΠ»Π΅ΠΊΡΡ Π½Π° Π»Π΅Π³-ΠΊΠΎΠ±ΡΠΎΠ½ΠΈΡΠΎΠ²Π°Π½Π½ΠΎΠΉ ΡΠ΅Ρ Π½ΠΈΠΊΠ΅. ΠΠ ΡΡΠΎΠΉ Π³ΡΡΠΏΠΏΡ ΡΠ°ΡΠ΅ ΠΏΡΠΈΠΌΠ΅Π½ΡΡΡΡΡ ΠΊΠ°ΠΊ ΠΎΡΠ½ΠΎΠ²Π½Π°Ρ ΡΠΎΡΡΠ°Π²Π»ΡΡΡΠ°Ρ Π² Π³ΠΈΠ±ΡΠΈΠ΄Π½ΡΡ ΡΠΈΡΡΠ΅ΠΌΠ°Ρ Π·Π°ΡΠΈΡΡ, Π² ΠΊΠΎΠΌΠΏΠ»Π΅ΠΊΡΠ΅ Ρ Π΄ΡΡΠ³ΠΈΠΌΠΈ ΡΠΈΠΏΠ°ΠΌΠΈ ΠΠ ΠΈΠ»ΠΈ Π΄ΠΎΠΏΠΎΠ»Π½ΠΈΡΠ΅Π»ΡΠ½ΠΎΠΉ ΠΏΠ°ΡΡΠΈΠ²Π½ΠΎΠΉ Π±ΡΠΎΠ½Π΅ΠΉ. ΠΡΠ΅Π΄ΡΡΠ°Π²ΠΈΡΠ΅Π»ΡΠΌΠΈ ΡΠ²Π»ΡΡΡΡΡ Clara (ΠΠ΅ΡΠΌΠ°Π½ΠΈΡ), IRA, LERA, L-VAS (ΠΠ·ΡΠ°-ΠΈΠ»Ρ).
ΠΠ ΡΡΠ΅ΡΡΠ΅Π³ΠΎ ΡΠΈΠΏΠ° Π²ΠΎΠΎΠ±ΡΠ΅ Π½Π΅ ΠΈΡΠΏΠΎΠ»ΡΠ·ΡΠ΅Ρ ΠΠ, ΠΈΡ Π΄Π΅ΠΉΡΡΠ²ΠΈΠ΅ ΠΎΡΠ½ΠΎΠ²Π°Π½ΠΎ Π½Π° ΡΠ½Π΅ΡΠ³Π΅ΡΠΈΡΠ΅ΡΠΊΠΈΡ ΡΠ²ΠΎΠΉΡΡΠ²Π°Ρ ΠΏΡΠΈΠΌΠ΅Π½ΡΠ΅ΠΌΡΡ ΠΌΠ°ΡΠ΅ΡΠΈΠ°Π»ΠΎΠ² (ΠΏΠΎΠ»ΠΈΠΊΠ°ΡΠ±ΠΎΠ½Π°Ρ, ΠΏΠΎΠ»ΠΈΡΡΠ΅ΡΠ°Π½, ΡΠΈΠ»ΠΈΠΊΠΎΠ½ ΠΈ ΠΏΡ.), ΠΈ ΠΏΠΎΠ±ΠΎΡ-Π½ΡΠ΅ ΡΡΡΠ΅ΠΊΡΡ Ρ ΡΠ°ΠΊΠΈΡ ΡΠΈΡΡΠ΅ΠΌ ΠΌΠΈΠ½ΠΈΠΌΠ°Π»ΡΠ½Ρ. ΠΠΎΡΡΠΎΠΌΡ ΠΎΠ½ΠΈ ΠΈΡΠΏΠΎΠ»ΡΠ·ΡΡΡΡΡ Π² ΠΏΠ΅ΡΠ²ΡΡ ΠΎΡΠ΅ΡΠ΅Π΄Ρ Π½Π° ΡΠ»Π°Π±ΠΎΠ·Π°ΡΠΈΡΠ΅Π½Π½ΠΎΠΉ ΡΠ΅Ρ Π½ΠΈΠΊΠ΅, Π½Π°ΠΏΡΠΈΠΌΠ΅Ρ Π² ΡΠΎΡΡΠ°Π²Π΅ Π³ΠΈΠ±ΡΠΈΠ΄Π½ΠΎΠΉ Π±ΡΠΎΠ½ΠΈ. Π ΠΊΠ°ΡΠ΅ΡΡΠ²Π΅ ΡΠ°ΠΌΠΎΡΡΠΎΡ-ΡΠ΅Π»ΡΠ½ΠΎΠ³ΠΎ Π²ΠΈΠ΄Π° Π·Π°ΡΠΈΡΡ ΡΡΠΎΡ ΡΠΈΠΏ ΠΠ ΠΏΡΠΈΠΌΠ΅Π½Π΅Π½ Π½Π° ΠΈΠ·ΡΠ°ΠΈΠ»ΡΡΠΊΠΈΡ ΡΠ°Π½ΠΊΠ°Ρ ΠΠ΅ΡΠΊΠ°Π²Π°-III ΠΈ ΠΠ΅ΡΠΊΠ°-Π²Π°-IV, Π³Π΄Π΅ ΠΎΠ½Π° Π²ΡΠΏΠΎΠ»Π½Π΅Π½Π° Π² Π²ΠΈΠ΄Π΅ ΡΠΊΡΠ°Π½ΠΎΠ² ΠΈΠ· ΠΎΡΠ³ΡΡΠ΅ΠΊΠ»Π° ΡΠΎΠ»ΡΠΈΠ½ΠΎΠΉ 100 ΠΌΠΌ. Π§Π°ΡΡΠΎ Π² ΠΊΠ°ΡΠ΅ΡΡΠ²Π΅ ΡΠ½Π΅ΡΠ³Π΅ΡΠΈΡΠ΅ΡΠΊΠΎΠ³ΠΎ ΡΠΎΡΡΠ°Π²Π° ΠΏΡΠΈΠΌΠ΅Π½ΡΠ΅ΡΡΡ ΡΠΈΠ»ΠΈΠΊΠΎΠ½, Π° Π² ΠΊΠ°ΡΠ΅ΡΡΠ²Π΅ ΠΊΠ°ΡΠ°Π»ΠΈΠ·Π°ΡΠΎΡΠΎΠ² β ΠΎΠΊΠΈΡΠ»Ρ ΠΌΠ΅-ΡΠ°Π»Π»ΠΎΠ². Π ΡΠΎΡΡΠ°Π² ΡΠ°ΠΊΠΆΠ΅ Π²Π²ΠΎΠ΄ΡΡ ΠΌΠΈΠΊΡΠΎΡΡΠ΅ΡΡ Π΄Π»Ρ ΠΏΠΎΠ²ΡΡΠ΅Π½ΠΈΡ ΡΡΠ²ΡΡΠ²ΠΈΡΠ΅Π»ΡΠ½ΠΎΡΡΠΈ. ΠΡΠΎΡ ΡΠΈΠΏ ΠΠ Π·Π° ΡΡΠ±Π΅ΠΆΠΎΠΌ ΡΠ°ΡΡΠΌΠ°ΡΡΠΈΠ²Π°Π΅ΡΡΡ ΠΊΠ°ΠΊ Π½Π°ΠΈΠ±ΠΎΠ»Π΅Π΅ ΠΏΠ΅ΡΡΠΏΠ΅ΠΊΡΠΈΠ²Π½ΡΠΉ, ΡΠ°ΠΊ ΠΊΠ°ΠΊ Π»Π΅Π³ΠΊΠΎ ΡΠΎΡΠ΅ΡΠ°Π΅ΡΡΡ Ρ Π΄ΡΡΠ³ΠΈΠΌΠΈ Π²ΠΈΠ΄Π°ΠΌΠΈ Π·Π°ΡΠΈΡΡ. ΠΡΠ΅Π΄ΡΡΠ°Π²ΠΈΡΠ΅Π»ΠΈ β RUAG (Π¨Π²Π΅ΠΉΡΠ°ΡΠΈΡ), NxTRA (Π‘Π¨Π).
ΠΠ ΡΠ΅ΡΠ²Π΅ΡΡΠΎΠ³ΠΎ ΡΠΈΠΏΠ° Π½Π΅ ΡΠΎΠ΄Π΅ΡΠΆΠ°Ρ ΡΠ½Π΅ΡΠ³Π΅ΡΠΈΡΠ΅ΡΠΊΠΈΡ ΠΌΠ°ΡΠ΅ΡΠΈΠ°Π»ΠΎΠ² ΠΈ ΠΈΡΠΏΠΎΠ»ΡΠ·ΡΡΡ ΡΠ½Π΅ΡΠ³ΠΈΡ ΡΠ°ΠΌΠΎΠΉ ΡΡΡΡΠΈ ΠΈΠ»ΠΈ ΡΠ½Π°ΡΡΠ΄Π°. ΠΡΠΎ ΠΎΡΡΠ°ΠΆΠ°ΡΡΠ°Ρ Π±ΡΠΎΠ½Ρ, ΡΡΠ΅ΠΈΡΡΠ°Ρ Π±ΡΠΎΠ½Ρ, Π° ΡΠ°ΠΊΠΆΠ΅ ΠΎΡΠΊΠΎΠ»ΡΠ½Π°Ρ Π±ΡΠΎ-Π½Ρ. Π ΠΏΠΎΡΠ»Π΅Π΄Π½Π΅ΠΉ ΡΡΠ»ΡΠ½Π°Ρ ΡΡΠΎΡΠΎΠ½Π° Π»ΠΈΡΡΠΎΠ² ΠΈΠΌΠ΅Π΅Ρ ΡΠΏΠ΅ΡΠΈΠ°Π»ΡΠ½ΡΠΉ ΡΠ΅Π»ΡΠ΅Ρ, ΠΊΠΎΡΠΎΡΡΠΉ ΠΏΡΠΈ ΠΏΠΎΠΏΠ°Π΄Π°-Π½ΠΈΠΈ ΠΊΡΠΌΡΠ»ΡΡΠΈΠ²Π½ΠΎΠΉ ΡΡΡΡΠΈ ΡΠΎΡΠΌΠΈΡΡΠ΅Ρ ΠΏΠΎΡΠΎΠΊ ΠΎΡΠΊΠΎΠ»ΠΊΠΎΠ², Π½Π°ΡΠ΅Π»Π΅Π½Π½ΡΠΉ Π½Π° ΡΠ°Π·ΡΡΡΠ΅Π½ΠΈΠ΅ ΡΠ°ΠΌΠΎΠΉ ΡΡΡΡΠΈ. Π’Π°ΠΊΠΈΠ΅ ΡΠΈΡΡΠ΅ΠΌΡ Π² Π ΠΎΡΡΠΈΠΈ ΡΠΆΠ΅ Π½Π΅ ΡΠ°ΡΡΠΌΠ°ΡΡΠΈΠ²Π°ΡΡΡΡ ΠΊΠ°ΠΊ ΠΏΠ΅ΡΡΠΏΠ΅ΠΊΡΠΈΠ²Π½ΡΠ΅, Ρ ΠΎΡΡ Π·Π° ΡΡΠ±Π΅-ΠΆΠΎΠΌ ΠΈΠΌ ΠΏΠΎ-ΠΏΡΠ΅ΠΆΠ½Π΅ΠΌΡ ΡΠ΄Π΅Π»ΡΡΡ Π²Π½ΠΈΠΌΠ°Π½ΠΈΠ΅. Π₯Π°ΡΠ°ΠΊΡΠ΅ΡΠ½ΡΠΉ ΠΏΡΠ΅Π΄ΡΡΠ°Π²ΠΈΡΠ΅Π»Ρ β NERA (ΠΠ·ΡΠ°ΠΈΠ»Ρ). ΠΡΠΎ Β«ΠΏΠΈΡΠΎΠ³Β», ΡΠΎΡΡΠΎΡΡΠΈΠΉ ΠΈΠ· ΠΊΠΎΠΌΠΏΠΎΠ·ΠΈΡΠΈΠΈ Β«ΠΊΠ΅ΡΠ°ΠΌΠΈΠΊΠ°-ΡΠ΅Π·ΠΈΠ½Π°-ΡΡΠ°Π»ΡΒ», ΡΠΈΡΠΎΠΊΠΎ ΠΈΡΠΏΠΎΠ»ΡΠ·ΡΠ΅ΡΡΡ Π² Π³ΠΈΠ±ΡΠΈΠ΄Π½ΡΡ ΡΠΈΡΡΠ΅ΠΌΠ°Ρ .
Π‘Π°ΠΌΡΠΌ ΠΏΠ΅ΡΡΠΏΠ΅ΠΊΡΠΈΠ²Π½ΡΠΌ ΠΌΠ΅ΡΠΎΠ΄ΠΎΠΌ Π·Π° ΡΡΠ±Π΅ΠΆΠΎΠΌ ΡΡΠΈΡΠ°Π΅ΡΡΡ ΠΏΡΠΈΠΌΠ΅Π½Π΅Π½ΠΈΠ΅ Π³ΠΈΠ±ΡΠΈΠ΄Π½ΠΎΠΉ Π±ΡΠΎΠ½ΠΈ, Ρ. Π΅. Π±ΡΠΎΠ½ΠΈ, Π² ΡΠ°Π·Π½ΡΡ ΠΊΠΎΠΌΠ±ΠΈΠ½Π°ΡΠΈΡΡ Π²ΠΊΠ»ΡΡΠ°ΡΡΠ΅ΠΉ Π² ΡΠ΅Π±Ρ Π½Π°ΡΠΊΠΎΠ»ΡΠΊΠΎ ΡΠΈΠΏΠΎΠ² Π·Π°ΡΠΈΡΡ. Π‘Π΅Π³ΠΎΠ΄Π½Ρ Π»ΡΡΡΠΈΠΌΠΈ ΡΠ²Π»ΡΡΡΡΡ ASPRO (ΠΠ·ΡΠ°ΠΈΠ»Ρ, Π΄Π»Ρ M2 ΠΈ Π³ΡΡΠ·ΠΎΠ²ΠΈΠΊΠΎΠ²), ARAT (Π‘Π¨Π, Π΄Π»Ρ ΡΠ°Π½ΠΊΠΎΠ² Π1), BRAT (Π‘Π¨Π, Π΄Π»Ρ ΠΠΠ Bradley).
ΠΠΎΡΡΠΎΠΌΡ ΠΏΡΠΈ ΡΠ°Π·ΡΠ°Π±ΠΎΡΠΊΠ΅ Π½ΠΎΠ²ΠΎΠ³ΠΎ ΠΏΠΎΠΊΠΎΠ»Π΅Π½ΠΈΡ ΡΠ°Π½ΠΊΠΎΠ² (Π’-64, Π’-72, Π’-80) ΠΊΠΎΠ½ΡΡΡΡΠΊΡΠΎΡΡ ΠΏΡΠΈΠΌΠ΅Π½ΠΈΠ»ΠΈ Π΄ΡΡΠ³ΠΎΠ΅ ΡΠ΅ΡΠ΅Π½ΠΈΠ΅ β ΠΌΠ½ΠΎΠ³ΠΎΡΠ»ΠΎΠΉΠ½ΡΡ Π±ΡΠΎΠ½Ρ. ΠΠ½Π° ΡΠΎΡΡΠΎΡΠ»Π° ΠΈΠ· Π΄Π²ΡΡ ΡΠ»ΠΎΠ΅Π² ΡΡΠ°Π»ΠΈ, ΠΌΠ΅ΠΆΠ΄Ρ ΠΊΠΎΡΠΎΡΡΠΌΠΈ ΠΏΠΎΠΌΠ΅ΡΠ°Π»ΡΡ ΡΠ»ΠΎΠΉ ΠΌΠ°Π»ΠΎΠΏΠ»ΠΎΡΠ½ΠΎΠ³ΠΎ Π½Π°ΠΏΠΎΠ»Π½ΠΈΡΠ΅Π»Ρ β ΡΡΠ΅ΠΊΠ»ΠΎΠΏΠ»Π°ΡΡΠΈΠΊΠ° ΠΈΠ»ΠΈ ΠΊΠ΅ΡΠ°ΠΌΠΈΠΊΠΈ. Π’Π°ΠΊΠΎΠΉ Β«ΠΏΠΈΡΠΎΠ³Β» Π΄Π°Π²Π°Π» Π²ΡΠΈΠ³ΡΡΡ Π² ΡΡΠ°Π²Π½Π΅Π½ΠΈΠΈ Ρ ΠΌΠΎΠ½ΠΎΠ»ΠΈΡΠ½ΠΎΠΉ ΡΡΠ°Π»ΡΠ½ΠΎΠΉ Π±ΡΠΎΠ½Π΅ΠΉ Π΄ΠΎ 30%. ΠΠ΄Π½Π°ΠΊΠΎ ΡΡΠΎΡ ΡΠΏΠΎΡΠΎΠ± Π±ΡΠ» Π½Π΅ΠΏΡΠΈΠΌΠ΅Π½ΠΈΠΌ Π΄Π»Ρ Π±Π°ΡΠ½ΠΈ: Ρ ΡΡΠΈΡ ΠΌΠΎΠ΄Π΅Π»Π΅ΠΉ ΠΎΠ½Π° Π»ΠΈΡΠ°Ρ ΠΈ ΠΏΠΎΠΌΠ΅ΡΡΠΈΡΡ Π²Π½ΡΡΡΡ ΡΡΠ΅ΠΊΠ»ΠΎΠΏΠ»Π°ΡΡΠΈΠΊ ΡΠ»ΠΎΠΆΠ½ΠΎ Ρ ΡΠ΅Ρ Π½ΠΎΠ»ΠΎΠ³ΠΈΡΠ΅ΡΠΊΠΎΠΉ ΡΠΎΡΠΊΠΈ Π·ΡΠ΅Π½ΠΈΡ. ΠΠΎΠ½ΡΡΡΡΠΊΡΠΎΡΡ ΠΠΠΠ-100 (Π½ΡΠ½Π΅ ΠΠΠΠ Β«Π’ΡΠ°Π½ΡΠΌΠ°ΡΒ») ΠΏΡΠ΅Π΄Π»ΠΎΠΆΠΈΠ»ΠΈ Π²ΠΏΠ»Π°Π²Π»ΡΡΡ Π²Π½ΡΡΡΡ Π±Π°ΡΠ΅Π½Π½ΠΎΠΉ Π±ΡΠΎΠ½ΠΈ ΡΠ°ΡΡ ΠΈΠ· ΡΠ»ΡΡΡΠ°ΡΠ°ΡΡΠΎΡΠ°, ΡΠ΄Π΅Π»ΡΠ½Π°Ρ ΡΡΡΡΠ΅Π³Π°ΡΡΡΠ°Ρ ΡΠΏΠΎΡΠΎΠ±Π½ΠΎΡΡΡ ΠΊΠΎΡΠΎΡΠΎΠ³ΠΎ Π² 2β2,5 ΡΠ°Π·Π° Π²ΡΡΠ΅, ΡΠ΅ΠΌ Ρ Π±ΡΠΎΠ½Π΅Π²ΠΎΠΉ ΡΡΠ°Π»ΠΈ. Π‘ΠΏΠ΅ΡΠΈΠ°Π»ΠΈΡΡΡ ΠΠΠ ΡΡΠ°Π»ΠΈ Π²ΡΠ±ΡΠ°Π»ΠΈ Π΄ΡΡΠ³ΠΎΠΉ Π²Π°ΡΠΈΠ°Π½Ρ: ΠΌΠ΅ΠΆΠ΄Ρ Π²Π½Π΅ΡΠ½ΠΈΠΌ ΠΈ Π²Π½ΡΡΡΠ΅Π½Π½ΠΈΠΌ ΡΠ»ΠΎΡΠΌΠΈ Π±ΡΠΎΠ½ΠΈ ΠΏΠΎΠΌΠ΅ΡΠ°Π»ΠΈΡΡ ΠΏΠ°ΠΊΠ΅ΡΡ ΠΈΠ· Π²ΡΡΠΎΠΊΠΎΠΏΡΠΎΡΠ½ΠΎΠΉ ΡΠ²Π΅ΡΠ΄ΠΎΠΉ ΡΡΠ°Π»ΠΈ. ΠΠ½ΠΈ ΠΏΡΠΈΠ½ΠΈΠΌΠ°Π»ΠΈ Π½Π° ΡΠ΅Π±Ρ ΡΠ΄Π°Ρ ΠΎΡΠ»Π°Π±Π»Π΅Π½Π½ΠΎΠΉ ΠΊΡΠΌΡΠ»ΡΡΠΈΠ²Π½ΠΎΠΉ ΡΡΡΡΠΈ Π½Π° ΡΠΊΠΎΡΠΎΡΡΡΡ , ΠΊΠΎΠ³Π΄Π° Π²Π·Π°ΠΈΠΌΠΎΠ΄Π΅ΠΉΡΡΠ²ΠΈΠ΅ ΠΏΡΠΎΠΈΡΡ ΠΎΠ΄ΠΈΡ ΡΠΆΠ΅ Π½Π΅ ΠΏΠΎ Π·Π°ΠΊΠΎΠ½Π°ΠΌ Π³ΠΈΠ΄ΡΠΎΠ΄ΠΈΠ½Π°ΠΌΠΈΠΊΠΈ, Π° Π² Π·Π°Π²ΠΈΡΠΈΠΌΠΎΡΡΠΈ ΠΎΡ ΡΠ²Π΅ΡΠ΄ΠΎΡΡΠΈ ΠΌΠ°ΡΠ΅ΡΠΈΠ°Π»Π°.
ΠΠΎΠ»ΡΠ°ΠΊΡΠΈΠ²Π½Π°Ρ Π±ΡΠΎΠ½Ρ
Π₯ΠΎΡΡ Π·Π°ΡΠΎΡΠΌΠΎΠ·ΠΈΡΡ ΠΊΡΠΌΡΠ»ΡΡΠΈΠ²Π½ΡΡ ΡΡΡΡΡ Π΄ΠΎΡΡΠ°ΡΠΎΡΠ½ΠΎ Π½Π΅ΠΏΡΠΎΡΡΠΎ, ΠΎΠ½Π° ΡΡΠ·Π²ΠΈΠΌΠ° Π² ΠΏΠΎΠΏΠ΅ΡΠ΅ΡΠ½ΠΎΠΌ Π½Π°ΠΏΡΠ°Π²Π»Π΅Π½ΠΈΠΈ ΠΈ Π»Π΅Π³ΠΊΠΎ ΠΌΠΎΠΆΠ΅Ρ Π±ΡΡΡ ΡΠ°Π·ΡΡΡΠ΅Π½Π° Π΄Π°ΠΆΠ΅ ΡΠ»Π°Π±ΡΠΌ Π±ΠΎΠΊΠΎΠ²ΡΠΌ Π²ΠΎΠ·Π΄Π΅ΠΉΡΡΠ²ΠΈΠ΅ΠΌ. ΠΠΎΡΡΠΎΠΌΡ Π΄Π°Π»ΡΠ½Π΅ΠΉΡΠ΅Π΅ ΡΠ°Π·Π²ΠΈΡΠΈΠ΅ ΡΠ΅Ρ Π½ΠΎΠ»ΠΎΠ³ΠΈΠΈ ΡΠΎΡΡΠΎΡΠ»ΠΎ Π² ΡΠΎΠΌ, ΡΡΠΎ ΠΊΠΎΠΌΠ±ΠΈΠ½ΠΈΡΠΎΠ²Π°Π½Π½Π°Ρ Π±ΡΠΎΠ½Ρ Π»ΠΎΠ±ΠΎΠ²ΡΡ ΠΈ Π±ΠΎΡΡΠΎΠ²ΡΡ ΡΠ°ΡΡΠ΅ΠΉ Π»ΠΈΡΠΎΠΉ Π±Π°ΡΠ½ΠΈ ΠΎΠ±ΡΠ°Π·ΠΎΠ²ΡΠ²Π°Π»Π°ΡΡ Π·Π° ΡΡΠ΅Ρ ΠΎΡΠΊΡΡΡΠΎΠΉ ΡΠ²Π΅ΡΡ Ρ ΠΏΠΎΠ»ΠΎΡΡΠΈ, Π·Π°ΠΏΠΎΠ»Π½Π΅Π½Π½ΠΎΠΉ ΡΠ»ΠΎΠΆΠ½ΡΠΌ Π½Π°ΠΏΠΎΠ»Π½ΠΈΡΠ΅Π»Π΅ΠΌ; ΡΠ²Π΅ΡΡ Ρ ΠΏΠΎΠ»ΠΎΡΡΡ Π·Π°ΠΊΡΡΠ²Π°Π»Π°ΡΡ ΠΏΡΠΈΠ²Π°ΡΠ½ΡΠΌΠΈ Π·Π°Π³Π»ΡΡΠΊΠ°ΠΌΠΈ. ΠΠ°ΡΠ½ΠΈ ΡΠ°ΠΊΠΎΠΉ ΠΊΠΎΠ½ΡΡΡΡΠΊΡΠΈΠΈ ΠΏΡΠΈΠΌΠ΅Π½ΡΠ»ΠΈΡΡ Π½Π° Π±ΠΎΠ»Π΅Π΅ ΠΏΠΎΠ·Π΄Π½ΠΈΡ ΠΌΠΎΠ΄ΠΈΡΠΈΠΊΠ°ΡΠΈΡΡ ΡΠ°Π½ΠΊΠΎΠ² β Π’-72Π, Π’-80Π£ ΠΈ Π’-80Π£Π. ΠΡΠΈΠ½ΡΠΈΠΏ Π΄Π΅ΠΉΡΡΠ²ΠΈΡ Π²ΡΡΠ°Π²ΠΎΠΊ Π±ΡΠ» ΡΠ°Π·Π½ΡΠΌ, Π½ΠΎ ΠΈΡΠΏΠΎΠ»ΡΠ·ΠΎΠ²Π°Π» ΡΠΏΠΎΠΌΡΠ½ΡΡΡΡ Β«Π±ΠΎΠΊΠΎΠ²ΡΡ ΡΡΠ·Π²ΠΈΠΌΠΎΡΡΡΒ» ΠΊΡΠΌΡΠ»ΡΡΠΈΠ²Π½ΠΎΠΉ ΡΡΡΡΠΈ. Π’Π°ΠΊΡΡ Π±ΡΠΎΠ½Ρ ΠΏΡΠΈΠ½ΡΡΠΎ ΠΎΡΠ½ΠΎΡΠΈΡΡ ΠΊ Β«ΠΏΠΎΠ»ΡΠ°ΠΊΡΠΈΠ²Π½ΡΠΌΒ» ΡΠΈΡΡΠ΅ΠΌΠ°ΠΌ Π·Π°ΡΠΈΡΡ, ΠΏΠΎΡΠΊΠΎΠ»ΡΠΊΡ Π² Π½ΠΈΡ ΠΈΡΠΏΠΎΠ»ΡΠ·ΡΠ΅ΡΡΡ ΡΠ½Π΅ΡΠ³ΠΈΡ ΡΠ°ΠΌΠΎΠ³ΠΎ ΡΡΠ΅Π΄ΡΡΠ²Π° ΠΏΠΎΡΠ°ΠΆΠ΅Π½ΠΈΡ.
ΠΡΠΈΠ½ΡΠΈΠΏΡ ΠΏΠΎΠ»ΡΠ°ΠΊΡΠΈΠ²Π½ΠΎΠΉ Π·Π°ΡΠΈΡΡ Ρ ΠΈΡΠΏΠΎΠ»ΡΠ·ΠΎΠ²Π°Π½ΠΈΠ΅ΠΌ ΡΠ½Π΅ΡΠ³ΠΈΠΈ ΡΠ°ΠΌΠΎΠΉ ΡΡΡΡΠΈ
Π―ΡΠ΅ΠΈΡΡΠ°Ρ Π±ΡΠΎΠ½Ρ, ΡΡΠ΅ΠΉΠΊΠΈ ΠΊΠΎΡΠΎΡΠΎΠΉ Π·Π°ΠΏΠΎΠ»Π½Π΅Π½Ρ ΠΊΠ²Π°Π·ΠΈΠΆΠΈΠ΄ΠΊΠΈΠΌ Π²Π΅ΡΠ΅ΡΡΠ²ΠΎΠΌ (ΠΏΠΎΠ»ΠΈΡΡΠ΅ΡΠ°Π½, ΠΏΠΎΠ»ΠΈΡΡΠΈΠ»Π΅Π½). Π£Π΄Π°ΡΠ½Π°Ρ Π²ΠΎΠ»Π½Π° ΠΊΡΠΌΡΠ»ΡΡΠΈΠ²Π½ΠΎΠΉ ΡΡΡΡΠΈ ΠΎΡΡΠ°ΠΆΠ°Π΅ΡΡΡ ΠΎΡ ΡΡΠ΅Π½ΠΎΠΊ ΠΈ ΡΡ Π»ΠΎΠΏΡΠ²Π°Π΅Ρ ΠΊΠ°Π²Π΅ΡΠ½Ρ, Π²ΡΠ·ΡΠ²Π°Ρ ΡΠ°Π·ΡΡΡΠ΅Π½ΠΈΠ΅ ΡΡΡΡΠΈ. ΠΠ° ΡΠΎΡΠΎ: Π±ΡΠΎΠ½Ρ Ρ ΠΎΡΡΠ°ΠΆΠ°ΡΡΠΈΠΌΠΈ Π»ΠΈΡΡΠ°ΠΌΠΈ. ΠΠ° ΡΡΠ΅Ρ Π²ΡΠΏΡΡΠΈΠ²Π°Π½ΠΈΡ ΡΡΠ»ΡΠ½ΠΎΠΉ ΠΏΠΎΠ²Π΅ΡΡ Π½ΠΎΡΡΠΈ ΠΈ ΠΏΡΠΎΠΊΠ»Π°Π΄ΠΊΠΈ ΡΠΎΠ½ΠΊΠ°Ρ ΠΏΠ»Π°ΡΡΠΈΠ½Π° ΡΠΌΠ΅ΡΠ°Π΅ΡΡΡ, Π½Π°Π±Π΅Π³Π°Ρ Π½Π° ΡΡΡΡΡ ΠΈ ΡΠ°Π·ΡΡΡΠ°Ρ Π΅Π΅. Π’Π°ΠΊΠΈΠ΅ ΡΠΏΠΎΡΠΎΠ±Ρ ΡΠ²Π΅Π»ΠΈΡΠΈΠ²Π°ΡΡ ΠΏΡΠΎΡΠΈΠ²ΠΎΠΊΡΠΌΡΠ»ΡΡΠΈΠ²Π½ΡΡ ΡΡΠΎΠΉΠΊΠΎΡΡΡ Π½Π° 30β40%.
ΠΠ΄ΠΈΠ½ ΠΈΠ· Π²Π°ΡΠΈΠ°Π½ΡΠΎΠ² ΡΠ°ΠΊΠΈΡ ΡΠΈΡΡΠ΅ΠΌ β ΡΡΠ΅ΠΈΡΡΠ°Ρ Π±ΡΠΎΠ½Ρ, ΠΏΡΠΈΠ½ΡΠΈΠΏ Π΄Π΅ΠΉΡΡΠ²ΠΈΡ ΠΊΠΎΡΠΎΡΠΎΠΉ Π±ΡΠ» ΠΏΡΠ΅Π΄Π»ΠΎΠΆΠ΅Π½ ΡΠΎΡΡΡΠ΄Π½ΠΈΠΊΠ°ΠΌΠΈ ΠΠ½ΡΡΠΈΡΡΡΠ° Π³ΠΈΠ΄ΡΠΎΠ΄ΠΈΠ½Π°ΠΌΠΈΠΊΠΈ Π‘ΠΈΠ±ΠΈΡΡΠΊΠΎΠ³ΠΎ ΠΎΡΠ΄Π΅Π»Π΅Π½ΠΈΡ ΠΠ Π‘Π‘Π‘Π . ΠΡΠΎΠ½Ρ ΡΠΎΡΡΠΎΠΈΡ ΠΈΠ· Π½Π°Π±ΠΎΡΠ° ΠΏΠΎΠ»ΠΎΡΡΠ΅ΠΉ, Π·Π°ΠΏΠΎΠ»Π½Π΅Π½Π½ΡΡ ΠΊΠ²Π°Π·ΠΈΠΆΠΈΠ΄ΠΊΠΈΠΌ Π²Π΅ΡΠ΅ΡΡΠ²ΠΎΠΌ (ΠΏΠΎΠ»ΠΈΡΡΠ΅ΡΠ°Π½, ΠΏΠΎΠ»ΠΈΡΡΠΈΠ»Π΅Π½). ΠΡΠΌΡΠ»ΡΡΠΈΠ²Π½Π°Ρ ΡΡΡΡΡ, ΠΏΠΎΠΏΠ°Π² Π² ΡΠ°ΠΊΠΎΠΉ ΠΎΠ±ΡΠ΅ΠΌ, ΠΎΠ³ΡΠ°Π½ΠΈΡΠ΅Π½Π½ΡΠΉ ΠΌΠ΅ΡΠ°Π»Π»ΠΈΡΠ΅ΡΠΊΠΈΠΌΠΈ ΡΡΠ΅Π½ΠΊΠ°ΠΌΠΈ, Π³Π΅Π½Π΅ΡΠΈΡΡΠ΅Ρ Π² ΠΊΠ²Π°Π·ΠΈΠΆΠΈΠ΄ΠΊΠΎΡΡΠΈ ΡΠ΄Π°ΡΠ½ΡΡ Π²ΠΎΠ»Π½Ρ, ΠΊΠΎΡΠΎΡΠ°Ρ, ΠΎΡΡΠ°ΠΆΠ°ΡΡΡ ΠΎΡ ΡΡΠ΅Π½ΠΎΠΊ, Π²ΠΎΠ·Π²ΡΠ°ΡΠ°Π΅ΡΡΡ ΠΊ ΠΎΡΠΈ ΡΡΡΡΠΈ ΠΈ ΡΡ Π»ΠΎΠΏΡΠ²Π°Π΅Ρ ΠΊΠ°Π²Π΅ΡΠ½Ρ, Π²ΡΠ·ΡΠ²Π°Ρ ΡΠΎΡΠΌΠΎΠΆΠ΅Π½ΠΈΠ΅ ΠΈ ΡΠ°Π·ΡΡΡΠ΅Π½ΠΈΠ΅ ΡΡΡΡΠΈ. Π’Π°ΠΊΠΎΠΉ ΡΠΈΠΏ Π±ΡΠΎΠ½ΠΈ ΠΎΠ±Π΅ΡΠΏΠ΅ΡΠΈΠ²Π°Π΅Ρ Π²ΡΠΈΠ³ΡΡΡ ΠΏΠΎ ΠΏΡΠΎΡΠΈΠ²ΠΎΠΊΡΠΌΡΠ»ΡΡΠΈΠ²Π½ΠΎΠΉ ΡΡΠΎΠΉΠΊΠΎΡΡΠΈ Π΄ΠΎ 30β40%.
ΠΡΠ΅ ΠΎΠ΄ΠΈΠ½ Π²Π°ΡΠΈΠ°Π½Ρ β Π±ΡΠΎΠ½Ρ Ρ ΠΎΡΡΠ°ΠΆΠ°ΡΡΠΈΠΌΠΈ Π»ΠΈΡΡΠ°ΠΌΠΈ. ΠΡΠΎ ΡΡΠ΅Ρ ΡΠ»ΠΎΠΉΠ½Π°Ρ ΠΏΡΠ΅Π³ΡΠ°Π΄Π°, ΡΠΎΡΡΠΎΡΡΠ°Ρ ΠΈΠ· ΠΏΠ»ΠΈΡΡ, ΠΏΡΠΎΠΊΠ»Π°Π΄ΠΊΠΈ ΠΈ ΡΠΎΠ½ΠΊΠΎΠΉ ΠΏΠ»Π°ΡΡΠΈΠ½Ρ. Π‘ΡΡΡΡ, ΠΏΡΠΎΠ½ΠΈΠΊΠ°Ρ Π² ΠΏΠ»ΠΈΡΡ, ΡΠΎΠ·Π΄Π°Π΅Ρ Π½Π°ΠΏΡΡΠΆΠ΅Π½ΠΈΡ, ΠΏΡΠΈΠ²ΠΎΠ΄ΡΡΠΈΠ΅ ΡΠ½Π°ΡΠ°Π»Π° ΠΊ ΠΌΠ΅ΡΡΠ½ΠΎΠΌΡ Π²ΡΠΏΡΡΠΈΠ²Π°Π½ΠΈΡ ΡΡΠ»ΡΠ½ΠΎΠΉ ΠΏΠΎΠ²Π΅ΡΡ Π½ΠΎΡΡΠΈ, Π° Π·Π°ΡΠ΅ΠΌ ΠΊ Π΅Π΅ ΡΠ°Π·ΡΡΡΠ΅Π½ΠΈΡ.
ΠΡΠΈ ΡΡΠΎΠΌ ΠΏΡΠΎΠΈΡΡ ΠΎΠ΄ΠΈΡ Π·Π½Π°ΡΠΈΡΠ΅Π»ΡΠ½ΠΎΠ΅ Π²ΡΠΏΡΡΠΈΠ²Π°Π½ΠΈΠ΅ ΠΏΡΠΎΠΊΠ»Π°Π΄ΠΊΠΈ ΠΈ ΡΠΎΠ½ΠΊΠΎΠ³ΠΎ Π»ΠΈΡΡΠ°. ΠΠΎΠ³Π΄Π° ΡΡΡΡΡ ΠΏΡΠΎΠ±ΠΈΠ²Π°Π΅Ρ ΠΏΡΠΎΠΊΠ»Π°Π΄ΠΊΡ ΠΈ ΡΠΎΠ½ΠΊΡΡ ΠΏΠ»Π°ΡΡΠΈΠ½Ρ, ΠΏΠΎΡΠ»Π΅Π΄Π½ΡΡ ΡΠΆΠ΅ Π½Π°ΡΠ°Π»Π° Π΄Π²ΠΈΠΆΠ΅Π½ΠΈΠ΅ Π² ΡΡΠΎΡΠΎΠ½Ρ ΠΎΡ ΡΡΠ»ΡΠ½ΠΎΠΉ ΠΏΠΎΠ²Π΅ΡΡ Π½ΠΎΡΡΠΈ ΠΏΠ»ΠΈΡΡ. ΠΠΎΡΠΊΠΎΠ»ΡΠΊΡ ΠΌΠ΅ΠΆΠ΄Ρ Π½Π°ΠΏΡΠ°Π²Π»Π΅Π½ΠΈΡΠΌΠΈ Π΄Π²ΠΈΠΆΠ΅Π½ΠΈΡ ΡΡΡΡΠΈ ΠΈ ΡΠΎΠ½ΠΊΠΎΠΉ ΠΏΠ»Π°ΡΡΠΈΠ½Ρ ΠΈΠΌΠ΅Π΅ΡΡΡ Π½Π΅ΠΊΠΎΡΠΎΡΡΠΉ ΡΠ³ΠΎΠ», ΡΠΎ Π² ΠΊΠ°ΠΊΠΎΠΉ-ΡΠΎ ΠΌΠΎΠΌΠ΅Π½Ρ Π²ΡΠ΅ΠΌΠ΅Π½ΠΈ ΠΏΠ»Π°ΡΡΠΈΠ½Π° Π½Π°ΡΠΈΠ½Π°Π΅Ρ Π½Π°Π±Π΅Π³Π°ΡΡ Π½Π° ΡΡΡΡΡ, ΡΠ°Π·ΡΡΡΠ°Ρ Π΅Π΅. Π ΡΡΠ°Π²Π½Π΅Π½ΠΈΠΈ Ρ ΠΌΠΎΠ½ΠΎΠ»ΠΈΡΠ½ΠΎΠΉ Π±ΡΠΎΠ½Π΅ΠΉ ΡΠΎΠΉ ΠΆΠ΅ ΠΌΠ°ΡΡΡ ΡΡΡΠ΅ΠΊΡ ΠΎΡ ΠΈΡΠΏΠΎΠ»ΡΠ·ΠΎΠ²Π°Π½ΠΈΡ Β«ΠΎΡΡΠ°ΠΆΠ°ΡΡΠΈΡ Β» Π»ΠΈΡΡΠΎΠ² ΠΌΠΎΠΆΠ΅Ρ Π΄ΠΎΡΡΠΈΠ³Π°ΡΡ 40%.
Π ΠΎΡΡΠΈΡ ΠΈ ΠΠ°ΠΏΠ°Π΄
Π‘Π»Π΅Π΄ΡΠ΅Ρ Π·Π°ΠΌΠ΅ΡΠΈΡΡ, ΡΡΠΎ ΡΠΎΡΡΠΈΠΉΡΠΊΠ°Ρ ΠΊΠΎΠ½ΡΠ΅ΠΏΡΠΈΡ ΠΏΡΠΈΠΌΠ΅Π½Π΅Π½ΠΈΡ Π΄ΠΈΠ½Π°ΠΌΠΈΡΠ΅ΡΠΊΠΎΠΉ Π·Π°ΡΠΈΡΡ ΠΊΠ°ΡΠ΄ΠΈΠ½Π°Π»ΡΠ½ΠΎ ΠΎΡΠ»ΠΈΡΠ°Π΅ΡΡΡ ΠΎΡ Π·Π°ΠΏΠ°Π΄Π½ΠΎΠΉ. Π Π ΠΎΡΡΠΈΠΈ ΠΠ β ΡΡΠΎ ΠΎΠ±ΡΠ·Π°ΡΠ΅Π»ΡΠ½Π°Ρ ΡΠΎΡΡΠ°Π²Π½Π°Ρ ΡΠ°ΡΡΡ ΠΊΠΎΠΌΠΏΠ»Π΅ΠΊΡΠ½ΠΎΠΉ Π±ΡΠΎΠ½Π΅Π·Π°ΡΠΈΡΡ, ΠΊΠΎΡΠΎΡΠ°Ρ ΠΈΡΠΏΠΎΠ»ΡΠ·ΡΠ΅ΡΡΡ Π½Π° Π²ΡΠ΅Ρ Π±Π΅Π· ΠΈΡΠΊΠ»ΡΡΠ΅Π½ΠΈΡ ΡΠΎΡΡΠΈΠΉΡΠΊΠΈΡ ΡΠ°Π½ΠΊΠ°Ρ . Π’ΡΠ΅Π±ΠΎΠ²Π°Π½ΠΈΡ ΠΊ ΡΡΠΎΠ²Π½Ρ Π·Π°ΡΠΈΡΡ ΠΏΠΎΡΡΠΎΡΠ½Π½ΠΎ ΡΠ°ΡΡΡΡ. Π ΡΠΎ ΠΆΠ΅ Π²ΡΠ΅ΠΌΡ Π½Π° Π»Π΅Π³ΠΊΠΎΠ±ΡΠΎΠ½ΠΈΡΠΎΠ²Π°Π½Π½ΠΎΠΉ ΡΠ΅Ρ Π½ΠΈΠΊΠ΅ ΠΎΠ½Π° ΠΏΠΎ ΡΠ°Π·Π½ΡΠΌ ΠΏΡΠΈΡΠΈΠ½Π°ΠΌ Π½Π΅ ΠΈΡΠΏΠΎΠ»ΡΠ·ΡΠ΅ΡΡΡ. Π Π·Π°ΠΏΠ°Π΄Π½ΡΡ ΡΡΡΠ°Π½Π°Ρ ΠΈΠ΄Π΅Ρ ΠΏΡΡΠΌΠΎ ΠΏΡΠΎΡΠΈΠ²ΠΎΠΏΠΎΠ»ΠΎΠΆΠ½ΡΠΉ ΠΏΡΠΎΡΠ΅ΡΡ. ΠΠΈΠ½Π°ΠΌΠΈΡΠ΅ΡΠΊΠ°Ρ Π·Π°ΡΠΈΡΠ° ΡΡΠ°Π½ΠΎΠ²ΠΈΡΡΡ ΠΎΠ±ΡΠ·Π°ΡΠ΅Π»ΡΠ½ΡΠΌ Π°ΡΡΠΈΠ±ΡΡΠΎΠΌ Π»Π΅Π³ΠΊΠΎΠ±ΡΠΎΠ½ΠΈΡΠΎΠ²Π°Π½Π½ΠΎΠΉ ΡΠ΅Ρ Π½ΠΈΠΊΠΈ, ΠΈ ΠΎΠ³ΡΠ°Π½ΠΈΡΠ΅Π½Π½ΠΎ ΠΈΡΠΏΠΎΠ»ΡΠ·ΡΠ΅ΡΡΡ Π½Π° ΡΠ°Π½ΠΊΠ°Ρ . ΠΡΠΈ ΡΡΠΎΠΌ ΡΡΠ΅Π±ΠΎΠ²Π°Π½ΠΈΡ ΠΊ ΡΡΠΎΠ²Π½Ρ Π·Π°ΡΠΈΡΡ ΠΎΠ³ΡΠ°Π½ΠΈΡΠ΅Π½Ρ 400 ΠΌΠΌ, Ρ. Π΅. ΠΏΡΠΎΡΠΈΠ² Π½Π°ΠΈΠ±ΠΎΠ»Π΅Π΅ ΠΌΠ°ΡΡΠΎΠ²ΠΎ ΠΏΡΠΈΠΌΠ΅Π½ΡΠ΅ΠΌΡΡ ΠΊΡΠΌΡΠ»ΡΡΠΈΠ²Π½ΡΡ ΡΡΠ΅Π΄ΡΡΠ² ΠΏΠΎΡΠ°ΠΆΠ΅Π½ΠΈΡ. ΠΡΠΎ ΠΌΠΎΠΆΠ½ΠΎ ΠΎΠ±ΡΡΡΠ½ΠΈΡΡ ΠΊΠ°ΠΊ ΡΠ°Π·Π»ΠΈΡΠΈΡΠΌΠΈ Π²ΠΎΠ΅Π½Π½ΠΎΠΉ Π΄ΠΎΠΊΡΡΠΈΠ½Ρ, ΡΠ°ΠΊ ΠΈ ΡΡΠ°Π΄ΠΈΡΠΈΠΎΠ½Π½ΠΎΠΉ ΡΠΎΡΡΠΈΠΉΡΠΊΠΎΠΉ Π½Π΅ΠΏΠΎΠ²ΠΎΡΠΎΡΠ»ΠΈΠ²ΠΎΡΡΡΡ.
Π‘Π»Π΅Π΄ΡΡΡΠΈΠΌ ΡΡΠΎΠ²Π΅ΡΡΠ΅Π½ΡΡΠ²ΠΎΠ²Π°Π½ΠΈΠ΅ΠΌ ΠΊΠΎΠ½ΡΡΡΡΠΊΡΠΈΠΈ Π±ΡΠ» ΠΏΠ΅ΡΠ΅Ρ ΠΎΠ΄ Π½Π° Π±Π°ΡΠ½ΠΈ ΡΠΎ ΡΠ²Π°ΡΠ½ΠΎΠΉ ΠΎΡΠ½ΠΎΠ²ΠΎΠΉ. Π‘ΡΠ°Π»ΠΎ ΡΡΠ½ΠΎ, ΡΡΠΎ ΡΠ°Π·ΡΠ°Π±ΠΎΡΠΊΠΈ ΠΏΠΎ ΡΠ²Π΅Π»ΠΈΡΠ΅Π½ΠΈΡ ΠΏΡΠΎΡΠ½ΠΎΡΡΠΈ ΠΊΠ°ΡΠ°Π½ΠΎΠΉ Π±ΡΠΎΠ½ΠΈ Π±ΠΎΠ»Π΅Π΅ ΠΏΠ΅ΡΡΠΏΠ΅ΠΊΡΠΈΠ²Π½Ρ. Π ΡΠ°ΡΡΠ½ΠΎΡΡΠΈ, Π² 1980-Ρ Π³ΠΎΠ΄Π°Ρ Π±ΡΠ»ΠΈ ΡΠ°Π·ΡΠ°Π±ΠΎΡΠ°Π½Ρ ΠΈ Π³ΠΎΡΠΎΠ²Ρ ΠΊ ΡΠ΅ΡΠΈΠΉΠ½ΠΎΠΌΡ ΠΏΡΠΎΠΈΠ·Π²ΠΎΠ΄ΡΡΠ²Ρ Π½ΠΎΠ²ΡΠ΅ ΡΡΠ°Π»ΠΈ ΠΏΠΎΠ²ΡΡΠ΅Π½Π½ΠΎΠΉ ΡΠ²Π΅ΡΠ΄ΠΎΡΡΠΈ: Π‘Π-2Π¨, Π‘Π-3Π¨. ΠΡΠΈΠΌΠ΅Π½Π΅Π½ΠΈΠ΅ Π±Π°ΡΠ΅Π½ Ρ ΠΎΡΠ½ΠΎΠ²ΠΎΠΉ ΠΈΠ· ΠΏΡΠΎΠΊΠ°ΡΠ° ΠΏΠΎΠ·Π²ΠΎΠ»ΠΈΠ»ΠΎ ΠΏΠΎΠ²ΡΡΠΈΡΡ Π·Π°ΡΠΈΡΠ½ΡΠΉ ΡΠΊΠ²ΠΈΠ²Π°Π»Π΅Π½Ρ ΠΏΠΎ ΠΎΡΠ½ΠΎΠ²Π΅ Π±Π°ΡΠ½ΠΈ. Π ΡΠ΅Π·ΡΠ»ΡΡΠ°ΡΠ΅ Π±Π°ΡΠ½Ρ Π΄Π»Ρ ΡΠ°Π½ΠΊΠ° Π’-72Π Ρ ΠΎΡΠ½ΠΎΠ²ΠΎΠΉ ΠΈΠ· ΠΏΡΠΎΠΊΠ°ΡΠ° ΠΎΠ±Π»Π°Π΄Π°Π»Π° ΡΠ²Π΅Π»ΠΈΡΠ΅Π½Π½ΡΠΌ Π²Π½ΡΡΡΠ΅Π½Π½ΠΈΠΌ ΠΎΠ±ΡΠ΅ΠΌΠΎΠΌ, ΡΠΎΡΡ ΠΌΠ°ΡΡΡ ΡΠΎΡΡΠ°Π²ΠΈΠ» 400 ΠΊΠ³ ΠΏΠΎ ΡΡΠ°Π²Π½Π΅Π½ΠΈΡ Ρ ΡΠ΅ΡΠΈΠΉΠ½ΠΎΠΉ Π»ΠΈΡΠΎΠΉ Π±Π°ΡΠ½Π΅ΠΉ ΡΠ°Π½ΠΊΠ° Π’-72Π. ΠΠ°ΠΊΠ΅Ρ Π½Π°ΠΏΠΎΠ»Π½ΠΈΡΠ΅Π»Ρ Π±Π°ΡΠ½ΠΈ Π²ΡΠΏΠΎΠ»Π½ΡΠ»ΡΡ Ρ ΠΏΡΠΈΠΌΠ΅Π½Π΅Π½ΠΈΠ΅ΠΌ ΠΊΠ΅ΡΠ°ΠΌΠΈΡΠ΅ΡΠΊΠΈΡ ΠΌΠ°ΡΠ΅ΡΠΈΠ°Π»ΠΎΠ² ΠΈ ΡΡΠ°Π»ΠΈ ΠΏΠΎΠ²ΡΡΠ΅Π½Π½ΠΎΠΉ ΡΠ²Π΅ΡΠ΄ΠΎΡΡΠΈ ΠΈΠ»ΠΈ ΠΈΠ· ΠΏΠ°ΠΊΠ΅ΡΠ° Π½Π° ΠΎΡΠ½ΠΎΠ²Π΅ ΡΡΠ°Π»ΡΠ½ΡΡ ΠΏΠ»Π°ΡΡΠΈΠ½ Ρ Β«ΠΎΡΡΠ°ΠΆΠ°ΡΡΠΈΠΌΠΈΒ» Π»ΠΈΡΡΠ°ΠΌΠΈ. ΠΠΊΠ²ΠΈΠ²Π°Π»Π΅Π½ΡΠ½Π°Ρ Π±ΡΠΎΠ½Π΅ΡΡΠΎΠΉΠΊΠΎΡΡΡ ΡΡΠ°Π»Π° ΡΠ°Π²Π½Π° 500β550 ΠΌΠΌ Π³ΠΎΠΌΠΎΠ³Π΅Π½Π½ΠΎΠΉ ΡΡΠ°Π»ΠΈ.
ΠΠ·ΡΡΠ² Π½Π°Π²ΡΡΡΠ΅ΡΡ
Π’Π΅ΠΌ Π²ΡΠ΅ΠΌΠ΅Π½Π΅ΠΌ ΡΠ΅Ρ Π½ΠΎΠ»ΠΎΠ³ΠΈΠΈ Π² ΠΎΠ±Π»Π°ΡΡΠΈ ΠΊΡΠΌΡΠ»ΡΡΠΈΠ²Π½ΡΡ Π±ΠΎΠ΅ΠΏΡΠΈΠΏΠ°ΡΠΎΠ² ΠΏΡΠΎΠ΄ΠΎΠ»ΠΆΠ°Π»ΠΈ ΡΠΎΠ²Π΅ΡΡΠ΅Π½ΡΡΠ²ΠΎΠ²Π°ΡΡΡΡ. ΠΡΠ»ΠΈ Π² Π³ΠΎΠ΄Ρ ΠΡΠΎΡΠΎΠΉ ΠΌΠΈΡΠΎΠ²ΠΎΠΉ Π²ΠΎΠΉΠ½Ρ Π±ΡΠΎΠ½Π΅ΠΏΡΠΎΠ±ΠΈΠ²Π°Π΅ΠΌΠΎΡΡΡ ΠΊΡΠΌΡΠ»ΡΡΠΈΠ²Π½ΡΡ ΡΠ½Π°ΡΡΠ΄ΠΎΠ² Π½Π΅ ΠΏΡΠ΅Π²ΡΡΠ°Π»Π° 4β5 ΠΊΠ°Π»ΠΈΠ±ΡΠΎΠ², ΡΠΎ ΠΏΠΎΠ·Π΄Π½Π΅Π΅ ΠΎΠ½Π° Π·Π½Π°ΡΠΈΡΠ΅Π»ΡΠ½ΠΎ Π²ΡΡΠΎΡΠ»Π°. Π’Π°ΠΊ, ΠΏΡΠΈ ΠΊΠ°Π»ΠΈΠ±ΡΠ΅ 100β105 ΠΌΠΌ ΠΎΠ½Π° ΡΠΆΠ΅ ΡΠΎΡΡΠ°Π²Π»ΡΠ»Π° 6β7 ΠΊΠ°Π»ΠΈΠ±ΡΠΎΠ² (Π² ΡΡΠ°Π»ΡΠ½ΠΎΠΌ ΡΠΊΠ²ΠΈΠ²Π°Π»Π΅Π½ΡΠ΅ 600β700 ΠΌΠΌ), ΠΏΡΠΈ ΠΊΠ°Π»ΠΈΠ±ΡΠ΅ 120β152 ΠΌΠΌ Π±ΡΠΎΠ½Π΅ΠΏΡΠΎΠ±ΠΈΠ²Π°Π΅ΠΌΠΎΡΡΡ ΡΠ΄Π°Π»ΠΎΡΡ ΠΏΠΎΠ΄Π½ΡΡΡ Π΄ΠΎ 8β10 ΠΊΠ°Π»ΠΈΠ±ΡΠΎΠ² (900β1200 ΠΌΠΌ Π³ΠΎΠΌΠΎΠ³Π΅Π½Π½ΠΎΠΉ ΡΡΠ°Π»ΠΈ). Π§ΡΠΎΠ±Ρ Π·Π°ΡΠΈΡΠΈΡΡΡΡ ΠΎΡ ΡΡΠΈΡ Π±ΠΎΠ΅ΠΏΡΠΈΠΏΠ°ΡΠΎΠ², ΡΡΠ΅Π±ΠΎΠ²Π°Π»ΠΎΡΡ ΠΊΠ°ΡΠ΅ΡΡΠ²Π΅Π½Π½ΠΎ Π½ΠΎΠ²ΠΎΠ΅ ΡΠ΅ΡΠ΅Π½ΠΈΠ΅.
Π Π°Π±ΠΎΡΡ Π½Π°Π΄ ΠΏΡΠΎΡΠΈΠ²ΠΎΠΊΡΠΌΡΠ»ΡΡΠΈΠ²Π½ΠΎΠΉ, ΠΈΠ»ΠΈ Β«Π΄ΠΈΠ½Π°ΠΌΠΈΡΠ΅ΡΠΊΠΎΠΉΒ», Π±ΡΠΎΠ½Π΅ΠΉ, ΠΎΡΠ½ΠΎΠ²Π°Π½Π½ΠΎΠΉ Π½Π° ΠΏΡΠΈΠ½ΡΠΈΠΏΠ΅ ΠΊΠΎΠ½ΡΡΠ²Π·ΡΡΠ²Π°, Π²Π΅Π»ΠΈΡΡ Π² Π‘Π‘Π‘Π Ρ 1950-Ρ Π³ΠΎΠ΄ΠΎΠ². Π 1970-ΠΌ Π΅Π΅ ΠΊΠΎΠ½ΡΡΡΡΠΊΡΠΈΡ ΡΠΆΠ΅ Π±ΡΠ»Π° ΠΎΡΡΠ°Π±ΠΎΡΠ°Π½Π° Π²ΠΎ ΠΠΠΠ ΡΡΠ°Π»ΠΈ, Π½ΠΎ ΠΏΡΠΈΠ½ΡΡΡ Π΅Π΅ Π½Π° Π²ΠΎΠΎΡΡΠΆΠ΅Π½ΠΈΠ΅ ΠΌΠ΅ΡΠ°Π»Π° ΠΏΡΠΈΡ ΠΎΠ»ΠΎΠ³ΠΈΡΠ΅ΡΠΊΠ°Ρ Π½Π΅ΠΏΠΎΠ΄Π³ΠΎΡΠΎΠ²Π»Π΅Π½Π½ΠΎΡΡΡ Π²ΡΡΠΎΠΊΠΎΠΏΠΎΡΡΠ°Π²Π»Π΅Π½Π½ΡΡ ΠΏΡΠ΅Π΄ΡΡΠ°Π²ΠΈΡΠ΅Π»Π΅ΠΉ Π°ΡΠΌΠΈΠΈ ΠΈ ΠΏΡΠΎΠΌΡΡΠ»Π΅Π½Π½ΠΎΡΡΠΈ. Π£Π±Π΅Π΄ΠΈΡΡ ΠΈΡ ΠΏΠΎΠΌΠΎΠ³Π»ΠΎ ΡΠΎΠ»ΡΠΊΠΎ ΡΡΠΏΠ΅ΡΠ½ΠΎΠ΅ ΠΏΡΠΈΠΌΠ΅Π½Π΅Π½ΠΈΠ΅ ΠΈΠ·ΡΠ°ΠΈΠ»ΡΡΠΊΠΈΠΌΠΈ ΡΠ°Π½ΠΊΠΈΡΡΠ°ΠΌΠΈ Π°Π½Π°Π»ΠΎΠ³ΠΈΡΠ½ΠΎΠΉ Π±ΡΠΎΠ½ΠΈ Π½Π° ΡΠ°Π½ΠΊΠ°Ρ Π48 ΠΈ Π60 Π² Ρ ΠΎΠ΄Π΅ Π°ΡΠ°Π±ΠΎ-ΠΈΠ·ΡΠ°ΠΈΠ»ΡΡΠΊΠΎΠΉ Π²ΠΎΠΉΠ½Ρ 1982 Π³ΠΎΠ΄Π°. ΠΠΎΡΠΊΠΎΠ»ΡΠΊΡ ΡΠ΅Ρ Π½ΠΈΡΠ΅ΡΠΊΠΈΠ΅, ΠΊΠΎΠ½ΡΡΡΡΠΊΡΠΎΡΡΠΊΠΈΠ΅ ΠΈ ΡΠ΅Ρ Π½ΠΎΠ»ΠΎΠ³ΠΈΡΠ΅ΡΠΊΠΈΠ΅ ΡΠ΅ΡΠ΅Π½ΠΈΡ Π±ΡΠ»ΠΈ ΠΏΠΎΠ»Π½ΠΎΡΡΡΡ ΠΏΠΎΠ΄Π³ΠΎΡΠΎΠ²Π»Π΅Π½Ρ, ΠΎΡΠ½ΠΎΠ²Π½ΠΎΠΉ ΡΠ°Π½ΠΊΠΎΠ²ΡΠΉ ΠΏΠ°ΡΠΊ Π‘ΠΎΠ²Π΅ΡΡΠΊΠΎΠ³ΠΎ Π‘ΠΎΡΠ·Π° Π±ΡΠ» ΠΎΡΠ½Π°ΡΠ΅Π½ ΠΏΡΠΎΡΠΈΠ²ΠΎΠΊΡΠΌΡΠ»ΡΡΠΈΠ²Π½ΠΎΠΉ Π΄ΠΈΠ½Π°ΠΌΠΈΡΠ΅ΡΠΊΠΎΠΉ Π·Π°ΡΠΈΡΠΎΠΉ (ΠΠ) Β«ΠΠΎΠ½ΡΠ°ΠΊΡ-1Β» Π² ΡΠ΅ΠΊΠΎΡΠ΄Π½ΡΠΉ ΡΡΠΎΠΊ β Π²ΡΠ΅Π³ΠΎ Π·Π° Π³ΠΎΠ΄. Π£ΡΡΠ°Π½ΠΎΠ²ΠΊΠ° ΠΠ Π½Π° ΡΠ°Π½ΠΊΠΈ Π’-64Π, Π’-72Π, Π’-80Π, ΠΈ Π±Π΅Π· ΡΠΎΠ³ΠΎ ΡΠΆΠ΅ ΠΎΠ±Π»Π°Π΄Π°Π²ΡΠΈΠ΅ Π΄ΠΎΡΡΠ°ΡΠΎΡΠ½ΠΎ ΠΌΠΎΡΠ½ΡΠΌ Π±ΡΠΎΠ½ΠΈΡΠΎΠ²Π°Π½ΠΈΠ΅ΠΌ, ΠΏΡΠ°ΠΊΡΠΈΡΠ΅ΡΠΊΠΈ ΠΎΠ΄Π½ΠΎΠΌΠΎΠΌΠ΅Π½ΡΠ½ΠΎ ΠΎΠ±Π΅ΡΡΠ΅Π½ΠΈΠ»Π° ΡΡΡΠ΅ΡΡΠ²ΠΎΠ²Π°Π²ΡΠΈΠ΅ Π°ΡΡΠ΅Π½Π°Π»Ρ ΠΏΡΠΎΡΠΈΠ²ΠΎΡΠ°Π½ΠΊΠΎΠ²ΠΎΠ³ΠΎ ΡΠΏΡΠ°Π²Π»ΡΠ΅ΠΌΠΎΠ³ΠΎ Π²ΠΎΠΎΡΡΠΆΠ΅Π½ΠΈΡ ΠΏΠΎΡΠ΅Π½ΡΠΈΠ°Π»ΡΠ½ΡΡ ΠΏΡΠΎΡΠΈΠ²Π½ΠΈΠΊΠΎΠ².
ΠΠ·ΡΡΠ²ΡΠ°ΡΠΊΠ° ΠΏΠΎΠ²Π΅ΡΡ Π±ΡΠΎΠ½ΠΈ
ΠΡΠΈ ΠΏΡΠΎΠ±ΠΈΡΠΈΠΈ ΡΠ»Π΅ΠΌΠ΅Π½ΡΠ° ΠΠ ΠΊΡΠΌΡΠ»ΡΡΠΈΠ²Π½ΠΎΠΉ ΡΡΡΡΠ΅ΠΉ Π²Π·ΡΡΠ²ΡΠ°ΡΠΎΠ΅ Π²Π΅ΡΠ΅ΡΡΠ²ΠΎ, Π½Π°Ρ ΠΎΠ΄ΡΡΠ΅Π΅ΡΡ Π² Π½Π΅ΠΌ, Π΄Π΅ΡΠΎΠ½ΠΈΡΡΠ΅Ρ ΠΈ ΠΌΠ΅ΡΠ°Π»Π»ΠΈΡΠ΅ΡΠΊΠΈΠ΅ ΠΏΠ»Π°ΡΡΠΈΠ½Ρ ΠΊΠΎΡΠΏΡΡΠ° Π½Π°ΡΠΈΠ½Π°ΡΡ ΡΠ°Π·Π»Π΅ΡΠ°ΡΡΡΡ. ΠΡΠΈ ΡΡΠΎΠΌ ΠΎΠ½ΠΈ ΠΏΠ΅ΡΠ΅ΡΠ΅ΠΊΠ°ΡΡ ΡΡΠ°Π΅ΠΊΡΠΎΡΠΈΡ ΡΡΡΡΠΈ ΠΏΠΎΠ΄ ΡΠ³Π»ΠΎΠΌ, ΠΏΠΎΡΡΠΎΡΠ½Π½ΠΎ ΠΏΠΎΠ΄ΡΡΠ°Π²Π»ΡΡ ΠΏΠΎΠ΄ Π½Π΅Π΅ Π½ΠΎΠ²ΡΠ΅ ΡΡΠ°ΡΡΠΊΠΈ. Π§Π°ΡΡΡ ΡΠ½Π΅ΡΠ³ΠΈΠΈ ΡΠ°ΡΡ ΠΎΠ΄ΡΠ΅ΡΡΡ Π½Π° ΠΏΡΠΎΠ±ΠΈΡΠΈΠ΅ ΠΏΠ»Π°ΡΡΠΈΠ½, Π° Π±ΠΎΠΊΠΎΠ²ΠΎΠΉ ΠΈΠΌΠΏΡΠ»ΡΡ ΠΎΡ ΡΠΎΡΠ΄Π°ΡΠ΅Π½ΠΈΡ Π΄Π΅ΡΡΠ°Π±ΠΈΠ»ΠΈΠ·ΠΈΡΡΠ΅Ρ ΡΡΡΡΡ. ΠΠ ΡΠ½ΠΈΠΆΠ°Π΅Ρ Π±ΡΠΎΠ½Π΅ΠΏΡΠΎΠ±ΠΈΠ²Π½ΡΠ΅ Ρ Π°ΡΠ°ΠΊΡΠ΅ΡΠΈΡΡΠΈΠΊΠΈ ΠΊΡΠΌΡΠ»ΡΡΠΈΠ²Π½ΡΡ ΡΡΠ΅Π΄ΡΡΠ² Π½Π° 50β80%. ΠΡΠΈ ΡΡΠΎΠΌ, ΡΡΠΎ ΠΎΡΠ΅Π½Ρ Π²Π°ΠΆΠ½ΠΎ, ΠΠ Π½Π΅ Π΄Π΅ΡΠΎΠ½ΠΈΡΡΠ΅Ρ ΠΏΡΠΈ ΠΎΠ±ΡΡΡΠ΅Π»Π΅ ΠΈΠ· ΡΡΡΠ΅Π»ΠΊΠΎΠ²ΠΎΠ³ΠΎ ΠΎΡΡΠΆΠΈΡ. ΠΡΠΈΠΌΠ΅Π½Π΅Π½ΠΈΠ΅ ΠΠ ΡΡΠ°Π»ΠΎ ΡΠ΅Π²ΠΎΠ»ΡΡΠΈΠ΅ΠΉ Π² Π·Π°ΡΠΈΡΠ΅ Π±ΡΠΎΠ½Π΅ΡΠ΅Ρ Π½ΠΈΠΊΠΈ. ΠΠΎΡΠ²ΠΈΠ»Π°ΡΡ ΡΠ΅Π°Π»ΡΠ½Π°Ρ Π²ΠΎΠ·ΠΌΠΎΠΆΠ½ΠΎΡΡΡ Π²ΠΎΠ·Π΄Π΅ΠΉΡΡΠ²ΠΎΠ²Π°ΡΡ Π½Π° Π²Π½Π΅Π΄ΡΡΡΡΠ΅Π΅ΡΡ ΠΏΠΎΡΠ°ΠΆΠ°ΡΡΠ΅Π΅ ΡΡΠ΅Π΄ΡΡΠ²ΠΎ ΡΠ°ΠΊ ΠΆΠ΅ Π°ΠΊΡΠΈΠ²Π½ΠΎ, ΠΊΠ°ΠΊ Π΄ΠΎ ΡΡΠΎΠ³ΠΎ ΠΎΠ½ΠΎ Π²ΠΎΠ·Π΄Π΅ΠΉΡΡΠ²ΠΎΠ²Π°Π»ΠΎ Π½Π° ΠΏΠ°ΡΡΠΈΠ²Π½ΡΡ Π±ΡΠΎΠ½Ρ.
ΠΡΠΎΡΠΈΠ² Π»ΠΎΠΌΠ° Π΅ΡΡΡ ΠΏΡΠΈΠ΅ΠΌΡ
ΠΡΠΌΡΠ»ΡΡΠΈΠ²Π½ΡΠΉ ΡΠ½Π°ΡΡΠ΄ β Π½Π΅ Π΅Π΄ΠΈΠ½ΡΡΠ²Π΅Π½Π½ΠΎΠ΅ ΡΡΠ΅Π΄ΡΡΠ²ΠΎ ΠΏΠΎΡΠ°ΠΆΠ΅Π½ΠΈΡ Π±ΡΠΎΠ½Π΅ΡΠ΅Ρ Π½ΠΈΠΊΠΈ. ΠΠΎΡΠ°Π·Π΄ΠΎ Π±ΠΎΠ»Π΅Π΅ ΠΎΠΏΠ°ΡΠ½ΡΠ΅ ΠΏΡΠΎΡΠΈΠ²Π½ΠΈΠΊΠΈ Π±ΡΠΎΠ½ΠΈ β Π±ΡΠΎΠ½Π΅Π±ΠΎΠΉΠ½ΡΠ΅ ΠΏΠΎΠ΄ΠΊΠ°Π»ΠΈΠ±Π΅ΡΠ½ΡΠ΅ ΡΠ½Π°ΡΡΠ΄Ρ (ΠΠΠ‘). ΠΠΎ ΠΊΠΎΠ½ΡΡΡΡΠΊΡΠΈΠΈ ΡΠ°ΠΊΠΎΠΉ ΡΠ½Π°ΡΡΠ΄ ΠΏΡΠΎΡΡ β ΠΎΠ½ ΠΏΡΠ΅Π΄ΡΡΠ°Π²Π»ΡΠ΅Ρ ΡΠΎΠ±ΠΎΠΉ Π΄Π»ΠΈΠ½Π½ΡΠΉ Π»ΠΎΠΌ (ΡΠ΅ΡΠ΄Π΅ΡΠ½ΠΈΠΊ) ΠΈΠ· ΡΡΠΆΠ΅Π»ΠΎΠ³ΠΎ ΠΈ Π²ΡΡΠΎΠΊΠΎΠΏΡΠΎΡΠ½ΠΎΠ³ΠΎ ΠΌΠ°ΡΠ΅ΡΠΈΠ°Π»Π° (ΠΎΠ±ΡΡΠ½ΠΎ ΡΡΠΎ ΠΊΠ°ΡΠ±ΠΈΠ΄ Π²ΠΎΠ»ΡΡΡΠ°ΠΌΠ° ΠΈΠ»ΠΈ ΠΎΠ±Π΅Π΄Π½Π΅Π½Π½ΡΠΉ ΡΡΠ°Π½) Ρ ΠΎΠΏΠ΅ΡΠ΅Π½ΠΈΠ΅ΠΌ Π΄Π»Ρ ΡΡΠ°Π±ΠΈΠ»ΠΈΠ·Π°ΡΠΈΠΈ Π² ΠΏΠΎΠ»Π΅ΡΠ΅. ΠΠΈΠ°ΠΌΠ΅ΡΡ ΡΠ΅ΡΠ΄Π΅ΡΠ½ΠΈΠΊΠ° Π½Π°ΠΌΠ½ΠΎΠ³ΠΎ ΠΌΠ΅Π½ΡΡΠ΅ ΠΊΠ°Π»ΠΈΠ±ΡΠ° ΡΡΠ²ΠΎΠ»Π° β ΠΎΡΡΡΠ΄Π° ΠΈ Π½Π°Π·Π²Π°Π½ΠΈΠ΅ Β«ΠΏΠΎΠ΄ΠΊΠ°Π»ΠΈΠ±Π΅ΡΠ½ΡΠ΅Β». ΠΠ΅ΡΡΡΠΈΠΉ ΡΠΎ ΡΠΊΠΎΡΠΎΡΡΡΡ 1,5β1,6 ΠΊΠΌ/Ρ Β«Π΄ΡΠΎΡΠΈΠΊΒ» ΠΌΠ°ΡΡΠΎΠΉ Π² Π½Π΅ΡΠΊΠΎΠ»ΡΠΊΠΎ ΠΊΠΈΠ»ΠΎΠ³ΡΠ°ΠΌΠΌΠΎΠ² ΠΎΠ±Π»Π°Π΄Π°Π΅Ρ ΡΠ°ΠΊΠΎΠΉ ΠΊΠΈΠ½Π΅ΡΠΈΡΠ΅ΡΠΊΠΎΠΉ ΡΠ½Π΅ΡΠ³ΠΈΠ΅ΠΉ, ΡΡΠΎ ΠΏΡΠΈ ΠΏΠΎΠΏΠ°Π΄Π°Π½ΠΈΠΈ ΡΠΏΠΎΡΠΎΠ±Π΅Π½ ΠΏΡΠΎΠ±ΠΈΠ²Π°ΡΡ Π±ΠΎΠ»Π΅Π΅ 650 ΠΌΠΌ Π³ΠΎΠΌΠΎΠ³Π΅Π½Π½ΠΎΠΉ ΡΡΠ°Π»ΠΈ. ΠΡΠΈΡΠ΅ΠΌ ΠΎΠΏΠΈΡΠ°Π½Π½ΡΠ΅ Π²ΡΡΠ΅ ΡΠΏΠΎΡΠΎΠ±Ρ ΡΡΠΈΠ»Π΅Π½ΠΈΡ ΠΏΡΠΎΡΠΈΠ²ΠΎΠΊΡΠΌΡΠ»ΡΡΠΈΠ²Π½ΠΎΠΉ Π·Π°ΡΠΈΡΡ ΠΏΡΠ°ΠΊΡΠΈΡΠ΅ΡΠΊΠΈ Π½Π΅ Π²Π»ΠΈΡΡΡ Π½Π° ΠΏΠΎΠ΄ΠΊΠ°Π»ΠΈΠ±Π΅ΡΠ½ΡΠ΅ ΡΠ½Π°ΡΡΠ΄Ρ. ΠΠΎΠΏΡΠ΅ΠΊΠΈ Π·Π΄ΡΠ°Π²ΠΎΠΌΡ ΡΠΌΡΡΠ»Ρ, Π½Π°ΠΊΠ»ΠΎΠ½ Π±ΡΠΎΠ½Π΅Π²ΡΡ Π»ΠΈΡΡΠΎΠ² Π½Π΅ ΡΠΎΠ»ΡΠΊΠΎ Π½Π΅ Π²ΡΠ·ΡΠ²Π°Π΅Ρ ΡΠΈΠΊΠΎΡΠ΅Ρ ΠΏΠΎΠ΄ΠΊΠ°Π»ΠΈΠ±Π΅ΡΠ½ΠΎΠ³ΠΎ ΡΠ½Π°ΡΡΠ΄Π°, Π½ΠΎ Π΄Π°ΠΆΠ΅ ΠΎΡΠ»Π°Π±Π»ΡΠ΅Ρ ΡΡΠ΅ΠΏΠ΅Π½Ρ Π·Π°ΡΠΈΡΡ ΠΎΡ Π½ΠΈΡ ! Π‘ΠΎΠ²ΡΠ΅ΠΌΠ΅Π½Π½ΡΠ΅ Β«ΡΡΠ°Π±Π°ΡΡΠ²Π°ΡΡΠΈΠ΅ΡΡΒ» ΡΠ΅ΡΠ΄Π΅ΡΠ½ΠΈΠΊΠΈ Π½Π΅ ΡΠΈΠΊΠΎΡΠ΅ΡΠΈΡΡΡΡ: ΠΏΡΠΈ ΠΊΠΎΠ½ΡΠ°ΠΊΡΠ΅ Ρ Π±ΡΠΎΠ½Π΅ΠΉ Π½Π° ΠΏΠ΅ΡΠ΅Π΄Π½Π΅ΠΌ ΠΊΠΎΠ½ΡΠ΅ ΡΠ΅ΡΠ΄Π΅ΡΠ½ΠΈΠΊΠ° ΠΎΠ±ΡΠ°Π·ΡΠ΅ΡΡΡ Π³ΡΠΈΠ±ΠΎΠ²ΠΈΠ΄Π½ΡΠΉ ΠΎΠ³ΠΎΠ»ΠΎΠ²ΠΎΠΊ, ΠΈΠ³ΡΠ°ΡΡΠΈΠΉ ΡΠΎΠ»Ρ ΡΠ°ΡΠ½ΠΈΡΠ°, ΠΈ ΡΠ½Π°ΡΡΠ΄ Π΄ΠΎΠ²ΠΎΡΠ°ΡΠΈΠ²Π°Π΅ΡΡΡ Π² ΡΡΠΎΡΠΎΠ½Ρ ΠΏΠ΅ΡΠΏΠ΅Π½Π΄ΠΈΠΊΡΠ»ΡΡΠ° ΠΊ Π±ΡΠΎΠ½Π΅, ΡΠΎΠΊΡΠ°ΡΠ°Ρ ΠΏΡΡΡ Π² Π΅Π΅ ΡΠΎΠ»ΡΠ΅.

Π‘Ρ Π΅ΠΌΠ° ΡΠ°Π±ΠΎΡΡ ΠΊΡΠΌΡΠ»ΡΡΠΈΠ²Π½ΠΎΠΉ Π·Π°ΡΠΈΡΡ Β«ΠΠΎΠΆΒ»
Π‘Π»Π΅Π΄ΡΡΡΠΈΠΌ ΠΏΠΎΠΊΠΎΠ»Π΅Π½ΠΈΠ΅ΠΌ ΠΠ ΡΡΠ°Π»Π° ΡΠΈΡΡΠ΅ΠΌΠ° Β«ΠΠΎΠ½ΡΠ°ΠΊΡ-5Β». Π‘ΠΏΠ΅ΡΠΈΠ°Π»ΠΈΡΡΡ ΠΠΠ ΡΡΠ°Π»ΠΈ ΠΏΡΠΎΠ΄Π΅Π»Π°Π»ΠΈ Π±ΠΎΠ»ΡΡΡΡ ΡΠ°Π±ΠΎΡΡ, ΡΠ΅ΡΠΈΠ² ΠΌΠ½ΠΎΠΆΠ΅ΡΡΠ²ΠΎ ΠΏΡΠΎΡΠΈΠ²ΠΎΡΠ΅ΡΠΈΠ²ΡΡ ΠΏΡΠΎΠ±Π»Π΅ΠΌ: ΠΠ Π΄ΠΎΠ»ΠΆΠ½Π° Π±ΡΠ»Π° Π΄Π°Π²Π°ΡΡ ΠΌΠΎΡΠ½ΡΠΉ Π±ΠΎΠΊΠΎΠ²ΠΎΠΉ ΠΈΠΌΠΏΡΠ»ΡΡ, ΠΏΠΎΠ·Π²ΠΎΠ»ΡΡΡΠΈΠΉ Π΄Π΅ΡΡΠ°Π±ΠΈΠ»ΠΈΠ·ΠΈΡΠΎΠ²Π°ΡΡ ΠΈΠ»ΠΈ ΡΠ°Π·ΡΡΡΠΈΡΡ ΡΠ΅ΡΠ΄Π΅ΡΠ½ΠΈΠΊ ΠΠΠΠ‘, Π²Π·ΡΡΠ²ΡΠ°ΡΠΎΠ΅ Π²Π΅ΡΠ΅ΡΡΠ²ΠΎ Π΄ΠΎΠ»ΠΆΠ½ΠΎ Π±ΡΠ»ΠΎ Π½Π°Π΄Π΅ΠΆΠ½ΠΎ Π΄Π΅ΡΠΎΠ½ΠΈΡΠΎΠ²Π°ΡΡ ΠΎΡ Π½ΠΈΠ·ΠΊΠΎΡΠΊΠΎΡΠΎΡΡΠ½ΠΎΠ³ΠΎ (ΠΏΠΎ ΡΡΠ°Π²Π½Π΅Π½ΠΈΡ Ρ ΠΊΡΠΌΡΠ»ΡΡΠΈΠ²Π½ΠΎΠΉ ΡΡΡΡΠ΅ΠΉ) ΡΠ΅ΡΠ΄Π΅ΡΠ½ΠΈΠΊΠ° ΠΠΠΠ‘, Π½ΠΎ ΠΏΡΠΈ ΡΡΠΎΠΌ Π΄Π΅ΡΠΎΠ½Π°ΡΠΈΡ ΠΎΡ ΠΏΠΎΠΏΠ°Π΄Π°Π½ΠΈΡ ΠΏΡΠ»Ρ ΠΈ ΠΎΡΠΊΠΎΠ»ΠΊΠΎΠ² ΡΠ½Π°ΡΡΠ΄ΠΎΠ² ΠΈΡΠΊΠ»ΡΡΠ°Π»Π°ΡΡ. Π‘ ΡΡΠΈΠΌΠΈ ΠΏΡΠΎΠ±Π»Π΅ΠΌΠ°ΠΌΠΈ ΠΏΠΎΠΌΠΎΠ³Π»Π° ΡΠΏΡΠ°Π²ΠΈΡΡΡΡ ΠΊΠΎΠ½ΡΡΡΡΠΊΡΠΈΡ Π±Π»ΠΎΠΊΠΎΠ². ΠΡΡΡΠΊΠ° Π±Π»ΠΎΠΊΠ° ΠΠ Π²ΡΠΏΠΎΠ»Π½Π΅Π½Π° ΠΈΠ· ΡΠΎΠ»ΡΡΠΎΠΉ (ΠΎΠΊΠΎΠ»ΠΎ 20 ΠΌΠΌ) Π²ΡΡΠΎΠΊΠΎΠΏΡΠΎΡΠ½ΠΎΠΉ Π±ΡΠΎΠ½Π΅Π²ΠΎΠΉ ΡΡΠ°Π»ΠΈ. ΠΡΠΈ ΡΠ΄Π°ΡΠ΅ Π² Π½Π΅Π΅ ΠΠΠ‘ Π³Π΅Π½Π΅ΡΠΈΡΡΠ΅Ρ ΠΏΠΎΡΠΎΠΊ Π²ΡΡΠΎΠΊΠΎΡΠΊΠΎΡΠΎΡΡΠ½ΡΡ ΠΎΡΠΊΠΎΠ»ΠΊΠΎΠ², ΠΊΠΎΡΠΎΡΡΠ΅ ΠΈ Π΄Π΅ΡΠΎΠ½ΠΈΡΡΡΡ Π·Π°ΡΡΠ΄. ΠΠΎΠ·Π΄Π΅ΠΉΡΡΠ²ΠΈΠ΅ Π½Π° ΠΠΠ‘ Π΄Π²ΠΈΠΆΡΡΠ΅ΠΉΡΡ ΡΠΎΠ»ΡΡΠΎΠΉ ΠΊΡΡΡΠΊΠΈ ΠΎΠΊΠ°Π·ΡΠ²Π°Π΅ΡΡΡ Π΄ΠΎΡΡΠ°ΡΠΎΡΠ½ΡΠΌ, ΡΡΠΎΠ±Ρ ΡΠ½ΠΈΠ·ΠΈΡΡ Π΅Π³ΠΎ Π±ΡΠΎΠ½Π΅ΠΏΡΠΎΠ±ΠΈΠ²Π½ΡΠ΅ Ρ Π°ΡΠ°ΠΊΡΠ΅ΡΠΈΡΡΠΈΠΊΠΈ. ΠΠΎΠ·Π΄Π΅ΠΉΡΡΠ²ΠΈΠ΅ Π½Π° ΠΊΡΠΌΡΠ»ΡΡΠΈΠ²Π½ΡΡ ΡΡΡΡΡ ΡΠ°ΠΊΠΆΠ΅ ΡΠ²Π΅Π»ΠΈΡΠΈΠ²Π°Π΅ΡΡΡ ΠΏΠΎ ΡΡΠ°Π²Π½Π΅Π½ΠΈΡ Ρ ΡΠΎΠ½ΠΊΠΎΠΉ (3 ΠΌΠΌ) ΠΏΠ»Π°ΡΡΠΈΠ½ΠΎΠΉ Β«ΠΠΎΠ½ΡΠ°ΠΊΡ-1Β». Π ΡΠ΅Π·ΡΠ»ΡΡΠ°ΡΠ΅ ΡΡΡΠ°Π½ΠΎΠ²ΠΊΠ° ΠΠ Β«ΠΠΎΠ½ΡΠ°ΠΊΡ-5Β» Π½Π° ΡΠ°Π½ΠΊΠΈ ΠΏΠΎΠ²ΡΡΠ°Π΅Ρ ΠΏΡΠΎΡΠΈΠ²ΠΎΠΊΡΠΌΡΠ»ΡΡΠΈΠ²Π½ΡΡ ΡΡΠΎΠΉΠΊΠΎΡΡΡ Π² 1,5β1,8 ΡΠ°Π·Π° ΠΈ ΠΎΠ±Π΅ΡΠΏΠ΅ΡΠΈΠ²Π°Π΅Ρ ΠΏΠΎΠ²ΡΡΠ΅Π½ΠΈΠ΅ ΡΡΠΎΠ²Π½Ρ Π·Π°ΡΠΈΡΡ ΠΎΡ ΠΠΠ‘ Π² 1,2β1,5 ΡΠ°Π·Π°. ΠΠΎΠΌΠΏΠ»Π΅ΠΊΡ Β«ΠΠΎΠ½ΡΠ°ΠΊΡ-5Β» ΡΡΡΠ°Π½Π°Π²Π»ΠΈΠ²Π°Π΅ΡΡΡ Π½Π° ΡΠΎΡΡΠΈΠΉΡΠΊΠΈΠ΅ ΡΠ΅ΡΠΈΠΉΠ½ΡΠ΅ ΡΠ°Π½ΠΊΠΈ Π’-80Π£, Π’-80Π£Π, Π’-72Π (Π½Π°ΡΠΈΠ½Π°Ρ Ρ 1988 Π³ΠΎΠ΄Π°) ΠΈ Π’-90.
ΠΠΎΡΠ»Π΅Π΄Π½Π΅Π΅ ΠΏΠΎΠΊΠΎΠ»Π΅Π½ΠΈΠ΅ ΡΠΎΡΡΠΈΠΉΡΠΊΠΎΠΉ ΠΠ β ΠΊΠΎΠΌΠΏΠ»Π΅ΠΊΡ Β«Π Π΅Π»ΠΈΠΊΡΒ», ΡΠ°ΠΊΠΆΠ΅ ΡΠ°Π·ΡΠ°Π±ΠΎΡΠ°Π½Π½ΡΠΉ ΡΠΏΠ΅ΡΠΈΠ°Π»ΠΈΡΡΠ°ΠΌΠΈ ΠΠΠ ΡΡΠ°Π»ΠΈ. Π ΡΡΠΎΠ²Π΅ΡΡΠ΅Π½ΡΡΠ²ΠΎΠ²Π°Π½Π½ΡΡ ΠΠΠ ΡΠ΄Π°Π»ΠΎΡΡ ΡΡΡΡΠ°Π½ΠΈΡΡ ΠΌΠ½ΠΎΠ³ΠΈΠ΅ Π½Π΅Π΄ΠΎΡΡΠ°ΡΠΊΠΈ, Π½Π°ΠΏΡΠΈΠΌΠ΅Ρ Π½Π΅Π΄ΠΎΡΡΠ°ΡΠΎΡΠ½ΡΡ ΡΡΠ²ΡΡΠ²ΠΈΡΠ΅Π»ΡΠ½ΠΎΡΡΡ ΠΏΡΠΈ ΠΈΠ½ΠΈΡΠΈΠΈΡΠΎΠ²Π°Π½ΠΈΠΈ ΠΌΠ°Π»ΠΎΡΠΊΠΎΡΠΎΡΡΠ½ΡΠΌΠΈ ΠΊΠΈΠ½Π΅ΡΠΈΡΠ΅ΡΠΊΠΈΠΌΠΈ ΡΠ½Π°ΡΡΠ΄Π°ΠΌΠΈ ΠΈ Π½Π΅ΠΊΠΎΡΠΎΡΡΠΌΠΈ ΡΠΈΠΏΠ°ΠΌΠΈ ΠΊΡΠΌΡΠ»ΡΡΠΈΠ²Π½ΡΡ Π±ΠΎΠ΅ΠΏΡΠΈΠΏΠ°ΡΠΎΠ².
ΠΠΎΠ²ΡΡΠ΅Π½Π½Π°Ρ ΡΡΡΠ΅ΠΊΡΠΈΠ²Π½ΠΎΡΡΡ ΠΏΡΠΈ Π·Π°ΡΠΈΡΠ΅ ΠΎΡ ΠΊΠΈΠ½Π΅ΡΠΈΡΠ΅ΡΠΊΠΈΡ ΠΈ ΠΊΡΠΌΡΠ»ΡΡΠΈΠ²Π½ΡΡ Π±ΠΎΠ΅ΠΏΡΠΈΠΏΠ°ΡΠΎΠ² Π΄ΠΎΡΡΠΈΠ³Π°Π΅ΡΡΡ Π·Π° ΡΡΠ΅Ρ ΠΏΡΠΈΠΌΠ΅Π½Π΅Π½ΠΈΡ Π΄ΠΎΠΏΠΎΠ»Π½ΠΈΡΠ΅Π»ΡΠ½ΡΡ ΠΌΠ΅ΡΠ°ΡΠ΅Π»ΡΠ½ΡΡ ΠΏΠ»Π°ΡΡΠΈΠ½ ΠΈ Π²ΠΊΠ»ΡΡΠ΅Π½ΠΈΡ Π² ΠΈΡ ΡΠΎΡΡΠ°Π² Π½Π΅ΠΌΠ΅ΡΠ°Π»Π»ΠΈΡΠ΅ΡΠΊΠΈΡ ΡΠ»Π΅ΠΌΠ΅Π½ΡΠΎΠ². Π ΡΠ΅Π·ΡΠ»ΡΡΠ°ΡΠ΅ Π±ΡΠΎΠ½Π΅ΠΏΡΠΎΠ±ΠΈΠ²Π°Π΅ΠΌΠΎΡΡΡ ΠΏΠΎΠ΄ΠΊΠ°Π»ΠΈΠ±Π΅ΡΠ½ΡΠΌΠΈ ΡΠ½Π°ΡΡΠ΄Π°ΠΌΠΈ ΡΠ½ΠΈΠΆΠ°Π΅ΡΡΡ Π½Π° 20β60%, Π° Π±Π»Π°Π³ΠΎΠ΄Π°ΡΡ Π²ΠΎΠ·ΡΠΎΡΡΠ΅ΠΌΡ Π²ΡΠ΅ΠΌΠ΅Π½ΠΈ Π²ΠΎΠ·Π΄Π΅ΠΉΡΡΠ²ΠΈΡ Π½Π° ΠΊΡΠΌΡΠ»ΡΡΠΈΠ²Π½ΡΡ ΡΡΡΡΡ ΡΠ΄Π°Π»ΠΎΡΡ Π΄ΠΎΠ±ΠΈΡΡΡΡ ΠΈ ΠΎΠΏΡΠ΅Π΄Π΅Π»Π΅Π½Π½ΠΎΠΉ ΡΡΡΠ΅ΠΊΡΠΈΠ²Π½ΠΎΡΡΠΈ ΠΏΠΎ ΠΊΡΠΌΡΠ»ΡΡΠΈΠ²Π½ΡΠΌ ΡΡΠ΅Π΄ΡΡΠ²Π°ΠΌ Ρ ΡΠ°Π½Π΄Π΅ΠΌΠ½ΠΎΠΉ Π±ΠΎΠ΅Π²ΠΎΠΉ ΡΠ°ΡΡΡΡ.
ΠΠ²ΡΠΎΡ: ΠΠΌΠΈΡΠ°Π½ ΠΡΡΡΠ»ΠΈ
ΠΡΡΠΎΡΠ½ΠΈΠΊ:Β https://topwar.ru/

ΠΠΎΡΠΏΠΎΠ»ΡΠ·ΡΠΉΡΠ΅ΡΡ Π½Π°ΡΠΈΠΌΠΈ ΡΡΠ»ΡΠ³Π°ΠΌΠΈ
ΠΠΎΠ½ΡΠ°Π²ΠΈΠ»Π°ΡΡ ΡΡΠ°ΡΡΡ? Π’ΠΎΠ³Π΄Π° ΠΏΠΎΠ΄Π΄Π΅ΡΠΆΠΈΡΠ΅ Π½Π°Ρ, ΠΏΠΎΠ΄Π΅Π»ΠΈΡΠ΅ΡΡ Ρ Π΄ΡΡΠ·ΡΡΠΌΠΈ ΠΈ Π·Π°Π³Π»ΡΠ΄ΡΠ²Π°ΠΉΡΠ΅ ΠΏΠΎ ΡΠ΅ΠΊΠ»Π°ΠΌΠ½ΡΠΌ ΡΡΡΠ»ΠΊΠ°ΠΌ!
integral-russia.ru
Π‘ΠΏΠΎΡΠΎΠ±Ρ Π±ΠΎΡΡΠ±Ρ Ρ ΡΠ°Π½ΠΊΠ°ΠΌΠΈ, ΠΎΡΠ½Π°ΡΠ΅Π½Π½ΡΠΌΠΈ Π΄ΠΈΠ½Π°ΠΌΠΈΡΠ΅ΡΠΊΠΎΠΉ Π·Π°ΡΠΈΡΠΎΠΉ Β» ΠΠΎΠ΅Π½Π½ΠΎΠ΅ ΠΎΠ±ΠΎΠ·ΡΠ΅Π½ΠΈΠ΅

Π’-80Π£Π
Π ΡΡΠ»ΠΎΠ²ΠΈΡΡ Π½ΠΎΠ²ΠΎΠΉ ΠΏΠΎΠ»ΠΈΡΠΈΠΊΠΈ, ΡΠΎΡΡΠΎΡΡΠ΅ΠΉ ΠΊΠ°ΠΊ Π² ΡΠΌΠ΅Π½ΡΡΠ΅Π½ΠΈΠΈ Π°ΡΡΠΈΠ³Π½ΠΎΠ²Π°Π½ΠΈΠΉ ΠΠΈΠ½ΠΈΡΡΠ΅ΡΡΡΠ²Ρ ΠΎΠ±ΠΎΡΠΎΠ½Ρ, ΡΠ°ΠΊ ΠΈ Π² ΡΠΎΠΊΡΠ°ΡΠ΅Π½ΠΈΠΈ ΡΠΈΡΠ»Π΅Π½Π½ΠΎΡΡΠΈ Π»ΠΈΡΠ½ΠΎΠ³ΠΎ ΡΠΎΡΡΠ°Π²Π°, ΠΎΠ±Π΅ΡΠΏΠ΅ΡΠ΅Π½ΠΈΠ΅ Π²ΡΡΠΎΠΊΠΎΠΉ ΡΡΡΠ΅ΠΊΡΠΈΠ²Π½ΠΎΡΡΠΈ ΡΠ²Π»ΡΠ΅ΡΡΡ ΠΎΠ΄Π½ΠΎΠΉ ΠΈΠ· Π°ΠΊΡΡΠ°Π»ΡΠ½ΡΡ ΠΏΡΠΎΠ±Π»Π΅ΠΌ Π΄Π°Π»ΡΠ½Π΅ΠΉΡΠ΅Π³ΠΎ ΡΠ°Π·Π²ΠΈΡΠΈΡ Π²ΠΎΠ΅Π½Π½ΠΎΠΉ ΡΠ΅Ρ Π½ΠΈΠΊΠΈ ΠΈ Π²ΠΎΠΎΡΡΠΆΠ΅Π½ΠΈΡ. ΠΠΎ ΡΡΠΎΠΉ ΠΏΡΠΈΡΠΈΠ½Π΅ ΡΠ΅ΡΠΎΡΠΌΡ Π² Π ΠΎΡΡΠΈΠΉΡΠΊΠΎΠΉ ΠΡΠΌΠΈΠΈ Π΄ΠΎΠ»ΠΆΠ½Ρ Π±ΡΡΡ ΡΠ΅ΡΠ½ΠΎ ΡΠ²ΡΠ·Π°Π½Ρ Ρ ΡΠΎΠ·Π΄Π°Π½ΠΈΠ΅ΠΌ Π²ΡΡΠΎΠΊΠΎΡΡΡΠ΅ΠΊΡΠΈΠ²Π½ΠΎΠ³ΠΎ Π²ΠΎΠΎΡΡΠΆΠ΅Π½ΠΈΡ. ΠΠΎΡΠΊΠΎΠ»ΡΠΊΡ Π±ΠΎΡΡΠ±Π° Ρ ΡΠ°Π½ΠΊΠ°ΠΌΠΈ ΡΠ²Π»ΡΠ΅ΡΡΡ ΠΎΠ΄Π½ΠΎΠΉ ΠΈΠ· ΠΎΡΠ½ΠΎΠ²Π½ΡΡ Π·Π°Π΄Π°Ρ ΠΏΠΎΡΡΠΈ Π²ΡΠ΅Ρ ΡΠΎΠ΄ΠΎΠ² Π²ΠΎΠΉΡΠΊ, ΡΠΎ Π½Π΅ΠΎΠ±Ρ ΠΎΠ΄ΠΈΠΌΠΎ Π΄Π°Π»ΡΠ½Π΅ΠΉΡΠ΅Π΅ ΡΠΎΠ²Π΅ΡΡΠ΅Π½ΡΡΠ²ΠΎΠ²Π°Π½ΠΈΠ΅ ΠΏΡΠΎΡΠΈΠ²ΠΎΡΠ°Π½ΠΊΠΎΠ²ΡΡ ΡΡΠ΅Π΄ΡΡΠ² (ΠΠ’Π‘). ΠΡΠΏΠΎΠ»ΡΠ·ΠΎΠ²Π°Π½ΠΈΠ΅ Π½Π° ΡΠ°Π½ΠΊΠ°Ρ Π½ΠΎΠ²ΡΡ ΠΊΠΎΠ½ΡΡΡΡΠΊΡΠΈΠΉ Π·Π°ΡΠΈΡΡ ΡΡΠ΅Π±ΡΠ΅Ρ ΠΏΡΠΈΠ½ΡΡΠΈΡ Π±ΠΎΠ΅ΠΏΡΠΈΠΏΠ°ΡΠ½ΠΈΠΊΠ°ΠΌΠΈ Π°Π΄Π΅ΠΊΠ²Π°ΡΠ½ΡΡ ΠΌΠ΅Ρ ΠΏΠΎ ΡΠΎΠ·Π΄Π°Π½ΠΈΡ Π²ΡΡΠΎΠΊΠΎΡΡΡΠ΅ΠΊΡΠΈΠ²Π½ΠΎΠ³ΠΎ ΠΏΡΠΎΡΠΈΠ²ΠΎΡΠ°Π½ΠΊΠΎΠ²ΠΎΠ³ΠΎ Π²ΠΎΠΎΡΡΠΆΠ΅Π½ΠΈΡ.
Π ΠΏΠΎΡΠ»Π΅Π΄Π½ΠΈΠ΅ Π³ΠΎΠ΄Ρ Π² Π·Π°ΡΡΠ±Π΅ΠΆΠ½ΡΡ Π°ΡΠΌΠΈΡΡ ΡΠ΄Π΅Π»ΡΠ΅ΡΡΡ Π±ΠΎΠ»ΡΡΠΎΠ΅ Π²Π½ΠΈΠΌΠ°Π½ΠΈΠ΅ ΠΏΠΎΠ²ΡΡΠ΅Π½ΠΈΡ Π±ΠΎΠ΅Π²ΠΎΠΉ ΠΆΠΈΠ²ΡΡΠ΅ΡΡΠΈ ΠΎΠ±ΡΠ°Π·ΡΠΎΠ² Π±ΡΠΎΠ½Π΅ΡΠ°Π½ΠΊΠΎΠ²ΠΎΠΉ ΡΠ΅Ρ Π½ΠΈΠΊΠΈ. Π‘ΠΎΠ²ΡΠ΅ΠΌΠ΅Π½Π½ΡΠ΅ ΠΈ ΠΏΠ΅ΡΡΠΏΠ΅ΠΊΡΠΈΠ²Π½ΡΠ΅ ΡΠ°Π½ΠΊΠΈ ΠΎΡΠ½Π°ΡΠ°ΡΡΡΡ Π΄ΠΈΠ½Π°ΠΌΠΈΡΠ΅ΡΠΊΠΎΠΉ Π·Π°ΡΠΈΡΠΎΠΉ (ΠΠ), ΠΊΠΎΡΠΎΡΠ°Ρ ΡΡΡΠ΅ΠΊΡΠΈΠ²Π½Π° ΠΊΠ°ΠΊ ΠΏΡΠΎΡΠΈΠ² ΠΊΡΠΌΡΠ»ΡΡΠΈΠ²Π½ΡΡ , ΡΠ°ΠΊ ΠΈ Π±ΡΠΎΠ½Π΅Π±ΠΎΠΉΠ½ΡΡ ΠΏΠΎΠ΄ΠΊΠ°Π»ΠΈΠ±Π΅ΡΠ½ΡΡ ΡΠ½Π°ΡΡΠ΄ΠΎΠ² (ΠΠΠ‘). ΠΠ°ΡΡΠ΄Ρ Ρ ΡΡΡΠ°Π½ΠΎΠ²ΠΊΠΎΠΉ ΠΠ Π½Π° ΡΠ°Π½ΠΊΠ°Ρ , ΠΠ ΡΡΡΠ°Π½Π°Π²Π»ΠΈΠ²Π°Π΅ΡΡΡ Π½Π° ΠΠΠ, ΠΠ’Π , Π‘ΠΠ£ (Π·Π°ΠΊΡΡΠ²Π°ΡΡ Π±ΠΎΠ΅Π·Π°ΠΏΠ°Ρ), Π½Π° ΡΠ°Π·Π»ΠΈΡΠ½ΡΡ ΠΈΠ½ΠΆΠ΅Π½Π΅ΡΠ½ΡΡ ΠΎΠ±ΠΎΡΠΎΠ½ΠΈΡΠ΅Π»ΡΠ½ΡΡ ΡΠΎΠΎΡΡΠΆΠ΅Π½ΠΈΡΡ .
ΠΠΈΠ½Π°ΠΌΠΈΡΠ΅ΡΠΊΠ°Ρ Π·Π°ΡΠΈΡΠ° ΠΏΡΠ΅Π΄ΡΡΠ°Π²Π»ΡΠ΅Ρ ΡΠΎΠ±ΠΎΠΉ Π±Π»ΠΎΠΊ ΡΠ°Π·Π½Π΅ΡΠ΅Π½Π½ΡΡ ΠΏΡΠ΅Π³ΡΠ°Π΄ ΠΈΠ· ΠΌΠ΅ΡΠ°Π»Π»ΠΈΡΠ΅ΡΠΊΠΈΡ ΠΈ Π½Π΅ΠΌΠ΅ΡΠ°Π»Π»ΠΈΡΠ΅ΡΠΊΠΈΡ ΠΌΠ°ΡΠ΅ΡΠΈΠ°Π»ΠΎΠ², Π² ΡΠΎΠΌ ΡΠΈΡΠ»Π΅ ΠΈΠ· Π»ΠΈΡΡΠΎΠ²ΡΡ Π·Π°ΡΡΠ΄ΠΎΠ² ΠΏΠ»Π°ΡΡΠΈΡΠ½ΠΎΠ³ΠΎ Π²Π·ΡΡΠ²ΡΠ°ΡΠΎΠ³ΠΎ Π²Π΅ΡΠ΅ΡΡΠ²Π° (ΠΠΠ), ΠΊΠΎΡΠΎΡΠ°Ρ Π² ΡΠ΅Π·ΡΠ»ΡΡΠ°ΡΠ΅ ΠΈΡΠΏΠΎΠ»ΡΠ·ΠΎΠ²Π°Π½ΠΈΡ ΡΠ½Π΅ΡΠ³ΠΈΠΈ ΠΠ ΠΎΠ±Π΅ΡΠΏΠ΅ΡΠΈΠ²Π°Π΅Ρ ΠΏΠΎΠ²ΡΡΠ΅Π½ΠΈΠ΅ ΡΡΠΎΠ²Π½Ρ ΡΡΠΎΠΉΠΊΠΎΡΡΠΈ Π·Π°ΡΠΈΡΡ ΠΏΡΠΈ Π΄Π΅ΠΉΡΡΠ²ΠΈΠΈ Π±ΡΠΎΠ½Π΅Π±ΠΎΠΉΠ½ΡΡ ΠΏΠΎΠ΄ΠΊΠ°Π»ΠΈΠ±Π΅ΡΠ½ΡΡ ΡΠ½Π°ΡΡΠ΄ΠΎΠ² ΠΈ ΠΊΡΠΌΡΠ»ΡΡΠΈΠ²Π½ΡΡ ΡΡΠ΅Π΄ΡΡΠ² ΠΏΠΎΡΠ°ΠΆΠ΅Π½ΠΈΡ. ΠΠΎΠ²ΡΡΠ΅Π½ΠΈΠ΅ ΡΡΠΎΠ²Π½Ρ ΡΡΠΎΠΉΠΊΠΎΡΡΠΈ Π·Π°ΡΠΈΡΡ ΠΎΠ±Π΅ΡΠΏΠ΅ΡΠΈΠ²Π°Π΅ΡΡΡ Π·Π° ΡΡΠ΅Ρ Π΄ΠΈΠ½Π°ΠΌΠΈΡΠ΅ΡΠΊΠΎΠ³ΠΎ Π²ΠΎΠ·Π΄Π΅ΠΉΡΡΠ²ΠΈΡ ΠΏΡΠ΅Π³ΡΠ°Π΄ (ΠΌΠ΅ΡΠ°Π΅ΠΌΡΡ Π²Π·ΡΡΠ²ΠΎΠΌ Π»ΠΈΡΡΠΎΠ²ΡΡ Π·Π°ΡΡΠ΄ΠΎΠ² ΠΠΠ) Π½Π° ΠΏΡΠΎΠ½ΠΈΠΊΠ°ΡΡΠΈΠΉ ΡΠ΄Π°ΡΠ½ΠΈΠΊ. Π Π»ΠΈΠ²Π°Π½ΡΠΊΠΈΡ ΡΠΎΠ±ΡΡΠΈΡΡ Ρ ΠΏΠΎΠΌΠΎΡΡΡ ΠΠ Π±ΡΠ»Π° Π·Π½Π°ΡΠΈΡΠ΅Π»ΡΠ½ΠΎ ΠΏΠΎΠ²ΡΡΠ΅Π½Π° ΠΎΠ±ΡΠ°Ρ ΡΡΠΎΠΉΠΊΠΎΡΡΡ Π±ΡΠΎΠ½Π΅Π·Π°ΡΠΈΡΡ ΡΡΠ°ΡΡΡ ΡΠ°Π½ΠΊΠΎΠ² (Β«Π¦Π΅Π½ΡΡΡΠΈΠΎΠ½Β», Β«Π¨Π΅ΡΠΈΠ΄Π°Π½Β», Π-48Π3, Π-60) ΠΎΡ ΠΊΡΠΌΡΠ»ΡΡΠΈΠ²Π½ΡΡ Π³ΡΠ°Π½Π°Ρ ΠΎΡΠ΅ΡΠ΅ΡΡΠ²Π΅Π½Π½ΡΡ Π ΠΠ, ΡΠΈΡΠΎΠΊΠΎ ΠΈΡΠΏΠΎΠ»ΡΠ·ΡΠ΅ΠΌΡΡ Π² ΡΡΠΎΠΌ ΠΊΠΎΠ½ΡΠ»ΠΈΠΊΡΠ΅. Π‘Π»Π΅Π΄ΡΠ΅Ρ ΠΎΡΠΌΠ΅ΡΠΈΡΡ, ΡΡΠΎ ΡΠΎΠ²ΡΠ΅ΠΌΠ΅Π½Π½ΡΠ΅ ΠΊΠΎΠ½ΡΡΡΡΠΊΡΠΈΠΈ Π΄ΠΈΠ½Π°ΠΌΠΈΡΠ΅ΡΠΊΠΎΠΉ Π·Π°ΡΠΈΡΡ ΡΠΎΠ·Π΄Π°Π²Π°Π»ΠΈΡΡ Π² ΡΡΠ»ΠΎΠ²ΠΈΡΡ Β«ΠΏΡΠΈΠ²ΡΠ·ΠΊΠΈΒ» ΠΊ ΡΡΡΠ΅ΡΡΠ²ΡΡΡΠΈΠΌ ΡΠ°Π½ΠΊΠ°ΠΌ. Π’Π°ΠΊΠ°Ρ ΠΏΡΠΈΠ²ΡΠ·ΠΊΠ° Π½Π΅ ΠΏΠΎΠ·Π²ΠΎΠ»ΠΈΠ»Π° Π΄ΠΎΡΡΠΈΡΡ Π²ΡΡΠΎΠΊΠΈΡ Π·Π½Π°ΡΠ΅Π½ΠΈΠΉ ΠΏΠ°ΡΠ°ΠΌΠ΅ΡΡΠΎΠ² ΡΡΡΠ΅ΠΊΡΠΈΠ²Π½ΠΎΡΡΠΈ ΠΊΠ°ΠΊ ΠΠ, ΡΠ°ΠΊ ΠΈ Π²ΡΠ΅ΠΉ Π·Π°ΡΠΈΡΡ Π² ΡΠ΅Π»ΠΎΠΌ. ΠΠ΄Π½Π°ΠΊΠΎ, Π²ΡΡΠΎΠΊΠ°Ρ ΡΡΡΠ΅ΠΊΡΠΈΠ²Π½ΠΎΡΡΡ Π±ΡΠΎΠ½Π΅Π²ΠΎΠΉ Π·Π°ΡΠΈΡΡ ΠΌΠΎΠΆΠ΅Ρ Π±ΡΡΡ Π΄ΠΎΡΡΠΈΠ³Π½ΡΡΠ° ΠΏΡΠΈ ΡΠΎΠ·Π΄Π°Π½ΠΈΠΈ ΡΠ°Π½ΠΊΠ° Π½ΠΎΠ²ΠΎΠ³ΠΎ ΠΏΠΎΠΊΠΎΠ»Π΅Π½ΠΈΡ.


Π’Π°Π½ΠΊ Π60, ΠΎΡΠ½Π°ΡΠ΅Π½Π½ΡΠΉ ΠΠ Π½Π°Π²Π΅ΡΠ½ΠΎΠ³ΠΎ ΡΠΈΠΏΠ°
ΠΡΠΏΠΎΠ»ΡΠ·ΠΎΠ²Π°Π½ΠΈΠ΅ ΠΏΠ΅ΡΠ΅Π΄ΠΎΠ²ΡΡ ΡΠ΅Ρ Π½ΠΎΠ»ΠΎΠ³ΠΈΠΉ, ΠΌΠΎΡΠ½ΡΡ ΠΌΠ΅ΡΠΎΠ΄ΠΎΠ² ΠΌΠΎΠ΄Π΅Π»ΠΈΡΠΎΠ²Π°Π½ΠΈΡ Π΄Π»Ρ ΠΎΠ±ΠΎΡΠ½ΠΎΠ²Π°Π½ΠΈΡ ΠΎΠΏΡΠΈΠΌΠ°Π»ΡΠ½ΡΡ ΠΊΠΎΠ½ΡΡΡΡΠΊΡΠΈΠΉ Π±ΡΠΎΠ½Π΅ΠΎΠ±ΡΠ΅ΠΊΡΠΎΠ² ΠΏΠΎΠ·Π²ΠΎΠ»ΡΠ΅Ρ ΡΠΎΠ·Π΄Π°Π²Π°ΡΡ ΡΠ°Π½ΠΊΠΈ Ρ Π²ΡΡΠΎΠΊΠΈΠΌ ΡΡΠΎΠ²Π½Π΅ΠΌ ΠΊΠΎΠΌΠΏΠ»Π΅ΠΊΡΠ½ΠΎΠΉ Π·Π°ΡΠΈΡΡ, Π² ΠΊΠΎΡΠΎΡΠΎΠΉ ΠΠ ΡΡΠ°Π»Π° ΠΈΠ³ΡΠ°ΡΡ ΠΎΠΏΡΠ΅Π΄Π΅Π»ΡΡΡΡΡ ΡΠΎΠ»Ρ. Π‘Π΅Π³ΠΎΠ΄Π½Ρ ΡΠΎΠ·Π΄Π°ΡΠ΅Π»ΠΈ ΡΠ°Π½ΠΊΠΎΠ², ΠΈΠΌΠ΅Ρ Π²ΠΎΠ·ΠΌΠΎΠΆΠ½ΠΎΡΡΡ (Π±Π»Π°Π³ΠΎΠ΄Π°ΡΡ ΠΈΡΠΏΠΎΠ»ΡΠ·ΠΎΠ²Π°Π½ΠΈΡ ΠΏΠ»Π°ΡΡΠΈΡΠ½ΠΎΠ³ΠΎ Π²Π·ΡΡΠ²ΡΠ°ΡΠΎΠ³ΠΎ Π²Π΅ΡΠ΅ΡΡΠ²Π°) ΡΠΈΡΠΎΠΊΠΎΠ³ΠΎ ΠΌΠ°Π½ΡΠ²ΡΠ° ΠΌΠ°ΡΡΠΎΠΉ, Π³Π°Π±Π°ΡΠΈΡΠ°ΠΌΠΈ ΠΏΡΠΈ ΠΊΠΎΠΌΠΏΠΎΠ½ΠΎΠ²ΠΊΠ΅ ΠΊΠΎΠΌΠΏΠ»Π΅ΠΊΡΠ½ΠΎΠΉ Π·Π°ΡΠΈΡΡ, ΠΎΠ±Π»Π°Π΄Π°ΡΡ ΠΎΠΏΡΠ΅Π΄Π΅Π»ΡΠ½Π½ΡΠΌΠΈ ΠΏΡΠ΅ΠΈΠΌΡΡΠ΅ΡΡΠ²Π°ΠΌΠΈ ΠΏΠ΅ΡΠ΅Π΄ Π±ΠΎΠ΅ΠΏΡΠΈΠΏΠ°ΡΠ½ΠΈΠΊΠ°ΠΌΠΈ, ΠΊΠΎΡΠΎΡΡΠ΅ Β«ΠΏΠΎΠ²ΡΠ·Π°Π½ΡΒ» ΠΎΠ³ΡΠ°Π½ΠΈΡΠ΅Π½ΠΈΡΠΌΠΈ ΠΏΠΎ ΠΊΠ°Π»ΠΈΠ±ΡΠ°ΠΌ ΠΈ ΠΌΠ°ΡΡΠ΅ Π±ΠΎΠ΅ΠΏΡΠΈΠΏΠ°ΡΠΎΠ².
ΠΠ°ΠΏΠΎΠΌΠ½ΠΈΠΌ, ΡΡΠΎ ΠΠ β Π·Π°ΡΠΈΡΠ½ΠΎΠ΅ ΡΡΡΡΠΎΠΉΡΡΠ²ΠΎ (Π² ΡΠΎΡΡΠ°Π² ΠΊΠΎΡΠΎΡΠΎΠ³ΠΎ Π²Ρ ΠΎΠ΄ΠΈΡ Π·Π°ΡΡΠ΄ ΠΠΠ), Π²ΠΎΠ·Π΄Π΅ΠΉΡΡΠ²ΡΡΡΠ΅Π΅ Π½Π° ΠΏΠΎΠΏΠ°Π²ΡΠΈΠΉ Π² ΡΠ°Π½ΠΊ ΠΠΠ‘ ΠΈΠ»ΠΈ ΠΊΡΠΌΡΠ»ΡΡΠΈΠ²Π½ΡΡ ΡΡΡΡΡ (ΠΠ‘) Ρ ΡΠ΅Π»ΡΡ ΡΠ΅Π·ΠΊΠΎΠ³ΠΎ ΡΠ½ΠΈΠΆΠ΅Π½ΠΈΡ ΠΈΡ Π±ΡΠΎΠ½Π΅ΠΏΡΠΎΠ±ΠΈΠ²Π½ΠΎΠ³ΠΎ Π΄Π΅ΠΉΡΡΠ²ΠΈΡ. ΠΡΡΠΎΠΊΠ°Ρ ΡΡΡΠ΅ΠΊΡΠΈΠ²Π½ΠΎΡΡΡ Π΄ΠΈΠ½Π°ΠΌΠΈΡΠ΅ΡΠΊΠΎΠΉ Π·Π°ΡΠΈΡΡ Π² ΡΠ½ΠΈΠΆΠ΅Π½ΠΈΠΈ Π±ΡΠΎΠ½Π΅ΠΏΡΠΎΠ±ΠΈΠ²Π½ΠΎΠΉ ΡΠΏΠΎΡΠΎΠ±Π½ΠΎΡΡΠΈ Π±ΠΎΠ΅ΠΏΡΠΈΠΏΠ°ΡΠ° Π΄ΠΎΡΡΠΈΠ³Π°Π΅ΡΡΡ Π·Π° ΡΡΡΡ Π±ΠΎΠΊΠΎΠ²ΠΎΠ³ΠΎ Π²ΠΎΠ·Π΄Π΅ΠΉΡΡΠ²ΠΈΡ ΠΌΠ΅ΡΠ°Π΅ΠΌΡΡ Π²Π·ΡΡΠ²ΠΎΠΌ ΠΌΠ΅ΡΠ°Π»Π»ΠΈΡΠ΅ΡΠΊΠΈΡ ΠΏΠ»Π°ΡΡΠΈΠ½ Π½Π° ΠΊΡΠΌΡΠ»ΡΡΠΈΠ²Π½ΡΡ ΡΡΡΡΡ ΠΈ Π±ΡΠΎΠ½Π΅Π±ΠΎΠΉΠ½ΡΠ΅ ΠΏΠΎΠ΄ΠΊΠ°Π»ΠΈΠ±Π΅ΡΠ½ΡΠ΅ ΡΠ½Π°ΡΡΠ΄Ρ.
ΠΠΊΡΠΈΠ²Π½ΡΠ΅ ΠΈΡΡΠ»Π΅Π΄ΠΎΠ²Π°Π½ΠΈΡ ΠΈ ΡΠ°Π·ΡΠ°Π±ΠΎΡΠΊΠΈ ΠΏΠΎΠ·Π²ΠΎΠ»ΠΈΠ»ΠΈ ΡΠΎΠ·Π΄Π°ΡΡ ΠΊΠΎΠ½ΡΡΡΡΠΊΡΠΈΠΈ ΠΠ, ΠΎΠ±Π»Π°Π΄Π°ΡΡΠΈΠ΅ ΡΠ°Π·Π»ΠΈΡΠ½ΠΎΠΉ ΡΡΡΠ΅ΠΊΡΠΈΠ²Π½ΠΎΡΡΡΡ. Π’Π°ΠΊ, Π΅ΡΠ»ΠΈ Π²Π½Π°ΡΠ°Π»Π΅ Π±ΡΠ»Π° ΡΠΎΠ·Π΄Π°Π½Π° Π½Π°Π²Π΅ΡΠ½Π°Ρ Π΄ΠΈΠ½Π°ΠΌΠΈΡΠ΅ΡΠΊΠ°Ρ Π·Π°ΡΠΈΡΠ° Π΄Π»Ρ Π±ΠΎΡΡΠ±Ρ Ρ ΠΊΡΠΌΡΠ»ΡΡΠΈΠ²Π½ΡΠΌΠΈ Π±ΠΎΠ΅ΠΏΡΠΈΠΏΠ°ΡΠ°ΠΌΠΈ, ΡΠΎ Π²ΡΠΊΠΎΡΠ΅ ΠΏΠΎΡΠ²ΠΈΠ»Π°ΡΡ Π²ΡΡΡΠΎΠ΅Π½Π½Π°Ρ Π΄ΠΈΠ½Π°ΠΌΠΈΡΠ΅ΡΠΊΠ°Ρ Π·Π°ΡΠΈΡΠ°, ΠΏΡΠ΅Π΄Π½Π°Π·Π½Π°ΡΠ΅Π½Π½Π°Ρ Π΄Π»Ρ Π±ΠΎΡΡΠ±Ρ ΠΊΠ°ΠΊ Ρ ΠΊΡΠΌΡΠ»ΡΡΠΈΠ²Π½ΡΠΌΠΈ Π±ΠΎΠ΅ΠΏΡΠΈΠΏΠ°ΡΠ°ΠΌΠΈ, ΡΠ°ΠΊ ΠΈ Ρ Π±ΡΠΎΠ½Π΅Π±ΠΎΠΉΠ½ΡΠΌΠΈ ΠΏΠΎΠ΄ΠΊΠ°Π»ΠΈΠ±Π΅ΡΠ½ΡΠΌΠΈ ΡΠ½Π°ΡΡΠ΄Π°ΠΌΠΈ. Π Π½Π°ΡΠ΅ΠΉ ΡΡΡΠ°Π½Π΅ Π²ΡΡΡΠΎΠ΅Π½Π½Π°Ρ ΠΠ ΠΎΡΡΠ°Π±ΠΎΡΠ°Π½Π° Π² Π½Π°ΡΠ°Π»Π΅ 60-Ρ Π³ΠΎΠ΄ΠΎΠ². ΠΠ΄Π½Π°ΠΊΠΎ ΡΡΡΠ°Π½ΠΎΠ²ΠΊΠ° ΠΠ Π½Π° ΠΎΡΠ΅ΡΠ΅ΡΡΠ²Π΅Π½Π½ΡΡ ΡΠ°Π½ΠΊΠ°Ρ Π² Π΅Π΅ Π½Π΅ Π»ΡΡΡΠ΅ΠΌ Π²Π°ΡΠΈΠ°Π½ΡΠ΅ Π±ΡΠ»Π° ΠΎΡΡΡΠ΅ΡΡΠ²Π»Π΅Π½Π° Π² 1985 Π³ΠΎΠ΄Ρ. Π’Π°ΠΊΠΎΠ΅ Π·Π°ΠΏΠΎΠ·Π΄Π°Π»ΠΎΠ΅ ΠΏΠΎΡΠ²Π»Π΅Π½ΠΈΠ΅ ΠΠ ΠΎΡΡΠΈΡΠ°ΡΠ΅Π»ΡΠ½ΠΎ ΠΎΡΡΠ°Π·ΠΈΠ»ΠΎΡΡ Π½Π° ΡΠ²ΠΎΠ΅Π²ΡΠ΅ΠΌΠ΅Π½Π½ΠΎΠΌ ΡΠΎΠ·Π΄Π°Π½ΠΈΠΈ ΠΎΡΠ΅ΡΠ΅ΡΡΠ²Π΅Π½Π½ΡΡ ΠΏΡΠΎΡΠΈΠ²ΠΎΡΠ°Π½ΠΊΠΎΠ²ΡΡ Π±ΠΎΠ΅ΠΏΡΠΈΠΏΠ°ΡΠΎΠ², ΡΠΏΠΎΡΠΎΠ±Π½ΡΡ ΠΏΡΠ΅ΠΎΠ΄ΠΎΠ»Π΅Π²Π°ΡΡ ΠΠ. ΠΠΌΠ΅ΡΡΠ΅ Ρ ΡΠ΅ΠΌ, ΡΡΠΎΠ±Ρ ΡΡΠ°Π·Ρ ΠΎΡΡΡΠ΅ΡΡΠ²ΠΈΡΡ ΠΎΡΡΠ°Π±ΠΎΡΠΊΡ Π΄ΠΈΠ½Π°ΠΌΠΈΡΠ΅ΡΠΊΠΎΠΉ Π·Π°ΡΠΈΡΡ, ΡΠΏΠΎΡΠΎΠ±Π½ΠΎΠΉ Π±ΠΎΡΠΎΡΡΡΡ Ρ ΠΠΠ‘ ΠΈ ΡΠ°Π½Π΄Π΅ΠΌΠ½ΡΠΌΠΈ ΠΊΡΠΌΡΠ»ΡΡΠΈΠ²Π½ΡΠΌΠΈ Π±ΠΎΠ΅ΠΏΡΠΈΠΏΠ°ΡΠ°ΠΌΠΈ, Π½Π°ΡΠΈ ΡΠ°Π·ΡΠ°Π±ΠΎΡΡΠΈΠΊΠΈ ΡΠΎΠ·Π΄Π°Π»ΠΈ Π½Π°Π²Π΅ΡΠ½ΡΡ ΠΠ, ΡΠΏΠΎΡΠΎΠ±Π½ΡΡ Π±ΠΎΡΠΎΡΡΡΡ ΡΠΎΠ»ΡΠΊΠΎ ΡΠΎ ΡΡΠ°ΡΡΠΌΠΈ ΠΊΡΠΌΡΠ»ΡΡΠΈΠ²Π½ΡΠΌΠΈ Π±ΠΎΠ΅ΠΏΡΠΈΠΏΠ°ΡΠ°ΠΌΠΈ.
ΠΠΌΠ΅ΡΡΠ΅ Ρ ΡΠ΅ΠΌ, ΠΈΠΌΠ΅ΡΡΡΡ ΠΎΡΡΠΈΡΠ°ΡΠ΅Π»ΡΠ½ΡΠ΅ ΠΏΡΠΈΠΌΠ΅ΡΡ ΡΠΎΠ³ΠΎ, ΠΊΠ°ΠΊ ΠΎΡΡΡΠ΅ΡΡΠ²Π»ΡΠ΅ΡΡΡ ΠΎΡΠ½Π°ΡΠ΅Π½ΠΈΠ΅ Π΄ΠΈΠ½Π°ΠΌΠΈΡΠ΅ΡΠΊΠΎΠΉ Π·Π°ΡΠΈΡΠΎΠΉ Π½Π°Π²Π΅ΡΠ½ΠΎΠ³ΠΎ ΡΠΈΠΏΠ° ΡΠ°Π½ΠΊΠΎΠ² Π² Π²ΠΎΠΉΡΠΊΠΎΠ²ΡΡ ΡΡΠ»ΠΎΠ²ΠΈΡΡ . Π’Π°ΠΊ Π½Π° ΡΠΎΡΠΎ ΠΏΡΠ΅Π΄ΡΡΠ°Π²Π»Π΅Π½ Π²Π°ΡΠΈΠ°Π½Ρ Β«ΡΠ°ΠΌΠΎΠ΄Π΅ΡΡΠ΅Π»ΡΠ½ΠΎΠ³ΠΎΒ» ΡΠ°Π·ΠΌΠ΅ΡΠ΅Π½ΠΈΡ ΠΊΠΎΠ½ΡΠ΅ΠΉΠ½Π΅ΡΠΎΠ² ΠΠ Π½Π° Π±Π°ΡΠ½Π΅ Π’-72. Π’ΡΠ΅ΡΠΈΠΉ ΡΡΠ΄ ΠΊΠΎΠ½ΡΠ΅ΠΉΠ½Π΅ΡΠΎΠ² Π½Π΅ ΡΠ²Π΅Π»ΠΈΡΠΈΠ²Π°Π΅Ρ ΠΎΠ±ΡΡΡ ΡΡΡΠ΅ΠΊΡΠΈΠ²Π½ΠΎΡΡΡ Π΄ΠΈΠ½Π°ΠΌΠΈΡΠ΅ΡΠΊΠΎΠΉ Π·Π°ΡΠΈΡΡ, Π° ΡΠ²Π΅Π»ΠΈΡΠΈΠ²Π°Π΅Ρ ΠΏΠ»ΠΎΡΠ°Π΄Ρ, Ρ ΠΊΠΎΡΠΎΡΠΎΠΉ Π²Π·ΡΡΠ²ΠΎΠΌ Π±ΡΠ΄ΡΡ ΡΠ½Π΅ΡΠ΅Π½Ρ ΡΠΎΡΠ΅Π΄Π½ΠΈΠ΅ ΠΊΠΎΠ½ΡΠ΅ΠΉΠ½Π΅ΡΡ ΠΠ. Π’Π°Π½ΠΊ ΠΎΠΊΠ°ΠΆΠ΅ΡΡΡ Β«Π³ΠΎΠ»ΡΠΌΒ» Π΄Π»Ρ ΠΏΠΎΡΠ»Π΅Π΄ΡΡΡΠ΅Π³ΠΎ Π²ΠΎΠ·Π΄Π΅ΠΉΡΡΠ²ΠΈΡ. ΠΡΠΎΠΌΠ΅ ΡΠΎΠ³ΠΎ, ΠΏΡΠΈ ΡΡΠ΅Ρ ΡΠ»ΠΎΠΉΠ½ΠΎΠΌ ΡΠ°ΡΠΏΠΎΠ»ΠΎΠΆΠ΅Π½ΠΈΠΈ ΠΊΠΎΠ½ΡΠ΅ΠΉΠ½Π΅ΡΠΎΠ² ΠΠ Π²ΠΎΠ·ΡΠ°ΡΡΠ°ΡΡ Π΄ΠΈΠ½Π°ΠΌΠΈΡΠ΅ΡΠΊΠΈΠ΅ Π½Π°Π³ΡΡΠ·ΠΊΠΈ Π½Π° Π²Π½ΡΡΡΠ΅Π½Π½Π΅Π΅ ΠΎΠ±ΠΎΡΡΠ΄ΠΎΠ²Π°Π½ΠΈΠ΅ ΠΈ ΡΠΊΠΈΠΏΠ°ΠΆ ΠΈ ΡΠ²Π΅Π»ΠΈΡΠΈΠ²Π°Π΅ΡΡΡ ΡΡΡΠ΅ΠΊΡΠΈΠ²Π½ΠΎΡΡΡ ΠΈΡ ΠΏΠΎΡΠ°ΠΆΠ΅Π½ΠΈΡ Π±Π΅Π· ΠΏΡΠΎΠ±ΠΈΡΠΈΡ Π±ΡΠΎΠ½ΠΈ ΡΠ°Π½ΠΊΠ°.

Π’-80Π£
ΠΠΈΠ½Π°ΠΌΠΈΡΠ΅ΡΠΊΠΎΠΉ Π·Π°ΡΠΈΡΠΎΠΉ Π²ΡΡΡΠΎΠ΅Π½Π½ΠΎΠ³ΠΎ ΡΠΈΠΏΠ° ΠΎΡΠ½Π°ΡΠ΅Π½Ρ ΠΎΡΠ΅ΡΠ΅ΡΡΠ²Π΅Π½Π½ΡΠ΅ ΡΠ°Π½ΠΊΠΈ Π’-72Π, Π’-80Π£Π ΠΈ Π·Π°ΡΡΠ±Π΅ΠΆΠ½ΡΠ΅ Π1Π2 (Π‘Π¨Π), Β«ΠΠ΅ΠΎΠΏΠ°ΡΠ΄-2Β» (ΠΠ΅ΡΠΌΠ°Π½ΠΈΡ), Β«ΠΠ΅ΠΊΠ»Π΅ΡΠΊΒ» (Π€ΡΠ°Π½ΡΠΈΡ), ΡΠ°Π½ΠΊ Β«90Β» (Π―ΠΏΠΎΠ½ΠΈΡ), Π° ΡΠ°ΠΊΠΆΠ΅ ΡΠ°Π·ΡΠ°Π±ΠΎΡΠ°Π½ Π²Π°ΡΠΈΠ°Π½Ρ ΡΡΡΠ°Π½ΠΎΠ²ΠΊΠΈ Π΅Ρ Π½Π° Π²Π΅ΡΡ Π½Π΅ΠΉ Π»ΠΎΠ±ΠΎΠ²ΠΎΠΉ Π΄Π΅ΡΠ°Π»ΠΈ ΠΊΠΎΡΠΏΡΡΠ° ΡΠ°Π½ΠΊΠ° Π’-80 (ΠΠΈΡΠ°ΠΉ). ΠΠ·Π²Π΅ΡΡΠ½ΠΎ, ΡΡΠΎ ΡΡΡΠ΅ΠΊΡΠΈΠ²Π½ΠΎΡΡΡ Π΄ΠΈΠ½Π°ΠΌΠΈΡΠ΅ΡΠΊΠΎΠΉ Π·Π°ΡΠΈΡΡ ΠΎΠΏΡΠ΅Π΄Π΅Π»ΡΠ΅ΡΡΡ Π΄Π»ΠΈΠ½ΠΎΠΉ Π΅Π΅ ΡΠ»Π΅ΠΌΠ΅Π½ΡΠΎΠ². ΠΠ° Π·Π°ΡΡΠ±Π΅ΠΆΠ½ΡΡ ΡΠ°Π½ΠΊΠ°Ρ Π΄Π»ΠΈΠ½Π° Π±Π»ΠΎΠΊΠΎΠ² ΠΠ ΡΠΎΡΡΠ°Π²Π»ΡΠ΅Ρ 500 ΠΌΠΌ, ΡΡΠΎ ΠΏΠΎΠ·Π²ΠΎΠ»ΡΠ΅Ρ ΡΡΡΠ΅ΠΊΡΠΈΠ²Π½ΠΎ Π²ΠΎΠ·Π΄Π΅ΠΉΡΡΠ²ΠΎΠ²Π°ΡΡ Π½Π΅ ΡΠΎΠ»ΡΠΊΠΎ Π½Π° ΠΌΠΎΠ½ΠΎΠ±Π»ΠΎΡΠ½ΡΠ΅ Π±ΠΎΠ΅ΠΏΡΠΈΠΏΠ°ΡΡ (Ρ ΠΎΠ΄Π½ΠΈΠΌ ΠΊΡΠΌΡΠ»ΡΡΠΈΠ²Π½ΡΠΌ Π·Π°ΡΡΠ΄ΠΎΠΌ), Π½ΠΎ ΠΈ Π½Π° ΡΠ°Π½Π΄Π΅ΠΌΠ½ΡΠ΅ ΠΠ§. ΠΠ° Π½Π°ΡΠΈΡ ΠΆΠ΅ ΡΠ°Π½ΠΊΠ°Ρ Π΄Π»ΠΈΠ½Π° Π±Π»ΠΎΠΊΠΎΠ² Π² ΡΠ³ΠΎΠ΄Ρ ΡΠ½ΠΈΡΠΈΠΊΠ°ΡΠΈΠΈ ΡΠΎΡΡΠ°Π²Π»ΡΠ΅Ρ 250 ΠΌΠΌ, ΡΡΠΎ ΠΎΠ±ΡΡΠ»ΠΎΠ²ΠΈΠ»ΠΎ ΠΌΠ°Π»ΡΡ Π΅Π΅ ΡΡΡΠ΅ΠΊΡΠΈΠ²Π½ΠΎΡΡΡ. ΠΠ· ΡΡΠ°Π²Π½Π΅Π½ΠΈΡ ΡΠ°Π·ΠΌΠ΅ΡΠΎΠ² Π±Π»ΠΎΠΊΠΎΠ² ΠΠ, Π½Π°ΠΏΡΠΈΠΌΠ΅Ρ, Π½Π° Π²Π΅ΡΡ Π½Π΅ΠΉ Π»ΠΎΠ±ΠΎΠ²ΠΎΠΉ Π΄Π΅ΡΠ°Π»ΠΈ ΠΊΠΎΡΠΏΡΡΠ° Π°ΠΌΠ΅ΡΠΈΠΊΠ°Π½ΡΠΊΠΎΠ³ΠΎ ΡΠ°Π½ΠΊΠ° Ρ ΠΠ Π½Π° ΠΎΡΠ΅ΡΠ΅ΡΡΠ²Π΅Π½Π½ΠΎΠΌ ΡΠ°Π½ΠΊΠ΅ Π²ΠΈΠ΄Π½ΠΎ, ΡΡΠΎ Π½Π° Π·Π°ΡΡΠ±Π΅ΠΆΠ½ΠΎΠΌ ΡΠ°Π½ΠΊΠ΅ ΡΠ°Π·ΠΌΠ΅ΡΠ΅Π½ΠΎ 2 ΡΡΠ΄Π°, Π° Π½Π° ΠΎΡΠ΅ΡΠ΅ΡΡΠ²Π΅Π½Π½ΠΎΠΌ β 4 ΡΡΠ΄Π° ΠΊΠΎΠ½ΡΠ΅ΠΉΠ½Π΅ΡΠΎΠ² ΠΠ. Π£ΠΆΠ΅ ΠΎΠ΄Π½ΠΎ ΡΡΠΎ ΡΡΠ°Π²Π½Π΅Π½ΠΈΠ΅ ΡΠ²ΠΈΠ΄Π΅ΡΠ΅Π»ΡΡΡΠ²ΡΠ΅Ρ ΠΎ Π±ΠΎΠ»ΡΡΠ΅ΠΉ Π΄Π»ΠΈΠ½Π΅ Π±Π»ΠΎΠΊΠΎΠ² ΠΠ Π½Π° Π·Π°ΡΡΠ±Π΅ΠΆΠ½ΡΡ ΡΠ°Π½ΠΊΠ°Ρ .

Π’ΡΠ΅Ρ ΡΠ»ΠΎΠΉΠ½ΡΠΉ Π²Π°ΡΠΈΠ°Π½Ρ ΡΠ°Π·ΠΌΠ΅ΡΠ΅Π½ΠΈΡ ΠΊΠΎΠ½ΡΠ΅ΠΉΠ½Π΅ΡΠΎΠ² ΠΠ Π½Π° Π±Π°ΡΠ½Π΅ ΡΠ°Π½ΠΊΠ° Π’-72

Π Π½Π°ΡΡΠΎΡΡΠ΅Π΅ Π²ΡΠ΅ΠΌΡ ΠΈΠΌΠ΅ΡΡΡΡ Π²Π°ΡΠΈΠ°Π½ΡΡ ΡΠ°Π·ΡΠ°Π±ΠΎΡΠΎΠΊ ΡΠ°Π½Π΄Π΅ΠΌΠ½ΠΎΠΉ ΠΠ Ρ Π΄Π²ΡΠΌΡ ΡΠ°Π·Π½Π΅ΡΡΠ½Π½ΡΠΌΠΈ ΡΠ»ΠΎΡΠΌΠΈ ΠΏΠ»Π°ΡΡΠΈΡΠ½ΠΎΠ³ΠΎ Π²Π·ΡΡΠ²ΡΠ°ΡΠΎΠ³ΠΎ Π²Π΅ΡΠ΅ΡΡΠ²Π° (ΠΏΠ΅ΡΠ²ΡΠΉ ΡΠ»ΠΎΠΉ ΠΠΠ Π½Π΅ΠΉΡΡΠ°Π»ΠΈΠ·ΡΠ΅Ρ Π΄Π΅ΠΉΡΡΠ²ΠΈΠ΅ ΠΏΠ΅ΡΠ²ΠΎΠ³ΠΎ Π·Π°ΡΡΠ΄Π° ΡΠ°Π½Π΄Π΅ΠΌΠ½ΠΎΠΉ ΠΠ§, Π²ΡΠΎΡΠΎΠΉ β ΡΠΌΠ΅Π½ΡΡΠ°Π΅Ρ Π³Π»ΡΠ±ΠΈΠ½Ρ ΠΏΡΠΎΠ½ΠΈΠΊΠ°Π½ΠΈΡ ΠΊΡΠΌΡΠ»ΡΡΠΈΠ²Π½ΠΎΠΉ ΡΡΡΡΠΈ ΠΎΡΠ½ΠΎΠ²Π½ΠΎΠ³ΠΎ Π·Π°ΡΡΠ΄Π° Π½Π° 50…70%), Π° ΡΠ°ΠΊΠΆΠ΅ ΡΠΎΠ·Π΄Π°Π΅ΡΡΡ ΠΊΠΎΠΌΠΏΡΡΡΠ΅ΡΠΈΠ·ΠΈΡΠΎΠ²Π°Π½Π½Π°Ρ ΠΠ, ΠΊΠΎΡΠΎΡΠ°Ρ Π±ΡΠ΄Π΅Ρ Π±ΠΎΠ»Π΅Π΅ ΡΠ»ΠΎΠΆΠ½ΠΎΠΉ ΠΈ ΡΡΡΠ΅ΠΊΡΠΈΠ²Π½ΠΎΠΉ, ΡΠ΅ΠΌ ΡΡΡΠ΅ΡΡΠ²ΡΡΡΠΈΠ΅ ΠΊΠΎΠ½ΡΡΡΡΠΊΡΠΈΠΈ ΠΈ ΡΠΌΠΎΠΆΠ΅Ρ Π½Π΅ΠΉΡΡΠ°Π»ΠΈΠ·ΠΎΠ²Π°ΡΡ Π±ΡΠΎΠ½Π΅ΠΏΡΠΎΠ±ΠΈΠ²Π½ΠΎΠ΅ Π΄Π΅ΠΉΡΡΠ²ΠΈΠ΅, ΠΊΠ°ΠΊ Π±ΡΠΎΠ½Π΅Π±ΠΎΠΉΠ½ΡΡ ΠΏΠΎΠ΄ΠΊΠ°Π»ΠΈΠ±Π΅ΡΠ½ΡΡ ΡΠ½Π°ΡΡΠ΄ΠΎΠ², ΡΠ°ΠΊ ΠΈ ΠΊΡΠΌΡΠ»ΡΡΠΈΠ²Π½ΡΡ Π±ΠΎΠ΅ΠΏΡΠΈΠΏΠ°ΡΠΎΠ² ΠΊΠ°Π»ΠΈΠ±ΡΠ° 120 ΠΌΠΌ ΠΈ Π±ΠΎΠ»Π΅Π΅. ΠΡΠ° Β«ΡΠ°Π·ΡΠΌΠ½Π°ΡΒ» ΠΊΠΎΠ½ΡΡΡΡΠΊΡΠΈΡ ΡΠ²Π»ΡΠ΅ΡΡΡ ΠΊΠΎΠΌΠΏΡΡΡΠ΅ΡΠΈΠ·ΠΈΡΠΎΠ²Π°Π½Π½ΡΠΌ Π²Π°ΡΠΈΠ°Π½ΡΠΎΠΌ ΠΠ, ΠΎΠ±Π½Π°ΡΡΠΆΠΈΠ²Π°ΡΡΠΈΠΌ, ΠΎΡΠΊΠ»ΠΎΠ½ΡΡΡΠΈΠΌ ΠΈΠ»ΠΈ ΡΠ°Π·ΡΡΡΠ°ΡΡΠΈΠΌ ΠΠΠ‘ ΠΈ ΠΠ‘ Ρ ΠΈΡΠΏΠΎΠ»ΡΠ·ΠΎΠ²Π°Π½ΠΈΠ΅ΠΌ Π½Π΅Π±ΠΎΠ»ΡΡΠΈΡ Π±Π»ΠΎΠΊΠΎΠ² ΠΠ. Π ΡΡΠΎΠΉ ΠΊΠΎΠ½ΡΡΡΡΠΊΡΠΈΠΈ ΠΈΡΠΏΠΎΠ»ΡΠ·ΡΡΡΡΡ Π΄Π°ΡΡΠΈΠΊΠΈ, ΡΠΎΠ΅Π΄ΠΈΠ½ΡΠ½Π½ΡΠ΅ Ρ ΠΊΠΎΠΌΠΏΡΡΡΠ΅ΡΠΎΠΌ, ΡΠΏΡΠ°Π²Π»ΡΡΡΠΈΠΌ Π²ΡΠ΅ΠΉ ΡΠΈΡΡΠ΅ΠΌΠΎΠΉ. ΠΠΎΠ³Π΄Π° Π°ΡΠ°ΠΊΡΡΡΠΈΠΉ Π±ΠΎΠ΅ΠΏΡΠΈΠΏΠ°Ρ ΠΏΡΠΎΠΉΠ΄ΡΡ ΡΠΈΡΡΠ΅ΠΌΡ Π΄Π°ΡΡΠΈΠΊΠΎΠ², ΠΊΠΎΠΌΠΏΡΡΡΠ΅Ρ ΠΎΠΏΡΠ΅Π΄Π΅Π»ΠΈΡ ΠΏΠ°ΡΠ°ΠΌΠ΅ΡΡΡ ΡΠ½Π°ΡΡΠ΄Π° ΠΈ ΡΠΈΡΠ»ΠΎ Π±Π»ΠΎΠΊΠΎΠ² ΠΠ, ΠΊΠΎΡΠΎΡΡΠ΅ Π΄ΠΎΠ»ΠΆΠ½Ρ Π½Π΅ΠΉΡΡΠ°Π»ΠΈΠ·ΠΎΠ²Π°ΡΡ Π±ΠΎΠ΅ΠΏΡΠΈΠΏΠ°Ρ. Π’Π°ΠΊΠ°Ρ ΡΡ Π΅ΠΌΠ° ΠΏΠΎΠ·Π²ΠΎΠ»ΡΠ΅Ρ Π±ΠΎΠ»Π΅Π΅ ΡΠΊΠΎΠ½ΠΎΠΌΠΈΡΠ½ΠΎ ΡΠ°ΡΡ ΠΎΠ΄ΠΎΠ²Π°ΡΡ ΠΠΠ ΠΠ ΠΈ ΠΌΠ΅Π½Π΅Π΅ ΡΡΡΠ΅ΡΡΠ²Π΅Π½Π½ΠΎ Π²ΠΎΠ·Π΄Π΅ΠΉΡΡΠ²ΠΎΠ²Π°ΡΡ Π½Π° Π²Π½Π΅ΡΠ½ΠΈΠ΅ ΠΈ Π²Π½ΡΡΡΠ΅Π½Π½ΠΈΠ΅ Π°Π³ΡΠ΅Π³Π°ΡΡ Π±ΡΠΎΠ½Π΅ΠΎΠ±ΡΠ΅ΠΊΡΠΎΠ². ΠΡΠ΅Π΄ΠΏΠΎΠ»Π°Π³Π°Π΅ΡΡΡ, ΡΡΠΎ Π΄Π°Π½Π½Π°Ρ ΡΠΈΡΡΠ΅ΠΌΠ° ΠΌΠΎΠΆΠ΅Ρ Π±ΡΡΡ ΡΡΡΠ°Π½ΠΎΠ²Π»Π΅Π½Π° Π½Π° ΠΏΠ΅ΡΡΠΏΠ΅ΠΊΡΠΈΠ²Π½ΡΡ ΠΌΠΎΠ΄ΠΈΡΠΈΠΊΠ°ΡΠΈΡΡ ΡΠ°Π½ΠΊΠ° Ml ΠΈ ΠΠΠ Β«ΠΡΠ΅Π΄Π»ΠΈΒ». Π Π°ΡΡΠΌΠΎΡΡΠ΅Π½Π½Π°Ρ ΡΠΈΡΡΠ΅ΠΌΠ° Π±Π΅Π·ΠΎΠΏΠ°ΡΠ½Π΅Π΅ ΡΡΡΠ΅ΡΡΠ²ΡΡΡΠ΅ΠΉ ΠΠ, ΠΏΠΎΡΠΊΠΎΠ»ΡΠΊΡ ΠΈΠ½ΠΈΡΠΈΠΈΡΡΠ΅ΡΡΡ ΡΠΎΠ»ΡΠΊΠΎ ΠΏΠΎ ΡΠΈΠ³Π½Π°Π»Ρ ΠΊΠΎΠΌΠΏΡΡΡΠ΅ΡΠ°. ΠΠΌΠ΅ΡΡΠ΅ Ρ ΡΠ΅ΠΌ, ΠΏΠ΅ΡΡΠΏΠ΅ΠΊΡΠΈΠ²Π½ΡΠ΅ ΠΠ’Π‘ Π΄ΠΎΠ»ΠΆΠ½Ρ ΠΈΡΠΏΠΎΠ»ΡΠ·ΠΎΠ²Π°ΡΡ Π½Π°ΡΡΡΠ΅Π½Π½ΠΎΡΡΡ ΡΠ»Π΅ΠΊΡΡΠΎΠ½ΠΈΠΊΠΎΠΉ ΠΊΠΎΠΌΠΏΡΡΡΠ΅ΡΠΈΠ·ΠΈΡΠΎΠ²Π°Π½Π½ΠΎΠΉ ΠΠ ΠΏΡΡΡΠΌ ΡΠΎΠ·Π΄Π°Π½ΠΈΡ Π»ΠΎΠΆΠ½ΡΡ ΠΏΠΎΠΌΠ΅Ρ ΠΈ ΠΎΡΡΡΠ΅ΡΡΠ²Π»ΡΡΡ Π΄ΠΈΡΡΠ°Π½ΡΠΈΠΎΠ½Π½ΡΠΉ ΠΏΠΎΠ΄ΡΡΠ² Π΅Ρ Π±Π»ΠΎΠΊΠΎΠ².

ΠΡΠ½Π°ΡΠ΅Π½ΠΈΠ΅ ΡΠ°Π½ΠΊΠΎΠ² Π΄ΠΈΠ½Π°ΠΌΠΈΡΠ΅ΡΠΊΠΎΠΉ Π·Π°ΡΠΈΡΠΎΠΉ Π°ΠΊΡΠΈΠ²ΠΈΠ·ΠΈΡΠΎΠ²Π°Π»ΠΎ ΡΠ°Π±ΠΎΡΡ Π² ΡΠ°Π·Π²ΠΈΡΡΡ ΡΡΡΠ°Π½Π°Ρ ΠΏΠΎ ΡΠΎΠ²Π΅ΡΡΠ΅Π½ΡΡΠ²ΠΎΠ²Π°Π½ΠΈΡ ΠΏΡΠΎΡΠΈΠ²ΠΎΡΠ°Π½ΠΊΠΎΠ²ΡΡ ΡΡΠ΅Π΄ΡΡΠ². Π Π½Π°ΡΡΠΎΡΡΠ΅ΠΌΡ Π²ΡΠ΅ΠΌΠ΅Π½ΠΈ ΡΠΎΠ·Π΄Π°Π½Ρ Π±ΠΎΠ΅ΠΏΡΠΈΠΏΠ°ΡΡ ΡΠΏΠΎΡΠΎΠ±Π½ΡΠ΅ Β«ΠΏΡΠ΅ΠΎΠ΄ΠΎΠ»Π΅Π²Π°ΡΡΒ» ΠΠ, Π½ΠΎ, Π² ΡΠ΅Π»ΠΎΠΌ, ΠΌΠ½ΠΎΠ³ΠΈΠ΅ Π²ΠΎΠΏΡΠΎΡΡ ΠΏΡΠΎΠ±Π»Π΅ΠΌΡ ΠΏΠΎΡΠ°ΠΆΠ΅Π½ΠΈΡ Π±ΡΠΎΠ½Π΅ΡΠ΅Π»Π΅ΠΉ Ρ ΠΠ ΠΎΡΡΠ°ΡΡΡΡ Π½Π΅ΡΠ°Π·ΡΠ΅ΡΠ΅Π½Π½ΡΠΌΠΈ. Π‘ΡΡΠ΅ΡΡΠ²ΡΠ΅Ρ ΠΌΠ½ΠΎΠ³ΠΎΠΎΠ±ΡΠ°Π·ΠΈΠ΅ ΡΠΎΠ·Π΄Π°Π½Π½ΡΡ ΠΈ ΡΠ°Π·ΡΠ°Π±Π°ΡΡΠ²Π°Π΅ΠΌΡΡ ΠΊΠΎΠ½ΡΡΡΡΠΊΡΠΈΠΉ ΠΠ’Π‘, ΠΏΡΠ΅Π΄Π½Π°Π·Π½Π°ΡΠ΅Π½Π½ΡΡ Π΄Π»Ρ Π±ΠΎΡΡΠ±Ρ Ρ Π±ΡΠΎΠ½Π΅ΡΠ΅Π»ΡΠΌΠΈ, ΠΎΡΠ½Π°ΡΡΠ½Π½ΡΠΌΠΈ ΠΠ. Π ΡΡΠ»ΠΎΠ²ΠΈΡΡ ΠΎΠ³ΡΠ°Π½ΠΈΡΠ΅Π½Π½ΡΡ ΠΌΠ°ΡΠ΅ΡΠΈΠ°Π»ΡΠ½ΡΡ Π²ΠΎΠ·ΠΌΠΎΠΆΠ½ΠΎΡΡΠ΅ΠΉ ΠΈ ΠΏΠΎΠ²ΡΡΠ΅Π½ΠΈΡ ΡΡΡΠ΅ΠΊΡΠΈΠ²Π½ΠΎΡΡΠΈ ΠΠ’Π‘ Π½Π΅ΠΎΠ±Ρ ΠΎΠ΄ΠΈΠΌ ΠΊΠΎΠΌΠΏΠ»Π΅ΠΊΡΠ½ΡΠΉ Π½Π°ΡΡΠ½ΠΎ ΠΎΠ±ΠΎΡΠ½ΠΎΠ²Π°Π½Π½ΡΠΉ ΠΏΠΎΠ΄Ρ ΠΎΠ΄ Π² Π²ΡΠ±ΠΎΡΠ΅ Π½Π°ΠΏΡΠ°Π²Π»Π΅Π½ΠΈΠΉ ΡΠ°Π·Π²ΠΈΡΠΈΡ ΡΡΠΎΠ³ΠΎ Π²ΠΈΠ΄Π° Π²ΠΎΠΎΡΡΠΆΠ΅Π½ΠΈΡ. ΠΠΌΠ΅ΡΡΠ΅ Ρ ΡΠ΅ΠΌ, ΡΠ΅Π·ΡΠ»ΡΡΠ°ΡΡ ΠΈΡΡΠ»Π΅Π΄ΠΎΠ²Π°Π½ΠΈΠΉ ΡΠ²ΠΈΠ΄Π΅ΡΠ΅Π»ΡΡΡΠ²ΡΡΡ ΠΎ ΡΠΎΠΌ, ΡΡΠΎ Π½Π°ΡΡΠ΄Ρ ΡΠΎ ΡΠΏΠΎΡΠΎΠ±ΠΎΠΌ ΠΏΡΠ΅ΠΎΠ΄ΠΎΠ»Π΅Π½ΠΈΡ Π΄ΠΈΠ½Π°ΠΌΠΈΡΠ΅ΡΠΊΠΎΠΉ Π·Π°ΡΠΈΡΡ Ρ ΠΈΠ½ΠΈΡΠΈΠΈΡΠΎΠ²Π°Π½ΠΈΠ΅ΠΌ ΠΠΠ ΡΡΡΠ΅ΡΡΠ²ΡΠ΅Ρ Π²ΠΎΠ·ΠΌΠΎΠΆΠ½ΠΎΡΡΡ ΠΏΡΠ΅ΠΎΠ΄ΠΎΠ»Π΅Π½ΠΈΡ Π΅Ρ ΡΠ»Π΅ΠΌΠ΅Π½ΡΠΎΠ² Π±Π΅Π· ΠΈΠ½ΠΈΡΠΈΠΈΡΠΎΠ²Π°Π½ΠΈΡ ΠΠΠ. ΠΠΎΡΠΊΠΎΠ»ΡΠΊΡ ΠΊΡΡΡΠ°, Π΄Π½ΠΈΡΠ΅ ΠΈ Π±ΠΎΡΡΠ° ΡΠ°Π½ΠΊΠΎΠ² ΠΈΠΌΠ΅ΡΡ Π½Π΅Π·Π½Π°ΡΠΈΡΠ΅Π»ΡΠ½ΡΠ΅ ΡΠΎΠ»ΡΠΈΠ½Ρ, ΡΠΎ ΡΠΎΠ·Π΄Π°Π½ΠΈΠ΅ ΠΏΡΠΎΡΠΈΠ²ΠΎΡΠ°Π½ΠΊΠΎΠ²ΡΡ ΡΡΠ΅Π΄ΡΡΠ², Π΄Π΅ΠΉΡΡΠ²ΡΡΡΠΈΡ ΠΏΠΎ ΡΡΠΈΠΌ ΡΡΠ°Π³ΠΌΠ΅Π½ΡΠ°ΠΌ (Π΄Π°ΠΆΠ΅ ΠΏΡΠΈ Π½Π°Π»ΠΈΡΠΈΠΈ ΠΠ), ΠΏΠΎΠ·Π²ΠΎΠ»ΠΈΡ Π·Π½Π°ΡΠΈΡΠ΅Π»ΡΠ½ΠΎ ΠΏΠΎΠ²ΡΡΠΈΡΡ ΡΡΡΠ΅ΠΊΡΠΈΠ²Π½ΠΎΡΡΡ ΠΏΡΠΎΡΠΈΠ²ΠΎΡΠ°Π½ΠΊΠΎΠ²ΠΎΠ³ΠΎ Π²ΠΎΠΎΡΡΠΆΠ΅Π½ΠΈΡ. ΠΠΎΠ²ΡΠ΅ ΡΠ°ΠΊΡΠΈΡΠ΅ΡΠΊΠΈΠ΅ ΠΏΡΠΈΡΠΌΡ Π²Π΅Π΄Π΅Π½ΠΈΡ ΡΡΡΠ΅Π»ΡΠ±Ρ Π΄Π°ΠΆΠ΅ Β«ΡΡΠ°ΡΡΠΌΠΈΒ» Π±ΠΎΠ΅ΠΏΡΠΈΠΏΠ°ΡΠ°ΠΌΠΈ ΠΌΠΎΠ³ΡΡ Π΄Π°ΡΡ ΠΏΠΎΠ»ΠΎΠΆΠΈΡΠ΅Π»ΡΠ½ΡΠΉ ΡΠ΅Π·ΡΠ»ΡΡΠ°Ρ. Π, Π½Π°ΠΊΠΎΠ½Π΅Ρ, Π½Π΅ΡΡΠ°Π΄ΠΈΡΠΈΠΎΠ½Π½ΡΠ΅ ΡΠΏΠΎΡΠΎΠ±Ρ ΠΏΠΎΡΠ°ΠΆΠ΅Π½ΠΈΡ ΡΠ΅Π»Π΅ΠΉ ΠΎΡΠΊΡΡΠ²Π°ΡΡ Π½ΠΎΠ²ΡΠ΅ ΡΡΡΠ΅ΠΊΡΠΈΠ²Π½ΡΠ΅ Π½Π°ΠΏΡΠ°Π²Π»Π΅Π½ΠΈΡ Π±ΠΎΡΡΠ±Ρ Ρ ΡΠ°Π½ΠΊΠ°ΠΌΠΈ. ΠΠ΅Π»ΡΠ·Ρ Π½Π΅ ΠΎΡΠΌΠ΅ΡΠΈΡΡ Π½Π΅ΠΎΠ±Ρ ΠΎΠ΄ΠΈΠΌΠΎΡΡΡ ΠΎΡΡΡΠ΅ΡΡΠ²Π»Π΅Π½ΠΈΡ ΠΊΡΡΡΠ° Π½Π° ΠΏΡΠΎΠ΄Π»Π΅Π½ΠΈΠ΅ ΠΆΠΈΠ·Π½Π΅Π½Π½ΠΎΠ³ΠΎ ΡΠΈΠΊΠ»Π° Π½Π΅ΠΊΠΎΡΠΎΡΡΡ ΠΠ’Π‘ Π·Π° ΡΡΡΡ ΠΌΠΎΠ΄Π΅ΡΠ½ΠΈΠ·Π°ΡΠΈΠΈ. ΠΠ΄Π½ΠΈΠΌ ΠΈΠ· ΠΏΡΠ΅Π΄Π»ΠΎΠΆΠ΅Π½ΠΈΠΉ Π² ΡΡΠΎΠΌ Π½Π°ΠΏΡΠ°Π²Π»Π΅Π½ΠΈΠΈ ΠΌΠΎΠΆΠ΅Ρ ΡΠ²Π»ΡΡΡΡΡ Π·Π°ΠΌΠ΅Π½Π° ΠΊΡΠΌΡΠ»ΡΡΠΈΠ²Π½ΡΡ ΠΏΡΠ΅Π΄Π·Π°ΡΡΠ΄ΠΎΠ² (ΠΠ) ΡΠ°Π½Π΄Π΅ΠΌΠ½ΡΡ Π±ΠΎΠ΅Π²ΡΡ ΡΠ°ΡΡΠ΅ΠΉ (ΠΠ§) ΠΠ’Π£Π ΡΠΏΠ»ΡΡΠΈΠ²Π°ΡΡΠΈΠΌΠΈΡΡ ΠΏΡΠ΅Π΄Π·Π°ΡΡΠ΄Π°ΠΌΠΈ ΡΡΠ³Π°ΡΠ½ΠΎ-Π½Π°ΠΏΡΠ°Π²Π»Π΅Π½Π½ΠΎΠ³ΠΎ Π΄Π΅ΠΉΡΡΠ²ΠΈΡ.

Π‘ ΠΏΠΎΡΠ²Π»Π΅Π½ΠΈΠ΅ΠΌ Π΄ΠΈΠ½Π°ΠΌΠΈΡΠ΅ΡΠΊΠΎΠΉ Π·Π°ΡΠΈΡΡ ΡΠ°Π·ΡΠ°Π±ΠΎΡΡΠΈΠΊΠΈ ΠΏΡΠΎΡΠΈΠ²ΠΎΡΠ°Π½ΠΊΠΎΠ²ΡΡ Π±ΠΎΠ΅ΠΏΡΠΈΠΏΠ°ΡΠΎΠ² ΠΏΡΠ΅Π΄Π»ΠΎΠΆΠΈΠ»ΠΈ Π½ΠΎΠ²ΡΠ΅ ΠΊΠΎΠΌΠΏΠΎΠ½ΠΎΠ²ΠΎΡΠ½ΡΠ΅ ΡΡ Π΅ΠΌΡ ΡΠ°ΠΊΠ΅Ρ, Π² ΡΠΎΠΌ ΡΠΈΡΠ»Π΅ Ρ ΡΠ°Π½Π΄Π΅ΠΌΠ½ΠΎΠΉ Π±ΠΎΠ΅Π²ΠΎΠΉ ΡΠ°ΡΡΡΡ. ΠΠΎ Π·Π°ΠΌΡΡΠ»Ρ ΡΠΎΠ·Π΄Π°ΡΠ΅Π»Π΅ΠΉ ΡΠ°Π½Π΄Π΅ΠΌΠ½ΡΡ ΠΠ§, ΠΏΠ΅ΡΠ²ΡΠΉ ΠΏΠΎ Ρ ΠΎΠ΄Ρ Π΄Π²ΠΈΠΆΠ΅Π½ΠΈΡ ΡΠ°ΠΊΠ΅ΡΡ ΠΊΡΠΌΡΠ»ΡΡΠΈΠ²Π½ΡΠΉ Π·Π°ΡΡΠ΄ ΠΈΠ»ΠΈ ΠΏΡΠ΅Π΄Π·Π°ΡΡΠ΄ (ΠΠ) ΠΎΠ±Π΅ΡΠΏΠ΅ΡΠΈΠ²Π°Π΅Ρ ΠΈΠ½ΠΈΡΠΈΠΈΡΠΎΠ²Π°Π½ΠΈΠ΅ Π²Π·ΡΡΠ²ΡΠ°ΡΠΎΠ³ΠΎ Π²Π΅ΡΠ΅ΡΡΠ²Π° Π² Π΄ΠΈΠ½Π°ΠΌΠΈΡΠ΅ΡΠΊΠΎΠΉ Π·Π°ΡΠΈΡΠ΅, Π° Π²ΡΠΎΡΠΎΠΉ β ΠΎΡΠ½ΠΎΠ²Π½ΠΎΠΉ Π·Π°ΡΡΠ΄ (ΠΠ) ΡΡΠ°Π±Π°ΡΡΠ²Π°Π΅Ρ ΡΠ΅ΡΠ΅Π· ΠΏΠ΅ΡΠΈΠΎΠ΄ Π²ΡΠ΅ΠΌΠ΅Π½ΠΈ, Π΄ΠΎΡΡΠ°ΡΠΎΡΠ½ΡΠΉ Π΄Π»Ρ ΡΡ ΠΎΠ΄Π° ΡΡΠ°Π³ΠΌΠ΅Π½ΡΠΎΠ² Π΄ΠΈΠ½Π°ΠΌΠΈΡΠ΅ΡΠΊΠΎΠΉ Π·Π°ΡΠΈΡΡ Ρ ΡΡΠ°Π΅ΠΊΡΠΎΡΠΈΠΈ ΠΊΡΠΌΡΠ»ΡΡΠΈΠ²Π½ΠΎΠΉ ΡΡΡΡΠΈ, Ρ. Π΅. Π²ΠΎΠ·Π΄Π΅ΠΉΡΡΠ²ΡΠ΅Ρ Π½Π° Β«Π³ΠΎΠ»ΡΠΉΒ» ΠΊΠΎΡΠΏΡΡ Π±ΡΠΎΠ½Π΅ΡΠ΅Π»ΠΈ.
ΠΠ΅ΡΠ²Π°Ρ ΡΠ΅Π°ΠΊΡΠΈΡ Π±ΠΎΠ΅ΠΏΡΠΈΠΏΠ°ΡΠ½ΠΈΠΊΠΎΠ² Π½Π° ΠΏΠΎΡΠ²Π»Π΅Π½ΠΈΠ΅ Π΄ΠΈΠ½Π°ΠΌΠΈΡΠ΅ΡΠΊΠΎΠΉ Π·Π°ΡΠΈΡΡ Π·Π°ΠΊΠ»ΡΡΠ°Π»Π°ΡΡ Π² ΠΌΠΎΠ΄Π΅ΡΠ½ΠΈΠ·Π°ΡΠΈΠΈ ΡΡΠ°ΡΠ½ΡΡ ΡΡΠ΅Π΄ΡΡΠ², Ρ. Π΅. ΠΎΡΡΡΠ΅ΡΡΠ²Π»ΡΠ»Π°ΡΡ Π΄ΠΎΡΠ°Π±ΠΎΡΠΊΠ° ΠΌΠΎΠ½ΠΎΠ±Π»ΠΎΡΠ½ΡΡ ΠΠ§ ΠΠ’Π£Π Π΄ΠΎ ΡΡΠΎΠ²Π½Ρ ΡΠ°Π½Π΄Π΅ΠΌΠ½ΡΡ . Π’Π°ΠΊ, ΠΠ’Π£Π TOW-2 Ρ ΠΏΠΎΠΌΠΎΡΡΡ ΠΏΡΠ΅Π΄Π·Π°ΡΡΠ΄Π°, ΡΠ°Π·ΠΌΠ΅ΡΡΠ½Π½ΠΎΠ³ΠΎ Π² Π³ΠΎΠ»ΠΎΠ²Π½ΠΎΠΌ ΡΡΠΎΠΊΠ΅, Π±ΡΠ»Π° Π΄ΠΎΠ²Π΅Π΄Π΅Π½Π° Π΄ΠΎ ΡΡΠΎΠ²Π½Ρ TOW-2Π Ρ ΡΠ°Π½Π΄Π΅ΠΌΠ½ΠΎΠΈ ΠΠ§. ΠΡΠΈ ΠΌΠΎΠ΄Π΅ΡΠ½ΠΈΠ·Π°ΡΠΈΠΈ ΠΎΡΠ΅ΡΠ΅ΡΡΠ²Π΅Π½Π½ΡΡ ΠΈ Π·Π°ΡΡΠ±Π΅ΠΆΠ½ΡΡ ΠΊΠΎΠ½ΡΡΡΡΠΊΡΠΈΠΉ ΠΠ’Π£Π ΠΈΡΠΏΠΎΠ»ΡΠ·ΠΎΠ²Π°Π»Π°ΡΡ ΠΊΠΎΠΌΠΏΠΎΠ½ΠΎΠ²ΠΎΡΠ½Π°Ρ ΡΡ Π΅ΠΌΠ° (ΡΠΈΡ.1), ΠΏΡΠΈ ΠΊΠΎΡΠΎΡΠΎΠΉ ΠΏΡΠ΅Π΄Π·Π°ΡΡΠ΄ (5), ΡΡΡΠ°Π½ΠΎΠ²Π»Π΅Π½Π½ΡΠΉ Π² Π³ΠΎΠ»ΠΎΠ²Π½ΠΎΠΌ ΠΎΡΡΠ΅ΠΊΠ΅, ΡΠ°Π·ΠΌΠ΅ΡΠ°Π»ΡΡ ΠΏΠ΅ΡΠ΅Π΄ ΠΌΠ°ΡΡΠ΅Π²ΡΠΌ Π΄Π²ΠΈΠ³Π°ΡΠ΅Π»Π΅ΠΌ (6) Ρ ΠΊΠ°Π½Π°Π»ΠΎΠΌ (7) Π΄Π»Ρ ΠΏΡΠΎΡ ΠΎΠΆΠ΄Π΅Π½ΠΈΡ ΠΊΡΠΌΡΠ»ΡΡΠΈΠ²Π½ΠΎΠΉ ΡΡΡΡΠΈ ΠΎΡΠ½ΠΎΠ²Π½ΠΎΠ³ΠΎ Π·Π°ΡΡΠ΄Π° (8). ΠΡΠΈ ΡΠ°ΠΊΠΎΠΉ ΠΊΠΎΠ½ΡΡΡΡΠΊΡΠΈΠΈ ΠΌΠ°ΡΡΠ΅Π²ΡΠΉ Π΄Π²ΠΈΠ³Π°ΡΠ΅Π»Ρ Π·Π°ΡΠΈΡΠ°Π΅Ρ ΠΎΡΠ½ΠΎΠ²Π½ΠΎΠΉ Π·Π°ΡΡΠ΄ ΠΎΡ Π²Π·ΡΡΠ²Π½ΠΎΠ³ΠΎ Π²ΠΎΠ·Π΄Π΅ΠΉΡΡΠ²ΠΈΡ ΠΏΡΠ΅Π΄Π·Π°ΡΡΠ΄Π°. ΠΠΎ Π΄Π°Π½Π½Π°Ρ ΠΊΠΎΠΌΠΏΠΎΠ½ΠΎΠ²ΠΎΡΠ½Π°Ρ ΡΡ Π΅ΠΌΠ° ΠΎΠ±Π»Π°Π΄Π°Π΅Ρ Π΄Π²ΡΠΌΡ ΡΡΡΠ΅ΡΡΠ²Π΅Π½Π½ΡΠΌΠΈ Π½Π΅Π΄ΠΎΡΡΠ°ΡΠΊΠ°ΠΌΠΈ. ΠΠ΅ΡΠ²ΡΠΉ ΠΈΠ· Π½ΠΈΡ Π·Π°ΠΊΠ»ΡΡΠ°Π΅ΡΡΡ Π² ΡΠΎΠΌ, ΡΡΠΎ ΠΈΠ·-Π·Π° Π΄Π΅ΡΠΈΡΠΈΡΠ° ΡΠ²ΠΎΠ±ΠΎΠ΄Π½ΡΡ ΠΎΠ±ΡΠ΅ΠΌΠΎΠ² ΠΏΡΠΈ ΡΠ°Π·ΠΌΠ΅ΡΠ΅Π½ΠΈΠΈ Π² Π³ΠΎΠ»ΠΎΠ²Π½ΠΎΠΌ ΠΎΡΡΠ΅ΠΊΠ΅ ΠΏΡΠ΅Π΄Π·Π°ΡΡΠ΄Π° ΠΎΠ½ ΠΏΠΎΠ»ΡΡΠ°Π΅ΡΡΡ Π½Π΅Π±ΠΎΠ»ΡΡΠΈΠΌ Ρ ΠΌΠ°Π»ΡΠΌ ΠΊΠΎΠ»ΠΈΡΠ΅ΡΡΠ²ΠΎΠΌ ΠΠ. ΠΠΎΡΡΠΎΠΌΡ ΠΊΡΠΌΡΠ»ΡΡΠΈΠ²Π½Π°Ρ ΡΡΡΡΡ ΡΠ°ΠΊΠΎΠ³ΠΎ ΠΏΡΠ΅Π΄Π·Π°ΡΡΠ΄Π° ΠΎΠ±Π»Π°Π΄Π°Π΅Ρ ΠΌΠ°Π»ΠΎΠΉ Π±ΡΠΎΠ½Π΅ΠΏΡΠΎΠ±ΠΈΠ²Π°Π΅ΠΌΠΎΡΡΡΡ ΠΈ ΠΌΠ°Π»ΠΎΠΉ ΠΈΠ½ΠΈΡΠΈΠΈΡΡΡΡΠ΅ΠΉ ΡΠΏΠΎΡΠΎΠ±Π½ΠΎΡΡΡΡ, Ρ. Π΅. ΡΠΎΠ»ΡΠΊΠΎ Π³ΠΎΠ»ΠΎΠ²Π½ΡΠ΅ ΡΡΠ°ΡΡΠΊΠΈ ΡΡΠΎΠΉ ΡΡΡΡΠΈ ΠΎΠ±Π΅ΡΠΏΠ΅ΡΠΈΠ²Π°ΡΡ ΠΈΠ½ΠΈΡΠΈΠΈΡΠΎΠ²Π°Π½ΠΈΠ΅ ΠΠΠ Π² ΡΠ»Π΅ΠΌΠ΅Π½ΡΠ°Ρ Π΄ΠΈΠ½Π°ΠΌΠΈΡΠ΅ΡΠΊΠΎΠΉ Π·Π°ΡΠΈΡΡ. ΠΠΎΠ»ΠΎΠΆΠ΅Π½ΠΈΠ΅ ΠΏΡΠ΅Π΄Π·Π°ΡΡΠ΄Π° ΠΎΡΠ½ΠΎΡΠΈΡΠ΅Π»ΡΠ½ΠΎ ΠΊΠΎΠ½ΡΠ΅ΠΉΠ½Π΅ΡΠ° ΠΠ, ΠΏΡΠΈ ΠΊΠΎΡΠΎΡΠΎΠΌ ΠΎΡΡΡΠ΅ΡΡΠ²Π»ΡΠ΅ΡΡΡ Π½ΠΎΡΠΌΠ°Π»ΡΠ½ΠΎΠ΅ ΡΡΠ½ΠΊΡΠΈΠΎΠ½ΠΈΡΠΎΠ²Π°Π½ΠΈΠ΅, ΠΏΡΠ΅Π΄ΡΡΠ°Π²Π»Π΅Π½ΠΎ Π½Π° ΡΠΈΡ.1Π°. ΠΡΠΈ ΠΏΠΎΠΏΠ°Π΄Π°Π½ΠΈΠΈ ΠΏΡΠ΅Π΄Π·Π°ΡΡΠ΄Π° Π² ΠΊΡΠ°ΠΉΠ½ΡΡ Π·ΠΎΠ½Ρ (ΡΠΈΡ.1b) Π±Π»ΠΈΠΆΠ½Π΅Π³ΠΎ ΠΊΠΎΠ½ΡΠ΅ΠΉΠ½Π΅ΡΠ° Π³ΠΎΠ»ΠΎΠ²Π½ΡΠ΅ ΡΡΠ°ΡΡΠΊΠΈ ΠΊΡΠΌΡΠ»ΡΡΠΈΠ²Π½ΠΎΠΉ ΡΡΡΡΠΈ ΠΠ Β«ΡΠ°ΡΡ ΠΎΠ΄ΡΡΡΡΡΒ» Π½Π° ΠΏΡΠΎΠ±ΠΈΡΠΈΠ΅ Π²Π΅ΡΡ Π½Π΅ΠΉ ΠΈ Π±ΠΎΠΊΠΎΠ²ΠΎΠΉ ΡΡΠ΅Π½ΠΎΠΊ, Π° ΡΠ°ΠΊΠΆΠ΅ Π±ΠΎΠΊΠΎΠ²ΠΎΠΉ ΡΡΠ΅Π½ΠΊΠΈ Π΄Π°Π»ΡΠ½Π΅Π³ΠΎ ΠΊΠΎΠ½ΡΠ΅ΠΉΠ½Π΅ΡΠ°. ΠΡΡΠ°Π²ΡΠ°ΡΡΡ ΡΠ°ΡΡΡ ΠΊΡΠΌΡΠ»ΡΡΠΈΠ²Π½ΠΎΠΉ ΡΡΡΡΠΈ Π½Π΅ ΠΎΠ±Π»Π°Π΄Π°Π΅Ρ Π΄ΠΎΡΡΠ°ΡΠΎΡΠ½ΠΎΠΉ ΠΈΠ½ΠΈΡΠΈΠΈΡΡΡΡΠ΅ΠΉ ΡΠΏΠΎΡΠΎΠ±Π½ΠΎΡΡΡΡ Π΄Π»Ρ Π²ΠΎΠ·Π±ΡΠΆΠ΄Π΅Π½ΠΈΡ Π²Π·ΡΡΠ²Π° Π² ΡΠ»Π΅ΠΌΠ΅Π½ΡΠ°Ρ (3,4) ΡΠΎΡΠ΅Π΄Π½Π΅Π³ΠΎ ΠΊΠΎΠ½ΡΠ΅ΠΉΠ½Π΅ΡΠ°, ΠΊΡΠ΄Π° Π·Π°ΡΠ΅ΠΌ ΠΏΠΎΠΏΠ°Π΄Π°Π΅Ρ ΠΊΡΠΌΡΠ»ΡΡΠΈΠ²Π½Π°Ρ ΡΡΡΡΡ ΠΠ. Π ΡΡΠΈΡ ΡΡΠ»ΠΎΠ²ΠΈΡΡ ΠΏΡΠΈ Π²Π·Π°ΠΈΠΌΠΎΠ΄Π΅ΠΉΡΡΠ²ΠΈΠΈ Ρ ΡΠ»Π΅ΠΌΠ΅Π½ΡΠ°ΠΌΠΈ ΠΠ ΠΊΡΠΌΡΠ»ΡΡΠΈΠ²Π½Π°Ρ ΡΡΡΡΡ ΠΎΡΠ½ΠΎΠ²Π½ΠΎΠ³ΠΎ Π·Π°ΡΡΠ΄Π° ΡΠ΅ΡΡΠ΅Ρ Π·Π½Π°ΡΠΈΡΠ΅Π»ΡΠ½ΡΡ ΡΠ°ΡΡΡ ΡΠ²ΠΎΠ΅Π³ΠΎ Π±ΡΠΎΠ½Π΅ΠΏΡΠΎΠ±ΠΈΠ²Π½ΠΎΠ³ΠΎ Π΄Π΅ΠΉΡΡΠ²ΠΈΡ. ΠΠΎΠ΄ΠΎΠ±Π½Π°Ρ ΡΠΈΡΡΠ°ΡΠΈΡ Π½Π°Π±Π»ΡΠ΄Π°Π΅ΡΡΡ ΡΠ°ΠΊΠΆΠ΅ ΠΏΡΠΈ Π²Π·Π°ΠΈΠΌΠΎΠ΄Π΅ΠΉΡΡΠ²ΠΈΠΈ ΠΊΡΠΌΡΠ»ΡΡΠΈΠ²Π½ΠΎΠΉ ΡΡΡΡΠΈ ΠΏΡΠ΅Π΄Π·Π°ΡΡΠ΄Π° Ρ ΡΠΎΠ»ΡΡΠΎΠΉ Π²Π΅ΡΡ Π½Π΅ΠΉ ΡΡΠ΅Π½ΠΊΠΎΠΉ ΠΊΠΎΠ½ΡΠ΅ΠΉΠ½Π΅ΡΠ° Π΄ΠΈΠ½Π°ΠΌΠΈΡΠ΅ΡΠΊΠΎΠΉ Π·Π°ΡΠΈΡΡ. ΠΠ΄Π΅ΡΡ ΡΠ°ΠΊΠΆΠ΅ ΠΎΡΡΠ°Π²ΡΠ΅ΠΉΡΡ ΡΠ½Π΅ΡΠ³ΠΈΠΈ ΠΊΡΠΌΡΠ»ΡΡΠΈΠ²Π½ΠΎΠΉ ΡΡΡΡΠΈ Π½Π΅Π΄ΠΎΡΡΠ°ΡΠΎΡΠ½ΠΎ Π΄Π»Ρ Π²ΠΎΠ·Π±ΡΠΆΠ΄Π΅Π½ΠΈΡ Π΄Π΅ΡΠΎΠ½Π°ΡΠΈΠΈ ΠΠΠ Π² ΡΠ»Π΅ΠΌΠ΅Π½ΡΠ°Ρ ΠΠ. Π‘Π»Π΅Π΄ΡΠ΅Ρ Π·Π°ΠΌΠ΅ΡΠΈΡΡ, ΡΡΠΎ Π½Π° ΡΠΈΡ.1 ΠΏΡΠ΅Π΄ΡΡΠ°Π²Π»Π΅Π½Ρ Π²Π°ΡΠΈΠ°Π½ΡΡ Π²Π·Π°ΠΈΠΌΠΎΠ΄Π΅ΠΉΡΡΠ²ΠΈΡ ΡΠ°Π½Π΄Π΅ΠΌΠ½ΠΎΠΉ ΠΠ§ ΠΠ’Π£Π Ρ ΠΊΠΎΠ½ΡΠ΅ΠΉΠ½Π΅ΡΠΎΠΌ ΠΠ, ΠΈΠΌΠ΅ΡΡΠΈΠΌ Π΄Π»ΠΈΠ½Ρ 250 ΠΌΠΌ, ΠΊΠΎΡΠΎΡΡΠΉ ΡΡΡΠ°Π½Π°Π²Π»ΠΈΠ²Π°Π΅ΡΡΡ Π½Π° ΠΎΡΠ΅ΡΠ΅ΡΡΠ²Π΅Π½Π½ΡΡ ΡΠ°Π½ΠΊΠ°Ρ . ΠΠΎ Π²ΡΠΎΡΠΎΠΌΡ Π½Π΅Π΄ΠΎΡΡΠ°ΡΠΊΡ ΡΠΏΠΎΠΌΡΠ½ΡΡΠΎΠΉ ΠΊΠΎΠΌΠΏΠΎΠ½ΠΎΠ²ΠΎΡΠ½ΠΎΠΉ ΡΡ Π΅ΠΌΡ ΠΠ’Π£Π ΠΌΠΎΠΆΠ½ΠΎ ΠΎΡΠ½Π΅ΡΡΠΈ ΡΠ»Π΅Π΄ΡΡΡΠ΅Π΅. ΠΡΠΈ ΠΏΠΎΠΏΠ°Π΄Π°Π½ΠΈΠΈ ΠΠ’Π£Π (ΡΠΈΡ. 2Π°) Π² Π»Π΅Π²ΡΡ ΠΊΡΠ°ΠΉΠ½ΡΡ Π·ΠΎΠ½Ρ ΠΊΠΎΠ½ΡΠ΅ΠΉΠ½Π΅ΡΠ° ΠΠ (Π΄Π»ΠΈΠ½ΠΎΠΉ 500 ΠΌΠΌ) Π΄Π²ΠΈΠ³Π°ΡΠ΅Π»ΡΠ½Π°Ρ ΡΡΡΠ°Π½ΠΎΠ²ΠΊΠ° (6) ΠΈ ΠΎΡΠ½ΠΎΠ²Π½ΠΎΠΉ Π·Π°ΡΡΠ΄ (8) Π½Π°Ρ ΠΎΠ΄ΡΡΡΡ Π² ΠΎΠΏΠ°ΡΠ½ΠΎΠΉ Π·ΠΎΠ½Π΅, Π² ΠΊΠΎΡΠΎΡΠΎΠΉ ΠΏΡΠΎΠ΄ΡΠΊΡΠ°ΠΌΠΈ Π²Π·ΡΡΠ²Π° ΠΌΠ΅ΡΠ°Π΅ΡΡΡ Π²Π΅ΡΡ Π½ΡΡ ΡΠ°ΡΡΡ ΠΊΠΎΠ½ΡΠ΅ΠΉΠ½Π΅ΡΠ° (2), Π½Π°Π·ΡΠ²Π°Π΅ΠΌΠ°Ρ ΠΌΠ΅ΡΠ°Π΅ΠΌΡΠΌ ΡΠΊΡΠ°Π½ΠΎΠΌ. Π£Π΄Π°Ρ ΠΌΠ΅ΡΠ°Π΅ΠΌΠΎΠ³ΠΎ ΡΠΊΡΠ°Π½Π° (ΡΠΈΡ.2b), ΠΏΠΎ ΠΠ’Π£Π , ΠΏΡΠΈΠ²ΠΎΠ΄ΠΈΡ ΠΊ Π΄Π΅ΡΠΎΡΠΌΠ°ΡΠΈΠΈ ΠΊΠΎΡΠΏΡΡΠ° Π΄Π²ΠΈΠ³Π°ΡΠ΅Π»ΡΠ½ΠΎΠΉ ΡΡΡΠ°Π½ΠΎΠ²ΠΊΠΈ (6), Π² ΡΠ΅Π·ΡΠ»ΡΡΠ°ΡΠ΅ ΡΠ΅Π³ΠΎ ΠΏΡΠΎΠΈΡΡ ΠΎΠ΄ΠΈΡ ΡΠΌΡΡΠΈΠ΅ ΠΊΠ°Π½Π°Π»Π° (7) ΠΈ ΡΠ°Π·ΡΡΡΠ΅Π½ΠΈΠ΅ ΠΎΡΠ½ΠΎΠ²Π½ΠΎΠ³ΠΎ Π·Π°ΡΡΠ΄Π°, ΡΡΠΎ ΡΠ²Π»ΡΠ΅ΡΡΡ ΠΏΡΠΈΡΠΈΠ½ΠΎΠΉ Π·Π½Π°ΡΠΈΡΠ΅Π»ΡΠ½ΠΎΠ³ΠΎ ΡΠ½ΠΈΠΆΠ΅Π½ΠΈΡ Π±ΡΠΎΠ½Π΅ΠΏΡΠΎΠ±ΠΈΠ²Π½ΠΎΠ³ΠΎ Π΄Π΅ΠΉΡΡΠ²ΠΈΡ ΠΎΡΠ½ΠΎΠ²Π½ΠΎΠ³ΠΎ Π·Π°ΡΡΠ΄Π°. ΠΡΠ΅ Π±ΠΎΠ»ΡΡΠ΅ ΠΏΠΎΠ΄Π²Π΅ΡΠΆΠ΅Π½Ρ ΡΠ°Π·ΡΡΡΠ΅Π½ΠΈΡ ΠΎΡΠ½ΠΎΠ²Π½ΠΎΠ³ΠΎ Π·Π°ΡΡΠ΄Π° ΠΊΠΎΠ½ΡΡΡΡΠΊΡΠΈΠΈ ΠΠ’Π£Π ΡΠΈΠΏΠ° Hellfire (ΡΠΈΡ.3), Ρ ΠΊΠΎΡΠΎΡΡΡ ΡΡΠ°Π·Ρ Π·Π° ΠΏΡΠ΅Π΄Π·Π°ΡΡΠ΄ΠΎΠΌ ΡΠ°Π·ΠΌΠ΅ΡΡΠ½ ΠΎΡΠ½ΠΎΠ²Π½ΠΎΠΉ Π·Π°ΡΡΠ΄. Π ΡΡΠΎΠΌ ΡΠ»ΡΡΠ°Π΅ ΡΠ΄Π°Ρ ΠΌΠ΅ΡΠ°Π΅ΠΌΠΎΠ³ΠΎ ΡΠΊΡΠ°Π½Π° (4) Π²ΠΎΠΎΠ±ΡΠ΅ ΠΏΡΠΈΠ²ΠΎΠ΄ΠΈΡ ΠΊ ΡΠ°Π·ΡΡΡΠ΅Π½ΠΈΡ ΠΠ.


ΠΠΎ ΡΡΠΎΠΉ ΠΏΡΠΈΡΠΈΠ½Π΅ ΡΠΎΠ·Π΄Π°Π½Ρ ΠΠ’Π£Π Ρ ΡΠ°Π½Π΄Π΅ΠΌΠ½ΡΠΌΠΈ ΠΠ§, ΠΎΡΠ½Π°ΡΠ΅Π½Π½ΡΠΌΠΈ Π½Π΅ΠΊΠΎΠ½ΡΠ°ΠΊΡΠ½ΡΠΌΠΈ Π²Π·ΡΡΠ²Π°ΡΠ΅Π»ΡΠ½ΡΠΌΠΈ ΡΡΡΡΠΎΠΉΡΡΠ²Π°ΠΌΠΈ, ΠΊΠΎΡΠΎΡΡΠ΅ ΠΏΠΎΠ·Π²ΠΎΠ»ΡΡΡ ΠΎΡΡΡΠ΅ΡΡΠ²Π»ΡΡΡ ΠΏΠΎΠ΄ΡΡΠ² ΠΏΡΠ΅Π΄Π·Π°ΡΡΠ΄Π° Π½Π° ΡΠ°ΡΡΡΠΎΡΠ½ΠΈΠΈ Π½Π΅ΡΠΊΠΎΠ»ΡΠΊΠΈΡ ΠΌΠ΅ΡΡΠΎΠ² ΠΎΡ Π΄ΠΈΠ½Π°ΠΌΠΈΡΠ΅ΡΠΊΠΎΠΉ Π·Π°ΡΠΈΡΡ (ΠΠ’Π£Π AC-3G), Π° ΡΠ°ΠΊΠΆΠ΅ ΠΈΡΠΏΠΎΠ»ΡΠ·ΠΎΠ²Π°ΡΡ ΠΎΡΡΡΡΠ΅Π»ΠΈΠ²Π°Π΅ΠΌΡΠΉ ΠΏΡΠ΅Π΄Π·Π°ΡΡΠ΄ (ΠΠ’Π£Π ΠΠΠ’ 2Π’). ΠΠΎΠΌΠΏΠΎΠ½ΠΎΠ²ΠΎΡΠ½ΡΠ΅ ΡΠ΅ΡΠ΅Π½ΠΈΡ, ΠΈΡΠΏΠΎΠ»ΡΠ·ΡΠ΅ΠΌΡΠ΅ Π² ΡΡΠΈΡ ΠΠ’Π£Π , ΠΏΠΎΠ·Π²ΠΎΠ»ΠΈΠ»ΠΈ Π·Π½Π°ΡΠΈΡΠ΅Π»ΡΠ½ΠΎ ΡΠ²Π΅Π»ΠΈΡΠΈΡΡ Π²ΡΠ΅ΠΌΠ΅Π½Π½ΡΡ Π·Π°Π΄Π΅ΡΠΆΠΊΡ ΠΌΠ΅ΠΆΠ΄Ρ ΠΏΠΎΠ΄ΡΡΠ²Π°ΠΌΠΈ ΠΏΡΠ΅Π΄Π·Π°ΡΡΠ΄Π° ΠΈ ΠΎΡΠ½ΠΎΠ²Π½ΠΎΠ³ΠΎ Π·Π°ΡΡΠ΄Π°, ΡΡΠΎ ΠΎΠ±Π΅ΡΠΏΠ΅ΡΠΈΠ»ΠΎ Π²Ρ ΠΎΠΆΠ΄Π΅Π½ΠΈΠ΅ ΠΎΡΠ½ΠΎΠ²Π½ΠΎΠ³ΠΎ Π·Π°ΡΡΠ΄Π° Π² Π·ΠΎΠ½Ρ, ΡΠ²ΠΎΠ±ΠΎΠ΄Π½ΡΡ ΠΎΡ ΠΌΠ΅ΡΠ°Π΅ΠΌΡΡ Π²Π·ΡΡΠ²ΠΎΠΌ ΡΡΠ°Π³ΠΌΠ΅Π½ΡΠΎΠ² Π΄ΠΈΠ½Π°ΠΌΠΈΡΠ΅ΡΠΊΠΎΠΉ Π·Π°ΡΠΈΡΡ. ΠΠΎΠΌΠΏΠΎΠ½ΠΎΠ²ΠΎΡΠ½Π°Ρ ΡΡ Π΅ΠΌΠ° Ρ ΠΎΡΡΡΡΠ΅Π»ΠΈΠ²Π°Π΅ΠΌΡΠΌ ΠΏΡΠ΅Π΄Π·Π°ΡΡΠ΄ΠΎΠΌ ΠΏΡΠ΅Π΄ΡΡΠ°Π²Π»Π΅Π½Π° Π½Π° ΡΠΈΡ.4Π°. ΠΠΎΡΠΎΡ ΠΎΠ²ΠΎΠΉ Π·Π°ΡΡΠ΄ (3) ΠΌΠ°ΡΡΠΎΠΉ Π½Π΅ΡΠΊΠΎΠ»ΡΠΊΠΎ Π΄Π΅ΡΡΡΠΊΠΎΠ² Π³ΡΠ°ΠΌΠΌΠΎΠ² ΠΏΠΎΠ·Π²ΠΎΠ»ΡΠ΅Ρ ΠΎΡΡΡΠ΅ΡΡΠ²ΠΈΡΡ ΠΏΠ»Π°Π²Π½ΠΎΠ΅ ΡΠ°Π·Π΄Π΅Π»Π΅Π½ΠΈΠ΅ (ΡΠΈΡ.4b) Π³ΠΎΠ»ΠΎΠ²Π½ΠΎΠ³ΠΎ ΠΎΡΡΠ΅ΠΊΠ° (1) Ρ ΠΏΡΠ΅Π΄Π·Π°ΡΡΠ΄ΠΎΠΌ (2) ΠΎΡ ΠΎΡΠ½ΠΎΠ²Π½ΠΎΠ³ΠΎ ΠΊΠΎΡΠΏΡΡΠ° ΡΠ°ΠΊΠ΅ΡΡ (5). Π’Π°ΠΊΠ°Ρ ΠΊΠΎΠ½ΡΡΡΡΠΊΡΠΈΡ ΠΏΠΎΠ·Π²ΠΎΠ»ΡΠ΅Ρ ΡΡΡΠ°Π½ΠΎΠ²ΠΈΡΡ ΠΎΠΏΡΠΈΠΌΠ°Π»ΡΠ½ΡΡ Π²ΡΠ΅ΠΌΠ΅Π½Π½ΡΡ Π·Π°Π΄Π΅ΡΠΆΠΊΡ ΠΌΠ΅ΠΆΠ΄Ρ ΠΏΠΎΠ΄ΡΡΠ²Π°ΠΌΠΈ ΠΠ ΠΈ ΠΠ (ΡΠΈΡ.4Ρ), ΠΎΠ±Π΅ΡΠΏΠ΅ΡΠΈΠ²Π°ΡΡΡΡ ΡΡ ΠΎΠ΄ Ρ ΡΡΠ°Π΅ΠΊΡΠΎΡΠΈΠΈ ΠΊΡΠΌΡΠ»ΡΡΠΈΠ²Π½ΠΎΠΉ ΡΡΡΡΠΈ ΠΎΡΠ½ΠΎΠ²Π½ΠΎΠ³ΠΎ Π·Π°ΡΡΠ΄Π° ΠΌΠ΅ΡΠ°Π΅ΠΌΠΎΠ³ΠΎ ΡΠΊΡΠ°Π½Π° (7) ΠΈ ΠΏΠΎΠ΄Π»Π΅Ρ ΠΎΡΠ½ΠΎΠ²Π½ΠΎΠ³ΠΎ Π·Π°ΡΡΠ΄Π° ΠΊ ΠΎΠ³ΠΎΠ»Π΅Π½Π½ΠΎΠΉ Π±ΡΠΎΠ½Π΅ ΡΠ°Π½ΠΊΠ°. ΠΠΎΠΌΠΏΠΎΠ½ΠΎΠ²ΠΎΡΠ½Π°Ρ ΡΡ Π΅ΠΌΠ° ΠΠ’Π£Π ΠΠΠ’ 2Π’ Π½Π°ΠΈΠ±ΠΎΠ»Π΅Π΅ ΠΏΡΠ΅Π΄ΠΏΠΎΡΡΠΈΡΠ΅Π»ΡΠ½Π°, ΠΎΠ½Π° ΠΏΠΎΠ·Π²ΠΎΠ»ΡΠ΅Ρ Π² ΡΠ»ΡΡΠ°Π΅ ΠΈΠ·ΠΌΠ΅Π½Π΅Π½ΠΈΡ ΠΏΠ°ΡΠ°ΠΌΠ΅ΡΡΠΎΠ² ΠΠ ΡΡΠ°Π²Π½ΠΈΡΠ΅Π»ΡΠ½ΠΎ Π»Π΅Π³ΠΊΠΎ ΠΌΠΎΠ΄Π΅ΡΠ½ΠΈΠ·ΠΈΡΠΎΠ²Π°ΡΡ ΠΊΠΎΠ½ΡΡΡΡΠΊΡΠΈΡ ΠΠ§ ΠΏΠΎΡΡΠ΅Π΄ΡΡΠ²ΠΎΠΌ ΠΊΠΎΡΡΠ΅ΠΊΡΠΈΡΠΎΠ²ΠΊΠΈ ΡΠ°ΡΡΡΠΎΡΠ½ΠΈΡ (Π½Π° ΠΊΠΎΡΠΎΡΠΎΠΌ ΠΎΡΡΡΠ΅ΡΡΠ²Π»ΡΠ΅ΡΡΡ ΠΎΡΡΡΡΠ΅Π» ΠΏΡΠ΅Π΄Π·Π°ΡΡΠ΄Π°) ΠΈ Π²ΡΠ΅ΠΌΠ΅Π½Π½ΠΎΠΉ Π·Π°Π΄Π΅ΡΠΆΠΊΠΈ ΡΡΠ°Π±Π°ΡΡΠ²Π°Π½ΠΈΡ ΠΎΡΠ½ΠΎΠ²Π½ΠΎΠ³ΠΎ Π·Π°ΡΡΠ΄Π°. ΠΠ΄Π½ΠΎΠ²ΡΠ΅ΠΌΠ΅Π½Π½ΠΎ ΠΠ’Π£Π Ρ ΠΎΡΡΡΡΠ΅Π»ΠΈΠ²Π°Π΅ΠΌΡΠΌ ΠΏΡΠ΅Π΄Π·Π°ΡΡΠ΄ΠΎΠΌ ΠΏΡΠΈ Π½Π°Π»ΠΈΡΠΈΠΈ Π½Π° ΡΠ°Π½ΠΊΠ΅ ΠΏΠΎΠΌΠΈΠΌΠΎ ΠΠ Π°ΠΊΡΠΈΠ²Π½ΠΎΠΉ Π·Π°ΡΠΈΡΡ (A3) ΠΏΠΎΠ·Π²ΠΎΠ»ΠΈΡ ΡΠ΅ΡΠΈΡΡ ΠΏΡΠΎΠ±Π»Π΅ΠΌΡ ΠΎΠ΄Π½ΠΎΠ²ΡΠ΅ΠΌΠ΅Π½Π½ΠΎΠ³ΠΎ ΠΏΡΠ΅ΠΎΠ΄ΠΎΠ»Π΅Π½ΠΈΡ Π΄Π²ΡΡ ΡΡΠΈΡ Π·Π°ΡΠΈΡ. ΠΠ°ΠΏΠΎΠΌΠ½ΠΈΠΌ, ΡΡΠΎ ΠΏΡΠΈΠ½ΡΠΈΠΏ Π΄Π΅ΠΉΡΡΠ²ΠΈΡ Π°ΠΊΡΠΈΠ²Π½ΠΎΠΉ Π·Π°ΡΠΈΡΡ ΡΠΎΡΡΠΎΠΈΡ Π² ΡΠΎΠΌ, ΡΡΠΎ Ρ ΠΏΠΎΠΌΠΎΡΡΡ ΡΡΠ΅Π΄ΡΡΠ², ΡΡΡΠ°Π½ΠΎΠ²Π»Π΅Π½Π½ΡΡ Π½Π° ΡΠ°Π½ΠΊΠ΅, ΠΎΠ±Π½Π°ΡΡΠΆΠΈΠ²Π°Π΅ΡΡΡ ΠΏΠΎΠ΄Π»Π΅ΡΠ°ΡΡΠΈΠΉ ΠΊ Π½Π΅ΠΌΡ Π±ΠΎΠ΅ΠΏΡΠΈΠΏΠ°Ρ, Π½Π° ΠΊΠΎΡΠΎΡΡΠΉ ΠΎΠΊΠ°Π·ΡΠ²Π°Π΅ΡΡΡ Π²ΠΎΠ·Π΄Π΅ΠΉΡΡΠ²ΠΈΠ΅ (Π½Π°ΠΏΡΠΈΠΌΠ΅Ρ, Ρ ΠΏΠΎΠΌΠΎΡΡΡ ΠΎΡΠΊΠΎΠ»ΠΎΡΠ½ΠΎΠ³ΠΎ ΠΏΠΎΡΠΎΠΊΠ°) Π² ΡΠ΅Π»ΡΡ Π΅Π³ΠΎ ΡΠ°Π·ΡΡΡΠ΅Π½ΠΈΡ ΠΈΠ»ΠΈ ΡΠ½ΠΈΠΆΠ΅Π½ΠΈΡ ΡΡΡΠ΅ΠΊΡΠΈΠ²Π½ΠΎΡΡΠΈ. ΠΠ±Π΅ΡΠΏΠ΅ΡΠΈΠ² ΠΏΡΠ΅Π΄Π·Π°ΡΡΠ΄ Π·Π°ΡΠΈΡΠΎΠΉ ΠΎΡ ΠΎΡΠΊΠΎΠ»ΠΎΡΠ½ΠΎΠ³ΠΎ ΠΏΠΎΡΠΎΠΊΠ°, ΠΌΠΎΠΆΠ½ΠΎ ΠΎΠΆΠΈΠ΄Π°ΡΡ, ΡΡΠΎ ΠΎΠ½, ΠΎΡΡΡΠ΅ΡΡΠ²ΠΈΠ² Π΄Π΅ΡΠΎΠ½Π°ΡΠΈΡ ΠΏΠ»Π°ΡΡΠΈΡΠ½ΠΎΠ³ΠΎ Π²Π·ΡΡΠ²ΡΠ°ΡΠΎΠ³ΠΎ Π²Π΅ΡΠ΅ΡΡΠ²Π° Π΄ΠΈΠ½Π°ΠΌΠΈΡΠ΅ΡΠΊΠΎΠΉ Π·Π°ΡΠΈΡΡ, ΠΏΠΎΠ·Π²ΠΎΠ»ΠΈΡ ΠΏΡΠΈΠ±Π»ΠΈΠ·ΠΈΡΡ ΠΎΡΠ½ΠΎΠ²Π½ΠΎΠΉ Π·Π°ΡΡΠ΄ ΠΊ Β«Π³ΠΎΠ»ΠΎΠΉΒ» Π±ΡΠΎΠ½Π΅ Π±Π΅Π· Π²ΠΎΠ·Π΄Π΅ΠΉΡΡΠ²ΠΈΡ ΠΎΡΠΊΠΎΠ»ΠΎΡΠ½ΠΎΠ³ΠΎ ΠΏΠΎΡΠΎΠΊΠ°, ΠΏΠΎΡΠΊΠΎΠ»ΡΠΊΡ Π°ΠΊΡΠΈΠ²Π½Π°Ρ Π·Π°ΡΠΈΡΠ° Π½Π΅ ΡΡΠΏΠ΅Π΅Ρ Β«ΠΏΠ΅ΡΠ΅Π·Π°ΡΡΠ΄ΠΈΡΡΡΡΒ».

ΠΠΎΠΌΠΈΠΌΠΎ ΡΠΏΠΎΡΠΎΠ±Π° ΠΏΡΠ΅ΠΎΠ΄ΠΎΠ»Π΅Π½ΠΈΡ ΠΠ Ρ Π²ΠΎΠ·Π±ΡΠΆΠ΄Π΅Π½ΠΈΠ΅ΠΌ Π΄Π΅ΡΠΎΠ½Π°ΡΠΈΠΈ ΡΡΡΠ΅ΡΡΠ²ΡΠ΅Ρ ΡΠΏΠΎΡΠΎΠ± ΠΏΡΠ΅ΠΎΠ΄ΠΎΠ»Π΅Π½ΠΈΡ Π±Π΅Π· Π²ΠΎΠ·Π±ΡΠΆΠ΄Π΅Π½ΠΈΡ Π΄Π΅ΡΠΎΠ½Π°ΡΠΈΠΈ ΠΏΠ»Π°ΡΡΠΈΡΠ½ΠΎΠ³ΠΎ Π²Π·ΡΡΠ²ΡΠ°ΡΠΎΠ³ΠΎ Π²Π΅ΡΠ΅ΡΡΠ²Π° Π² Π΄ΠΈΠ½Π°ΠΌΠΈΡΠ΅ΡΠΊΠΎΠΉ Π·Π°ΡΠΈΡΠ΅. Π ΡΠΎΠΆΠ°Π»Π΅Π½ΠΈΡ, ΠΏΡΠΈ ΡΠ°Π·ΡΠ°Π±ΠΎΡΠΊΠ΅ ΡΠ°Π½Π΄Π΅ΠΌΠ½ΡΡ Π±ΠΎΠ΅ΠΏΡΠΈΠΏΠ°ΡΠΎΠ² ΡΡΠΎΠΌΡ ΡΠΏΠΎΡΠΎΠ±Ρ ΡΠ΄Π΅Π»ΡΠ»ΠΎΡΡ Π½Π΅Π΄ΠΎΡΡΠ°ΡΠΎΡΠ½ΠΎΠ΅ Π²Π½ΠΈΠΌΠ°Π½ΠΈΠ΅. ΠΡΠΎΡ ΡΠΏΠΎΡΠΎΠ± ΠΎΠ±ΡΡΠ»ΠΎΠ²Π»Π΅Π½ Β«Π½ΠΈΠ·ΠΊΠΎΠΉΒ» ΡΡΠ²ΡΡΠ²ΠΈΡΠ΅Π»ΡΠ½ΠΎΡΡΡΡ ΠΠΠ, ΠΈΡΠΏΠΎΠ»ΡΠ·ΡΠ΅ΠΌΠΎΠ³ΠΎ ΠΏΡΠΈ ΡΠ½Π°ΡΡΠΆΠ΅Π½ΠΈΠΈ ΡΠ»Π΅ΠΌΠ΅Π½ΡΠΎΠ² ΠΠ. ΠΠΈΠ·ΠΊΠ°Ρ ΡΡΠ²ΡΡΠ²ΠΈΡΠ΅Π»ΡΠ½ΠΎΡΡΡ ΠΠΠ Π² ΡΠ»Π΅ΠΌΠ΅Π½ΡΠ°Ρ ΠΠ ΠΎΠ±ΡΡΠ»ΠΎΠ²Π»Π΅Π½Π° ΡΡΠ΅Π±ΠΎΠ²Π°Π½ΠΈΡΠΌΠΈ ΠΏΠΎ Π½Π΅Π²ΠΎΠ·Π±ΡΠΆΠ΄Π΅Π½ΠΈΡ Π΄Π΅ΡΠΎΠ½Π°ΡΠΈΠΈ ΠΏΡΠΈ ΠΎΡΠΊΠΎΠ»ΠΎΡΠ½ΠΎΠΌ Π²ΠΎΠ·Π΄Π΅ΠΉΡΡΠ²ΠΈΠΈ, ΠΏΡΠΈ ΠΏΡΠΎΡΡΡΠ΅Π»Π΅ ΠΏΡΠ»Π΅ΠΉ ΠΈΠ»ΠΈ ΠΌΠ°Π»ΠΎΠΊΠ°Π»ΠΈΠ±Π΅ΡΠ½ΡΠΌ ΡΠ½Π°ΡΡΠ΄ΠΎΠΌ.
ΠΠ°ΡΡΠ±Π΅ΠΆΠ½ΡΠΌΠΈ ΠΈ ΠΎΡΠ΅ΡΠ΅ΡΡΠ²Π΅Π½Π½ΡΠΌΠΈ ΡΠΏΠ΅ΡΠΈΠ°Π»ΠΈΡΡΠ°ΠΌΠΈ ΡΡΡΠ°Π½ΠΎΠ²Π»Π΅Π½ΠΎ, ΡΡΠΎ ΠΏΡΠΈ Π΄ΠΈΠ½Π°ΠΌΠΈΡΠ΅ΡΠΊΠΎΠΌ Π½Π°Π³ΡΡΠΆΠ΅Π½ΠΈΠΈ ΡΠ»Π΅ΠΌΠ΅Π½ΡΠΎΠ² Π΄ΠΈΠ½Π°ΠΌΠΈΡΠ΅ΡΠΊΠΎΠΉ Π·Π°ΡΠΈΡΡ ΡΠ½Π°ΡΡΠΆΠ΅Π½Π½ΡΠΌΠΈ ΡΡΠ°ΡΠ½ΡΠΌΠΈ ΠΏΠ»Π°ΡΡΠΈΡΠ½ΡΠΌΠΈ Π²Π·ΡΡΠ²ΡΠ°ΡΡΠΌΠΈ Π²Π΅ΡΠ΅ΡΡΠ²Π°ΠΌΠΈ ΠΌΠΎΠ³ΡΡ Π²ΠΎΠ·Π½ΠΈΠΊΠ°ΡΡ ΡΠ»Π΅Π΄ΡΡΡΠΈΠ΅ ΠΏΡΠΎΡΠ΅ΡΡΡ:
β Π²Π·ΡΡΠ² ΠΠΠ;
β Β«ΠΏΡΠΎΠΊΠΎΠ»Β», ΠΏΡΠΈ ΠΊΠΎΡΠΎΡΠΎΠΌ ΠΎΠ±ΡΠ°Π·ΡΠ΅ΡΡΡ Π·ΠΎΠ½Π°, ΡΠ²ΠΎΠ±ΠΎΠ΄Π½Π°Ρ ΠΎΡ ΠΠΠ, ΠΏΠΎ ΠΏΠ»ΠΎΡΠ°Π΄ΠΈ ΡΠ°Π²Π½ΠΎΠΉ ΠΏΠ»ΠΎΡΠ°Π΄ΠΈ ΡΠ΄Π°ΡΠ½ΠΈΠΊΠ°;
β ΠΎΠ±ΡΠ°Π·ΠΎΠ²Π°Π½ΠΈΠ΅ Π·ΠΎΠ½Ρ, ΡΠ²ΠΎΠ±ΠΎΠ΄Π½ΠΎΠΉ ΠΎΡ ΠΠΠ, ΠΏΠΎ ΡΠ°Π·ΠΌΠ΅ΡΠ°ΠΌ ΠΏΡΠ΅Π²ΡΡΠ°ΡΡΠΈΠΌ ΠΏΠ»ΠΎΡΠ°Π΄Ρ ΡΠ΅ΡΠ΅Π½ΠΈΡ ΡΠ΄Π°ΡΠ½ΠΈΠΊΠ°;
β Π³ΠΈΠ΄ΡΠΎΡΠ΄Π°Ρ, ΠΏΡΠΈ ΠΊΠΎΡΠΎΡΠΎΠΌ ΠΏΡΠΎΠΈΡΡ
ΠΎΠ΄ΠΈΡ Π²ΡΠ±ΡΠΎΡ ΠΏΠΎΡΡΠΈ Π²ΡΠ΅Π³ΠΎ ΠΠΠ ΠΈΠ· ΠΊΠΎΡΠΏΡΡΠ° ΡΠ»Π΅ΠΌΠ΅Π½ΡΠ° ΠΠ;
β Π°ΡΡΠΎΡΠ΄Π°Ρ, Ρ
Π°ΡΠ°ΠΊΡΠ΅ΡΠ΅Π½ Π΄Π»Ρ ΡΠ»ΡΡΠ°Ρ Π½Π°Π»ΠΈΡΠΈΡ Π² ΡΠ»Π΅ΠΌΠ΅Π½ΡΠ΅ ΠΠ ΠΎΠ±ΡΡΠΌΠ° Π½Π΅Π·Π°ΠΏΠΎΠ»Π½Π΅Π½Π½ΠΎΠ³ΠΎ ΠΠΠ, ΠΏΠΎΠΏΠ°Π΄Π°Π½ΠΈΠ΅ Π² ΠΊΠΎΡΠΎΡΡΠΉ ΠΠ‘ ΠΏΡΠΈΠ²ΠΎΠ΄ΠΈΡ ΠΊ Π²ΡΠΊΡΡΡΠΈΡ ΡΠ»Π΅ΠΌΠ΅Π½ΡΠ° Π±Π΅Π· Π²Π·ΡΡΠ²Π°; ΡΠ°ΠΊΠ°Ρ ΡΠΈΡΡΠ°ΡΠΈΡ Π²ΠΎΠ·Π½ΠΈΠΊΠ°Π΅Ρ ΠΈΠ·-Π·Π° ΡΠ΅Ρ
Π½ΠΎΠ»ΠΎΠ³ΠΈΡΠ΅ΡΠΊΠΎΠ³ΠΎ Π±ΡΠ°ΠΊΠ°.
ΠΠ»Ρ ΡΠ΅Π°Π»ΠΈΠ·Π°ΡΠΈΠΈ ΡΠΏΠΎΡΠΎΠ±Π° ΠΏΡΠ΅ΠΎΠ΄ΠΎΠ»Π΅Π½ΠΈΡ Π΄ΠΈΠ½Π°ΠΌΠΈΡΠ΅ΡΠΊΠΎΠΉ Π·Π°ΡΠΈΡΡ Π±Π΅Π· Π΄Π΅ΡΠΎΠ½Π°ΡΠΈΠΈ ΠΠΠ ΠΌΠΎΠΆΠ΅Ρ Π±ΡΡΡ ΠΈΡΠΏΠΎΠ»ΡΠ·ΠΎΠ²Π°Π½ ΡΠΏΠ»ΡΡΠΈΠ²Π°ΡΡΠΈΠΉΡΡ ΠΏΡΠ΅Π΄Π·Π°ΡΡΠ΄ ΡΡΠ³Π°ΡΠ½ΠΎ-Π½Π°ΠΏΡΠ°Π²Π»Π΅Π½Π½ΠΎΠ³ΠΎ Π΄Π΅ΠΉΡΡΠ²ΠΈΡ. Π’Π°Π½Π΄Π΅ΠΌΠ½ΡΠ΅ Π±ΠΎΠ΅ΠΏΡΠΈΠΏΠ°ΡΡ ΡΠΎ ΡΠΏΠ»ΡΡΠΈΠ²Π°ΡΡΠΈΠΌΡΡ ΠΠ ΡΡΠ³Π°ΡΠ½ΠΎ-Π½Π°ΠΏΡΠ°Π²Π»Π΅Π½Π½ΠΎΠ³ΠΎ Π΄Π΅ΠΉΡΡΠ²ΠΈΡ ΠΌΠΎΠ³ΡΡ Β«ΠΏΡΠ΅ΠΎΠ΄ΠΎΠ»Π΅ΡΡΒ» ΠΏΡΠ°ΠΊΡΠΈΡΠ΅ΡΠΊΠΈ Π²ΡΠ΅ ΡΡΠ°ΡΠ½ΡΠ΅ ΠΊΠΎΠ½ΡΡΡΡΠΊΡΠΈΠΈ Π΄ΠΈΠ½Π°ΠΌΠΈΡΠ΅ΡΠΊΠΎΠΉ Π·Π°ΡΠΈΡΡ.
ΠΡΠΎΠ½Π΅Π±ΠΎΠΉΠ½ΡΠ΅ ΠΏΠΎΠ΄ΠΊΠ°Π»ΠΈΠ±Π΅ΡΠ½ΡΠ΅ ΡΠ½Π°ΡΡΠ΄Ρ Π΄ΠΎ Π½Π°ΡΡΠΎΡΡΠ΅Π³ΠΎ Π²ΡΠ΅ΠΌΠ΅Π½ΠΈ ΡΡΠΈΡΠ°Π»ΠΈΡΡ ΠΎΠ΄Π½ΠΈΠΌΠΈ ΠΈΠ· Π½Π°ΠΈΠ±ΠΎΠ»Π΅Π΅ ΡΡΡΠ΅ΠΊΡΠΈΠ²Π½ΡΡ ΠΏΡΠΎΡΠΈΠ²ΠΎΡΠ°Π½ΠΊΠΎΠ²ΡΡ ΡΡΠ΅Π΄ΡΡΠ². ΠΠΏΡΠ΅Π΄Π΅Π»ΡΡΡΠΈΠΌ ΠΏΠΎΠΊΠ°Π·Π°ΡΠ΅Π»Π΅ΠΌ ΠΠΠ‘ ΡΠ²Π»ΡΠ΅ΡΡΡ Π±ΡΠΎΠ½Π΅ΠΏΡΠΎΠ±ΠΈΠ²Π°Π΅ΠΌΠΎΡΡΡ. Π’ΠΎΠ»ΡΠΈΠ½Π° Π±ΡΠΎΠ½Π΅Π²ΠΎΠΉ ΠΏΠ»ΠΈΡΡ, ΠΏΡΠΎΠ±ΠΈΠ²Π°Π΅ΠΌΠ°Ρ ΠΠΠ‘, ΠΎΠΏΡΠ΅Π΄Π΅Π»ΡΠ΅ΡΡΡ ΠΌΠ°ΡΡΠΎΠΉ ΠΈ ΡΠΊΠΎΡΠΎΡΡΡΡ ΡΠ½Π°ΡΡΠ΄Π°, Π° ΡΠ°ΠΊΠΆΠ΅ Π΅Π³ΠΎ ΠΏΠΎΠΏΠ΅ΡΠ΅ΡΠ½ΡΠΌ ΡΠ΅ΡΠ΅Π½ΠΈΠ΅ΠΌ (Ρ. Π΅. Π·Π°Π²ΠΈΡΠΈΡ ΠΎΡ Π΅Π³ΠΎ Π΄ΠΈΠ°ΠΌΠ΅ΡΡΠ°).
ΠΠΎΠ²ΡΡΠ΅Π½ΠΈΠ΅ Π±ΡΠΎΠ½Π΅ΠΏΡΠΎΠ±ΠΈΠ²Π°Π΅ΠΌΠΎΡΡΠΈ ΠΌΠΎΠΆΠ½ΠΎ Π΄ΠΎΡΡΠΈΡΡ ΡΠ²Π΅Π»ΠΈΡΠ΅Π½ΠΈΠ΅ΠΌ ΠΌΠ°ΡΡΡ, ΡΠΊΠΎΡΠΎΡΡΠΈ ΠΈ ΡΠΌΠ΅Π½ΡΡΠ΅Π½ΠΈΠ΅ΠΌ Π΄ΠΈΠ°ΠΌΠ΅ΡΡΠ° ΡΠ½Π°ΡΡΠ΄Π°.
ΠΡΠΎ Π΄ΠΎΡΡΠΈΠ³Π°Π΅ΡΡΡ ΠΈΡΠΏΠΎΠ»ΡΠ·ΠΎΠ²Π°Π½ΠΈΠ΅ΠΌ Π² ΠΊΠ°ΡΠ΅ΡΡΠ²Π΅ ΠΊΠΎΠ½ΡΡΡΡΠΊΡΠΈΠΎΠ½Π½ΠΎΠ³ΠΎ ΠΌΠ°ΡΠ΅ΡΠΈΠ°Π»Π° ΠΎΠ±Π΅Π΄Π½Π΅Π½Π½ΠΎΠ³ΠΎ ΡΡΠ°Π½Π° β ΠΏΠΎΠ±ΠΎΡΠ½ΠΎΠ³ΠΎ ΠΏΡΠΎΠ΄ΡΠΊΡΠ° Π°ΡΠΎΠΌΠ½ΠΎΠΉ ΠΏΡΠΎΠΌΡΡΠ»Π΅Π½Π½ΠΎΡΡΠΈ. ΠΠΎ Π½Π΅Π΄Π°Π²Π½Π΅Π³ΠΎ Π²ΡΠ΅ΠΌΠ΅Π½ΠΈ Π² ΠΊΠ°ΡΠ΅ΡΡΠ²Π΅ ΠΊΠΎΠ½ΡΡΡΡΠΊΡΠΈΠΎΠ½Π½ΠΎΠ³ΠΎ ΠΌΠ°ΡΠ΅ΡΠΈΠ°Π»Π° Π΄Π»Ρ ΠΏΡΠΎΠΈΠ·Π²ΠΎΠ΄ΡΡΠ²Π° ΡΠ΅ΡΠ΄Π΅ΡΠ½ΠΈΠΊΠΎΠ² ΠΠΠ‘ ΠΈΡΠΏΠΎΠ»ΡΠ·ΠΎΠ²Π°Π»ΡΡ Π²ΠΎΠ»ΡΡΡΠ°ΠΌ, ΠΊΠΎΡΠΎΡΡΠΉ ΠΏΡΠΈΠ½Π°Π΄Π»Π΅ΠΆΠΈΡ ΠΊ ΡΠΈΡΠ»Ρ ΡΠ΅Π΄ΠΊΠΈΡ ΠΌΠ΅ΡΠ°Π»Π»ΠΎΠ² ΠΈ ΠΊΠ°ΠΊ ΠΏΠΎΠ»Π°Π³Π°ΡΡ Π·Π°ΡΡΠ±Π΅ΠΆΠ½ΡΠ΅ ΡΠΊΡΠΏΠ΅ΡΡΡ ΡΡΠΈ ΡΠ΅ΡΠ²Π΅ΡΡΠΈ ΠΌΠΈΡΠΎΠ²ΡΡ Π·Π°ΠΏΠ°ΡΠΎΠ² ΠΊΠΎΡΠΎΡΠΎΠ³ΠΎ ΡΠΎΡΡΠ΅Π΄ΠΎΡΠΎΡΠ΅Π½Ρ Π² ΠΠΈΡΠ°Π΅. ΠΠΎΡΠ»Π΅ ΠΏΡΠΎΠ²Π΅Π΄Π΅Π½ΠΈΡ Π±ΠΎΠ»ΡΡΠΎΠ³ΠΎ ΠΊΠΎΠ»ΠΈΡΠ΅ΡΡΠ²Π° ΡΠΊΡΠΏΠ΅ΡΠΈΠΌΠ΅Π½ΡΠΎΠ² Ρ ΡΠ΅Π»ΡΠΌ ΡΡΠ΄ΠΎΠΌ ΡΡΠΆΠ΅Π»ΡΡ ΠΌΠ΅ΡΠ°Π»Π»ΠΎΠ² ΠΈ ΠΈΡ ΡΠΏΠ»Π°Π²ΠΎΠ², ΡΠΏΠ΅ΡΠΈΠ°Π»ΠΈΡΡΡ-ΠΈΡΡΠ»Π΅Π΄ΠΎΠ²Π°ΡΠ΅Π»ΠΈ ΠΏΡΠΈΡΠ»ΠΈ ΠΊ Π²ΡΠ²ΠΎΠ΄Ρ, ΡΡΠΎ Π½Π°ΠΈΠ±ΠΎΠ»Π΅Π΅ ΡΠ΄Π°ΡΠ½ΠΎΠΉ Π·Π°ΠΌΠ΅Π½ΠΎΠΉ Π²ΠΎΠ»ΡΡΡΠ°ΠΌΠΎΠ²ΡΠΌ ΡΠΏΠ»Π°Π²Π°ΠΌ Π² ΡΠ΅ΡΠ΄Π΅ΡΠ½ΠΈΠΊΠ°Ρ Π±ΡΠΎΠ½Π΅Π±ΠΎΠΉΠ½ΡΡ ΠΏΠΎΠ΄ΠΊΠ°Π»ΠΈΠ±Π΅ΡΠ½ΡΡ ΡΠ½Π°ΡΡΠ΄ΠΎΠ² ΡΠ²Π»ΡΠ΅ΡΡΡ ΠΎΠ±Π΅Π΄Π½ΡΠ½Π½ΡΠΉ ΡΡΠ°Π½. ΠΠ»Ρ ΡΠ»ΡΡΡΠ΅Π½ΠΈΡ ΡΠΈΠ·ΠΈΠΊΠΎ-ΠΌΠ΅Ρ Π°Π½ΠΈΡΠ΅ΡΠΊΠΈΡ ΡΠ²ΠΎΠΉΡΡΠ² ΠΎΠ±Π΅Π΄Π½Π΅Π½Π½ΡΠΉ ΡΡΠ°Π½ ΠΈΡΠΏΠΎΠ»ΡΠ·ΡΠ΅ΡΡΡ Π² ΠΠΠ‘ Π² Π²ΠΈΠ΄Π΅ ΡΠΏΠ»Π°Π²ΠΎΠ², Ρ Π½Π΅Π±ΠΎΠ»ΡΡΠΈΠΌΠΈ Π΄ΠΎΠ±Π°Π²ΠΊΠ°ΠΌΠΈ Π»Π΅Π³ΠΈΡΡΡΡΠΈΡ ΡΠ»Π΅ΠΌΠ΅Π½ΡΠΎΠ²: ΡΠΈΡΠ°Π½Π°, ΠΌΠΎΠ»ΠΈΠ±Π΄Π΅Π½Π° ΠΈ Π΄ΡΡΠ³ΠΈΡ . ΠΠ»Ρ ΠΏΠΎΠ»ΡΡΠ΅Π½ΠΈΡ Π²ΡΡΠΎΠΊΠΎΠΉ Π±ΡΠΎΠ½Π΅ΠΏΡΠΎΠ±ΠΈΠ²Π°Π΅ΠΌΠΎΡΡΠΈ ΠΠΠ‘ ΠΈΠ· ΠΎΠ±Π΅Π΄Π½ΡΠ½Π½ΠΎΠ³ΠΎ ΡΡΠ°Π½Π° ΠΈΠΌΠ΅ΡΡ Π² Π½Π°ΡΡΠΎΡΡΠ΅Π΅ Π²ΡΠ΅ΠΌΡ Π΄Π»ΠΈΠ½Ρ ΠΏΠΎΡΡΠ΄ΠΊΠ° 500 ΠΌΠΌ ΠΏΡΠΈ Π΄ΠΈΠ°ΠΌΠ΅ΡΡΠ΅ 20…30 ΠΌΠΌ. ΠΡΠΎ ΡΠ²Π΅Π»ΠΈΡΠ΅Π½ΠΈΠ΅ Π΄Π»ΠΈΠ½Ρ ΡΠ½Π°ΡΡΠ΄Π° ΠΈ ΡΠΌΠ΅Π½ΡΡΠ΅Π½ΠΈΠ΅ Π΄ΠΈΠ°ΠΌΠ΅ΡΡΠ° Π² Π·Π½Π°ΡΠΈΡΠ΅Π»ΡΠ½ΠΎΠΉ ΠΌΠ΅ΡΠ΅ ΡΠΏΠΎΡΠΎΠ±ΡΡΠ²ΡΠ΅Ρ Π΄Π΅ΡΠΎΡΠΌΠ°ΡΠΈΠΈ ΠΈ ΡΠ°Π·ΡΡΡΠ΅Π½ΠΈΡ ΠΏΡΠΈ Π΅Π³ΠΎ Π²Π·Π°ΠΈΠΌΠΎΠ΄Π΅ΠΉΡΡΠ²ΠΈΠΈ Ρ ΡΠΊΡΠ°Π½ΠΎΠΌ ΠΈ ΠΠ.
ΠΠΎΠ»ΡΡΠΈΠ΅ ΠΈ ΠΌΠ°Π»ΠΎΠ·Π°ΡΠΈΡΡΠ½Π½ΡΠ΅ ΠΏΠ»ΠΎΡΠ°Π΄ΠΈ ΡΠ°Π½ΠΊΠΎΠ² ΡΠΎ ΡΡΠΎΡΠΎΠ½Ρ ΠΊΡΡΡΠΈ ΠΈ Π΄Π½ΠΈΡΠ° Π²ΡΠ΅Π³Π΄Π° ΠΏΡΠΈΠ²Π»Π΅ΠΊΠ°Π»ΠΈ Π²Π½ΠΈΠΌΠ°Π½ΠΈΠ΅ ΡΠ°Π·ΡΠ°Π±ΠΎΡΡΠΈΠΊΠΎΠ² ΠΏΡΠΎΡΠΈΠ²ΠΎΡΠ°Π½ΠΊΠΎΠ²ΡΡ ΡΡΠ΅Π΄ΡΡΠ². Π Π½Π°ΡΡΠΎΡΡΠ΅ΠΌΡ Π²ΡΠ΅ΠΌΠ΅Π½ΠΈ ΡΠΎΠ·Π΄Π°Π½Ρ ΠΠ’Π£Π , ΠΊΠΎΠ½ΡΡΡΡΠΊΡΠΈΡ ΠΊΠΎΡΠΎΡΡΡ ΠΏΠΎΠ·Π²ΠΎΠ»ΡΠ΅Ρ ΠΎΡΡΡΠ΅ΡΡΠ²Π»ΡΡΡ Π°ΡΠ°ΠΊΡ ΡΠ°Π½ΠΊΠΎΠ² ΡΠ²Π΅ΡΡ Ρ ΠΏΡΠΈ ΠΏΠΈΠΊΠΈΡΠΎΠ²Π°Π½ΠΈΠΈ Π½Π° ΠΊΠΎΠ½Π΅ΡΠ½ΠΎΠΌ ΡΡΠ°ΡΡΠΊΠ΅ ΡΡΠ°Π΅ΠΊΡΠΎΡΠΈΠΈ (PARS 3LR, Javelin) ΠΈΠ»ΠΈ Π½Π° ΠΏΡΠΎΠ»ΡΡΠ΅ (TOW 2B, BILL). ΠΠ΄Π½ΠΎΠ²ΡΠ΅ΠΌΠ΅Π½Π½ΠΎ Π΄ΠΎΡΡΠΈΠ³Π½ΡΡΡ ΠΎΠΏΡΠ΅Π΄Π΅Π»ΡΠ½Π½ΡΠ΅ ΡΡΠΏΠ΅Ρ ΠΈ Π² ΡΠΎΠ·Π΄Π°Π½ΠΈΠΈ ΠΏΡΠΎΡΠΈΠ²ΠΎΡΠ°Π½ΠΊΠΎΠ²ΠΎΠ³ΠΎ Π³ΡΠ°Π½Π°ΡΠΎΠΌΡΡΠ° SRAW (Π΄Π°Π»ΡΠ½ΠΎΡΡΡ ΡΡΡΠ΅Π»ΡΠ±Ρ β 17…500 ΠΌ) Π°ΡΠ°ΠΊΡΡΡΠ΅Π³ΠΎ Π±ΡΠΎΠ½ΠΈΡΠΎΠ²Π°Π½Π½ΡΡ ΡΠ΅Π»Ρ ΡΠ²Π΅ΡΡ Ρ. ΠΡΠΎΠΌΠ΅ ΡΠΎΠ³ΠΎ, ΠΊ Π½Π°ΡΡΠΎΡΡΠ΅ΠΌΡ Π²ΡΠ΅ΠΌΠ΅Π½ΠΈ ΡΠΎΠ·Π΄Π°Π½Ρ ΡΠ°ΠΌΠΎΠ½Π°Π²ΠΎΠ΄ΡΡΠΈΠ΅ΡΡ, ΠΊΠΎΡΡΠ΅ΠΊΡΠΈΡΡΠ΅ΠΌΡΠ΅ (ΡΡΠ΅Π±ΡΡΡΠΈΠ΅ Π²Π½Π΅ΡΠ½Π΅ΠΉ ΠΏΠΎΠ΄ΡΠ²Π΅ΡΠΊΠΈ ΡΠ΅Π»ΠΈ) Π°ΡΡΠΈΠ»Π»Π΅ΡΠΈΠΉΡΠΊΠΈΠ΅ ΠΏΡΠΎΡΠΈΠ²ΠΎΡΠ°Π½ΠΊΠΎΠ²ΡΠ΅ ΡΠ½Π°ΡΡΠ΄Ρ: 152-ΠΌΠΌ Β«ΠΡΠ°ΡΠ½ΠΎΠΏΠΎΠ»ΡΒ» ΠΈ 155-ΠΌΠΌ Β«CopperheadΒ», ΡΠ°ΠΊΠΆΠ΅ ΠΏΡΠ΅Π΄Π½Π°Π·Π½Π°ΡΠ΅Π½Π½ΡΠ΅ Π΄Π»Ρ Π°ΡΠ°ΠΊΠΈ Π±ΡΠΎΠ½Π΅ΡΠ΅Π»ΠΈ ΡΠ²Π΅ΡΡ Ρ.
ΠΡΠΎΠ±Π΅Π½Π½ΠΎ ΠΈΠ½ΡΠ΅Π½ΡΠΈΠ²Π½ΠΎ Π² ΠΏΠΎΡΠ»Π΅Π΄Π½ΠΈΠ΅ 15 Π»Π΅Ρ ΡΠ°Π·Π²ΠΈΠ²Π°ΡΡΡΡ Π²ΡΡΠΎΠΊΠΎΡΠΎΡΠ½ΡΠ΅ Π±ΠΎΠ΅ΠΏΡΠΈΠΏΠ°ΡΡ: ΡΠ°ΠΌΠΎΠ½Π°Π²ΠΎΠ΄ΡΡΠΈΠ΅ΡΡ (Π‘ΠΠ) ΠΈ ΡΠ°ΠΌΠΎΠΏΡΠΈΡΠ΅Π»ΠΈΠ²Π°ΡΡΠΈΠ΅ΡΡ (Π‘ΠΠ). ΠΠ»Π°Π²Π½ΠΎΠΉ Π·Π°Π΄Π°ΡΠ΅ΠΉ Π²ΡΡΠΎΠΊΠΎΡΠΎΡΠ½ΡΡ Π±ΠΎΠ΅ΠΏΡΠΈΠΏΠ°ΡΠΎΠ² ΡΠ²Π»ΡΠ΅ΡΡΡ Π±ΠΎΡΡΠ±Π° Ρ ΠΎΠ±ΡΠ΅ΠΊΡΠ°ΠΌΠΈ Π±ΡΠΎΠ½Π΅ΡΠ°Π½ΠΊΠΎΠ²ΠΎΠΉ ΡΠ΅Ρ Π½ΠΈΠΊΠΈ. ΠΠΎΡΡΠ°Π²ΠΊΠ° ΡΡΠΈΡ Π±ΠΎΠ΅ΠΏΡΠΈΠΏΠ°ΡΠΎΠ² ΠΊ ΡΠ΅Π»ΠΈ ΠΌΠΎΠΆΠ΅Ρ ΠΎΡΡΡΠ΅ΡΡΠ²Π»ΡΡΡΡΡ: Ρ ΠΏΠΎΠΌΠΎΡΡΡ Π°ΡΡΠΈΠ»Π»Π΅ΡΠΈΠΈ (Π°ΡΡΠΈΠ»Π»Π΅ΡΠΈΠΉΡΠΊΠΈΠ΅ ΠΊΠ°ΡΡΠ΅ΡΠ½ΡΠ΅ ΡΠ½Π°ΡΡΠ΄Ρ ΠΈ ΠΌΠΈΠ½Ρ), Π°Π²ΠΈΠ°ΡΠΈΠΈ (Π°Π²ΠΈΠ°ΡΠΈΠΎΠ½Π½ΡΠ΅ ΠΊΠ°ΡΡΠ΅ΡΡ) ΠΈ Ρ ΠΈΡΠΏΠΎΠ»ΡΠ·ΠΎΠ²Π°Π½ΠΈΠ΅ΠΌ ΡΠ°ΠΊΠ΅ΡΠ½ΡΡ ΡΠΈΡΡΠ΅ΠΌ Π·Π°Π»ΠΏΠΎΠ²ΠΎΠ³ΠΎ ΠΎΠ³Π½Ρ. Π‘Π°ΠΌΠΎΠ½Π°Π²ΠΎΠ΄ΡΡΠΈΠ΅ΡΡ Π±ΠΎΠ΅ΠΏΡΠΈΠΏΠ°ΡΡ (TGSM, Ephram, Strix, Merlin) ΠΎΡΠ½Π°ΡΠ΅Π½Ρ ΡΠΈΡΡΠ΅ΠΌΠΎΠΉ Π½Π°Π²Π΅Π΄Π΅Π½ΠΈΡ Π½Π΅ΠΏΠΎΡΡΠ΅Π΄ΡΡΠ²Π΅Π½Π½ΠΎ Π½Π° ΡΠ΅Π»Ρ. Π‘Π°ΠΌΠΎΠΏΡΠΈΡΠ΅Π»ΠΈΠ²Π°ΡΡΠΈΠ΅ΡΡ Π±ΠΎΠ΅ΠΏΡΠΈΠΏΠ°ΡΡ (Sadarm, Skeet, Bonus, Habicht) ΠΎΡΡΡΠ΅ΡΡΠ²Π»ΡΡΡ ΠΏΠΎΠΈΡΠΊ ΠΈ ΠΎΠ±Π½Π°ΡΡΠΆΠ΅Π½ΠΈΠ΅ ΡΠ΅Π»ΠΈ ΠΏΡΠΈ ΡΠΏΡΡΠΊΠ΅ Ρ ΠΎΠ΄Π½ΠΎΠ²ΡΠ΅ΠΌΠ΅Π½Π½ΡΠΌ Π²ΡΠ°ΡΠ΅Π½ΠΈΠ΅ΠΌ, Π΄Π°Π»Π΅Π΅, ΠΏΡΠΈ ΠΎΠ±Π½Π°ΡΡΠΆΠ΅Π½ΠΈΠΈ ΡΠ΅Π»ΠΈ ΠΏΡΠΎΠΈΠ·Π²ΠΎΠ΄ΠΈΡΡΡ ΠΏΡΠΈΡΠ΅Π»ΠΈΠ²Π°Π½ΠΈΠ΅ ΠΠ§ ΠΈ ΠΎΡΡΡΡΠ΅Π» ΡΠ°ΠΌΠΎΡΠΎΡΠΌΠΈΡΡΡΡΠ΅Π³ΠΎΡΡ ΠΏΠΎΡΠ°ΠΆΠ°ΡΡΠ΅Π³ΠΎ ΡΠ»Π΅ΠΌΠ΅Π½ΡΠ° (ΡΠ΄Π°ΡΠ½ΠΎΠ΅ ΡΠ΄ΡΠΎ). ΠΠ·-Π·Π° Π½Π΅Π±ΠΎΠ»ΡΡΠΎΠΉ ΡΠΎΠ»ΡΠΈΠ½Ρ ΡΡΠ°Π³ΠΌΠ΅Π½ΡΠΎΠ² Π·Π°ΡΠΈΡΡ ΠΊΡΡΡΠΈ ΡΠ°Π½ΠΊΠΎΠ² Π½Π° Π½Π΅ΠΉ Π½Π΅Π»ΡΠ·Ρ ΡΡΡΠ°Π½Π°Π²Π»ΠΈΠ²Π°ΡΡ ΠΠ Ρ Π±ΠΎΠ»ΡΡΠΈΠΌ ΠΊΠΎΠ»ΠΈΡΠ΅ΡΡΠ²ΠΎΠΌ ΠΠΠ. ΠΠΎΡΡΠΎΠΌΡ ΡΡΡΠ΅ΠΊΡΠΈΠ²Π½ΠΎΡΡΡ Π‘ΠΠ Ρ ΠΌΠΎΠ½ΠΎΠ±Π»ΠΎΡΠ½ΠΎΠΉ ΠΊΡΠΌΡΠ»ΡΡΠΈΠ²Π½ΠΎΠΉ ΠΠ§ (Π±ΡΠΎΠ½Π΅ΠΏΡΠΎΠ±ΠΈΠ²Π°Π΅ΠΌΠΎΡΡΡ β 500…600 ΠΌΠΌ) Π½Π΅ Π²ΡΠ·ΡΠ²Π°Π΅Ρ ΡΠΎΠΌΠ½Π΅Π½ΠΈΠΉ, ΡΠ°ΠΊ ΠΊΠ°ΠΊ ΠΎΡΡΠ°ΡΠΎΡΠ½ΠΎΠΉ ΡΠ°ΡΡΠΈ ΠΊΡΠΌΡΠ»ΡΡΠΈΠ²Π½ΠΎΠΉ ΡΡΡΡΠΈ Π±ΡΠ΄Π΅Ρ Π²ΠΏΠΎΠ»Π½Π΅ Π΄ΠΎΡΡΠ°ΡΠΎΡΠ½ΠΎ Π΄Π»Ρ ΡΡΡΠ΅ΠΊΡΠΈΠ²Π½ΠΎΠ³ΠΎ Π·Π°Π±ΡΠΎΠ½Π΅Π²ΠΎΠ³ΠΎ Π΄Π΅ΠΉΡΡΠ²ΠΈΡ. ΠΠΌΠ΅ΡΡΠ΅ Ρ ΡΠ΅ΠΌ Ρ ΠΠ§ (Π½Π° ΠΏΡΠΈΠ½ΡΠΈΠΏΠ΅ ΡΠ΄Π°ΡΠ½ΠΎΠ³ΠΎ ΡΠ΄ΡΠ°) ΡΠ°ΠΌΠΎΠΏΡΠΈΡΠ΅Π»ΠΈΠ²Π°ΡΡΠ΅Π³ΠΎΡΡ Π±ΠΎΠ΅ΠΏΡΠΈΠΏΠ°ΡΠ° ΠΈΠΌΠ΅Π΅ΡΡΡ ΠΎΡΠ΅Π½Ρ Π²Π°ΠΆΠ½ΡΠΉ Π½Π΅Π΄ΠΎΡΡΠ°ΡΠΎΠΊ. Π‘ΡΡΠ΅ΡΡΠ²ΡΠ΅Ρ ΡΠΈΠ·ΠΈΡΠ΅ΡΠΊΠ°Ρ Π·Π°ΠΊΠΎΠ½ΠΎΠΌΠ΅ΡΠ½ΠΎΡΡΡ, ΠΏΡΠΈ ΠΊΠΎΡΠΎΡΠΎΠΉ Π² ΠΌΠ΅ΡΠ°Π»Π»ΠΈΡΠ΅ΡΠΊΠΎΠΌ ΡΠ΄Π°ΡΠ½ΠΈΠΊΠ΅ ΠΏΡΠΈ ΡΠΎΡΠ΄Π°ΡΠ΅Π½ΠΈΠΈ Ρ ΡΠΊΡΠ°Π½ΠΎΠΌ ΡΠΎ ΡΠΊΠΎΡΠΎΡΡΡΡ 2 ΠΊΠΌ/Ρ ΠΈ Π±ΠΎΠ»Π΅Π΅ Π²ΠΎΠ·Π½ΠΈΠΊΠ°ΡΡ ΠΌΠΎΡΠ½ΡΠ΅ ΡΠ΄Π°ΡΠ½ΠΎ-Π²ΠΎΠ»Π½ΠΎΠ²ΡΠ΅ ΠΏΡΠΎΡΠ΅ΡΡΡ, ΠΏΡΠΈΠ²ΠΎΠ΄ΡΡΠΈΠ΅ ΠΊ Π΄ΡΠΎΠ±Π»Π΅Π½ΠΈΡ ΡΠ΄Π°ΡΠ½ΠΈΠΊΠ°. ΠΠΎ ΡΡΠΎΠΉ ΠΏΡΠΈΡΠΈΠ½Π΅ Π΄ΠΈΠ½Π°ΠΌΠΈΡΠ΅ΡΠΊΠ°Ρ Π·Π°ΡΠΈΡΠ°, ΠΏΡΠ΅Π΄ΡΡΠ°Π²Π»ΡΡΡΠ°Ρ ΡΠΎΠ±ΠΎΠΉ ΡΠΈΡΡΠ΅ΠΌΡ ΡΠΊΡΠ°Π½ΠΎΠ² ΡΠΎ ΡΠ»ΠΎΠ΅ΠΌ ΠΏΠ»Π°ΡΡΠΈΡΠ½ΠΎΠ³ΠΎ Π²Π·ΡΡΠ²ΡΠ°ΡΠΎΠ³ΠΎ Π²Π΅ΡΠ΅ΡΡΠ²Π°, ΠΌΠΎΠΆΠ΅Ρ ΡΠ²Π»ΡΡΡΡΡ ΡΡΡΠ΅ΠΊΡΠΈΠ²Π½ΠΎΠΉ Π·Π°ΡΠΈΡΠΎΠΉ ΠΎΡ Π±ΠΎΠ΅ΠΏΡΠΈΠΏΠ°ΡΠΎΠ² Ρ ΠΠ§ Π½Π° ΠΏΡΠΈΠ½ΡΠΈΠΏΠ΅ ΡΠ΄Π°ΡΠ½ΠΎΠ³ΠΎ ΡΠ΄ΡΠ°. Π‘Π»Π΅Π΄ΡΠ΅Ρ Π·Π°ΠΌΠ΅ΡΠΈΡΡ, ΡΡΠΎ ΠΏΡΠΎΡΠΈΠ²ΠΎΠ΄Π½ΠΈΡΠ΅Π²ΡΠ΅ ΠΌΠΈΠ½Ρ Ρ ΠΈΡΠΏΠΎΠ»ΡΠ·ΠΎΠ²Π°Π½ΠΈΠ΅ΠΌ ΠΏΡΠΈΠ½ΡΠΈΠΏΠ° ΡΠ΄Π°ΡΠ½ΠΎΠ³ΠΎ ΡΠ΄ΡΠ° ΡΠ²Π»ΡΡΡΡΡ Π³ΡΠΎΠ·Π½ΡΠΌ ΡΡΠ΅Π΄ΡΡΠ²ΠΎΠΌ Π±ΠΎΡΡΠ±Ρ Ρ ΡΠ°Π½ΠΊΠ°ΠΌΠΈ. ΠΠ°ΠΈΠ±ΠΎΠ»Π΅Π΅ ΠΏΠ΅ΡΡΠΏΠ΅ΠΊΡΠΈΠ²Π½ΡΠΌ ΡΠΏΠΎΡΠΎΠ±ΠΎΠΌ ΡΡΡΠ°Π½ΠΎΠ²ΠΊΠΈ ΠΏΡΠΎΡΠΈΠ²ΠΎΠ΄Π½ΠΈΡΠ΅Π²ΡΡ ΠΌΠΈΠ½ ΡΠ²Π»ΡΠ΅ΡΡΡ Π΄ΠΈΡΡΠ°Π½ΡΠΈΠΎΠ½Π½ΠΎΠ΅ ΠΌΠΈΠ½ΠΈΡΠΎΠ²Π°Π½ΠΈΠ΅. ΠΠΎΠ»ΠΎΠΆΠΈΡΠ΅Π»ΡΠ½ΡΠ΅ ΡΠ΅Π·ΡΠ»ΡΡΠ°ΡΡ ΠΏΡΠΈ ΠΎΠ±ΡΡΡΠ΅Π»Π΅ ΡΠ°Π½ΠΊΠΎΠ², ΠΎΡΠ½Π°ΡΠ΅Π½Π½ΡΡ Π½Π°Π²Π΅ΡΠ½ΠΎΠΉ Π΄ΠΈΠ½Π°ΠΌΠΈΡΠ΅ΡΠΊΠΎΠΉ Π·Π°ΡΠΈΡΠΎΠΉ Ρ ΠΏΠΎΠΌΠΎΡΡΡ ΡΡΠ°ΡΠ½ΡΡ ΠΠ’Π£Π Ρ ΠΌΠΎΠ½ΠΎΠ±Π»ΠΎΡΠ½ΡΠΌΠΈ ΠΠ§ (Ρ. Π΅. Π½Π΅ΡΠ°Π½Π΄Π΅ΠΌΠ½ΡΠΌΠΈ) ΠΌΠΎΠΆΠ½ΠΎ Π΄ΠΎΡΡΠΈΡΡ ΠΏΡΡΠΊΠΎΠΌ Π΄Π²ΡΡ ΡΠ°ΠΊΠ΅Ρ Ρ Π½Π΅Π±ΠΎΠ»ΡΡΠΈΠΌ Π²ΡΠ΅ΠΌΠ΅Π½Π½ΡΠΌ ΠΈΠ½ΡΠ΅ΡΠ²Π°Π»ΠΎΠΌ. ΠΡΠΈ ΡΡΠΎΠΌ Π΄Π΅ΠΉΡΡΠ²ΠΈΠ΅ ΠΏΠ΅ΡΠ²ΠΎΠΉ ΡΠ°ΠΊΠ΅ΡΡ ΠΏΡΠΈΠ²Π΅Π΄Π΅Ρ ΠΊ ΡΠ½ΠΎΡΡ ΠΠ Ρ ΠΏΠΎΠ²Π΅ΡΡ Π½ΠΎΡΡΠΈ ΠΊΠΎΡΠΏΡΡΠ° ΡΠ°Π½ΠΊΠ°, Π° Π²ΡΠΎΡΠ°Ρ ΡΠ°ΠΊΠ΅ΡΠ° Π±ΡΠ΄Π΅Ρ Π²Π·Π°ΠΈΠΌΠΎΠ΄Π΅ΠΉΡΡΠ²ΠΎΠ²Π°ΡΡ Ρ Β«Π³ΠΎΠ»ΠΎΠΉΒ» Π±ΡΠΎΠ½Π΅ΠΉ. ΠΡΠΎΡΡΠΌ ΡΠ°ΠΊΡΠΈΡΠ΅ΡΠΊΠΈΠΌ ΠΏΡΠΈΠ΅ΠΌΠΎΠΌ ΠΌΠΎΠΆΠ΅Ρ Π±ΡΡΡ ΡΡΡΠ΅Π»ΡΠ±Π° Π½Π΅ Π² Π»ΠΎΠ±ΠΎΠ²ΡΠ΅ ΡΡΠ°Π³ΠΌΠ΅Π½ΡΡ Π·Π°ΡΠΈΡΡ ΡΠ°Π½ΠΊΠ° Ρ ΠΠ, Π΄Π²ΠΈΠ³Π°ΡΡΠ΅Π³ΠΎΡΡ Π½Π° ΠΏΡΡΠΊΠΎΠ²ΡΡ ΡΡΡΠ°Π½ΠΎΠ²ΠΊΡ (ΠΎΡΡΠ΄ΠΈΠ΅), Π° Π² Π±ΠΎΡΡΠΎΠ²ΡΠ΅ ΡΡΠ°Π³ΠΌΠ΅Π½ΡΡ Π±ΡΠΎΠ½Π΅ΡΠ΅Π»ΠΈ, Π΄Π²ΠΈΠ³Π°ΡΡΡΡΡΡ Π½Π° ΡΠΎΡΠ΅Π΄Π½ΡΡ ΠΏΡΡΠΊΠΎΠ²ΡΡ ΡΡΡΠ°Π½ΠΎΠ²ΠΊΡ, Ρ.Π΅. Π²Π΅Π΄ΡΡΡΡ ΡΡΡΠ΅Π»ΡΠ±Π° ΠΏΠΎ ΡΠ°Π½ΠΊΡ, Π½Π°ΡΡΡΠΏΠ°ΡΡΠ΅ΠΌΡ Π½Π° Β«ΡΠΎΡΠ΅Π΄Π°Β». ΠΠΎΡΡΠΎΠ²Π°Ρ Π·Π°ΡΠΈΡΠ° ΠΊΠΎΡΠΏΡΡΠ° ΡΠ°Π½ΠΊΠ° ΠΈΠΌΠ΅Π΅Ρ ΡΠΎΠ»ΡΠΈΠ½Ρ 50…60 ΠΌΠΌ. ΠΠΎΡΡΠΎΠΌΡ Π½ΠΈΠΊΠ°ΠΊΠ°Ρ ΠΠ Π½Π΅ ΡΠΏΠ°ΡΠ°Π΅Ρ Π±ΡΠΎΠ½Π΅ΡΠ΅Π»Ρ ΠΎΡ ΠΏΠΎΡΠ°ΠΆΠ΅Π½ΠΈΡ ΠΏΡΠΈ ΡΠ³Π»Π°Ρ ΠΏΠΎΠ΄Ρ ΠΎΠ΄Π° Π±ΠΎΠ΅ΠΏΡΠΈΠΏΠ°ΡΠ°, Π±Π»ΠΈΠ·ΠΊΠΈΡ ΠΊ Π½ΠΎΡΠΌΠ°Π»ΠΈ ΠΊ Π±ΠΎΡΡΠΎΠ²ΠΎΠΉ ΠΏΠΎΠ²Π΅ΡΡ Π½ΠΎΡΡΠΈ ΠΊΠΎΡΠΏΡΡΠ° ΡΠ°Π½ΠΊΠ°.

ΠΡΠ½ΠΎΠ²Π½ΠΎΠΉ ΡΠ°Π½ΠΊ Π’-72
ΠΠ½ΠΈΠΌΠ°ΡΠ΅Π»ΡΠ½ΡΠΉ ΡΠΈΡΠ°ΡΠ΅Π»Ρ Π²ΡΠΏΠΎΠΌΠ½ΠΈΡ ΠΏΠΎΠ»Π½ΡΠΉ ΠΊΡΠ°Ρ Π±ΡΠΎΠ½Π΅ΡΠ°Π½ΠΊΠΎΠ²ΡΡ ΡΠ°ΡΡΠ΅ΠΉ Π² ΡΠ΅ΡΠ΅Π½ΡΠΊΠΈΡ ΡΠΎΠ±ΡΡΠΈΡΡ ΠΏΡΠΈ ΠΈΡΠΏΠΎΠ»ΡΠ·ΠΎΠ²Π°Π½ΠΈΠΈ ΠΎΡΠ΅ΡΠ΅ΡΡΠ²Π΅Π½Π½ΠΎΠ³ΠΎ Π³ΡΠ°Π½Π°ΡΠΎΠΌΡΡΠ½ΠΎΠ³ΠΎ Π²ΠΎΠΎΡΡΠΆΠ΅Π½ΠΈΡ. Β«Π‘Π°ΠΌΡΠ΅ β ΡΠ°ΠΌΡΠ΅Β» Π’-72 ΠΈ Π’-80 Π³ΠΎΡΠ΅Π»ΠΈ ΠΊΠ°ΠΊ ΡΠΏΠΈΡΠΊΠΈ. ΠΠΌΠ΅ΡΡΠ΅ Ρ ΡΠ΅ΠΌ, ΡΡΠΎΡ ΡΠ°ΠΊΡ ΡΡΠ΅Π±ΡΠ΅Ρ ΠΎΡΠΎΠ±ΠΎΠ³ΠΎ ΡΠ°ΡΡΠΌΠΎΡΡΠ΅Π½ΠΈΡ. Π ΡΠ»ΠΈΡΠ½ΡΡ Π±ΠΎΡΡ ΡΡΡΠ΅Π»ΡΠ±Π° ΠΈΠ· Π³ΡΠ°Π½Π°ΡΠΎΠΌΡΡΠΎΠ² Π²Π΅Π»Π°ΡΡ Ρ Π΄ΠΈΡΡΠ°Π½ΡΠΈΠΈ Π² Π½Π΅ΡΠΊΠΎΠ»ΡΠΊΠΎ Π΄Π΅ΡΡΡΠΊΠΎΠ² ΠΌΠ΅ΡΡΠΎΠ² Π² Π±ΠΎΡΡ ΡΠ°Π½ΠΊΠ° (Π² Π·ΠΎΠ½Ρ ΡΠ°ΡΠΏΠΎΠ»ΠΎΠΆΠ΅Π½ΠΈΡ ΡΠΎΠΏΠ»ΠΈΠ²Π½ΡΡ Π±Π°ΠΊΠΎΠ² ΠΈ Π±ΠΎΠ΅Π·Π°ΠΏΠ°ΡΠ°). Π ΡΡΠΈΡ ΡΡΠ»ΠΎΠ²ΠΈΡΡ Π±ΠΎΡΡ ΡΠΎΠ»ΡΠΈΠ½ΠΎΠΉ 50 ΠΌΠΌ Π΄Π°ΠΆΠ΅ ΠΏΡΠΈ Π½Π°Π»ΠΈΡΠΈΠΈ Π½Π°Π²Π΅ΡΠ½ΠΎΠΉ ΠΠ Π½Π΅ ΠΌΠΎΠ³ Π·Π°ΡΠΈΡΠΈΡΡ ΠΈΡ ΠΎΡ Π²ΠΎΠ·Π΄Π΅ΠΉΡΡΠ²ΠΈΡ Π³ΡΠ°Π½Π°Ρ Ρ Π±ΡΠΎΠ½Π΅ΠΏΡΠΎΠ±ΠΈΠ²Π°Π΅ΠΌΠΎΡΡΡΡ 400…750 ΠΌΠΌ. ΠΡΡΠ΅ΡΡΠ²Π΅Π½Π½ΠΎ, ΠΏΠΎΠΏΠ°Π΄Π°Π½ΠΈΠ΅ ΠΊΡΠΌΡΠ»ΡΡΠΈΠ²Π½ΠΎΠΉ ΡΡΡΡΠΈ Π² Π³ΠΈΠ»ΡΠ·Ρ ΠΈΠ»ΠΈ ΡΠ½Π°ΡΡΠ΄ Π±ΠΎΠ΅Π·Π°ΠΏΠ°ΡΠ° Π½Π°Π½ΠΎΡΠΈΠ»ΠΎ ΡΠ°Π½ΠΊΡ ΡΡΠΆΠ΅Π»Π΅ΠΉΡΠ΅Π΅ ΠΏΠΎΡΠ°ΠΆΠ΅Π½ΠΈΠ΅.
ΠΡΠΎΠ±ΠΎ ΡΠ»Π΅Π΄ΡΠ΅Ρ ΠΎΡΡΠ°Π½ΠΎΠ²ΠΈΡΡΡΡ Π½Π° ΠΏΡΠΈΡΠΈΠ½Π°Ρ Π³ΠΎΡΠ΅Π½ΠΈΡ ΡΠΎΠΏΠ»ΠΈΠ²Π½ΡΡ Π±Π°ΠΊΠΎΠ² ΡΠ°Π½ΠΊΠΎΠ² Π’-72 ΠΈ Π’-80, ΠΊΠΎΡΠΎΡΡΠ΅ ΠΏΡΠ΅Π΄ΡΡΠ°Π²Π»ΡΡΡ ΡΠΎΠ±ΠΎΠΉ ΡΠΎΠ½ΠΊΠΎΡΡΠ΅Π½Π½ΡΠ΅ ΠΊΠΎΠ½ΡΡΡΡΠΊΡΠΈΠΈ ΠΈ ΠΏΠΎΡΠ»Π΅ ΠΏΠΎΠΏΠ°Π΄Π°Π½ΠΈΡ ΠΊΡΠΌΡΠ»ΡΡΠΈΠ²Π½ΠΎΠΉ ΡΡΡΡΠΈ Π² ΡΠ΅Π·ΡΠ»ΡΡΠ°ΡΠ΅ Π³ΠΈΠ΄ΡΠΎΡΠ΄Π°ΡΠ° ΡΠ°Π·ΡΡΡΠ°ΡΡΡΡ Ρ ΠΈΠ½ΡΠ΅Π½ΡΠΈΠ²Π½ΡΠΌ Π²ΡΠΏΠ»Π΅ΡΠΊΠΈΠ²Π°Π½ΠΈΠ΅ΠΌ ΡΠΎΠΏΠ»ΠΈΠ²Π° Ρ ΠΏΠΎΡΠ»Π΅Π΄ΡΡΡΠΈΠΌ Π³ΠΎΡΠ΅Π½ΠΈΠ΅ΠΌ. ΠΡΠΈ ΡΡΠΎΠΌ Π³ΠΎΡΠΈΡ Π½Π΅ ΡΠ°ΠΌΠΎ ΡΠΎΠΏΠ»ΠΈΠ²ΠΎ, Π° Π΅Π³ΠΎ ΠΏΠ°ΡΡ. Π Π·Π°ΡΡΠ±Π΅ΠΆΠ½ΡΡ ΡΠ°Π½ΠΊΠ°Ρ Β«ΠΠ±ΡΠ°ΠΌΡΒ», Β«ΠΠ΅ΠΎΠΏΠ°ΡΠ΄-2Β» Π²Π½ΡΡΡΠ΅Π½Π½ΠΈΠ΅ ΡΠΎΠΏΠ»ΠΈΠ²Π½ΡΠ΅ Π±Π°ΠΊΠΈ ΡΠ°Π·ΠΌΠ΅ΡΠ΅Π½Ρ Π² ΡΠΏΠ΅ΡΠΈΠ°Π»ΡΠ½ΡΡ Π·Π°Π±ΡΠΎΠ½ΠΈΡΠΎΠ²Π°Π½Π½ΡΡ ΠΎΠ±ΡΡΠΌΠ°Ρ , ΠΏΠΎΠΏΠ°Π΄Π°Π½ΠΈΠ΅ ΠΊΡΠΌΡΠ»ΡΡΠΈΠ²Π½ΠΎΠΉ ΡΡΡΡΠΈ Π² ΠΊΠΎΡΠΎΡΡΠ΅ Π½Π΅ Π²ΡΠ·ΡΠ²Π°Π΅Ρ ΠΈΡ ΡΠ°Π·ΡΡΡΠ΅Π½ΠΈΡ ΠΈ ΠΎΠ±ΡΠ°Π·ΠΎΠ²Π°Π½ΠΈΡ ΠΏΠ°ΡΠΎΠ² ΡΠΎΠΏΠ»ΠΈΠ²Π°. ΠΠ·Π²Π΅ΡΡΠ½ΠΎ, ΡΡΠΎ Π΄Π»Ρ ΡΠ³ΠΎΡΠ°Π½ΠΈΡ 1 ΠΊΠ³ ΡΠΎΠΏΠ»ΠΈΠ²Π° ΡΡΠ΅Π±ΡΠ΅ΡΡΡ 3 ΠΊΠ³ ΠΊΠΈΡΠ»ΠΎΡΠΎΠ΄Π°, ΠΊΠΎΡΠΎΡΡΠΉ ΡΠΎΠ΄Π΅ΡΠΆΠΈΡΡΡ, ΠΏΡΠΈΠΌΠ΅ΡΠ½ΠΎ, Π² 13 ΠΌ3 Π²ΠΎΠ·Π΄ΡΡ Π°. ΠΠΎΡΡΠΎΠΌΡ Π±Π»Π°Π³ΠΎΠ΄Π°ΡΡ Π±ΠΎΠ»Π΅Π΅ ΠΏΡΠΎΡΠ½ΠΎΠΉ ΠΊΠΎΠ½ΡΡΡΡΠΊΡΠΈΠΈ ΡΠΎΠΏΠ»ΠΈΠ²Π½ΡΡ Π±Π°ΠΊΠΎΠ² Π·Π°ΡΡΠ±Π΅ΠΆΠ½ΡΡ ΡΠ°Π½ΠΊΠΎΠ², ΠΎΠ±Π΅ΡΠΏΠ΅ΡΠΈΠ²Π°ΡΡΠΈΡ ΠΌΠΈΠ½ΠΈΠΌΠ°Π»ΡΠ½ΡΠΉ ΠΊΠΎΠ½ΡΠ°ΠΊΡ ΡΠΎΠΏΠ»ΠΈΠ²Π° Ρ ΠΊΠΈΡΠ»ΠΎΡΠΎΠ΄ΠΎΠΌ Π²ΠΎΠ·Π΄ΡΡ Π°, ΠΏΡΠΈ ΠΈΡ ΠΏΡΠΎΠ±ΠΈΡΠΈΠΈ Π½Π΅ ΠΏΡΠΎΠΈΡΡ ΠΎΠ΄ΠΈΡ Π³ΠΎΡΠ΅Π½ΠΈΡ, ΡΡΠΎ ΠΏΠΎΠ·Π²ΠΎΠ»ΡΠ΅Ρ Π²ΠΊΠ»ΡΡΠ°ΡΡ Π±Π°ΠΊΠΈ Π² ΠΎΠ±ΡΡΡ ΡΡ Π΅ΠΌΡ Π·Π°ΡΠΈΡΡ.
ΠΠ΅ΡΠ°Π»ΡΠ½ΠΎΠ΅ ΠΈ Π±ΠΎΠ»Π΅Π΅ Π³Π»ΡΠ±ΠΎΠΊΠΎΠ΅ ΠΈΠ·ΡΡΠ΅Π½ΠΈΠ΅ Ρ Π°ΡΠ°ΠΊΡΠ΅ΡΠΈΡΡΠΈΠΊ ΡΡΠ·Π²ΠΈΠΌΠΎΡΡΠΈ Π±ΡΠΎΠ½Π΅ΡΠ΅Π»Π΅ΠΉ ΠΏΠΎΠ·Π²ΠΎΠ»ΡΠ΅Ρ ΡΠΎΠ·Π΄Π°Π²Π°ΡΡ ΠΏΠ΅ΡΡΠΏΠ΅ΠΊΡΠΈΠ²Π½ΡΠ΅ Π±ΠΎΠ΅ΠΏΡΠΈΠΏΠ°ΡΡ, ΠΎΡΠ½ΠΎΠ²Π°Π½Π½ΡΠ΅ Π½Π° Π½Π΅ΡΡΠ°Π΄ΠΈΡΠΈΠΎΠ½Π½ΡΡ ΡΠΏΠΎΡΠΎΠ±Π°Ρ ΠΏΠΎΡΠ°ΠΆΠ΅Π½ΠΈΡ. ΠΠ΄Π½ΠΈΠΌ ΠΈΠ· ΡΠ°ΠΊΠΈΡ ΡΠΏΠΎΡΠΎΠ±ΠΎΠ² ΡΠ²Π»ΡΠ΅ΡΡΡ ΠΏΠΎΡΠ°ΠΆΠ΅Π½ΠΈΠ΅ ΡΡΠ²ΠΎΠ»Π° ΡΠ°Π½ΠΊΠΎΠ²ΠΎΠΉ ΠΏΡΡΠΊΠΈ Ρ ΠΏΠΎΠΌΠΎΡΡΡ ΠΎΡΠΊΠΎΠ»ΠΎΡΠ½ΠΎΠΉ ΠΠ§, ΡΠ½Π°Π±ΠΆΠ΅Π½Π½ΠΎΠΉ Π½Π΅ΠΊΠΎΠ½ΡΠ°ΠΊΡΠ½ΡΠΌ Π²Π·ΡΡΠ²Π°ΡΠ΅Π»Π΅ΠΌ. ΠΠΎΠ΄ΡΡΠ² ΡΠ°ΠΊΠΎΠΉ ΠΠ§ Π² Π·ΠΎΠ½Π΅ ΡΡΠ²ΠΎΠ»Π° ΠΏΡΠΈΠ²Π΅Π΄Π΅Ρ ΠΊ ΠΎΠ±ΡΠ°Π·ΠΎΠ²Π°Π½ΠΈΡ Π»ΠΈΠ±ΠΎ ΠΏΡΠΎΠ±ΠΎΠΈΠ½Ρ, Π»ΠΈΠ±ΠΎ β ΠΊ Π²ΡΠΏΡΡΠΈΠ½Π΅ Π½Π° Π²Π½ΡΡΡΠ΅Π½Π½Π΅ΠΉ ΠΏΠΎΠ²Π΅ΡΡ Π½ΠΎΡΡΠΈ ΡΡΠ²ΠΎΠ»Π°. ΠΡΡΠΎΠΊΠ°Ρ Π²Π΅ΡΠΎΡΡΠ½ΠΎΡΡΡ ΠΏΠΎΠΏΠ°Π΄Π°Π½ΠΈΡ Π½Π΅ΡΠΊΠΎΠ»ΡΠΊΠΈΡ ΠΎΡΠΊΠΎΠ»ΠΎΡΠ½ΡΡ ΡΠ»Π΅ΠΌΠ΅Π½ΡΠΎΠ² Π² ΡΡΠ²ΠΎΠ» ΠΎΠ±Π΅ΡΠΏΠ΅ΡΠΈΠ²Π°Π΅ΡΡΡ ΠΈΡ ΡΠΏΠ΅ΡΠΈΠ°Π»ΡΠ½ΠΎΠΉ ΡΠΊΠ»Π°Π΄ΠΊΠΎΠΉ Π½Π° ΠΏΠΎΠ²Π΅ΡΡ Π½ΠΎΡΡΠΈ ΠΠ§. ΠΠΎ ΡΡΠΈΠΌ ΠΏΡΠΈΡΠΈΠ½Π°ΠΌ Π±ΡΠΎΠ½Π΅ΡΠ΅Π»Ρ Π±ΡΠ΄Π΅Ρ Π»ΠΈΡΠ΅Π½Π° ΡΠ²ΠΎΠ΅Π³ΠΎ ΠΎΡΠ½ΠΎΠ²Π½ΠΎΠ³ΠΎ Π±ΠΎΠ΅Π²ΠΎΠ³ΠΎ ΡΠ²ΠΎΠΉΡΡΠ²Π° β ΠΎΠ³Π½Π΅Π²ΠΎΠΉ ΠΌΠΎΡΠΈ.
ΠΠ½Π°Π»ΠΈΠ· ΠΊΠΎΠΌΠΏΠΎΠ½ΠΎΠ²ΠΎΡΠ½ΡΡ ΡΡ Π΅ΠΌ ΡΠ°Π½ΠΊΠΎΠ² ΠΈ ΠΈΡ Π±ΠΎΠ΅Π²ΠΎΠ³ΠΎ ΠΈΡΠΏΠΎΠ»ΡΠ·ΠΎΠ²Π°Π½ΠΈΡ ΠΏΠΎΠΊΠ°Π·Π°Π», ΡΡΠΎ ΡΠ°Π½ΠΊ ΠΌΠΎΠΆΠ΅Ρ Π±ΡΡΡ ΠΏΠΎΡΠ°ΠΆΡΠ½ Π±Π΅Π· ΠΏΡΠΎΠ±ΠΈΡΠΈΡ Π±ΡΠΎΠ½ΠΈ. ΠΡΠΈ ΡΡΠΎΠΌ Π½Π΅ΠΎΠ±Ρ ΠΎΠ΄ΠΈΠΌΠΎ, ΡΡΠΎΠ±Ρ Π±ΠΎΠ΅ΠΏΡΠΈΠΏΠ°Ρ Π·Π° ΡΡΡΡ ΡΠ½Π΅ΡΠ³ΠΈΠΈ ΠΠ ΠΈΠ»ΠΈ ΠΊΠΈΠ½Π΅ΡΠΈΡΠ΅ΡΠΊΠΎΠΉ ΡΠ½Π΅ΡΠ³ΠΈΠΈ ΠΎΡΡΡΠ΅ΡΡΠ²ΠΈΠ» ΠΌΠΎΡΠ½ΠΎΠ΅ ΠΈΠΌΠΏΡΠ»ΡΡΠ½ΠΎΠ΅ Π²ΠΎΠ·Π΄Π΅ΠΉΡΡΠ²ΠΈΠ΅ Π½Π° ΠΊΠΎΡΠΏΡΡ Π±ΡΠΎΠ½Π΅ΡΠ΅Π»ΠΈ. ΠΡΠΎ Π²ΠΎΠ·Π΄Π΅ΠΉΡΡΠ²ΠΈΠ΅ Π²ΡΠ²ΠΎΠ΄ΠΈΡ ΠΈΠ· ΡΡΡΠΎΡ Π²Π½ΡΡΡΠ΅Π½Π½ΠΈΠ΅ Π°Π³ΡΠ΅Π³Π°ΡΡ ΡΠ°Π½ΠΊΠ°.
Π Π½Π°ΡΡΠΎΡΡΠ΅Π΅ Π²ΡΠ΅ΠΌΡ Ρ ΡΠ°Π·ΡΠ°Π±ΠΎΡΡΠΈΠΊΠΎΠ² Π΄ΠΈΠ½Π°ΠΌΠΈΡΠ΅ΡΠΊΠΎΠΉ Π·Π°ΡΠΈΡΡ ΠΈΠΌΠ΅ΡΡΡΡ ΡΠ΅Π·Π΅ΡΠ²Ρ (ΡΠ°Π½Π΄Π΅ΠΌΠ½ΡΠΉ ΠΈ ΠΊΠΎΠΌΠΏΡΡΡΠ΅ΡΠΈΠ·ΠΈΡΠΎΠ²Π°Π½Π½ΡΠΉ Π²Π°ΡΠΈΠ°Π½ΡΡ) ΠΏΠΎ Π·Π½Π°ΡΠΈΡΠ΅Π»ΡΠ½ΠΎΠΌΡ ΠΏΠΎΠ²ΡΡΠ΅Π½ΠΈΡ ΡΡΡΠ΅ΠΊΡΠΈΠ²Π½ΠΎΡΡΠΈ Π΅Ρ Π²ΠΎΠ·Π΄Π΅ΠΉΡΡΠ²ΠΈΡ Π½Π° Π±ΡΠΎΠ½Π΅Π±ΠΎΠΉΠ½ΡΠ΅ ΠΏΠΎΠ΄ΠΊΠ°Π»ΠΈΠ±Π΅ΡΠ½ΡΠ΅ ΡΠ½Π°ΡΡΠ΄Ρ ΠΈ ΡΠ°Π½Π΄Π΅ΠΌΠ½ΡΠ΅ ΠΊΡΠΌΡΠ»ΡΡΠΈΠ²Π½ΡΠ΅ Π±ΠΎΠ΅ΠΏΡΠΈΠΏΠ°ΡΡ. ΠΠ΄Π½ΠΎΠ²ΡΠ΅ΠΌΠ΅Π½Π½ΠΎ ΠΌΠΎΠΆΠ½ΠΎ ΠΎΡΠΌΠ΅ΡΠΈΡΡ, ΡΡΠΎ ΠΆΠΈΠ·Π½Π΅Π½Π½ΡΠΉ ΡΠΈΠΊΠ» ΡΠΎΠ·Π΄Π°Π½Π½ΡΡ
ΠΎΡΠ΅ΡΠ΅ΡΡΠ²Π΅Π½Π½ΡΡ
ΡΠ°Π½Π΄Π΅ΠΌΠ½ΡΡ
Π±ΠΎΠ΅ΠΏΡΠΈΠΏΠ°ΡΠΎΠ² Π·Π°Π²Π΅ΡΡΠΈΠ»ΡΡ, ΡΠ°ΠΊ ΠΊΠ°ΠΊ ΡΡΠΈ Π±ΠΎΠ΅ΠΏΡΠΈΠΏΠ°ΡΡ ΡΠΆΠ΅ Π½Π΅ ΡΠΏΠΎΡΠΎΠ±Π½Ρ ΠΏΡΠ΅ΠΎΠ΄ΠΎΠ»Π΅Π²Π°ΡΡ, Π½Π°ΠΏΡΠΈΠΌΠ΅Ρ, ΡΠ°Π½Π΄Π΅ΠΌΠ½ΡΡ Π΄ΠΈΠ½Π°ΠΌΠΈΡΠ΅ΡΠΊΡΡ Π·Π°ΡΠΈΡΡ. Π ΡΠΎ ΠΆΠ΅ Π²ΡΠ΅ΠΌΡ Π½Π°ΡΠΈ ΡΠ°Π·ΡΠ°Π±ΠΎΡΡΠΈΠΊΠΈ ΠΠ’Π‘ ΠΌΠ°Π»ΠΎ Π²Π½ΠΈΠΌΠ°Π½ΠΈΡ ΡΠ΄Π΅Π»ΡΡΡ ΡΠΎΠ·Π΄Π°Π½ΠΈΡ ΠΏΡΠΎΡΠΈΠ²ΠΎΡΠ°Π½ΠΊΠΎΠ²ΡΡ
Π±ΠΎΠ΅ΠΏΡΠΈΠΏΠ°ΡΠΎΠ², Π΄Π΅ΠΉΡΡΠ²ΡΡΡΠΈΡ
ΡΠΎ ΡΡΠΎΡΠΎΠ½Ρ ΠΊΡΡΡΠΈ. ΠΠ° ΡΡΠ±Π΅ΠΆΠΎΠΌ ΠΊ Π½Π°ΡΡΠΎΡΡΠ΅ΠΌΡ Π²ΡΠ΅ΠΌΠ΅Π½ΠΈ Π½Π° ΡΠ°Π·Π»ΠΈΡΠ½ΠΎΠΉ ΡΡΠ°Π΄ΠΈΠΈ ΡΠ°Π·ΡΠ°Π±ΠΎΡΠΊΠΈ Π½Π°Ρ
ΠΎΠ΄ΠΈΠ»ΠΎΡΡ ΠΎΠΊΠΎΠ»ΠΎ Π΄Π²Π°Π΄ΡΠ°ΡΠΈ ΠΎΠ±ΡΠ°Π·ΡΠΎΠ² ΡΡΠΈΡ
Π±ΠΎΠ΅ΠΏΡΠΈΠΏΠ°ΡΠΎΠ², ΠΊΠΎΡΠΎΡΡΠ΅ Π½Π°ΡΠ°Π»ΠΈ ΠΏΠΎΡΡΡΠΏΠ°ΡΡ Π½Π° Π²ΠΎΠΎΡΡΠΆΠ΅Π½ΠΈΠ΅. ΠΡΠ½ΠΎΠ²Π½ΡΠΌΠΈ Π½Π°ΠΏΡΠ°Π²Π»Π΅Π½ΠΈΡΠΌΠΈ Π² ΡΠ°Π·ΡΠ°Π±ΠΎΡΠΊΠ΅ Π²ΡΡΠΎΠΊΠΎΡΠΎΡΠ½ΡΡ
Π±ΠΎΠ΅ΠΏΡΠΈΠΏΠ°ΡΠΎΠ² ΡΠ²Π»ΡΡΡΡΡ:
β ΠΎΠ±Π΅ΡΠΏΠ΅ΡΠ΅Π½ΠΈΠ΅ ΠΌΠΈΠ½ΠΈΠΌΠ°Π»ΡΠ½ΡΡ
ΠΌΠ°ΡΡ ΠΈ Π³Π°Π±Π°ΡΠΈΡΠΎΠ² ΡΠ°ΠΌΠΎΠ½Π°Π²ΠΎΠ΄ΡΡΠΈΡ
ΡΡ ΠΈ ΡΠ°ΠΌΠΎΠΏΡΠΈΡΠ΅Π»ΠΈΠ²Π°ΡΡΠΈΡ
ΡΡ Π²ΡΡΠΎΠΊΠΎΡΠΎΡΠ½ΡΡ
Π±ΠΎΠ΅ΠΏΡΠΈΠΏΠ°ΡΠΎΠ²;
β ΠΏΠΎΠ²ΡΡΠ΅Π½ΠΈΠ΅ ΠΌΠΎΡΠΈ ΠΠ§ Π·Π° ΡΡΠ΅Ρ ΠΏΡΠΈΠΌΠ΅Π½Π΅Π½ΠΈΡ ΠΎΠ±Π»ΠΈΡΠΎΠ²ΠΎΠΊ ΠΈΠ· ΡΡΠΆΡΠ»ΡΡ
ΠΌΠ΅ΡΠ°Π»Π»ΠΎΠ²;
β ΡΠ°Π·ΡΠ°Π±ΠΎΡΠΊΠ° Π²ΡΠ΅ΠΏΠΎΠ³ΠΎΠ΄Π½ΡΡ
ΠΈ ΠΏΠΎΠΌΠ΅Ρ
ΠΎΠ·Π°ΡΠΈΡΡΠ½Π½ΡΡ
Π΄Π°ΡΡΠΈΠΊΠΎΠ² ΡΠ΅Π»ΠΈ ΠΈ Π³ΠΎΠ»ΠΎΠ²ΠΎΠΊ ΡΠ°ΠΌΠΎΠ½Π°Π²Π΅Π΄Π΅Π½ΠΈΡ, ΡΠ°Π±ΠΎΡΠ°ΡΡΠΈΡ
Π² ΠΠ- ΠΈ ΠΠ-Π΄ΠΈΠ°ΠΏΠ°Π·ΠΎΠ½Π°Ρ
Π΄Π»ΠΈΠ½ Π²ΠΎΠ»Π½, Π² ΡΠΎΠΌ ΡΠΈΡΠ»Π΅ ΠΊΠΎΠΌΠ±ΠΈΠ½ΠΈΡΠΎΠ²Π°Π½Π½ΡΡ
, Π΄Π»Ρ ΠΏΠΎΠ²ΡΡΠ΅Π½ΠΈΡ Π²Π΅ΡΠΎΡΡΠ½ΠΎΡΡΠΈ ΠΎΠ±Π½Π°ΡΡΠΆΠ΅Π½ΠΈΡ ΡΠ΅Π»ΠΈ, ΡΠΈΡΠΎΠΊΠΎΠ΅ Π²Π½Π΅Π΄ΡΠ΅Π½ΠΈΠ΅ ΡΠΎΠ²ΡΠ΅ΠΌΠ΅Π½Π½ΠΎΠΉ ΡΠ»Π΅ΠΌΠ΅Π½ΡΠ½ΠΎΠΉ Π±Π°Π·Ρ;
β ΡΠ°Π·ΡΠ°Π±ΠΎΡΠΊΠ° ΠΎΠΏΡΠΈΠΌΠ°Π»ΡΠ½ΡΡ
Π°Π»Π³ΠΎΡΠΈΡΠΌΠΎΠ² ΠΏΠΎΠΈΡΠΊΠ° ΡΠ΅Π»ΠΈ, ΠΈΡΠΊΠ»ΡΡΠ°ΡΡΠΈΡ
Π΅Π΅ ΠΏΡΠΎΠΏΡΡΠΊ ΠΈ Π»ΠΎΠΆΠ½ΠΎΠ΅ ΡΡΠ°Π±Π°ΡΡΠ²Π°Π½ΠΈΠ΅;
β ΡΠ°Π·ΡΠ°Π±ΠΎΡΠΊΠ° ΡΠΈΡΡΠ΅ΠΌΡ ΡΠ°ΡΠΈΠΎΠ½Π°Π»ΡΠ½ΠΎΠ³ΠΎ ΡΠ°ΡΡΠ΅ΠΈΠ²Π°Π½ΠΈΡ ΡΠ»Π΅ΠΌΠ΅Π½ΡΠΎΠ² Π΄Π»Ρ Π΄ΠΎΡΡΠΈΠΆΠ΅Π½ΠΈΡ ΠΌΠ°ΠΊΡΠΈΠΌΠ°Π»ΡΠ½ΠΎΠΉ ΡΡΡΠ΅ΠΊΡΠΈΠ²Π½ΠΎΡΡΠΈ ΠΏΠΎΡΠ°ΠΆΠ΅Π½ΠΈΡ Π±ΡΠΎΠ½Π΅ΡΠ΅Π»Π΅ΠΉ;
β ΡΠΈΡΠΎΠΊΠ°Ρ Π±Π»ΠΎΡΠ½ΠΎ-ΠΌΠΎΠ΄ΡΠ»ΡΠ½Π°Ρ ΡΠ½ΠΈΡΠΈΠΊΠ°ΡΠΈΡ, ΠΏΠΎΠ·Π²ΠΎΠ»ΡΡΡΠ°Ρ Π΄ΠΎΠ±ΠΈΡΡΡΡ ΡΠ½ΠΈΠ²Π΅ΡΡΠ°Π»ΠΈΠ·Π°ΡΠΈΠΈ ΠΏΡΠΈΠΌΠ΅Π½Π΅Π½ΠΈΡ Π²ΡΡΠΎΠΊΠΎΡΠΎΡΠ½ΡΡ
Π±ΠΎΠ΅ΠΏΡΠΈΠΏΠ°ΡΠΎΠ² Π½Π° ΡΠ°Π·Π»ΠΈΡΠ½ΡΡ
Π½ΠΎΡΠΈΡΠ΅Π»ΡΡ
.
Π Π°ΡΡΠΌΠΎΡΡΠ΅Π½Π½ΡΠ΅ ΡΡΠ°Π΄ΠΈΡΠΈΠΎΠ½Π½ΡΠ΅ ΠΈ Π½Π΅ΡΡΠ°Π΄ΠΈΡΠΈΠΎΠ½Π½ΡΠ΅ ΡΠΏΠΎΡΠΎΠ±Ρ ΠΏΠΎΡΠ°ΠΆΠ΅Π½ΠΈΡ ΡΠ°Π½ΠΊΠ° Ρ ΠΠ ΡΠ²ΠΈΠ΄Π΅ΡΠ΅Π»ΡΡΡΠ²ΡΡΡ ΠΎ Π½Π΅ΠΎΠ±Ρ ΠΎΠ΄ΠΈΠΌΠΎΡΡΠΈ Π²ΡΡΠ°Π±ΠΎΡΠΊΠΈ Π½Π° ΠΎΡΠ½ΠΎΠ²Π΅ ΠΈΡΡΠ»Π΅Π΄ΠΎΠ²Π°Π½ΠΈΡ Ρ Π°ΡΠ°ΠΊΡΠ΅ΡΠΈΡΡΠΈΠΊ ΡΡΠ·Π²ΠΈΠΌΠΎΡΡΠΈ Π±ΡΠΎΠ½Π΅ΡΠ΅Π»Π΅ΠΉ ΠΊΠΎΠ½ΡΠ΅ΠΏΡΠΈΠΈ ΡΠΎΠ·Π΄Π°Π½ΠΈΡ ΡΡΠ΄Π° Π²ΡΡΠΎΠΊΠΎΡΡΡΠ΅ΠΊΡΠΈΠ²Π½ΡΡ ΠΠ’Π‘, ΠΎΡΠ²Π΅ΡΠ°ΡΡΠΈΡ Π½ΠΎΠ²ΡΠΌ ΡΠΏΠΎΡΠΎΠ±Π°ΠΌ Π²Π΅Π΄Π΅Π½ΠΈΡ Π±ΠΎΠ΅Π²ΡΡ Π΄Π΅ΠΉΡΡΠ²ΠΈΠΉ Π½Π° ΡΠ°Π·Π»ΠΈΡΠ½ΡΡ Π’ΠΠ.
ΠΠΠ’ΠΠ ΠΠ’Π£Π Π
1. ΠΡΠ½ΠΎΠ²Π½ΡΠ΅ Π±ΠΎΠ΅Π²ΡΠ΅ ΡΠ°Π½ΠΊΠΈ. ΠΠΎΠ΄ ΡΠ΅Π΄Π°ΠΊΡΠΈΠ΅ΠΉ Π‘Π°ΡΠΎΠ½ΠΎΠ²Π° Π.Π‘. ΠΈ ΠΡΡΠ°Ρ
ΠΎΠ²ΡΠΊΠΎΠ³ΠΎ Π.Π. β Π.; ΠΡΡΠ΅Π½Π°Π»-ΠΏΡΠ΅ΡΡ, 1993.
2. Π ΠΎΡΡΠΈΠΉΡΠΊΠΎΠ΅ ΡΠ°ΠΊΠ΅ΡΠ½ΠΎΠ΅ ΠΎΡΡΠΆΠΈΠ΅ 1943β1993 Π³Π³. Π‘ΠΏΡΠ°Π²ΠΎΡΠ½ΠΈΠΊ. ΠΠΎΠ΄ ΡΠ΅Π΄Π°ΠΊΡΠΈΠ΅ΠΉ ΠΠ°ΡΠΏΠ΅Π½ΠΊΠΎ Π.Π. β Π‘ΠΠ±; ΠΠΠΠ Ltd, 1993.
3 .Π.ΠΠ΅Π«. Β«Initiation phenomena with shaped charge jetsΒ»; 9 Detonation (International) Symposium, 1989.
4. M.Held. Β«ArmourΒ»; 14 International Symposium on Ballistics, 1993.
5. W.Schwartz. Β«Explosive reactive armour β How it works and to defeat itΒ»; Military Technology, Vol.15, β8, 1991.
6. ΠΠ°ΡΠ΅Π½Ρ Π€ΡΠ°Π½ΡΠΈΡ, β2569834, ΠΊΠ». F 42 Π, 13/00(1/02), Π·Π°ΡΠ²Π». 05.09.84, ΠΎΠΏΡΠ±Π». 07.03.86.
7. MMayseless, Y.Erlich, Y.Falcovitz, G.Rosenberg. Β«ΠΠ·Π°ΠΈΠΌΠΎΠ΄Π΅ΠΉΡΡΠ²ΠΈΠ΅ ΠΊΡΠΌΡΠ»ΡΡΠΈΠ²Π½ΠΎΠΉ ΡΡΡΡΠΈ Ρ Π΄Π²ΠΈΠΆΡΡΠΈΠΌΠΈΡΡ ΠΏΠ»Π°ΡΡΠΈΠ½Π°ΠΌΠΈΒ», Proceedinga of the 8th International Symposium on Ballistics, Orlando, Florida, October 23β25, 1984.
topwar.ru
ΠΠΊΡΠΈΠ²Π½Π°Ρ ΡΠ°Π½ΠΊΠΎΠ²Π°Ρ Π±ΡΠΎΠ½Ρ | ΠΡΠΌΠ΅ΠΉΡΠΊΠΈΠΉ Π²Π΅ΡΡΠ½ΠΈΠΊ

Π‘ ΠΌΠΎΠΌΠ΅Π½ΡΠ° ΠΏΠΎΡΠ²Π»Π΅Π½ΠΈΡ Π±ΡΠΎΠ½Π΅ΡΠ΅Ρ Π½ΠΈΠΊΠΈ ΠΈΠ·Π²Π΅ΡΠ½ΠΎΠ΅ ΡΡΠ°ΠΆΠ΅Π½ΠΈΠ΅ ΠΌΠ΅ΠΆΠ΄Ρ ΡΠ½Π°ΡΡΠ΄ΠΎΠΌ ΠΈ Π±ΡΠΎΠ½Π΅ΠΉ ΠΎΠ±ΠΎΡΡΡΠΈΠ»ΠΎΡΡ. ΠΠ΄Π½ΠΈ ΠΊΠΎΠ½ΡΡΡΡΠΊΡΠΎΡΡ ΡΡΡΠ΅ΠΌΠΈΠ»ΠΈΡΡ ΡΠ²Π΅Π»ΠΈΡΠΈΡΡ ΠΏΡΠΎΠ±ΠΈΠ²Π½ΡΡ ΡΠΏΠΎΡΠΎΠ±Π½ΠΎΡΡΡ ΡΠ½Π°ΡΡΠ΄ΠΎΠ², Π΄ΡΡΠ³ΠΈΠ΅ ΠΏΠΎΠ²ΡΡΠ°Π»ΠΈ ΡΡΠΎΠΉΠΊΠΎΡΡΡ Π±ΡΠΎΠ½ΠΈ. ΠΠΎΡΡΠ±Π° ΠΏΡΠΎΠ΄ΠΎΠ»ΠΆΠ°Π΅ΡΡΡ ΠΈ ΡΠ΅ΠΉΡΠ°Ρ. Π ΡΠΎΠΌ, ΠΊΠ°ΠΊ ΡΡΡΡΠΎΠ΅Π½Π° ΡΠΎΠ²ΡΠ΅ΠΌΠ΅Π½Π½Π°Ρ ΡΠ°Π½ΠΊΠΎΠ²Π°Ρ Π±ΡΠΎΠ½Ρ, ΡΠ°ΡΡΠΊΠ°Π·Π°Π» ΠΏΡΠΎΡΠ΅ΡΡΠΎΡ ΠΠΠ’Π£ ΠΈΠΌ. Π.Π.ΠΠ°ΡΠΌΠ°Π½Π°, Π΄ΠΈΡΠ΅ΠΊΡΠΎΡ ΠΏΠΎ Π½Π°ΡΠΊΠ΅ ΠΠΠ ΡΡΠ°Π»ΠΈ ΠΠ°Π»Π΅ΡΠΈΠΉ ΠΡΠΈΠ³ΠΎΡΡΠ½.
β’ ΠΠΎΠ½Π°ΡΠ°Π»Ρ Π°ΡΠ°ΠΊΠ° Π½Π° Π±ΡΠΎΠ½Ρ Π²Π΅Π»Π°ΡΡ Π² Π»ΠΎΠ±: ΠΏΠΎΠΊΠ° ΠΎΡΠ½ΠΎΠ²Π½ΡΠΌ Π²ΠΈΠ΄ΠΎΠΌ Π²ΠΎΠ·Π΄Π΅ΠΉΡΡΠ²ΠΈΡ Π±ΡΠ» Π±ΡΠΎΠ½Π΅Π±ΠΎΠΉΠ½ΡΠΉ ΡΠ½Π°ΡΡΠ΄ ΠΊΠΈΠ½Π΅ΡΠΈΡΠ΅ΡΠΊΠΎΠ³ΠΎ Π΄Π΅ΠΉΡΡΠ²ΠΈΡ, Π΄ΡΡΠ»Ρ ΠΊΠΎΠ½ΡΡΡΡΠΊΡΠΎΡΠΎΠ² ΡΠ²ΠΎΠ΄ΠΈΠ»Π°ΡΡ ΠΊ ΡΠ²Π΅Π»ΠΈΡΠ΅Π½ΠΈΡ ΠΊΠ°Π»ΠΈΠ±ΡΠ° ΠΏΡΡΠΊΠΈ, ΡΠΎΠ»ΡΠΈΠ½Ρ ΠΈ ΡΠ³Π»ΠΎΠ² Π½Π°ΠΊΠ»ΠΎΠ½Π° Π±ΡΠΎΠ½ΠΈ. ΠΡΠ° ΡΠ²ΠΎΠ»ΡΡΠΈΡ Ρ ΠΎΡΠΎΡΠΎ Π²ΠΈΠ΄Π½Π° Π½Π° ΠΏΡΠΈΠΌΠ΅ΡΠ΅ ΡΠ°Π·Π²ΠΈΡΠΈΡ ΡΠ°Π½ΠΊΠΎΠ²ΡΡ Π²ΠΎΠΎΡΡΠΆΠ΅Π½ΠΈΠΉ ΠΈ Π±ΡΠΎΠ½ΠΈ Π²ΠΎ ΠΡΠΎΡΠΎΠΉ ΠΌΠΈΡΠΎΠ²ΠΎΠΉ Π²ΠΎΠΉΠ½Π΅. ΠΠΎΠ½ΡΡΡΡΠΊΡΠΈΠ²Π½ΡΠ΅ ΡΠ΅ΡΠ΅Π½ΠΈΡ ΡΠΎΠ³ΠΎ Π²ΡΠ΅ΠΌΠ΅Π½ΠΈ Π΄ΠΎΡΡΠ°ΡΠΎΡΠ½ΠΎ ΠΎΡΠ΅Π²ΠΈΠ΄Π½Ρ: ΡΠ΄Π΅Π»Π°Π΅ΠΌ ΠΏΡΠ΅Π³ΡΠ°Π΄Ρ ΡΠΎΠ»ΡΠ΅; Π΅ΡΠ»ΠΈ Π΅Π΅ Π½Π°ΠΊΠ»ΠΎΠ½ΠΈΡΡ β ΡΠ½Π°ΡΡΠ΄Ρ ΠΏΡΠΈΠ΄Π΅ΡΡΡ ΠΏΡΠΎΠΉΡΠΈ Π±ΠΎΠ»ΡΡΠΈΠΉ ΠΏΡΡΡ Π² ΡΠΎΠ»ΡΠ΅ ΠΌΠ΅ΡΠ°Π»Π»Π°, Π΄Π° ΠΈ Π²Π΅ΡΠΎΡΡΠ½ΠΎΡΡΡ ΡΠΈΠΊΠΎΡΠ΅ΡΠ° ΡΠ²Π΅Π»ΠΈΡΠΈΡΡΡ. ΠΠ°ΠΆΠ΅ ΠΏΠΎΡΠ»Π΅ ΠΏΠΎΡΠ²Π»Π΅Π½ΠΈΡ Π² Π±ΠΎΠ΅ΠΊΠΎΠΌΠΏΠ»Π΅ΠΊΡΠ°Ρ ΡΠ°Π½ΠΊΠΎΠ²ΡΡ ΠΈ ΠΏΡΠΎΡΠΈΠ²ΠΎΡΠ°Π½ΠΊΠΎΠ²ΡΡ ΠΏΡΡΠ΅ΠΊ Π±ΡΠΎΠ½Π΅Π±ΠΎΠΉΠ½ΡΡ ΡΠ½Π°ΡΡΠ΄ΠΎΠ² Ρ ΠΆΠ΅ΡΡΠΊΠΈΠΌ Π½Π΅ΡΠ°Π·ΡΡΡΠ°ΡΡΠΈΠΌΡΡ ΡΠ΅ΡΠ΄Π΅ΡΠ½ΠΈΠΊΠΎΠΌ ΠΌΠ°Π»ΠΎ ΡΡΠΎ ΠΈΠ·ΠΌΠ΅Π½ΠΈΠ»ΠΎΡΡ.



ΠΠ»Π΅ΠΌΠ΅Π½ΡΡ Π΄ΠΈΠ½Π°ΠΌΠΈΡΠ΅ΡΠΊΠΎΠΉ Π·Π°ΡΠΈΡΡ (ΠΠΠ)
ΠΡΠ΅Π΄ΡΡΠ°Π²Π»ΡΡΡ ΡΠΎΠ±ΠΎΠΉ Β«ΡΡΠ½Π΄Π²ΠΈΡΠΈΒ» ΠΈΠ· Π΄Π²ΡΡ
ΠΌΠ΅ΡΠ°Π»Π»ΠΈΡΠ΅ΡΠΊΠΈΡ
ΠΏΠ»Π°ΡΡΠΈΠ½ ΠΈ Π²Π·ΡΡΠ²ΡΠ°ΡΠΎΠ³ΠΎ Π²Π΅ΡΠ΅ΡΡΠ²Π°. ΠΠΠ ΠΏΠΎΠΌΠ΅ΡΠ΅Π½Ρ Π² ΠΊΠΎΠ½ΡΠ΅ΠΉΠ½Π΅ΡΡ, ΠΊΡΡΡΠΊΠΈ ΠΊΠΎΡΠΎΡΡΡ
Π·Π°ΡΠΈΡΠ°ΡΡ ΠΈΡ
ΠΎΡ Π²Π½Π΅ΡΠ½ΠΈΡ
Π²ΠΎΠ·Π΄Π΅ΠΉΡΡΠ²ΠΈΠΉ ΠΈ ΠΎΠ΄Π½ΠΎΠ²ΡΠ΅ΠΌΠ΅Π½Π½ΠΎ ΠΏΡΠ΅Π΄ΡΡΠ°Π²Π»ΡΡΡ ΡΠΎΠ±ΠΎΠΉ ΠΌΠ΅ΡΠ°Π΅ΠΌΡΠ΅ ΡΠ»Π΅ΠΌΠ΅Π½ΡΡ
Π‘ΠΌΠ΅ΡΡΠ΅Π»ΡΠ½ΡΠΉ ΠΏΠ»Π΅Π²ΠΎΠΊ
β’ ΠΠ΄Π½Π°ΠΊΠΎ ΡΠΆΠ΅ Π² Π½Π°ΡΠ°Π»Π΅ ΠΡΠΎΡΠΎΠΉ ΠΌΠΈΡΠΎΠ²ΠΎΠΉ Π² ΠΏΠΎΡΠ°ΠΆΠ°ΡΡΠΈΡ ΡΠ²ΠΎΠΉΡΡΠ²Π°Ρ Π±ΠΎΠ΅ΠΏΡΠΈΠΏΠ°ΡΠΎΠ² ΠΏΡΠΎΠΈΠ·ΠΎΡΠ»Π° ΡΠ΅Π²ΠΎΠ»ΡΡΠΈΡ: ΠΏΠΎΡΠ²ΠΈΠ»ΠΈΡΡ ΠΊΡΠΌΡΠ»ΡΡΠΈΠ²Π½ΡΠ΅ ΡΠ½Π°ΡΡΠ΄Ρ. Π 1941 Π³ΠΎΠ΄Ρ Hohlladungsgeschoss (Β«ΡΠ½Π°ΡΡΠ΄ Ρ Π²ΡΠ΅ΠΌΠΊΠΎΠΉ Π² Π·Π°ΡΡΠ΄Π΅Β») Π½Π°ΡΠ°Π»ΠΈ ΠΏΡΠΈΠΌΠ΅Π½ΡΡΡ Π½Π΅ΠΌΠ΅ΡΠΊΠΈΠ΅ Π°ΡΡΠΈΠ»Π»Π΅ΡΠΈΡΡΡ, Π° Π² 1942-ΠΌ ΠΈ Π² Π‘Π‘Π‘Π Π±ΡΠ» ΠΏΡΠΈΠ½ΡΡ Π½Π° Π²ΠΎΠΎΡΡΠΆΠ΅Π½ΠΈΠ΅ 76-ΠΌΠΌ ΡΠ½Π°ΡΡΠ΄ ΠΠ-350Π, ΡΠ°Π·ΡΠ°Π±ΠΎΡΠ°Π½Π½ΡΠΉ ΠΏΠΎΡΠ»Π΅ ΠΈΠ·ΡΡΠ΅Π½ΠΈΡ ΡΡΠΎΡΠ΅ΠΉΠ½ΡΡ ΠΎΠ±ΡΠ°Π·ΡΠΎΠ². Π’Π°ΠΊ Π±ΡΠ»ΠΈ ΡΡΡΡΠΎΠ΅Π½Ρ ΠΈ Π·Π½Π°ΠΌΠ΅Π½ΠΈΡΡΠ΅ ΡΠ°ΡΡΡ-ΠΏΠ°ΡΡΠΎΠ½Ρ. ΠΠΎΠ·Π½ΠΈΠΊΠ»Π° ΠΏΡΠΎΠ±Π»Π΅ΠΌΠ°, Π½Π΅ ΡΠ°Π·ΡΠ΅ΡΠΈΠΌΠ°Ρ ΡΡΠ°Π΄ΠΈΡΠΈΠΎΠ½Π½ΡΠΌΠΈ ΡΠΏΠΎΡΠΎΠ±Π°ΠΌΠΈ ΠΈΠ·-Π·Π° Π½Π΅ΠΏΡΠΈΠ΅ΠΌΠ»Π΅ΠΌΠΎΠ³ΠΎ ΡΠ²Π΅Π»ΠΈΡΠ΅Π½ΠΈΡ ΠΌΠ°ΡΡΡ ΡΠ°Π½ΠΊΠ°.
β’ Π Π³ΠΎΠ»ΠΎΠ²Π½ΠΎΠΉ ΡΠ°ΡΡΠΈ ΠΊΡΠΌΡΠ»ΡΡΠΈΠ²Π½ΠΎΠ³ΠΎ Π±ΠΎΠ΅ΠΏΡΠΈΠΏΠ°ΡΠ° ΡΠ΄Π΅Π»Π°Π½Π° ΠΊΠΎΠ½ΠΈΡΠ΅ΡΠΊΠ°Ρ Π²ΡΠ΅ΠΌΠΊΠ° Π² Π²ΠΈΠ΄Π΅ ΠΎΠ±Π»ΠΈΡΠΎΠ²Π°Π½Π½ΠΎΠΉ ΡΠΎΠ½ΠΊΠΈΠΌ ΡΠ»ΠΎΠ΅ΠΌ ΠΌΠ΅ΡΠ°Π»Π»Π° Π²ΠΎΡΠΎΠ½ΠΊΠΈ (ΡΠ°ΡΡΡΡΠ±ΠΎΠΌ Π²ΠΏΠ΅ΡΠ΅Π΄). ΠΠ΅ΡΠΎΠ½Π°ΡΠΈΡ Π²Π·ΡΡΠ²ΡΠ°ΡΠΎΠ³ΠΎ Π²Π΅ΡΠ΅ΡΡΠ²Π° Π½Π°ΡΠΈΠ½Π°Π΅ΡΡΡ ΡΠΎ ΡΡΠΎΡΠΎΠ½Ρ, Π±Π»ΠΈΠΆΠ°ΠΉΡΠ΅ΠΉ ΠΊ Π²Π΅ΡΡΠΈΠ½Π΅ Π²ΠΎΡΠΎΠ½ΠΊΠΈ. ΠΠ΅ΡΠΎΠ½Π°ΡΠΈΠΎΠ½Π½Π°Ρ Π²ΠΎΠ»Π½Π° Β«ΡΡ Π»ΠΎΠΏΡΠ²Π°Π΅ΡΒ» Π²ΠΎΡΠΎΠ½ΠΊΡ ΠΊ ΠΎΡΠΈ ΡΠ½Π°ΡΡΠ΄Π°, Π° ΠΏΠΎΡΠΊΠΎΠ»ΡΠΊΡ Π΄Π°Π²Π»Π΅Π½ΠΈΠ΅ ΠΏΡΠΎΠ΄ΡΠΊΡΠΎΠ² Π²Π·ΡΡΠ²Π° (ΠΏΠΎΡΡΠΈ ΠΏΠΎΠ»ΠΌΠΈΠ»Π»ΠΈΠΎΠ½Π° Π°ΡΠΌΠΎΡΡΠ΅Ρ) ΠΏΡΠ΅Π²ΡΡΠ°Π΅Ρ ΠΏΡΠ΅Π΄Π΅Π» ΠΏΠ»Π°ΡΡΠΈΡΠ΅ΡΠΊΠΎΠΉ Π΄Π΅ΡΠΎΡΠΌΠ°ΡΠΈΠΈ ΠΎΠ±ΠΊΠ»Π°Π΄ΠΊΠΈ, ΠΏΠΎΡΠ»Π΅Π΄Π½ΡΡ Π½Π°ΡΠΈΠ½Π°Π΅Ρ Π²Π΅ΡΡΠΈ ΡΠ΅Π±Ρ ΠΊΠ°ΠΊ ΠΊΠ²Π°Π·ΠΈΠΆΠΈΠ΄ΠΊΠΎΡΡΡ. Π’Π°ΠΊΠΎΠΉ ΠΏΡΠΎΡΠ΅ΡΡ Π½Π΅ ΠΈΠΌΠ΅Π΅Ρ Π½ΠΈΡΠ΅Π³ΠΎ ΠΎΠ±ΡΠ΅Π³ΠΎ Ρ ΠΏΠ»Π°Π²Π»Π΅Π½ΠΈΠ΅ΠΌ, ΡΡΠΎ ΠΈΠΌΠ΅Π½Π½ΠΎ Β«Ρ ΠΎΠ»ΠΎΠ΄Π½ΠΎΠ΅Β» ΡΠ΅ΡΠ΅Π½ΠΈΠ΅ ΠΌΠ°ΡΠ΅ΡΠΈΠ°Π»Π°.
β’ ΠΠ· ΡΡ Π»ΠΎΠΏΡΠ²Π°ΡΡΠ΅ΠΉΡΡ Π²ΠΎΡΠΎΠ½ΠΊΠΈ Π²ΡΠ΄Π°Π²Π»ΠΈΠ²Π°Π΅ΡΡΡ ΡΠΎΠ½ΠΊΠ°Ρ (ΡΡΠ°Π²Π½ΠΈΠΌΠ°Ρ Ρ ΡΠΎΠ»ΡΠΈΠ½ΠΎΠΉ ΠΎΠ±ΠΎΠ»ΠΎΡΠΊΠΈ) ΠΊΡΠΌΡΠ»ΡΡΠΈΠ²Π½Π°Ρ ΡΡΡΡΡ, ΠΊΠΎΡΠΎΡΠ°Ρ ΡΠ°Π·Π³ΠΎΠ½ΡΠ΅ΡΡΡ Π΄ΠΎ ΡΠΊΠΎΡΠΎΡΡΠ΅ΠΉ ΠΏΠΎΡΡΠ΄ΠΊΠ° ΡΠΊΠΎΡΠΎΡΡΠΈ Π΄Π΅ΡΠΎΠ½Π°ΡΠΈΠΈ ΠΠ (Π° ΠΈΠ½ΠΎΠ³Π΄Π° ΠΈ Π²ΡΡΠ΅), ΡΠΎ Π΅ΡΡΡ ΠΎΠΊΠΎΠ»ΠΎ 10 ΠΊΠΌ/Ρ ΠΈ Π±ΠΎΠ»Π΅Π΅. Π‘ΠΊΠΎΡΠΎΡΡΡ ΠΊΡΠΌΡΠ»ΡΡΠΈΠ²Π½ΠΎΠΉ ΡΡΡΡΠΈ ΡΡΡΠ΅ΡΡΠ²Π΅Π½Π½ΠΎ ΠΏΡΠ΅Π²ΡΡΠ°Π΅Ρ ΡΠΊΠΎΡΠΎΡΡΡ ΡΠ°ΡΠΏΡΠΎΡΡΡΠ°Π½Π΅Π½ΠΈΡ Π·Π²ΡΠΊΠ° Π² ΠΌΠ°ΡΠ΅ΡΠΈΠ°Π»Π΅ Π±ΡΠΎΠ½ΠΈ (ΠΏΠΎΡΡΠ΄ΠΊΠ° 4 ΠΊΠΌ/Ρ). ΠΠΎΡΡΠΎΠΌΡ Π²Π·Π°ΠΈΠΌΠΎΠ΄Π΅ΠΉΡΡΠ²ΠΈΠ΅ ΡΡΡΡΠΈ ΠΈ Π±ΡΠΎΠ½ΠΈ ΠΏΡΠΎΠΈΡΡ ΠΎΠ΄ΠΈΡ ΠΏΠΎ Π·Π°ΠΊΠΎΠ½Π°ΠΌ Π³ΠΈΠ΄ΡΠΎΠ΄ΠΈΠ½Π°ΠΌΠΈΠΊΠΈ, ΡΠΎ Π΅ΡΡΡ ΠΎΠ½ΠΈ Π²Π΅Π΄ΡΡ ΡΠ΅Π±Ρ ΠΊΠ°ΠΊ ΠΆΠΈΠ΄ΠΊΠΎΡΡΠΈ: ΡΡΡΡΡ Π²ΠΎΠ²ΡΠ΅ Π½Π΅ ΠΏΡΠΎΠΆΠΈΠ³Π°Π΅Ρ Π±ΡΠΎΠ½Ρ (ΡΡΠΎ ΡΠΈΡΠΎΠΊΠΎ ΡΠ°ΡΠΏΡΠΎΡΡΡΠ°Π½Π΅Π½Π½ΠΎΠ΅ Π·Π°Π±Π»ΡΠΆΠ΄Π΅Π½ΠΈΠ΅), Π° ΠΏΡΠΎΠ½ΠΈΠΊΠ°Π΅Ρ Π² Π½Π΅Π΅, ΠΏΠΎΠ΄ΠΎΠ±Π½ΠΎ ΡΠΎΠΌΡ, ΠΊΠ°ΠΊ ΡΡΡΡΡ Π²ΠΎΠ΄Ρ ΠΏΠΎΠ΄ Π΄Π°Π²Π»Π΅Π½ΠΈΠ΅ΠΌ ΡΠ°Π·ΠΌΡΠ²Π°Π΅Ρ ΠΏΠ΅ΡΠΎΠΊ.
ΠΡΠΈΠ½ΡΠΈΠΏΡ ΠΏΠΎΠ»ΡΠ°ΠΊΡΠΈΠ²Π½ΠΎΠΉ Π·Π°ΡΠΈΡΡ Ρ ΠΈΡΠΏΠΎΠ»ΡΠ·ΠΎΠ²Π°Π½ΠΈΠ΅ΠΌ ΡΠ½Π΅ΡΠ³ΠΈΠΈ ΡΠ°ΠΌΠΎΠΉ ΡΡΡΡΠΈ.
Π‘ΠΏΡΠ°Π²Π°: ΡΡΠ΅ΠΈΡΡΠ°Ρ Π±ΡΠΎΠ½Ρ, ΡΡΠ΅ΠΉΠΊΠΈ ΠΊΠΎΡΠΎΡΠΎΠΉ Π·Π°ΠΏΠΎΠ»Π½Π΅Π½Ρ ΠΊΠ²Π°Π·ΠΈΠΆΠΈΠ΄ΠΊΠΈΠΌ Π²Π΅ΡΠ΅ΡΡΠ²ΠΎΠΌ (ΠΏΠΎΠ»ΠΈΡΡΠ΅ΡΠ°Π½, ΠΏΠΎΠ»ΠΈΡΡΠΈΠ»Π΅Π½). Π£Π΄Π°ΡΠ½Π°Ρ Π²ΠΎΠ»Π½Π° ΠΊΡΠΌΡΠ»ΡΡΠΈΠ²Π½ΠΎΠΉ ΡΡΡΡΠΈ ΠΎΡΡΠ°ΠΆΠ°Π΅ΡΡΡ ΠΎΡ ΡΡΠ΅Π½ΠΎΠΊ ΠΈ ΡΡ
Π»ΠΎΠΏΡΠ²Π°Π΅Ρ ΠΊΠ°Π²Π΅ΡΠ½Ρ, Π²ΡΠ·ΡΠ²Π°Ρ ΡΠ°Π·ΡΡΡΠ΅Π½ΠΈΠ΅ ΡΡΡΡΠΈ. Π‘Π»Π΅Π²Π°: Π±ΡΠΎΠ½Ρ Ρ ΠΎΡΡΠ°ΠΆΠ°ΡΡΠΈΠΌΠΈ Π»ΠΈΡΡΠ°ΠΌΠΈ. ΠΠ° ΡΡΡΡ Π²ΡΠΏΡΡΠΈΠ²Π°Π½ΠΈΡ ΡΡΠ»ΡΠ½ΠΎΠΉ ΠΏΠΎΠ²Π΅ΡΡ
Π½ΠΎΡΡΠΈ ΠΈ ΠΏΡΠΎΠΊΠ»Π°Π΄ΠΊΠΈ ΡΠΎΠ½ΠΊΠ°Ρ ΠΏΠ»Π°ΡΡΠΈΠ½Π° ΡΠΌΠ΅ΡΠ°Π΅ΡΡΡ, Π½Π°Π±Π΅Π³Π°Ρ Π½Π° ΡΡΡΡΡ ΠΈ ΡΠ°Π·ΡΡΡΠ°Ρ Π΅Π΅. Π’Π°ΠΊΠΈΠ΅ ΡΠΏΠΎΡΠΎΠ±Ρ ΡΠ²Π΅Π»ΠΈΡΠΈΠ²Π°ΡΡ ΠΏΡΠΎΡΠΈΠ²ΠΎΠΊΡΠΌΡΠ»ΡΡΠΈΠ²Π½ΡΡ ΡΡΠΎΠΉΠΊΠΎΡΡΡ Π½Π° 30β40.
Π‘Π»ΠΎΡΠ½Π°Ρ Π·Π°ΡΠΈΡΠ°
β’ ΠΠ΅ΡΠ²ΠΎΠΉ Π·Π°ΡΠΈΡΠΎΠΉ ΠΎΡ ΠΊΡΠΌΡΠ»ΡΡΠΈΠ²Π½ΡΡ Π±ΠΎΠ΅ΠΏΡΠΈΠΏΠ°ΡΠΎΠ² ΡΡΠ°Π»ΠΎ ΠΏΡΠΈΠΌΠ΅Π½Π΅Π½ΠΈΠ΅ ΡΠΊΡΠ°Π½ΠΎΠ² (Π΄Π²ΡΡ ΠΏΡΠ΅Π³ΡΠ°Π΄Π½ΠΎΠΉ Π±ΡΠΎΠ½ΠΈ). ΠΡΠΌΡΠ»ΡΡΠΈΠ²Π½Π°Ρ ΡΡΡΡΡ ΡΠΎΡΠΌΠΈΡΡΠ΅ΡΡΡ Π½Π΅ ΠΌΠ³Π½ΠΎΠ²Π΅Π½Π½ΠΎ, Π΄Π»Ρ Π΅Π΅ ΠΌΠ°ΠΊΡΠΈΠΌΠ°Π»ΡΠ½ΠΎΠΉ ΡΡΡΠ΅ΠΊΡΠΈΠ²Π½ΠΎΡΡΠΈ Π²Π°ΠΆΠ½ΠΎ Π²Π·ΠΎΡΠ²Π°ΡΡ Π·Π°ΡΡΠ΄ Π½Π° ΠΎΠΏΡΠΈΠΌΠ°Π»ΡΠ½ΠΎΠΌ ΡΠ°ΡΡΡΠΎΡΠ½ΠΈΠΈ ΠΎΡ Π±ΡΠΎΠ½ΠΈ (ΡΠΎΠΊΡΡΠ½ΠΎΠ΅ ΡΠ°ΡΡΡΠΎΡΠ½ΠΈΠ΅). ΠΡΠ»ΠΈ ΠΏΠ΅ΡΠ΅Π΄ ΠΎΡΠ½ΠΎΠ²Π½ΠΎΠΉ Π±ΡΠΎΠ½Π΅ΠΉ ΠΏΠΎΠΌΠ΅ΡΡΠΈΡΡ ΡΠΊΡΠ°Π½ ΠΈΠ· Π΄ΠΎΠΏΠΎΠ»Π½ΠΈΡΠ΅Π»ΡΠ½ΡΡ Π»ΠΈΡΡΠΎΠ² ΠΌΠ΅ΡΠ°Π»Π»Π°, ΡΠΎ ΠΏΠΎΠ΄ΡΡΠ² ΠΏΡΠΎΠΈΠ·ΠΎΠΉΠ΄Π΅Ρ ΡΠ°Π½ΡΡΠ΅ ΠΈ ΡΡΡΠ΅ΠΊΡΠΈΠ²Π½ΠΎΡΡΡ Π²ΠΎΠ·Π΄Π΅ΠΉΡΡΠ²ΠΈΡ ΡΠ½ΠΈΠ·ΠΈΡΡΡ.
β’ ΠΠΎ Π²ΡΠ΅ΠΌΡ ΠΡΠΎΡΠΎΠΉ ΠΌΠΈΡΠΎΠ²ΠΎΠΉ Π΄Π»Ρ Π·Π°ΡΠΈΡΡ ΠΎΡ ΡΠ°ΡΡΡΠΏΠ°ΡΡΠΎΠ½ΠΎΠ² ΡΠ°Π½ΠΊΠΈΡΡΡ ΠΊΡΠ΅ΠΏΠΈΠ»ΠΈ Π½Π° ΡΠ²ΠΎΠΈ ΠΌΠ°ΡΠΈΠ½Ρ ΡΠΎΠ½ΠΊΠΈΠ΅ ΠΌΠ΅ΡΠ°Π»Π»ΠΈΡΠ΅ΡΠΊΠΈΠ΅ Π»ΠΈΡΡΡ ΠΈ ΡΠ΅ΡΡΠ°ΡΡΠ΅ ΡΠΊΡΠ°Π½Ρ (ΡΠ°ΡΠΏΡΠΎΡΡΡΠ°Π½Π΅Π½Π° Π±Π°ΠΉΠΊΠ° ΠΎΠ± ΠΈΡΠΏΠΎΠ»ΡΠ·ΠΎΠ²Π°Π½ΠΈΠΈ Π² ΡΡΠΎΠΌ ΠΊΠ°ΡΠ΅ΡΡΠ²Π΅ ΠΏΠ°Π½ΡΠΈΡΠ½ΡΡ ΠΊΡΠΎΠ²Π°ΡΠ΅ΠΉ, Ρ ΠΎΡΡ Π² ΡΠ΅Π°Π»ΡΠ½ΠΎΡΡΠΈ ΠΏΡΠΈΠΌΠ΅Π½ΡΠ»ΠΈΡΡ ΡΠΏΠ΅ΡΠΈΠ°Π»ΡΠ½ΡΠ΅ ΡΠ΅ΡΠΊΠΈ). ΠΠΎ ΡΠ°ΠΊΠΎΠ΅ ΡΠ΅ΡΠ΅Π½ΠΈΠ΅ Π±ΡΠ»ΠΎ Π½Π΅ ΡΠ»ΠΈΡΠΊΠΎΠΌ ΡΡΡΠ΅ΠΊΡΠΈΠ²Π½ΡΠΌ β ΠΏΡΠΈΡΠΎΡΡ ΡΡΠΎΠΉΠΊΠΎΡΡΠΈ ΡΠΎΡΡΠ°Π²Π»ΡΠ» Π² ΡΡΠ΅Π΄Π½Π΅ΠΌ Π²ΡΠ΅Π³ΠΎ 9β18%.
β’ ΠΠΎΡΡΠΎΠΌΡ ΠΏΡΠΈ ΡΠ°Π·ΡΠ°Π±ΠΎΡΠΊΠ΅ Π½ΠΎΠ²ΠΎΠ³ΠΎ ΠΏΠΎΠΊΠΎΠ»Π΅Π½ΠΈΡ ΡΠ°Π½ΠΊΠΎΠ² (Π’-64, Π’-72, Π’-80) ΠΊΠΎΠ½ΡΡΡΡΠΊΡΠΎΡΡ ΠΏΡΠΈΠΌΠ΅Π½ΠΈΠ»ΠΈ Π΄ΡΡΠ³ΠΎΠ΅ ΡΠ΅ΡΠ΅Π½ΠΈΠ΅ β ΠΌΠ½ΠΎΠ³ΠΎΡΠ»ΠΎΠΉΠ½ΡΡ Π±ΡΠΎΠ½Ρ. ΠΠ½Π° ΡΠΎΡΡΠΎΡΠ»Π° ΠΈΠ· Π΄Π²ΡΡ ΡΠ»ΠΎΠ΅Π² ΡΡΠ°Π»ΠΈ, ΠΌΠ΅ΠΆΠ΄Ρ ΠΊΠΎΡΠΎΡΡΠΌΠΈ ΠΏΠΎΠΌΠ΅ΡΠ°Π»ΡΡ ΡΠ»ΠΎΠΉ ΠΌΠ°Π»ΠΎΠΏΠ»ΠΎΡΠ½ΠΎΠ³ΠΎ Π½Π°ΠΏΠΎΠ»Π½ΠΈΡΠ΅Π»Ρ β ΡΡΠ΅ΠΊΠ»ΠΎΠΏΠ»Π°ΡΡΠΈΠΊΠ° ΠΈΠ»ΠΈ ΠΊΠ΅ΡΠ°ΠΌΠΈΠΊΠΈ. Π’Π°ΠΊΠΎΠΉ Β«ΠΏΠΈΡΠΎΠ³Β» Π΄Π°Π²Π°Π» Π²ΡΠΈΠ³ΡΡΡ Π² ΡΡΠ°Π²Π½Π΅Π½ΠΈΠΈ Ρ ΠΌΠΎΠ½ΠΎΠ»ΠΈΡΠ½ΠΎΠΉ ΡΡΠ°Π»ΡΠ½ΠΎΠΉ Π±ΡΠΎΠ½Π΅ΠΉ Π΄ΠΎ 30%. ΠΠ΄Π½Π°ΠΊΠΎ ΡΡΠΎΡ ΡΠΏΠΎΡΠΎΠ± Π±ΡΠ» Π½Π΅ΠΏΡΠΈΠΌΠ΅Π½ΠΈΠΌ Π΄Π»Ρ Π±Π°ΡΠ½ΠΈ: Ρ ΡΡΠΈΡ ΠΌΠΎΠ΄Π΅Π»Π΅ΠΉ ΠΎΠ½Π° Π»ΠΈΡΠ°Ρ ΠΈ ΠΏΠΎΠΌΠ΅ΡΡΠΈΡΡ Π²Π½ΡΡΡΡ ΡΡΠ΅ΠΊΠ»ΠΎΠΏΠ»Π°ΡΡΠΈΠΊ ΡΠ»ΠΎΠΆΠ½ΠΎ Ρ ΡΠ΅Ρ Π½ΠΎΠ»ΠΎΠ³ΠΈΡΠ΅ΡΠΊΠΎΠΉ ΡΠΎΡΠΊΠΈ Π·ΡΠ΅Π½ΠΈΡ.
β’ ΠΠΎΠ½ΡΡΡΡΠΊΡΠΎΡΡ ΠΠΠΠ-100 (Π½ΡΠ½Π΅ ΠΠΠΠ Β«Π’ΡΠ°Π½ΡΠΌΠ°ΡΒ») ΠΏΡΠ΅Π΄Π»ΠΎΠΆΠΈΠ»ΠΈ Π²ΠΏΠ»Π°Π²Π»ΡΡΡ Π²Π½ΡΡΡΡ Π±Π°ΡΠ΅Π½Π½ΠΎΠΉ Π±ΡΠΎΠ½ΠΈ ΡΠ°ΡΡ ΠΈΠ· ΡΠ»ΡΡΡΠ°ΡΠ°ΡΡΠΎΡΠ°, ΡΠ΄Π΅Π»ΡΠ½Π°Ρ ΡΡΡΡΠ΅Π³Π°ΡΡΡΠ°Ρ ΡΠΏΠΎΡΠΎΠ±Π½ΠΎΡΡΡ ΠΊΠΎΡΠΎΡΠΎΠ³ΠΎ Π² 2β2,5 ΡΠ°Π·Π° Π²ΡΡΠ΅, ΡΠ΅ΠΌ Ρ Π±ΡΠΎΠ½Π΅Π²ΠΎΠΉ ΡΡΠ°Π»ΠΈ. Π‘ΠΏΠ΅ΡΠΈΠ°Π»ΠΈΡΡΡ ΠΠΠ ΡΡΠ°Π»ΠΈ Π²ΡΠ±ΡΠ°Π»ΠΈ Π΄ΡΡΠ³ΠΎΠΉ Π²Π°ΡΠΈΠ°Π½Ρ: ΠΌΠ΅ΠΆΠ΄Ρ Π²Π½Π΅ΡΠ½ΠΈΠΌ ΠΈ Π²Π½ΡΡΡΠ΅Π½Π½ΠΈΠΌ ΡΠ»ΠΎΡΠΌΠΈ Π±ΡΠΎΠ½ΠΈ ΠΏΠΎΠΌΠ΅ΡΠ°Π»ΠΈΡΡ ΠΏΠ°ΠΊΠ΅ΡΡ ΠΈΠ· Π²ΡΡΠΎΠΊΠΎΠΏΡΠΎΡΠ½ΠΎΠΉ ΡΠ²Π΅ΡΠ΄ΠΎΠΉ ΡΡΠ°Π»ΠΈ. ΠΠ½ΠΈ ΠΏΡΠΈΠ½ΠΈΠΌΠ°Π»ΠΈ Π½Π° ΡΠ΅Π±Ρ ΡΠ΄Π°Ρ ΠΎΡΠ»Π°Π±Π»Π΅Π½Π½ΠΎΠΉ ΠΊΡΠΌΡΠ»ΡΡΠΈΠ²Π½ΠΎΠΉ ΡΡΡΡΠΈ Π½Π° ΡΠΊΠΎΡΠΎΡΡΡΡ , ΠΊΠΎΠ³Π΄Π° Π²Π·Π°ΠΈΠΌΠΎΠ΄Π΅ΠΉΡΡΠ²ΠΈΠ΅ ΠΏΡΠΎΠΈΡΡ ΠΎΠ΄ΠΈΡ ΡΠΆΠ΅ Π½Π΅ ΠΏΠΎ Π·Π°ΠΊΠΎΠ½Π°ΠΌ Π³ΠΈΠ΄ΡΠΎΠ΄ΠΈΠ½Π°ΠΌΠΈΠΊΠΈ, Π° Π² Π·Π°Π²ΠΈΡΠΈΠΌΠΎΡΡΠΈ ΠΎΡ ΡΠ²Π΅ΡΠ΄ΠΎΡΡΠΈ ΠΌΠ°ΡΠ΅ΡΠΈΠ°Π»Π°.

ΠΠ±ΡΡΠ½ΠΎ ΡΠΎΠ»ΡΠΈΠ½Π° Π±ΡΠΎΠ½ΠΈ, ΠΊΠΎΡΠΎΡΡΡ ΡΠΏΠΎΡΠΎΠ±Π΅Π½ ΠΏΡΠΎΠ±ΠΈΡΡ ΠΊΡΠΌΡΠ»ΡΡΠΈΠ²Π½ΡΠΉ Π·Π°ΡΡΠ΄, ΡΠΎΡΡΠ°Π²Π»ΡΠ΅Ρ 6β8 Π΅Π³ΠΎ ΠΊΠ°Π»ΠΈΠ±ΡΠΎΠ², Π° Π΄Π»Ρ Π·Π°ΡΡΠ΄ΠΎΠ² Ρ ΠΎΠ±ΠΊΠ»Π°Π΄ΠΊΠ°ΠΌΠΈ ΠΈΠ· ΡΠ°ΠΊΠΈΡ
ΠΌΠ°ΡΠ΅ΡΠΈΠ°Π»ΠΎΠ², ΠΊΠ°ΠΊ ΠΎΠ±Π΅Π΄Π½Π΅Π½Π½ΡΠΉ ΡΡΠ°Π½, ΡΡΠΎ Π·Π½Π°ΡΠ΅Π½ΠΈΠ΅ ΠΌΠΎΠΆΠ΅Ρ Π΄ΠΎΡΡΠΈΠ³Π°ΡΡ 10
ΠΠΎΠ»ΡΠ°ΠΊΡΠΈΠ²Π½Π°Ρ Π±ΡΠΎΠ½Ρ
β’ Π₯ΠΎΡΡ Π·Π°ΡΠΎΡΠΌΠΎΠ·ΠΈΡΡ ΠΊΡΠΌΡΠ»ΡΡΠΈΠ²Π½ΡΡ ΡΡΡΡΡ Π΄ΠΎΡΡΠ°ΡΠΎΡΠ½ΠΎ Π½Π΅ΠΏΡΠΎΡΡΠΎ, ΠΎΠ½Π° ΡΡΠ·Π²ΠΈΠΌΠ° Π² ΠΏΠΎΠΏΠ΅ΡΠ΅ΡΠ½ΠΎΠΌ Π½Π°ΠΏΡΠ°Π²Π»Π΅Π½ΠΈΠΈ ΠΈ Π»Π΅Π³ΠΊΠΎ ΠΌΠΎΠΆΠ΅Ρ Π±ΡΡΡ ΡΠ°Π·ΡΡΡΠ΅Π½Π° Π΄Π°ΠΆΠ΅ ΡΠ»Π°Π±ΡΠΌ Π±ΠΎΠΊΠΎΠ²ΡΠΌ Π²ΠΎΠ·Π΄Π΅ΠΉΡΡΠ²ΠΈΠ΅ΠΌ. ΠΠΎΡΡΠΎΠΌΡ Π΄Π°Π»ΡΠ½Π΅ΠΉΡΠ΅Π΅ ΡΠ°Π·Π²ΠΈΡΠΈΠ΅ ΡΠ΅Ρ Π½ΠΎΠ»ΠΎΠ³ΠΈΠΈ ΡΠΎΡΡΠΎΡΠ»ΠΎ Π² ΡΠΎΠΌ, ΡΡΠΎ ΠΊΠΎΠΌΠ±ΠΈΠ½ΠΈΡΠΎΠ²Π°Π½Π½Π°Ρ Π±ΡΠΎΠ½Ρ Π»ΠΎΠ±ΠΎΠ²ΡΡ ΠΈ Π±ΠΎΡΡΠΎΠ²ΡΡ ΡΠ°ΡΡΠ΅ΠΉ Π»ΠΈΡΠΎΠΉ Π±Π°ΡΠ½ΠΈ ΠΎΠ±ΡΠ°Π·ΠΎΠ²ΡΠ²Π°Π»Π°ΡΡ Π·Π° ΡΡΡΡ ΠΎΡΠΊΡΡΡΠΎΠΉ ΡΠ²Π΅ΡΡ Ρ ΠΏΠΎΠ»ΠΎΡΡΠΈ, Π·Π°ΠΏΠΎΠ»Π½Π΅Π½Π½ΠΎΠΉ ΡΠ»ΠΎΠΆΠ½ΡΠΌ Π½Π°ΠΏΠΎΠ»Π½ΠΈΡΠ΅Π»Π΅ΠΌ; ΡΠ²Π΅ΡΡ Ρ ΠΏΠΎΠ»ΠΎΡΡΡ Π·Π°ΠΊΡΡΠ²Π°Π»Π°ΡΡ ΠΏΡΠΈΠ²Π°ΡΠ½ΡΠΌΠΈ Π·Π°Π³Π»ΡΡΠΊΠ°ΠΌΠΈ.
β’ ΠΠ°ΡΠ½ΠΈ ΡΠ°ΠΊΠΎΠΉ ΠΊΠΎΠ½ΡΡΡΡΠΊΡΠΈΠΈ ΠΏΡΠΈΠΌΠ΅Π½ΡΠ»ΠΈΡΡ Π½Π° Π±ΠΎΠ»Π΅Π΅ ΠΏΠΎΠ·Π΄Π½ΠΈΡ
ΠΌΠΎΠ΄ΠΈΡΠΈΠΊΠ°ΡΠΈΡΡ
ΡΠ°Π½ΠΊΠΎΠ² β Π’-72Π, Π’-80Π£ ΠΈ Π’-80Π£Π. ΠΡΠΈΠ½ΡΠΈΠΏ Π΄Π΅ΠΉΡΡΠ²ΠΈΡ Π²ΡΡΠ°Π²ΠΎΠΊ Π±ΡΠ» ΡΠ°Π·Π½ΡΠΌ, Π½ΠΎ ΠΈΡΠΏΠΎΠ»ΡΠ·ΠΎΠ²Π°Π» ΡΠΏΠΎΠΌΡΠ½ΡΡΡΡ Β«Π±ΠΎΠΊΠΎΠ²ΡΡ ΡΡΠ·Π²ΠΈΠΌΠΎΡΡΡΒ» ΠΊΡΠΌΡΠ»ΡΡΠΈΠ²Π½ΠΎΠΉ ΡΡΡΡΠΈ. Π’Π°ΠΊΡΡ Π±ΡΠΎΠ½Ρ ΠΏΡΠΈΠ½ΡΡΠΎ ΠΎΡΠ½ΠΎΡΠΈΡΡ ΠΊ Β«ΠΏΠΎΠ»ΡΠ°ΠΊΡΠΈΠ²Π½ΡΠΌΒ» ΡΠΈΡΡΠ΅ΠΌΠ°ΠΌ Π·Π°ΡΠΈΡΡ, ΠΏΠΎΡΠΊΠΎΠ»ΡΠΊΡ Π² Π½ΠΈΡ
ΠΈΡΠΏΠΎΠ»ΡΠ·ΡΠ΅ΡΡΡ ΡΠ½Π΅ΡΠ³ΠΈΡ ΡΠ°ΠΌΠΎΠ³ΠΎ ΡΡΠ΅Π΄ΡΡΠ²Π° ΠΏΠΎΡΠ°ΠΆΠ΅Π½ΠΈΡ.
ΠΠ΄ΠΈΠ½ ΠΈΠ· Π²Π°ΡΠΈΠ°Π½ΡΠΎΠ² ΡΠ°ΠΊΠΈΡ
ΡΠΈΡΡΠ΅ΠΌ β ΡΡΠ΅ΠΈΡΡΠ°Ρ Π±ΡΠΎΠ½Ρ, ΠΏΡΠΈΠ½ΡΠΈΠΏ Π΄Π΅ΠΉΡΡΠ²ΠΈΡ ΠΊΠΎΡΠΎΡΠΎΠΉ Π±ΡΠ» ΠΏΡΠ΅Π΄Π»ΠΎΠΆΠ΅Π½ ΡΠΎΡΡΡΠ΄Π½ΠΈΠΊΠ°ΠΌΠΈ ΠΠ½ΡΡΠΈΡΡΡΠ° Π³ΠΈΠ΄ΡΠΎΠ΄ΠΈΠ½Π°ΠΌΠΈΠΊΠΈ Π‘ΠΈΠ±ΠΈΡΡΠΊΠΎΠ³ΠΎ ΠΎΡΠ΄Π΅Π»Π΅Π½ΠΈΡ ΠΠ Π‘Π‘Π‘Π .
β’ ΠΡΠΎΠ½Ρ ΡΠΎΡΡΠΎΠΈΡ ΠΈΠ· Π½Π°Π±ΠΎΡΠ° ΠΏΠΎΠ»ΠΎΡΡΠ΅ΠΉ, Π·Π°ΠΏΠΎΠ»Π½Π΅Π½Π½ΡΡ ΠΊΠ²Π°Π·ΠΈΠΆΠΈΠ΄ΠΊΠΈΠΌ Π²Π΅ΡΠ΅ΡΡΠ²ΠΎΠΌ (ΠΏΠΎΠ»ΠΈΡΡΠ΅ΡΠ°Π½, ΠΏΠΎΠ»ΠΈΡΡΠΈΠ»Π΅Π½). ΠΡΠΌΡΠ»ΡΡΠΈΠ²Π½Π°Ρ ΡΡΡΡΡ, ΠΏΠΎΠΏΠ°Π² Π² ΡΠ°ΠΊΠΎΠΉ ΠΎΠ±ΡΠ΅ΠΌ, ΠΎΠ³ΡΠ°Π½ΠΈΡΠ΅Π½Π½ΡΠΉ ΠΌΠ΅ΡΠ°Π»Π»ΠΈΡΠ΅ΡΠΊΠΈΠΌΠΈ ΡΡΠ΅Π½ΠΊΠ°ΠΌΠΈ, Π³Π΅Π½Π΅ΡΠΈΡΡΠ΅Ρ Π² ΠΊΠ²Π°Π·ΠΈΠΆΠΈΠ΄ΠΊΠΎΡΡΠΈ ΡΠ΄Π°ΡΠ½ΡΡ Π²ΠΎΠ»Π½Ρ, ΠΊΠΎΡΠΎΡΠ°Ρ, ΠΎΡΡΠ°ΠΆΠ°ΡΡΡ ΠΎΡ ΡΡΠ΅Π½ΠΎΠΊ, Π²ΠΎΠ·Π²ΡΠ°ΡΠ°Π΅ΡΡΡ ΠΊ ΠΎΡΠΈ ΡΡΡΡΠΈ ΠΈ ΡΡ Π»ΠΎΠΏΡΠ²Π°Π΅Ρ ΠΊΠ°Π²Π΅ΡΠ½Ρ, Π²ΡΠ·ΡΠ²Π°Ρ ΡΠΎΡΠΌΠΎΠΆΠ΅Π½ΠΈΠ΅ ΠΈ ΡΠ°Π·ΡΡΡΠ΅Π½ΠΈΠ΅ ΡΡΡΡΠΈ. Π’Π°ΠΊΠΎΠΉ ΡΠΈΠΏ Π±ΡΠΎΠ½ΠΈ ΠΎΠ±Π΅ΡΠΏΠ΅ΡΠΈΠ²Π°Π΅Ρ Π²ΡΠΈΠ³ΡΡΡ ΠΏΠΎ ΠΏΡΠΎΡΠΈΠ²ΠΎΠΊΡΠΌΡΠ»ΡΡΠΈΠ²Π½ΠΎΠΉ ΡΡΠΎΠΉΠΊΠΎΡΡΠΈ Π΄ΠΎ 30β40%.
β’ ΠΡΡ ΠΎΠ΄ΠΈΠ½ Π²Π°ΡΠΈΠ°Π½Ρ β Π±ΡΠΎΠ½Ρ Ρ ΠΎΡΡΠ°ΠΆΠ°ΡΡΠΈΠΌΠΈ Π»ΠΈΡΡΠ°ΠΌΠΈ. ΠΡΠΎ ΡΡΡΡ ΡΠ»ΠΎΠΉΠ½Π°Ρ ΠΏΡΠ΅Π³ΡΠ°Π΄Π°, ΡΠΎΡΡΠΎΡΡΠ°Ρ ΠΈΠ· ΠΏΠ»ΠΈΡΡ, ΠΏΡΠΎΠΊΠ»Π°Π΄ΠΊΠΈ ΠΈ ΡΠΎΠ½ΠΊΠΎΠΉ ΠΏΠ»Π°ΡΡΠΈΠ½Ρ. Π‘ΡΡΡΡ, ΠΏΡΠΎΠ½ΠΈΠΊΠ°Ρ Π² ΠΏΠ»ΠΈΡΡ, ΡΠΎΠ·Π΄Π°Π΅Ρ Π½Π°ΠΏΡΡΠΆΠ΅Π½ΠΈΡ, ΠΏΡΠΈΠ²ΠΎΠ΄ΡΡΠΈΠ΅ ΡΠ½Π°ΡΠ°Π»Π° ΠΊ ΠΌΠ΅ΡΡΠ½ΠΎΠΌΡ Π²ΡΠΏΡΡΠΈΠ²Π°Π½ΠΈΡ ΡΡΠ»ΡΠ½ΠΎΠΉ ΠΏΠΎΠ²Π΅ΡΡ Π½ΠΎΡΡΠΈ, Π° Π·Π°ΡΠ΅ΠΌ ΠΊ Π΅Π΅ ΡΠ°Π·ΡΡΡΠ΅Π½ΠΈΡ. ΠΡΠΈ ΡΡΠΎΠΌ ΠΏΡΠΎΠΈΡΡ ΠΎΠ΄ΠΈΡ Π·Π½Π°ΡΠΈΡΠ΅Π»ΡΠ½ΠΎΠ΅ Π²ΡΠΏΡΡΠΈΠ²Π°Π½ΠΈΠ΅ ΠΏΡΠΎΠΊΠ»Π°Π΄ΠΊΠΈ ΠΈ ΡΠΎΠ½ΠΊΠΎΠ³ΠΎ Π»ΠΈΡΡΠ°. ΠΠΎΠ³Π΄Π° ΡΡΡΡΡ ΠΏΡΠΎΠ±ΠΈΠ²Π°Π΅Ρ ΠΏΡΠΎΠΊΠ»Π°Π΄ΠΊΡ ΠΈ ΡΠΎΠ½ΠΊΡΡ ΠΏΠ»Π°ΡΡΠΈΠ½Ρ, ΠΏΠΎΡΠ»Π΅Π΄Π½ΡΡ ΡΠΆΠ΅ Π½Π°ΡΠ°Π»Π° Π΄Π²ΠΈΠΆΠ΅Π½ΠΈΠ΅ Π² ΡΡΠΎΡΠΎΠ½Ρ ΠΎΡ ΡΡΠ»ΡΠ½ΠΎΠΉ ΠΏΠΎΠ²Π΅ΡΡ Π½ΠΎΡΡΠΈ ΠΏΠ»ΠΈΡΡ. ΠΠΎΡΠΊΠΎΠ»ΡΠΊΡ ΠΌΠ΅ΠΆΠ΄Ρ Π½Π°ΠΏΡΠ°Π²Π»Π΅Π½ΠΈΡΠΌΠΈ Π΄Π²ΠΈΠΆΠ΅Π½ΠΈΡ ΡΡΡΡΠΈ ΠΈ ΡΠΎΠ½ΠΊΠΎΠΉ ΠΏΠ»Π°ΡΡΠΈΠ½Ρ ΠΈΠΌΠ΅Π΅ΡΡΡ Π½Π΅ΠΊΠΎΡΠΎΡΡΠΉ ΡΠ³ΠΎΠ», ΡΠΎ Π² ΠΊΠ°ΠΊΠΎΠΉ-ΡΠΎ ΠΌΠΎΠΌΠ΅Π½Ρ Π²ΡΠ΅ΠΌΠ΅Π½ΠΈ ΠΏΠ»Π°ΡΡΠΈΠ½Π° Π½Π°ΡΠΈΠ½Π°Π΅Ρ Π½Π°Π±Π΅Π³Π°ΡΡ Π½Π° ΡΡΡΡΡ, ΡΠ°Π·ΡΡΡΠ°Ρ Π΅Π΅. Π ΡΡΠ°Π²Π½Π΅Π½ΠΈΠΈ Ρ ΠΌΠΎΠ½ΠΎΠ»ΠΈΡΠ½ΠΎΠΉ Π±ΡΠΎΠ½Π΅ΠΉ ΡΠΎΠΉ ΠΆΠ΅ ΠΌΠ°ΡΡΡ ΡΡΡΠ΅ΠΊΡ ΠΎΡ ΠΈΡΠΏΠΎΠ»ΡΠ·ΠΎΠ²Π°Π½ΠΈΡ Β«ΠΎΡΡΠ°ΠΆΠ°ΡΡΠΈΡ Β» Π»ΠΈΡΡΠΎΠ² ΠΌΠΎΠΆΠ΅Ρ Π΄ΠΎΡΡΠΈΠ³Π°ΡΡ 40%.
β’ Π‘Π»Π΅Π΄ΡΡΡΠΈΠΌ ΡΡΠΎΠ²Π΅ΡΡΠ΅Π½ΡΡΠ²ΠΎΠ²Π°Π½ΠΈΠ΅ΠΌ ΠΊΠΎΠ½ΡΡΡΡΠΊΡΠΈΠΈ Π±ΡΠ» ΠΏΠ΅ΡΠ΅Ρ ΠΎΠ΄ Π½Π° Π±Π°ΡΠ½ΠΈ ΡΠΎ ΡΠ²Π°ΡΠ½ΠΎΠΉ ΠΎΡΠ½ΠΎΠ²ΠΎΠΉ. Π‘ΡΠ°Π»ΠΎ ΡΡΠ½ΠΎ, ΡΡΠΎ ΡΠ°Π·ΡΠ°Π±ΠΎΡΠΊΠΈ ΠΏΠΎ ΡΠ²Π΅Π»ΠΈΡΠ΅Π½ΠΈΡ ΠΏΡΠΎΡΠ½ΠΎΡΡΠΈ ΠΊΠ°ΡΠ°Π½ΠΎΠΉ Π±ΡΠΎΠ½ΠΈ Π±ΠΎΠ»Π΅Π΅ ΠΏΠ΅ΡΡΠΏΠ΅ΠΊΡΠΈΠ²Π½Ρ. Π ΡΠ°ΡΡΠ½ΠΎΡΡΠΈ, Π² 1980-Ρ Π³ΠΎΠ΄Π°Ρ Π±ΡΠ»ΠΈ ΡΠ°Π·ΡΠ°Π±ΠΎΡΠ°Π½Ρ ΠΈ Π³ΠΎΡΠΎΠ²Ρ ΠΊ ΡΠ΅ΡΠΈΠΉΠ½ΠΎΠΌΡ ΠΏΡΠΎΠΈΠ·Π²ΠΎΠ΄ΡΡΠ²Ρ Π½ΠΎΠ²ΡΠ΅ ΡΡΠ°Π»ΠΈ ΠΏΠΎΠ²ΡΡΠ΅Π½Π½ΠΎΠΉ ΡΠ²Π΅ΡΠ΄ΠΎΡΡΠΈ: Π‘Π-2Π¨, Π‘Π-3Π¨. ΠΡΠΈΠΌΠ΅Π½Π΅Π½ΠΈΠ΅ Π±Π°ΡΠ΅Π½ Ρ ΠΎΡΠ½ΠΎΠ²ΠΎΠΉ ΠΈΠ· ΠΏΡΠΎΠΊΠ°ΡΠ° ΠΏΠΎΠ·Π²ΠΎΠ»ΠΈΠ»ΠΎ ΠΏΠΎΠ²ΡΡΠΈΡΡ Π·Π°ΡΠΈΡΠ½ΡΠΉ ΡΠΊΠ²ΠΈΠ²Π°Π»Π΅Π½Ρ ΠΏΠΎ ΠΎΡΠ½ΠΎΠ²Π΅ Π±Π°ΡΠ½ΠΈ. Π ΡΠ΅Π·ΡΠ»ΡΡΠ°ΡΠ΅ Π±Π°ΡΠ½Ρ Π΄Π»Ρ ΡΠ°Π½ΠΊΠ° Π’-72Π Ρ ΠΎΡΠ½ΠΎΠ²ΠΎΠΉ ΠΈΠ· ΠΏΡΠΎΠΊΠ°ΡΠ° ΠΎΠ±Π»Π°Π΄Π°Π»Π° ΡΠ²Π΅Π»ΠΈΡΠ΅Π½Π½ΡΠΌ Π²Π½ΡΡΡΠ΅Π½Π½ΠΈΠΌ ΠΎΠ±ΡΠ΅ΠΌΠΎΠΌ, ΡΠΎΡΡ ΠΌΠ°ΡΡΡ ΡΠΎΡΡΠ°Π²ΠΈΠ» 400 ΠΊΠ³ ΠΏΠΎ ΡΡΠ°Π²Π½Π΅Π½ΠΈΡ Ρ ΡΠ΅ΡΠΈΠΉΠ½ΠΎΠΉ Π»ΠΈΡΠΎΠΉ Π±Π°ΡΠ½Π΅ΠΉ ΡΠ°Π½ΠΊΠ° Π’-72Π. ΠΠ°ΠΊΠ΅Ρ Π½Π°ΠΏΠΎΠ»Π½ΠΈΡΠ΅Π»Ρ Π±Π°ΡΠ½ΠΈ Π²ΡΠΏΠΎΠ»Π½ΡΠ»ΡΡ Ρ ΠΏΡΠΈΠΌΠ΅Π½Π΅Π½ΠΈΠ΅ΠΌ ΠΊΠ΅ΡΠ°ΠΌΠΈΡΠ΅ΡΠΊΠΈΡ ΠΌΠ°ΡΠ΅ΡΠΈΠ°Π»ΠΎΠ² ΠΈ ΡΡΠ°Π»ΠΈ ΠΏΠΎΠ²ΡΡΠ΅Π½Π½ΠΎΠΉ ΡΠ²Π΅ΡΠ΄ΠΎΡΡΠΈ ΠΈΠ»ΠΈ ΠΈΠ· ΠΏΠ°ΠΊΠ΅ΡΠ° Π½Π° ΠΎΡΠ½ΠΎΠ²Π΅ ΡΡΠ°Π»ΡΠ½ΡΡ ΠΏΠ»Π°ΡΡΠΈΠ½ Ρ Β«ΠΎΡΡΠ°ΠΆΠ°ΡΡΠΈΠΌΠΈΒ» Π»ΠΈΡΡΠ°ΠΌΠΈ. ΠΠΊΠ²ΠΈΠ²Π°Π»Π΅Π½ΡΠ½Π°Ρ Π±ΡΠΎΠ½Π΅ΡΡΠΎΠΉΠΊΠΎΡΡΡ ΡΡΠ°Π»Π° ΡΠ°Π²Π½Π° 500β550 ΠΌΠΌ Π³ΠΎΠΌΠΎΠ³Π΅Π½Π½ΠΎΠΉ ΡΡΠ°Π»ΠΈ.

ΠΡΠΈΠ½ΡΠΈΠΏ Π΄Π΅ΠΉΡΡΠ²ΠΈΡ Π΄ΠΈΠ½Π°ΠΌΠΈΡΠ΅ΡΠΊΠΎΠΉ Π·Π°ΡΠΈΡΡ
ΠΡΠΈ ΠΏΡΠΎΠ±ΠΈΡΠΈΠΈ ΡΠ»Π΅ΠΌΠ΅Π½ΡΠ° ΠΠ ΠΊΡΠΌΡΠ»ΡΡΠΈΠ²Π½ΠΎΠΉ ΡΡΡΡΠ΅ΠΉ Π²Π·ΡΡΠ²ΡΠ°ΡΠΎΠ΅ Π²Π΅ΡΠ΅ΡΡΠ²ΠΎ, Π½Π°Ρ
ΠΎΠ΄ΡΡΠ΅Π΅ΡΡ Π² Π½Π΅ΠΌ, Π΄Π΅ΡΠΎΠ½ΠΈΡΡΠ΅Ρ ΠΈ ΠΌΠ΅ΡΠ°Π»Π»ΠΈΡΠ΅ΡΠΊΠΈΠ΅ ΠΏΠ»Π°ΡΡΠΈΠ½Ρ ΠΊΠΎΡΠΏΡΡΠ° Π½Π°ΡΠΈΠ½Π°ΡΡ ΡΠ°Π·Π»Π΅ΡΠ°ΡΡΡΡ. ΠΡΠΈ ΡΡΠΎΠΌ ΠΎΠ½ΠΈ ΠΏΠ΅ΡΠ΅ΡΠ΅ΠΊΠ°ΡΡ ΡΡΠ°Π΅ΠΊΡΠΎΡΠΈΡ ΡΡΡΡΠΈ ΠΏΠΎΠ΄ ΡΠ³Π»ΠΎΠΌ, ΠΏΠΎΡΡΠΎΡΠ½Π½ΠΎ ΠΏΠΎΠ΄ΡΡΠ°Π²Π»ΡΡ ΠΏΠΎΠ΄ Π½Π΅Π΅ Π½ΠΎΠ²ΡΠ΅ ΡΡΠ°ΡΡΠΊΠΈ. Π§Π°ΡΡΡ ΡΠ½Π΅ΡΠ³ΠΈΠΈ ΡΠ°ΡΡ
ΠΎΠ΄ΡΠ΅ΡΡΡ Π½Π° ΠΏΡΠΎΠ±ΠΈΡΠΈΠ΅ ΠΏΠ»Π°ΡΡΠΈΠ½, Π° Π±ΠΎΠΊΠΎΠ²ΠΎΠΉ ΠΈΠΌΠΏΡΠ»ΡΡ ΠΎΡ ΡΠΎΡΠ΄Π°ΡΠ΅Π½ΠΈΡ Π΄Π΅ΡΡΠ°Π±ΠΈΠ»ΠΈΠ·ΠΈΡΡΠ΅Ρ ΡΡΡΡΡ. ΠΠ ΡΠ½ΠΈΠΆΠ°Π΅Ρ Π±ΡΠΎΠ½Π΅ΠΏΡΠΎΠ±ΠΈΠ²Π½ΡΠ΅ Ρ
Π°ΡΠ°ΠΊΡΠ΅ΡΠΈΡΡΠΈΠΊΠΈ ΠΊΡΠΌΡΠ»ΡΡΠΈΠ²Π½ΡΡ
ΡΡΠ΅Π΄ΡΡΠ² Π½Π° 50β80%. ΠΡΠΈ ΡΡΠΎΠΌ, ΡΡΠΎ ΠΎΡΠ΅Π½Ρ Π²Π°ΠΆΠ½ΠΎ, ΠΠ Π½Π΅ Π΄Π΅ΡΠΎΠ½ΠΈΡΡΠ΅Ρ ΠΏΡΠΈ ΠΎΠ±ΡΡΡΠ΅Π»Π΅ ΠΈΠ· ΡΡΡΠ΅Π»ΠΊΠΎΠ²ΠΎΠ³ΠΎ ΠΎΡΡΠΆΠΈΡ. ΠΡΠΈΠΌΠ΅Π½Π΅Π½ΠΈΠ΅ ΠΠ ΡΡΠ°Π»ΠΎ ΡΠ΅Π²ΠΎΠ»ΡΡΠΈΠ΅ΠΉ Π² Π·Π°ΡΠΈΡΠ΅ Π±ΡΠΎΠ½Π΅ΡΠ΅Ρ
Π½ΠΈΠΊΠΈ. ΠΠΎΡΠ²ΠΈΠ»Π°ΡΡ ΡΠ΅Π°Π»ΡΠ½Π°Ρ Π²ΠΎΠ·ΠΌΠΎΠΆΠ½ΠΎΡΡΡ Π²ΠΎΠ·Π΄Π΅ΠΉΡΡΠ²ΠΎΠ²Π°ΡΡ Π½Π° Π²Π½Π΅Π΄ΡΡΡΡΠ΅Π΅ΡΡ ΠΏΠΎΡΠ°ΠΆΠ°ΡΡΠ΅Π΅ ΡΡΠ΅Π΄ΡΡΠ²ΠΎ ΡΠ°ΠΊ ΠΆΠ΅ Π°ΠΊΡΠΈΠ²Π½ΠΎ, ΠΊΠ°ΠΊ Π΄ΠΎ ΡΡΠΎΠ³ΠΎ ΠΎΠ½ΠΎ Π²ΠΎΠ·Π΄Π΅ΠΉΡΡΠ²ΠΎΠ²Π°Π»ΠΎ Π½Π° ΠΏΠ°ΡΡΠΈΠ²Π½ΡΡ Π±ΡΠΎΠ½Ρ
ΠΠ·ΡΡΠ² Π½Π°Π²ΡΡΡΠ΅ΡΡ
β’ Π’Π΅ΠΌ Π²ΡΠ΅ΠΌΠ΅Π½Π΅ΠΌ ΡΠ΅Ρ Π½ΠΎΠ»ΠΎΠ³ΠΈΠΈ Π² ΠΎΠ±Π»Π°ΡΡΠΈ ΠΊΡΠΌΡΠ»ΡΡΠΈΠ²Π½ΡΡ Π±ΠΎΠ΅ΠΏΡΠΈΠΏΠ°ΡΠΎΠ² ΠΏΡΠΎΠ΄ΠΎΠ»ΠΆΠ°Π»ΠΈ ΡΠΎΠ²Π΅ΡΡΠ΅Π½ΡΡΠ²ΠΎΠ²Π°ΡΡΡΡ. ΠΡΠ»ΠΈ Π² Π³ΠΎΠ΄Ρ ΠΡΠΎΡΠΎΠΉ ΠΌΠΈΡΠΎΠ²ΠΎΠΉ Π²ΠΎΠΉΠ½Ρ Π±ΡΠΎΠ½Π΅ΠΏΡΠΎΠ±ΠΈΠ²Π°Π΅ΠΌΠΎΡΡΡ ΠΊΡΠΌΡΠ»ΡΡΠΈΠ²Π½ΡΡ ΡΠ½Π°ΡΡΠ΄ΠΎΠ² Π½Π΅ ΠΏΡΠ΅Π²ΡΡΠ°Π»Π° 4β5 ΠΊΠ°Π»ΠΈΠ±ΡΠΎΠ², ΡΠΎ ΠΏΠΎΠ·Π΄Π½Π΅Π΅ ΠΎΠ½Π° Π·Π½Π°ΡΠΈΡΠ΅Π»ΡΠ½ΠΎ Π²ΡΡΠΎΡΠ»Π°. Π’Π°ΠΊ, ΠΏΡΠΈ ΠΊΠ°Π»ΠΈΠ±ΡΠ΅ 100β105 ΠΌΠΌ ΠΎΠ½Π° ΡΠΆΠ΅ ΡΠΎΡΡΠ°Π²Π»ΡΠ»Π° 6β7 ΠΊΠ°Π»ΠΈΠ±ΡΠΎΠ² (Π² ΡΡΠ°Π»ΡΠ½ΠΎΠΌ ΡΠΊΠ²ΠΈΠ²Π°Π»Π΅Π½ΡΠ΅ 600β700 ΠΌΠΌ), ΠΏΡΠΈ ΠΊΠ°Π»ΠΈΠ±ΡΠ΅ 120β152 ΠΌΠΌ Π±ΡΠΎΠ½Π΅ΠΏΡΠΎΠ±ΠΈΠ²Π°Π΅ΠΌΠΎΡΡΡ ΡΠ΄Π°Π»ΠΎΡΡ ΠΏΠΎΠ΄Π½ΡΡΡ Π΄ΠΎ 8β10 ΠΊΠ°Π»ΠΈΠ±ΡΠΎΠ² (900β1200 ΠΌΠΌ Π³ΠΎΠΌΠΎΠ³Π΅Π½Π½ΠΎΠΉ ΡΡΠ°Π»ΠΈ). Π§ΡΠΎΠ±Ρ Π·Π°ΡΠΈΡΠΈΡΡΡΡ ΠΎΡ ΡΡΠΈΡ Π±ΠΎΠ΅ΠΏΡΠΈΠΏΠ°ΡΠΎΠ², ΡΡΠ΅Π±ΠΎΠ²Π°Π»ΠΎΡΡ ΠΊΠ°ΡΠ΅ΡΡΠ²Π΅Π½Π½ΠΎ Π½ΠΎΠ²ΠΎΠ΅ ΡΠ΅ΡΠ΅Π½ΠΈΠ΅.
β’ Π Π°Π±ΠΎΡΡ Π½Π°Π΄ ΠΏΡΠΎΡΠΈΠ²ΠΎΠΊΡΠΌΡΠ»ΡΡΠΈΠ²Π½ΠΎΠΉ, ΠΈΠ»ΠΈ Β«Π΄ΠΈΠ½Π°ΠΌΠΈΡΠ΅ΡΠΊΠΎΠΉΒ», Π±ΡΠΎΠ½Π΅ΠΉ, ΠΎΡΠ½ΠΎΠ²Π°Π½Π½ΠΎΠΉ Π½Π° ΠΏΡΠΈΠ½ΡΠΈΠΏΠ΅ ΠΊΠΎΠ½ΡΡΠ²Π·ΡΡΠ²Π°, Π²Π΅Π»ΠΈΡΡ Π² Π‘Π‘Π‘Π Ρ 1950-Ρ Π³ΠΎΠ΄ΠΎΠ². Π 1970-ΠΌ Π΅Π΅ ΠΊΠΎΠ½ΡΡΡΡΠΊΡΠΈΡ ΡΠΆΠ΅ Π±ΡΠ»Π° ΠΎΡΡΠ°Π±ΠΎΡΠ°Π½Π° Π²ΠΎ ΠΠΠΠ ΡΡΠ°Π»ΠΈ, Π½ΠΎ ΠΏΡΠΈΠ½ΡΡΡ Π΅Π΅ Π½Π° Π²ΠΎΠΎΡΡΠΆΠ΅Π½ΠΈΠ΅ ΠΌΠ΅ΡΠ°Π»Π° ΠΏΡΠΈΡ ΠΎΠ»ΠΎΠ³ΠΈΡΠ΅ΡΠΊΠ°Ρ Π½Π΅ΠΏΠΎΠ΄Π³ΠΎΡΠΎΠ²Π»Π΅Π½Π½ΠΎΡΡΡ Π²ΡΡΠΎΠΊΠΎΠΏΠΎΡΡΠ°Π²Π»Π΅Π½Π½ΡΡ ΠΏΡΠ΅Π΄ΡΡΠ°Π²ΠΈΡΠ΅Π»Π΅ΠΉ Π°ΡΠΌΠΈΠΈ ΠΈ ΠΏΡΠΎΠΌΡΡΠ»Π΅Π½Π½ΠΎΡΡΠΈ. Π£Π±Π΅Π΄ΠΈΡΡ ΠΈΡ ΠΏΠΎΠΌΠΎΠ³Π»ΠΎ ΡΠΎΠ»ΡΠΊΠΎ ΡΡΠΏΠ΅ΡΠ½ΠΎΠ΅ ΠΏΡΠΈΠΌΠ΅Π½Π΅Π½ΠΈΠ΅ ΠΈΠ·ΡΠ°ΠΈΠ»ΡΡΠΊΠΈΠΌΠΈ ΡΠ°Π½ΠΊΠΈΡΡΠ°ΠΌΠΈ Π°Π½Π°Π»ΠΎΠ³ΠΈΡΠ½ΠΎΠΉ Π±ΡΠΎΠ½ΠΈ Π½Π° ΡΠ°Π½ΠΊΠ°Ρ Π48 ΠΈ Π60 Π² Ρ ΠΎΠ΄Π΅ Π°ΡΠ°Π±ΠΎ-ΠΈΠ·ΡΠ°ΠΈΠ»ΡΡΠΊΠΎΠΉ Π²ΠΎΠΉΠ½Ρ 1982 Π³ΠΎΠ΄Π°.
β’ ΠΠΎΡΠΊΠΎΠ»ΡΠΊΡ ΡΠ΅Ρ Π½ΠΈΡΠ΅ΡΠΊΠΈΠ΅, ΠΊΠΎΠ½ΡΡΡΡΠΊΡΠΎΡΡΠΊΠΈΠ΅ ΠΈ ΡΠ΅Ρ Π½ΠΎΠ»ΠΎΠ³ΠΈΡΠ΅ΡΠΊΠΈΠ΅ ΡΠ΅ΡΠ΅Π½ΠΈΡ Π±ΡΠ»ΠΈ ΠΏΠΎΠ»Π½ΠΎΡΡΡΡ ΠΏΠΎΠ΄Π³ΠΎΡΠΎΠ²Π»Π΅Π½Ρ, ΠΎΡΠ½ΠΎΠ²Π½ΠΎΠΉ ΡΠ°Π½ΠΊΠΎΠ²ΡΠΉ ΠΏΠ°ΡΠΊ Π‘ΠΎΠ²Π΅ΡΡΠΊΠΎΠ³ΠΎ Π‘ΠΎΡΠ·Π° Π±ΡΠ» ΠΎΡΠ½Π°ΡΠ΅Π½ ΠΏΡΠΎΡΠΈΠ²ΠΎΠΊΡΠΌΡΠ»ΡΡΠΈΠ²Π½ΠΎΠΉ Π΄ΠΈΠ½Π°ΠΌΠΈΡΠ΅ΡΠΊΠΎΠΉ Π·Π°ΡΠΈΡΠΎΠΉ (ΠΠ) Β«ΠΠΎΠ½ΡΠ°ΠΊΡ-1Β» Π² ΡΠ΅ΠΊΠΎΡΠ΄Π½ΡΠΉ ΡΡΠΎΠΊ β Π²ΡΠ΅Π³ΠΎ Π·Π° Π³ΠΎΠ΄. Π£ΡΡΠ°Π½ΠΎΠ²ΠΊΠ° ΠΠ Π½Π° ΡΠ°Π½ΠΊΠΈ Π’-64Π, Π’-72Π, Π’-80Π, ΠΈ Π±Π΅Π· ΡΠΎΠ³ΠΎ ΡΠΆΠ΅ ΠΎΠ±Π»Π°Π΄Π°Π²ΡΠΈΠ΅ Π΄ΠΎΡΡΠ°ΡΠΎΡΠ½ΠΎ ΠΌΠΎΡΠ½ΡΠΌ Π±ΡΠΎΠ½ΠΈΡΠΎΠ²Π°Π½ΠΈΠ΅ΠΌ, ΠΏΡΠ°ΠΊΡΠΈΡΠ΅ΡΠΊΠΈ ΠΎΠ΄Π½ΠΎΠΌΠΎΠΌΠ΅Π½ΡΠ½ΠΎ ΠΎΠ±Π΅ΡΡΠ΅Π½ΠΈΠ»Π° ΡΡΡΠ΅ΡΡΠ²ΠΎΠ²Π°Π²ΡΠΈΠ΅ Π°ΡΡΠ΅Π½Π°Π»Ρ ΠΏΡΠΎΡΠΈΠ²ΠΎΡΠ°Π½ΠΊΠΎΠ²ΠΎΠ³ΠΎ ΡΠΏΡΠ°Π²Π»ΡΠ΅ΠΌΠΎΠ³ΠΎ Π²ΠΎΠΎΡΡΠΆΠ΅Π½ΠΈΡ ΠΏΠΎΡΠ΅Π½ΡΠΈΠ°Π»ΡΠ½ΡΡ ΠΏΡΠΎΡΠΈΠ²Π½ΠΈΠΊΠΎΠ².
ΠΡΠΎΡΠΈΠ² Π»ΠΎΠΌΠ° Π΅ΡΡΡ ΠΏΡΠΈΡΠΌΡ
β’ ΠΡΠΌΡΠ»ΡΡΠΈΠ²Π½ΡΠΉ ΡΠ½Π°ΡΡΠ΄ β Π½Π΅ Π΅Π΄ΠΈΠ½ΡΡΠ²Π΅Π½Π½ΠΎΠ΅ ΡΡΠ΅Π΄ΡΡΠ²ΠΎ ΠΏΠΎΡΠ°ΠΆΠ΅Π½ΠΈΡ Π±ΡΠΎΠ½Π΅ΡΠ΅Ρ Π½ΠΈΠΊΠΈ. ΠΠΎΡΠ°Π·Π΄ΠΎ Π±ΠΎΠ»Π΅Π΅ ΠΎΠΏΠ°ΡΠ½ΡΠ΅ ΠΏΡΠΎΡΠΈΠ²Π½ΠΈΠΊΠΈ Π±ΡΠΎΠ½ΠΈ β Π±ΡΠΎΠ½Π΅Π±ΠΎΠΉΠ½ΡΠ΅ ΠΏΠΎΠ΄ΠΊΠ°Π»ΠΈΠ±Π΅ΡΠ½ΡΠ΅ ΡΠ½Π°ΡΡΠ΄Ρ (ΠΠΠ‘). ΠΠΎ ΠΊΠΎΠ½ΡΡΡΡΠΊΡΠΈΠΈ ΡΠ°ΠΊΠΎΠΉ ΡΠ½Π°ΡΡΠ΄ ΠΏΡΠΎΡΡ β ΠΎΠ½ ΠΏΡΠ΅Π΄ΡΡΠ°Π²Π»ΡΠ΅Ρ ΡΠΎΠ±ΠΎΠΉ Π΄Π»ΠΈΠ½Π½ΡΠΉ Π»ΠΎΠΌ (ΡΠ΅ΡΠ΄Π΅ΡΠ½ΠΈΠΊ) ΠΈΠ· ΡΡΠΆΠ΅Π»ΠΎΠ³ΠΎ ΠΈ Π²ΡΡΠΎΠΊΠΎΠΏΡΠΎΡΠ½ΠΎΠ³ΠΎ ΠΌΠ°ΡΠ΅ΡΠΈΠ°Π»Π° (ΠΎΠ±ΡΡΠ½ΠΎ ΡΡΠΎ ΠΊΠ°ΡΠ±ΠΈΠ΄ Π²ΠΎΠ»ΡΡΡΠ°ΠΌΠ° ΠΈΠ»ΠΈ ΠΎΠ±Π΅Π΄Π½Π΅Π½Π½ΡΠΉ ΡΡΠ°Π½) Ρ ΠΎΠΏΠ΅ΡΠ΅Π½ΠΈΠ΅ΠΌ Π΄Π»Ρ ΡΡΠ°Π±ΠΈΠ»ΠΈΠ·Π°ΡΠΈΠΈ Π² ΠΏΠΎΠ»Π΅ΡΠ΅. ΠΠΈΠ°ΠΌΠ΅ΡΡ ΡΠ΅ΡΠ΄Π΅ΡΠ½ΠΈΠΊΠ° Π½Π°ΠΌΠ½ΠΎΠ³ΠΎ ΠΌΠ΅Π½ΡΡΠ΅ ΠΊΠ°Π»ΠΈΠ±ΡΠ° ΡΡΠ²ΠΎΠ»Π° β ΠΎΡΡΡΠ΄Π° ΠΈ Π½Π°Π·Π²Π°Π½ΠΈΠ΅ Β«ΠΏΠΎΠ΄ΠΊΠ°Π»ΠΈΠ±Π΅ΡΠ½ΡΠ΅Β». ΠΠ΅ΡΡΡΠΈΠΉ ΡΠΎ ΡΠΊΠΎΡΠΎΡΡΡΡ 1,5β1,6 ΠΊΠΌ/Ρ Β«Π΄ΡΠΎΡΠΈΠΊΒ» ΠΌΠ°ΡΡΠΎΠΉ Π² Π½Π΅ΡΠΊΠΎΠ»ΡΠΊΠΎ ΠΊΠΈΠ»ΠΎΠ³ΡΠ°ΠΌΠΌΠΎΠ² ΠΎΠ±Π»Π°Π΄Π°Π΅Ρ ΡΠ°ΠΊΠΎΠΉ ΠΊΠΈΠ½Π΅ΡΠΈΡΠ΅ΡΠΊΠΎΠΉ ΡΠ½Π΅ΡΠ³ΠΈΠ΅ΠΉ, ΡΡΠΎ ΠΏΡΠΈ ΠΏΠΎΠΏΠ°Π΄Π°Π½ΠΈΠΈ ΡΠΏΠΎΡΠΎΠ±Π΅Π½ ΠΏΡΠΎΠ±ΠΈΠ²Π°ΡΡ Π±ΠΎΠ»Π΅Π΅ 650 ΠΌΠΌ Π³ΠΎΠΌΠΎΠ³Π΅Π½Π½ΠΎΠΉ ΡΡΠ°Π»ΠΈ.
β’ ΠΡΠΈΡΡΠΌ ΠΎΠΏΠΈΡΠ°Π½Π½ΡΠ΅ Π²ΡΡΠ΅ ΡΠΏΠΎΡΠΎΠ±Ρ ΡΡΠΈΠ»Π΅Π½ΠΈΡ ΠΏΡΠΎΡΠΈΠ²ΠΎΠΊΡΠΌΡΠ»ΡΡΠΈΠ²Π½ΠΎΠΉ Π·Π°ΡΠΈΡΡ ΠΏΡΠ°ΠΊΡΠΈΡΠ΅ΡΠΊΠΈ Π½Π΅ Π²Π»ΠΈΡΡΡ Π½Π° ΠΏΠΎΠ΄ΠΊΠ°Π»ΠΈΠ±Π΅ΡΠ½ΡΠ΅ ΡΠ½Π°ΡΡΠ΄Ρ. ΠΠΎΠΏΡΠ΅ΠΊΠΈ Π·Π΄ΡΠ°Π²ΠΎΠΌΡ ΡΠΌΡΡΠ»Ρ, Π½Π°ΠΊΠ»ΠΎΠ½ Π±ΡΠΎΠ½Π΅Π²ΡΡ Π»ΠΈΡΡΠΎΠ² Π½Π΅ ΡΠΎΠ»ΡΠΊΠΎ Π½Π΅ Π²ΡΠ·ΡΠ²Π°Π΅Ρ ΡΠΈΠΊΠΎΡΠ΅Ρ ΠΏΠΎΠ΄ΠΊΠ°Π»ΠΈΠ±Π΅ΡΠ½ΠΎΠ³ΠΎ ΡΠ½Π°ΡΡΠ΄Π°, Π½ΠΎ Π΄Π°ΠΆΠ΅ ΠΎΡΠ»Π°Π±Π»ΡΠ΅Ρ ΡΡΠ΅ΠΏΠ΅Π½Ρ Π·Π°ΡΠΈΡΡ ΠΎΡ Π½ΠΈΡ ! Π‘ΠΎΠ²ΡΠ΅ΠΌΠ΅Π½Π½ΡΠ΅ Β«ΡΡΠ°Π±Π°ΡΡΠ²Π°ΡΡΠΈΠ΅ΡΡΒ» ΡΠ΅ΡΠ΄Π΅ΡΠ½ΠΈΠΊΠΈ Π½Π΅ ΡΠΈΠΊΠΎΡΠ΅ΡΠΈΡΡΡΡ: ΠΏΡΠΈ ΠΊΠΎΠ½ΡΠ°ΠΊΡΠ΅ Ρ Π±ΡΠΎΠ½Π΅ΠΉ Π½Π° ΠΏΠ΅ΡΠ΅Π΄Π½Π΅ΠΌ ΠΊΠΎΠ½ΡΠ΅ ΡΠ΅ΡΠ΄Π΅ΡΠ½ΠΈΠΊΠ° ΠΎΠ±ΡΠ°Π·ΡΠ΅ΡΡΡ Π³ΡΠΈΠ±ΠΎΠ²ΠΈΠ΄Π½ΡΠΉ ΠΎΠ³ΠΎΠ»ΠΎΠ²ΠΎΠΊ, ΠΈΠ³ΡΠ°ΡΡΠΈΠΉ ΡΠΎΠ»Ρ ΡΠ°ΡΠ½ΠΈΡΠ°, ΠΈ ΡΠ½Π°ΡΡΠ΄ Π΄ΠΎΠ²ΠΎΡΠ°ΡΠΈΠ²Π°Π΅ΡΡΡ Π² ΡΡΠΎΡΠΎΠ½Ρ ΠΏΠ΅ΡΠΏΠ΅Π½Π΄ΠΈΠΊΡΠ»ΡΡΠ° ΠΊ Π±ΡΠΎΠ½Π΅, ΡΠΎΠΊΡΠ°ΡΠ°Ρ ΠΏΡΡΡ Π² Π΅Π΅ ΡΠΎΠ»ΡΠ΅.
β’ Π‘Π»Π΅Π΄ΡΡΡΠΈΠΌ ΠΏΠΎΠΊΠΎΠ»Π΅Π½ΠΈΠ΅ΠΌ ΠΠ ΡΡΠ°Π»Π° ΡΠΈΡΡΠ΅ΠΌΠ° Β«ΠΠΎΠ½ΡΠ°ΠΊΡ-5Β». Π‘ΠΏΠ΅ΡΠΈΠ°Π»ΠΈΡΡΡ ΠΠΠ ΡΡΠ°Π»ΠΈ ΠΏΡΠΎΠ΄Π΅Π»Π°Π»ΠΈ Π±ΠΎΠ»ΡΡΡΡ ΡΠ°Π±ΠΎΡΡ, ΡΠ΅ΡΠΈΠ² ΠΌΠ½ΠΎΠΆΠ΅ΡΡΠ²ΠΎ ΠΏΡΠΎΡΠΈΠ²ΠΎΡΠ΅ΡΠΈΠ²ΡΡ ΠΏΡΠΎΠ±Π»Π΅ΠΌ: ΠΠ Π΄ΠΎΠ»ΠΆΠ½Π° Π±ΡΠ»Π° Π΄Π°Π²Π°ΡΡ ΠΌΠΎΡΠ½ΡΠΉ Π±ΠΎΠΊΠΎΠ²ΠΎΠΉ ΠΈΠΌΠΏΡΠ»ΡΡ, ΠΏΠΎΠ·Π²ΠΎΠ»ΡΡΡΠΈΠΉ Π΄Π΅ΡΡΠ°Π±ΠΈΠ»ΠΈΠ·ΠΈΡΠΎΠ²Π°ΡΡ ΠΈΠ»ΠΈ ΡΠ°Π·ΡΡΡΠΈΡΡ ΡΠ΅ΡΠ΄Π΅ΡΠ½ΠΈΠΊ ΠΠΠΠ‘, Π²Π·ΡΡΠ²ΡΠ°ΡΠΎΠ΅ Π²Π΅ΡΠ΅ΡΡΠ²ΠΎ Π΄ΠΎΠ»ΠΆΠ½ΠΎ Π±ΡΠ»ΠΎ Π½Π°Π΄Π΅ΠΆΠ½ΠΎ Π΄Π΅ΡΠΎΠ½ΠΈΡΠΎΠ²Π°ΡΡ ΠΎΡ Π½ΠΈΠ·ΠΊΠΎΡΠΊΠΎΡΠΎΡΡΠ½ΠΎΠ³ΠΎ (ΠΏΠΎ ΡΡΠ°Π²Π½Π΅Π½ΠΈΡ Ρ ΠΊΡΠΌΡΠ»ΡΡΠΈΠ²Π½ΠΎΠΉ ΡΡΡΡΠ΅ΠΉ) ΡΠ΅ΡΠ΄Π΅ΡΠ½ΠΈΠΊΠ° ΠΠΠΠ‘, Π½ΠΎ ΠΏΡΠΈ ΡΡΠΎΠΌ Π΄Π΅ΡΠΎΠ½Π°ΡΠΈΡ ΠΎΡ ΠΏΠΎΠΏΠ°Π΄Π°Π½ΠΈΡ ΠΏΡΠ»Ρ ΠΈ ΠΎΡΠΊΠΎΠ»ΠΊΠΎΠ² ΡΠ½Π°ΡΡΠ΄ΠΎΠ² ΠΈΡΠΊΠ»ΡΡΠ°Π»Π°ΡΡ. Π‘ ΡΡΠΈΠΌΠΈ ΠΏΡΠΎΠ±Π»Π΅ΠΌΠ°ΠΌΠΈ ΠΏΠΎΠΌΠΎΠ³Π»Π° ΡΠΏΡΠ°Π²ΠΈΡΡΡΡ ΠΊΠΎΠ½ΡΡΡΡΠΊΡΠΈΡ Π±Π»ΠΎΠΊΠΎΠ².
β’ ΠΡΡΡΠΊΠ° Π±Π»ΠΎΠΊΠ° ΠΠ Π²ΡΠΏΠΎΠ»Π½Π΅Π½Π° ΠΈΠ· ΡΠΎΠ»ΡΡΠΎΠΉ (ΠΎΠΊΠΎΠ»ΠΎ 20 ΠΌΠΌ) Π²ΡΡΠΎΠΊΠΎΠΏΡΠΎΡΠ½ΠΎΠΉ Π±ΡΠΎΠ½Π΅Π²ΠΎΠΉ ΡΡΠ°Π»ΠΈ. ΠΡΠΈ ΡΠ΄Π°ΡΠ΅ Π² Π½Π΅Π΅ ΠΠΠ‘ Π³Π΅Π½Π΅ΡΠΈΡΡΠ΅Ρ ΠΏΠΎΡΠΎΠΊ Π²ΡΡΠΎΠΊΠΎΡΠΊΠΎΡΠΎΡΡΠ½ΡΡ
ΠΎΡΠΊΠΎΠ»ΠΊΠΎΠ², ΠΊΠΎΡΠΎΡΡΠ΅ ΠΈ Π΄Π΅ΡΠΎΠ½ΠΈΡΡΡΡ Π·Π°ΡΡΠ΄. ΠΠΎΠ·Π΄Π΅ΠΉΡΡΠ²ΠΈΠ΅ Π½Π° ΠΠΠ‘ Π΄Π²ΠΈΠΆΡΡΠ΅ΠΉΡΡ ΡΠΎΠ»ΡΡΠΎΠΉ ΠΊΡΡΡΠΊΠΈ ΠΎΠΊΠ°Π·ΡΠ²Π°Π΅ΡΡΡ Π΄ΠΎΡΡΠ°ΡΠΎΡΠ½ΡΠΌ, ΡΡΠΎΠ±Ρ ΡΠ½ΠΈΠ·ΠΈΡΡ Π΅Π³ΠΎ Π±ΡΠΎΠ½Π΅ΠΏΡΠΎΠ±ΠΈΠ²Π½ΡΠ΅ Ρ
Π°ΡΠ°ΠΊΡΠ΅ΡΠΈΡΡΠΈΠΊΠΈ. ΠΠΎΠ·Π΄Π΅ΠΉΡΡΠ²ΠΈΠ΅ Π½Π° ΠΊΡΠΌΡΠ»ΡΡΠΈΠ²Π½ΡΡ ΡΡΡΡΡ ΡΠ°ΠΊΠΆΠ΅ ΡΠ²Π΅Π»ΠΈΡΠΈΠ²Π°Π΅ΡΡΡ ΠΏΠΎ ΡΡΠ°Π²Π½Π΅Π½ΠΈΡ Ρ ΡΠΎΠ½ΠΊΠΎΠΉ (3 ΠΌΠΌ) ΠΏΠ»Π°ΡΡΠΈΠ½ΠΎΠΉ Β«ΠΠΎΠ½ΡΠ°ΠΊΡ-1Β». Π ΡΠ΅Π·ΡΠ»ΡΡΠ°ΡΠ΅ ΡΡΡΠ°Π½ΠΎΠ²ΠΊΠ° ΠΠ Β«ΠΠΎΠ½ΡΠ°ΠΊΡ-5Β» Π½Π° ΡΠ°Π½ΠΊΠΈ ΠΏΠΎΠ²ΡΡΠ°Π΅Ρ ΠΏΡΠΎΡΠΈΠ²ΠΎΠΊΡΠΌΡΠ»ΡΡΠΈΠ²Π½ΡΡ ΡΡΠΎΠΉΠΊΠΎΡΡΡ Π² 1,5β1,8 ΡΠ°Π·Π° ΠΈ ΠΎΠ±Π΅ΡΠΏΠ΅ΡΠΈΠ²Π°Π΅Ρ ΠΏΠΎΠ²ΡΡΠ΅Π½ΠΈΠ΅ ΡΡΠΎΠ²Π½Ρ Π·Π°ΡΠΈΡΡ ΠΎΡ ΠΠΠ‘ Π² 1,2β1,5 ΡΠ°Π·Π°.
ΠΠΎΠΌΠΏΠ»Π΅ΠΊΡ Β«ΠΠΎΠ½ΡΠ°ΠΊΡ-5Β» ΡΡΡΠ°Π½Π°Π²Π»ΠΈΠ²Π°Π΅ΡΡΡ Π½Π° ΡΠΎΡΡΠΈΠΉΡΠΊΠΈΠ΅ ΡΠ΅ΡΠΈΠΉΠ½ΡΠ΅ ΡΠ°Π½ΠΊΠΈ Π’-80Π£, Π’-80Π£Π, Π’-72Π (Π½Π°ΡΠΈΠ½Π°Ρ Ρ 1988 Π³ΠΎΠ΄Π°) ΠΈ Π’-90.
β’ ΠΠΎΡΠ»Π΅Π΄Π½Π΅Π΅ ΠΏΠΎΠΊΠΎΠ»Π΅Π½ΠΈΠ΅ ΡΠΎΡΡΠΈΠΉΡΠΊΠΎΠΉ ΠΠ β ΠΊΠΎΠΌΠΏΠ»Π΅ΠΊΡ Β«Π Π΅Π»ΠΈΠΊΡΒ», ΡΠ°ΠΊΠΆΠ΅ ΡΠ°Π·ΡΠ°Π±ΠΎΡΠ°Π½Π½ΡΠΉ ΡΠΏΠ΅ΡΠΈΠ°Π»ΠΈΡΡΠ°ΠΌΠΈ ΠΠΠ ΡΡΠ°Π»ΠΈ. Π ΡΡΠΎΠ²Π΅ΡΡΠ΅Π½ΡΡΠ²ΠΎΠ²Π°Π½Π½ΡΡ ΠΠΠ ΡΠ΄Π°Π»ΠΎΡΡ ΡΡΡΡΠ°Π½ΠΈΡΡ ΠΌΠ½ΠΎΠ³ΠΈΠ΅ Π½Π΅Π΄ΠΎΡΡΠ°ΡΠΊΠΈ, Π½Π°ΠΏΡΠΈΠΌΠ΅Ρ Π½Π΅Π΄ΠΎΡΡΠ°ΡΠΎΡΠ½ΡΡ ΡΡΠ²ΡΡΠ²ΠΈΡΠ΅Π»ΡΠ½ΠΎΡΡΡ ΠΏΡΠΈ ΠΈΠ½ΠΈΡΠΈΠΈΡΠΎΠ²Π°Π½ΠΈΠΈ ΠΌΠ°Π»ΠΎΡΠΊΠΎΡΠΎΡΡΠ½ΡΠΌΠΈ ΠΊΠΈΠ½Π΅ΡΠΈΡΠ΅ΡΠΊΠΈΠΌΠΈ ΡΠ½Π°ΡΡΠ΄Π°ΠΌΠΈ ΠΈ Π½Π΅ΠΊΠΎΡΠΎΡΡΠΌΠΈ ΡΠΈΠΏΠ°ΠΌΠΈ ΠΊΡΠΌΡΠ»ΡΡΠΈΠ²Π½ΡΡ Π±ΠΎΠ΅ΠΏΡΠΈΠΏΠ°ΡΠΎΠ². ΠΠΎΠ²ΡΡΠ΅Π½Π½Π°Ρ ΡΡΡΠ΅ΠΊΡΠΈΠ²Π½ΠΎΡΡΡ ΠΏΡΠΈ Π·Π°ΡΠΈΡΠ΅ ΠΎΡ ΠΊΠΈΠ½Π΅ΡΠΈΡΠ΅ΡΠΊΠΈΡ ΠΈ ΠΊΡΠΌΡΠ»ΡΡΠΈΠ²Π½ΡΡ Π±ΠΎΠ΅ΠΏΡΠΈΠΏΠ°ΡΠΎΠ² Π΄ΠΎΡΡΠΈΠ³Π°Π΅ΡΡΡ Π·Π° ΡΡΠ΅Ρ ΠΏΡΠΈΠΌΠ΅Π½Π΅Π½ΠΈΡ Π΄ΠΎΠΏΠΎΠ»Π½ΠΈΡΠ΅Π»ΡΠ½ΡΡ ΠΌΠ΅ΡΠ°ΡΠ΅Π»ΡΠ½ΡΡ ΠΏΠ»Π°ΡΡΠΈΠ½ ΠΈ Π²ΠΊΠ»ΡΡΠ΅Π½ΠΈΡ Π² ΠΈΡ ΡΠΎΡΡΠ°Π² Π½Π΅ΠΌΠ΅ΡΠ°Π»Π»ΠΈΡΠ΅ΡΠΊΠΈΡ ΡΠ»Π΅ΠΌΠ΅Π½ΡΠΎΠ². Π ΡΠ΅Π·ΡΠ»ΡΡΠ°ΡΠ΅ Π±ΡΠΎΠ½Π΅ΠΏΡΠΎΠ±ΠΈΠ²Π°Π΅ΠΌΠΎΡΡΡ ΠΏΠΎΠ΄ΠΊΠ°Π»ΠΈΠ±Π΅ΡΠ½ΡΠΌΠΈ ΡΠ½Π°ΡΡΠ΄Π°ΠΌΠΈ ΡΠ½ΠΈΠΆΠ°Π΅ΡΡΡ Π½Π° 20β60%, Π° Π±Π»Π°Π³ΠΎΠ΄Π°ΡΡ Π²ΠΎΠ·ΡΠΎΡΡΠ΅ΠΌΡ Π²ΡΠ΅ΠΌΠ΅Π½ΠΈ Π²ΠΎΠ·Π΄Π΅ΠΉΡΡΠ²ΠΈΡ Π½Π° ΠΊΡΠΌΡΠ»ΡΡΠΈΠ²Π½ΡΡ ΡΡΡΡΡ ΡΠ΄Π°Π»ΠΎΡΡ Π΄ΠΎΠ±ΠΈΡΡΡΡ ΠΈ ΠΎΠΏΡΠ΅Π΄Π΅Π»Π΅Π½Π½ΠΎΠΉ ΡΡΡΠ΅ΠΊΡΠΈΠ²Π½ΠΎΡΡΠΈ ΠΏΠΎ ΠΊΡΠΌΡΠ»ΡΡΠΈΠ²Π½ΡΠΌ ΡΡΠ΅Π΄ΡΡΠ²Π°ΠΌ Ρ ΡΠ°Π½Π΄Π΅ΠΌΠ½ΠΎΠΉ Π±ΠΎΠ΅Π²ΠΎΠΉ ΡΠ°ΡΡΡΡ.
/Π.ΠΡΡΡΠ»ΠΈ, Β«ΠΠΎΠΏΡΠ»ΡΡΠ½Π°Ρ ΠΌΠ΅Ρ Π°Π½ΠΈΠΊΠ°Β»/
army-news.ru
ΠΠ°ΡΠΈΡΠ° ΡΠΎΠ²ΡΠ΅ΠΌΠ΅Π½Π½ΠΎΠΉ Π±ΡΠΎΠ½Π΅ΡΠ΅Ρ Π½ΠΈΠΊΠΈ | Armored Warfare: ΠΡΠΎΠ΅ΠΊΡ ΠΡΠΌΠ°ΡΠ°
ΠΠΎΠΉΡΡ!
ΠΠ»Ρ Π»ΡΠ±ΠΎΠΉ Π²ΠΎΠ΅Π½Π½ΠΎΠΉ ΡΠ΅Ρ Π½ΠΈΠΊΠΈ ΡΡΡΠ΅ΡΡΠ²ΡΡΡ ΡΡΠΈ ΠΎΡΠ½ΠΎΠ²Π½ΡΠ΅ Ρ Π°ΡΠ°ΠΊΡΠ΅ΡΠΈΡΡΠΈΠΊΠΈ β ΠΏΠΎΠ΄Π²ΠΈΠΆΠ½ΠΎΡΡΡ, ΠΎΠ³Π½Π΅Π²Π°Ρ ΠΌΠΎΡΡ ΠΈ Π·Π°ΡΠΈΡΠ°. Π‘Π΅Π³ΠΎΠ΄Π½Ρ ΠΌΡ ΠΏΠΎΠ³ΠΎΠ²ΠΎΡΠΈΠΌ ΠΎ Π·Π°ΡΠΈΡΠ΅, ΠΎ ΡΠΎΠΌ, ΠΊΠ°ΠΊ ΡΠΎΠ²ΡΠ΅ΠΌΠ΅Π½Π½ΡΠ΅ ΠΎΡΠ½ΠΎΠ²Π½ΡΠ΅ Π±ΠΎΠ΅Π²ΡΠ΅ ΡΠ°Π½ΠΊΠΈ ΠΌΠΎΠ³ΡΡ ΡΠ²Π΅ΡΠ΅Π½Π½ΠΎ ΠΈ ΡΡΠΏΠ΅ΡΠ½ΠΎ ΠΏΡΠΎΡΠΈΠ²ΠΎΡΡΠΎΡΡΡ ΡΠ³ΡΠΎΠ·Π°ΠΌ, ΠΊΠΎΡΠΎΡΡΠ΅ Π²ΡΡΡΠ΅ΡΠ°ΡΡ Π½Π° ΠΏΠΎΠ»Π΅ Π±ΠΎΡ. ΠΠ°ΡΠ½Π΅ΠΌ Ρ ΡΠ°ΠΌΠΎΠ³ΠΎ Π³Π»Π°Π²Π½ΠΎΠ³ΠΎ ΠΈ Π²Π°ΠΆΠ½ΠΎΠ³ΠΎ β Ρ Π±ΡΠΎΠ½ΠΈ.
ΠΠΎΠ³Π΄Π° ΡΠ½Π°ΡΡΠ΄ ΠΏΠΎΡΡΠΈ ΠΏΠΎΠ±Π΅Π΄ΠΈΠ» Π±ΡΠΎΠ½Ρ
ΠΠΏΠ»ΠΎΡΡ Π΄ΠΎ 60-Ρ Π³ΠΎΠ΄ΠΎΠ² ΠΏΡΠΎΡΠ»ΠΎΠ³ΠΎ ΡΡΠΎΠ»Π΅ΡΠΈΡ ΠΎΡΠ½ΠΎΠ²Π½ΡΠΌ ΠΌΠ°ΡΠ΅ΡΠΈΠ°Π»ΠΎΠΌ Π΄Π»Ρ Π±ΡΠΎΠ½ΠΈ ΡΠ²Π»ΡΠ»Π°ΡΡ ΡΡΠ°Π»Ρ ΡΡΠ΅Π΄Π½Π΅ΠΉ ΠΈ Π²ΡΡΠΎΠΊΠΎΠΉ ΡΠ²Π΅ΡΠ΄ΠΎΡΡΠΈ. ΠΡΠΆΠ½ΠΎ ΡΠ»ΡΡΡΠΈΡΡ Π·Π°ΡΠΈΡΡ ΡΠ°Π½ΠΊΠ°? Π£Π²Π΅Π»ΠΈΡΠΈΠ²Π°Π΅ΠΌ ΡΠΎΠ»ΡΠΈΠ½Ρ ΡΡΠ°Π»ΡΠ½ΡΡ Π»ΠΈΡΡΠΎΠ², ΡΠ°ΡΠΏΠΎΠ»Π°Π³Π°Π΅ΠΌ ΠΈΡ ΠΏΠΎΠ΄ ΡΠ°ΡΠΈΠΎΠ½Π°Π»ΡΠ½ΡΠΌΠΈ ΡΠ³Π»Π°ΠΌΠΈ Π½Π°ΠΊΠ»ΠΎΠ½Π°, Π΄Π΅Π»Π°Π΅ΠΌ Π²Π΅ΡΡ Π½ΠΈΠ΅ ΡΠ»ΠΎΠΈ Π±ΡΠΎΠ½ΠΈ ΡΠ²Π΅ΡΠΆΠ΅ ΠΈΠ»ΠΈ ΡΠΎΠ·Π΄Π°Π΅ΠΌ ΡΠ°ΠΊΡΡ ΠΊΠΎΠΌΠΏΠΎΠ½ΠΎΠ²ΠΊΡ ΡΠ°Π½ΠΊΠ°, ΡΡΠΎΠ±Ρ ΠΈΠΌΠ΅ΡΡ Π²ΠΎΠ·ΠΌΠΎΠΆΠ½ΠΎΡΡΡ ΡΠ΄Π΅Π»Π°ΡΡ Π²ΠΎ Π»Π±Ρ Π±ΠΎΠ΅Π²ΠΎΠΉ ΠΌΠ°ΡΠΈΠ½Ρ ΠΌΠ°ΠΊΡΠΈΠΌΠ°Π»ΡΠ½ΠΎ ΡΠΎΠ»ΡΡΡΡ Π±ΡΠΎΠ½Ρ.
ΠΠ΄Π½Π°ΠΊΠΎ ΠΊ ΡΠ΅ΡΠ΅Π΄ΠΈΠ½Π΅ 50-Ρ Π³ΠΎΠ΄ΠΎΠ² ΠΏΡΠΎΡΠ»ΠΎΠ³ΠΎ ΡΡΠΎΠ»Π΅ΡΠΈΡ ΠΏΠΎΡΠ²ΠΈΠ»ΠΈΡΡ Π½ΠΎΠ²ΡΠ΅ ΡΠΈΠΏΡ Π±ΡΠΎΠ½Π΅Π±ΠΎΠΉΠ½ΡΡ ΠΊΡΠΌΡΠ»ΡΡΠΈΠ²Π½ΡΡ ΡΠ½Π°ΡΡΠ΄ΠΎΠ², Ρ Π°ΡΠ°ΠΊΡΠ΅ΡΠΈΠ·ΡΡΡΠΈΠ΅ΡΡ ΡΡΠ΅Π·Π²ΡΡΠ°ΠΉΠ½ΠΎ Π²ΡΡΠΎΠΊΠΈΠΌΠΈ ΠΏΠΎΠΊΠ°Π·Π°ΡΠ΅Π»ΡΠΌΠΈ ΠΏΡΠΎΠ±ΠΈΡΠΈΡ. ΠΠ°ΡΡΠΎΠ»ΡΠΊΠΎ Π²ΡΡΠΎΠΊΠΈΠΌΠΈ, ΡΡΠΎ ΡΡΠΈ ΡΠ½Π°ΡΡΠ΄Ρ Π½Π΅ Π΄Π΅ΡΠΆΠ°Π»Π° Π±ΡΠΎΠ½Ρ Π½ΠΈ ΡΡΠ΅Π΄Π½ΠΈΡ , Π½ΠΈ ΡΡΠΆΠ΅Π»ΡΡ ΡΠ°Π½ΠΊΠΎΠ² ΡΠΎΠ³ΠΎ Π²ΡΠ΅ΠΌΠ΅Π½ΠΈ. Π Π²Π΅Π΄Ρ Π½Π° ΠΏΠΎΠ΄Ρ ΠΎΠ΄Π΅ Π±ΡΠ»ΠΈ Π΅ΡΠ΅ ΠΏΡΠΎΡΠΈΠ²ΠΎΡΠ°Π½ΠΊΠΎΠ²ΡΠ΅ ΡΠΏΡΠ°Π²Π»ΡΠ΅ΠΌΡΠ΅ ΡΠ°ΠΊΠ΅ΡΡ (ΠΈΠ»ΠΈ, ΡΠΎΠΊΡΠ°ΡΠ΅Π½Π½ΠΎ, ΠΠ’Π£Π ), ΡΡΠ΅ ΠΏΡΠΎΠ±ΠΈΡΠΈΠ΅ Π΄ΠΎΡΡΠΈΠ³Π°Π»ΠΎ Π·Π½Π°ΡΠ΅Π½ΠΈΠΉ Π² 300β400 ΠΌΠΈΠ»Π»ΠΈΠΌΠ΅ΡΡΠΎΠ² ΡΡΠ°Π»ΠΈ. ΠΠ° ΠΈ ΠΎΠ±ΡΡΠ½ΡΠ΅ Π±ΡΠΎΠ½Π΅Π±ΠΎΠΉΠ½ΡΠ΅ ΠΈΠ»ΠΈ ΠΏΠΎΠ΄ΠΊΠ°Π»ΠΈΠ±Π΅ΡΠ½ΡΠ΅ ΡΠ½Π°ΡΡΠ΄Ρ Π½Π΅ ΠΎΡΡΡΠ°Π²Π°Π»ΠΈ β ΠΈΡ ΠΏΠΎΠΊΠ°Π·Π°ΡΠ΅Π»ΠΈ ΠΏΡΠΎΠ±ΠΈΡΠΈΡ ΡΡΡΠ΅ΠΌΠΈΡΠ΅Π»ΡΠ½ΠΎ Π²ΠΎΠ·ΡΠ°ΡΡΠ°Π»ΠΈ.

ΠΡΠΈ Π²ΡΠ΅Ρ ΡΠ²ΠΎΠΈΡ ΠΏΡΠ΅ΠΈΠΌΡΡΠ΅ΡΡΠ²Π°Ρ Π’-54 ΠΈ Π’-55 ΠΊ ΠΊΠΎΠ½ΡΡ 50-Ρ - Π½Π°ΡΠ°Π»Ρ 60-Ρ Π³ΠΎΠ΄ΠΎΠ² Π½Π΅ ΠΎΠ±Π»Π°Π΄Π°Π»ΠΈ Π΄ΠΎΡΡΠ°ΡΠΎΡΠ½ΡΠΌ ΡΡΠΎΠ²Π½Π΅ΠΌ Π·Π°ΡΠΈΡΠ΅Π½Π½ΠΎΡΡΠΈ.
ΠΠ° ΠΏΠ΅ΡΠ²ΡΠΉ Π²Π·Π³Π»ΡΠ΄ ΡΠ΅ΡΠ΅Π½ΠΈΠ΅ ΠΏΡΠΎΠ±Π»Π΅ΠΌΡ ΠΊΠ°Π·Π°Π»ΠΎΡΡ ΠΏΡΠΎΡΡΡΠΌ β ΡΠ½ΠΎΠ²Π° ΡΠ²Π΅Π»ΠΈΡΠΈΠ²Π°ΡΡ ΡΠΎΠ»ΡΠΈΠ½Ρ Π±ΡΠΎΠ½ΠΈ. ΠΠΎ, Π½Π°ΡΠ°ΡΠΈΠ²Π°Ρ ΠΌΠΈΠ»Π»ΠΈΠΌΠ΅ΡΡΡ ΡΡΠ°Π»ΠΈ, Π±ΠΎΠ΅Π²Π°Ρ ΡΠ΅Ρ Π½ΠΈΠΊΠ° ΠΏΠΎΠ»ΡΡΠ°Π΅Ρ ΠΈ ΡΠΎΠ½Π½Ρ Π»ΠΈΡΠ½Π΅ΠΉ ΠΌΠ°ΡΡΡ. Π ΡΡΠΎ Π½Π°ΠΏΡΡΠΌΡΡ Π²Π»ΠΈΡΠ΅Ρ Π½Π° ΠΏΠΎΠ΄Π²ΠΈΠΆΠ½ΠΎΡΡΡ ΡΠ°Π½ΠΊΠ°, Π΅Π³ΠΎ Π½Π°Π΄Π΅ΠΆΠ½ΠΎΡΡΡ, ΠΏΡΠΎΡΡΠΎΡΡ ΠΎΠ±ΡΠ»ΡΠΆΠΈΠ²Π°Π½ΠΈΡ ΠΈ ΡΡΠΎΠΈΠΌΠΎΡΡΡ ΠΈΠ·Π³ΠΎΡΠΎΠ²Π»Π΅Π½ΠΈΡ. ΠΠΎΡΠΎΠΌΡ ΠΊ Π²ΠΎΠΏΡΠΎΡΡ ΡΠ²Π΅Π»ΠΈΡΠ΅Π½ΠΈΡ Π·Π°ΡΠΈΡΡ ΡΠ°Π½ΠΊΠ° ΠΏΠΎΡΡΠ΅Π±ΠΎΠ²Π°Π»ΠΎΡΡ ΠΏΠΎΠ΄ΠΎΠΉΡΠΈ Ρ Π΄ΡΡΠ³ΠΎΠΉ ΡΡΠΎΡΠΎΠ½Ρ.
ΠΡΠΎΡΠΈΠ²ΠΎΡΠ½Π°ΡΡΠ΄Π½ΡΠΉ Π±ΡΡΠ΅ΡΠ±ΡΠΎΠ΄
Π Π°ΡΡΡΠΆΠ΄Π°Ρ Π² ΡΠ°ΠΊΠΎΠΌ ΠΊΠ»ΡΡΠ΅, ΠΊΠΎΠ½ΡΡΡΡΠΊΡΠΎΡΡ ΠΏΡΠΈΡΠ»ΠΈ ΠΊ Π·Π°ΠΊΠΎΠ½ΠΎΠΌΠ΅ΡΠ½ΠΎΠΌΡ Π²ΡΠ²ΠΎΠ΄Ρ β Π½ΡΠΆΠ½ΠΎ Π½Π°ΠΉΡΠΈ Π½Π΅ΠΊΠΈΠΉ ΠΌΠ°ΡΠ΅ΡΠΈΠ°Π» ΠΈΠ»ΠΈ ΠΊΠΎΠΌΠ±ΠΈΠ½Π°ΡΠΈΡ ΠΌΠ°ΡΠ΅ΡΠΈΠ°Π»ΠΎΠ², ΠΊΠΎΡΠΎΡΡΠ΅ ΠΎΠ±Π΅ΡΠΏΠ΅ΡΠΈΠ»ΠΈ Π±Ρ Π½Π°Π΄Π΅ΠΆΠ½ΡΡ Π·Π°ΡΠΈΡΡ ΠΎΡ ΠΊΡΠΌΡΠ»ΡΡΠΈΠ²Π½ΠΎΠΉ ΡΡΡΡΠΈ ΠΏΡΠΈ ΠΎΡΠ½ΠΎΡΠΈΡΠ΅Π»ΡΠ½ΠΎ ΠΌΠ°Π»ΠΎΠΉ ΠΌΠ°ΡΡΠ΅.
ΠΠ°Π»ΡΡΠ΅ Π²ΡΠ΅Π³ΠΎ ΡΠ°Π·ΡΠ°Π±ΠΎΡΠΊΠΈ Π² ΡΡΠΎΠΌ Π½Π°ΠΏΡΠ°Π²Π»Π΅Π½ΠΈΠΈ ΠΏΡΠΎΠ΄Π²ΠΈΠ½ΡΠ»ΠΈΡΡ Π² Π‘ΠΎΠ²Π΅ΡΡΠΊΠΎΠΌ Π‘ΠΎΡΠ·Π΅, Π³Π΄Π΅ Π² ΠΊΠΎΠ½ΡΠ΅ 50-Ρ Π½Π°ΡΠ°Π»ΠΈ ΡΠΊΡΠΏΠ΅ΡΠΈΠΌΠ΅Π½ΡΠΈΡΠΎΠ²Π°ΡΡ ΡΠΎ ΡΡΠ΅ΠΊΠ»ΠΎΠΏΠ»Π°ΡΡΠΈΠΊΠΎΠΌ ΠΈ Ρ Π»Π΅Π³ΠΊΠΈΠΌΠΈ ΡΠΏΠ»Π°Π²Π°ΠΌΠΈ Π½Π° ΠΎΡΠ½ΠΎΠ²Π΅ ΡΠΈΡΠ°Π½Π° ΠΈΠ»ΠΈ Π°Π»ΡΠΌΠΈΠ½ΠΈΡ. ΠΡΠΏΠΎΠ»ΡΠ·ΠΎΠ²Π°Π½ΠΈΠ΅ ΡΡΠΈΡ ΠΌΠ°ΡΠ΅ΡΠΈΠ°Π»ΠΎΠ² Π² ΡΠΎΡΠ΅ΡΠ°Π½ΠΈΠΈ ΡΠΎ ΡΡΠ°Π»ΡΡ ΡΡΠ΅Π΄Π½Π΅ΠΉ ΡΠ²Π΅ΡΠ΄ΠΎΡΡΠΈ Π΄Π°Π²Π°Π»ΠΎ Π½Π΅ΠΏΠ»ΠΎΡ ΠΎΠΉ Π²ΡΠΈΠ³ΡΡΡ Π² ΠΌΠ°ΡΡΠ΅ Π±ΡΠΎΠ½ΠΈ. Π Π΅Π·ΡΠ»ΡΡΠ°ΡΡ Π²ΡΠ΅Ρ ΡΡΠΈΡ ΠΈΠ·ΡΡΠΊΠ°Π½ΠΈΠΉ Π²ΠΎΠΏΠ»ΠΎΡΠΈΠ»ΠΈΡΡ Π² ΠΏΠ΅ΡΠ²ΠΎΠΌ ΠΎΡΠ½ΠΎΠ²Π½ΠΎΠΌ Π±ΠΎΠ΅Π²ΠΎΠΌ ΡΠ°Π½ΠΊΠ΅ Ρ ΠΊΠΎΠΌΠ±ΠΈΠ½ΠΈΡΠΎΠ²Π°Π½Π½ΠΎΠΉ Π±ΡΠΎΠ½Π΅ΠΉ β Π’-64.

Β
ΠΠ³ΠΎ Π²Π΅ΡΡ Π½ΡΡ Π»ΠΎΠ±ΠΎΠ²Π°Ρ Π΄Π΅ΡΠ°Π»Ρ ΠΏΡΠ΅Π΄ΡΡΠ°Π²Π»ΡΠ»Π° ΡΠΎΠ±ΠΎΠΉ Β«Π±ΡΡΠ΅ΡΠ±ΡΠΎΠ΄Β» ΠΈΠ· 80-ΠΌΠΌ Π»ΠΈΡΡΠ° ΡΡΠ°Π»ΠΈ, Π΄Π²ΡΡ Π»ΠΈΡΡΠΎΠ² ΡΡΠ΅ΠΊΠ»ΠΎΡΠ΅ΠΊΡΡΠΎΠ»ΠΈΡΠ° ΠΎΠ±ΡΠ΅ΠΉ ΡΠΎΠ»ΡΠΈΠ½ΠΎΠΉ 105 ΠΌΠΌ ΠΈ Π΅ΡΠ΅ ΠΎΠ΄Π½ΠΎΠ³ΠΎ 20-ΠΌΠΌ Π»ΠΈΡΡΠ° ΡΡΠ°Π»ΠΈ ΡΠ½ΠΈΠ·Ρ. ΠΠΎΠ±ΠΎΠ²Π°Ρ Π±ΡΠΎΠ½Ρ ΡΠ°Π½ΠΊΠ° Π±ΡΠ»Π° ΡΠ°ΡΠΏΠΎΠ»ΠΎΠΆΠ΅Π½Π° ΠΏΠΎΠ΄ ΡΠ³Π»ΠΎΠΌ Π½Π°ΠΊΠ»ΠΎΠ½Π° Π² 68Β°, ΡΡΠΎ Π² ΠΈΡΠΎΠ³Π΅ Π΄Π°Π²Π°Π»ΠΎ Π΅ΡΡ Π±ΠΎΠ»Π΅Π΅ ΡΠΎΠ»ΠΈΠ΄Π½ΡΡ ΡΠΎΠ»ΡΠΈΠ½Ρ Π±ΡΠΎΠ½ΠΈ. ΠΠ°ΡΠ½Ρ Π’-64 Π΄Π»Ρ ΡΠ²ΠΎΠ΅Π³ΠΎ Π²ΡΠ΅ΠΌΠ΅Π½ΠΈ ΡΠ°ΠΊΠΆΠ΅ Π±ΡΠ»Π° Π·Π°ΡΠΈΡΠ΅Π½Π° Π½Π° ΠΎΡΠ»ΠΈΡΠ½ΠΎ β Π±ΡΠ΄ΡΡΠΈ ΠΎΡΠ»ΠΈΡΠΎΠΉ ΠΈΠ· ΡΡΠ°Π»ΠΈ, ΠΎΠ½Π° ΠΈΠΌΠ΅Π»Π° Π²ΠΎ Π»Π±Ρ ΠΏΡΡΡΠΎΡΡ ΡΠΏΡΠ°Π²Π° ΠΈ ΡΠ»Π΅Π²Π° ΠΎΡ ΠΎΡΡΠ΄ΠΈΡ, ΠΊΠΎΡΠΎΡΡΠ΅ Π·Π°ΠΏΠΎΠ»Π½ΡΠ»ΠΈΡΡ Π°Π»ΡΠΌΠΈΠ½ΠΈΠ΅Π²ΡΠΌ ΡΠΏΠ»Π°Π²ΠΎΠΌ.
ΠΠ΅ΡΠ°ΠΌΠΈΠΊΠ° ΠΏΡΠΎΡΠΈΠ² Π²ΠΎΠ»ΡΡΡΠ°ΠΌΠ°
Π§Π΅ΡΠ΅Π· Π½Π΅ΠΊΠΎΡΠΎΡΠΎΠ΅ Π²ΡΠ΅ΠΌΡ ΠΊΠΎΠ½ΡΡΡΡΠΊΡΠΎΡΡ ΠΎΡΠΊΡΡΠ»ΠΈ Π΄Π»Ρ ΡΠ΅Π±Ρ ΠΏΡΠ΅ΠΈΠΌΡΡΠ΅ΡΡΠ²Π° ΠΊΠ΅ΡΠ°ΠΌΠΈΠΊΠΈ. ΠΠ±Π»Π°Π΄Π°Ρ Π² 2β3 ΡΠ°Π·Π° ΠΌΠ΅Π½ΡΡΠ΅ΠΉ ΠΏΠ»ΠΎΡΠ½ΠΎΡΡΡΡ, ΡΠ΅ΠΌ ΡΡΠ°Π»Ρ, ΠΊΠ΅ΡΠ°ΠΌΠΈΠΊΠ° ΠΏΡΠ΅Π²ΠΎΡΡ ΠΎΠ΄Π½ΠΎ ΠΏΡΠΎΡΠΈΠ²ΠΎΡΡΠΎΠΈΡ ΠΏΡΠΎΠ½ΠΈΠΊΠ½ΠΎΠ²Π΅Π½ΠΈΡΒ ΠΊΠ°ΠΊ ΠΊΡΠΌΡΠ»ΡΡΠΈΠ²Π½ΠΎΠΉ ΡΡΡΡΠΈ, ΡΠ°ΠΊ ΠΈ ΡΠ΅ΡΠ΄Π΅ΡΠ½ΠΈΠΊΠ° ΠΎΠΏΠ΅ΡΠ΅Π½Π½ΠΎΠ³ΠΎ ΠΏΠΎΠ΄ΠΊΠ°Π»ΠΈΠ±Π΅ΡΠ½ΠΎΠ³ΠΎ ΡΠ½Π°ΡΡΠ΄Π°.
Π Π‘ΠΎΠ²Π΅ΡΡΠΊΠΎΠΌ Π‘ΠΎΡΠ·Π΅ ΠΊΠΎΠΌΠ±ΠΈΠ½ΠΈΡΠΎΠ²Π°Π½Π½Π°Ρ Π±ΡΠΎΠ½Ρ Ρ ΠΈΡΠΏΠΎΠ»ΡΠ·ΠΎΠ²Π°Π½ΠΈΠ΅ΠΌ ΠΊΠ΅ΡΠ°ΠΌΠΈΠΊΠΈ ΠΏΠΎΡΠ²ΠΈΠ»Π°ΡΡ Π² Π½Π°ΡΠ°Π»Π΅ 70-Ρ Π³ΠΎΠ΄ΠΎΠ² ΠΏΡΠΎΡΠ»ΠΎΠ³ΠΎ ΡΡΠΎΠ»Π΅ΡΠΈΡ Π½Π° ΠΎΡΠ½ΠΎΠ²Π½ΠΎΠΌ Π±ΠΎΠ΅Π²ΠΎΠΌ ΡΠ°Π½ΠΊΠ΅ Π’-64Π, Π³Π΄Π΅ Π² Π±Π°ΡΠ½Π΅ Π²ΠΌΠ΅ΡΡΠΎ Π°Π»ΡΠΌΠΈΠ½ΠΈΠ΅Π²ΠΎΠ³ΠΎ ΡΠΏΠ»Π°Π²Π° Π² ΠΊΠ°ΡΠ΅ΡΡΠ²Π΅ Π½Π°ΠΏΠΎΠ»Π½ΠΈΡΠ΅Π»Ρ ΠΈΡΠΏΠΎΠ»ΡΠ·ΠΎΠ²Π°Π»ΠΈΡΡ ΡΠ°ΡΡ ΠΈΠ· ΠΊΠΎΡΡΠ½Π΄Π°, Π·Π°Π»ΠΈΡΡΠ΅ ΡΡΠ°Π»ΡΡ.
Β

Π‘Ρ Π΅ΠΌΠ° Π±ΡΠΎΠ½ΠΈΡΠΎΠ²Π°Π½ΠΈΡ Π±Π°ΡΠ½ΠΈ Π’-64Π. ΠΡΡΠ³Π»ΡΠ΅ ΡΠ»Π΅ΠΌΠ΅Π½ΡΡ β ΡΡΠΎ ΡΠ΅ ΡΠ°ΠΌΡΠ΅ ΡΠ°ΡΡ ΠΈΠ· ΠΊΠΎΡΡΠ½Π΄Π°, ΠΊΠΎΡΠΎΡΡΠΌΠΈ Π·Π°ΠΏΠΎΠ»Π½ΡΠ»ΠΈΡΡ Π½ΠΈΡΠΈ Π²ΠΎ Π»Π±Ρ Π±Π°ΡΠ½ΠΈ ΡΠ»Π΅Π²Π° ΠΈ ΡΠΏΡΠ°Π²Π° ΠΎΡ ΠΎΡΡΠ΄ΠΈΡ.
ΠΠΎ Π½Π΅ ΡΠΎΠ»ΡΠΊΠΎ Π‘ΠΎΠ²Π΅ΡΡΠΊΠΈΠΉ Π‘ΠΎΡΠ· ΠΈΡΠΏΠΎΠ»ΡΠ·ΠΎΠ²Π°Π½ΠΈΠ» ΠΊΠ΅ΡΠ°ΠΌΠΈΠΊΡ. Π 60-Ρ Π³ΠΎΠ΄Π°Ρ Π² ΠΠ½Π³Π»ΠΈΠΈ Π±ΡΠ»Π° ΡΠΎΠ·Π΄Π°Π½Π° ΠΊΠΎΠΌΠ±ΠΈΠ½ΠΈΡΠΎΠ²Π°Π½Π½Π°Ρ Π±ΡΠΎΠ½Ρ Β«Π§ΠΎΠ±Ρ ΡΠΌΒ», ΠΏΡΠ΅Π΄ΡΡΠ°Π²Π»ΡΡΡΠ°Ρ ΡΠΎΠ±ΠΎΠΉ ΠΏΠ°ΠΊΠ΅Ρ ΠΈΠ· ΠΌΠ½ΠΎΠΆΠ΅ΡΡΠ²Π° ΡΠ»ΠΎΠ΅Π² ΡΡΠ°Π»ΠΈ, ΠΊΠ΅ΡΠ°ΠΌΠΈΠΊΠΈ, ΠΏΠΎΠ»ΠΈΠΌΠ΅ΡΠΎΠ² ΠΈ ΡΠ²ΡΠ·ΡΡΡΠΈΡ ΠΌΠ°ΡΠ΅ΡΠΈΠ°Π»ΠΎΠ². ΠΡΠΈ ΡΠ²ΠΎΠ΅ΠΉ Π²ΡΡΠΎΠΊΠΎΠΉ ΡΡΠΎΠΈΠΌΠΎΡΡΠΈ Β«Π§ΠΎΠ±Ρ ΡΠΌΒ» ΠΏΠΎΠΊΠ°Π·ΡΠ²Π°Π» ΠΏΡΠ΅Π²ΠΎΡΡ ΠΎΠ΄Π½ΡΡ ΡΡΠΎΠΉΠΊΠΎΡΡΡ ΠΏΡΠΎΡΠΈΠ² ΠΊΡΠΌΡΠ»ΡΡΠΈΠ²Π½ΡΡ ΡΠ½Π°ΡΡΠ΄ΠΎΠ² ΠΈ ΡΠ΄ΠΎΠ²Π»Π΅ΡΠ²ΠΎΡΠΈΡΠ΅Π»ΡΠ½ΡΡ ΡΡΠΎΠΉΠΊΠΎΡΡΡ ΠΏΡΠΎΡΠΈΠ² ΠΎΠΏΠ΅ΡΠ΅Π½Π½ΡΡ ΠΏΠΎΠ΄ΠΊΠ°Π»ΠΈΠ±Π΅ΡΠ½ΡΡ ΡΠ½Π°ΡΡΠ΄ΠΎΠ² Ρ Π²ΠΎΠ»ΡΡΡΠ°ΠΌΠΎΠ²ΡΠΌΠΈ ΡΠ΅ΡΠ΄Π΅ΡΠ½ΠΈΠΊΠ°ΠΌΠΈ. Π Π΄Π°Π»ΡΠ½Π΅ΠΉΡΠ΅ΠΌ Π±ΡΠΎΠ½Ρ Β«Π§ΠΎΠ±Ρ ΡΠΌΒ» ΠΈ Π΅Π΅ ΠΌΠΎΠ΄ΠΈΡΠΈΠΊΠ°ΡΠΈΠΈ Π±ΡΠ»ΠΈ Π²Π½Π΅Π΄ΡΠ΅Π½Ρ Π½Π° Π½ΠΎΠ²Π΅ΠΉΡΠΈΠ΅ Π·Π°ΠΏΠ°Π΄Π½ΡΠ΅ ΠΎΡΠ½ΠΎΠ²Π½ΡΠ΅ Π±ΠΎΠ΅Π²ΡΠ΅ ΡΠ°Π½ΠΊΠΈ: Π°ΠΌΠ΅ΡΠΈΠΊΠ°Π½ΡΠΊΠΈΠΉ Π1 Β«ΠΠ±ΡΠ°ΠΌΡΒ», Π½Π΅ΠΌΠ΅ΡΠΊΠΈΠΉ Β«ΠΠ΅ΠΎΠΏΠ°ΡΠ΄-2Β» ΠΈ Π±ΡΠΈΡΠ°Π½ΡΠΊΠΈΠΉ Β«Π§Π΅Π»Π»Π΅Π½Π΄ΠΆΠ΅ΡΒ».
ΠΡΠ΄Π΅Π»ΡΠ½ΠΎΠ³ΠΎ ΡΠΏΠΎΠΌΠΈΠ½Π°Π½ΠΈΡ ΡΡΠΎΠΈΡ ΡΠ°ΠΊ Π½Π°Π·ΡΠ²Π°Π΅ΠΌΠ°Ρ Β«ΡΡΠ°Π½ΠΎΠ²Π°Ρ Π±ΡΠΎΠ½ΡΒ» β Π΄Π°Π»ΡΠ½Π΅ΠΉΡΠ΅Π΅ ΡΠ°Π·Π²ΠΈΡΠΈΠ΅ Π±ΡΠΎΠ½ΠΈ Β«Π§ΠΎΠ±Ρ ΡΠΌΒ», ΠΊΠΎΡΠΎΡΡΡ ΡΡΠΈΠ»ΠΈΠ»ΠΈ ΠΏΠ»ΠΈΡΠ°ΠΌΠΈ ΠΈΠ· ΠΎΠ±Π΅Π΄Π½Π΅Π½Π½ΠΎΠ³ΠΎ ΡΡΠ°Π½Π°. ΠΡΠΎΡ ΠΌΠ°ΡΠ΅ΡΠΈΠ°Π» Ρ Π°ΡΠ°ΠΊΡΠ΅ΡΠΈΠ·ΡΠ΅ΡΡΡ ΠΎΡΠ΅Π½Ρ Π²ΡΡΠΎΠΊΠΎΠΉ ΠΏΠ»ΠΎΡΠ½ΠΎΡΡΡΡ ΠΈ ΡΠ²Π΅ΡΠ΄ΠΎΡΡΡΡ, Π²ΡΡΠ΅, ΡΠ΅ΠΌ Ρ ΡΡΠ°Π»ΠΈ. Π’Π°ΠΊΠΆΠ΅ ΠΎΠ±Π΅Π΄Π½Π΅Π½Π½ΡΠΉ ΡΡΠ°Π½ Π½Π°ΡΠ°Π²Π½Π΅ ΡΠΎ ΡΠΏΠ»Π°Π²Π°ΠΌΠΈ Π²ΠΎΠ»ΡΡΡΠ°ΠΌΠ° ΠΈΡΠΏΠΎΠ»ΡΠ·ΡΠ΅ΡΡΡ Π΄Π»Ρ ΠΈΠ·Π³ΠΎΡΠΎΠ²Π»Π΅Π½ΠΈΡ ΡΠ΅ΡΠ΄Π΅ΡΠ½ΠΈΠΊΠΎΠ² ΡΠΎΠ²ΡΠ΅ΠΌΠ΅Π½Π½ΡΡ Π±ΡΠΎΠ½Π΅Π±ΠΎΠΉΠ½ΡΡ ΠΎΠΏΠ΅ΡΠ΅Π½Π½ΡΡ ΠΏΠΎΠ΄ΠΊΠ°Π»ΠΈΠ±Π΅ΡΠ½ΡΡ ΡΠ½Π°ΡΡΠ΄ΠΎΠ². ΠΡΠΈ ΡΡΠΎΠΌ Π΅Π³ΠΎ ΡΡΠΎΠΉΠΊΠΎΡΡΡ ΠΏΡΠΎΡΠΈΠ² ΠΊΡΠΌΡΠ»ΡΡΠΈΠ²Π½ΡΡ ΠΈ ΠΊΠΈΠ½Π΅ΡΠΈΡΠ΅ΡΠΊΠΈΡ Π±ΡΠΎΠ½Π΅Π±ΠΎΠΉΠ½ΡΡ ΡΠ½Π°ΡΡΠ΄ΠΎΠ² Π½Π° Π΅Π΄ΠΈΠ½ΠΈΡΡ ΠΌΠ°ΡΡΡ Π²ΡΡΠ΅, ΡΠ΅ΠΌ Ρ ΠΊΠ°ΡΠ°Π½ΠΎΠΉ Π³ΠΎΠΌΠΎΠ³Π΅Π½Π½ΠΎΠΉ ΡΡΠ°Π»ΠΈ. ΠΡΠΈΠΌ ΠΈ ΠΎΠ±ΡΡΠ»ΠΎΠ²Π»Π΅Π½ΠΎ ΠΈΡΠΏΠΎΠ»ΡΠ·ΠΎΠ²Π°Π½ΠΈΠ΅ ΠΏΠ»ΠΈΡ ΠΈΠ· ΠΎΠ±Π΅Π΄Π½Π΅Π½Π½ΠΎΠ³ΠΎ ΡΡΠ°Π½Π° Π² Π»ΠΎΠ±ΠΎΠ²ΠΎΠΉ Π±ΡΠΎΠ½Π΅ Π±Π°ΡΠ½ΠΈ ΡΠ°Π½ΠΊΠΎΠ² Π1 Β«ΠΠ±ΡΠ°ΠΌΡΒ» Π² ΠΌΠΎΠ΄ΠΈΡΠΈΠΊΠ°ΡΠΈΠΈ Π1Π1ΠΠ (Π³Π΄Π΅ HA β Heavy Armor).Β
ΠΠΎΠ»ΡΠ°ΠΊΡΠΈΠ²Π½Π°Ρ Π±ΡΠΎΠ½Ρ
ΠΡΠ΅ ΠΎΠ΄Π½ΠΎ ΠΈΠ½ΡΠ΅ΡΠ΅ΡΠ½ΠΎΠ΅ Π½Π°ΠΏΡΠ°Π²Π»Π΅Π½ΠΈΠ΅ ΡΠ°Π·Π²ΠΈΡΠΈΡ ΠΊΠΎΠΌΠ±ΠΈΠ½ΠΈΡΠΎΠ²Π°Π½Π½ΠΎΠΉ Π±ΡΠΎΠ½ΠΈ β ΠΈΡΠΏΠΎΠ»ΡΠ·ΠΎΠ²Π°Π½ΠΈΠ΅ ΠΏΠ°ΠΊΠ΅ΡΠΎΠ² ΡΡΠ°Π»ΡΠ½ΡΡ ΠΏΠ»Π°ΡΡΠΈΠ½ ΠΈ ΠΈΠ½Π΅ΡΡΠ½ΠΎΠ³ΠΎ Π½Π°ΠΏΠΎΠ»Π½ΠΈΡΠ΅Π»Ρ. ΠΠ°ΠΊ ΠΎΠ½ΠΈ ΡΡΡΡΠΎΠ΅Π½Ρ? ΠΡΠ΅Π΄ΡΡΠ°Π²ΡΡΠ΅ ΠΏΠ°ΠΊΠ΅Ρ, ΡΠΎΡΡΠΎΡΡΠΈΠΉ ΠΈΠ· Π΄ΠΎΡΡΠ°ΡΠΎΡΠ½ΠΎ ΡΠΎΠ»ΡΡΠΎΠΉ ΡΡΠ°Π»ΡΠ½ΠΎΠΉ ΠΏΠ»Π°ΡΡΠΈΠ½Ρ, ΡΠ»ΠΎΡ ΠΈΠ½Π΅ΡΡΠ½ΠΎΠ³ΠΎ Π½Π°ΠΏΠΎΠ»Π½ΠΈΡΠ΅Π»Ρ ΠΈ Π΅ΡΠ΅ ΠΎΠ΄Π½ΠΎΠΉ ΡΡΠ°Π»ΡΠ½ΠΎΠΉ ΠΏΠ»Π°ΡΡΠΈΠ½Ρ, Π½ΠΎ ΠΏΠΎΡΠΎΠ½ΡΡΠ΅. Π ΡΠ°ΠΊΠΈΡ ΠΏΠ°ΠΊΠ΅ΡΠΎΠ² 20 ΡΡΡΠΊ, ΠΏΡΠΈΡΠ΅ΠΌ ΠΎΠ½ΠΈ ΡΠ°Π·ΠΌΠ΅ΡΠ΅Π½Ρ Π½Π° Π½Π΅ΠΊΠΎΡΠΎΡΠΎΠΌ ΡΠ°ΡΡΡΠΎΡΠ½ΠΈΠΈ Π΄ΡΡΠ³ ΠΎΡ Π΄ΡΡΠ³Π°. ΠΠΌΠ΅Π½Π½ΠΎ ΡΠ°ΠΊ Π²ΡΠ³Π»ΡΠ΄ΠΈΡ Π½Π°ΠΏΠΎΠ»Π½ΠΈΡΠ΅Π»Ρ Π΄Π»Ρ Π±Π°ΡΠ½ΠΈ ΡΠ°Π½ΠΊΠ° Π’-72Π, Π½Π°Π·ΡΠ²Π°Π΅ΠΌΡΠΉ ΠΏΠ°ΠΊΠ΅ΡΠΎΠΌ Β«ΠΎΡΡΠ°ΠΆΠ°ΡΡΠΈΡ Π»ΠΈΡΡΠΎΠ²Β».
ΠΠ°ΠΊ ΡΠ°ΠΊΠ°Ρ Π±ΡΠΎΠ½Ρ ΡΠ°Π±ΠΎΡΠ°Π΅Ρ? ΠΠΎΠ³Π΄Π° ΠΊΡΠΌΡΠ»ΡΡΠΈΠ²Π½Π°Ρ ΡΡΡΡΡ ΠΏΡΠΎΠ±ΠΈΠ²Π°Π΅Ρ ΠΎΡΠ½ΠΎΠ²Π½ΡΡ ΡΡΠ°Π»ΡΠ½ΡΡ ΠΏΠ»Π°ΡΡΠΈΠ½Ρ, Π² ΠΈΠ½Π΅ΡΡΠ½ΠΎΠΌ Π½Π°ΠΏΠΎΠ»Π½ΠΈΡΠ΅Π»Π΅ Π²ΠΎΠ·Π½ΠΈΠΊΠ°Π΅Ρ Π²ΡΡΠΎΠΊΠΎΠ΅ Π΄Π°Π²Π»Π΅Π½ΠΈΠ΅, ΠΎΠ½ Π²ΡΠΏΡΡΠΈΠ²Π°Π΅ΡΡΡ ΠΈ ΡΠ°Π·Π΄Π²ΠΈΠ³Π°Π΅Ρ ΡΡΠ°Π»ΡΠ½ΡΠ΅ ΠΏΠ»Π°ΡΡΠΈΠ½Ρ ΡΠΏΠ΅ΡΠ΅Π΄ΠΈ ΠΈ ΡΠ·Π°Π΄ΠΈ ΠΎΡ Π½Π΅Π³ΠΎ Π² ΡΡΠΎΡΠΎΠ½Ρ. ΠΡΠ°Ρ ΠΎΡΠ²Π΅ΡΡΡΠΈΠΉ, ΠΏΡΠΎΠ±ΠΈΡΡΡ ΠΊΡΠΌΡΠ»ΡΡΠΈΠ²Π½ΠΎΠΉ ΡΡΡΡΠ΅ΠΉ Π² ΡΡΠ°Π»ΡΠ½ΡΡ ΠΏΠ»Π°ΡΡΠΈΠ½Π°Ρ , Π·Π°Π³ΠΈΠ±Π°ΡΡΡΡ, Π΄Π΅ΡΠΎΡΠΌΠΈΡΡΡΡ ΡΡΡΡΡ ΠΈ ΠΌΠ΅ΡΠ°ΡΡ Π΄Π°Π»ΡΠ½Π΅ΠΉΡΠ΅ΠΌΡ Π΅Π΅ ΠΏΡΠΎΡ ΠΎΠΆΠ΄Π΅Π½ΠΈΡ Π²ΠΏΠ΅ΡΠ΅Π΄.

ΠΠΈΡΠ° Π΄Π»Ρ ΠΊΠΎΠΌΠ±ΠΈΠ½ΠΈΡΠΎΠ²Π°Π½Π½ΠΎΠΉ Π±ΡΠΎΠ½ΠΈ Π±Π°ΡΠ½ΠΈ Π’-72Π, Π² ΠΊΠΎΡΠΎΡΠΎΠΉ ΡΠ°ΡΠΏΠΎΠ»Π°Π³Π°ΡΡΡΡ ΡΠ΅ ΡΠ°ΠΌΡΠ΅ ΠΏΠ°ΠΊΠ΅ΡΡ Β«ΠΎΡΡΠ°ΠΆΠ°ΡΡΠΈΡ Π»ΠΈΡΡΠΎΠ²Β».
ΠΡΠ΅ ΠΎΠ΄ΠΈΠ½ Π²ΠΈΠ΄ ΠΏΠΎΠ»ΡΠ°ΠΊΡΠΈΠ²Π½ΠΎΠΉ ΠΊΠΎΠΌΠ±ΠΈΠ½ΠΈΡΠΎΠ²Π°Π½Π½ΠΎΠΉ Π±ΡΠΎΠ½ΠΈ β Π±ΡΠΎΠ½Ρ Ρ ΡΡΠ΅ΠΈΡΡΡΠΌ Π½Π°ΠΏΠΎΠ»Π½ΠΈΡΠ΅Π»Π΅ΠΌ. ΠΠ½Π° ΡΠΎΡΡΠΎΠΈΡ ΠΈΠ· Π±Π»ΠΎΠΊΠΎΠ² ΡΡΠ΅Π΅ΠΊ, Π·Π°ΠΏΠΎΠ»Π½Π΅Π½Π½ΡΡ ΠΆΠΈΠ΄ΠΊΠΈΠΌ ΠΈΠ»ΠΈ ΠΊΠ²Π°Π·ΠΈΠΆΠΈΠ΄ΠΊΠΈΠΌ Π²Π΅ΡΠ΅ΡΡΠ²ΠΎΠΌ. ΠΡΠΌΡΠ»ΡΡΠΈΠ²Π½Π°Ρ ΡΡΡΡΡ, ΠΏΡΠΎΠ±ΠΈΠ²Π°Ρ ΡΠ°ΠΊΡΡ ΡΡΠ΅ΠΉΠΊΡ, ΡΠΎΠ·Π΄Π°Π΅Ρ ΡΠ΄Π°ΡΠ½ΡΡ Π²ΠΎΠ»Π½Ρ. ΠΠΎΠ»Π½Π°, ΡΡΠ°Π»ΠΊΠΈΠ²Π°ΡΡΡ ΡΠΎ ΡΡΠ΅Π½ΠΊΠ°ΠΌΠΈ ΡΡΠ΅ΠΉΠΊΠΈ, ΠΎΡΡΠ°ΠΆΠ°Π΅ΡΡΡ Π² ΠΎΠ±ΡΠ°ΡΠ½ΡΡ ΡΡΠΎΡΠΎΠ½Ρ, Π·Π°ΡΡΠ°Π²Π»ΡΡ ΠΆΠΈΠ΄ΠΊΠΎΡΡΡ ΠΈΠ»ΠΈ ΠΊΠ²Π°Π·ΠΈΠΆΠΈΠ΄ΠΊΠΎΠ΅ Π²Π΅ΡΠ΅ΡΡΠ²ΠΎ ΠΏΡΠΎΡΠΈΠ²ΠΎΠ΄Π΅ΠΉΡΡΠ²ΠΎΠ²Π°ΡΡ ΠΊΡΠΌΡΠ»ΡΡΠΈΠ²Π½ΠΎΠΉ ΡΡΡΡΠ΅, Π²ΡΠ·ΡΠ²Π°Ρ Π΅Π΅ ΡΠΎΡΠΌΠΎΠΆΠ΅Π½ΠΈΠ΅ ΠΈ ΡΠ°Π·ΡΡΡΠ΅Π½ΠΈΠ΅. ΠΠΎΠ΄ΠΎΠ±Π½ΡΠΉ ΡΠΈΠΏ Π±ΡΠΎΠ½ΠΈ ΠΈΡΠΏΠΎΠ»ΡΠ·ΡΠ΅ΡΡΡ Π½Π° ΠΎΡΠ½ΠΎΠ²Π½ΠΎΠΌ Π±ΠΎΠ΅Π²ΠΎΠΌ ΡΠ°Π½ΠΊΠ΅ Π’-80Π£.
ΠΠ° ΡΡΠΎΠΌ, ΠΏΠΎΠΆΠ°Π»ΡΠΉ, ΠΌΠΎΠΆΠ½ΠΎ Π·Π°Π²Π΅ΡΡΠΈΡΡ ΡΠ°ΡΡΠΌΠΎΡΡΠ΅Π½ΠΈΠ΅ ΠΎΡΠ½ΠΎΠ²Π½ΡΡ ΡΠΈΠΏΠΎΠ² ΠΊΠΎΠΌΠ±ΠΈΠ½ΠΈΡΠΎΠ²Π°Π½Π½ΠΎΠΉ Π±ΡΠΎΠ½ΠΈ ΡΠΎΠ²ΡΠ΅ΠΌΠ΅Π½Π½ΠΎΠΉ Π±ΡΠΎΠ½Π΅ΡΠ΅Ρ Π½ΠΈΠΊΠΈ. Π’Π΅ΠΏΠ΅ΡΡ ΠΏΠΎΡΠ° ΡΠ°ΡΡΠΊΠ°Π·Π°ΡΡ ΠΎ Β«Π²ΡΠΎΡΠΎΠΉ ΡΠΊΡΡΠ΅Β» ΠΎΡΠ½ΠΎΠ²Π½ΡΡ Π±ΠΎΠ΅Π²ΡΡ ΡΠ°Π½ΠΊΠΎΠ² β ΠΎ Π΄ΠΈΠ½Π°ΠΌΠΈΡΠ΅ΡΠΊΠΎΠΉ Π·Π°ΡΠΈΡΠ΅.
ΠΠ°ΡΠΈΡΠ°Π΅ΠΌ ΡΠ°Π½ΠΊ Ρ ΠΏΠΎΠΌΠΎΡΡΡ Π²Π·ΡΡΠ²ΡΠ°ΡΠΊΠΈ
ΠΠ΅ΡΠ²ΡΠ΅ ΡΠΊΡΠΏΠ΅ΡΠΈΠΌΠ΅Π½ΡΡ Ρ Π΄ΠΈΠ½Π°ΠΌΠΈΡΠ΅ΡΠΊΠΎΠΉ Π·Π°ΡΠΈΡΠΎΠΉ Π½Π°ΡΠ°Π»ΠΈΡΡ Π΅ΡΠ΅ Π² ΡΠ΅ΡΠ΅Π΄ΠΈΠ½Π΅ Π₯Π₯ Π²Π΅ΠΊΠ°, Π½ΠΎ Π² ΡΠΈΠ»Ρ ΠΌΠ½ΠΎΠΆΠ΅ΡΡΠ²Π° ΠΏΡΠΈΡΠΈΠ½ Π²ΠΏΠ΅ΡΠ²ΡΠ΅ ΡΠ°ΠΊΠΎΠΉ ΡΠΈΠΏ Π·Π°ΡΠΈΡΡ (ΡΠΎΠΊΡΠ°ΡΠ΅Π½Π½ΠΎ Π½Π°Π·ΡΠ²Π°Π΅ΠΌΡΠΉ ΠΠ) Π±ΡΠ» ΠΏΡΠΈΠΌΠ΅Π½Π΅Π½ Π² Π±ΠΎΡ Π·Π½Π°ΡΠΈΡΠ΅Π»ΡΠ½ΠΎ ΠΏΠΎΠ·ΠΆΠ΅.
ΠΠ°ΠΊ ΡΠ°Π±ΠΎΡΠ°Π΅Ρ Π΄ΠΈΠ½Π°ΠΌΠΈΡΠ΅ΡΠΊΠ°Ρ Π·Π°ΡΠΈΡΠ°? ΠΡΠ΅Π΄ΡΡΠ°Π²ΡΡΠ΅ ΡΠ΅Π±Π΅ ΠΊΠΎΠ½ΡΠ΅ΠΉΠ½Π΅Ρ, ΡΠΎΠ΄Π΅ΡΠΆΠ°ΡΠΈΠΉ ΠΎΠ΄ΠΈΠ½ ΠΈΠ»ΠΈ Π½Π΅ΡΠΊΠΎΠ»ΡΠΊΠΎ Π·Π°ΡΡΠ΄ΠΎΠ² Π²Π·ΡΡΠ²ΡΠ°ΡΠΎΠ³ΠΎ Π²Π΅ΡΠ΅ΡΡΠ²Π° ΠΈ ΠΌΠ΅ΡΠ°Π»Π»ΠΈΡΠ΅ΡΠΊΠΈΠ΅ ΠΌΠ΅ΡΠ°ΡΠ΅Π»ΡΠ½ΡΠ΅ ΠΏΠ»Π°ΡΡΠΈΠ½Ρ. ΠΡΠΎΠ±ΠΈΠ²Π°Ρ ΡΡΠΎΡ ΠΊΠΎΠ½ΡΠ΅ΠΉΠ½Π΅Ρ, ΠΊΡΠΌΡΠ»ΡΡΠΈΠ²Π½Π°Ρ ΡΡΡΡΡ Π²ΡΠ·ΡΠ²Π°Π΅Ρ Π΄Π΅ΡΠΎΠ½Π°ΡΠΈΡ Π²Π·ΡΡΠ²ΡΠ°ΡΠΊΠΈ, ΠΊΠΎΡΠΎΡΠ°Ρ Π·Π°ΡΡΠ°Π²Π»ΡΠ΅Ρ ΠΌΠ΅ΡΠ°ΡΠ΅Π»ΡΠ½ΡΠ΅ ΠΏΠ»Π°ΡΡΠΈΠ½Ρ Π΄Π²ΠΈΠ³Π°ΡΡΡΡ Π½Π°Π²ΡΡΡΠ΅ΡΡ ΡΠ½Π°ΡΡΠ΄Ρ. ΠΡΠΈ ΡΡΠΎΠΌ ΠΏΠ»Π°ΡΡΠΈΠ½Ρ ΠΏΠ΅ΡΠ΅ΡΠ΅ΠΊΠ°ΡΡ ΡΡΠ°Π΅ΠΊΡΠΎΡΠΈΡ ΠΊΡΠΌΡΠ»ΡΡΠΈΠ²Π½ΠΎΠΉ ΡΡΡΡΠΈ, ΠΊΠΎΡΠΎΡΠ°Ρ Π²ΡΠ½ΡΠΆΠ΄Π΅Π½Π° ΠΏΡΠΎΠ±ΠΈΠ²Π°ΡΡ ΠΈΡ ΡΠ°Π· Π·Π° ΡΠ°Π·ΠΎΠΌ. Π ΡΠΎΠΌΡ ΠΆΠ΅, ΠΈΠ·-Π·Π° ΠΌΠ΅ΡΠ°ΡΠ΅Π»ΡΠ½ΡΡ ΠΏΠ»Π°ΡΡΠΈΠ½ ΠΊΡΠΌΡΠ»ΡΡΠΈΠ²Π½Π°Ρ ΡΡΡΡΡ ΠΏΡΠΈΠΎΠ±ΡΠ΅ΡΠ°Π΅Ρ Π·ΠΈΠ³Π·Π°Π³ΠΎΠΎΠ±ΡΠ°Π·Π½ΡΡ ΡΠΎΡΠΌΡ, Π΄Π΅ΡΠΎΡΠΌΠΈΡΡΠ΅ΡΡΡ ΠΈ ΡΠ°Π·ΡΡΡΠ°Π΅ΡΡΡ.
ΠΠΎ Π²ΡΡΠ΅ΠΎΠΏΠΈΡΠ°Π½Π½ΠΎΠΌΡ ΠΏΡΠΈΠ½ΡΠΈΠΏΡ ΡΠ°Π±ΠΎΡΠ°Π»ΠΈ ΠΏΠ΅ΡΠ²ΡΠ΅ ΠΌΠΎΠ΄Π΅Π»ΠΈ Π΄ΠΈΠ½Π°ΠΌΠΈΡΠ΅ΡΠΊΠΎΠΉ Π·Π°ΡΠΈΡΡ: ΠΈΠ·ΡΠ°ΠΈΠ»ΡΡΠΊΠΈΠΉ Β«ΠΠ»Π΅ΠΉΠ·Π΅ΡΒ» ΠΈ ΡΠΎΠ²Π΅ΡΡΠΊΠΈΠΉ Β«ΠΠΎΠ½ΡΠ°ΠΊΡ-1Β». ΠΠ΄Π½Π°ΠΊΠΎ ΡΠ°ΠΊΠ°Ρ ΠΠ Π±ΡΠ»Π° Π½Π΅ΡΠΏΠΎΡΠΎΠ±Π½Π° ΠΏΡΠΎΡΠΈΠ²ΠΎΡΡΠΎΡΡΡ ΠΎΠΏΠ΅ΡΠ΅Π½Π½ΡΠΌ ΠΏΠΎΠ΄ΠΊΠ°Π»ΠΈΠ±Π΅ΡΠ½ΡΠΌ ΡΠ½Π°ΡΡΠ΄Π°ΠΌ β ΡΡΠΈ ΡΠΈΠΏΡ ΡΠ½Π°ΡΡΠ΄ΠΎΠ², ΠΏΡΠΎΡ ΠΎΠ΄Ρ ΡΠ΅ΡΠ΅Π· Π²Π·ΡΡΠ²ΡΠ°ΡΠΎΠ΅ Π²Π΅ΡΠ΅ΡΡΠ²ΠΎ, Π½Π΅ Π²ΡΠ·ΡΠ²Π°Π»ΠΈ Π΅Π³ΠΎ Π΄Π΅ΡΠΎΠ½Π°ΡΠΈΡ. ΠΠΎΡΠΎΠΌΡ Π»ΡΡΡΠΈΠ΅ ΡΠΌΡ Π² ΠΎΠ±ΠΎΡΠΎΠ½Π½ΡΡ ΠΊΠΎΠ½ΡΡΡΡΠΊΡΠΎΡΡΠΊΠΈΡ Π±ΡΡΠΎ Π½Π°ΡΠ°Π»ΠΈ ΡΠ°Π±ΠΎΡΡ Π½Π°Π΄ Π½ΠΎΠ²ΡΠΌ ΡΠΈΠΏΠΎΠΌ ΡΠ½ΠΈΠ²Π΅ΡΡΠ°Π»ΡΠ½ΠΎΠΉ Π΄ΠΈΠ½Π°ΠΌΠΈΡΠ΅ΡΠΊΠΎΠΉ Π·Π°ΡΠΈΡΡ, ΠΊΠΎΡΠΎΡΠ°Ρ ΠΌΠΎΠ³Π»Π° Π±Ρ ΠΎΠ΄ΠΈΠ½Π°ΠΊΠΎΠ²ΠΎ Ρ ΠΎΡΠΎΡΠΎ Π±ΠΎΡΠΎΡΡΡΡ ΠΈ Ρ ΠΊΡΠΌΡΠ»ΡΡΠΈΠ²Π½ΡΠΌΠΈ, ΠΈ Ρ ΠΏΠΎΠ΄ΠΊΠ°Π»ΠΈΠ±Π΅ΡΠ½ΡΠΌΠΈ ΡΠ½Π°ΡΡΠ΄Π°ΠΌΠΈ.

Π’-64ΠΠ, ΠΎΡΠ½Π°ΡΠ΅Π½Π½ΡΠΉ Π΄ΠΈΠ½Π°ΠΌΠΈΡΠ΅ΡΠΊΠΎΠΉ Π·Π°ΡΠΈΡΠΎΠΉ Β«ΠΠΎΠ½ΡΠ°ΠΊΡ-1Β».
ΠΠ±ΡΠ°Π·ΡΠΎΠΌ ΡΠ°ΠΊΠΎΠΉ Π·Π°ΡΠΈΡΡ ΡΡΠ°Π»Π° ΡΠΎΠ²Π΅ΡΡΠΊΠ°Ρ ΠΠ Β«ΠΠΎΠ½ΡΠ°ΠΊΡ-5Β». ΠΠ΅ Ρ Π°ΡΠ°ΠΊΡΠ΅ΡΠ½ΠΎΠΉ ΠΎΡΠΎΠ±Π΅Π½Π½ΠΎΡΡΡΡ ΡΠ²Π»ΡΠ΅ΡΡΡ ΡΠΎ, ΡΡΠΎ ΠΊΡΡΡΠΊΠ° ΠΊΠΎΠ½ΡΠ΅ΠΉΠ½Π΅ΡΠ° Π΄ΠΈΠ½Π°ΠΌΠΈΡΠ΅ΡΠΊΠΎΠΉ Π·Π°ΡΠΈΡΡ Π²ΡΠΏΠΎΠ»Π½Π΅Π½Π° ΠΈΠ· Π΄ΠΎΡΡΠ°ΡΠΎΡΠ½ΠΎ ΡΠΎΠ»ΡΡΠΎΠ³ΠΎ ΡΡΠ°Π»ΡΠ½ΠΎΠ³ΠΎ Π»ΠΈΡΡΠ°. ΠΡΠΎΠ±ΠΈΠ²Π°Ρ Π΅Π³ΠΎ, ΠΎΠΏΠ΅ΡΠ΅Π½Π½ΡΠΉ ΠΏΠΎΠ΄ΠΊΠ°Π»ΠΈΠ±Π΅ΡΠ½ΡΠΉ ΡΠ½Π°ΡΡΠ΄ ΡΠΎΠ·Π΄Π°Π΅Ρ Π±ΠΎΠ»ΡΡΠΎΠ΅ ΠΊΠΎΠ»ΠΈΡΠ΅ΡΡΠ²ΠΎ ΠΎΡΠΊΠΎΠ»ΠΊΠΎΠ², ΠΊΠΎΡΠΎΡΡΠ΅, Π΄Π²ΠΈΠ³Π°ΡΡΡ Ρ Π²ΡΡΠΎΠΊΠΎΠΉ ΡΠΊΠΎΡΠΎΡΡΡΡ, ΠΈ Π²ΡΠ·ΡΠ²Π°ΡΡ Π΄Π΅ΡΠΎΠ½Π°ΡΠΈΡ Π²Π·ΡΡΠ²ΡΠ°ΡΠΊΠΈ. Π Π΄Π°Π»ΡΡΠ΅ Π²ΡΠ΅ ΠΏΡΠΎΠΈΡΡ ΠΎΠ΄ΠΈΡ ΡΠ°ΠΊ ΠΆΠ΅, ΠΊΠ°ΠΊ ΠΈ Π½Π° ΠΏΠ΅ΡΠ²ΡΡ ΠΎΠ±ΡΠ°Π·ΡΠ°Ρ ΠΠ β Π²Π·ΡΡΠ² ΠΈ ΡΠΎΠ»ΡΡΠ°Ρ ΠΌΠ΅ΡΠ°ΡΠ΅Π»ΡΠ½Π°Ρ ΠΏΠ»Π°ΡΡΠΈΠ½Π° ΡΠ°Π·ΡΡΡΠ°ΡΡ ΠΏΠΎΠ΄ΠΊΠ°Π»ΠΈΠ±Π΅ΡΠ½ΡΠΉ ΡΠ½Π°ΡΡΠ΄ ΠΈ ΡΡΡΠ΅ΡΡΠ²Π΅Π½Π½ΠΎ ΡΠ½ΠΈΠΆΠ°ΡΡ Π΅Π³ΠΎ ΠΏΡΠΎΠ±ΠΈΡΠΈΠ΅.
Β

Π‘Ρ Π΅ΠΌΠ°ΡΠΈΡΠ΅ΡΠΊΠΎΠ΅ ΡΡΡΡΠΎΠΉΡΡΠ²ΠΎ ΡΠ½ΠΈΠ²Π΅ΡΡΠ°Π»ΡΠ½ΠΎΠΉ Π΄ΠΈΠ½Π°ΠΌΠΈΡΠ΅ΡΠΊΠΎΠΉ Π·Π°ΡΠΈΡΡ.
ΠΡΠ΅ ΠΎΠ΄ΠΈΠ½ ΠΈΠ½ΡΠ΅ΡΠ΅ΡΠ½ΡΠΉ ΠΏΡΠΈΠΌΠ΅Ρ Π΄ΠΈΠ½Π°ΠΌΠΈΡΠ΅ΡΠΊΠΎΠΉ Π·Π°ΡΠΈΡΡ β ΠΠ Β«ΠΠΎΠΆΒ». ΠΠ½Π° ΠΏΡΠ΅Π΄ΡΡΠ°Π²Π»ΡΠ΅Ρ ΡΠΎΠ±ΠΎΠΉ ΠΊΠΎΠ½ΡΠ΅ΠΉΠ½Π΅ΡΡ, Π²ΠΌΠ΅ΡΠ°ΡΡΠΈΠ΅ ΠΌΠ½ΠΎΠΆΠ΅ΡΡΠ²ΠΎ ΠΌΠ°Π»Π΅Π½ΡΠΊΠΈΡ ΠΊΡΠΌΡΠ»ΡΡΠΈΠ²Π½ΡΡ Π·Π°ΡΡΠ΄ΠΎΠ². ΠΡΠΎΡ ΠΎΠ΄Ρ ΡΠ΅ΡΠ΅Π· ΠΎΠ΄ΠΈΠ½ ΠΈΠ· ΡΠ°ΠΊΠΈΡ ΠΊΠΎΠ½ΡΠ΅ΠΉΠ½Π΅ΡΠΎΠ², ΠΊΡΠΌΡΠ»ΡΡΠΈΠ²Π½Π°Ρ ΡΡΡΡΡ ΠΈΠ»ΠΈ ΡΠ΅ΡΠ΄Π΅ΡΠ½ΠΈΠΊ ΠΎΠΏΠ΅ΡΠ΅Π½Π½ΠΎΠ³ΠΎ ΠΏΠΎΠ΄ΠΊΠ°Π»ΠΈΠ±Π΅ΡΠ½ΠΎΠ³ΠΎ ΡΠ½Π°ΡΡΠ΄Π° Π²ΡΠ·ΡΠ²Π°ΡΡ Π΄Π΅ΡΠΎΠ½Π°ΡΠΈΡ Π·Π°ΡΡΠ΄ΠΎΠ², ΠΊΠΎΡΠΎΡΡΠ΅ ΡΠΎΠ·Π΄Π°ΡΡ ΠΌΠ½ΠΎΠΆΠ΅ΡΡΠ²ΠΎ ΠΌΠ°Π»Π΅Π½ΡΠΊΠΈΡ ΠΊΡΠΌΡΠ»ΡΡΠΈΠ²Π½ΡΡ ΡΡΡΡΠΉ. ΠΡΠΈ ΠΌΠ΅Π»ΠΊΠΈΠ΅ ΡΡΡΡΠΈ, Π²ΠΎΠ·Π΄Π΅ΠΉΡΡΠ²ΡΡ Π½Π° Π°ΡΠ°ΠΊΡΡΡΡΡ ΠΊΡΠΌΡΠ»ΡΡΠΈΠ²Π½ΡΡ ΡΡΡΡΡ ΠΈΠ»ΠΈ ΠΎΠΏΠ΅ΡΠ΅Π½Π½ΡΠΉ ΠΏΠΎΠ΄ΠΊΠ°Π»ΠΈΠ±Π΅ΡΠ½ΡΠΉ ΡΠ½Π°ΡΡΠ΄ ΠΏΡΠΎΡΠΈΠ²Π½ΠΈΠΊΠ°, ΡΠ°Π·ΡΡΡΠ°ΡΡ ΠΈΡ ΠΈ ΡΠ°Π·Π±ΠΈΠ²Π°ΡΡ Π½Π° ΠΎΡΠ΄Π΅Π»ΡΠ½ΡΠ΅ ΡΡΠ°Π³ΠΌΠ΅Π½ΡΡ.
ΠΡΡΡΠ°Ρ Π·Π°ΡΠΈΡΠ° β ΡΡΠΎ Π½Π°ΠΏΠ°Π΄Π΅Π½ΠΈΠ΅
Β«Π ΠΏΠΎΡΠ΅ΠΌΡ Π±Ρ Π½Π°ΠΌ Π½Π΅ ΡΠ΄Π΅Π»Π°ΡΡ ΡΠΈΡΡΠ΅ΠΌΡ, ΠΊΠΎΡΠΎΡΠ°Ρ ΠΎΡΡΡΡΠ΅Π»ΠΈΠ²Π°Π»Π° Π±Ρ ΡΠ½Π°ΡΡΠ΄Ρ, Π»Π΅ΡΡΡΠΈΠ΅ Π² ΡΠ°Π½ΠΊ, Π΅ΡΠ΅ Π½Π° ΠΏΠΎΠ΄Π»Π΅ΡΠ΅?Β» ΠΠ°Π²Π΅ΡΠ½ΠΎ ΠΈΠΌΠ΅Π½Π½ΠΎ ΡΠ°ΠΊ ΠΏΡΠΈΠΌΠ΅ΡΠ½ΠΎ 60 Π»Π΅Ρ Π½Π°Π·Π°Π΄ Π² Π½Π΅Π΄ΡΠ°Ρ ΠΊΠΎΠ½ΡΡΡΡΠΊΡΠΎΡΡΠΊΠΈΡ Π±ΡΡΠΎ Π·Π°ΡΠΎΠ΄ΠΈΠ»Π°ΡΡ ΠΈΠ΄Π΅Ρ ΠΎ ΡΠΎΠ·Π΄Π°Π½ΠΈΠΈ ΠΠΠ β ΠΊΠΎΠΌΠΏΠ»Π΅ΠΊΡΠ° Π°ΠΊΡΠΈΠ²Π½ΠΎΠΉ Π·Π°ΡΠΈΡΡ.Β
ΠΠΎΠΌΠΏΠ»Π΅ΠΊΡ Π°ΠΊΡΠΈΠ²Π½ΠΎΠΉ Π·Π°ΡΠΈΡΡ β ΡΡΠΎ Π½Π°Π±ΠΎΡ, ΡΠΎΡΡΠΎΡΡΠΈΠΉ ΠΈΠ· ΡΡΠ΅Π΄ΡΡΠ² ΠΎΠ±Π½Π°ΡΡΠΆΠ΅Π½ΠΈΡ, ΡΠΈΡΡΠ΅ΠΌΡ ΡΠΏΡΠ°Π²Π»Π΅Π½ΠΈΡ ΠΈ ΡΠΈΡΡΠ΅ΠΌΡ ΠΏΠΎΡΠ°ΠΆΠ΅Π½ΠΈΡ. ΠΠΎΠ³Π΄Π° ΡΠ½Π°ΡΡΠ΄ ΠΈΠ»ΠΈ ΠΠ’Π£Π ΠΏΠΎΠ΄Π»Π΅ΡΠ°Π΅Ρ ΠΊ ΡΠ°Π½ΠΊΡ, ΠΎΠ½ ΠΎΠ±Π½Π°ΡΡΠΆΠΈΠ²Π°Π΅ΡΡΡ ΠΏΡΠΈ ΠΏΠΎΠΌΠΎΡΠΈ Π΄Π°ΡΡΠΈΠΊΠΎΠ² ΠΈΠ»ΠΈ ΡΠ°Π΄ΠΈΠΎΠ»ΠΎΠΊΠ°ΡΠΈΠΎΠ½Π½ΠΎΠΉ ΡΠΈΡΡΠ΅ΠΌΡ ΠΈ ΠΏΡΠΎΠΈΡΡ ΠΎΠ΄ΠΈΡ ΠΎΡΡΡΡΠ΅Π» ΡΠΏΠ΅ΡΠΈΠ°Π»ΡΠ½ΠΎΠ³ΠΎ Π±ΠΎΠ΅ΠΏΡΠΈΠΏΠ°ΡΠ°, ΠΊΠΎΡΠΎΡΡΠΉ ΠΏΡΠΈ ΠΏΠΎΠΌΠΎΡΠΈ ΡΠΈΠ»Ρ Π²Π·ΡΡΠ²Π°, ΠΎΡΠΊΠΎΠ»ΠΊΠΎΠ² ΠΈΠ»ΠΈ ΠΊΡΠΌΡΠ»ΡΡΠΈΠ²Π½ΠΎΠΉ ΡΡΡΡΠΈ ΠΏΠΎΠ²ΡΠ΅ΠΆΠ΄Π°Π΅Ρ ΠΈΠ»ΠΈ ΠΏΠΎΠ»Π½ΠΎΡΡΡΡ ΡΠ°Π·ΡΡΡΠ°Π΅Ρ ΡΠ½Π°ΡΡΠ΄ ΠΈΠ»ΠΈ ΠΏΡΠΎΡΠΈΠ²ΠΎΡΠ°Π½ΠΊΠΎΠ²ΡΡ ΡΠ°ΠΊΠ΅ΡΡ.
Β

ΠΡΠΈΠ½ΡΠΈΠΏ Π΄Π΅ΠΉΡΡΠ²ΠΈΡ ΠΊΠΎΠΌΠΏΠ»Π΅ΠΊΡΠ° Π°ΠΊΡΠΈΠ²Π½ΠΎΠΉ Π·Π°ΡΠΈΡΡ.
ΠΠ°ΠΈΠ±ΠΎΠ»Π΅Π΅ Π°ΠΊΡΠΈΠ²Π½ΠΎ ΡΠ°Π·ΡΠ°Π±ΠΎΡΠΊΠΈ ΠΊΠΎΠΌΠΏΠ»Π΅ΠΊΡΠΎΠ² Π°ΠΊΡΠΈΠ²Π½ΠΎΠΉ Π·Π°ΡΠΈΡΡ Π²Π΅Π» Π‘ΠΎΠ²Π΅ΡΡΠΊΠΈΠΉ Π‘ΠΎΡΠ·. ΠΠ°ΡΠΈΠ½Π°Ρ Ρ 1958 Π³ΠΎΠ΄Π°, Π±ΡΠ»ΠΎ ΡΠΎΠ·Π΄Π°Π½ΠΎ Π½Π΅ΡΠΊΠΎΠ»ΡΠΊΠΎ ΠΠΠ ΡΠ°Π·Π»ΠΈΡΠ½ΠΎΠ³ΠΎ ΡΠΈΠΏΠ°. ΠΠ΄Π½Π°ΠΊΠΎ Π½Π° Π²ΠΎΠΎΡΡΠΆΠ΅Π½ΠΈΠ΅ ΠΎΠ΄ΠΈΠ½ ΠΈΠ· ΠΊΠΎΠΌΠΏΠ»Π΅ΠΊΡΠΎΠ² Π°ΠΊΡΠΈΠ²Π½ΠΎΠΉ Π·Π°ΡΠΈΡΡ ΠΏΠΎΡΡΡΠΏΠΈΠ» Π»ΠΈΡΡ Π² 1983 Π³ΠΎΠ΄Ρ. ΠΡΠΎ Π±ΡΠ» ΠΠΠ Β«ΠΡΠΎΠ·Π΄Β», ΠΊΠΎΡΠΎΡΡΠΉ ΡΡΡΠ°Π½Π°Π²Π»ΠΈΠ²Π°Π»ΡΡ Π½Π° Π’-55ΠΠ. ΠΠΏΠΎΡΠ»Π΅Π΄ΡΡΠ²ΠΈΠΈ Π΄Π»Ρ Π±ΠΎΠ»Π΅Π΅ ΡΠΎΠ²ΡΠ΅ΠΌΠ΅Π½Π½ΡΡ ΠΎΡΠ½ΠΎΠ²Π½ΡΡ Π±ΠΎΠ΅Π²ΡΡ ΡΠ°Π½ΠΊΠΎΠ² Π±ΡΠ» ΡΠΎΠ·Π΄Π°Π½ ΠΊΠΎΠΌΠΏΠ»Π΅ΠΊΡ Π°ΠΊΡΠΈΠ²Π½ΠΎΠΉ Π·Π°ΡΠΈΡΡ Β«ΠΡΠ΅Π½Π°Β». Π ΠΎΡΠ½ΠΎΡΠΈΡΠ΅Π»ΡΠ½ΠΎ Π½Π΅Π΄Π°Π²Π½ΠΎ ΡΠΎΡΡΠΈΠΉΡΠΊΠΈΠ΅ ΠΊΠΎΠ½ΡΡΡΡΠΊΡΠΎΡΡ ΡΠ°Π·ΡΠ°Π±ΠΎΡΠ°Π»ΠΈ ΠΠΠ Β«ΠΡΠ³Π°Π½ΠΈΡΒ», ΠΏΡΠ΅Π΄Π½Π°Π·Π½Π°ΡΠ΅Π½Π½ΡΠΉ Π΄Π»Ρ Π½ΠΎΠ²Π΅ΠΉΡΠΈΡ ΡΠ°Π½ΠΊΠΎΠ² ΠΈ ΡΡΠΆΠ΅Π»ΡΡ ΠΠΠ Π½Π° ΠΏΠ»Π°ΡΡΠΎΡΠΌΠ΅ Β«ΠΡΠΌΠ°ΡΠ°Β».
ΠΠΎΠ΄ΠΎΠ±Π½ΡΠ΅ ΠΊΠΎΠΌΠΏΠ»Π΅ΠΊΡΡ ΡΠΎΠ·Π΄Π°Π²Π°Π»ΠΈΡΡ ΠΈ ΡΠΎΠ·Π΄Π°ΡΡΡΡ Π·Π° ΡΡΠ±Π΅ΠΆΠΎΠΌ. ΠΠ°ΠΏΡΠΈΠΌΠ΅Ρ, Π² ΠΠ·ΡΠ°ΠΈΠ»Π΅. Π’Π°ΠΊ ΠΊΠ°ΠΊ Π΄Π»Ρ ΡΠ°Π½ΠΊΠΎΠ² Β«ΠΠ΅ΡΠΊΠ°Π²Π°Β» Π²ΠΎΠΏΡΠΎΡ Π·Π°ΡΠΈΡΡ ΠΎΡ ΠΠ’Π£Π ΠΎΠ² ΠΈ Π ΠΠ ΡΡΠΎΠΈΡ ΠΎΡΠΎΠ±Π΅Π½Π½ΠΎ ΠΎΡΡΡΠΎ, ΡΠΎ ΠΈΠΌΠ΅Π½Π½ΠΎ Β«ΠΠ΅ΡΠΊΠ°Π²ΡΒ» ΠΈΠ· Π·Π°ΠΏΠ°Π΄Π½ΡΡ ΠΠΠ’ ΡΡΠ°Π»ΠΈ ΠΏΠ΅ΡΠ²ΡΠΌΠΈ ΠΌΠ°ΡΡΠΎΠ²ΠΎ ΠΎΡΠ½Π°ΡΠ°ΡΡΡΡ ΠΊΠΎΠΌΠΏΠ»Π΅ΠΊΡΠ°ΠΌΠΈ Π°ΠΊΡΠΈΠ²Π½ΠΎΠΉ Π·Π°ΡΠΈΡΡ Β«Π’ΡΠΎΡΠΈΒ». Π’Π°ΠΊΠΆΠ΅ ΠΈΠ·ΡΠ°ΠΈΠ»ΡΡΡΠ½Π°ΠΌΠΈ Π±ΡΠ» ΡΠΎΠ·Π΄Π°Π½ ΠΠΠ Iron Fist, ΠΊΠΎΡΠΎΡΡΠΉ ΠΏΠΎΠ΄Ρ ΠΎΠ΄ΠΈΡ Π½Π΅ ΡΠΎΠ»ΡΠΊΠΎ Π΄Π»Ρ ΡΠ°Π½ΠΊΠΎΠ², Π½ΠΎ ΠΈ Π΄Π»Ρ Π±ΡΠΎΠ½Π΅ΡΡΠ°Π½ΡΠΏΠΎΡΡΠ΅ΡΠΎΠ² ΠΈ ΠΏΡΠΎΡΠ΅ΠΉ Π»Π΅Π³ΠΊΠΎΠΉ Π±ΡΠΎΠ½Π΅ΡΠ΅Ρ Π½ΠΈΠΊΠΈ.
ΠΡΠΌΠΎΠ²ΡΠ΅ Π·Π°Π²Π΅ΡΡ ΠΈ ΠΊΠΎΠΌΠΏΠ»Π΅ΠΊΡΡ ΠΎΠΏΡΠΈΠΊΠΎ-ΡΠ»Π΅ΠΊΡΡΠΎΠ½Π½ΠΎΠ³ΠΎ ΠΏΡΠΎΡΠΈΠ²ΠΎΠ΄Π΅ΠΉΡΡΠ²ΠΈΡ
ΠΡΠ»ΠΈ ΠΊΠΎΠΌΠΏΠ»Π΅ΠΊΡ Π°ΠΊΡΠΈΠ²Π½ΠΎΠΉ Π·Π°ΡΠΈΡΡ ΠΏΡΠΎΡΡΠΎ ΡΠ½ΠΈΡΡΠΎΠΆΠ°Π΅Ρ ΠΏΠΎΠ΄Π»Π΅ΡΠ°ΡΡΠΈΠ΅ ΠΊ ΡΠ°Π½ΠΊΡ ΡΠΏΡΠ°Π²Π»ΡΠ΅ΠΌΡΠ΅ ΠΏΡΠΎΡΠΈΠ²ΠΎΡΠ°Π½ΠΊΠΎΠ²ΡΠ΅ ΡΠ°ΠΊΠ΅ΡΡ, ΡΠΎ ΠΊΠΎΠΌΠΏΠ»Π΅ΠΊΡ ΠΎΠΏΡΠΈΠΊΠΎ-ΡΠ»Π΅ΠΊΡΡΠΎΠ½Π½ΠΎΠ³ΠΎ ΠΏΡΠΎΡΠΈΠ²ΠΎΠ΄Π΅ΠΉΡΡΠ²ΠΈΡ (ΠΈΠ»ΠΈ ΡΠΎΠΊΡΠ°ΡΠ΅Π½Π½ΠΎ ΠΠΠΠ) Π΄Π΅ΠΉΡΡΠ²ΡΠ΅Ρ Π½Π°ΠΌΠ½ΠΎΠ³ΠΎ ΡΠΎΠ½ΡΡΠ΅. ΠΡΠΈΠΌΠ΅ΡΠΎΠΌ ΡΠ°ΠΊΠΎΠ³ΠΎ ΠΠΠΠ ΠΌΠΎΠΆΠ΅Ρ ΡΠ»ΡΠΆΠΈΡΡ Β«Π¨ΡΠΎΡΠ°Β», ΡΡΡΠ°Π½Π°Π²Π»ΠΈΠ²Π°Π΅ΠΌΠ°Ρ Π½Π° Π’-90, ΠΠΠ-3 ΠΈ ΠΏΠΎΡΠ»Π΅Π΄Π½ΠΈΡ ΠΌΠΎΠ΄ΠΈΡΠΈΠΊΠ°ΡΠΈΡΡ Π’-80. ΠΠ°ΠΊ ΠΆΠ΅ ΠΎΠ½Π° ΡΠ°Π±ΠΎΡΠ°Π΅Ρ?
ΠΠ΅ΠΌΠ°Π»Π°Ρ ΡΠ°ΡΡΡ ΡΠΎΠ²ΡΠ΅ΠΌΠ΅Π½Π½ΡΡ ΠΏΡΠΎΡΠΈΠ²ΠΎΡΠ°Π½ΠΊΠΎΠ²ΡΡ ΡΠΏΡΠ°Π²Π»ΡΠ΅ΠΌΡΡ ΡΠ°ΠΊΠ΅Ρ Π½Π°Π²ΠΎΠ΄ΠΈΡΡΡ ΠΏΠΎ Π»Π°Π·Π΅ΡΠ½ΠΎΠΌΡ Π»ΡΡΡ. Π ΠΊΠΎΠ³Π΄Π° ΡΠ°ΠΊΠΎΠΉ ΡΠ°ΠΊΠ΅ΡΠΎΠΉ ΡΠ΅Π»ΡΡΡΡ ΠΏΠΎ ΡΠ°Π½ΠΊΡ β Π΄Π°ΡΡΠΈΠΊΠΈ ΠΠΠΠ ΡΠ΅Π³ΠΈΡΡΡΠΈΡΡΡΡ ΡΠΎ, ΡΡΠΎ ΠΌΠ°ΡΠΈΠ½Ρ ΠΎΠ±Π»ΡΡΠ°ΡΡ Π»Π°Π·Π΅ΡΠΎΠΌ, ΠΈ ΠΏΠΎΠ΄Π°ΡΡ ΡΠΎΠΎΡΠ²Π΅ΡΡΡΠ²ΡΡΡΠΈΠΉ ΡΠΈΠ³Π½Π°Π» ΡΠΊΠΈΠΏΠ°ΠΆΡ. Π ΡΠ»ΡΡΠ°Π΅ Π½Π΅ΠΎΠ±Ρ ΠΎΠ΄ΠΈΠΌΠΎΡΡΠΈ ΠΠΠΠ ΡΠ°ΠΊΠΆΠ΅ ΠΌΠΎΠΆΠ΅Ρ Π°Π²ΡΠΎΠΌΠ°ΡΠΈΡΠ΅ΡΠΊΠΈ ΠΎΡΡΡΡΠ΅Π»ΠΈΡΡ Π² Π½ΡΠΆΠ½ΠΎΠΌ Π½Π°ΠΏΡΠ°Π²Π»Π΅Π½ΠΈΠΈ Π΄ΡΠΌΠΎΠ²ΡΡ Π³ΡΠ°Π½Π°ΡΡ, ΠΊΠΎΡΠΎΡΠ°Ρ ΡΠΊΡΠΎΠ΅Ρ ΡΠ°Π½ΠΊ Π² Π²ΠΈΠ΄ΠΈΠΌΠΎΠΌ ΠΈ ΠΈΠ½ΡΡΠ°ΠΊΡΠ°ΡΠ½ΠΎΠΌ ΡΠΏΠ΅ΠΊΡΡΠ΅ ΡΠ»Π΅ΠΊΡΡΠΎΠΌΠ°Π³Π½ΠΈΡΠ½ΡΡ Π²ΠΎΠ»Π½. Π’Π°ΠΊΠΆΠ΅, ΠΏΠΎΠ»ΡΡΠΈΠ² ΡΠΈΠ³Π½Π°Π» ΠΎΠ± ΠΎΠ±Π»ΡΡΠ΅Π½ΠΈΠΈ Π»Π°Π·Π΅ΡΠΎΠΌ, ΡΠΊΠΈΠΏΠ°ΠΆ ΡΠ°Π½ΠΊΠ° ΠΌΠΎΠΆΠ΅Ρ Π½Π°ΠΆΠ°ΡΡ Π½Π° Π½ΡΠΆΠ½ΡΡ ΠΊΠ½ΠΎΠΏΠΊΡ β ΠΈ ΠΠΠΠ ΡΠ°ΠΌ ΡΠ°Π·Π²Π΅ΡΠ½Π΅Ρ Π±Π°ΡΠ½Ρ ΡΠ°Π½ΠΊΠ° Π² ΡΠΎΠΌ Π½Π°ΠΏΡΠ°Π²Π»Π΅Π½ΠΈΠΈ, ΠΎΡΠΊΡΠ΄Π° ΠΏΠΎ Π½Π΅ΠΌΡ ΡΠ΅Π»ΡΡΡΡ ΡΠ°ΠΊΠ΅ΡΠΎΠΉ Ρ Π»Π°Π·Π΅ΡΠ½ΡΠΌ Π½Π°Π²Π΅Π΄Π΅Π½ΠΈΠ΅ΠΌ. ΠΡΠ΅, ΡΡΠΎ ΠΎΡΡΠ°Π΅ΡΡΡ ΡΠ΄Π΅Π»Π°ΡΡ Π½Π°Π²ΠΎΠ΄ΡΠΈΠΊΡ ΠΈ ΠΊΠΎΠΌΠ°Π½Π΄ΠΈΡΡ Π±ΠΎΠ΅Π²ΠΎΠΉ ΠΌΠ°ΡΠΈΠ½Ρ, β ΠΎΠ±Π½Π°ΡΡΠΆΠΈΡΡ ΠΈ ΡΠ½ΠΈΡΡΠΎΠΆΠΈΡΡ ΡΠ³ΡΠΎΠ·Ρ.
ΠΠΎ, ΠΏΠΎΠΌΠΈΠΌΠΎ Π»Π°Π·Π΅ΡΠ½ΠΎΠ³ΠΎ Π»ΡΡΠ°, ΠΌΠ½ΠΎΠΆΠ΅ΡΡΠ²ΠΎ ΠΏΡΠΎΡΠΈΠ²ΠΎΡΠ°Π½ΠΊΠΎΠ²ΡΡ ΡΠ°ΠΊΠ΅Ρ ΠΈΡΠΏΠΎΠ»ΡΠ·ΡΡΡ Π΄Π»Ρ Π½Π°Π²Π΅Π΄Π΅Π½ΠΈΡ ΡΡΠ°ΡΡΠ΅Ρ. Π’ΠΎ Π΅ΡΡΡ, Π² ΡΠ°ΠΌΠΎΠΉ ΡΠ°ΠΊΠ΅ΡΠ΅ Π² Π·Π°Π΄Π½Π΅ΠΉ ΡΠ°ΡΡΠΈ Π½Π°Ρ ΠΎΠ΄ΠΈΡΡΡ ΠΈΡΡΠΎΡΠ½ΠΈΠΊ ΡΡΠΊΠΎΠ³ΠΎ ΡΠ²Π΅ΡΠ° ΠΎΠΏΡΠ΅Π΄Π΅Π»Π΅Π½Π½ΠΎΠΉ ΡΠ°ΡΡΠΎΡΡ. ΠΡΠΎΡ ΡΠ²Π΅Ρ ΡΠ»Π°Π²Π»ΠΈΠ²Π°Π΅Ρ ΡΠΈΡΡΠ΅ΠΌΠ° Π½Π°Π²Π΅Π΄Π΅Π½ΠΈΡ ΠΠ’Π£Π Π° ΠΈ ΠΊΠΎΡΡΠ΅ΠΊΡΠΈΡΡΠ΅Ρ ΠΏΠΎΠ»Π΅Ρ ΡΠ°ΠΊΠ΅ΡΡ ΡΠ°ΠΊ, ΡΡΠΎΠ±Ρ ΠΎΠ½Π° ΡΠ»Π° ΡΠΎΡΠ½ΠΎ Π² ΡΠ΅Π»Ρ. Π ΡΡΡ Π² Π΄Π΅Π»ΠΎ Π²ΡΡΡΠΏΠ°ΡΡ ΠΏΡΠΎΠΆΠ΅ΠΊΡΠΎΡΠ½ΡΠ΅ ΡΡΡΠ°Π½ΠΎΠ²ΠΊΠΈ ΠΠΠΠ (Π² ΠΈΠ³ΡΠ΅ ΠΈΡ ΠΌΠΎΠΆΠ½ΠΎ Π½Π°Π±Π»ΡΠ΄Π°ΡΡ Π½Π° Π’-90). ΠΠ½ΠΈ ΠΌΠΎΠ³ΡΡ ΠΈΠ·Π»ΡΡΠ°ΡΡ ΡΠ²Π΅Ρ ΡΠΎΠΉ ΠΆΠ΅ ΡΠ°ΡΡΠΎΡΡ, ΡΡΠΎ ΠΈ ΡΡΠ°ΡΡΠ΅Ρ ΠΏΡΠΎΡΠΈΠ²ΠΎΡΠ°Π½ΠΊΠΎΠ²ΠΎΠΉ ΡΠ°ΠΊΠ΅ΡΡ, ΡΠ°ΠΊΠΈΠΌ ΠΎΠ±ΡΠ°Π·ΠΎΠΌ Β«ΠΎΠ±ΠΌΠ°Π½ΡΠ²Π°ΡΒ» ΡΠΈΡΡΠ΅ΠΌΡ Π½Π°Π²Π΅Π΄Π΅Π½ΠΈΡ ΠΈ ΡΠ²ΠΎΠ΄Ρ ΡΠ°ΠΊΠ΅ΡΡ ΠΎΡ ΡΠ°Π½ΠΊΠ° ΠΏΠΎΠ΄Π°Π»ΡΡΠ΅.Β
Β

ΠΡΠΈ Β«ΠΊΡΠ°ΡΠ½ΡΠ΅ Π³Π»Π°Π·Π°Β» Π’-90 ΠΈ Π΅ΡΡΡ ΠΏΡΠΎΠΆΠ΅ΠΊΡΠΎΡΡ ΠΠΠΠ Β«Π¨ΡΠΎΡΠ°Β».
ΠΠΊΡΠ°Π½Ρ ΠΈ ΡΠ΅ΡΠ΅ΡΠΊΠΈ
Π ΠΏΠΎΡΠ»Π΅Π΄Π½ΠΈΠΉ ΡΠ»Π΅ΠΌΠ΅Π½Ρ Π·Π°ΡΠΈΡΡ ΡΠΎΠ²ΡΠ΅ΠΌΠ΅Π½Π½ΠΎΠΉ Π±ΡΠΎΠ½Π΅ΡΠ΅Ρ Π½ΠΈΠΊΠΈ, ΠΎ ΠΊΠΎΡΠΎΡΠΎΠΌ ΠΌΡ ΡΠ°ΡΡΠΊΠ°ΠΆΠ΅ΠΌ ΡΠ΅Π³ΠΎΠ΄Π½Ρ, β ΡΡΠΎ Π²ΡΠ΅Π²ΠΎΠ·ΠΌΠΎΠΆΠ½ΡΠ΅ ΠΏΡΠΎΡΠΈΠ²ΠΎΠΊΡΠΌΡΠ»ΡΡΠΈΠ²Π½ΡΠ΅ ΡΠΊΡΠ°Π½Ρ, ΡΠ΅ΡΠ΅ΡΠΊΠΈ ΠΈ ΠΌΠΎΠ΄ΡΠ»ΠΈ Π΄ΠΎΠΏΠΎΠ»Π½ΠΈΡΠ΅Π»ΡΠ½ΠΎΠΉ Π±ΡΠΎΠ½ΠΈ.
ΠΡΠΎΡΠΈΠ²ΠΎΠΊΡΠΌΡΠ»ΡΡΠΈΠ²Π½ΡΠΉ ΡΠΊΡΠ°Π½ ΡΡΡΡΠΎΠ΅Π½ Π΄ΠΎΡΡΠ°ΡΠΎΡΠ½ΠΎ ΠΏΡΠΎΡΡΠΎ β ΡΡΠΎ ΠΏΡΠ΅Π³ΡΠ°Π΄Π° ΠΈΠ· ΡΡΠ°Π»ΠΈ, ΡΠ΅Π·ΠΈΠ½Ρ ΠΈΠ»ΠΈ ΠΈΠ½ΠΎΠ³ΠΎ ΠΌΠ°ΡΠ΅ΡΠΈΠ°Π»Π°, ΡΡΡΠ°Π½ΠΎΠ²Π»Π΅Π½Π½Π°Ρ Π½Π° ΠΎΠΏΡΠ΅Π΄Π΅Π»Π΅Π½Π½ΠΎΠΌ ΡΠ°ΡΡΡΠΎΡΠ½ΠΈΠΈ ΠΎΡ ΠΎΡΠ½ΠΎΠ²Π½ΠΎΠΉ Π±ΡΠΎΠ½ΠΈ ΡΠ°Π½ΠΊΠ° ΠΈΠ»ΠΈ ΠΠΠ. Π’Π°ΠΊΠΈΠ΅ ΡΠΊΡΠ°Π½Ρ ΠΌΠΎΠΆΠ½ΠΎ Π½Π°Π±Π»ΡΠ΄Π°ΡΡ ΠΊΠ°ΠΊ Π½Π° ΡΠ°Π½ΠΊΠ°Ρ ΠΡΠΎΡΠΎΠΉ ΠΌΠΈΡΠΎΠ²ΠΎΠΉ Π²ΠΎΠΉΠ½Ρ, ΡΠ°ΠΊ ΠΈ Π½Π° Π±ΠΎΠ»Π΅Π΅ ΡΠΎΠ²ΡΠ΅ΠΌΠ΅Π½Π½ΡΡ ΠΎΠ±ΡΠ°Π·ΡΠ°Ρ Π±ΡΠΎΠ½Π΅ΡΠ΅Ρ Π½ΠΈΠΊΠΈ. ΠΡΠΈΠ½ΡΠΈΠΏ ΠΈΡ Π΄Π΅ΠΉΡΡΠ²ΠΈΡ ΠΏΡΠΎΡΡ: ΠΏΠΎΠΏΠ°Π΄Π°Ρ Π² ΡΠΊΡΠ°Π½, ΠΊΡΠΌΡΠ»ΡΡΠΈΠ²Π½ΡΠΉ ΡΠ½Π°ΡΡΠ΄ ΠΏΡΠ΅ΠΆΠ΄Π΅Π²ΡΠ΅ΠΌΠ΅Π½Π½ΠΎ ΡΡΠ°Π±Π°ΡΡΠ²Π°Π΅Ρ, Π° ΠΊΡΠΌΡΠ»ΡΡΠΈΠ²Π½Π°Ρ ΡΡΡΡΡ ΠΏΡΠ΅ΠΎΠ΄ΠΎΠ»Π΅Π²Π°Π΅Ρ Π½Π΅ΠΊΠΎΡΠΎΡΠΎΠ΅ ΡΠ°ΡΡΡΠΎΡΠ½ΠΈΠ΅ Π² Π²ΠΎΠ·Π΄ΡΡ Π΅ ΠΈ Π΄ΠΎΡΡΠΈΠ³Π°Π΅Ρ ΠΎΡΠ½ΠΎΠ²Π½ΠΎΠΉ Π±ΡΠΎΠ½ΠΈ ΡΠ°Π½ΠΊΠ° ΡΡΡΠ΅ΡΡΠ²Π΅Π½Π½ΠΎ ΠΎΡΠ»Π°Π±Π»Π΅Π½Π½ΠΎΠΉ.
ΠΠ΅ΡΠΊΠΎΠ»ΡΠΊΠΎ ΠΈΠ½Π°ΡΠ΅ Π΄Π΅ΠΉΡΡΠ²ΡΡΡ ΠΏΡΠΎΡΠΈΠ²ΠΎΠΊΡΠΌΡΠ»ΡΡΠΈΠ²Π½ΡΠ΅ ΡΠ΅ΡΠ΅ΡΠΊΠΈ. ΠΠ½ΠΈ ΠΈΠ·Π³ΠΎΡΠΎΠ²Π»Π΅Π½Ρ Π² Π²ΠΈΠ΄Π΅ ΠΏΠ»Π°ΡΡΠΈΠ½, ΡΠ°Π·Π²Π΅ΡΠ½ΡΡΡΡ ΡΠ΅Π±ΡΠΎΠΌ ΠΊ Π½Π°ΠΏΡΠ°Π²Π»Π΅Π½ΠΈΡ, ΠΎΡΠΊΡΠ΄Π° ΠΌΠΎΠΆΠ΅Ρ ΠΈΡΡ ΠΎΠ΄ΠΈΡΡ ΡΠ³ΡΠΎΠ·Π° Π΄Π»Ρ ΡΠ°Π½ΠΊΠ°. ΠΡΠΈ ΡΡΠΎΠ»ΠΊΠ½ΠΎΠ²Π΅Π½ΠΈΠΈ ΠΊΡΠΌΡΠ»ΡΡΠΈΠ²Π½ΠΎΠ³ΠΎ ΡΠ½Π°ΡΡΠ΄Π° Ρ ΡΠ»Π΅ΠΌΠ΅Π½ΡΠ°ΠΌΠΈ ΡΠ΅ΡΠ΅ΡΠΊΠΈ ΠΏΠΎΡΠ»Π΅Π΄Π½ΠΈΠ΅ Π΄Π΅ΡΠΎΡΠΌΠΈΡΡΡΡ ΠΊΠΎΡΠΏΡΡ ΡΠ½Π°ΡΡΠ΄Π°, Π²ΠΎΡΠΎΠ½ΠΊΡ ΠΊΡΠΌΡΠ»ΡΡΠΈΠ²Π½ΠΎΠΉ Π±ΠΎΠ΅Π²ΠΎΠΉ ΡΠ°ΡΡΠΈ ΠΈ/ΠΈΠ»ΠΈ Π²Π·ΡΡΠ²Π°ΡΠ΅Π»Ρ, ΡΠ΅ΠΌ ΡΠ°ΠΌΡΠΌ Π½Π΅ Π΄Π°Π²Π°Ρ ΡΠ½Π°ΡΡΠ΄Ρ ΡΡΠ°Π±ΠΎΡΠ°ΡΡ, Π° ΠΊΡΠΌΡΠ»ΡΡΠΈΠ²Π½ΠΎΠΉ ΡΡΡΡΠ΅ ΠΏΠΎΡΠ²ΠΈΡΡΡΡ.
Β

ΠΡΠΎΡΠΈΠ²ΠΎΠΊΡΠΌΡΠ»ΡΡΠΈΠ²Π½ΡΠ΅ ΡΠ΅ΡΠ΅ΡΠΊΠΈ ΠΎΡΠΎΠ±Π΅Π½Π½ΠΎ ΡΠ°ΡΡΠΎ ΡΡΡΠ°Π½Π°Π²Π»ΠΈΠ²Π°ΡΡ Π½Π° Π»Π΅Π³ΠΊΡΡ Π±ΡΠΎΠ½Π΅ΡΠ΅Ρ Π½ΠΈΠΊΡ β ΠΠ’Π , ΠΠΠ ΠΈΠ»ΠΈ ΠΈΡΡΡΠ΅Π±ΠΈΡΠ΅Π»ΠΈ ΡΠ°Π½ΠΊΠΎΠ².
Π Π² Π·Π°Π²Π΅ΡΡΠ΅Π½ΠΈΠ΅ β Π½Π΅ΡΠΊΠΎΠ»ΡΠΊΠΎ ΡΠ»ΠΎΠ² ΠΏΡΠΎ Π½Π°Π²Π΅ΡΠ½ΡΡ ΠΌΠΎΠ΄ΡΠ»ΡΠ½ΡΡ Π±ΡΠΎΠ½Ρ. Π‘Π°ΠΌΠ° Π΅Π΅ ΠΈΠ΄Π΅Ρ Π½Π΅ Π½ΠΎΠ²Π° β Π΅ΡΠ΅ 70 ΠΈ Π±ΠΎΠ»Π΅Π΅ Π»Π΅Ρ Π½Π°Π·Π°Π΄ ΡΠΊΠΈΠΏΠ°ΠΆΠΈ Π΄ΠΎΠ±Π°Π²Π»ΡΠ»ΠΈ Π½Π΅ΠΌΠ½ΠΎΠ³ΠΎ Π·Π°ΡΠΈΡΡ ΡΠ°ΠΌ, Π³Π΄Π΅ Π΅Π΅ Π½Π΅ Ρ Π²Π°ΡΠ°Π»ΠΎ. Π Π°Π½ΡΡΠ΅ Π΄Π»Ρ ΡΡΠΎΠ³ΠΎ ΠΈΡΠΏΠΎΠ»ΡΠ·ΠΎΠ²Π°Π»ΠΈΡΡ Π΄ΠΎΡΠΊΠΈ, ΠΌΠ΅ΡΠΊΠΈ Ρ ΠΏΠ΅ΡΠΊΠΎΠΌ, Π»ΠΈΡΡΡ Π±ΡΠΎΠ½ΠΈ Ρ ΠΏΠΎΠ΄Π±ΠΈΡΡΡ Π²ΡΠ°ΠΆΠ΅ΡΠΊΠΈΡ ΡΠ°Π½ΠΊΠΎΠ² ΠΈΠ»ΠΈ Π΄Π°ΠΆΠ΅ Π±Π΅ΡΠΎΠ½. Π‘Π΅Π³ΠΎΠ΄Π½Ρ ΠΆΠ΅ ΠΏΡΠΈΠΌΠ΅Π½ΡΡΡΡΡ ΡΠΎΠ²ΡΠ΅ΠΌΠ΅Π½Π½ΡΠ΅ ΠΏΠΎΠ»ΠΈΠΌΠ΅ΡΡ, ΠΊΠ΅ΡΠ°ΠΌΠΈΠΊΠ° ΠΈ ΠΏΡΠΎΡΠΈΠ΅ ΠΌΠ°ΡΠ΅ΡΠΈΠ°Π»Ρ, ΠΏΠΎΠΊΠ°Π·ΡΠ²Π°ΡΡΠΈΠ΅ Π²ΡΡΠΎΠΊΠΈΠΉ ΡΡΠΎΠ²Π΅Π½Ρ Π·Π°ΡΠΈΡΡ ΠΏΡΠΈ ΠΌΠ°Π»ΠΎΠΉ ΠΌΠ°ΡΡΠ΅. ΠΡΠΎΠΌΠ΅ ΡΠΎΠ³ΠΎ, ΡΠΎΠ²ΡΠ΅ΠΌΠ΅Π½Π½Π°Ρ ΠΌΠΎΠ΄ΡΠ»ΡΠ½Π°Ρ Π±ΡΠΎΠ½Ρ ΡΠΊΠΎΠ½ΡΡΡΡΠΈΡΠΎΠ²Π°Π½Π° ΠΈ ΠΈΠ·Π³ΠΎΡΠΎΠ²Π»Π΅Π½Π° ΡΠ°ΠΊ, ΡΡΠΎΠ±Ρ Π΅Π΅ ΠΌΠΎΠ½ΡΠ°ΠΆ ΠΈ Π΄Π΅ΠΌΠΎΠ½ΡΠ°ΠΆ ΠΏΡΠΎΠΈΡΡ ΠΎΠ΄ΠΈΠ» ΠΌΠ°ΠΊΡΠΈΠΌΠ°Π»ΡΠ½ΠΎ Π±ΡΡΡΡΠΎ. ΠΠ΄ΠΈΠ½ ΠΈΠ· ΠΏΡΠΈΠΌΠ΅ΡΠΎΠ² ΡΠ°ΠΊΠΎΠΉ Π·Π°ΡΠΈΡΡ β Π½Π°Π²Π΅ΡΠ½Π°Ρ Π±ΡΠΎΠ½Ρ MEXAS, ΠΈΡΠΏΠΎΠ»ΡΠ·ΡΠ΅ΠΌΠ°Ρ Π½Π° ΡΠ°Π½ΠΊΠ°Ρ Β«ΠΠ΅ΠΎΠΏΠ°ΡΠ΄-1Β» ΠΈ Β«ΠΠ΅ΠΎΠΏΠ°ΡΠ΄-2Β», Π±ΡΠΎΠ½Π΅ΡΡΠ°Π½ΡΠΏΠΎΡΡΠ΅ΡΠ°Ρ Π113 ΠΈ Π1126 Β«Π‘ΡΡΠ°ΠΉΠΊΠ΅ΡΒ» ΠΈ Π½Π° ΠΌΠ½ΠΎΠ³ΠΈΡ Π΄ΡΡΠ³ΠΈΡ ΠΎΠ±ΡΠ°Π·ΡΠ°Ρ Π±ΠΎΠ΅Π²ΠΎΠΉ ΡΠ΅Ρ Π½ΠΈΠΊΠΈ.
ΠΠ° ΡΡΠΎΠΌ Π²ΡΠ΅.
ΠΡΠΏΠΎΠ»ΡΠ·ΡΠΉΡΠ΅ Π±ΡΠΎΠ½Ρ ΠΏΡΠ°Π²ΠΈΠ»ΡΠ½ΠΎ, Π½Π΅ ΠΏΠΎΠ΄ΡΡΠ°Π²Π»ΡΠΉΡΠ΅ ΡΠ»Π°Π±ΡΠ΅ ΠΌΠ΅ΡΡΠ° ΡΠ²ΠΎΠΈΡ ΡΠ°Π½ΠΊΠΎΠ² ΠΏΠΎΠ΄ ΡΠ½Π°ΡΡΠ΄Ρ ΠΏΡΠΎΡΠΈΠ²Π½ΠΈΠΊΠ° ΠΈ ΡΠ΄Π°ΡΠΈ Π² Π±ΠΎΡΡ !
ΠΠ±ΡΡΠ΄ΠΈΡΡ
aw.mail.ru
