Π Π°Π±ΠΎΡΠ°Ρ ΡΠΎΡΠΌΠΎΠ·Π½Π°Ρ ΡΠΈΡΡΠ΅ΠΌΠ° Π°Π²ΡΠΎΠΌΠΎΠ±ΠΈΠ»Ρ ΠΠΠ-131
ΠΠ°ΡΠ΅Π³ΠΎΡΠΈΡ:
Β Β Β Π£ΡΡΡΠΎΠΉΡΡΠ²ΠΎ Π°Π²ΡΠΎΠΌΠΎΠ±ΠΈΠ»Ρ
ΠΡΠ±Π»ΠΈΠΊΠ°ΡΠΈΡ:
Β Β Β Π Π°Π±ΠΎΡΠ°Ρ ΡΠΎΡΠΌΠΎΠ·Π½Π°Ρ ΡΠΈΡΡΠ΅ΠΌΠ° Π°Π²ΡΠΎΠΌΠΎΠ±ΠΈΠ»Ρ ΠΠΠ-131
Π§ΠΈΡΠ°ΡΡ Π΄Π°Π»Π΅Π΅:
Π Π°Π±ΠΎΡΠ°Ρ ΡΠΎΡΠΌΠΎΠ·Π½Π°Ρ ΡΠΈΡΡΠ΅ΠΌΠ° Π°Π²ΡΠΎΠΌΠΎΠ±ΠΈΠ»Ρ ΠΠΠ-131
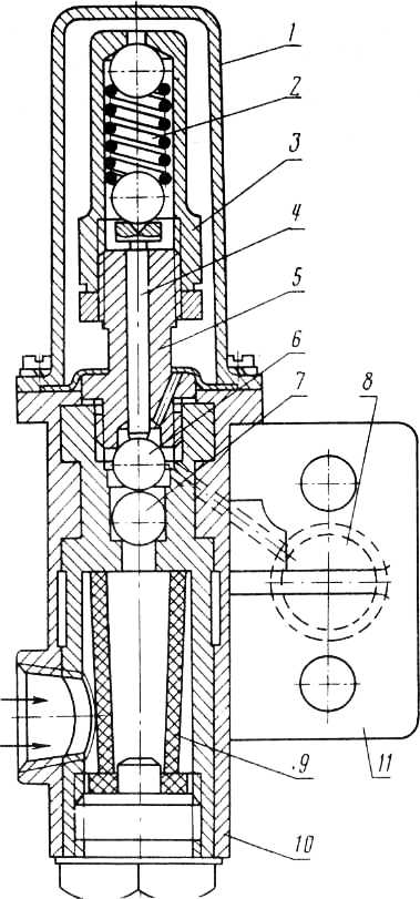
ΠΠ½Π° ΡΠΎΡΡΠΎΠΈΡ ΠΈΠ· ΡΠ΅ΡΡΠΈ ΡΠΎΡΠΌΠΎΠ·Π½ΡΡ ΠΌΠ΅Ρ Π°Π½ΠΈΠ·ΠΌΠΎΠ² ΠΈ ΠΏΠ½Π΅Π²ΠΌΠ°ΡΠΈΡΠ΅ΡΠΊΠΎΠ³ΠΎ ΠΏΡΠΈΠ²ΠΎΠ΄Π°.
Π’ΠΎΡΠΌΠΎΠ·Π½ΠΎΠΉ ΠΌΠ΅Ρ Π°Π½ΠΈΠ·ΠΌ Π²ΠΊΠ»ΡΡΠ°Π΅Ρ ΡΠΎΡΠΌΠΎΠ·Π½ΠΎΠΉ Π±Π°ΡΠ°Π±Π°Π½, ΠΎΠΏΠΎΡΠ½ΡΠΉ Π΄ΠΈΡΠΊ, Π΄Π²Π΅ ΠΊΠΎΠ»ΠΎΠ΄ΠΊΠΈ Ρ ΡΡΠΈΠΊΡΠΈΠΎΠ½Π½ΡΠΌΠΈ Π½Π°ΠΊΠ»Π°Π΄ΠΊΠ°ΠΌΠΈ, Π΄Π²Π΅ ΠΎΡΠΈ ΠΊΠΎΠ»ΠΎΠ΄ΠΎΠΊ, ΡΡΡΠΆΠ½ΡΡ ΠΏΡΡΠΆΠΈΠ½Ρ, ΡΠ°Π·ΠΆΠΈΠΌΠ½ΡΠΉ ΠΊΡΠ»Π°ΠΊ Ρ Π²Π°Π»ΠΎΠΌ.
Π’ΠΎΡΠΌΠΎΠ·Π½ΠΎΠΉ Π±Π°ΡΠ°Π±Π°Π½ ΡΡΠ³ΡΠ½Π½ΡΠΉ, Π»ΠΈΡΠΎΠΉ, ΠΊΡΠ΅ΠΏΠΈΡΡΡ ΠΊ ΡΡΡΠΏΠΈΡΠ΅ ΠΊΠΎΠ»Π΅ΡΠ° ΡΠΏΠΈΠ»ΡΠΊΠ°ΠΌΠΈ. ΠΠΏΠΎΡΠ½ΡΠΉ Π΄ΠΈΡΠΊ ΡΡΠ°ΠΌΠΏΠΎΠ²Π°Π½Π½ΡΠΉ, ΠΊΡΠ΅ΠΏΠΈΡΡΡ Π²ΠΌΠ΅ΡΡΠ΅ Ρ ΡΠ°ΠΏΡΠΎΠΉ ΠΊ Π±Π°Π»ΠΊΠ΅ ΠΌΠΎΡΡΠ° (Π΄Π»Ρ ΡΡΠ΅Π΄Π½Π΅Π³ΠΎ ΠΈ Π·Π°Π΄Π½Π΅Π³ΠΎ ΠΌΠΎΡΡΠΎΠ²) ΠΈΠ»ΠΈ ΠΊ ΠΊΠΎΡΠΏΡΡΡ ΠΏΠΎΠ²ΠΎΡΠΎΡΠ½ΠΎΠ³ΠΎ ΠΊΡΠ»Π°ΠΊΠ° (Π΄Π»Ρ ΠΏΠ΅ΡΠ΅Π΄Π½Π΅Π³ΠΎ ΠΌΠΎΡΡΠ°). ΠΠΎΠ»ΠΎΠ΄ΠΊΠΈ Π»ΠΈΡΡΠ΅, ΡΡΠ³ΡΠ½Π½ΡΠ΅, ΡΡΡΠ°Π½ΠΎΠ²Π»Π΅Π½Ρ Π½Π° ΠΎΡΡΡ Ρ ΡΠΊΡΡΠ΅Π½ΡΡΠΈΠΊΠΎΠ²ΡΠΌΠΈ ΡΠ΅ΠΉΠΊΠ°ΠΌΠΈ. Π ΠΎΡΠ²Π΅ΡΡΡΠΈΡ ΠΊΠΎΠ»ΠΎΠ΄ΠΎΠΊ Π·Π°ΠΏΡΠ΅ΡΡΠΎΠ²Π°Π½Ρ Π±ΡΠΎΠ½Π·ΠΎΠ²ΡΠ΅ Π²ΡΡΠ»ΠΊΠΈ.
Π Π΅ΠΊΠ»Π°ΠΌΠ½ΡΠ΅ ΠΏΡΠ΅Π΄Π»ΠΎΠΆΠ΅Π½ΠΈΡ Π½Π° ΠΎΡΠ½ΠΎΠ²Π΅ Π²Π°ΡΠΈΡ ΠΈΠ½ΡΠ΅ΡΠ΅ΡΠΎΠ²:
Π Π°Π·ΠΆΠΈΠΌΠ½ΡΠΉ ΠΊΡΠ»Π°ΠΊ ΠΈΠΌΠ΅Π΅Ρ ΡΠΏΠ΅ΡΠΈΠ°Π»ΡΠ½ΡΠΉ ΠΏΡΠΎΡΠΈΠ»Ρ, ΠΈΠ·Π³ΠΎΡΠΎΠ²Π»Π΅Π½ Π·Π°ΠΎΠ΄Π½ΠΎ Ρ Π²Π°Π»ΠΎΠΌ, Π½Π° Π½Π°ΡΡΠΆΠ½ΠΎΠΌ ΠΊΠΎΠ½ΡΠ΅ ΠΊΠΎΡΠΎΡΠΎΠ³ΠΎ ΡΡΡΠ°Π½ΠΎΠ²Π»Π΅Π½ ΡΠ΅Π³ΡΠ»ΠΈΡΠΎΠ²ΠΎΡΠ½ΡΠΉ ΡΡΡΠ°Π³. Π ΡΡΡΠ°Π³Ρ ΠΏΡΠΈΡΠΎΠ΅Π΄ΠΈΠ½ΡΠ΅ΡΡΡ ΡΡΠΎΠΊ ΡΠΎΡΠΌΠΎΠ·Π½ΠΎΠΉ ΠΊΠ°ΠΌΠ΅ΡΡ. ΠΠ½ΡΡΡΠΈ ΡΡΡΠ°Π³Π° ΡΠ°ΡΠΏΠΎΠ»ΠΎΠΆΠ΅Π½Π° ΡΠ΅ΡΠ²ΡΡΠ½Π°Ρ ΠΏΠ°ΡΠ°. Π§Π΅ΡΠ²ΡΠΊ ΡΡΠΎΠΏΠΎΡΠΈΡΡΡ ΠΎΡ ΡΠ°ΠΌΠΎΠΏΡΠΎΠΈΠ·Π²ΠΎΠ»ΡΠ½ΠΎΠ³ΠΎ Π²ΡΠ°ΡΠ΅Π½ΠΈΡ ΡΠΈΠΊΡΠ°ΡΠΎΡΠΎΠΌ. Π§Π΅ΡΠ²ΡΡΠ½Π°Ρ ΡΠ΅ΡΡΠ΅ΡΠ½Ρ ΡΡΡΠ°Π½ΠΎΠ²Π»Π΅Π½Π° Π½Π° ΡΠ»ΠΈΡΠ°Ρ Π²Π°Π»Π° ΡΠ°Π·ΠΆΠΈΠΌΠ½ΠΎΠ³ΠΎ ΠΊΡΠ»Π°ΠΊΠ°. ΠΡΠΈ Π²ΡΠ°ΡΠ΅Π½ΠΈΠΈ ΡΠ΅ΡΠ²ΡΠΊΠ° ΡΠ΅ΡΡΠ΅ΡΠ½Ρ ΠΏΠΎΠ²ΠΎΡΠ°ΡΠΈΠ²Π°Π΅Ρ Π²Π°Π» ΠΊΡΠ»Π°ΠΊΠ°, ΡΡΠΎ Π²Π΅Π΄Π΅Ρ ΠΊ ΠΈΠ·ΠΌΠ΅Π½Π΅Π½ΠΈΡ Π·Π°Π·ΠΎΡΠ° ΠΌΠ΅ΠΆΠ΄Ρ ΠΊΠΎΠ»ΠΎΠ΄ΠΊΠ°ΠΌΠΈ ΠΈ Π±Π°ΡΠ°Π±Π°Π½ΠΎΠΌ.
Π Π΅Π³ΡΠ»ΠΈΡΠΎΠ²ΠΊΠ° ΡΠΎΡΠΌΠΎΠ·Π½ΡΡ ΠΌΠ΅Ρ Π°Π½ΠΈΠ·ΠΌΠΎΠ². ΠΠ΅ΠΎΠ±Ρ ΠΎΠ΄ΠΈΠΌΠΎΡΡΡ ΡΠ°ΡΡΠΈΡΠ½ΠΎΠΉ ΡΠ΅Π³ΡΠ»ΠΈΡΠΎΠ²ΠΊΠΈ ΡΠΎΡΠΌΠΎΠ·Π° ΠΎΠ±Π½Π°ΡΡΠΆΠΈΠ²Π°Π΅ΡΡΡ ΠΏΠΎ ΡΠ²Π΅Π»ΠΈΡΠ΅Π½ΠΈΡ Π²ΡΡ ΠΎΠ΄Π° ΡΡΠΎΠΊΠ° ΡΠΎΡΠΌΠΎΠ·Π½ΠΎΠΉ ΠΊΠ°ΠΌΠ΅ΡΡ, ΠΊΠΎΡΠΎΡΡΠΉ Π΄ΠΎΠ»ΠΆΠ΅Π½ Π±ΡΡΡ Π½Π΅ Π±ΠΎΠ»Π΅Π΅ 40 ΠΌΠΌ.

Π ΠΈΡ. 1. Π Π°Π±ΠΎΡΠΈΠΉ ΡΠΎΡΠΌΠΎΠ·Π½ΠΎΠΉ ΠΌΠ΅Ρ
Π°Π½ΠΈΠ·ΠΌ Π°Π²ΡΠΎΠΌΠΎΠ±ΠΈΠ»Ρ ΠΠΠ-131:
1 β ΠΎΠΏΠΎΡΠ½ΡΠΉ Π΄ΠΈΡΠΊ; 2 β ΠΊΠΎΠ»ΠΎΠ΄ΠΊΠ° ΡΠΎΡΠΌΠΎΠ·Π°; 3 β ΡΠΎΡΠΌΠΎΠ·Π½ΠΎΠΉ Π±Π°ΡΠ°Π±Π°Π½; 4 β Π²Π°Π» ΡΠ°Π·ΠΆΠΈΠΌΠ½ΠΎΠ³ΠΎ ΠΊΡΠ»Π°ΠΊΠ°; 5 β ΠΏΡΠΎΠ±ΠΊΠ° ΠΎΡΠ²Π΅ΡΡΡΠΈΡ Π΄Π»Ρ ΡΠΌΠ°Π·ΠΊΠΈ; 6 β ΡΠ΅ΡΠ²ΡΡΠ½Π°Ρ ΡΠ΅ΡΡΠ΅ΡΠ½Ρ: 7 β ΡΠ΅ΡΠ²ΡΠΊ; 8 β ΡΡΡΠ°Π³; 9 β ΡΡΠΎΠΊ ΡΠΎΡΠΌΠΎΠ·Π½ΠΎΠΉ ΠΊΠ°ΠΌΠ΅ΡΡ; 10 β ΠΊΠΎΡΠΏΡΡ; 11 β ΠΊΡΡΡΠΊΠ°; 12 β Π΄ΠΈΠ°ΡΡΠ°Π³ΠΌΠ°: 13β ΠΏΡΡΠΆΠΈΠ½Π°; 14 β ΠΊΡΠΎΠ½ΡΡΠ΅ΠΉΠ½ ΡΠΎΡΠΌΠΎΠ·Π½ΠΎΠΉ ΠΊΠ°ΠΌΠ΅ΡΡ; 15 β ΠΊΡΡΡΠΊΠ°; 16 β ΠΊΡΠΎΠ½ΡΡΠ΅ΠΉΠ½ ΠΎΡΠ΅ΠΉ ΠΊΠΎΠ»ΠΎΠ΄ΠΎΠΊ; 17 β ΡΠΊΡΡΠ΅Π½ΡΡΠΈΠΊΠΎΠ²ΡΠ΅ ΠΎΡΠΈ ΠΊΠΎΠ»ΠΎΠ΄ΠΎΠΊ
Π§Π°ΡΡΠΈΡΠ½ΡΡ ΡΠ΅Π³ΡΠ»ΠΈΡΠΎΠ²ΠΊΡ ΠΏΡΠΎΠΈΠ·Π²ΠΎΠ΄ΡΡ Π²ΡΠ°ΡΠ΅Π½ΠΈΠ΅ΠΌ Π²Π°Π»ΠΈΠΊΠ° ΡΠ΅Π³ΡΠ»ΠΈΡΠΎΠ²ΠΎΡΠ½ΠΎΠ³ΠΎ ΡΡΡΠ°Π³Π°, ΠΏΡΠΈ ΡΡΠΎΠΌ Π΄ΠΎΠ±ΠΈΠ²Π°ΡΡΡΡ, ΡΡΠΎΠ±Ρ Π²ΡΡ ΠΎΠ΄ ΡΡΠΎΠΊΠ° ΡΠΎΡΠΌΠΎΠ·Π½ΠΎΠΉ ΠΊΠ°ΠΌΠ΅ΡΡ ΠΏΡΠΈ Π½Π°ΠΆΠ°ΡΠΈΠΈ Π½Π° ΠΏΠ΅Π΄Π°Π»Ρ Π±ΡΠ» Π² ΠΏΡΠ΅Π΄Π΅Π»Π°Ρ 15β25 ΠΌΠΌ. ΠΠ° ΠΎΠ΄Π½ΠΎΠΌ ΠΌΠΎΡΡΡ Π²ΡΡ ΠΎΠ΄ ΡΡΠΎΠΊΠΎΠ² ΡΠΎΡΠΌΠΎΠ·Π½ΡΡ ΠΊΠ°ΠΌΠ΅Ρ Π΄ΠΎΠ»ΠΆΠ΅Π½ Π±ΡΡΡ ΠΎΠ΄ΠΈΠ½Π°ΠΊΠΎΠ². ΠΡΠΈ ΠΏΠΎΠ΄Π°ΡΠ΅ ΠΈ Π²ΡΠΏΡΡΠΊΠ΅ Π²ΠΎΠ·Π΄ΡΡ Π° ΠΈΠ· ΡΠΎΡΠΌΠΎΠ·Π½ΡΡ ΠΊΠ°ΠΌΠ΅Ρ ΡΡΠΎΠΊΠΈ Π΄ΠΎΠ»ΠΆΠ½Ρ ΠΏΠ΅ΡΠ΅ΠΌΠ΅ΡΠ°ΡΡΡΡ Π±ΡΡΡΡΠΎ, Π±Π΅Π· Π·Π°Π΅Π΄Π°Π½ΠΈΠΉ. ΠΠΎΠ΄Π΄ΠΎΠΌΠΊΡΠ°ΡΠ΅Π½Π½ΠΎΠ΅ ΠΈ ΡΠ°ΡΠΊΡΡΡΠ΅Π½Π½ΠΎΠ΅ ΡΡΠΊΠΎΠΉ ΠΊΠΎΠ»Π΅ΡΠΎ Π΄ΠΎΠ»ΠΆΠ½ΠΎ Π²ΡΠ°ΡΠ°ΡΡΡΡ ΡΠ°Π²Π½ΠΎΠΌΠ΅ΡΠ½ΠΎ ΠΈ ΡΠ²ΠΎΠ±ΠΎΠ΄Π½ΠΎ, Π° ΠΏΡΠΈ Π½Π°ΠΆΠ°ΡΠΈΠΈ Π½Π° ΡΠΎΡΠΌΠΎΠ·Π½ΡΡ ΠΏΠ΅Π΄Π°Π»Ρ ΡΠ΅Π·ΠΊΠΎ ΠΎΡΡΠ°Π½Π°Π²Π»ΠΈΠ²Π°ΡΡΡΡ.
ΠΡΠΈ ΠΏΠΎΠ»Π½ΠΎΠΉ ΡΠ΅Π³ΡΠ»ΠΈΡΠΎΠ²ΠΊΠ΅ Π½ΡΠΆΠ½ΠΎ ΡΠ±Π»ΠΈΠ·ΠΈΡΡ ΡΠΊΡΡΠ΅Π½ΡΡΠΈΠΊΠΈ ΠΎΡΠ΅ΠΉ, ΠΏΠΎΠ²Π΅ΡΠ½ΡΡΡ ΠΎΡΠΈ ΠΌΠ΅ΡΠΊΠ°ΠΌΠΈ ΠΎΠ΄Π½Ρ ΠΊ Π΄ΡΡΠ³ΠΎΠΉ. ΠΠ΅ΡΠΊΠΈ ΠΏΠΎΡΡΠ°Π²Π»Π΅Π½Ρ Π½Π° Π½Π°ΡΡΠΆΠ½ΡΡ , Π²ΡΡΡΡΠΏΠ°ΡΡΠΈΡ ΠΏΠΎΠ΄ Π³Π°ΠΉΠΊΠ°ΠΌΠΈ ΡΠΎΡΡΠ°Ρ ΠΎΡΠ΅ΠΉ. ΠΠΎΠ΄Π°ΡΡ Π² ΡΠΎΡΠΌΠΎΠ·Π½ΡΡ ΠΊΠ°ΠΌΠ΅ΡΡ ΡΠΆΠ°ΡΡΠΉ Π²ΠΎΠ·Π΄ΡΡ ΠΏΠΎΠ΄ Π΄Π°Π²Π»Π΅Π½ΠΈΠ΅ΠΌ 1,0β1,5 ΠΊΠ³Ρ/ΡΠΌ2 ΠΈ, ΠΏΠΎΠ²ΠΎΡΠ°ΡΠΈΠ²Π°Ρ ΡΠΊΡΡΠ΅Π½ΡΡΠΈΠΊΠΈ Π² ΡΡ ΠΈ Π΄ΡΡΠ³ΡΡ ΡΡΠΎΡΠΎΠ½Ρ, ΡΡΠ΅Π½ΡΡΠΈΡΠΎΠ²Π°ΡΡ ΠΊΠΎΠ»ΠΎΠ΄ΠΊΠΈ, ΠΎΠ±Π΅ΡΠΏΠ΅ΡΠΈΠ²Π°Ρ ΠΈΡ ΠΏΠ»ΠΎΡΠ½ΠΎΠ΅ ΠΏΡΠΈΠ»Π΅Π³Π°Π½ΠΈΠ΅ ΠΊ Π±Π°ΡΠ°Π±Π°Π½Ρ. ΠΡΠΈΠ»Π΅Π³Π°Π½ΠΈΠ΅ ΠΊΠΎΠ»ΠΎΠ΄ΠΎΠΊ ΠΊ Π±Π°ΡΠ°Π±Π°Π½Ρ ΠΏΡΠΎΠ²Π΅ΡΡΠ΅ΡΡΡ ΡΡΠΏΠΎΠΌ ΡΠ΅ΡΠ΅Π· ΠΎΠΊΠ½ΠΎ Π² ΡΠΎΡΠΌΠΎΠ·Π½ΠΎΠΌ Π±Π°ΡΠ°Π±Π°Π½Π΅ Π½Π° ΡΠ°ΡΡΡΠΎΡΠ½ΠΈΠΈ 20β 30 ΠΌΠΌ ΠΎΡ ΠΊΠΎΠ½ΡΠΎΠ² Π½Π°ΠΊΠ»Π°Π΄ΠΎΠΊ. Π©ΡΠΏ ΡΠΎΠ»ΡΠΈΠ½ΠΎΠΉ 0,1 ΠΌΠΌ Π½Π΅ Π΄ΠΎΠ»ΠΆΠ΅Π½ ΠΏΡΠΎΡ ΠΎΠ΄ΠΈΡΡ Π½Π° Π²ΡΡ ΡΠΈΡΠΈΠ½Ρ Π½Π°ΠΊΠ»Π°Π΄ΠΊΠΈ. ΠΠΎΡΠ»Π΅ ΡΡΠΎΠ³ΠΎ ΠΏΡΠ΅ΠΊΡΠ°ΡΠΈΡΡ ΠΏΠΎΠ΄Π°ΡΡ Π²ΠΎΠ·Π΄ΡΡ Π° Π² ΡΠΎΡΠΌΠΎΠ·Π½ΡΡ ΠΊΠ°ΠΌΠ΅ΡΡ ΠΈ ΠΏΠΎΠ²Π΅ΡΠ½ΡΡΡ ΡΠ΅ΡΠ²ΡΠΊ ΡΠ΅Π³ΡΠ»ΠΈΡΠΎΠ²ΠΎΡΠ½ΠΎΠ³ΠΎ ΡΡΡΠ°Π³Π° ΡΠ°ΠΊ, ΡΡΠΎΠ±Ρ Ρ ΠΎΠ΄ ΡΡΠΎΠΊΠ° Π±ΡΠ» 15β25 ΠΌΠΌ. ΠΡΠΈ ΠΏΠΎΠ»Π½ΠΎΠΉ ΡΠ΅Π³ΡΠ»ΠΈΡΠΎΠ²ΠΊΠ΅ Π³Π°ΠΉΠΊΠΈ ΠΊΡΠ΅ΠΏΠ»Π΅Π½ΠΈΡ ΠΊΡΠΎΠ½ΡΡΠ΅ΠΉΠ½Π° ΡΠ°Π·ΠΆΠΈΠΌΠ½ΠΎΠ³ΠΎ ΠΊΡΠ»Π°ΠΊΠ° Π΄ΠΎΠ»ΠΆΠ½Ρ Π±ΡΡΡ ΠΎΡΠ»Π°Π±Π»Π΅Π½Ρ ΠΈ ΡΠ½ΠΎΠ²Π° ΠΏΠ»ΠΎΡΠ½ΠΎ Π·Π°ΡΡΠ½ΡΡΡ.
ΠΡΠΈΠ²ΠΎΠ΄ ΡΠ°Π±ΠΎΡΠ΅ΠΉ ΡΠΎΡΠΌΠΎΠ·Π½ΠΎΠΉ ΡΠΈΡΡΠ΅ΠΌΡ ΡΠΎΡΡΠΎΠΈΡ ΠΈΠ· ΠΊΠΎΠΌΠΏΡΠ΅ΡΡΠΎΡΠ°, ΡΠ΅Π³ΡΠ»ΡΡΠΎΡΠ° Π΄Π°Π²Π»Π΅Π½ΠΈΡ, ΡΡΠ΅Ρ Π²ΠΎΠ·Π΄ΡΡΠ½ΡΡ Π±Π°Π»Π»ΠΎΠ½ΠΎΠ², ΡΠΎΡΠΌΠΎΠ·Π½ΠΎΠ³ΠΎ ΠΊΡΠ°Π½Π°, ΠΏΡΠ΅Π΄ΠΎΡ ΡΠ°Π½ΠΈΡΠ΅Π»ΡΠ½ΠΎΠ³ΠΎ ΠΊΠ»Π°ΠΏΠ°Π½Π°, ΡΠ΅ΡΡΠΈ ΡΠΎΡΠΌΠΎΠ·Π½ΡΡ ΠΊΠ°ΠΌΠ΅Ρ, ΡΠ°Π·ΠΎΠ±ΡΠΈΡΠ΅Π»ΡΠ½ΠΎΠ³ΠΎ ΠΊΡΠ°Π½Π°, ΡΠΎΠ΅Π΄ΠΈΠ½ΠΈΡΠ΅Π»ΡΠ½ΠΎΠΉ Π³ΠΎΠ»ΠΎΠ²ΠΊΠΈ, ΠΊΡΠ°Π½Π° ΠΎΡΠ±ΠΎΡΠ° Π²ΠΎΠ·Π΄ΡΡ Π°, ΠΌΠ°Π½ΠΎΠΌΠ΅ΡΡΠ°, ΡΡΡΠ±ΠΎΠΏΡΠΎΠ²ΠΎΠ΄ΠΎΠ² ΠΈ ΡΠ»Π°Π½Π³ΠΎΠ².
ΠΠΎΠΌΠΏΡΠ΅ΡΡΠΎΡ ΡΠ»ΡΠΆΠΈΡ Π΄Π»Ρ ΡΠΎΠ·Π΄Π°Π½ΠΈΡ Π΄Π°Π²Π»Π΅Π½ΠΈΡ Π²ΠΎΠ·Π΄ΡΡ Π° Π² ΠΏΠ½Π΅Π²-ΠΌΠΎΡΠΈΡΡΠ΅ΠΌΠ΅ Π°Π²ΡΠΎΠΌΠΎΠ±ΠΈΠ»Ρ. ΠΠ° Π°Π²ΡΠΎΠΌΠΎΠ±ΠΈΠ»Π΅ ΠΠΠ-131 ΠΈΡΠΏΠΎΠ»ΡΠ·ΡΠ΅ΡΡΡ Π΄Π²ΡΡ ΡΠΈΠ»ΠΈΠ½Π΄ΡΠΎΠ²ΡΠΉ ΠΏΠΎΡΡΠ½Π΅Π²ΠΎΠΉ ΠΊΠΎΠΌΠΏΡΠ΅ΡΡΠΎΡ ΠΎΠ΄Π½ΠΎΡΡΡΠΏΠ΅Π½ΡΠ°ΡΠΎΠ³ΠΎ ΡΠΆΠ°ΡΠΈΡ. ΠΡΠ΅ΠΏΠΈΡΡΡ ΠΊΠΎΠΌΠΏΡΠ΅ΡΡΠΎΡ Π½Π° ΠΏΡΠ°Π²ΠΎΠΉ Π³ΠΎΠ»ΠΎΠ²ΠΊΠ΅ Π±Π»ΠΎΠΊΠ°, ΠΏΡΠΈΠ²ΠΎΠ΄ΠΈΡΡΡ Π² Π΄Π΅ΠΉΡΡΠ²ΠΈΠ΅ ΡΠ΅ΠΌΠ½Π΅ΠΌ ΠΎΡ ΡΠΊΠΈΠ²Π° ΠΊΠΎΠ»Π΅Π½ΡΠ°ΡΠΎΠ³ΠΎ Π²Π°Π»Π° Π΄Π²ΠΈΠ³Π°ΡΠ΅Π»Ρ.
ΠΡΠ½ΠΎΠ²Π½ΡΠΌΠΈ ΡΠ°ΡΡΡΠΌΠΈ ΠΊΠΎΠΌΠΏΡΠ΅ΡΡΠΎΡΠ° ΡΠ²Π»ΡΡΡΡΡ: ΠΊΠ°ΡΡΠ΅Ρ Ρ ΠΊΡΡΡΠΊΠ°ΠΌΠΈ; Π±Π»ΠΎΠΊ ΡΠΈΠ»ΠΈΠ½Π΄ΡΠΎΠ²; Π³ΠΎΠ»ΠΎΠ²ΠΊΠ° Π±Π»ΠΎΠΊΠ°, ΠΊΡΠΈΠ²ΠΎΡΠΈΠΏΠ½ΠΎ-ΡΠ°ΡΡΠ½Π½ΡΠΉ ΠΌΠ΅Ρ Π°Π½ΠΈΠ·ΠΌ, Π°Π½Π°Π»ΠΎΠ³ΠΈΡΠ½ΡΠΉ ΠΏΠΎ ΡΡΡΡΠΎΠΉΡΡΠ²Ρ ΡΠ°ΠΊΠΎΠΌΡ ΠΆΠ΅ ΠΌΠ΅Ρ Π°Π½ΠΈΠ·ΠΌΡ Π΄Π²ΠΈΠ³Π°ΡΠ΅Π»Ρ; Π΄Π²Π° Π²ΠΏΡΡΠΊΠ½ΡΡ ΠΊΠ»Π°ΠΏΠ°Π½Π°, Π΄Π²Π° Π½Π°Π³Π½Π΅ΡΠ°ΡΠ΅Π»ΡΠ½ΡΡ ΠΊΠ»Π°ΠΏΠ°Π½Π°, ΡΠ°Π·Π³ΡΡΠ·ΠΎΡΠ½ΠΎΠ΅ ΡΡΡΡΠΎΠΉΡΡΠ²ΠΎ.
Π‘ΠΌΠ°Π·ΠΊΠ° ΠΊΠΎΠΌΠΏΡΠ΅ΡΡΠΎΡΠ° ΠΎΡΡΡΠ΅ΡΡΠ²Π»ΡΠ΅ΡΡΡ ΠΎΡ ΡΠΈΡΡΠ΅ΠΌΡ ΡΠΌΠ°Π·ΠΊΠΈ Π΄Π²ΠΈΠ³Π°ΡΠ΅Π»Ρ. ΠΠ°ΡΠ»ΠΎ ΠΏΠΎΠ΄Π²ΠΎΠ΄ΠΈΡΡΡ ΠΊ Π·Π°Π΄Π½Π΅ΠΉ ΠΊΡΡΡΠΊΠ΅ ΠΈ ΡΠ΅ΡΠ΅Π· ΡΠΏΠ»ΠΎΡΠ½ΠΈΡΠ΅Π»Ρ ΠΏΠΎ ΠΊΠ°Π½Π°Π»Π°ΠΌ ΠΊΠΎΠ»Π΅Π½ΡΠ°ΡΠΎΠ³ΠΎ Π²Π°Π»Π° ΠΊ ΡΠ°ΡΡΠ½Π½ΡΠΌ ΠΏΠΎΠ΄ΡΠΈΠΏΠ½ΠΈΠΊΠ°ΠΌ. ΠΡΡΠ°Π»ΡΠ½ΡΠ΅ ΡΡΡΡΠΈΠ΅ΡΡ ΠΏΠΎΠ²Π΅ΡΡ Π½ΠΎΡΡΠΈ ΡΠΌΠ°Π·ΡΠ²Π°ΡΡΡΡ ΡΠ°Π·Π±ΡΡΠ·Π³ΠΈΠ²Π°Π½ΠΈΠ΅ΠΌ. ΠΠ· ΠΊΠΎΠΌΠΏΡΠ΅ΡΡΠΎΡΠ° ΠΌΠ°ΡΠ»ΠΎ ΡΠ»ΠΈΠ²Π°Π΅ΡΡΡ Π² ΠΊΠ°ΡΡΠ΅Ρ Π΄Π²ΠΈΠ³Π°ΡΠ΅Π»Ρ.
ΠΡ Π»Π°ΠΆΠ΄Π΅Π½ΠΈΠ΅ ΠΊΠΎΠΌΠΏΡΠ΅ΡΡΠΎΡΠ° ΠΏΡΠΎΠΈΠ·Π²ΠΎΠ΄ΠΈΡΡΡ ΠΆΠΈΠ΄ΠΊΠΎΡΡΡΡ, ΠΏΠΎΠ΄Π²ΠΎΠ΄ΠΈΠΌΠΎΠΉ ΠΈΠ· ΡΠΈΡΡΠ΅ΠΌΡ ΠΎΡ Π»Π°ΠΆΠ΄Π΅Π½ΠΈΡ Π΄Π²ΠΈΠ³Π°ΡΠ΅Π»Ρ. ΠΠΈΠ΄ΠΊΠΎΡΡΡ ΠΏΠΎΠ΄Π°Π΅ΡΡΡ ΠΊ Π±Π»ΠΎΠΊΡ ΠΊΠΎΠΌΠΏΡΠ΅ΡΡΠΎΡΠ° ΠΈΠ· Π²ΠΎΠ΄ΡΠ½ΠΎΠΉ ΡΡΠ±Π°ΡΠΊΠΈ Π²ΠΏΡΡΠΊΠ½ΠΎΠ³ΠΎ ΡΡΡΠ±ΠΎΠΏΡΠ²ΠΎΠ΄Π° Π΄Π²ΠΈΠ³Π°ΡΠ΅Π»Ρ ΠΈ ΡΠ»ΠΈΠ²Π°Π΅ΡΡΡ ΠΈΠ· Π³ΠΎΠ»ΠΎΠ²ΠΊΠΈ Π²ΠΎ Π²ΡΠ°ΡΡΠ²Π°ΡΡΡΡ ΠΏΠΎΠ»ΠΎΡΡΡ Π½Π°ΡΠΎΡΠ°.

Π ΠΈΡ. 2. ΠΠΎΠΌΠΏΡΠ΅ΡΡΠΎΡ Π°Π²ΡΠΎΠΌΠΎΠ±ΠΈΠ»Ρ ΠΠΠ-131:
1 β Π½ΠΈΠΆΠ½ΡΡ ΠΊΡΡΡΠΊΠ°; 2 β ΠΏΠΎΡΡΠ΅Π½Ρ; 3 β ΡΠΈΠ»ΠΈΠ½Π΄Ρ; 4 β ΠΊΠ°ΡΡΠ΅Ρ; 5 β ΠΊΠΎΠ»Π΅Π½ΡΠ°ΡΡΠΉ Π²Π°Π»; 6 β ΠΏΠ»ΡΠ½ΠΆΠ΅Ρ; 7 β ΠΏΠΎΡΡΠ½Π΅Π²ΠΎΠΉ ΠΏΠ°Π»Π΅Ρ; 8 β Π³ΠΎΠ»ΠΎΠ²ΠΊΠ° Π±Π»ΠΎΠΊΠ°; 9 β Π½Π°Π³Π½Π΅ΡΠ°ΡΠ΅Π»ΡΠ½Π°Ρ ΠΊΠ°ΠΌΠ΅ΡΠ°; 10βΠ½Π°Π³Π½Π΅ΡΠ°ΡΠ΅Π»ΡΠ½ΡΠΉ ΠΊΠ»Π°ΠΏΠ°Π½; 11βΠΏΡΠΎΠ±ΠΊΠ° ΠΊΠ»Π°ΠΏΠ°Π½Π°; 12βΠ²ΠΏΡΡΠΊΠ½ΠΎΠΉ ΠΊΠ°Π½Π°Π»; 13β^Π²ΠΏΡΡΠΊΠ½ΠΎΠΉ ΠΊΠ»Π°ΠΏΠ°Π½; 14 β ΡΡΠΎΠΊ; 15 β Π±Π»ΠΎΠΊ ΡΠΈΠ»ΠΈΠ½Π΄ΡΠΎΠ²; 16 β ΠΊΠ°Π½Π°Π» ΠΏΠΎΠ΄Π²ΠΎΠ΄Π° Π²ΠΎΠ·Π΄ΡΡ
Π° ΠΎΡ ΡΠ΅Π³ΡΠ»ΡΡΠΎΡΠ°; 17 β ΡΠ΅Π³ΡΠ»ΡΡΠΎΡ Π΄Π°Π²Π»Π΅Π½ΠΈΡ; 18 β ΠΊΠ°ΠΌΠ΅ΡΠ°; 19 β- ΠΊΠΎΡΠΎΠΌΡΡΠ»ΠΎ; 20 β ΡΠΏΠ»ΠΎΡΠ½ΠΈΡΠ΅Π»Ρ
ΠΠΎΠ·Π΄ΡΡ Π΄Π»Ρ Π½Π°Π³Π½Π΅ΡΠ°Π½ΠΈΡ ΠΏΠΎΠ΄Π°Π΅ΡΡΡ ΠΈΠ· Π²ΠΎΠ·Π΄ΡΡ ΠΎΠΎΡΠΈΡΡΠΈΡΠ΅Π»Ρ Π΄Π²ΠΈΠ³Π°ΡΠ΅Π»Ρ Π² ΠΊΠ°ΠΌΠ΅ΡΡ Π±Π»ΠΎΠΊΠ°, Π³Π΄Π΅ ΡΡΡΠ°Π½ΠΎΠ²Π»Π΅Π½ΠΎ ΡΠ°Π·Π³ΡΡΠ·ΠΎΡΠ½ΠΎΠ΅ ΡΡΡΡΠΎΠΉΡΡΠ²ΠΎ. Π‘ΠΆΠ°ΡΡΠΉ Π²ΠΎΠ·Π΄ΡΡ ΠΎΡΠ²ΠΎΠ΄ΠΈΡΡΡ Π² Π²ΠΎΠ·Π΄ΡΡΠ½ΡΠ΅ Π±Π°Π»Π»ΠΎΠ½Ρ ΠΎΡ Π³ΠΎΠ»ΠΎΠ²ΠΊΠΈ Π±Π»ΠΎΠΊΠ°.
Π Π°Π·Π³ΡΡΠ·ΠΎΡΠ½ΠΎΠ΅ ΡΡΡΡΠΎΠΉΡΡΠ²ΠΎ ΠΏΡΠ΅Π΄Π½Π°Π·Π½Π°ΡΠ΅Π½ΠΎ Π΄Π»Ρ ΠΏΠ΅ΡΠ΅Π²ΠΎΠ΄Π° ΠΊΠΎΠΌΠΏΡΠ΅ΡΡΠΎΡΠ° Π½Π° Ρ ΠΎΠ»ΠΎΡΡΠΎΠΉ Ρ ΠΎΠ΄ ΠΏΡΠΈ ΠΏΠΎΠ²ΡΡΠ΅Π½ΠΈΠΈ Π΄Π°Π²Π»Π΅Π½ΠΈΡ Π² ΡΠΈΡΡΠ΅ΠΌΠ΅ Π΄ΠΎ 7,3β7,7 ΠΊΠ³Ρ/ΡΠΌ2 ΠΈ Π²ΠΊΠ»ΡΡΠ΅Π½ΠΈΡ Π΅Π³ΠΎ Π² ΡΠ°Π±ΠΎΡΡ ΠΏΡΠΈ ΠΏΠΎΠ½ΠΈΠΆΠ΅Π½ΠΈΠΈ Π΄Π°Π²Π»Π΅Π½ΠΈΡ Π² ΡΠΈΡΡΠ΅ΠΌΠ΅ Π΄ΠΎ 6,0β6,4 ΠΊΠ³Ρ/ΡΠΌ2. ΠΠ½ΠΎ ΡΠΎΡΡΠΎΠΈΡ ΠΈΠ· Π΄Π²ΡΡ ΠΏΠ»ΡΠ½ΠΆΠ΅ΡΠΎΠ² Ρ ΡΠΏΠ»ΠΎΡΠ½ΠΈΡΠ΅Π»ΡΠ½ΡΠΌΠΈ ΠΊΠΎΠ»ΡΡΠ°ΠΌΠΈ ΠΈ ΡΡΠΎΠΊΠ°ΠΌΠΈ, ΠΊΠΎΡΠΎΠΌΡΡΠ»Π° Ρ ΠΏΡΡΠΆΠΈΠ½ΠΎΠΉ. ΠΠΎΠ΄ ΠΏΠ»ΡΠ½ΠΆΠ΅ΡΡ ΠΏΠΎ ΠΊΠ°Π½Π°Π»Ρ ΠΌΠΎΠΆΠ΅Ρ ΠΏΠΎΠ΄Π²ΠΎΠ΄ΠΈΡΡΡΡ ΡΠΆΠ°ΡΡΠΉ Π²ΠΎΠ·Π΄ΡΡ ΠΎΡ ΡΠ΅Π³ΡΠ»ΡΡΠΎΡΠ° Π΄Π°Π²Π»Π΅Π½ΠΈΡ.
ΠΠ°ΡΡΠΆΠ΅Π½ΠΈΠ΅ ΡΠ΅ΠΌΠ½Ρ ΠΏΡΠΈΠ²ΠΎΠ΄Π° ΠΊΠΎΠΌΠΏΡΠ΅ΡΡΠΎΡΠ° ΡΠ΅Π³ΡΠ»ΠΈΡΡΡΡ ΠΏΠ΅ΡΠ΅ΠΌΠ΅ΡΠ΅Π½ΠΈΠ΅ΠΌ ΡΠ°ΠΌΠΎΠ³ΠΎ ΠΊΠΎΠΌΠΏΡΠ΅ΡΡΠΎΡΠ° ΠΎΡΠ½ΠΎΡΠΈΡΠ΅Π»ΡΠ½ΠΎ ΠΎΠΏΠΎΡΠ½ΠΎΠ³ΠΎ ΠΊΡΠΎΠ½ΡΡΠ΅ΠΉΠ½Π° Ρ ΠΏΠΎΠΌΠΎΡΡΡ ΡΠ΅Π³ΡΠ»ΠΈΡΠΎΠ²ΠΎΡΠ½ΠΎΠ³ΠΎ Π±ΠΎΠ»ΡΠ°. ΠΡΠ΅Π΄Π²Π°ΡΠΈΡΠ΅Π»ΡΠ½ΠΎ Π½ΡΠΆΠ½ΠΎ ΠΎΡΠ»Π°Π±ΠΈΡΡ Π³Π°ΠΉΠΊΠΈ ΠΊΡΠ΅ΠΏΠ»Π΅Π½ΠΈΡ Π½ΠΈΠΆΠ½Π΅ΠΉ ΠΊΡΡΡΠΊΠΈ ΠΊ ΠΎΠΏΠΎΡΠ½ΠΎΠΌΡ ΠΊΡΠΎΠ½ΡΡΠ΅ΠΉΠ½Ρ. Π Π΅ΠΌΠ΅Π½Ρ Π΄ΠΎΠ»ΠΆΠ΅Π½ Π±ΡΡΡ Π½Π°ΡΡΠ½ΡΡ ΡΠ°ΠΊ, ΡΡΠΎΠ±Ρ Π΅Π³ΠΎ ΠΏΡΠΎΠ³ΠΈΠ± Π² ΡΠ΅ΡΠ΅Π΄ΠΈΠ½Π΅ Π²Π΅ΡΠ²ΠΈ ΠΎΡ ΡΡΠΈΠ»ΠΈΡ 4 ΠΊΠ³Ρ Π±ΡΠ» 5β8 ΠΌΠΌ.
Π Π΅Π³ΡΠ»ΡΡΠΎΡ Π΄Π°Π²Π»Π΅Π½ΠΈΡ ΡΠ»ΡΠΆΠΈΡ Π΄Π»Ρ Π°Π²ΡΠΎΠΌΠ°ΡΠΈΡΠ΅ΡΠΊΠΎΠ³ΠΎ ΠΎΡΠΊΠ»ΡΡΠ΅Π½ΠΈΡ ΠΊΠΎΠΌΠΏΡΠ΅ΡΡΠΎΡΠ° ΠΎΡ ΠΏΠΎΠ΄Π°ΡΠΈ Π²ΠΎΠ·Π΄ΡΡ Π° Π² ΠΏΠ½Π΅Π²ΠΌΠΎΡΠΈΡΡΠ΅ΠΌΡ Π² ΡΠ»ΡΡΠ°Π΅ ΠΏΠΎΠ²ΡΡΠ΅Π½ΠΈΡ Π΄Π°Π²Π»Π΅Π½ΠΈΡ Π² Π½Π΅ΠΉ ΡΠ²ΡΡΠ΅ 7,3β7,7 ΠΊΠ³Ρ/ΡΠΌ2 ΠΈ Π΄Π»Ρ Π²ΠΊΠ»ΡΡΠ΅Π½ΠΈΡ ΠΊΠΎΠΌΠΏΡΠ΅ΡΡΠΎΡΠ° Π½Π° ΠΏΠΎΠ΄Π°ΡΡ Π²ΠΎΠ·Π΄ΡΡ Π° Π² ΡΠΈΡΡΠ΅ΠΌΡ Π² ΡΠ»ΡΡΠ°Π΅ ΠΏΠ°Π΄Π΅Π½ΠΈΡ Π΄Π°Π²Π»Π΅Π½ΠΈΡ Π² Π½Π΅ΠΉ Π½ΠΈΠΆΠ΅ 6,0β6,4 ΠΊΠ³Ρ/ΡΠΌ2. Π Π΅Π³ΡΠ»ΡΡΠΎΡ ΡΡΡΠ°Π½ΠΎΠ²Π»Π΅Π½ Π½Π° Π±Π»ΠΎΠΊΠ΅ ΡΠΈΠ»ΠΈΠ½Π΄ΡΠΎΠ² ΠΊΠΎΠΌΠΏΡΠ΅ΡΡΠΎΡΠ° ΠΈ ΡΠΎΡΡΠΎΠΈΡ ΠΈΠ· ΠΊΠΎΡΠΏΡΡΠ° Ρ Π·Π°ΡΠΈΡΠ½ΡΠΌ ΠΊΠΎΠΆΡΡ ΠΎΠΌ, Π²ΠΏΡΡΠΊΠ½ΠΎΠ³ΠΎ ΡΠ°ΡΠΈΠΊΠΎΠ²ΠΎΠ³ΠΎ ΠΊΠ»Π°ΠΏΠ°Π½Π° Ρ ΡΠ΅Π΄Π»ΠΎΠΌ, Π²ΡΠΏΡΡΠΊΠ½ΠΎΠ³ΠΎ ΡΠ°ΡΠΈΠΊΠΎΠ²ΠΎΠ³ΠΎ ΠΊΠ»Π°ΠΏΠ°Π½Π° 6 Ρ ΡΠ΅Π΄Π»ΠΎΠΌ, Π΄Π²ΡΡ ΡΠΏΠΎΡΠ½ΡΡ ΡΠ°ΡΠΈΠΊΠΎΠ² Ρ ΠΏΡΡΠΆΠΈΠ½ΠΎΠΉ, ΡΡΠΎΠΊΠ°, ΡΠ΅Π³ΡΠ»ΠΈΡΠΎΠ²ΠΎΡΠ½ΠΎΠ³ΠΎ ΠΊΠΎΠ»ΠΏΠ°ΠΊΠ° 3, Π΄Π²ΡΡ ΡΠΈΠ»ΡΡΡΠΎΠ². ΠΠΎΠ»ΠΎΡΡΡ ΠΏΠΎΠ΄ Π²ΡΠΏΡΡΠΊΠ½ΡΠΌ ΠΊΠ»Π°ΠΏΠ°Π½ΠΎΠΌ ΡΠΎΠ΅Π΄ΠΈΠ½Π΅Π½Π° Ρ ΠΏΠ½Π΅Π²ΠΌΠΎΡΠΈΡΡΠ΅ΠΌΠΎΠΉ Π°Π²ΡΠΎΠΌΠΎΠ±ΠΈΠ»Ρ; ΠΏΠΎΠ»ΠΎΡΡΡ, Π³Π΄Π΅ ΡΡΡΠ°Π½ΠΎΠ²Π»Π΅Π½Ρ ΡΠ°ΡΠΈΠΊΠΎΠ²ΡΠ΅ ΠΊΠ»Π°ΠΏΠ°Π½Ρ, Π²Π½ΡΡΡΠ΅Π½Π½ΠΈΠΌ ΠΊΠ°Π½Π°Π»ΠΎΠΌ ΡΠΎΠ΅Π΄ΠΈΠ½Π΅Π½Π° Ρ ΠΏΠΎΠ΄ΠΏΠ»ΡΠ½ΠΆΠ΅ΡΠ½ΡΠΌ ΠΏΡΠΎΡΡΡΠ°Π½ΡΡΠ²ΠΎΠΌ ΡΠ°Π·Π³ΡΡΠ·ΠΎΡΠ½ΠΎΠ³ΠΎ ΡΡΡΡΠΎΠΉΡΡΠ²Π° ΠΊΠΎΠΌΠΏΡΠ΅ΡΡΠΎΡ-Π°, Π° Π±ΠΎΠΊΠΎΠ²ΡΠΌ ΡΠ²Π΅ΡΠ»Π΅Π½ΠΈΠ΅ΠΌ β Ρ Π°ΡΠΌΠΎΡΡΠ΅ΡΠΎΠΉ.

Π ΠΈΡ. 3. Π Π΅Π³ΡΠ»ΡΡΠΎΡ Π΄Π°Π²Π»Π΅Π½ΠΈΡ:
1 β ΠΊΠΎΠΆΡΡ
; 2 β ΠΏΡΡΠΆΠΈΠ½Π°; 3 β ΠΊΠΎΠ»ΠΏΠ°ΠΊ; 4 β ΡΡΠΎΠΊ; 5 β ΡΠ΅Π΄Π»ΠΎ Π²ΡΠΏΡΡΠΊΠ½ΠΎΠ³ΠΎ ΠΊΠ»Π°ΠΏΠ°Π½Π°; 6 β Π²ΡΠΏΡΡΠΊΠ½ΠΎΠΉ ΠΊΠ»Π°ΠΏΠ°Π½; 7 β Π²ΠΏΡΡΠΊΠ½ΠΎΠΉ ΠΊΠ»Π°ΠΏΠ°Π½; 8, 9 β ΡΠ΅ΡΡΠ°ΡΡΠ΅ Π€ΠΈΠ»ΡΡΡΡ; 10 β ΠΊΠΎΡΠΏΡΡ; 11 β ΠΊΡΠΎΠ½ΡΡΠ΅ΠΉΠ½
ΠΡΠΈ Π΄Π°Π²Π»Π΅Π½ΠΈΠΈ Π² ΡΠΈΡΡΠ΅ΠΌΠ΅ ΠΌΠ΅Π½Π΅Π΅ 7,3β7,7 ΠΊΠ³Ρ/ΡΠΌ2 Π²ΠΏΡΡΠΊΠ½ΠΎΠΉ ΠΈ Π²ΡΠΏΡΡΠΊΠ½ΠΎΠΉ ΠΊΠ»Π°ΠΏΠ°Π½Ρ ΠΏΠΎΠ΄ Π΄Π΅ΠΉΡΡΠ²ΠΈΠ΅ΠΌ ΠΏΡΡΠΆΠΈΠ½Ρ ΠΎΠΏΡΡΠ΅Π½Ρ Π²Π½ΠΈΠ·, ΡΠ°ΠΊ ΡΡΠΎ ΠΏΠ΅ΡΠ²ΡΠΉ ΠΈΠ· Π½ΠΈΡ ΠΏΡΠΈΠΆΠ°Ρ ΠΊ ΡΠ²ΠΎΠ΅ΠΌΡ ΡΠ΅Π΄Π»Ρ, Π° Π²ΡΠΎΡΠΎΠΉ ΠΎΡΠΎΡΠ΅Π» ΠΎΡ ΡΠ΅Π΄Π»Π° ΠΈ ΡΠ΅ΡΠ΅Π· Π±ΠΎΠΊΠΎΠ²ΠΎΠ΅ ΠΎΡΠ²Π΅ΡΡΡΠΈΠ΅ ΡΠΎΠ΅Π΄ΠΈΠ½ΠΈΠ» ΠΏΠΎΠ΄ΠΏΠ»ΡΠ½ΠΆΠ΅ΡΠ½ΠΎΠ΅ ΠΏΡΠΎΡΡΡΠ°Π½ΡΡΠ²ΠΎ ΡΠ°Π·Π³ΡΡΠ·ΠΎΡΠ½ΠΎΠ³ΠΎ ΡΡΡΡΠΎΠΉΡΡΠ²Π° ΠΊΠΎΠΌΠΏΡΠ΅ΡΡΠΎΡΠ° Ρ Π°ΡΠΌΠΎΡΡΠ΅ΡΠΎΠΉ.
ΠΠ»ΡΠ½ΠΆΠ΅ΡΡ ΡΠ°Π·Π³ΡΡΠ·ΠΎΡΠ½ΠΎΠ³ΠΎ ΡΡΡΡΠΎΠΉΡΡΠ²Π° ΠΊΠΎΠΌΠΏΡΠ΅ΡΡΠΎΡΠ° ΠΎΠΏΡΡΠ΅Π½Ρ Π²Π½ΠΈΠ·, ΠΈ ΠΈΡ ΡΡΠΎΠΊΠΈ Π½Π° Π²ΠΏΡΡΠΊΠ½ΡΠ΅ ΠΊΠ»Π°ΠΏΠ°Π½Ρ Π½Π΅ Π²ΠΎΠ·Π΄Π΅ΠΉΡΡΠ²ΡΡΡ. ΠΡΠΈ Π΄ΠΎΡΡΠΈΠΆΠ΅Π½ΠΈΠΈ Π΄Π°Π²Π»Π΅Π½ΠΈΡ Π² ΡΠΈΡΡΠ΅ΠΌΠ΅ 7,3β 7,7 ΠΊΠ³Ρ/ΡΠΌ2 ΡΠ°ΡΠΈΠΊΠΈ ΠΎΠ±ΠΎΠΈΡ ΠΊΠ»Π°ΠΏΠ°Π½ΠΎΠ² ΠΏΡΠΈΠΏΠΎΠ΄Π½ΠΈΠΌΠ°ΡΡΡΡ, Π²ΡΠΏΡΡΠΊΠ½ΠΎΠΉ ΠΊΠ»Π°ΠΏΠ°Π½ ΡΠ°Π΄ΠΈΡΡΡ Π½Π° ΡΠ²ΠΎΠ΅ ΡΠ΅Π΄Π»ΠΎ, Π° Π²ΠΏΡΡΠΊΠ½ΠΎΠΉ ΠΎΡΠΊΡΡΠ²Π°Π΅ΡΡΡ. Π‘ΠΆΠ°ΡΡΠΉ Π²ΠΎΠ·Π΄ΡΡ ΠΈΠ· ΠΏΠ½Π΅Π²ΠΌΠΎΡΠΈΡΡΠ΅ΠΌΡ ΠΏΡΠΎΡ ΠΎΠ΄ΠΈΡ ΠΏΠΎ ΠΊΠ°Π½Π°Π»Ρ ΠΏΠΎΠ΄ ΠΏΠ»ΡΠ½ΠΆΠ΅ΡΡ ΡΠ°Π·Π³ΡΡΠ·ΠΎΡΠ½ΠΎΠ³ΠΎ ΡΡΡΡΠΎΠΉΡΡΠ²Π°, ΠΏΡΠΈΠΏΠΎΠ΄Π½ΠΈΠΌΠ°Π΅Ρ ΠΈΡ ΠΈ ΠΎΡΠΊΡΡΠ²Π°Π΅Ρ ΠΎΠ±Π° Π²ΠΏΡΡΠΊΠ½ΡΡ ΠΊΠ°Π½Π°Π»Π°. ΠΠΎΠΌΠΏΡΠ΅ΡΡΠΎΡ ΠΏΠ΅ΡΠ΅Ρ ΠΎΠ΄ΠΈΡ Π½Π° Ρ ΠΎΠ»ΠΎΡΡΠΎΠΉ Ρ ΠΎΠ΄, ΠΏΠ΅ΡΠ΅ΠΊΠ°ΡΠΈΠ²Π°Ρ Π²ΠΎΠ·Π΄ΡΡ ΠΈΠ· ΠΎΠ΄Π½ΠΎΠ³ΠΎ ΡΠΈΠ»ΠΈΠ½Π΄ΡΠ° Π² Π΄ΡΡΠ³ΠΎΠΉ. ΠΡΠΈ ΠΏΠ°Π΄Π΅Π½ΠΈΠΈ Π΄Π°Π²Π»Π΅Π½ΠΈΡ Π½ΠΈΠΆΠ΅ 6,0β6,4 ΠΊΠ³Ρ/ΡΠΌ2 Π²ΠΏΡΡΠΊΠ½ΠΎΠΉ ΠΊΠ»Π°ΠΏΠ°Π½ ΡΠ°Π΄ΠΈΡΡΡ Π² ΡΠ²ΠΎΠ΅ Π³Π½Π΅Π·Π΄ΠΎ, ΠΎΡΠΊΡΡΠ²Π°Π΅ΡΡΡ Π²ΡΠΏΡΡΠΊΠ½ΠΎΠΉ ΠΊΠ»Π°ΠΏΠ°Π½, ΠΈ ΡΠΆΠ°ΡΡΠΉ Π²ΠΎΠ·Π΄ΡΡ ΠΈΠ· ΠΏΠΎΠ΄ΠΏΠ»ΡΠ½ΠΆΠ΅ΡΠ½ΠΎΠ³ΠΎ ΠΏΡΠΎΡΡΡΠ°Π½ΡΡΠ²Π° ΠΊΠΎΠΌΠΏΡΠ΅ΡΡΠΎΡΠ° Π²ΡΡ ΠΎΠ΄ΠΈΡ Π² Π°ΡΠΌΠΎΡΡΠ΅ΡΡ, ΠΊΠΎΠΌΠΏΡΠ΅ΡΡΠΎΡ ΡΠ½ΠΎΠ²Π° Π²ΠΊΠ»ΡΡΠ°Π΅ΡΡΡ Π² ΡΠ°Π±ΠΎΡΡ.
Π Π΅Π³ΡΠ»ΡΡΠΎΡ ΡΠ΅Π³ΡΠ»ΠΈΡΡΠ΅ΡΡΡ ΡΠ»Π΅Π΄ΡΡΡΠΈΠΌ ΠΎΠ±ΡΠ°Π·ΠΎΠΌ. ΠΡΠ°ΡΠ΅Π½ΠΈΠ΅ΠΌ ΠΊΠΎΠ»ΠΏΠ°ΠΊΠ° Π΄ΠΎΠ±ΠΈΠ²Π°ΡΡΡΡ, ΡΡΠΎΠ±Ρ ΠΊΠΎΠΌΠΏΡΠ΅ΡΡΠΎΡ Π²ΠΊΠ»ΡΡΠ°Π»ΡΡ Π² ΡΠ°Π±ΠΎΡΡ ΠΏΡΠΈ Π΄Π°Π²Π»Π΅Π½ΠΈΠΈ 6,0β6,4 ΠΊΠ³Ρ/ΡΠΌ2. ΠΠ·ΠΌΠ΅Π½Π΅Π½ΠΈΠ΅ΠΌ ΠΊΠΎΠ»ΠΈΡΠ΅ΡΡΠ²Π° ΠΏΡΠΎΠΊΠ»Π°Π΄ΠΎΠΊ ΠΌΠ΅ΠΆΠ΄Ρ ΡΠ΅Π΄Π»Π°ΠΌΠΈ Π²ΠΏΡΡΠΊΠ½ΠΎΠ³ΠΎ ΠΈ Π²ΡΠΏΡΡΠΊΠ½ΠΎΠ³ΠΎ ΠΊΠ»Π°ΠΏΠ°Π½ΠΎΠ² ΡΡΡΠ°Π½Π°Π²Π»ΠΈΠ²Π°ΡΡ Π΄Π°Π²Π»Π΅Π½ΠΈΠ΅ 7,3β7,7 ΠΊΠ³Ρ/ΡΠΌ2, ΠΏΡΠΈ ΠΊΠΎΡΠΎΡΠΎΠΌ ΠΊΠΎΠΌΠΏΡΠ΅ΡΡΠΎΡ ΠΎΡΠΊΠ»ΡΡΠ°Π΅ΡΡΡ. ΠΡΠΊΡΡΠ²Π°ΡΡ ΠΈ ΡΠ΅Π³ΡΠ»ΠΈΡΠΎΠ²Π°ΡΡ ΡΠ΅Π³ΡΠ»ΡΡΠΎΡ ΡΠ°Π·ΡΠ΅ΡΠ°Π΅ΡΡΡ ΡΠΎΠ»ΡΠΊΠΎ ΠΊΠ²Π°Π»ΠΈΡΠΈΡΠΈΡΠΎΠ²Π°Π½Π½ΡΠΌ ΡΠΏΠ΅ΡΠΈΠ°Π»ΠΈΡΡΠ°ΠΌ.
ΠΠΎΠ·Π΄ΡΡΠ½ΡΠ΅ Π±Π°Π»Π»ΠΎΠ½Ρ ΡΠ»ΡΠΆΠ°Ρ Π΄Π»Ρ Ρ ΡΠ°Π½Π΅Π½ΠΈΡ Π·Π°ΠΏΠ°ΡΠ° ΡΠΆΠ°ΡΠΎΠ³ΠΎ Π²ΠΎΠ·Π΄ΡΡ Π°. ΠΠ°ΠΆΠ΄ΡΠΉ ΠΈΠ· ΡΡΠ΅Ρ Π±Π°Π»Π»ΠΎΠ½ΠΎΠ² ΠΊΡΠ΅ΠΏΠΈΡΡΡ Ρ ΠΎΠΌΡΡΠ°ΠΌΠΈ ΠΊ Π»ΠΎΠ½ΠΆΠ΅ΡΠΎΠ½Π°ΠΌ ΡΠ°ΠΌΡ. ΠΠ΅ΠΆΠ΄Ρ ΡΠΎΠ±ΠΎΠΉ Π±Π°Π»Π»ΠΎΠ½Ρ ΡΠΎΠ΅Π΄ΠΈΠ½Π΅Π½Ρ ΠΏΠΎΡΠ»Π΅Π΄ΠΎΠ²Π°ΡΠ΅Π»ΡΠ½ΠΎ. ΠΠ°ΠΆΠ΄ΡΠΉ Π±Π°Π»Π»ΠΎΠ½ ΠΈΠΌΠ΅Π΅Ρ ΠΊΡΠ°Π½ Π΄Π»Ρ ΡΠΏΡΡΠΊΠ° ΠΊΠΎΠ½Π΄Π΅Π½ΡΠ°ΡΠ°.
Π’ΠΎΡΠΌΠΎΠ·Π½ΠΎΠΉ ΠΊΡΠ°Π½ ΠΏΡΠ΅Π΄Π½Π°Π·Π½Π°ΡΠ΅Π½ Π΄Π»Ρ ΠΏΠΎΠ΄Π°ΡΠΈ ΡΠΆΠ°ΡΠΎΠ³ΠΎ Π²ΠΎΠ·Π΄ΡΡ Π° ΠΈΠ· Π²ΠΎΠ·Π΄ΡΡΠ½ΡΡ Π±Π°Π»Π»ΠΎΠ½ΠΎΠ² Π² ΡΠΎΡΠΌΠΎΠ·Π½ΡΠ΅ ΠΊΠ°ΠΌΠ΅ΡΡ Π°Π²ΡΠΎΠΌΠΎΠ±ΠΈΠ»Ρ ΠΈ Π΄Π»Ρ Π²ΡΠΏΡΡΠΊΠ° ΡΠΆΠ°ΡΠΎΠ³ΠΎ Π²ΠΎΠ·Π΄ΡΡ Π° ΠΈΠ· ΡΠΎΠ΅Π΄ΠΈΠ½ΠΈΡΠ΅Π»ΡΠ½ΠΎΠΉ ΠΌΠ°Π³ΠΈΡΡΡΠ°Π»ΠΈ ΠΏΡΠΈΡΠ΅ΠΏΠ° Π² Π°ΡΠΌΠΎΡΡΠ΅ΡΡ ΠΏΡΠΎΠΏΠΎΡΡΠΈΠΎΠ½Π°Π»ΡΠ½ΠΎ Π½Π°ΠΆΠ°ΡΠΈΡ Π½Π° ΠΏΠ΅Π΄Π°Π»Ρ. Π ΠΏΡΠΎΠΌΠ΅ΠΆΡΡΠΊΠ°Ρ ΠΌΠ΅ΠΆΠ΄Ρ ΡΠΎΡΠΌΠΎΠΆΠ΅Π½ΠΈΡΠΌΠΈ ΡΠ΅ΡΠ΅Π· ΠΊΡΠ°Π½ ΠΏΠΎΠ΄Π°Π΅ΡΡΡ ΡΠΆΠ°ΡΡΠΉ Π²ΠΎΠ·Π΄ΡΡ ΠΈΠ· ΠΏΠ½Π΅Π²ΠΌΠΎΡΠΈΡΡΠ΅ΠΌΡ Π°Π²ΡΠΎΠΌΠΎΠ±ΠΈΠ»Ρ Π² Π²ΠΎΠ·Π΄ΡΡΠ½ΡΠ΅ Π±Π°Π»Π»ΠΎΠ½Ρ ΠΏΡΠΈΡΠ΅ΠΏΠ°.
Π’ΠΎΡΠΌΠΎΠ·Π½ΠΎΠΉ ΠΊΡΠ°Π½ Π΄Π²ΡΡ ΡΠ΅ΠΊΡΠΈΠΎΠ½Π½ΡΠΉ, Π΄ΠΈΠ°ΡΡΠ°Π³ΠΌΠ΅Π½Π½ΡΠΉ, Ρ ΡΠ΅Π·ΠΈΠ½ΠΎΠ²ΡΠΌΠΈ ΠΊΠΎΠ½ΠΈΡΠ΅ΡΠΊΠΈΠΌΠΈ ΠΊΠ»Π°ΠΏΠ°Π½Π°ΠΌΠΈ; Π²Π΅ΡΡ Π½ΡΡ ΡΠ΅ΠΊΡΠΈΡ ΡΠΏΡΠ°Π²Π»ΡΠ΅Ρ ΡΠΎΡΠΌΠΎΠ·Π°ΠΌΠΈ ΠΏΡΠΈΡΠ΅ΠΏΠ°, Π½ΠΈΠΆΠ½ΡΡ β ΡΠΎΡΠΌΠΎΠ·Π°ΠΌΠΈ Π°Π²ΡΠΎΠΌΠΎΠ±ΠΈΠ»Ρ. ΠΡΠ°Π½ ΡΡΡΠ°Π½ΠΎΠ²Π»Π΅Π½ Π½Π° Π»Π΅Π²ΠΎΠΌ Π»ΠΎΠ½ΠΆΠ΅ΡΠΎΠ½Π΅, ΡΠ°ΠΌΡ ΠΏΠΎΠ΄ ΠΊΠ°Π±ΠΈΠ½ΠΎΠΉ, ΠΏΡΠΈΠ²ΠΎΠ΄ΠΈΡΡΡ Π² Π΄Π΅ΠΉΡΡΠ²ΠΈΠ΅ ΠΎΡ ΡΠΎΡΠΌΠΎΠ·Π½ΠΎΠΉ ΠΏΠ΅Π΄Π°Π»ΠΈ.
ΠΡΠ½ΠΎΠ²Π½ΡΠ΅ ΡΠ°ΡΡΠΈ ΠΊΡΠ°Π½Π°: ΠΊΠΎΡΠΏΡΡ Ρ Π΄Π²ΡΠΌΡ ΠΊΡΡΡΠΊΠ°ΠΌΠΈ, ΠΊΠΎΡΠΏΡΡ ΡΡΡΠ°Π³ΠΎΠ² Ρ ΠΊΡΡΡΠΊΠΎΠΉ, Π΄Π²Π΅ Π΄ΠΈΠ°ΡΡΠ°Π³ΠΌΡ Ρ Π½Π°ΠΏΡΠ°Π²Π»ΡΡΡΠΈΠΌΠΈ ΡΡΠ°ΠΊΠ°Π½Π°ΠΌΠΈ ΠΈ ΡΠ΅Π΄Π»Π°ΠΌΠΈ Π²ΡΠΏΡΡΠΊΠ½ΡΡ ΠΊΠ»Π°ΠΏΠ°Π½ΠΎΠ², ΡΡΠΎΠΊ Π²Π΅ΡΡ Π½Π΅ΠΉ ΡΠ΅ΠΊΡΠΈΠΈ Ρ Π½Π°ΠΏΡΠ°Π²Π»ΡΡΡΠ΅ΠΉ, ΡΡΠ°Π²Π½ΠΎΠ²Π΅ΡΠΈΠ²Π°ΡΡΠ°Ρ ΠΏΡΡΠΆΠΈΠ½Π°, ΡΡΠΎΠΊ Π½ΠΈΠΆΠ½Π΅ΠΉ ΡΠ΅ΠΊΡΠΈΠΈ Ρ ΡΡΠ°Π²Π½ΠΎΠ²Π΅ΡΠΈΠ²Π°ΡΡΠ΅ΠΉ ΠΏΡΡΠΆΠΈΠ½ΠΎΠΉ, Π²ΠΎΠ·Π²ΡΠ°ΡΠ½Π°Ρ ΠΏΡΡΠΆΠΈΠ½Π° Π΄ΠΈΠ°ΡΡΠ°Π³ΠΌΡ Π½ΠΈΠΆΠ½Π΅ΠΉ ΡΠ΅ΠΊΡΠΈΠΈ, Π΄Π²Π° ΡΡΡΠ°Π³Π°, ΡΡΡΠ°Π³ ΡΡΡΠ½ΠΎΠ³ΠΎ ΠΏΡΠΈΠ²ΠΎΠ΄Π° ΠΊΡΠ°Π½Π°, Π΄Π²Π° Π²ΠΏΡΡΠΊΠ½ΡΡ ΠΈ Π΄Π²Π° Π²ΡΠΏΡΡΠΊΠ½ΡΡ ΠΊΠ»Π°ΠΏΠ°Π½Π°. Π‘ΠΆΠ°ΡΡΠΉ Π²ΠΎΠ·Π΄ΡΡ ΠΏΠΎΠ΄Π²ΠΎΠ΄ΠΈΡΡΡ ΠΈΠ· Π²ΠΎΠ·Π΄ΡΡΠ½ΡΡ Π±Π°Π»Π»ΠΎΠ½ΠΎΠ² ΡΠ΅ΡΠ΅Π· ΠΏΡΠΎΠ±ΠΊΠΈ ΠΊ ΡΠ΅Π½ΡΡΠ°Π»ΡΠ½ΡΠΌ ΠΎΡΠ²Π΅ΡΡΡΠΈΡΠΌ ΠΊΡΡΡΠ΅ΠΊ, ΠΈΠ· Π±ΠΎΠΊΠΎΠ²ΠΎΠ³ΠΎ ΠΎΡΠ²Π΅ΡΡΡΠΈΡ ΠΊΡΡΡΠΊΠΈ Π²Π΅ΡΡ Π½Π΅ΠΉ ΡΠ΅ΠΊΡΠΈΠΈ Π²ΠΎΠ·Π΄ΡΡ ΠΏΡΠΎΡ ΠΎΠ΄ΠΈΡ ΠΊ ΡΠΎΠ΅Π΄ΠΈΠ½ΠΈΡΠ΅Π»ΡΠ½ΠΎΠΉ ΠΌΠ°Π³ΠΈΡΡΡΠ°Π»ΠΈ ΠΏΡΠΈΡΠ΅ΠΏΠ°, ΠΈΠ· Π±ΠΎΠΊΠΎΠ²ΠΎΠ³ΠΎ ΠΎΡΠ²Π΅ΡΡΡΠΈΡ ΠΊΡΡΡΠΊΠΈ Π½ΠΈΠΆΠ½Π΅ΠΉ ΡΠ΅ΠΊΡΠΈΠΈ ΠΎΠ½ ΠΈΠ΄Π΅Ρ Π² ΡΠΎΡΠΌΠΎΠ·Π½ΡΠ΅ ΠΊΠ°ΠΌΠ΅ΡΡ Π°Π²ΡΠΎΠΌΠΎΠ±ΠΈΠ»Ρ. ΠΠΎΠ»ΠΎΡΡΠΈ Π²Π½ΡΡΡΠΈ ΠΊΠΎΡΠΏΡΡΠ° ΡΠ»Π΅Π²Π° ΠΎΡ Π΄ΠΈΠ°ΡΡΠ°Π³ΠΌ ΡΠΎΠ΅Π΄ΠΈΠ½Π΅Π½Ρ ΠΌΠ΅ΠΆΠ΄Ρ ΡΠΎΠ±ΠΎΠΉ ΠΈ Ρ Π°ΡΠΌΠΎΡΡΠ΅ΡΠΎΠΉ ΡΠ΅ΡΠ΅Π· ΠΊΠ»Π°ΠΏΠ°Π½.

Π ΠΈΡ. 4. Π’ΠΎΡΠΌΠΎΠ·Π½ΠΎΠΉ ΠΊΡΠ°Π½ Π°Π²ΡΠΎΠΌΠΎΠ±ΠΈΠ»Ρ ΠΠΠ-131:
1 β ΡΡΠΎΠΊ Π½ΠΈΠΆΠ½Π΅ΠΉ ΡΠ΅ΠΊΡΠΈΠΈ; 2 β ΠΊΠΎΡΠΏΡΡ ΡΡΡΠ°Π³ΠΎΠ²; 3, 4 β ΠΌΠ°Π»ΡΠΉ ΠΈ Π±ΠΎΠ»ΡΡΠΎΠΉ ΡΡΡΠ°Π³ΠΈ; 5 β Π½Π°ΠΏΡΠ°Π²Π»ΡΡΡΠ°Ρ ΡΡΠΎΠΊΠ° Π²Π΅ΡΡ
Π½Π΅ΠΉ ΡΠ΅ΠΊΡΠΈΠΈ; 6 β ΡΡΠΎΠΊ Π²Π΅ΡΡ
Π½Π΅ΠΉ ΡΠ΅ΠΊΡΠΈΠΈ; 7 β Π²Π°Π»ΠΈΠΊ ΡΡΡΠ°Π³Π° ΡΡΡΠ½ΠΎΠ³ΠΎ ΠΏΡΠΈΠ²ΠΎΠ΄Π°; 8 β ΡΡΠ³Π°; 9 β ΡΡΡΠ°Π³ ΡΡΡΠ½ΠΎΠ³ΠΎ ΠΏΡΠΈΠ²ΠΎΠ΄Π°; 10 β ΠΊΠΎΡΠΏΡΡ ΠΊΡΠ°Π½Π°, 11 β ΡΡΠ°Π²Π½ΠΎΠ²Π΅ΡΠΈΠ²Π°ΡΡΠ°Ρ ΠΏΡΡΠΆΠΈΠ½Π°, 12. 22 β Π΄ΠΈΠ°ΡΡΠ°Π³ΠΌΡ; 13, 23 β ΡΠ΅Π΄Π»Π° Π²ΡΠΏΡΡΠΊΠ½ΡΡ
ΠΊΠ»Π°ΠΏΠ°Π½ΠΎΠ²; 14 β Π²ΡΠΏΡΡΠΊΠ½ΡΠ΅ ΠΊΠ»Π°ΠΏΠ°Π½Ρ; 15, 19 β Π²ΠΏΡΡΠΊΠ½ΡΠ΅ ΠΊΠ»Π°ΠΏΠ°Π½Ρ; 16, 21 β ΠΊΡΡΡΠΊΠΈ ΠΊΠΎΡΠΏΡΡΠ° ΠΊΡΠ°Π½Π°; 17. 24 β Π½Π°ΠΏΡΠ°Π²Π»ΡΡΡΠΈΠ΅ ΡΡΠ°ΠΊΠ°Π½Ρ; 18 β ΠΏΡΡΠΆΠΈΠ½Π° Π΄ΠΈΠ°ΡΡΠ°Π³ΠΌΡ Π½ΠΈΠΆΠ½Π΅ΠΉ ΡΠ΅ΠΊΡΠΈΠΈ; 25 β ΡΡΠ°Π²Π½ΠΎΠ²Π΅ΡΠΈΠ²Π°ΡΡΠ°Ρ ΠΏΡΡΠΆΠΈΠ½Π° Π½ΠΈΠΆΠ½Π΅ΠΉ ΡΠ΅ΠΊΡΠΈΠΈ. 25 β Π°ΡΠΌΠΎΡΡΠ΅ΡΠ½ΡΠΉ ΠΊΠ»Π°ΠΏΠ°Π½;

Π ΠΈΡ. 5. ΠΡΠ΅Π΄ΠΎΡ
ΡΠ°Π½ΠΈΡΠ΅Π»ΡΠ½ΡΠΉ ΠΊΠ»Π°ΠΏΠ°Π½:
1 β ΡΠ΅Π΄Π»ΠΎ; 2 β ΠΊΠΎΡΠΏΡΡ; 3 β ΡΡΡ
Π°ΡΡ Π½Π°ΠΏΡΠ°Π²Π»ΡΡΡΠ΅Π³ΠΎ ΡΡΠ΅ΡΠΆΠ½Ρ; 4 β ΠΏΡΡΠΆΠΈΠ½Π°; 5 β ΠΊΠΎΠ½ΡΡΠ³Π°ΠΉΠΊΠ°; 6 β Π½Π°ΠΏΡΠ°Π²Π»ΡΡΡΠΈΠΉ ΡΡΠ΅ΡΠΆΠ΅Π½Ρ; 7 β ΡΠ΅Π³ΡΠ»ΠΈΡΠΎΠ²ΠΎΡΠ½ΡΠΉ Π²ΠΈΠ½Ρ; 5 β ΠΊΠ»Π°ΠΏΠ°Π½; Π° β ΠΎΡΠ²Π΅ΡΡΡΠΈΠ΅
ΠΡΠ΅Π΄ΠΎΡ ΡΠ°Π½ΠΈΡΠ΅Π»ΡΠ½ΡΠΉ ΠΊΠ»Π°ΠΏΠ°Π½ ΡΠ»ΡΠΆΠΈΡ Π΄Π»Ρ ΠΏΡΠ΅Π΄ΠΎΡ ΡΠ°Π½Π΅Π½ΠΈΡ ΡΠΈ ΡΡΠ΅ΠΌΡ ΠΎΡ ΡΡΠ΅Π·ΠΌΠ΅ΡΠ½ΠΎΠ³ΠΎ ΠΏΠΎΠ²ΡΡΠ΅Π½ΠΈΡ Π΄Π°Π²Π»Π΅Π½ΠΈΡ Π² ΡΠ»ΡΡΠ°Π΅ Π½Π΅ΠΈΡΠΏΡΠ°Π²Π½ΠΎΡΡΠΈ ΡΠ΅Π³ΡΠ»ΡΡΠΎΡΠ° Π΄Π°Π²Π»Π΅Π½ΠΈΡ. ΠΠ»Π°ΠΏΠ°Π½ ΡΠ°ΡΠΈΠΊΠΎΠ²ΡΠΉ, ΡΡΡΠ°Π½ΠΎΠ²Π»Π΅Π½ Π½Π° ΠΏΠ΅ΡΠ²ΠΎΠΌ Π²ΠΎΠ·Π΄ΡΡΠ½ΠΎΠΌ Π±Π°Π»Π»ΠΎΠ½Π΅. ΠΠ½ ΡΠΎΡΡΠΎΠΈΡ ΠΈΠ· ΠΊΠΎΡΠΏΡΡΠ°, ΡΠ΅Π΄Π»Π°, ΠΏΡΡΠΆΠΈΠ½Ρ, ΡΠ΅Π³ΡΠ»ΠΈΡΠΎΠ²ΠΎΡΠ½ΠΎΠ³ΠΎ Π²ΠΈΠ½ΡΠ° Ρ ΠΊΠΎΠ½ΡΡΠ³Π°ΠΉΠΊΠΎΠΉ. ΠΠ»Π°ΠΏΠ°Π½ ΠΎΡΠΊΡΡΠ²Π°Π΅ΡΡΡ ΠΏΡΠΈ Π΄Π°Π²Π»Π΅Π½ΠΈΠΈ 9,0β9,5 ΠΊΠ³Ρ/ΡΠΌ2, Π²ΡΠΏΡΡΠΊΠ°Ρ Π²ΠΎΠ·Π΄ΡΡ ΠΈΠ· ΠΏΠ½Π΅Π²ΠΌΠΎΡΠΈΡΡΠ΅ΠΌΡ Π² Π°ΡΠΌΠΎΡΡΠ΅ΡΡ.
Π Π°Π·ΠΎΠ±ΡΠΈΡΠ΅Π»ΡΠ½ΡΠΉ ΠΊΡΠ°Π½ ΠΏΡΠ΅Π΄Π½Π°Π·Π½Π°ΡΠ΅Π½ Π΄Π»Ρ ΠΎΡΠΊΠ»ΡΡΠ΅Π½ΠΈΡ ΡΠΎΡΠΌΠΎΠ·Π½ΠΎΠΉ ΡΠΈΡΡΠ΅ΠΌΡ Π°Π²ΡΠΎΠΌΠΎΠ±ΠΈΠ»Ρ ΠΎΡ ΠΏΠ½Π΅Π²ΠΌΠΎΡΠΈΡΡΠ΅ΠΌΡ ΠΏΡΠΈΡΠ΅ΠΏΠ°. ΠΡΠ°Π½ ΡΡΡΠ°Π½ΠΎΠ²Π»Π΅Π½ Π½Π° Π·Π°Π΄Π½Π΅ΠΌ ΠΊΠΎΠ½ΡΠ΅ Π»Π΅Π²ΠΎΠ³ΠΎ Π»ΠΎΠ½ΠΆΠ΅ΡΠΎΠ½Π° ΡΠ°ΠΌΡ ΠΈ ΡΠΎΡΡΠΎΠΈΡ ΠΈΠ· ΠΊΠΎΡΠΏΡΡΠ° Ρ ΠΊΡΡΡΠΊΠΎΠΉ, ΡΡΠΎΠΊΠ° Ρ Π΄ΠΈΠ°ΡΡΠ°Π³ΠΌΠΎΠΉ ΠΈ ΠΏΡΡΠΆΠΈΠ½ΠΎΠΉ, ΡΠ΅Π·ΠΈΠ½ΠΎΠ²ΠΎΠ³ΠΎ ΠΊΠ»Π°ΠΏΠ°Π½Π° Ρ ΠΏΡΡΠΆΠΈΠ½ΠΎΠΉ, ΡΡΠΊΠΎΡΡΠΊΠΈ Ρ ΡΠΎΠ»ΠΊΠ°ΡΠ΅Π»Π΅ΠΌ. ΠΠΎΠ³Π΄Π° ΡΡΠΊΠΎΡΡΠΊΠ° Π½Π°Ρ ΠΎΠ΄ΠΈΡΡΡ Π²Π΄ΠΎΠ»Ρ ΠΊΠΎΡΠΏΡΡΠ°, ΡΡΠΎΠΊ ΡΠΏΠΈΡΠ°Π΅ΡΡΡ Π² ΠΊΠ»Π°ΠΏΠ°Π½ ΠΈ ΠΎΡΠΊΡΡΠ²Π°Π΅Ρ Π΅Π³ΠΎ. ΠΡΠΈ ΡΡΡΠ°Π½ΠΎΠ²ΠΊΠ΅ ΡΡΠΊΠΎΡΡΠΊΠΈ ΠΏΠΎΠΏΠ΅ΡΠ΅ΠΊ ΠΊΠΎΡΠΏΡΡΠ° Π΄ΠΈΠ°ΡΡΠ°Π³ΠΌΠ° Π²ΠΌΠ΅ΡΡΠ΅ ΡΠΎ ΡΡΠΎΠΊΠΎΠΌ ΠΏΠΎΠ΄ Π΄Π΅ΠΉΡΡΠ²ΠΈΠ΅ΠΌ ΠΏΡΡΠΆΠΈΠ½Ρ ΠΈ Π΄Π°Π²Π»Π΅Π½ΠΈΡ Π²ΠΎΠ·Π΄ΡΡ Π° ΠΏΠΎΠ΄Π½ΠΈΠΌΠ°Π΅ΡΡΡ, ΠΊΠ»Π°ΠΏΠ°Π½ Π·Π°ΠΊΡΡΠ²Π°Π΅ΡΡΡ, ΡΠΎΡΠΌΠΎΠ·Π½Π°Ρ ΡΠΈΡΡΠ΅ΠΌΠ° Π°Π²ΡΠΎΠΌΠΎΠ±ΠΈΠ»Ρ ΠΎΡΡΠΎΠ΅Π΄ΠΈΠ½ΡΠ΅ΡΡΡ ΠΎΡ ΠΏΠ½Π΅Π²ΠΌΠΎΡΠΈΡΡΠ΅ΠΌΡ ΠΏΡΠΈΡΠ΅ΠΏΠ°.

Π ΠΈΡ. 6. Π Π°Π·ΠΎΠ±ΡΠΈΡΠ΅Π»ΡΠ½ΡΠΉ ΠΊΡΠ°Π½:
1 β ΠΏΡΠΎΠ±ΠΊΠ°; 2 β ΠΊΠΎΡΠΏΡΡ; 3 β ΠΏΡΡΠΆΠΈΠ½Π° ΠΊΠ»Π°ΠΏΠ°Π½Π°; 4 β ΠΊΠ»Π°ΠΏΠ°Π½; 5 β ΠΏΡΡΠΆΠΈΠ½Π° Π΄ΠΈΠ°ΡΡΠ°Π³ΠΌΡ; 6 β ΡΡΠΎΠΊ Ρ Π΄ΠΈΠ°ΡΡΠ°Π³ΠΌΠΎΠΉ; 7 β ΠΊΡΡΡΠΊΠ°; 8 β ΡΠΎΠ»ΠΊΠ°ΡΠ΅Π»Ρ; 9 β ΡΡΠΊΠΎΡΡΠΊΠ°
Π‘ΠΎΠ΅Π΄ΠΈΠ½ΠΈΡΠ΅Π»ΡΠ½Π°Ρ Π³ΠΎΠ»ΠΎΠ²ΠΊΠ° ΡΠ»ΡΠΆΠΈΡ Π΄Π»Ρ ΡΠΎΠ΅Π΄ΠΈΠ½Π΅Π½ΠΈΡ ΠΏΠ½Π΅Π²ΠΌΠΎΡΠΈ-ΡΡΠ΅ΠΌΡ Π°Π²ΡΠΎΠΌΠΎΠ±ΠΈΠ»Ρ Ρ ΠΏΠ½Π΅Π²ΠΌΠΎΡΠΈΡΡΠ΅ΠΌΠΎΠΉ ΠΏΡΠΈΡΠ΅ΠΏΠ°. ΠΠΎΠ»ΠΎΠ²ΠΊΠ° ΡΡΡΠ°Π½ΠΎΠ²Π»Π΅Π½Π° Π½Π° Π·Π°Π΄Π½Π΅ΠΉ ΠΏΠΎΠΏΠ΅ΡΠ΅ΡΠΈΠ½Π΅ ΡΠ°ΠΌΡ ΠΈ ΡΠΎΡΡΠΎΠΈΡ ΠΈΠ· ΠΊΠΎΡΠΏΡΡΠ° Ρ ΠΊΡΡΡΠΊΠΎΠΉ, ΠΊΠ»Π°ΠΏΠ°Π½Π° Ρ ΠΏΡΡΠΆΠΈΠ½ΠΎΠΉ, ΡΠΏΠ»ΠΎΡΠ½ΠΈΡΠ΅Π»ΡΠ½ΠΎΠΉ ΠΏΡΠΎΠΊΠ»Π°Π΄ΠΊΠΈ. ΠΡΠΈ Π΄Π²ΠΈΠΆΠ΅Π½ΠΈΠΈ Π±Π΅Π· ΠΏΡΠΈΡΠ΅ΠΏΠ° ΠΊΠ»Π°ΠΏΠ°Π½ Π·Π°ΠΊΡΡΡ, ΠΊΡΡΡΠΊΠ° ΡΠ°ΠΊΠΆΠ΅ Π΄ΠΎΠ»ΠΆΠ½Π° Π±ΡΡΡ Π·Π°ΠΊΡΡΡΠ°. ΠΡΠΈ ΠΏΠΎΠ΄ΡΠΎΠ΅Π΄ΠΈΠ½Π΅Π½ΠΈΠΈ ΡΠΎΡΠΌΠΎΠ·Π½ΠΎΠΉ ΠΌΠ°Π³ΠΈΡΡΡΠ°Π»ΠΈ ΠΏΡΠΈΡΠ΅ΠΏΠ° ΠΊΠ»Π°ΠΏΠ°Π½ ΠΎΡΠΊΡΡΠ²Π°Π΅ΡΡΡ, ΠΏΡΠΎΠΏΡΡΠΊΠ°Ρ ΡΠΆΠ°ΡΡΠΉ Π²ΠΎΠ·Π΄ΡΡ Π² ΡΠΎΡΠΌΠΎΠ·Π½ΡΡ ΡΠΈΡΡΠ΅ΠΌΡ ΠΏΡΠΈΡΠ΅ΠΏΠ°.
ΠΡΠ°Π½ ΠΎΡΠ±ΠΎΡΠ° Π²ΠΎΠ·Π΄ΡΡ Π° ΠΏΡΠ΅Π΄Π½Π°Π·Π½Π°ΡΠ΅Π½ Π΄Π»Ρ ΠΎΡΠ±ΠΎΡΠ° ΡΠΆΠ°ΡΠΎΠ³ΠΎ Π²ΠΎΠ·Π΄ΡΡ Π° Π½Π° ΠΏΠΎΡΡΠΎΡΠΎΠ½Π½ΠΈΠ΅ Π½ΡΠΆΠ΄Ρ, Π½Π°Ρ ΠΎΠ΄ΠΈΡΡΡ Π½Π° ΠΏΠ΅ΡΠ΅Π΄Π½Π΅ΠΌ Π²ΠΎΠ·Π΄ΡΡΠ½ΠΎΠΌ Π±Π°Π»Π»ΠΎΠ½Π΅.
Π’ΠΎΡΠΌΠΎΠ·Π½ΡΠ΅ ΠΊΠ°ΠΌΠ΅ΡΡ ΡΠ»ΡΠΆΠ°Ρ Π΄Π»Ρ ΠΏΡΠ΅ΠΎΠ±ΡΠ°Π·ΠΎΠ²Π°Π½ΠΈΡ Π΄Π°Π²Π»Π΅Π½ΠΈΡ ΡΠΆΠ°ΡΠΎΠ³ΠΎ Π²ΠΎΠ·Π΄ΡΡ Π° Π² ΡΡΠΈΠ»ΠΈΠ΅, Π½Π΅ΠΎΠ±Ρ ΠΎΠ΄ΠΈΠΌΠΎΠ΅ Π΄Π»Ρ ΠΏΡΠΈΠΆΠ°ΡΠΈΡ ΡΠΎΡΠΌΠΎΠ·Π½ΡΡ ΠΊΠΎΠ»ΠΎΠ΄ΠΎΠΊ ΠΊ Π±Π°ΡΠ°Π±Π°Π½Ρ. ΠΠ°ΠΌΠ΅ΡΡ ΡΡΡΠ°Π½ΠΎΠ²Π»Π΅Π½Ρ Π½Π° ΠΊΡΠΎΠ½ΡΡΠ΅ΠΉΠ½Π°Ρ Π²Π°Π»ΠΎΠ² ΡΠ°Π·ΠΆΠΈΠΌΠ½ΡΡ ΠΊΡΠ»Π°ΠΊΠΎΠ² ΡΠΎΡΠΌΠΎΠ·Π½ΡΡ ΠΌΠ΅Ρ Π°Π½ΠΈΠ·ΠΌΠΎΠ². ΠΠ°ΠΆΠ΄Π°Ρ ΠΊΠ°ΠΌΠ΅ΡΠ° ΡΠΎΡΡΠΎΠΈΡ ΠΈΠ· ΠΊΠΎΡΠΏΡΡΠ° Ρ ΠΊΡΡΡΠΊΠΎΠΉ, ΡΠ΅Π·ΠΈΠ½ΠΎΠ²ΠΎΠΉ Π΄ΠΈΠ°ΡΡΠ°Π³ΠΌΡ, ΡΡΠΎΠΊΠ° Ρ Π²ΠΈΠ»ΠΊΠΎΠΉ, Π΄Π²ΡΡ ΠΏΡΡΠΆΠΈΠ½, ΡΠΏΠ»ΠΎΡΠ½ΠΈΡΠ΅Π»ΡΠ½ΠΎΠΉ ΡΠ°ΠΉΠ±Ρ.
ΠΠ°Π½ΠΎΠΌΠ΅ΡΡ ΡΠ»ΡΠΆΠΈΡ Π΄Π»Ρ ΠΊΠΎΠ½ΡΡΠΎΠ»Ρ Π·Π° Π΄Π°Π²Π»Π΅Π½ΠΈΠ΅ΠΌ Π²ΠΎΠ·Π΄ΡΡ Π° Π² ΠΏΠ½Π΅Π²ΠΌΠΎΡΠΈΡΡΠ΅ΠΌΠ΅. ΠΠ°Π½ΠΎΠΌΠ΅ΡΡ Π΄Π²ΡΡ ΡΡΡΠ΅Π»ΠΎΡΠ½ΡΠΉ, ΡΡΡΠ°Π½ΠΎΠ²Π»Π΅Π½ Π² ΠΊΠ°Π±ΠΈΠ½Π΅. ΠΠ΅ΡΡ Π½ΡΡ ΡΡΡΠ΅Π»ΠΊΠ° ΠΏΠΎΠΊΠ°Π·ΡΠ²Π°Π΅Ρ Π΄Π°Π²Π»Π΅Π½ΠΈΠ΅ Π²ΠΎΠ·Π΄ΡΡ Π° Π² Π²ΠΎΠ·Π΄ΡΡΠ½ΡΡ Π±Π°Π»Π»ΠΎΠ½Π°Ρ , Π½ΠΈΠΆΠ½ΡΡ β Π² ΡΠΎΡΠΌΠΎΠ·Π½ΡΡ ΠΊΠ°ΠΌΠ΅ΡΠ°Ρ ΠΏΡΠΈ ΡΠΎΡΠΌΠΎΠΆΠ΅Π½ΠΈΠΈ.
Π’ΠΎΡΠΌΠΎΠ·Π½Π°Ρ ΡΠΈΡΡΠ΅ΠΌΠ° ΠΏΡΠΈΡΠ΅ΠΏΠ°, ΡΠ°Π±ΠΎΡΠ°ΡΡΠ΅Π³ΠΎ ΡΠΎΠ²ΠΌΠ΅ΡΡΠ½ΠΎ Ρ Π°Π²ΡΠΎΠΌΠΎΠ±ΠΈΠ»Π΅ΠΌ, ΡΠΎΡΡΠΎΠΈΡ ΠΈΠ· ΡΠΎΡΠΌΠΎΠ·Π½ΡΡ ΠΌΠ΅Ρ Π°Π½ΠΈΠ·ΠΌΠΎΠ² ΠΏΠΎ ΡΠΈΡΠ»Ρ ΠΊΠΎΠ»Π΅Ρ, Π²ΠΎΠ·Π΄ΡΡΠ½ΠΎΠ³ΠΎ Π±Π°Π»Π»ΠΎΠ½Π°, Π²ΠΎΠ·Π΄ΡΡ ΠΎΡΠ°ΡΠΏΡΠ΅Π΄Π΅Π»ΠΈΡΠ΅Π»Ρ, ΡΠΎΡΠΌΠΎΠ·Π½ΡΡ ΠΊΠ°ΠΌΠ΅Ρ, ΠΊΡΠ°Π½Π° ΡΠ°ΡΡΠΎΡΠΌΠ°ΠΆΠΈΠ²Π°Π½ΠΈΡ ΠΈ ΡΡΡΠ±ΠΎΠΏΡΠΎΠ²ΠΎΠ΄ΠΎΠ². Π’ΠΎΡΠΌΠΎΠ·Π½ΡΠ΅ ΠΌΠ΅Ρ Π°Π½ΠΈΠ·ΠΌΡ ΠΊΠΎΠ»Π΅Ρ, ΡΠΎΡΠΌΠΎΠ·Π½ΡΠ΅ ΠΊΠ°ΠΌΠ΅ΡΡ, Π²ΠΎΠ·Π΄ΡΡΠ½ΡΠΉ Π±Π°Π»Π»ΠΎΠ½ ΠΈΠΌΠ΅ΡΡ ΡΠ°ΠΊΠΎΠ΅ ΠΆΠ΅ ΡΡΡΡΠΎΠΉΡΡΠ²ΠΎ, ΠΊΠ°ΠΊ ΠΈ Π½Π° Π°Π²ΡΠΎΠΌΠΎΠ±ΠΈΠ»Π΅-ΡΡΠ³Π°ΡΠ΅.

Π ΠΈΡ. 7. Π‘ΠΎΠ΅Π΄ΠΈΠ½ΠΈΡΠ΅Π»ΡΠ½Π°Ρ Π³ΠΎΠ»ΠΎΠ²ΠΊΠ°:
1 β ΠΊΠΎΡΠΏΡΡ: 2 β ΠΏΡΡΠΆΠΈΠ½Π°: 3 β ΠΊΠ»Π°ΠΏΠ°Π½; 4 βΡΠΏΠ»ΠΎΡΠ½ΠΈΡΠ΅Π»ΡΠ½Π°Ρ ΠΏΡΠΎΠΊΠ»Π°Π΄ΠΊΠ°; 5 β ΠΊΡΡΡΠΊΠ°; 6 β ΠΊΠΎΠ»ΡΡΠ΅Π²Π°Ρ Π³Π°ΠΉΠΊΠ°

Π ΠΈΡ. 8. Π’ΠΎΡΠΌΠΎΠ·Π½Π°Ρ ΡΠΈΡΡΠ΅ΠΌΠ° ΠΏΡΠΈΡΠ΅ΠΏΠ°:
1β Π²ΠΎΠ·Π΄ΡΡΠ½ΡΠΉ Π±Π°Π»Π»ΠΎΠ½; 2β ΠΊΡΠ°Π½ Π΄Π»Ρ ΡΠ»ΠΈΠ²Π° ΠΊΠΎΠ½Π΄Π΅Π½ΡΠ°ΡΠ°; 3 β ΡΡΠΎΠΊ; 4 β Π²ΡΠΏΡΡΠΊΠ½ΠΎΠΉ ΠΊΠ»Π°ΠΏΠ°Π½: 5 β ΠΊΠΎΡΠΏΡΡ Π²ΠΎΠ·Π΄ΡΡ
ΠΎΡΠ°ΡΠΏΡΠ΅Π΄Π΅Π»ΠΈΡΠ΅Π»Ρ; 6, 11 β ΠΊΡΡΡΠΊΠΈ ΠΊΠΎΡΠΏΡΡΠ°; 7 β ΡΠΎΠ΅Π΄ΠΈΠ½ΠΈΡΠ΅Π»ΡΠ½Π°Ρ Π³ΠΎΠ»ΠΎΠ²ΠΊΠ°; 8 β ΠΊΡΠ°Π½ ΡΠ°ΡΡΠΎΡΠΌΠ°ΠΆΠΈΠ²Π°Π½ΠΈΡ; 9 β ΠΌΠ°Π½ΠΆΠ΅ΡΠ°; 10 β Π²ΠΏΡΡΠΊΠ½ΠΎΠΉ ΠΊΠ»Π°ΠΏΠ°Π½; 12 β ΡΠΎΡΠΌΠΎΠ·Π½Π°Ρ ΠΊΠ°ΠΌΠ΅ΡΠ°; 13β ΡΠ΅Π³ΡΠ»ΠΈΡΠΎΠ²ΠΎΡΠ½ΡΠΉ ΡΡΡΠ°Π³; 14 β ΡΠΎΡΠΌΠΎΠ·Π½ΠΎΠΉ ΠΌΠ΅Ρ
Π°Π½ΠΈΠ·ΠΌ
ΠΠΎΠ·Π΄ΡΡ ΠΎΡΠ°ΡΠΏΡΠ΅Π΄Π΅Π»ΠΈΡΠ΅Π»Ρ ΡΠ»ΡΠΆΠΈΡ Π΄Π»Ρ ΡΠΏΡΠ°Π²Π»Π΅Π½ΠΈΡ ΡΠΎΡΠΌΠΎΠ·Π°ΠΌΠΈ ΠΏΡΠΈΡΠ΅ΠΏΠ°; ΡΡΡΠ°Π½Π°Π²Π»ΠΈΠ²Π°Π΅ΡΡΡ ΠΎΠ½ Π½Π° ΠΏΡΠΈΡΠ΅ΠΏΠ΅. ΠΠ³ΠΎ ΠΎΡΠ½ΠΎΠ²Π½ΡΠΌΠΈ ΡΠ°ΡΡΡΠΌΠΈ ΡΠ²Π»ΡΡΡΡΡ: ΠΊΠΎΡΠΏΡΡ Ρ ΠΊΡΡΡΠΊΠ°ΠΌΠΈ, ΠΌΠ°Π½ΠΆΠ΅ΡΠ° ΡΠΎ ΡΡΠΎΠΊΠΎΠΌ, Π²ΠΏΡΡΠΊΠ½ΠΎΠΉ ΠΊΠ»Π°ΠΏΠ°Π½, Π²ΡΠΏΡΡΠΊΠ½ΠΎΠΉ ΠΊΠ»Π°ΠΏΠ°Π½. Π‘Π΅Π΄Π»ΠΎΠΌ Π²ΠΏΡΡΠΊΠ½ΠΎΠ³ΠΎ ΠΊΠ»Π°ΠΏΠ°Π½Π° ΡΠ²Π»ΡΡΡΡΡ ΠΊΡΠΎΠΌΠΊΠΈ ΠΎΡΠ²Π΅ΡΡΡΠΈΡ, Π²ΡΠΏΠΎΠ»Π½Π΅Π½Π½ΠΎΠ³ΠΎ Π² ΠΏΠ΅ΡΠ΅Π³ΠΎΡΠΎΠ΄ΠΊΠ΅ ΠΊΠΎΡΠΏΡΡΠ°; ΡΠ΅Π΄Π»ΠΎΠΌ Π²ΡΠΏΡΡΠΊΠ½ΠΎΠ³ΠΎ ΠΊΠ»Π°ΠΏΠ°Π½Π° ΡΠ²Π»ΡΠ΅ΡΡΡ ΡΠ΅Π·ΠΈΠ½ΠΎΠ²ΠΎΠ΅ ΠΊΠΎΠ»ΡΡΠΎ, Π·Π°ΠΆΠ°ΡΠΎΠ΅ ΠΌΠ΅ΠΆΠ΄Ρ ΠΊΠΎΡΠΏΡΡΠΎΠΌ ΠΈ Π½ΠΈΠΆΠ½Π΅ΠΉ ΠΊΡΡΡΠΊΠΎΠΉ. ΠΠ±Π° ΠΊΠ»Π°ΠΏΠ°Π½Π° ΠΊΡΠ΅ΠΏΡΡΡΡ Π½Π° ΠΎΠ΄Π½ΠΎΠΌ ΡΡΠΎΠΊΠ΅.
ΠΡΠΎΡΡΡΠ°Π½ΡΡΠ²ΠΎ Π²Π½ΡΡΡΠΈ ΡΠ°ΡΠΏΡΠ΅Π΄Π΅Π»ΠΈΡΠ΅Π»Ρ ΡΠ°Π·Π΄Π΅Π»Π΅Π½ΠΎ Π½Π° ΠΏΠΎΠ»ΠΎΡΡΠΈ. ΠΠΎΠ»ΠΎΡΡΡ Π½Π°Π΄ ΠΌΠ°Π½ΠΆΠ΅ΡΠΎΠΉ ΡΠΎΠ΅Π΄ΠΈΠ½Π΅Π½Π° Ρ ΡΠΎΡΠΌΠΎΠ·Π½ΠΎΠΉ ΡΠΈΡΡΠ΅ΠΌΠΎΠΉ Π°Π²ΡΠΎΠΌΠΎΠ±ΠΈΠ»Ρ, ΠΏΠΎΠ΄ ΠΌΠ°Π½ΠΆΠ΅ΡΠΎΠΉ β Ρ Π²ΠΎΠ·Π΄ΡΡΠ½ΡΠΌ Π±Π°Π»Π»ΠΎΠ½ΠΎΠΌ ΠΏΡΠΈΡΠ΅ΠΏΠ°, ΠΏΠΎΠ»ΠΎΡΡΡ ΠΏΠΎΠ΄ ΠΏΠ΅ΡΠ΅Π³ΠΎΡΠΎΠ΄ΠΊΠΎΠΉ ΠΊΠΎΡΠΏΡΡΠ° ΡΠΎΠ΅Π΄ΠΈΠ½Π΅Π½Π° Ρ ΡΠΎΡΠΌΠΎΠ·Π½ΡΠΌΠΈ ΠΊΠ°ΠΌΠ΅ΡΠ°ΠΌΠΈ ΠΏΡΠΈΡΠ΅ΠΏΠ°, ΠΏΠΎΠ»ΠΎΡΡΡ ΠΏΠΎΠ΄ Π²ΡΠΏΡΡΠΊΠ½ΡΠΌ ΠΊΠ»Π°ΠΏΠ°Π½ΠΎΠΌ β Ρ Π°ΡΠΌΠΎΡΡΠ΅ΡΠΎΠΉ.
Π Π°Π±ΠΎΡΠ° ΡΠΎΡΠΌΠΎΠ·Π½ΠΎΠ³ΠΎ ΠΊΡΠ°Π½Π° ΡΠΎΠ²ΠΌΠ΅ΡΡΠ½ΠΎ Ρ Π²ΠΎΠ·Π΄ΡΡ ΠΎΡΠ°ΡΠΏΡΠ΅Π΄Π΅Π»ΠΈΡΠ΅Π»Π΅ΠΌ ΠΏΡΠΈΡΠ΅ΠΏΠ°. ΠΡΠΈ ΠΎΡΠΏΡΡΠ΅Π½Π½ΠΎΠΉ ΡΠΎΡΠΌΠΎΠ·Π½ΠΎΠΉ ΠΏΠ΅Π΄Π°Π»ΠΈ ΠΏΠΎΠ΄ Π΄Π΅ΠΉΡΡΠ²ΠΈΠ΅ΠΌ ΡΡΠ°Π²Π½ΠΎΠ²Π΅ΡΠΈΠ²Π°ΡΡΠ΅ΠΉ ΠΏΡΡΠΆΠΈΠ½Ρ Π΄Π΅ΡΠ°Π»ΠΈ Π²Π΅ΡΡ Π½Π΅ΠΉ ΡΠ΅ΠΊΡΠΈΠΈ ΠΊΡΠ°Π½Π° ΡΠΌΠ΅ΡΠ΅Π½Ρ Π½Π°Π·Π°Π΄, Π²ΠΏΡΡΠΊΠ½ΠΎΠΉ ΠΊΠ»Π°ΠΏΠ°Π½ ΡΡΠΎΠΉ ΡΠ΅ΠΊΡΠΈΠΈ ΠΎΡΠΊΡΡΡ, Π²ΡΠΏΡΡΠΊΠ½ΠΎΠΉ Π·Π°ΠΊΡΡΡ. Π Π½ΠΈΠΆΠ½Π΅ΠΉ ΡΠ΅ΠΊΡΠΈΠΈ ΠΏΠΎΠ΄ Π΄Π΅ΠΉΡΡΠ²ΠΈΠ΅ΠΌ ΠΏΡΡΠΆΠΈΠ½Ρ Π΄ΠΈΠ°ΡΡΠ°Π³ΠΌΠ° ΡΠΌΠ΅ΡΠ΅Π½Π° Π²ΠΏΠ΅ΡΠ΅Π΄, Π²ΠΏΡΡΠΊΠ½ΠΎΠΉ ΠΊΠ»Π°ΠΏΠ°Π½ Π·Π°ΠΊΡΡΡ, Π²ΡΠΏΡΡΠΊΠ½ΠΎΠΉ ΠΎΡΠΊΡΡΡ. Π‘ΠΆΠ°ΡΡΠΉ Π²ΠΎΠ·Π΄ΡΡ ΠΈΠ· Π±Π°Π»Π»ΠΎΠ½ΠΎΠ² Π°Π²ΡΠΎΠΌΠΎΠ±ΠΈΠ»Ρ ΡΠ΅ΡΠ΅Π· ΠΎΡΠΊΡΡΡΡΠΉ Π²ΠΏΡΡΠΊΠ½ΠΎΠΉ ΠΊΠ»Π°ΠΏΠ°Π½ Π²Π΅ΡΡ Π½Π΅ΠΉ ΡΠ΅ΠΊΡΠΈΠΈ ΠΏΡΠΎΡ ΠΎΠ΄ΠΈΡ Π² ΡΠΎΠ΅Π΄ΠΈΠ½ΠΈΡΠ΅Π»ΡΠ½ΡΡ ΠΌΠ°Π³ΠΈΡΡΡΠ°Π»Ρ ΠΊ ΠΏΡΠΈΡΠ΅ΠΏΡ ΠΈ ΠΏΠΎΡΡΡΠΏΠ°Π΅Ρ Π² Π²Π΅ΡΡ Π½ΡΡ ΠΏΠΎΠ»ΠΎΡΡΡ Π²ΠΎΠ·Π΄ΡΡ ΠΎΡΠ°ΡΠΏΡΠ΅Π΄Π΅Π»ΠΈΡΠ΅Π»Ρ, Π³Π΄Π΅ Π΄Π°Π²ΠΈΡ Π½Π° ΠΌΠ°Π½ΠΆΠ΅ΡΡ ΠΈ ΠΎΠΏΡΡΠΊΠ°Π΅Ρ Π΅Π΅ Π²ΠΌΠ΅ΡΡΠ΅ ΡΠΎ ΡΡΠΎΠΊΠΎΠΌ Π²Π½ΠΈΠ·. ΠΠΏΡΡΠΊΠ½ΠΎΠΉ ΠΊΠ»Π°ΠΏΠ°Π½ Π²ΠΎΠ·Π΄ΡΡ ΠΎΡΠ°ΡΠΏΡΠ΅Π΄Π΅Π»ΠΈΡΠ΅Π»Ρ Π·Π°ΠΊΡΡΡ, Π²ΡΠΏΡΡΠΊΠ½ΠΎΠΉ ΠΎΡΠΊΡΡΡ, Ρ. Π΅. ΡΠΎΡΠΌΠΎΠ·β-Π½ΡΠ΅ ΠΊΠ°ΠΌΠ΅ΡΡ ΠΏΡΠΈΡΠ΅ΠΏΠ° ΡΠΎΠ΅Π΄ΠΈΠ½Π΅Π½Ρ Ρ Π°ΡΠΌΠΎΡΡΠ΅ΡΠΎΠΉ. Π‘ΠΆΠ°ΡΡΠΉ Π²ΠΎΠ·Π΄ΡΡ , ΠΎΠ³ΠΈΠ±Π°Ρ ΠΊΡΠ°Ρ ΡΠ΅Π·ΠΈΠ½ΠΎΠ²ΠΎΠΉ ΠΌΠ°Π½ΠΆΠ΅ΡΡ, Π·Π°ΠΏΠΎΠ»Π½ΡΠ΅Ρ ΡΡΠ΅Π΄Π½ΡΡ ΠΏΠΎΠ»ΠΎΡΡΡ ΠΈ ΠΏΡΠΎΡ ΠΎΠ΄ΠΈΡ Π² Π²ΠΎΠ·Π΄ΡΡΠ½ΡΠΉ Π±Π°Π»Π»ΠΎΠ½ ΠΏΡΠΈΡΠ΅ΠΏΠ°. ΠΡΠΈ Π΄ΠΎΡΡΠΈΠΆΠ΅Π½ΠΈΠΈ Π΄Π°Π²Π»Π΅Π½ΠΈΡ Π²ΠΎΠ·Π΄ΡΡ Π° Π² Π±Π°Π»Π»ΠΎΠ½Π΅ ΠΏΡΠΈΡΠ΅ΠΏΠ°, Π° ΡΠ»Π΅Π΄ΠΎΠ²Π°ΡΠ΅Π»ΡΠ½ΠΎ, Π² ΡΠΎΠ΅Π΄ΠΈΠ½ΠΈΡΠ΅Π»ΡΠ½ΠΎΠΉ ΠΌΠ°Π³ΠΈΡΡΡΠ°Π»ΠΈ ΠΈ Π² ΠΏΡΠΎΡΡΡΠ°Π½ΡΡΠ²Π΅ ΡΠΏΡΠ°Π²Π° ΠΎΡ Π΄ΠΈΠ°ΡΡΠ°Π³ΠΌΡ Π²Π΅ΡΡ Π½Π΅ΠΉ ΡΠ΅ΠΊΡΠΈΠΈ ΠΊΡΠ°Π½Π° Π²Π΅Π»ΠΈΡΠΈΠ½Ρ 4,8β5,3 ΠΊΠ³Ρ/ΡΠΌ2 Π΄ΠΈΠ°ΡΡΠ°Π³ΠΌΠ° ΠΏΡΠΎΠ³ΠΈΠ±Π°Π΅ΡΡΡ, ΡΠΆΠΈΠΌΠ°Ρ ΡΡΠ°Π²Π½ΠΎΠ²Π΅ΡΠΈΠ²Π°ΡΡΡΡ ΠΏΡΡΠΆΠΈΠ½Ρ, ΠΈ Π²ΠΏΡΡΠΊΠ½ΠΎΠΉ ΠΊΠ»Π°ΠΏΠ°Π½ ΡΡΠΎΠΉ ΡΠ΅ΠΊΡΠΈΠΈ Π·Π°ΠΊΡΡΠ²Π°Π΅ΡΡΡ, Π΄ΠΎΡΡΡΠΏ Π²ΠΎΠ·Π΄ΡΡ Π° Π² Π±Π°Π»Π»ΠΎΠ½ ΠΏΡΠΈΡΠ΅ΠΏΠ° ΠΏΡΠ΅ΠΊΡΠ°ΡΠ°Π΅ΡΡΡ.
Π Π½ΠΈΠΆΠ½Π΅ΠΉ ΡΠ΅ΠΊΡΠΈΠΈ ΠΊΡΠ°Π½Π° Π²ΠΏΡΡΠΊΠ½ΠΎΠΉ ΠΊΠ»Π°ΠΏΠ°Π½ Π·Π°ΠΊΡΡΡ, Π° Π²ΡΠΏΡΡΠΊΠ½ΠΎΠΉ ΠΎΡΠΊΡΡΡ; ΡΠΎΡΠΌΠΎΠ·Π½ΡΠ΅ ΠΊΠ°ΠΌΠ΅ΡΡ Π°Π²ΡΠΎΠΌΠΎΠ±ΠΈΠ»Ρ ΡΠΎΠ΅Π΄ΠΈΠ½Π΅Π½Ρ Ρ Π°ΡΠΌΠΎΡΡΠ΅ΡΠΎΠΉ. ΠΠ²ΡΠΎΠΌΠΎΠ±ΠΈΠ»Ρ ΠΈ ΠΏΡΠΈΡΠ΅ΠΏ ΡΠ°ΡΡΠΎΡΠΌΠΎΠΆΠ΅Π½Ρ.
ΠΡΠΈ Π½Π°ΠΆΠ°ΡΠΈΠΈ Π½Π° ΠΏΠ΅Π΄Π°Π»Ρ ΡΡΠΈΠ»ΠΈΠ΅ Π²ΠΎΠ΄ΠΈΡΠ΅Π»Ρ ΠΏΠ΅ΡΠ΅Π΄Π°Π΅ΡΡΡ Π½Π° ΡΡΠΎΠΊΠΈ ΡΠ΅ΠΊΡΠΈΠΉ. Π¨ΡΠΎΠΊ Π²Π΅ΡΡ Π½Π΅ΠΉ ΡΠ΅ΠΊΡΠΈΠΈ ΠΏΠ΅ΡΠ΅ΠΌΠ΅ΡΠ°Π΅ΡΡΡ Π²ΠΏΠ΅ΡΠ΅Π΄, Π΄ΠΈΠ°ΡΡΠ°Π³ΠΌΠ° ΡΡΠΎΠΉ ΡΠ΅ΠΊΡΠΈΠΈ ΠΏΠΎΠ΄ Π΄Π΅ΠΉΡΡΠ²ΠΈΠ΅ΠΌ Π΄Π°Π²Π»Π΅Π½ΠΈΡ ΡΠΆΠ°ΡΠΎΠ³ΠΎ Π²ΠΎΠ·Π΄ΡΡ Π° ΡΠ°ΠΊΠΆΠ΅ ΠΏΠ΅ΡΠ΅ΠΌΠ΅ΡΠ°Π΅ΡΡΡ Π²ΠΏΠ΅ΡΠ΅Π΄, Π²ΠΏΡΡΠΊΠ½ΠΎΠΉ ΠΊΠ»Π°ΠΏΠ°Π½ Π·Π°ΠΊΡΡΠ²Π°Π΅ΡΡΡ (ΠΈΠ»ΠΈ ΠΎΡΡΠ°Π΅ΡΡΡ Π·Π°ΠΊΡΡΡΡΠΌ), Π° Π²ΡΠΏΡΡΠΊΠ½ΠΎΠΉ ΠΎΡΠΊΡΡΠ²Π°Π΅ΡΡΡ. Π‘ΠΆΠ°ΡΡΠΉ Π²ΠΎΠ·Π΄ΡΡ ΠΈΠ· ΡΠΎΠ΅Π΄ΠΈΠ½ΠΈΡΠ΅Π»ΡΠ½ΠΎΠΉ ΠΌΠ°Π³ΠΈΡΡΡΠ°Π»ΠΈ ΠΈ Π²Π΅ΡΡ Π½Π΅ΠΉ ΠΏΠΎΠ»ΠΎΡΡΠΈ Π²ΠΎΠ·Π΄ΡΡ ΠΎΡΠ°ΡΠΏΡΠ΅Π΄Π΅Π»ΠΈΡΠ΅Π»Ρ Π²ΡΡ ΠΎΠ΄ΠΈΡ Π² Π°ΡΠΌΠΎΡΡΠ΅ΡΡ, ΠΌΠ°Π½ΠΆΠ΅ΡΠ° Π²ΠΎΠ·Π΄ΡΡ ΠΎΡΠ°ΡΠΏΡΠ΅Π΄Π΅Π»ΠΈΡΠ΅Π»Ρ Π²ΠΌΠ΅ΡΡΠ΅ ΡΠΎ ΡΡΠΎΠΊΠΎΠΌ ΠΏΠΎΠ΄Π½ΠΈΠΌΠ°Π΅ΡΡΡ Π²Π²Π΅ΡΡ , Π²ΡΠΏΡΡΠΊΠ½ΠΎΠΉ ΠΊΠ»Π°ΠΏΠ°Π½ Π·Π°ΠΊΡΡΠ²Π°Π΅ΡΡΡ, Π²ΠΏΡΡΠΊΠ½ΠΎΠΉ ΠΎΡΠΊΡΡΠ²Π°Π΅ΡΡΡ. Π‘ΠΆΠ°ΡΡΠΉ Π²ΠΎΠ·Π΄ΡΡ ΠΈΠ· Π±Π°Π»Π»ΠΎΠ½ΠΎΠ² ΠΏΡΠΈΡΠ΅ΠΏΠ° ΠΏΠΎΡΡΡΠΏΠ°Π΅Ρ Π² Π΅Π³ΠΎ ΡΠΎΡΠΌΠΎΠ·Π½ΡΠ΅ ΠΊΠ°ΠΌΠ΅ΡΡ, ΡΡΠΎ Π²Π΅Π΄Π΅Ρ ΠΊ ΡΠΎΡΠΌΠΎΠΆΠ΅Π½ΠΈΡ ΠΏΡΠΈΡΠ΅ΠΏΠ°,
Π Π½ΠΈΠΆΠ½Π΅ΠΉ ΡΠ΅ΠΊΡΠΈΠΈ ΠΊΡΠ°Π½Π° ΡΡΠΎΠΊ Ρ Π΄ΠΈΠ°ΡΡΠ°Π³ΠΌΠΎΠΉ ΠΏΠ΅ΡΠ΅ΠΌΠ΅ΡΠ°ΡΡΡΡ Π½Π°Π·Π°Π΄, Π²ΡΠΏΡΡΠΊΠ½ΠΎΠΉ ΠΊΠ»Π°ΠΏΠ°Π½ Π·Π°ΠΊΡΡΠ²Π°Π΅ΡΡΡ, Π²ΠΏΡΡΠΊΠ½ΠΎΠΉ ΠΎΡΠΊΡΡΠ²Π°Π΅ΡΡΡ. Π‘ΠΆΠ°ΡΡΠΉ Π²ΠΎΠ·Π΄ΡΡ ΠΈΠ· Π±Π°Π»Π»ΠΎΠ½ΠΎΠ² Π°Π²ΡΠΎΠΌΠΎΠ±ΠΈΠ»Ρ ΠΏΠΎΡΡΡΠΏΠ°Π΅Ρ Π² Π΅Π³ΠΎ ΡΠΎΡΠΌΠΎΠ·Π½ΡΠ΅ ΠΊΠ°ΠΌΠ΅ΡΡ, ΡΡΠΎ Π²Π΅Π΄Π΅Ρ ΠΊ ΡΠΎΡΠΌΠΎΠΆΠ΅Π½ΠΈΡ Π°Π²ΡΠΎΠΌΠΎΠ±ΠΈΠ»Ρ.

Π ΠΈΡ. 9. Π‘Ρ Π΅ΠΌΠ° Π΄Π΅ΠΉΡΡΠ²ΠΈΡ ΡΠΎΡΠΌΠΎΠ·Π½ΠΎΠ³ΠΎ ΠΏΡΠΈΠ²ΠΎΠ΄Π° Π°Π²ΡΠΎΠΌΠΎΠ±ΠΈΠ»Ρ ΠΈ ΠΏΡΠΈΡΠ΅ΠΏΠ°:
ΠΡΠΈ ΠΎΡΠΏΡΡΠΊΠ°Π½ΠΈΠΈ ΠΏΠ΅Π΄Π°Π»ΠΈ Π² Π²Π΅ΡΡ Π½Π΅ΠΉ ΡΠ΅ΠΊΡΠΈΠΈ Π·Π°ΠΊΡΡΠ²Π°Π΅ΡΡΡ Π²ΡΠΏΡΡΠΊΠΊΠΎΠΉ ΠΊΠ»Π°ΠΏΠ°Π½ ΠΈ ΠΎΡΠΊΡΡΠ²Π°Π΅ΡΡΡ Π²ΠΏΡΡΠΊΠ½ΠΎΠΉ. ΠΠΎΠ·Π΄ΡΡ ΠΈΠ· Π±Π°Π»Π»ΠΎΠ½ΠΎΠ² Π°Π²ΡΠΎΠΌΠΎΠ±ΠΈΠ»Ρ ΠΏΠΎΡΡΡΠΏΠ°Π΅Ρ Π² ΡΠΎΠ΅Π΄ΠΈΠ½ΠΈΡΠ΅Π»ΡΠ½ΡΡ ΠΌΠ°Π³ΠΈΡΡΡΠ°Π»Ρ ΠΊ Π²ΠΎΠ·Π΄ΡΡ ΠΎΡΠ°ΡΠΏΡΠ΅Π΄Π΅Π»ΠΈΡΠ΅Π»Ρ ΠΏΡΠΈΡΠ΅ΠΏΠ°, Π³Π΄Π΅ ΠΎΠΏΡΡΠΊΠ°Π΅Ρ ΠΌΠ°Π½ΠΆΠ΅ΡΡ ΡΠΎ ΡΡΠΎΠΊΠΎΠΌ Π²Π½ΠΈΠ·, Π·Π°ΠΊΡΡΠ²Π°Ρ Π²ΠΏΡΡΠΊΠ½ΠΎΠΉ ΠΊΠ»Π°ΠΏΠ°Π½ ΠΈ ΠΎΡΠΊΡΡΠ²Π°Ρ Π²ΡΠΏΡΡΠΊΠ½ΠΎΠΉ. Π‘ΠΆΠ°ΡΡΠΉ Π²ΠΎΠ·Π΄ΡΡ ΠΈΠ· ΡΠΎΡΠΌΠΎΠ·Π½ΡΡ ΠΊΠ°ΠΌΠ΅Ρ ΠΏΡΠΈΡΠ΅ΠΏΠ° Π²ΡΡ ΠΎΠ΄ΠΈΡ Π² Π°ΡΠΌΠΎΡΡΠ΅ΡΡ.
Π Π½ΠΈΠΆΠ½Π΅ΠΉ ΡΠ΅ΠΊΡΠΈΠΈ ΠΊΡΠ°Π½Π° Π²ΠΏΡΡΠΊΠ½ΠΎΠΉ ΠΊΠ»Π°ΠΏΠ°Π½ Π·Π°ΠΊΡΡΠ²Π°Π΅ΡΡΡ, Π²ΡΠΏΡΡΠΊΠ½ΠΎΠΉ ΠΎΡΠΊΡΡΠ²Π°Π΅ΡΡΡ, ΡΠΆΠ°ΡΡΠΉ Π²ΠΎΠ·Π΄ΡΡ ΠΈΠ· ΡΠΎΡΠΌΠΎΠ·Π½ΡΡ ΠΊΠ°ΠΌΠ΅Ρ Π°Π²ΡΠΎΠΌΠΎΠ±ΠΈΠ»Ρ Π²ΡΡ ΠΎΠ΄ΠΈΡ Π² Π°ΡΠΌΠΎΡΡΠ΅ΡΡ. ΠΠ²ΡΠΎΠΌΠΎΠ±ΠΈΠ»Ρ ΠΈ ΠΏΡΠΈΡΠ΅ΠΏ ΡΠ°ΡΡΠΎΡΠΌΠ°ΠΆΠΈΠ²Π°ΡΡΡΡ.
Π’ΠΎΡΠΌΠΎΠ·Π½ΠΎΠΉ ΠΊΡΠ°Π½ ΠΎΠ±Π»Π°Π΄Π°Π΅Ρ ΡΠ»Π΅Π΄ΡΡΠΈΠΌ Π΄Π΅ΠΉΡΡΠ²ΠΈΠ΅ΠΌ. ΠΡΠ»ΠΈ Π²ΠΎΠ΄ΠΈΡΠ΅Π»Ρ ΠΏΡΠΈ ΡΠΎΡΠΌΠΎΠΆΠ΅Π½ΠΈΠΈ Π½Π°ΠΆΠΌΠ΅Ρ ΠΏΠ΅Π΄Π°Π»Ρ Π½Π΅ Π΄ΠΎ ΡΠΏΠΎΡΠ°, Π° ΠΎΡΡΠ°Π½ΠΎΠ²ΠΈΡ Π΅Π΅ Π² ΠΏΡΠΎΠΌΠ΅ΠΆΡΡΠΎΡΠ½ΠΎΠΌ ΠΏΠΎΠ»ΠΎΠΆΠ΅Π½ΠΈΠΈ, ΡΠΎ Π² Π½ΠΈΠΆΠ½Π΅ΠΉ ΡΠ΅ΠΊΡΠΈΠΈ ΠΊΡΠ°Π½Π° ΠΏΠΎΡΠ»Π΅ Π½Π΅ΠΊΠΎΡΠΎΡΠΎΠ³ΠΎ Π½Π°ΡΠ°ΡΡΠ°Π½ΠΈΡ Π΄Π°Π²Π»Π΅Π½ΠΈΡ Π΄ΠΉΠ°ΡΡΠ°Π³ΠΌΠ° ΠΏΡΠΎΠ³Π½Π΅ΡΡΡ Π²ΠΏΠ΅ΡΠ΅Π΄, Π° Π²ΠΏΡΡΠΊΠ½ΠΎΠΉ ΠΊΠ»Π°ΠΏΠ°Π½ Π·Π°ΠΊΡΠΎΠ΅ΡΡΡ. Π ΡΠΎΡΠΌΠΎΠ·Π½ΡΡ ΠΊΠ°ΠΌΠ΅ΡΠ°Ρ Π°Π²ΡΠΎΠΌΠΎΠ±ΠΈΠ»Ρ ΡΡΡΠ°Π½ΠΎΠ²ΠΈΡΡΡ Π΄Π°Π²Π»Π΅Π½ΠΈΠ΅, ΠΏΡΠΎΠΏΠΎΡΡΠΈΠΎΠ½Π°Π»ΡΠ½ΠΎΠ΅ Π½Π°ΠΆΠ°ΡΠΈΡ Π½Π° ΠΏΠ΅Π΄Π°Π»Ρ. ΠΠ½Π°Π»ΠΎΠ³ΠΈΡΠ½ΠΎ Π² Π²Π΅ΡΡ Π½Π΅ΠΉ ΡΠ΅ΠΊΡΠΈΠΈ ΠΊΡΠ°Π½Π° Π²ΠΎΠ·Π΄ΡΡ ΡΠ°ΡΡΠΈΡΠ½ΠΎ Π²ΡΠΉΠ΄Π΅Ρ Π² Π°ΡΠΌΠΎΡΡΠ΅ΡΡ, ΠΏΠΎΠ΄ Π΄Π΅ΠΉΡΡΠ²ΠΈΠ΅ΠΌ ΡΡΠ°Π²Π½ΠΎΠ²Π΅ΡΠΈΠ²Π°ΡΡΠ΅ΠΉ ΠΏΡΡΠΆΠΈΠ½Ρ Π΄ΠΈΠ°ΡΡΠ°Π³ΠΌΠ° ΠΏΡΠΎΠ³Π½Π΅ΡΡΡ Π½Π°Π·Π°Π΄, Π²ΡΠΏΡΡΠΊΠ½ΠΎΠΉ ΠΊΠ»Π°ΠΏΠ°Π½ Π·Π°ΠΊΡΠΎΠ΅ΡΡΡ, ΠΈ Π² ΡΠΎΠ΅Π΄ΠΈΠ½ΠΈΡΠ΅Π»ΡΠ½ΠΎΠΉ ΠΌΠ°Π³ΠΈΡΡΡΠ°Π»ΠΈ ΠΏΡΠΈΡΠ΅ΠΏΠ°, Π° ΡΠ»Π΅Π΄ΠΎΠ²Π°ΡΠ΅Π»ΡΠ½ΠΎ, ΠΈ Π² Π΅Π³ΠΎ ΡΠΎΡΠΌΠΎΠ·Π½ΡΡ ΠΊΠ°ΠΌΠ΅ΡΠ°Ρ , ΡΡΡΠ°Π½ΠΎΠ²ΠΈΡΡΡ Π΄Π°Π²Π»Π΅Π½ΠΈΠ΅, ΠΏΡΠΎΠΏΠΎΡΡΠΈΠΎΠ½Π°Π»ΡΠ½ΠΎΠ΅ Π½Π°ΠΆΠ°ΡΠΈΡ Π½Π° ΠΏΠ΅Π΄Π°Π»Ρ. Π’Π°ΠΊΠΈΠΌ ΠΎΠ±ΡΠ°Π·ΠΎΠΌ, ΡΠΎΡΠΌΠΎΠ·Π½ΠΎΠΉ ΠΊΡΠ°Π½ ΠΏΠΎΠ·Π²ΠΎΠ»ΡΠ΅Ρ ΡΠΎΡΠΌΠΎΠ·ΠΈΡΡ Ρ ΡΡΡΠ΅ΠΊΡΠΈΠ²Π½ΠΎΡΡΡΡ, ΡΠΎΠΎΡΠ²Π΅ΡΡΡΠ²ΡΡΡΠ΅ΠΉ Π½Π°ΠΆΠ°ΡΠΈΡ Π½Π° ΠΏΠ΅Π΄Π°Π»Ρ.
ΠΡΠΈ ΡΠΎΡΠΌΠΎΠΆΠ΅Π½ΠΈΠΈ ΡΡΠΎΡΠ½ΠΎΡΠ½ΡΠΌ ΡΠΎΡΠΌΠΎΠ·ΠΎΠΌ ΡΡΠΈΠ»ΠΈΠ΅ Π²ΠΎΠ΄ΠΈΡΠ΅Π»Ρ ΡΠ΅ΡΠ΅Π· ΡΡΠ³ΠΈ ΠΏΡΠΈΠ²ΠΎΠ΄Π° ΠΏΠ΅ΡΠ΅Π΄Π°Π΅ΡΡΡ Π½Π° ΡΡΡΠ°Π³, ΠΊΠΎΡΠΎΡΡΠΉ ΠΏΡΠΈΠ²ΠΎΠ΄ΠΈΡ Π² Π΄Π΅ΠΉΡΡΠ²ΠΈΠ΅ ΡΠΎΠ»ΡΠΊΠΎ Π²Π΅ΡΡ Π½ΡΡ ΡΠ΅ΠΊΡΠΈΡ ΠΊΡΠ°Π½Π°, ΡΡΠΎ Π²Π΅Π΄Π΅Ρ ΠΊ ΡΠΎΡΠΌΠΎΠΆΠ΅Π½ΠΈΡ ΠΏΡΠΈΡΠ΅ΠΏΠ°.
Π‘Π²ΠΎΠ±ΠΎΠ΄Π½ΡΠΉ Ρ ΠΎΠ΄ ΠΏΠ΅Π΄Π°Π»ΠΈ ΡΠΎΡΠΌΠΎΠ·Π° Π΄ΠΎΠ»ΠΆΠ΅Π½ Π±ΡΡΡ 40β 60 ΠΌΠΌ, Π²Π΅ΡΡ Π½ΠΈΠΉ ΠΊΠΎΠ½Π΅Ρ ΠΏΠ΅Π΄Π°Π»ΠΈ Π½Π΅ Π΄ΠΎΠ»ΠΆΠ΅Π½ Π΄ΠΎΡ ΠΎΠ΄ΠΈΡΡ Π΄ΠΎ ΠΏΠΎΠ»Π° Π½Π° 10β20 ΠΌΠΌ. Π‘Π²ΠΎΠ±ΠΎΠ΄Π½ΡΠΉ Ρ ΠΎΠ΄ ΠΏΠ΅Π΄Π°Π»ΠΈ ΡΠ΅Π³ΡΠ»ΠΈΡΡΠ΅ΡΡΡ ΠΈΠ·ΠΌΠ΅Π½Π΅Π½ΠΈΠ΅ΠΌ Π΄Π»ΠΈΠ½Ρ ΡΡΠ³ΠΈ, ΡΠΎΠ΅Π΄ΠΈΠ½ΡΡΡΠ΅ΠΉ ΠΏΠ΅Π΄Π°Π»Ρ ΡΠΎΡΠΌΠΎΠ·Π° Ρ ΡΠΎΡΠΌΠΎΠ·Π½ΡΠΌ ΠΊΡΠ°Π½ΠΎΠΌ, ΠΏΡΡΠ΅ΠΌ Π½Π°Π²ΠΈΠ½ΡΠΈΠ²Π°Π½ΠΈΡ ΠΈΠ»ΠΈ ΡΠ²ΠΈΠ½ΡΠΈΠ²Π°Π½ΠΈΡ Π΅Π΅ Π²ΠΈΠ»ΠΊΠΈ. Π Π΅Π³ΡΠ»ΠΈΡΠΎΠ²ΠΊΠ° Π΄Π°Π²Π»Π΅Π½ΠΈΡ Π²ΠΎΠ·Π΄ΡΡ Π° Π² ΡΠΎΠ΅Π΄ΠΈΠ½ΠΈΡΠ΅Π»ΡΠ½ΠΎΠΉ ΠΌΠ°Π³ΠΈΡΡΡΠ°Π»ΠΈ ΠΏΡΠΈΡΠ΅ΠΏΠ° ΠΎΡΡΡΠ΅ΡΡΠ²Π»ΡΠ΅ΡΡΡ Π²ΡΠ°ΡΠ΅Π½ΠΈΠ΅ΠΌ Π½Π°ΠΏΡΠ°Π²Π»ΡΡΡΠ΅ΠΉ 5 ΡΡΠΎΠΊΠ° 6 Π²Π΅ΡΡ Π½Π΅ΠΉ ΡΠ΅ΠΊΡΠΈΠΈ ΠΊΡΠ°ΠΏΠ° ΠΏΡΠΈ ΡΠ½ΡΡΠΎΠΌ ΠΊΠΎΡΠΏΡΡΠ΅ ΡΡΡΠ°Π³ΠΎΠ² ΠΈ ΠΎΡΠ»Π°Π±Π»Π΅Π½Π½ΠΎΠΉ ΠΊΠΎΠ½ΡΡΠ³Π°ΠΉΠΊΠ΅ Π½Π°ΠΏΡΠ°Π²Π»ΡΡΡΠ΅ΠΉ. ΠΠ°Π²Π»Π΅Π½ΠΈΠ΅ Π² ΡΠΎΠ΅Π΄ΠΈΠ½ΠΈΡΠ΅Π»ΡΠ½ΠΎΠΉ ΠΌΠ°Π³ΠΈΡΡΡΠ°Π»ΠΈ ΠΏΡΠΈΡΠ΅ΠΏΠ° Π΄ΠΎΠ»ΠΆΠ½ΠΎ Π±ΡΡΡ ΠΏΡΠΈ ΠΎΡΠΏΡΡΠ΅Π½Π½ΠΎΠΉ ΠΏΠ΅Π΄Π°Π»ΠΈ ΡΠΎΡΠΌΠΎΠ·Π° 4,8β5,3 ΠΊΠ³Ρ/ΡΠΌ2. ΠΡΠΎΠ²Π΅ΡΡΠ΅ΡΡΡ Π΄Π°Π²Π»Π΅Π½ΠΈΠ΅ ΠΏΡΠΈΡΠΎΠ΅Π΄ΠΈΠ½Π΅Π½ΠΈΠ΅ΠΌ ΠΌΠ°Π½ΠΎΠΌΠ΅ΡΡΠ° ΠΊ ΡΠΎΠ΅Π΄ΠΈΠ½ΠΈΡΠ΅Π»ΡΠ½ΠΎΠΉ Π³ΠΎΠ»ΠΎΠ²ΠΊΠ΅.
ΠΠ²ΡΠΎΠΌΠΎΠ±ΠΈΠ»Ρ ΠΠΠ-130 ΠΈΠΌΠ΅Π΅Ρ ΡΠ°Π±ΠΎΡΡΡ ΡΠΎΡΠΌΠΎΠ·Π½ΡΡ ΡΠΈΡΡΠ΅ΠΌΡ Ρ ΡΠ΅ΡΡΡΡΠΌΡ ΡΠΎΡΠΌΠΎΠ·Π½ΡΠΌΠΈ ΠΌΠ΅Ρ Π°Π½ΠΈΠ·ΠΌΠ°ΠΌΠΈ ΠΈ ΠΏΠ½Π΅Π²ΠΌΠ°ΡΠΈΡΠ΅ΡΠΊΠΈΠΌ ΠΏΡΠΈΠ²ΠΎΠ΄ΠΎΠΌ, Π£ΡΡΡΠΎΠΉΡΡΠ²ΠΎ ΡΠΎΡΠΌΠΎΠ·Π½ΡΡ ΠΌΠ΅Ρ Π°Π½ΠΈΠ·ΠΌΠΎΠ² ΠΈ ΠΏΡΠΈΠ±ΠΎΡΠΎΠ² ΠΏΠ½Π΅Π²ΠΌΠ°ΡΠΈΡΠ΅ΡΠΊΠΎΠ³ΠΎ ΠΏΡΠΈΠ²ΠΎΠ΄Π° Π²ΠΎ ΠΌΠ½ΠΎΠ³ΠΎΠΌ Π°Π½Π°Π»ΠΎΠ³ΠΈΡΠ½ΠΎ Π°Π²ΡΠΎΠΌΠΎΠ±ΠΈΠ»Ρ ΠΠΠ-131. ΠΡΠ½ΠΎΠ²Π½ΡΠ΅ ΠΎΡΠ»ΠΈΡΠΈΡ ΡΠ²ΠΎΠ΄ΡΡΡΡ ΠΊ ΡΠ»Π΅Π΄ΡΡΡΠ΅ΠΌΡ. Π£ ΡΠΎΡΠΌΠΎΠ·Π½ΡΡ ΠΌΠ΅Ρ Π°Π½ΠΈΠ·ΠΌΠΎΠ² Π·Π°Π΄Π½ΠΈΡ ΠΊΠΎΠ»Π΅Ρ ΡΠ°Π·ΠΆΠΈΠΌΠ½ΡΠΉ ΠΊΡΠ»Π°ΠΊ Π²ΡΠΏΠΎΠ»Π½Π΅Π½ ΠΏΠΎ ΠΊΡΠΈΠ²ΠΎΠ»ΠΈΠ½Π΅ΠΉΠ½ΠΎΠΌΡ ΠΏΡΠΎΡΠΈΠ»Ρ, Π° Π½Π° ΠΊΠΎΠ½ΡΠ°Ρ ΠΊΠΎΠ»ΠΎΠ΄ΠΎΠΊ, Π²Π·Π°ΠΈΠΌΠΎΠ΄Π΅ΠΉΡΡΠ²ΡΡΡΠΈΡ Ρ ΠΊΡΠ»Π°ΠΊΠΎΠΌ, ΡΡΡΠ°Π½ΠΎΠ²Π»Π΅Π½Ρ ΡΠΎΠ»ΠΈΠΊΠΈ. ΠΡΠΈ ΡΠ΅Π³ΡΠ»ΠΈΡΠΎΠ²ΠΊΠ΅ ΡΠΎΡΠΌΠΎΠ·Π½ΡΡ ΠΌΠ΅Ρ Π°Π½ΠΈΠ·ΠΌΠΎΠ² Π΄ΠΎΠ±ΠΈΠ²Π°ΡΡΡΡ, ΡΡΠΎΠ±Ρ Π²ΡΡ ΠΎΠ΄ ΡΡΠΎΠΊΠΎΠ² ΡΠΎΡΠΌΠΎΠ·Π½ΡΡ ΠΊΠ°ΠΌΠ΅Ρ Π±ΡΠ» Π² ΠΏΡΠ΅Π΄Π΅Π»Π°Ρ 15β25 ΠΌΠΌ Π΄Π»Ρ ΠΏΠ΅ΡΠ΅Π΄Π½ΠΈΡ ΡΠΎΡΠΌΠΎΠ·ΠΎΠ² ΠΈ 20β30 ΠΌΠΌ Π΄Π»Ρ Π·Π°Π΄Π½ΠΈΡ .
Π ΠΏΠ½Π΅Π²ΠΌΠ°ΡΠΈΡΠ΅ΡΠΊΠΎΠΌ ΠΏΡΠΈΠ²ΠΎΠ΄Π΅ ΠΈΠΌΠ΅ΡΡΡΡ Π΄Π²Π° Π²ΠΎΠ·Π΄ΡΡΠ½ΡΡ Π±Π°Π»Π»ΠΎΠ½Π°; Π½Π° Π°Π²ΡΠΎΠΌΠΎΠ±ΠΈΠ»ΡΡ , Π½Π΅ ΠΏΡΠ΅Π΄Π½Π°Π·Π½Π°ΡΠ΅Π½Π½ΡΡ Π΄Π»Ρ ΡΠ°Π±ΠΎΡΡ Ρ ΠΏΡΠΈΡΠ΅ΠΏΠΎΠΌ (ΡΠ°ΡΡΠΈ ΠΠΠ-130Π1 Π΄Π»Ρ ΡΠ°ΠΌΠΎΡΠ²Π°Π»Π°), ΡΡΡΠ°Π½Π°Π²Π»ΠΈΠ²Π°Π΅ΡΡΡ ΠΎΠ΄ΠΈΠ½Π°ΡΠ½ΡΠΉ ΡΠΎΡΠΌΠΎΠ·Π½ΠΎΠΉ ΠΊΡΠ°Π½, Π°Π½Π°Π»ΠΎΠ³ΠΈΡΠ½ΡΠΉ Π½ΠΈΠΆΠ½Π΅ΠΉ ΡΠ΅ΠΊΡΠΈΠΈ Π΄Π²ΡΡ ΡΠ΅ΠΊΡΠΈΠΎΠ½Π½ΠΎΠ³ΠΎ ΠΊΡΠ°Π½Π°. Π£ ΡΡΠΈΡ ΠΆΠ΅ Π°Π²ΡΠΎΠΌΠΎΠ±ΠΈΠ»Π΅ΠΉ ΠΎΡΡΡΡΡΡΠ²ΡΡΡ ΡΠ°Π·ΠΎΠ±ΡΠΈΡΠ΅Π»ΡΠ½ΡΠΉ ΠΊΡΠ°Π½ ΠΈ ΡΠΎΠ΅Π΄ΠΈΠ½ΠΈΡΠ΅Π»ΡΠ½Π°Ρ Π³ΠΎΠ»ΠΎΠ²ΠΊΠ°.
Π Π΅ΠΊΠ»Π°ΠΌΠ½ΡΠ΅ ΠΏΡΠ΅Π΄Π»ΠΎΠΆΠ΅Π½ΠΈΡ:
Π§ΠΈΡΠ°ΡΡ Π΄Π°Π»Π΅Π΅: Π Π°Π±ΠΎΡΠ°Ρ ΡΠΎΡΠΌΠΎΠ·Π½Π°Ρ ΡΠΈΡΡΠ΅ΠΌΠ° Π°Π²ΡΠΎΠΌΠΎΠ±ΠΈΠ»Ρ Β«Π£ΡΠ°Π»-375ΠΒ»
ΠΠ°ΡΠ΅Π³ΠΎΡΠΈΡ: — Π£ΡΡΡΠΎΠΉΡΡΠ²ΠΎ Π°Π²ΡΠΎΠΌΠΎΠ±ΠΈΠ»Ρ
ΠΠ»Π°Π²Π½Π°Ρ β Π‘ΠΏΡΠ°Π²ΠΎΡΠ½ΠΈΠΊ β Π‘ΡΠ°ΡΡΠΈ β Π€ΠΎΡΡΠΌ
stroy-technics.ru
ΠΡΠΎΠ±Π΅Π½Π½ΠΎΡΡΠΈ ΠΏΠΎΠ΄Π²Π΅ΡΠΊΠΈ ΠΠΠ-131
ΠΠ΅ΡΠ΅Π΄Π½ΡΡ ΠΏΠΎΠ΄Π²Π΅ΡΠΊΠ° ΡΠΎΡΡΠΎΠΈΡ ΠΈΠ· Π΄Π²ΡΡ ΠΏΡΠΎΠ΄ΠΎΠ»ΡΠ½ΡΡ ΠΏΠΎΠ»ΡΡΠ»Π»ΠΈΠΏΡΠΈΡΠ΅ΡΠΊΠΈΡ ΡΠ΅ΡΡΠΎΡ ΠΈ Π΄Π²ΡΡ ΡΠ΅Π»Π΅ΡΠΊΠΎΠΏΠΈΡΠ΅ΡΠΊΠΈΡ Π°ΠΌΠΎΡΡΠΈΠ·Π°ΡΠΎΡΠΎΠ²
Π Π΅ΡΡΠΎΡΡ 2 Π°Π²ΡΠΎΠΌΠΎΠ±ΠΈΠ»Π΅ΠΉ, ΠΎΠ±ΠΎΡΡΠ΄ΠΎΠ²Π°Π½Π½ΡΡ Π»Π΅Π±Π΅Π΄ΠΊΠΎΠΉ, ΠΈΠΌΠ΅ΡΡ 17 Π»ΠΈΡΡΠΎΠ², Π° ΡΠ΅ΡΡΠΎΡΡ Π°Π²ΡΠΎΠΌΠΎΠ±ΠΈΠ»Π΅ΠΉ Π±Π΅Π· Π»Π΅Π±Π΅Π΄ΠΊΠΈ β 15 Π»ΠΈΡΡΠΎΠ².
ΠΠ΅ΡΠ΅Π΄Π½ΠΈΠ΅ ΠΊΠΎΠ½ΡΡ ΡΠ΅ΡΡΠΎΡ Ρ ΠΏΠΎΠΌΠΎΡΡΡ ΠΎΡΡΠ΅ΠΌΠ½ΡΡ ΡΡΠΊΠΎΠ² 32 ΠΈ ΠΏΠ°Π»ΡΡΠ΅Π² 28 Π·Π°ΠΊΡΠ΅ΠΏΠ»Π΅Π½Ρ ΠΊ ΠΊΡΠΎΠ½ΡΡΠ΅ΠΉΠ½Π°ΠΌ 1 ΡΠ°ΠΌΡ.
Π£ΡΠΊΠΎ ΠΏΡΠΈΠΊΡΠ΅ΠΏΠ»Π΅Π½ΠΎ ΠΊ ΡΠ΅ΡΡΠΎΡΠ΅ ΡΠ΅ΡΠ΅Π· ΠΏΠΎΠ΄ΠΊΠ»Π°Π΄ΠΊΡ 30 Π΄Π²ΡΠΌΡ Π±ΠΎΠ»ΡΠ°ΠΌΠΈ, ΡΡΡΠ΅ΠΌΡΠ½ΠΊΠΎΠΉ; ΠΎΡ ΡΠΌΠ΅ΡΠ΅Π½ΠΈΠΉ ΡΠ΅ΡΡΠΎΡΠ° ΡΠ΄Π΅ΡΠΆΠΈΠ²Π°Π΅ΡΡΡ ΡΠΏΠ΅ΡΠΈΠ°Π»ΡΠ½ΡΠΌΠΈ Π²Ρ ΡΡΡΠΏΠ°ΠΌΠΈ Π½Π° ΠΊΠΎΡΠ΅Π½Π½ΠΎΠΌ Π»ΠΈΡΡΠ΅ ΠΈ ΠΏΠΎΠ΄ΠΊΠ»Π°Π΄ΠΊΠ΅.
Π ΡΡΠΊΠΎ Π·Π°ΠΏΡΠ΅ΡΡΠΎΠ²Π°Π½Π° Π²ΡΡΠ»ΠΊΠ° 29 ΠΈΠ· ΡΠ΅ΡΠΌΠΎΠΎΠ±ΡΠ°Π±ΠΎΡΠ°Π½Π½ΠΎΠ³ΠΎ ΠΊΠΎΠ²ΠΊΠΎΠ³ΠΎ ΡΡΠ³ΡΠ½Π°.

ΠΠ°Π΄Π½ΠΈΠ΅ ΠΊΠΎΠ½ΡΡ ΠΏΠ΅ΡΠ΅Π΄Π½ΠΈΡ ΡΠ΅ΡΡΠΎΡ ΠΎΠΏΠΈΡΠ°ΡΡΡΡ Π½Π° ΡΡΡ Π°ΡΠΈ 13, Π½Π°ΠΏΡΠ΅ΡΡΠΎΠ²Π°Π½Π½ΡΠ΅ Π½Π° ΠΊΡΠΎΠ½ΡΡΠ΅ΠΉΠ½Ρ 11.
ΠΠ° ΠΏΠ°Π»ΡΡΡ 14 ΡΡΡ Π°ΡΠ΅ΠΉ ΡΡΡΠ°Π½ΠΎΠ²Π»Π΅Π½Ρ Π²ΠΊΠ»Π°Π΄ΡΡΠΈ 15, ΠΏΡΠ΅Π΄ΠΎΡ ΡΠ°Π½ΡΡΡΠΈΠ΅ ΡΡΠ΅Π½ΠΊΠΈ ΠΊΡΠΎΠ½ΡΡΠ΅ΠΉΠ½Π° ΠΎΡ ΠΈΠ·Π½ΠΎΡΠ°.
ΠΠΊΠ»Π°Π΄ΡΡΠΈ Π·Π°ΠΊΡΠ΅ΠΏΠ»ΡΡΡ ΡΡΡΠΆΠ½ΡΠΌΠΈ Π±ΠΎΠ»ΡΠ°ΠΌΠΈ 16. ΠΠ° ΡΡΡΠΆΠ½ΡΠ΅ Π±ΠΎΠ»ΡΡ ΡΡΡΠ°Π½ΠΎΠ²Π»Π΅Π½Ρ Π²ΡΡΠ»ΠΊΠΈ 17.
ΠΠ° ΡΠΊΠΎΠ»ΡΠ·ΡΡΠ΅ΠΌ ΠΊΠΎΠ½ΡΠ΅ ΠΊΠΎΡΠ΅Π½Π½ΠΎΠ³ΠΎ Π»ΠΈΡΡΠ° ΠΏΡΠΈΠΊΠ»Π΅ΠΏΠ°Π½Π° Π½Π°ΠΊΠ»Π°Π΄ΠΊΠ° 12, ΠΏΡΠ΅Π΄ΠΎΡ ΡΠ°Π½ΡΡΡΠ°Ρ Π΅Π³ΠΎ ΠΎΡ ΠΈΠ·Π½ΠΎΡΠΎΠ².
Π’ΡΡΡΠΈΠ΅ΡΡ Π΄Π΅ΡΠ°Π»ΠΈ ΡΠ΅ΡΠΌΠΈΡΠ΅ΡΠΊΠΈ ΠΎΠ±ΡΠ°Π±ΠΎΡΠ°Π½Ρ Π΄Π»Ρ ΠΏΠΎΠ²ΡΡΠ΅Π½ΠΈΡ ΡΡΠΎΠΊΠ° ΠΈΡ ΡΠ»ΡΠΆΠ±Ρ.
ΠΠ°ΠΆΠ΄Π°Ρ ΡΠ΅ΡΡΠΎΡΠ° ΡΡΠ΅Π΄Π½Π΅ΠΉ ΡΠ°ΡΡΡΡ ΠΏΡΠΈΠΊΡΠ΅ΠΏΠ»Π΅Π½Π° ΡΡΡΠ΅ΠΌΡΠ½ΠΊΠ°ΠΌΠΈ 26 ΠΊ ΠΏΠ΅ΡΠ΅Π΄Π½Π΅ΠΌΡ ΠΌΠΎΡΡΡ.
Π Π΅Π·ΠΈΠ½ΠΎΠ²ΡΠ΅ Π±ΡΡΠ΅ΡΠ° 4 ΡΠΌΡΠ³ΡΠ°ΡΡ ΡΠ΄Π°ΡΡ ΡΠ΅ΡΡΠΎΡ ΠΎ ΡΠ°ΠΌΡ; Π±ΡΡΠ΅ΡΠ° 10 ΡΠΌΠ΅Π½ΡΡΠ°ΡΡ ΠΏΠΎΠ²ΠΎΡΠΎΡ ΠΌΠΎΡΡΠ° Π²ΠΏΠ΅ΡΠ΅Π΄ ΠΏΡΠΈ ΡΠΎΡΠΌΠΎΠΆΠ΅Π½ΠΈΠΈ.

ΠΠΌΠΎΡΡΠΈΠ·Π°ΡΠΎΡ (ΡΠΈΡ. 2) Π²Π΅ΡΡ Π½Π΅ΠΉ ΠΏΡΠΎΡΡΠΈΠ½ΠΎΠΉ 8 ΠΏΡΠΈΠΊΡΠ΅ΠΏΠ»Π΅Π½ ΠΊ ΠΊΡΠΎΠ½ΡΡΠ΅ΠΉΠ½Ρ ΡΠ°ΠΌΡ, Π° Π½ΠΈΠΆΠ½Π΅ΠΉ β ΠΊ ΠΏΠ΅ΡΠ΅Π΄Π½Π΅ΠΉ ΠΎΡΠΈ.
ΠΠΌΠΎΡΡΠΈΠ·Π°ΡΠΎΡΡ ΠΏΡΠ΅Π΄Π½Π°Π·Π½Π°ΡΠ΅Π½Ρ Π΄Π»Ρ Π³Π°ΡΠ΅Π½ΠΈΡ ΠΊΠΎΠ»Π΅Π±Π°Π½ΠΈΠΉ, Π²ΠΎΠ·Π½ΠΈΠΊΠ°ΡΡΠΈΡ ΠΏΡΠΈ Π΄Π²ΠΈΠΆΠ΅Π½ΠΈΠΈ Π°Π²ΡΠΎΠΌΠΎΠ±ΠΈΠ»Ρ ΠΏΠΎ Π½Π΅ΡΠΎΠ²Π½ΠΎΡΡΡΠΌ Π΄ΠΎΡΠΎΠ³ΠΈ.
ΠΡΠΎ ΠΏΠΎΠ²ΡΡΠ°Π΅Ρ ΠΏΠ»Π°Π²Π½ΠΎΡΡΡ Π΄Π²ΠΈΠΆΠ΅Π½ΠΈΡ Π°Π²ΡΠΎΠΌΠΎΠ±ΠΈΠ»Ρ ΠΈ ΡΠ»ΡΡΡΠ°Π΅Ρ Π΅Π³ΠΎ ΡΠΏΡΠ°Π²Π»ΡΠ΅ΠΌΠΎΡΡΡ, Π° ΡΠ°ΠΊΠΆΠ΅ ΡΠ²Π΅Π»ΠΈΡΠΈΠ²Π°Π΅Ρ ΡΡΠΎΠΊ ΡΠ»ΡΠΆΠ±Ρ ΡΠ΅ΡΡΠΎΡ.
ΠΡΠΈΠ½ΡΠΈΠΏ Π΄Π΅ΠΉΡΡΠ²ΠΈΡ Π³ΠΈΠ΄ΡΠ°Π²Π»ΠΈΡΠ΅ΡΠΊΠΈΡ Π°ΠΌΠΎΡΡΠΈΠ·Π°ΡΠΎΡΠΎΠ² ΡΠΎΡΡΠΎΡΡ Π² ΡΠΎΠΌ, ΡΡΠΎ Π² ΡΠ΅Π·ΡΠ»ΡΡΠ°ΡΠ΅ ΠΎΡΠ½ΠΎΡΠΈΡΠ΅Π»ΡΠ½ΡΡ ΠΏΠ΅ΡΠ΅ΠΌΠ΅ΡΠ΅Π½ΠΈΠΉ ΠΏΠΎΠ΄ΡΠ΅ΡΡΠΎΡΠ΅Π½Π½ΡΡ ΠΈ Π½Π΅ΠΏΠΎΠ΄ΡΠ΅ΡΡΠΎΡΠ΅Π½Π½ΡΡ ΡΠ°ΡΡΠ΅ΠΉ Π°Π²ΡΠΎΠΌΠΎΠ±ΠΈΠ»Ρ ΠΆΠΈΠ΄ΠΊΠΎΡΡΡ ΠΏΠ΅ΡΠ΅ΡΠ΅ΠΊΠ°Π΅Ρ ΠΈΠ· ΠΎΠ΄Π½ΠΎΠΉ ΠΏΠΎΠ»ΠΎΡΡΠΈ Π°ΠΌΠΎΡΡΠΈΠ·Π°ΡΠΎΡΠ° Π² Π΄ΡΡΠ³ΡΡ ΡΠ΅ΡΠ΅Π· Π½Π΅Π±ΠΎΠ»ΡΡΠΈΠ΅ ΠΎΡΠ²Π΅ΡΡΡΠΈΡ, Π²ΡΠ»Π΅Π΄ΡΡΠ²ΠΈΠ΅ ΡΠ΅Π³ΠΎ Π°ΠΌΠΎΡΡΠΈΠ·Π°ΡΠΎΡ ΠΎΠΊΠ°Π·ΡΠ²Π°Π΅Ρ ΡΠΎΠΏΡΠΎΡΠΈΠ²Π»Π΅Π½ΠΈΠ΅, Π³Π°ΡΡΡΠ΅Π΅ ΠΊΠΎΠ»Π΅Π±Π°Π½ΠΈΡ ΡΠ΅ΡΡΠΎΡ.
ΠΠ°ΠΈΠ±ΠΎΠ»ΡΡΠ΅Π΅ ΡΠΎΠΏΡΠΎΡΠΈΠ²Π»Π΅Π½ΠΈΠ΅, ΡΠΎΠ·Π΄Π°Π²Π°Π΅ΠΌΠΎΠ΅ Π°ΠΌΠΎΡΡΠΈΠ·Π°ΡΠΎΡΠΎΠΌ, ΠΏΡΠΎΠΈΡΡ ΠΎΠ΄ΠΈΡ ΠΏΡΠΈ Π΅Π³ΠΎ ΡΠ°ΡΡΡΠΆΠ΅Π½ΠΈΠΈ (ΠΎΡΠ΄Π°ΡΠ΅), ΠΊΠΎΠ³Π΄Π° ΠΏΠΎΠ΄ΡΠ΅ΡΡΠΎΡΠ΅Π½Π½Π°Ρ ΡΠ°ΡΡΡ Π°Π²ΡΠΎΠΌΠΎΠ±ΠΈΠ»Ρ ΡΠ΄Π°Π»ΡΠ΅ΡΡΡ ΠΎΡ Π½Π΅ΠΏΠΎΠ΄ΡΠ΅ΡΡΠΎΡΠ΅Π½Π½ΠΎΠΉ Π΅Π³ΠΎ ΡΠ°ΡΡΠΈ (ΠΊΠΎΠ»Π΅Ρ Ρ ΠΌΠΎΡΡΠ°ΠΌΠΈ).

ΠΠ°Π΄Π½ΡΡ ΠΏΠΎΠ΄Π²Π΅ΡΠΊΠ° ΡΡΠ΅Π΄Π½Π΅Π³ΠΎ ΠΈ Π·Π°Π΄Π½Π΅Π³ΠΎ ΠΌΠΎΡΡΠΎΠ² Π±Π°Π»Π°Π½ΡΠΈΡΠ½ΠΎΠ³ΠΎ ΡΠΈΠΏΠ°, Π½Π° Π΄Π²ΡΡ ΠΏΡΠΎΠ΄ΠΎΠ»ΡΠ½ΡΡ ΠΏΠΎΠ»ΡΡΠ»Π»ΠΈΠΏΡΠΈΡΠ΅ΡΠΊΠΈΡ ΡΠ΅ΡΡΠΎΡΠ°Ρ .
ΠΠ°ΠΆΠ΄Π°Ρ ΡΠ΅ΡΡΠΎΡΠ° ΡΡΠ΅Π΄Π½Π΅ΠΉ ΡΠ°ΡΡΡΡ ΠΏΡΠΈΠΊΡΠ΅ΠΏΠ»Π΅Π½Π° Ρ ΠΏΠΎΠΌΠΎΡΡΡ ΡΡΡΠ΅ΠΌΡΠ½ΠΎΠΊ 4 (ΡΠΈΡ 3, Π°) ΠΊ ΡΡΡΠΏΠΈΡΠ΅ 11 ΠΎΡΠΈ Π±Π°Π»Π°Π½ΡΠΈΡΠ½ΠΎΠ³ΠΎ ΡΡΡΡΠΎΠΉΡΡΠ²Π°. ΠΠΎΠ½ΡΡ ΡΠ΅ΡΡΠΎΡ Π²Ρ ΠΎΠ΄ΡΡ Π² ΠΎΡΠ²Π΅ΡΡΡΠΈΡ ΠΎΠΏΠΎΡ 2, ΠΏΡΠΈΠ²Π°ΡΠ΅Π½Π½ΡΡ ΠΊ ΠΌΠΎΡΡΠ°ΠΌ. ΠΡΠΈ ΠΏΡΠΎΠ³ΠΈΠ±Π΅ ΡΠ΅ΡΡΠΎΡ ΠΊΠΎΠ½ΡΡ ΠΈΡ ΡΠΊΠΎΠ»ΡΠ·ΡΡ Π² ΠΎΡΠ²Π΅ΡΡΡΠΈΡΡ ΠΎΠΏΠΎΡ.
ΠΠ»Ρ ΠΎΠ³ΡΠ°Π½ΠΈΡΠ΅Π½ΠΈΡ Ρ ΠΎΠ΄Π° ΠΌΠΎΡΡΠΎΠ² Π²Π²Π΅ΡΡ ΠΈ ΡΠΌΡΠ³ΡΠ΅Π½ΠΈΡ ΠΈΡ ΡΠ΄Π°ΡΠΎΠ² ΠΎ ΡΠ°ΠΌΡ Π½Π° Π»ΠΎΠ½ΠΆΠ΅ΡΠΎΠ½Π°Ρ ΡΡΡΠ°Π½ΠΎΠ²Π»Π΅Π½Ρ ΡΠ΅Π·ΠΈΠ½ΠΎΠ²ΡΠ΅ Π±ΡΡΠ΅ΡΠ° 16.
Π’ΠΎΠ»ΠΊΠ°ΡΡΠΈΠ΅ ΡΡΠΈΠ»ΠΈΡ ΠΈ ΡΠ΅Π°ΠΊΡΠΈΠ²Π½ΡΠ΅ ΠΌΠΎΠΌΠ΅Π½ΡΡ ΠΏΠ΅ΡΠ΅Π΄Π°ΡΡΡΡ Π½Π° ΡΠ°ΠΌΡ ΡΠ΅ΡΡΡΡ ΡΠ΅Π°ΠΊΡΠΈΠ²Π½ΡΠΌΠΈ ΡΡΠ°Π½Π³Π°ΠΌΠΈ 13 (ΠΏΠΎ ΡΡΠΈ Ρ ΠΊΠ°ΠΆΠ΄ΠΎΠ³ΠΎ ΠΌΠΎΡΡΠ°).
ΠΠΎΠΊΠΎΠ²ΡΠ΅ ΡΡΠΈΠ»ΠΈΡ ΠΏΠ΅ΡΠ΅Π΄Π°ΡΡΡΡ ΠΎΡ ΠΌΠΎΡΡΠΎΠ² Π½Π° ΡΠ°ΠΌΡ ΡΠ΅ΡΠ΅Π· ΡΠ΅ΡΡΠΎΡΡ.
Π¨Π°ΡΠ½ΠΈΡΡ ΡΠ΅Π°ΠΊΡΠΈΠ²Π½ΡΡ ΡΡΠ°Π½Π³ Π½Π΅ΡΠ°Π·Π±ΠΎΡΠ½ΡΠ΅, ΡΠΎΡΡΠΎΡΡ ΠΈΠ· ΡΠ°ΡΠΎΠ²ΡΡ ΠΏΠ°Π»ΡΡΠ΅Π² 30, ΠΎΠ±ΠΎΠΉΠΌΡ 28 ΠΈ Π²ΠΊΠ»Π°Π΄ΡΡΠ° 29, ΠΈΠ·Π³ΠΎΡΠΎΠ²Π»Π΅Π½Π½ΠΎΠ³ΠΎ ΠΈΠ· ΡΠΊΠ°Π½ΠΎΠΉ Π»Π΅Π½ΡΡ, ΠΏΡΠΎΠΏΠΈΡΠ°Π½Π½ΠΎΠΉ ΡΠΏΠ΅ΡΠΈΠ°Π»ΡΠ½ΡΠΌ ΡΠΎΡΡΠ°Π²ΠΎΠΌ.
ΠΠ±ΠΎΠΉΠΌΡ ΡΠ°ΡΠ½ΠΈΡΠΎΠ² Π·Π°ΠΏΡΠ΅ΡΡΠΎΠ²Π°Π½Ρ Π² Π³ΠΎΠ»ΠΎΠ²ΠΊΠΈ ΡΠ΅Π°ΠΊΡΠΈΠ²Π½ΡΡ ΡΡΠ°Π½Π³.

ΠΠ°Π»Π°Π½ΡΠΈΡΠ½ΠΎΠ΅ ΡΡΡΡΠΎΠΉΡΡΠ²ΠΎ ΡΠΎΡΡΠΎΠΈΡ ΠΈΠ· ΠΎΡΠΈ 10, Π·Π°ΠΏΡΠ΅ΡΡΠΎΠ²Π°Π½Π½ΠΎΠΉ Π² ΠΊΡΠΎΠ½ΡΡΠ΅ΠΉΠ½Ρ 12, ΠΈ ΡΡΡΠΏΠΈΡ 11. ΠΠΎΠ½ΡΡ ΠΎΡΠΈ Π·Π°ΠΊΠ°Π»Π΅Π½Ρ, Π° Π² ΡΡΡΠΏΠΈΡΡΒ Π·Π°ΠΏΡΠ΅ΡΡΠΎΠ²Π°Π½Ρ Π²ΡΡΠ»ΠΊΠΈ 26 (ΡΠΈΡ. 3, Π±) ΠΈΠ· Π°Π½ΡΠΈΡΡΠΈΠΊΡΠΈΠΎΠ½Π½ΠΎΠ³ΠΎ ΠΌΠ°ΡΠ΅ΡΠΈΠ°Π»Π°.
ΠΠ»Ρ ΠΏΡΠ΅Π΄ΠΎΡΠ²ΡΠ°ΡΠ΅Π½ΠΈΡ Π²ΡΠ΅ΠΊΠ°Π½ΠΈΡ ΡΠΌΠ°Π·ΠΊΠΈ ΠΈ Π·Π°ΡΠΈΡΡ ΠΎΡ Π³ΡΡΠ·ΠΈ Π² ΡΡΡΠΏΠΈΡΠ°Ρ ΡΡΡΠ°Π½ΠΎΠ²Π»Π΅Π½Ρ ΡΠ°ΠΌΠΎΠΏΠΎΠ΄ΠΆΠΈΠΌΠ½ΡΠ΅ ΡΠ°Π»ΡΠ½ΠΈΠΊΠΈ 22 ΠΈ ΡΠΏΠ»ΠΎΡΠ½ΠΈΡΠ΅Π»ΡΠ½ΡΠ΅ ΠΊΠΎΠ»ΡΡΠ° 20 ΠΈ 21.
Π‘ΡΡΠΏΠΈΡΡ Π·Π°ΠΊΡΠ΅ΠΏΠ»Π΅Π½Ρ Π½Π° ΠΎΡΠΈ ΡΠ°Π·ΡΠ΅Π·Π½ΡΠΌΠΈ Π³Π°ΠΉΠΊΠ°ΠΌΠΈ 9, ΡΡΡΠ½ΡΡΡΠΌΠΈ Π±ΠΎΠ»ΡΠ°ΠΌΠΈ 7. ΠΠ°ΠΉΠΊΠΈ ΡΡΡΠΆΠ½ΡΡ Π±ΠΎΠ»ΡΠΎΠ² ΡΠ°ΠΌΠΎΠΊΠΎΠ½ΡΡΡΡΠΈΠ΅ΡΡ.
Π ΠΊΡΡΡΠΊΠ΅ 8 ΡΡΡΠΏΠΈΡΡ ΠΈΠΌΠ΅Π΅ΡΡΡ ΠΏΡΠΎΠ±ΠΊΠ° 6 Π΄Π»Ρ Π·Π°Π»ΠΈΠ²ΠΊΠΈ ΠΌΠ°ΡΠ»Π°, Π° Π² ΡΡΡΠΏΠΈΡΠ΅ — ΠΏΡΠΎΠ±ΠΊΠ° 25 Π΄Π»Ρ Π΅Π³ΠΎ ΡΠ»ΠΈΠ²Π°.
ΠΡΡ Π·Π°Π΄Π½ΡΡ ΠΏΠΎΠ΄Π²Π΅ΡΠΊΠ° ΠΊΡΠ΅ΠΏΠΈΡΡΡ ΠΊ ΡΠ°ΠΌΠ΅ Ρ ΠΏΠΎΠΌΠΎΡΡΡ ΠΊΡΠΎΠ½ΡΡΠ΅ΠΉΠ½ΠΎΠ² 14.
Π£Ρ ΠΎΠ΄ Π·Π° ΠΏΠΎΠ΄Π²Π΅ΡΠΊΠΎΠΉ Π·Π°ΠΊΠ»ΡΡΠ°Π΅ΡΡΡ Π² ΡΠΌΠ°Π·ΠΊΠ΅ ΡΠ΅ΡΡΠΎΡΠ½ΡΡ ΠΏΠ°Π»ΡΡΠ΅Π², ΡΠ΅ΡΡΠΎΡ ΠΈ ΠΏΠ΅ΡΠΈΠΎΠ΄ΠΈΡΠ΅ΡΠΊΠΎΠΉ ΡΠΌΠ΅Π½Π΅ ΡΠΌΠ°Π·ΠΊΠΈ Π² ΡΡΡΠΏΠΈΡΠ°Ρ Π±Π°Π»Π°Π½ΡΠΈΡΠ½ΠΎΠΉ ΠΏΠΎΠ΄Π²Π΅ΡΠΊΠΈ, Π² ΠΏΡΠΎΠ²Π΅ΡΠΊΠ΅ ΠΊΡΠ΅ΠΏΠ»Π΅Π½ΠΈΡ ΡΠ΅ΡΡΠΎΡ, Π°ΠΌΠΎΡΡΠΈΠ·Π°ΡΠΎΡΠΎΠ² ΠΈ ΡΠ΅Π°ΠΊΡΠΈΠ²Π½ΡΡ ΡΡΠ°Π½Π³, Π² ΠΏΡΠΎΠ²Π΅ΡΠΊΠ΅ ΠΈ ΡΠ΅Π³ΡΠ»ΠΈΡΠΎΠ²ΠΊΠ΅ ΠΎΡΠ΅Π²ΡΡ Π·Π°Π·ΠΎΡΠΎΠ² ΡΡΡΠΏΠΈΡ Π±Π°Π»Π°Π½ΡΠΈΡΠ½ΠΎΠΉ ΠΏΠΎΠ΄Π²Π΅ΡΠΊΠΈ.
Π‘ΠΌΠ°Π·ΠΊΠ° ΡΠ²Π»ΡΠ΅ΡΡΡ Π½Π΅ΠΎΠ±Ρ ΠΎΠ΄ΠΈΠΌΡΠΌ ΡΡΠ»ΠΎΠ²ΠΈΠ΅ΠΌ Π½Π°Π΄Π΅ΠΆΠ½ΠΎΠΉ ΠΈ Π΄Π»ΠΈΡΠ΅Π»ΡΠ½ΠΎΠΉ ΡΠ°Π±ΠΎΡΡ ΡΠ΅ΡΡΠΎΡ. ΠΠΎΡΡΠΎΠ·ΠΈΡ (ΡΠΆΠ°Π²Π»Π΅Π½ΠΈΠ΅) Π»ΠΈΡΡΠΎΠ² ΠΌΠΎΠΆΠ΅Ρ ΡΠ½ΠΈΠ·ΠΈΡΡ ΡΡΠΎΠΊ ΡΠ»ΡΠΆΠ±Ρ ΡΠ΅ΡΡΠΎΡ.
ΠΡΠΈ ΡΠ΅ΠΌΠΎΠ½ΡΠ½ΡΡ ΡΠ°Π±ΠΎΡΠ°Ρ ΡΠ»Π΅Π΄ΡΠ΅Ρ ΠΏΡΠΎΠΈΠ·Π²ΠΎΠ΄ΠΈΡΡ ΠΏΠ΅ΡΠ΅Π±ΠΎΡΠΊΡ ΠΈ ΡΠΌΠ°Π·ΠΊΡ Π²ΡΠ΅Ρ ΡΠ΅ΡΡΠΎΡ Π°Π²ΡΠΎΠΌΠΎΠ±ΠΈΠ»Ρ.
ΠΡΠΈ ΠΏΠ΅ΡΠ΅Π±ΠΎΡΠΊΠ΅ ΡΠ΅ΡΡΠΎΡ Π½Π΅ΠΎΠ±Ρ ΠΎΠ΄ΠΈΠΌΠΎ ΡΠ΄Π°Π»ΠΈΡΡ ΡΡΠ°ΡΡΡ ΡΠΌΠ°Π·ΠΊΡ ΠΈ Π³ΡΡΠ·Ρ, Π° ΡΠ°ΠΊΠΆΠ΅ ΡΠ»Π΅Π΄Ρ ΠΊΠΎΡΡΠΎΠ·ΠΈΠΈ, ΠΏΠΎΡΠ»Π΅ ΡΠ΅Π³ΠΎ ΡΠΌΠ°Π·Π°ΡΡ ΡΡΡΡΠΈΠ΅ΡΡ ΠΏΠΎΠ²Π΅ΡΡ Π½ΠΎΡΡΠΈ ΡΠ΅ΡΡΠΎΡ ΡΠΏΠ΅ΡΠΈΠ°Π»ΡΠ½ΠΎΠΉ Π³ΡΠ°ΡΠΈΡΠ½ΠΎΠΉ ΡΠΌΠ°Π·ΠΊΠΎΠΉ.
ΠΠ΄Π½ΠΎΠ²ΡΠ΅ΠΌΠ΅Π½Π½ΠΎ ΡΠ»Π΅Π΄ΡΠ΅Ρ ΠΏΡΠΎΠΌΡΠ²Π°ΡΡ ΠΈ ΡΠΌΠ°Π·ΡΠ²Π°ΡΡ ΡΡΠΊΠΈ ΠΈ ΠΏΠ°Π»ΡΡΡ ΠΏΠ΅ΡΠ΅Π΄Π½ΠΈΡ ΡΠ΅ΡΡΠΎΡ.
ΠΡΠΈ ΠΈΠ·Π½ΠΎΡΠ΅ ΠΊΠΎΠ½ΡΠΎΠ² ΠΊΠΎΡΠ΅Π½Π½ΡΡ Π»ΠΈΡΡΠΎΠ² Π·Π°Π΄Π½ΠΈΡ ΡΠ΅ΡΡΠΎΡ ΡΠ΅ΠΊΠΎΠΌΠ΅Π½Π΄ΡΠ΅ΡΡΡ ΠΏΠ΅ΡΠ²ΡΠΉ ΠΈ ΡΡΠ΅ΡΠΈΠΉ Π»ΠΈΡΡΡ ΠΏΠΎΠΌΠ΅Π½ΡΡΡ ΠΌΠ΅ΡΡΠ°ΠΌΠΈ.
Π‘ΠΌΠ°Π·ΠΊΡ ΠΏΠ°Π»ΡΡΠ΅Π² ΠΏΠ΅ΡΠ΅Π΄Π½ΠΈΡ ΡΠ΅ΡΡΠΎΡ ΠΏΡΠΎΠΈΠ·Π²ΠΎΠ΄ΡΡ ΡΠ΅ΡΠ΅Π· ΠΌΠ°ΡΠ»Π΅Π½ΠΊΠΈ 27 Π΄ΠΎ ΠΏΠΎΡΠ²Π»Π΅Π½ΠΈΡ ΡΠ²Π΅ΠΆΠ΅ΠΉ ΡΠΌΠ°Π·ΠΊΠΈ Π² Π·Π°Π·ΠΎΡΠ°Ρ ΠΌΠ΅ΠΆΠ΄Ρ ΡΡΠΊΠ°ΠΌΠΈ ΠΈ ΠΊΡΠΎΠ½ΡΡΠ΅ΠΉΠ½Π°ΠΌΠΈ.
ΠΠ»Ρ ΡΠ»ΠΈΠ²Π° ΡΠΌΠ°Π·ΠΊΠΈ ΠΈΠ· ΡΡΡΠΏΠΈΡΡ Π±Π°Π»Π°Π½ΡΠΈΡΠ½ΠΎΠΉ ΠΏΠΎΠ΄Π²Π΅ΡΠΊΠΈ Π½Π΅ΠΎΠ±Ρ ΠΎΠ΄ΠΈΠΌΠΎ ΡΠ½ΡΡΡ ΠΊΡΡΡΠΊΡ 8 (ΡΠΈΡ. 3) ΠΈ ΠΎΡΠ²Π΅ΡΠ½ΡΡΡ ΠΏΡΠΎΠ±ΠΊΡ 25. 3Π°Π»ΠΈΠ²Π°ΡΡ ΠΌΠ°ΡΠ»ΠΎ Π² ΡΡΡΠΏΠΈΡΡ ΡΠ»Π΅Π΄ΡΠ΅Ρ Π΄ΠΎ ΡΡΠΎΠ²Π½Ρ Π½Π°Π»ΠΈΠ²Π½ΡΡ ΠΎΡΠ²Π΅ΡΡΡΠΈΠΉ, Π·Π°ΠΊΡΡΡΡΡ ΠΏΡΠΎΠ±ΠΊΠ°ΠΌΠΈ Π±.
ΠΠ΅ΡΠΈΠΎΠ΄ΠΈΡΠ½ΠΎΡΡΡ ΡΠΌΠ°Π·ΠΊΠΈ ΠΈ ΡΠΎΡΡΠ° ΡΠΌΠ°Π·ΠΎΠΊ ΡΠΊΠ°Π·Π°Π½Ρ Π² ΠΊΠ°ΡΡΠ΅ ΡΠΌΠ°Π·ΠΊΠΈ.
ΠΠ΅ΡΠΈΠΎΠ΄ΠΈΡΠ΅ΡΠΊΠΈ ΡΠ»Π΅Π΄ΡΠ΅Ρ ΡΠ°ΠΊΠΆΠ΅ ΠΏΡΠΎΠ²Π΅ΡΡΡΡ Π·Π°ΡΡΠΆΠΊΡ ΡΠ»Π΅Π΄ΡΡΡΠΈΡ ΡΠΎΠ΅Π΄ΠΈΠ½Π΅Π½ΠΈΠΉ: Π³Π°Π΅ΠΊ ΡΡΡΠ΅ΠΌΡΠ½ΠΎΠΊ ΠΏΠ΅ΡΠ΅Π΄Π½ΠΈΡ ΠΈ Π·Π°Π΄Π½ΠΈΡ ΡΠ΅ΡΡΠΎΡ; ΡΡΡΠΆΠ½ΡΡ Π±ΠΎΠ»ΡΠΎΠ² 33 (ΡΠΌ. ΡΠΈΡ. 1) ΠΏΠ°Π»ΡΡΠ΅Π² ΠΏΠ΅ΡΠ΅Π΄Π½ΠΈΡ ΡΠ΅ΡΡΠΎΡ; Π³Π°Π΅ΠΊ ΡΡΡΠ΅ΠΌΡΠ½ΠΎΠΊ 31 ΡΡΠΊΠΎΠ² ΠΏΠ΅ΡΠ΅Π΄Π½ΠΈΡ ΡΠ΅ΡΡΠΎΡ; Π³Π°Π΅ΠΊ ΠΏΠ°Π»ΡΡΠ΅Π² 19 Π°ΠΌΠΎΡΡΠΈΠ·Π°ΡΠΎΡΠΎΠ²; ΡΡΡΠΆΠ½ΡΡ ΡΠΏΠΈΠ»Π΅ΠΊ 5 (ΡΠΈΡ. 3) ΡΠ΅ΠΊ ΡΡΡΠΏΠΈΡ Π·Π°Π΄Π½ΠΈΡ ΡΠ΅ΡΡΠΎΡ; Π±ΠΎΠ»ΡΠΎΠ² ΠΊΡΠ΅ΠΏΠ»Π΅Π½ΠΈΡ ΠΊΡΠΎΠ½ΡΡΠ΅ΠΉΠ½ΠΎΠ² 14 Π·Π°Π΄Π½Π΅ΠΉ ΠΏΠΎΠ΄Π²Π΅ΡΠΊΠΈ ΠΊ ΡΠ°ΠΌΠ΅; Π±ΠΎΠ»ΡΠΎΠ² ΠΊΡΠ΅ΠΏΠ»Π΅Π½ΠΈΡ ΠΊΡΠΎΠ½ΡΡΠ΅ΠΉΠ½ΠΎΠ² 12 ΠΎΡΠΈ Π±Π°Π»Π°Π½ΡΠΈΡΠ½ΠΎΠΉ ΠΏΠΎΠ΄Π²Π΅ΡΠΊΠΈ ΠΊ ΠΊΡΠΎΠ½ΡΡΠ΅ΠΉΠ½Π°ΠΌ 14; Π³Π°Π΅ΠΊ ΠΏΠ°Π»ΡΡΠ΅Π² ΡΠ΅Π°ΠΊΡΠΈΠ²Π½ΡΡ ΡΡΠ°Π½Π³.
ΠΠΎΠΌΠ΅Π½ΡΡ Π·Π°ΡΡΠΆΠΊΠΈ ΡΠ΅Π·ΡΠ±ΠΎΠ²ΡΡ ΡΠΎΠ΅Π΄ΠΈΠ½Π΅Π½ΠΈΠΉ ΠΏΠΎΠ΄Π²Π΅ΡΠΊΠΈ Π² ΠΊΠΠΌ
|
ΠΠ°ΠΉΠΊΠΈ ΡΡΡΠ΅ΠΌΡΠ½ΠΎΠΊ ΠΏΠ΅ΡΠ΅Π΄Π½ΠΈΡ ΠΈ Π·Π°Π΄Π½ΠΈΡ ΡΠ΅ΡΡΠΎΡ |
25β30 |
|
Π‘ΡΡΠΆΠ½ΡΠ΅ Π±ΠΎΠ»ΡΡ ΠΏΠ°Π»ΡΡΠ΅Π² ΠΏΠ΅ΡΠ΅Π΄Π½ΠΈΡ ΡΠ΅ΡΡΠΎΡ |
5,5β6 |
|
ΠΠ°ΠΉΠΊΠΈ ΡΡΡΠ΅ΠΌΡΠ½ΠΎΠΊ ΡΡΠΊΠΎΠ² ΠΏΠ΅ΡΠ΅Π΄Π½ΠΈΡ ΡΠ΅ΡΡΠΎΡ |
Π΄ΠΎ ΡΠΆΠ°ΡΠΈΡ ΠΏΡΡΠΆΠΈΠ½Π½ΡΡ ΡΠ°ΠΉΠ±, Π½Π΅ Π±ΠΎΠ»Π΅Π΅ |
|
ΠΠ°Π»ΡΡΠ΅Π² Π°ΠΌΠΎΡΡΠΈΠ·Π°ΡΠΎΡΠΎΠ² ΡΠΎ ΡΡΠΎΡΠΎΠ½Ρ ΠΊΠΎΠ½ΡΡΠ° |
12β14 |
|
ΠΠ°ΠΉΠΊΠΈ ΠΏΠ°Π»ΡΡΠ΅Π² Π°ΠΌΠΎΡΡΠΈΠ·Π°ΡΠΎΡΠΎΠ² ΡΠΎ ΡΡΠΎΡΠΎΠ½Ρ Π°ΠΌΠΎΡΡΠΈΠ·Π°ΡΠΎΡΠ° |
5,5β6 |
|
ΠΠ°ΠΉΠΊΠΈ ΡΡΡΠΆΠ½ΡΡ ΡΠΏΠΈΠ»Π΅ΠΊ ΡΠ΅ΠΊ ΡΡΡΠΏΠΈΡ Π·Π°Π΄Π½ΠΈΡ ΡΠ΅ΡΡΠΎΡ |
Π΄ΠΎ ΡΡΡΡΠ°Π½Π΅Π½ΠΈΡ Π·Π°Π·ΠΎΡΠΎΠ² ΠΌΠ΅ΠΆΠ΄Ρ ΡΠ΅ΠΊΠ°ΠΌΠΈ ΠΈ ΡΠ΅ΡΡΠΎΡΠΎΠΉ |
|
ΠΠΎΠ»ΡΡ ΠΊΡΠ΅ΠΏΠ»Π΅Π½ΠΈΡ ΠΊΡΠΎΠ½ΡΡΠ΅ΠΉΠ½ΠΎΠ² Π·Π°Π΄Π½Π΅ΠΉ ΠΏΠΎΠ΄Π²Π΅ΡΠΊΠΈ ΠΊ ΡΠ°ΠΌΠ΅ |
8β9 Β |
|
ΠΠΎΠ»ΡΡ ΠΊΡΠ΅ΠΏΠ»Π΅Π½ΠΈΡ ΠΊΡΠΎΠ½ΡΡΠ΅ΠΉΠ½ΠΎΠ² ΠΎΡΠΈ Π±Π°Π»Π°Π½ΡΠΈΡΠ½ΠΎΠΉ ΠΏΠΎΠ΄Π²Π΅ΡΠΊΠΈ ΠΊ ΠΊΡΠΎΠ½ΡΡΠ΅ΠΉΠ½Π°ΠΌ ΡΠ°ΠΌΡ |
30, Π½Π΅ ΠΌΠ΅Π½Π΅Π΅ |
|
ΠΠ°ΠΉΠΊΠΈ ΠΏΠ°Π»ΡΡΠ΅Π² ΡΠ΅Π°ΠΊΡΠΈΠ²Π½ΡΡ ΡΡΠ°Π½Π³ . . . |
35β40 |
|
Π‘ΡΡΠΆΠ½ΡΠ΅ Π±ΠΎΠ»ΡΡ ΡΠ°Π·ΡΠ΅Π·Π½ΡΡ Π³Π°Π΅ΠΊ ΡΡΡΠΏΠΈΡ Π±Π°Π»Π°Π½ΡΠΈΡΠ½ΠΎΠΉ ΠΏΠΎΠ΄Π²Π΅ΡΠΊΠΈ — |
8β10 |
ΠΡΠΈ Π²ΡΠΎΡΠΎΠΌ Π’Π-2 ΠΎΠ΄Π½ΠΎΠ²ΡΠ΅ΠΌΠ΅Π½Π½ΠΎ ΡΠΎ ΡΠΌΠ΅Π½ΠΎΠΉ ΡΠΌΠ°Π·ΠΊΠΈ Π½Π°Π΄ΠΎ ΡΠ½ΡΡΡ ΡΡΡΠΏΠΈΡΡ Π±Π°Π»Π°Π½ΡΠΈΡΠ½ΠΎΠΉ ΠΏΠΎΠ΄Π²Π΅ΡΠΊΠΈ Ρ ΠΎΡΠΈ, ΠΏΡΠΎΠΌΡΡΡ ΠΈΡ ΠΈ ΠΊΠΎΠ½ΡΡ ΠΎΡΠΈ, ΠΏΡΠΎΠ²Π΅ΡΠΈΡΡ ΡΠΎΡΡΠΎΡΠ½ΠΈΠ΅ ΡΠ°Π»ΡΠ½ΠΈΠΊΠ° 22 (ΡΠΈΡ. 3), Π²ΠΎΠΉΠ»ΠΎΡΠ½ΠΎΠ³ΠΎ ΠΊΠΎΠ»ΡΡΠ° 20 ΠΈ ΡΠΏΠΎΡΠ½ΠΎΠ³ΠΎ ΠΊΠΎΠ»ΡΡΠ° 27.
ΠΠ·Π½ΠΎΡΠ΅Π½Π½ΡΠ΅ Π΄Π΅ΡΠ°Π»ΠΈ ΡΠ»Π΅Π΄ΡΠ΅Ρ Π·Π°ΠΌΠ΅Π½ΠΈΡΡ. ΠΠΊΡΠΏΠ»ΡΠ°ΡΠ°ΡΠΈΡ Π°Π²ΡΠΎΠΌΠΎΠ±ΠΈΠ»Ρ Ρ ΠΈΠ·Π½ΠΎΡΠ΅Π½Π½ΡΠΌ ΡΠΏΠ»ΠΎΡΠ½Π΅Π½ΠΈΠ΅ΠΌ ΡΡΡΠΏΠΈΡ Π²Π΅Π΄Π΅Ρ ΠΊ ΡΠ΅ΡΠΈ ΡΠΌΠ°Π·ΠΊΠΈ ΠΈ ΠΊ ΠΏΡΠ΅ΠΆΠ΄Π΅Π²ΡΠ΅ΠΌΠ΅Π½Π½ΠΎΠΌΡ ΠΈΠ·Π½ΠΎΡΡ ΠΎΡΠΈ ΠΈ Π²ΡΡΠ»ΠΎΠΊ ΠΈΠ·-Π·Π° ΠΏΠΎΠΏΠ°Π΄Π°Π½ΠΈΡ Π³ΡΡΠ·ΠΈ Π²Π½ΡΡΡΡ ΡΡΡΠΏΠΈΡΡ.
ΠΡΠΈ ΡΡΡΠ°Π½ΠΎΠ²ΠΊΠ΅ ΡΡΡΠΏΠΈΡ Π½Π° ΠΎΡΡ Π½Π΅ΠΎΠ±Ρ ΠΎΠ΄ΠΈΠΌΠΎ Π·Π°ΡΡΠ½ΡΡΡ ΡΡΡΠΆΠ½ΡΠ΅ Π±ΠΎΠ»ΡΡ 7 ΡΠ°Π·ΡΠ΅Π·Π½ΡΡ Π³Π°Π΅ΠΊ 9.
ΠΠΎΡΠ»Π΅ ΡΠ±ΠΎΡΠΊΠΈ ΡΡΡΠΏΠΈΡΡ Π΄ΠΎΠ»ΠΆΠ½Ρ ΡΠ²ΠΎΠ±ΠΎΠ΄Π½ΠΎ Π²ΡΠ°ΡΠ°ΡΡΡΡ Π½Π° ΠΎΡΠΈ ΠΈ Π½Π΅ ΠΈΠΌΠ΅ΡΡ ΠΎΡΡΡΠΈΠΌΠΎΠ³ΠΎ ΠΎΡΠ΅Π²ΠΎΠ³ΠΎ Π·Π°Π·ΠΎΡΠ°.
ΠΠ»Ρ ΡΠ½ΡΡΠΈΡ Π²Π΅ΡΡ Π½ΠΈΡ ΡΠ΅Π°ΠΊΡΠΈΠ²Π½ΡΡ ΡΡΠ°Π½Π³ Π² Π±ΠΎΠΊΠΎΠ²ΡΡ ΠΊΡΡΡΠΊΠ°Ρ ΡΠ΅Π΄ΡΠΊΡΠΎΡΠΎΠ² ΠΌΠΎΡΡΠΎΠ² ΠΈΠΌΠ΅ΡΡΡΡ ΡΠΏΠ΅ΡΠΈΠ°Π»ΡΠ½ΡΠ΅ Π±ΠΎΠ»ΡΡ 17, ΠΏΡΠΈ Π²ΡΠ²ΠΈΠ½ΡΠΈΠ²Π°Π½ΠΈΠΈ ΠΊΠΎΡΠΎΡΡΡ ΠΏΠ°Π»ΡΡΡ Π²ΡΠΏΡΠ΅ΡΡΠΎΠ²ΡΠ²Π°ΡΡΡΡ ΠΈΠ· ΡΠ²ΠΎΠΈΡ Π³Π½Π΅Π·Π΄.
ΠΠ·Π½Π°ΡΠΈΠ²Π°Π΅ΠΌΡΠ΅ Π΄Π΅ΡΠ°Π»ΠΈ Π·Π°Π΄Π½ΠΈΡ ΠΊΡΠΎΠ½ΡΡΠ΅ΠΉΠ½ΠΎΠ² ΠΏΠ΅ΡΠ΅Π΄Π½ΠΈΡ ΡΠ΅ΡΡΠΎΡ [Π²ΠΊΠ»Π°Π΄ΡΡΠΈ 15 (ΡΠΈΡ. 1) ΠΈ ΡΡΡ Π°ΡΠΈ 13] ΡΠ΄Π΅Π»Π°Π½Ρ ΡΠΌΠ΅Π½Π½ΡΠΌΠΈ ΠΈ ΠΏΡΠΈ ΡΠ΅ΠΌΠΎΠ½ΡΠ½ΡΡ ΡΠ°Π±ΠΎΡΠ°Ρ ΠΏΡΠΈ Π½Π΅ΠΎΠ±Ρ ΠΎΠ΄ΠΈΠΌΠΎΡΡΠΈ ΠΌΠΎΠ³ΡΡ Π±ΡΡΡ Π·Π°ΠΌΠ΅Π½Π΅Π½Ρ Π½ΠΎΠ²ΡΠΌΠΈ.
Π Π΅ΠΌΠΎΠ½Ρ ΠΈΠ·Π½ΠΎΡΠ΅Π½Π½ΡΡ ΡΠ΅Π΅ΠΊ ΠΈ Π²ΡΡΠ»ΠΎΠΊ ΠΎΡΠΈ Π±Π°Π»Π°Π½ΡΠΈΡΠ½ΠΎΠΉ ΠΏΠΎΠ΄Π²Π΅ΡΠΊΠΈ ΡΠ»Π΅Π΄ΡΠ΅Ρ ΠΏΡΠΎΠΈΠ·Π²ΠΎΠ΄ΠΈΡΡ Π·Π°ΠΌΠ΅Π½ΠΎΠΉ Π²ΡΡΠ»ΠΎΠΊ ΡΠ΅ΠΌΠΎΠ½ΡΠ½ΡΠΌΠΈ. ΠΠ½ΡΡΡΡΠΊΡΠΈΡ ΠΏΠΎ ΡΠ΅ΠΌΠΎΠ½ΡΡ ΠΎΡΠΈ ΠΈ Π²ΡΡΠ»ΠΎΠΊ ΠΏΡΠΈΠ»Π°Π³Π°Π΅ΡΡΡ ΠΊ ΠΊΠΎΠΌΠΏΠ»Π΅ΠΊΡΡ ΡΠ΅ΠΌΠΎΠ½ΡΠ½ΡΡ Π²ΡΡΠ»ΠΎΠΊ.
ΠΠΎ Π²ΡΠ΅ΠΌΡ ΡΠΊΡΠΏΠ»ΡΠ°ΡΠ°ΡΠΈΠΈ Π½Π΅ ΡΡΠ΅Π±ΡΠ΅ΡΡΡ ΡΠΏΠ΅ΡΠΈΠ°Π»ΡΠ½ΠΎΠΉ ΡΠ΅Π³ΡΠ»ΠΈΡΠΎΠ²ΠΊΠΈ Π°ΠΌΠΎΡΡΠΈΠ·Π°ΡΠΎΡΠΎΠ². ΠΠ΅ΡΠΈΠΎΠ΄ΠΈΡΠ΅ΡΠΊΠΈ ΡΠ»Π΅Π΄ΡΠ΅Ρ ΠΏΡΠΎΠ²Π΅ΡΡΡΡ Π½Π°Π΄Π΅ΠΆΠ½ΠΎΡΡΡ ΠΊΡΠ΅ΠΏΠ»Π΅Π½ΠΈΡ Π°ΠΌΠΎΡΡΠΈΠ·Π°ΡΠΎΡΠΎΠ² Π½Π° Π°Π²ΡΠΎΠΌΠΎΠ±ΠΈΠ»Π΅ ΠΈ ΠΏΡΠ°Π²ΠΈΠ»ΡΠ½ΠΎΡΡΡ ΠΈΡ ΡΠ°Π±ΠΎΡΡ.
ΠΡΠΈ ΠΏΠΎΡΠ²Π»Π΅Π½ΠΈΠΈ Π½Π° Π°ΠΌΠΎΡΡΠΈΠ·Π°ΡΠΎΡΠ΅ ΡΠ»Π΅Π΄ΠΎΠ² ΠΏΠΎΠ΄ΡΠ΅ΠΊΠ°Π½ΠΈΡ ΠΌΠ°ΡΠ»Π° ΡΠ»Π΅Π΄ΡΠ΅Ρ ΠΏΠΎΠ΄ΡΡΠ½ΡΡΡ Π³Π°ΠΉΠΊΡ 10 (ΡΠΌ. ΡΠΈΡ. 2) ΡΠ΅Π·Π΅ΡΠ²ΡΠ°ΡΠ°, Π΄Π»Ρ ΡΠ΅Π³ΠΎ Π½Π΅ΠΎΠ±Ρ ΠΎΠ΄ΠΈΠΌΠΎ ΡΠ½ΡΡΡ Π°ΠΌΠΎΡΡΠΈΠ·Π°ΡΠΎΡ Ρ Π°Π²ΡΠΎΠΌΠΎΠ±ΠΈΠ»Ρ.
Π ΡΠ»ΡΡΠ°Π΅ ΠΏΠΎΡΠ²Π»Π΅Π½ΠΈΡ ΡΠ΅ΡΠΈ ΠΆΠΈΠ΄ΠΊΠΎΡΡΠΈ, ΠΊΠΎΡΠΎΡΠ°Ρ Π½Π΅ ΡΡΡΡΠ°Π½ΡΠ΅ΡΡΡ ΠΏΠΎΠ΄ΡΡΠ³ΠΈΠ²Π°Π½ΠΈΠ΅ΠΌ Π³Π°ΠΉΠΊΠΈ ΡΠ΅Π·Π΅ΡΠ²ΡΠ°ΡΠ°, Π½ΡΠΆΠ½ΠΎ Π·Π°ΠΌΠ΅Π½ΠΈΡΡ ΡΠ°Π»ΡΠ½ΠΈΠΊ ΡΡΠΎΠΊΠ°.
ΠΡΠΈ Π·Π°ΠΌΠ΅Π½Π΅ ΡΠ°Π»ΡΠ½ΠΈΠΊΠΎΠ² ΡΡΠΎΠΊΠ° ΡΠ»Π΅Π΄ΡΠ΅Ρ ΠΈΠΌΠ΅ΡΡ Π² Π²ΠΈΠ΄Ρ, ΡΡΠΎ Π½Π° ΡΠ°Π»ΡΠ½ΠΈΠΊΠ΅ 12 ΠΈΠΌΠ΅Π΅ΡΡΡ ΠΌΠ΅ΡΠΊΠ° Β«ΠΠΈΠ·Β», ΡΠΊΠ°Π·ΡΠ²Π°ΡΡΠ°Ρ ΠΏΡΠ°Π²ΠΈΠ»ΡΠ½ΠΎΠ΅ ΠΏΠΎΠ»ΠΎΠΆΠ΅Π½ΠΈΠ΅ ΡΠ°Π»ΡΠ½ΠΈΠΊΠ° ΠΏΡΠΈ Π΅Π³ΠΎ ΡΡΡΠ°Π½ΠΎΠ²ΠΊΠ΅. ΠΡΠΈ ΡΡΠΎΠΌ ΠΏΠΎΠ»ΠΎΠΆΠ΅Π½ΠΈΠΈ ΠΎΠ±Π΅ΡΠΏΠ΅ΡΠΈΠ²Π°Π΅ΡΡΡ ΠΏΡΠ°Π²ΠΈΠ»ΡΠ½Π°Ρ ΡΠ°Π±ΠΎΡΠ° ΠΌΠ°ΡΠ»ΠΎΠΎΡΡΠ°ΠΆΠ°ΡΠ΅Π»ΡΠ½ΡΡ ΠΊΠ°Π½Π°Π²ΠΎΠΊ ΡΠ°Π»ΡΠ½ΠΈΠΊΠ°.
Π Π°ΠΌΠΎΡΡΠΈΠ·Π°ΡΠΎΡΡ Π½Π°Π΄ΠΎ Π·Π°Π»ΠΈΠ²Π°ΡΡ ΡΠΎΠ»ΡΠΊΠΎ Π°ΠΌΠΎΡΡΠΈΠ·Π°ΡΠΎΡΠ½ΡΡ ΠΆΠΈΠ΄ΠΊΠΎΡΡΡ Π² ΡΠΎΠΎΡΠ²Π΅ΡΡΡΠ²ΠΈΠΈ Ρ ΠΊΠ°ΡΡΠΎΠΉ ΡΠΌΠ°Π·ΠΊΠΈ.
Π‘ΠΌΠ΅Π½Π° ΠΆΠΈΠ΄ΠΊΠΎΡΡΠΈ ΠΏΡΠΎΠΈΠ·Π²ΠΎΠ΄ΠΈΡΡΡ ΠΏΡΠΈ ΡΠ½ΡΡΠΎΠΌ Ρ Π°Π²ΡΠΎΠΌΠΎΠ±ΠΈΠ»Ρ Π°ΠΌΠΎΡΡΠΈΠ·Π°ΡΠΎΡΠ΅.
ΠΠ΅ΡΠ΅Π΄ Π·Π°Π»ΠΈΠ²ΠΊΠΎΠΉ Π½Π°Π΄ΠΎ ΠΏΠΎΡΡΠ°Π²ΠΈΡΡ Π°ΠΌΠΎΡΡΠΈΠ·Π°ΡΠΎΡ Π²Π΅ΡΡΠΈΠΊΠ°Π»ΡΠ½ΠΎ, Π·Π°ΠΊΡΠ΅ΠΏΠΈΡΡ Π½ΠΈΠΆΠ½ΡΡ ΠΏΡΠΎΡΡΠΈΠ½Ρ, ΠΏΠΎΠ΄Π½ΡΡΡ ΡΡΠΎΠΊ Π² Π²Π΅ΡΡ Π½Π΅Π΅ ΠΏΠΎΠ»ΠΎΠΆΠ΅Π½ΠΈΠ΅, ΠΎΡΠ²Π΅ΡΠ½ΡΡΡ Π³Π°ΠΉΠΊΡ ΡΠ΅Π·Π΅ΡΠ²ΡΠ°ΡΠ° ΠΈ Π²ΡΠ½ΡΡΡ ΡΡΠΎΠΊ Ρ ΠΏΠΎΡΡΠ½Π΅ΠΌ; ΠΏΠΎΠ΄Π³ΠΎΡΠΎΠ²ΠΈΡΡ 0,45 Π» ΠΆΠΈΠ΄ΠΊΠΎΡΡΠΈ ΠΈ Π·Π°ΠΏΠΎΠ»Π½ΠΈΡΡ ΡΠ°Π±ΠΎΡΠΈΠΉ ΡΠΈΠ»ΠΈΠ½Π΄Ρ 3 Π΄ΠΎΠ²Π΅ΡΡ Ρ, ΠΎΡΡΠ°Π²ΡΡΡΡΡ ΠΆΠΈΠ΄ΠΊΠΎΡΡΡ ΡΠ»ΠΈΡΡ Π² ΡΠ΅Π·Π΅ΡΠ²ΡΠ°Ρ 2 Π°ΠΌΠΎΡΡΠΈΠ·Π°ΡΠΎΡΠ°; Π·Π°ΡΠ΅ΠΌ Π½ΡΠΆΠ½ΠΎ ΡΠΎΠ±ΡΠ°ΡΡ Π°ΠΌΠΎΡΡΠΈΠ·Π°ΡΠΎΡ ΠΈ ΡΡΡΠ°Π½ΠΎΠ²ΠΈΡΡ Π½Π° Π°Π²ΡΠΎΠΌΠΎΠ±ΠΈΠ»Ρ.
ΠΡΠΈ Π·Π°Π»ΠΈΠ²ΠΊΠ΅ ΠΆΠΈΠ΄ΠΊΠΎΡΡΠΈ Π½Π΅ΠΎΠ±Ρ ΠΎΠ΄ΠΈΠΌΠΎ ΡΠ»Π΅Π΄ΠΈΡΡ Π·Π° ΡΠ΅ΠΌ, ΡΡΠΎΠ±Ρ Π² Π°ΠΌΠΎΡΡΠΈΠ·Π°ΡΠΎΡΡ Π½Π΅ ΠΏΠΎΠΏΠ°Π»ΠΈ Π³ΡΡΠ·Ρ, ΠΏΠ΅ΡΠΎΠΊ ΠΈ Ρ. Π΄., ΠΊΠΎΡΠΎΡΡΠ΅ ΠΏΡΠΈΠ²ΠΎΠ΄ΡΡ ΠΊ Π±ΡΡΡΡΠΎΠΌΡ ΠΈΠ·Π½ΠΎΡΡ Π΄Π΅ΡΠ°Π»Π΅ΠΉ ΠΈ Π²ΡΡ ΠΎΠ΄Ρ ΠΈΠ· ΡΡΡΠΎΡ Π°ΠΌΠΎΡΡΠΈΠ·Π°ΡΠΎΡΠΎΠ².
Π Π°Π·Π±ΠΈΡΠ°ΡΡ ΠΈ ΡΠΎΠ±ΠΈΡΠ°ΡΡ Π°ΠΌΠΎΡΡΠΈΠ·Π°ΡΠΎΡ Π½ΡΠΆΠ½ΠΎ Π² ΠΌΠ°ΡΡΠ΅ΡΡΠΊΠΈΡ , Π² ΡΡΠ»ΠΎΠ²ΠΈΡΡ , ΠΏΠΎΠ»Π½ΠΎΡΡΡΡ ΠΎΠ±Π΅ΡΠΏΠ΅ΡΠΈΠ²Π°ΡΡΠΈΡ ΡΠΈΡΡΠΎΡΡ; Π±Π΅Π· ΠΊΡΠ°ΠΉΠ½Π΅ΠΉ Π½Π΅ΠΎΠ±Ρ ΠΎΠ΄ΠΈΠΌΠΎΡΡΠΈ ΡΠ°Π·Π±ΠΈΡΠ°ΡΡ Π°ΠΌΠΎΡΡΠΈΠ·Π°ΡΠΎΡ Π½Π΅ ΡΠ»Π΅Π΄ΡΠ΅Ρ.
autoruk.ru
Π Π°Π·Π΄Π°ΡΠΎΡΠ½Π°Ρ ΠΊΠΎΡΠΎΠ±ΠΊΠ° Π°Π²ΡΠΎΠΌΠΎΠ±ΠΈΠ»Ρ ΠΠΈΠ-131
Π Π°Π·Π΄Π°ΡΠΎΡΠ½Π°Ρ ΠΊΠΎΡΠΎΠ±ΠΊΠ° Π°Π²ΡΠΎΠΌΠΎΠ±ΠΈΠ»Ρ ΠΠΈΠ-131 ο»ΏΠΠ° ΡΡΠΎΠΌ Π°Π²ΡΠΎΠΌΠΎΠ±ΠΈΠ»Π΅ ΡΡΡΠ°Π½Π°Π²Π»ΠΈΠ²Π°Π΅ΡΡΡ Π΄Π²ΡΡ ΡΡΡΠΏΠ΅Π½ΡΠ°ΡΠ°Ρ ΡΠ°Π·Π΄Π°ΡΠΎΡΠ½Π°Ρ ΠΊΠΎΡΠΎΠ±ΠΊΠ° Ρ ΡΠ»Π΅ΠΊΡΡΠΎΠΏΠ½Π΅Π²ΠΌΠ°ΡΠΈΡΠ΅ΡΠΊΠΈΠΌ Π²ΠΊΠ»ΡΡΠ΅Π½ΠΈΠ΅ΠΌ ΠΏΠ΅ΡΠ΅Π΄Π½Π΅Π³ΠΎ ΠΌΠΎΡΡΠ°. ΠΠ΅ΡΠ΅ΒΠ΄Π°ΡΠΎΡΠ½ΠΎΠ΅ ΡΠΈΡΠ»ΠΎ ΠΊΠΎΡΠΎΠ±ΠΊΠΈ Π½Π° ΠΏΠ΅ΡΠ²ΠΎΠΉ ΠΏΠ΅ΡΠ΅Π΄Π°ΡΠ΅ 2,08, Π½Π° Π²ΡΠΎΡΠΎΠΉ — 1,0. ΠΡΠ΅ΠΏΠΈΡΡΡ ΠΊΠΎΡΠΎΠ±ΠΊΠ° Π½Π° ΡΠ΅Π·ΠΈΠ½ΠΎΠ²ΡΡ ΠΏΠΎΠ΄ΡΡΠΊΠ°Ρ ΡΠ΅ΡΡΡΡΠΌΡ Π±ΠΎΠ»ΡΠ°ΠΌΠΈ ΠΊ ΠΏΡΠΎΠ΄ΠΎΠ»ΡΠ½ΡΠΌ Π±Π°Π»ΠΊΠ°ΠΌ, ΠΊΠΎΡΠΎΡΡΠ΅, Π² ΡΠ²ΠΎΡ ΠΎΡΠ΅ΡΠ΅Π΄Ρ, ΠΊΡΠ΅ΠΏΡΡΡΡ Π½Π° ΡΠ΅Π·ΠΈΠ½ΠΎΠ²ΡΡ ΠΏΠΎΠ΄ΡΡΠΊΠ°Ρ ΠΊ ΠΊΡΠΎΠ½ΡΡΠ΅ΠΉΠ½Π°ΠΌ ΠΏΠΎΠΏΠ΅ΡΠ΅ΡΠΈΠ½Ρ ΡΠ°ΠΌΡ.

Π ΠΈΡ. 114. Π Π°Π·Π΄Π°ΡΠΎΡΠ½Π°Ρ ΠΊΠΎΡΠΎΠ±ΠΊΠ° Π°Π²ΡΠΎΠΌΠΎΠ±ΠΈΠ»Ρ ΠΠΠ-131: 1 — ΠΏΠ½Π΅Π²ΠΌΠΎΠΊΠ°ΠΌΠ΅ΡΠ°; 2 — ΡΠΈΠ³Π½Π°Π»ΡΠ½Π°Ρ Π»Π°ΠΌΠΏΠ°; 3, 24 — Π²ΡΠΊΠ»ΡΡΠ°ΡΠ΅Π»ΠΈ; 4,6- ΡΡΠΎΠΊΠΈ; 5 -Π·Π°ΠΌΠΊΠΎΠ²ΠΎΠ΅ ΡΡΡΡΠΎΠΉΡΡΠ²ΠΎ; 7 — ΠΊΠΎΡΠΏΡΡ ΡΠΈΠΊΡΠ°ΡΠΎΡΠ°; 8 -Π²Π΅Π΄ΡΡΠΈΠΉ Π²Π°Π»; 9, 22 — ΡΠ΅ΡΡΠ΅ΡΠ½ΠΈ ΠΏΠ΅ΡΠ²ΠΎΠΉ ΠΏΠ΅ΡΠ΅Π΄Π°ΡΠΈ; 10 — ΡΠ΅ΡΡΠ΅ΡΠ½Ρ Π²Π°Π»Π° ΠΏΡΠΈΠ²ΠΎΠ΄Π° Π·Π°Π΄Π½Π΅ΠΉ ΡΠ΅Π»Π΅ΠΆΠΊΠΈ; 11 — Π²Π°Π» ΠΏΡΠΈΠ²ΠΎΠ΄Π° Π·Π°Π΄Π½Π΅ΠΉ ΡΠ΅Π»Π΅ΠΆΠΊΠΈ; 12 -ΠΌΡΡΡΠ° Π²ΠΊΠ»ΡΡΠ΅Π½ΠΈΡ Π²ΡΠΎΡΠΎΠΉ ΠΏΠ΅ΡΠ΅Π΄Π°ΡΠΈ; 13 — Π²Π°Π» ΠΏΡΠΈΠ²ΠΎΠ΄Π° ΠΏΠ΅ΡΠ΅Π΄Π½Π΅Π³ΠΎ ΠΌΠΎΡΡΠ°; 14 — Π·ΡΠ±ΡΠ°ΡΡΠΉ Π²Π΅Π½Π΅Ρ Π²Π°Π»Π°; 15 — ΠΌΡΡΡΠ° Π²ΠΊΠ»ΡΡΠ΅Π½ΠΈΡ ΠΏΠ΅ΡΠ΅Π΄Π½Π΅Π³ΠΎ ΠΌΠΎΡΡΠ°; 16 — ΡΠ΅ΡΡΠ΅ΡΠ½Ρ Π²ΡΠΎΡΠΎΠΉ ΠΏΠ΅ΡΠ΅Π΄Π°ΡΠΈ; 17 — ΡΡΠΎΠΊ; 18 — ΠΊΡΡΡΠΊΠ° ΠΊΠ°ΡΡΠ΅ΡΠ°; 19 — Π·ΡΠ±ΡΠ°ΡΡΠΉ Π²Π΅Π½Π΅Ρ ΡΠ΅ΡΡΠ΅ΡΠ½ΠΈ Π²ΡΠΎΡΠΎΠΉ ΠΏΠ΅ΡΠ΅Π΄Π°ΡΠΈ; 20 — ΠΌΡΡΡΠ° Π²ΠΊΠ»ΡΡΠ΅Π½ΠΈΡ ΠΏΠ΅ΡΠ²ΠΎΠΉ ΠΏΠ΅ΡΠ΅Π΄Π°ΡΠΈ; 22 — ΠΊΠ°ΡΡΠ΅Ρ; 23 — ΡΡΠ΅ΡΠΆΠ΅Π½Ρ; 25, 28 — ΡΡΠ³ΠΈ; 26 — ΡΠ΅ΡΡΠ³Π°; 27 — ΡΡΡΠ°Π³; 29 — ΡΠ»Π΅ΠΊΡΡΠΎΠΏΠ½Π΅Π²ΠΌΠ°ΡΠΈΡΠ΅ΡΠΊΠΈΠΉ ΠΊΠ»Π°ΠΏΠ°Π½; 30-Π²ΡΠΊΠ»ΡΡΠ°ΡΠ΅Π»Ρ; 31 — ΡΠ΅Π»Π΅; 32 — Π²ΠΏΡΡΠΊΠ½ΠΎΠΉ ΠΊΠ»Π°ΠΏΠ°Π½; 33 -Π²ΡΠΏΡΡΠΊΠ½ΠΎΠΉ ΠΊΠ»Π°ΠΏΠ°Π½; 34 — ΠΏΡΠΎΠ±ΠΊΠ° ΠΊΠΎΠ½ΡΡΠΎΠ»ΡΠ½ΠΎ-Π·Π°Π»ΠΈΠ²Π½ΠΎΠ³ΠΎ ΠΎΡΠ²Π΅ΡΡΡΠΈΡ; 35 — ΠΏΡΠΎΠ±ΠΊΠ° ΡΠ»ΠΈΠ²Π½ΠΎΠ³ΠΎ ΠΎΡΠ²Π΅ΡΡΡΠΈΡ.
ΠΡΠ½ΠΎΠ²Π½ΡΠ΅ ΡΠ°ΡΡΠΈ ΠΊΠΎΡΠΎΠ±ΠΊΠΈ: ΠΊΠ°ΡΡΠ΅Ρ 21 (ΡΠΈΡ. 114) Ρ ΠΊΡΡΡΠΊΠ°ΠΌΠΈ; ΠΏΠ΅ΡΠ²ΠΈΡΒΠ½ΡΠΉ Π²Π°Π» 8 Ρ ΡΠ΅ΡΡΠ΅ΡΠ½Π΅ΠΉ 9, ΠΌΡΡΡΠΎΠΉ 12 ΠΈ ΠΏΠΎΠ΄ΡΠΈΠΏΠ½ΠΈΠΊΠ°ΠΌΠΈ; Π²Π°Π» 11 ΠΏΡΠΈΠ²ΠΎΠ΄Π° ΠΌΠΎΡΡΠΎΠ² Π·Π°Π΄Π½Π΅ΠΉ ΡΠ΅Π»Π΅ΠΆΠΊΠΈ Ρ ΡΠ΅ΡΡΠ΅ΡΠ½Π΅ΠΉ 10 ΠΈ ΠΏΠΎΠ΄ΡΠΈΠΏΠ½ΠΈΠΊΠ°ΠΌΠΈ, Π²Π°Π» 13 ΠΏΡΠΈΠ²ΠΎΠ΄Π° ΠΏΠ΅ΡΠ΅Π΄Π½Π΅Π³ΠΎ ΠΌΠΎΡΡΠ° Ρ ΡΠ΅ΡΡΠ΅ΡΠ½ΡΠΌΠΈ 22,16 ΠΈ ΠΌΡΡΡΠ°ΠΌΠΈ 15; 20; ΠΌΠ΅Ρ Π°Π½ΠΈΠ·ΠΌ, ΠΏΠ΅ΡΠ΅ΠΊΠ»ΡΡΠ΅Π½ΠΈΡ ΠΏΠ΅ΡΠ΅Π΄Π°Ρ, ΡΠΏΡΠ°Π²Π»Π΅Π½ΠΈΠ΅ Π²ΠΊΠ»ΡΡΠ΅Π½ΠΈΠ΅ΠΌ ΠΏΠ΅ΡΠ΅Π΄Π½Π΅Π³ΠΎ ΠΌΠΎΡΡΠ°.
ΠΠ°ΡΡΠ΅Ρ ΠΊΠΎΡΠΎΠ±ΠΊΠΈ ΡΡΠ³ΡΠ½Π½ΡΠΉ, ΡΠ°Π·ΡΠ΅ΠΌΠ½ΡΠΉ; Π² Π·Π°Π΄Π½Π΅ΠΉ ΡΠ°ΡΡΠΈ Π·Π°ΠΊΡΡΠ²Π°Π΅ΡΡΡ ΠΊΡΡΡΠΊΠΎΠΉ 18; Π½Π° Π²Π΅ΡΡ Π½ΠΈΠΉ Π»ΡΠΊ, Π·Π°ΠΊΡΡΠ²Π°Π΅ΠΌΡΠΉ ΠΊΡΡΡΠΊΠΎΠΉ, ΠΌΠΎΠΆΠ΅Ρ ΡΡΡΠ°Π½Π°Π²Π»ΠΈΠ²Π°ΡΡΡΡ ΠΊΠΎΡΠΎΠ±ΠΊΠ° ΠΎΡΠ±ΠΎΡΠ° ΠΌΠΎΡΠ½ΠΎΡΡΠΈ. Π Π²Π΅ΡΡ Π½Π΅ΠΉ ΠΊΡΡΡΠΊΠ΅ ΠΈΠΌΠ΅Π΅ΡΡΡ ΡΠ°ΠΏΡΠ½. ΠΠΎΠ½ΡΡΠΎΠ»ΡΠ½ΠΎ-Π·Π°Π»ΠΈΠ²Π½ΠΎΠ΅ ΠΈ ΡΠ»ΠΈΠ²Π½ΠΎΠ΅ ΠΎΡΠ²Π΅ΡΡΡΠΈΡ Ρ ΠΏΡΠΎΠ±ΠΊΠ°ΠΌΠΈ Π½Π°Ρ ΠΎΠ΄ΡΡΡΡ Π² Π·Π°Π΄Π½Π΅ΠΉ ΠΊΡΡΡΠΊΠ΅, ΡΠ»ΠΈΠ²Π½Π°Ρ ΠΏΡΠΎΠ±ΠΊΠ° ΠΈΠΌΠ΅Π΅Ρ ΠΌΠ°Π³Π½ΠΈΡ. ΠΡΡ ΠΎΠ΄Ρ Π²Π°Π»ΠΎΠ² ΠΈΠ· ΠΊΠ°ΡΡΠ΅ΡΠ° ΡΠΏΠ»ΠΎΡΠ½ΡΡΡΡΡ ΡΠ°Π»ΡΠ½ΠΈΠΊΠ°ΠΌΠΈ, Π½Π° Π²Π°Π»Ρ ΠΏΠ΅ΡΠ΅Π΄Π½Π΅Π³ΠΎ ΠΌΠΎΡΡΠ° ΠΈΠΌΠ΅Π΅ΡΡΡ ΠΌΠ°ΡΠ»ΠΎΡΠ³ΠΎΠ½Π½Π°Ρ ΡΠ°ΠΉΠ±Π°.
Π¨Π΅ΡΡΠ΅ΡΠ½Ρ 9 ΠΏΠ΅ΡΠ²ΠΎΠΉ ΠΏΠ΅ΡΠ΅Π΄Π°ΡΠΈ ΡΡΡΠ°Π½ΠΎΠ²Π»Π΅Π½Π° Π½Π° ΡΠΏΠΎΠ½ΠΊΠ΅, ΠΌΡΡΡΠ° 12 Π²ΠΊΠ»ΡΡΠ΅Π½ΠΈΡ Π²ΡΠΎΡΠΎΠΉ (ΠΏΡΡΠΌΠΎΠΉ) ΠΏΠ΅ΡΠ΅Π΄Π°ΡΠΈ ΠΌΠΎΠΆΠ΅Ρ ΠΏΠ΅ΡΠ΅ΠΌΠ΅ΡΠ°ΡΡΡΡ ΠΏΠΎ ΡΠ»ΠΈΡΠ°ΠΌ Π²Π°Π»Π°. Π¨Π΅ΡΡΠ΅ΡΠ½Ρ 10 ΠΈΠ·Π³ΠΎΡΠΎΠ²Π»Π΅Π½Π° Π·Π°ΠΎΠ΄Π½ΠΎ Ρ Π²Π°Π»ΠΎΠΌ. ΠΠ΅ΠΆΠ΄Ρ ΠΏΠΎΠ΄ΡΠΈΠΏΠ½ΠΈΠΊΠ°ΠΌΠΈ Π²Π°Π»Π° 11 ΡΠ°ΡΠΏΠΎΠ»ΠΎΠΆΠ΅Π½ ΡΠ΅ΡΠ²ΡΠΊ ΠΏΡΠΈΠ²ΠΎΠ΄Π° ΡΠΏΠΈΠ΄ΠΎΠΌΠ΅ΡΡΠ°, ΡΠ΅ΡΡΠ΅ΡΠ½Ρ ΠΏΡΠΈΠ²ΠΎΠ΄Π° ΡΠΏΠΈΠ΄ΠΎΠΌΠ΅ΡΡΠ° ΡΠ°Π·ΠΌΠ΅ΡΠ°Π΅ΡΡΡ Π² ΠΏΡΠΈΠ»ΠΈΠ²Π΅ ΠΊΡΡΡΠΊΠΈ Π·Π°Π΄Π½Π΅Π³ΠΎ ΠΏΠΎΠ΄ΡΠΈΠΏΠ½ΠΈΠΊΠ° Π²Π°Π»Π°; ΡΠΊΠ°Π·Π°Π½Π½Π°Ρ ΠΊΡΡΡΠΊΠ° ΡΠ²Π»ΡΠ΅ΡΡΡ ΠΎΠ΄Π½ΠΎΠ²ΡΠ΅ΠΌΠ΅Π½Π½ΠΎ ΠΎΠΏΠΎΡΠ½ΡΠΌ ΠΊΡΠΎΠ½ΡΡΠ΅ΠΉΠ½ΠΎΠΌ ΡΡΠΎΡΠ½ΠΎΡΠ½ΠΎΠ³ΠΎ ΡΠΎΡΠΌΠΎΠ·Π°. ΠΡΠΎΠΌΠ΅ΠΆΡΡΠΎΡΠ½ΡΠ΅ ΡΠ΅ΡΡΠ΅ΡΠ½ΠΈ 22 ΠΈ 16 Π²ΡΠ°ΡΠ°ΡΡΡΡ Π½Π° Π²Π°Π»Ρ 13 ΠΏΠ° ΠΈΠ³ΠΎΠ»ΡΡΠ°ΡΡΡ ΠΏΠΎΠ΄ΡΠΈΠΏΠ½ΠΈΠΊΠ°Ρ . ΠΠ° ΡΡΡΠΏΠΈΡΠ°Ρ ΡΠ΅ΡΡΠ΅ΡΠ΅Π½ ΡΠ°Π·ΠΌΠ΅ΡΠ°Π΅ΡΡΡ ΠΌΡΡΡΠ° 20 Π²ΠΊΠ»ΡΡΠ΅Π½ΠΈΡ ΠΏΠ΅ΡΠ²ΠΎΠΉ ΠΏΠ΅ΡΠ΅Π΄Π°ΡΠΈ, Π½Π° ΡΡΡΠΏΠΈΡΠ΅ ΡΠ΅ΡΡΠ΅ΡΠ½ΠΈ 16, ΠΊΡΠΎΠΌΠ΅ ΡΡΠΎΠ³ΠΎ, ΡΠ°Π·ΠΌΠ΅ΡΠ°Π΅ΡΡΡ ΠΌΡΡΡΠ° 15 Π²ΠΊΠ»ΡΡΠ΅Π½ΠΈΡ ΠΏΠ΅ΡΠ΅Π΄Π½Π΅Π³ΠΎ ΠΌΠΎΡΡΠ°. ΠΡΠ° ΠΌΡΡΡΠ° ΠΌΠΎΠΆΠ΅Ρ ΡΠΎΠ΅Π΄ΠΈΠ½ΡΡΡΡΡ Ρ Π·ΡΠ±ΡΠ°ΡΡΠΌ Π²Π΅Π½ΡΠΎΠΌ, Π²ΡΠΏΠΎΠ»Π½Π΅Π½Π½ΡΠΌ Π½Π΅ΠΏΠΎΡΡΠ΅Π΄ΡΡΠ²Π΅Π½Π½ΠΎ Π½Π° Π²Π°Π»Ρ 13.
Π ΠΌΠ΅Ρ Π°Π½ΠΈΠ·ΠΌΡ ΠΏΠ΅ΡΠ΅ΠΊΠ»ΡΡΠ΅Π½ΠΈΡ ΠΏΠ΅ΡΠ΅Π΄Π°Ρ ΠΎΡΠ½ΠΎΡΡΡΡΡ: ΡΡΡΠ°Π³ 27 Ρ ΡΠ΅ΡΡΠ³ΠΎΠΉ 26, Π΄Π²Π΅ ΡΡΠ³ΠΈ 25 ΠΈ 28, ΡΡΡΠΆΠ½Π°Ρ ΠΏΡΡΠΆΠΈΠ½Π°, Π΄Π²Π° ΡΡΠΎΠΊΠ° 4 ΠΈ 6 Ρ Π²ΠΈΠ»ΠΊΠ°ΠΌΠΈ, Π΄Π²Π° ΡΠΈΠΊΡΠ°ΡΠΎΡΠ°, Π·Π°ΠΌΠΊΠΎΠ²ΠΎΠ΅ ΡΡΡΡΠΎΠΉΡΡΠ²ΠΎ 5.
Π£ΠΏΡΠ°Π²Π»Π΅Π½ΠΈΠ΅ Π²ΠΊΠ»ΡΡΠ΅Π½ΠΈΠ΅ΠΌ ΠΏΠ΅ΡΠ΅Π΄Π½Π΅Π³ΠΎ ΠΌΠΎΡΡΠ° ΡΠ»Π΅ΠΊΡΡΠΎΠΏΠ½Π΅Π²ΠΌΠ°ΡΠΈΡΠ΅ΡΠΊΠΎΠ΅. ΠΠ½ΠΎ Π²ΠΊΠ»ΡΡΠ°Π΅Ρ Π² ΡΠ΅Π±Ρ ΡΠ»Π΅ΠΊΡΡΠΎΠ²ΠΎΠ·Π΄ΡΡΠ½ΡΠΉ ΠΊΠ»Π°ΠΏΠ°Π½ 29, ΠΏΠ½Π΅Π²ΠΌΠΎΠΊΠ°ΠΌΠ΅ΡΡ 1, Π΄Π²Π° ΠΌΠΈΠΊΡΠΎΠ²ΠΊΠ»ΡΡΠ°ΡΠ΅Π»Ρ 3 ΠΈ 24, ΡΠ΅Π»Π΅ 31, Π²ΠΊΠ»ΡΡΠ°ΡΠ΅Π»Ρ 30 ΠΈ ΡΠΈΠ³Π½Π°Π»ΡΠ½ΡΡ Π»Π°ΠΌΠΏΡ 2. ΠΠ»Π΅ΠΊΡΡΠΎΠ²ΠΎΠ·Π΄ΡΡΠ½ΡΠΉ ΠΊΠ»Π°ΠΏΠ°Π½ ΡΡΡΠ°Π½ΠΎΠ²Π»Π΅Π½ Π½Π° ΠΏΠΎΠΏΠ΅ΡΠ΅ΡΠΈΠ½Π΅ ΡΠ°ΠΌΡ, ΠΏΠ½Π΅Π²ΠΌΠΎΠΊΠ°ΠΌΠ΅ΡΠ° Π·Π°ΠΊΡΠ΅ΠΏΠ»Π΅Π½Π° Π½Π° ΠΏΠ΅ΡΠ΅Π΄Π½Π΅ΠΉ ΡΡΠ΅Π½ΠΊΠ΅ ΠΊΠ°ΡΡΠ΅ΡΠ°, ΠΌΠΈΠΊΡΠΎΠ²ΡΠΊΠ»ΡΡΠ°ΡΠ΅Π»Ρ 3 ΡΠ°ΡΠΏΠΎΠ»ΠΎΠΆΠ΅Π½ Π½Π° ΠΊΠΎΡΠΏΡΡΠ΅ ΡΠΈΠΊΡΠ°ΡΠΎΡΠΎΠ², ΠΌΠΈΠΊΡΠΎΠ²ΡΠΊΠ»ΡΡΠ°ΡΠ΅Π»Ρ 24 Π½Π°Ρ ΠΎΠ΄ΠΈΡΡΡ Π½Π° ΠΊΠΎΡΠΏΡΡΠ΅ ΠΏΠ½Π΅Π²ΠΌΠΎΠΊΠ°ΠΌΠ΅ΡΡ, Π²ΠΊΠ»ΡΡΠ°ΡΠ΅Π»Ρ 30 ΠΈ ΡΠΈΠ³Π½Π°Π»ΡΠ½Π°Ρ Π»Π°ΠΌΠΏΠ° 2 Π² ΠΊΠ°Π±ΠΈΠ½Π΅, ΡΠ΅Π»Π΅ 31 — ΠΏΠΎΠ΄ ΠΊΠ°ΠΏΠΎΡΠΎΠΌ.
ΠΡΠΈ Π²ΠΊΠ»ΡΡΠ΅Π½ΠΈΠΈ ΠΏΠ΅ΡΠ²ΠΎΠΉ ΠΏΠ΅ΡΠ΅Π΄Π°ΡΠΈ Π²ΠΎΠ΄ΠΈΡΠ΅Π»Ρ ΠΏΠ΅ΡΠ΅ΠΌΠ΅ΡΠ°Π΅Ρ ΡΡΡΠ°Π³ 27 Π²ΠΏΠ΅ΡΠ΅Π΄, ΠΏΡΠΈ ΡΡΠΎΠΌ ΡΡΡΠ°Π³ ΠΏΠΎΠ²ΠΎΡΠ°ΡΠΈΠ²Π°Π΅ΡΡΡ Π²ΠΎΠΊΡΡΠ³ ΡΠΎΡΠΊΠΈ ΠΊΡΠ΅ΠΏΠ»Π΅Π½ΠΈΡ Π²Π΅ΡΡ Π½Π΅ΠΉ ΡΡΠ³ΠΈ 28 ΠΈ Π½ΠΈΠΆΠ½ΠΈΠΌ ΠΊΠΎΠ½ΡΠΎΠΌ ΡΠ΅ΡΠ΅Π· ΡΡΠ³Ρ 25, ΡΡΠΎΠΊ 4 ΠΈ Π²ΠΈΠ»ΠΊΡ ΠΏΠ΅ΡΠ΅ΠΌΠ΅ΡΠ°Π΅Ρ ΠΌΡΡΡΡ 20 Π½Π°Π·Π°Π΄, ΡΠΎΠ΅Π΄ΠΈΠ½ΡΡ ΠΌΠ΅ΠΆΠ΄Ρ ΡΠΎΠ±ΠΎΠΉ ΡΠ΅ΡΡΠ΅ΡΠ½ΠΈ 22 ΠΈ 16. ΠΡΠΈ ΠΏΠ΅ΡΠ΅ΠΌΠ΅ΡΠ΅Π½ΠΈΠΈ ΡΡΠΎΠΊ Π²ΠΎΠ·Π΄Π΅ΠΉΡΡΠ²ΡΠ΅Ρ Π½Π° ΠΌΠΈΠΊΡΠΎΠ²ΡΠΊΠ»ΡΡΠ°ΡΠ΅Π»Ρ 3, ΠΊΠΎΡΠΎΡΡΠΉ Π·Π°ΠΌΡΠΊΠ°Π΅Ρ ΡΠ΅ΠΏΡ ΡΠ΅Π»Π΅ 31, Π° ΠΎΠ½ΠΎ, Π² ΡΠ²ΠΎΡ ΠΎΡΠ΅ΡΠ΅Π΄Ρ, Π·Π°ΠΌΡΠΊΠ°Π΅Ρ ΡΠ΅ΠΏΡ ΡΠ»Π΅ΠΊΡΡΠΎΠ²ΠΎΠ·Π΄ΡΡΠ½ΠΎΠ³ΠΎ ΠΊΠ»Π°ΠΏΠ°Π½Π° 29. Π―ΠΊΠΎΡΡ ΡΠ»Π΅ΠΊΡΡΠΎΠΌΠ°Π³Π½ΠΈΡΠ° ΠΎΠΏΡΡΠΊΠ°Π΅ΡΡΡ Π²Π½ΠΈΠ·, ΠΏΡΠΈ ΡΡΠΎΠΌ ΠΎΡΠΊΡΡΠ²Π°Π΅ΡΡΡ Π²ΠΏΡΡΠΊΠ½ΠΎΠΉ 32 ΠΈ Π·Π°ΠΊΡΡΠ²Π°Π΅ΡΡΡ Π²ΡΠΏΡΡΠΊΠ½ΠΎΠΉ 33 ΠΊΠ»Π°ΠΏΠ°Π½Ρ. Π‘ΠΆΠ°ΡΡΠΉ Π²ΠΎΠ·Π΄ΡΡ ΠΈΠ· ΠΏΠ½Π΅Π²ΠΌΠΎΡΠΈΡΡΠ΅ΠΌΡ Π°Π²ΡΠΎΠΌΠΎΠ±ΠΈΠ»Ρ ΠΏΠΎΡΡΡΠΏΠ°Π΅Ρ Π² ΠΏΠ½Π΅Π²ΠΌΠΎΠΊΠ°ΠΌΠ΅ΡΡ 1, ΠΊΠΎΡΠΎΡΠ°Ρ ΡΠ΅ΡΠ΅Π· ΡΡΠΎΠΊ 17 ΠΏΠ΅ΡΠ΅ΠΌΠ΅ΡΠ°Π΅Ρ ΠΌΡΡΡΡ 15 Π½Π°Π·Π°Π΄, ΡΠΎΠ΅Π΄ΠΈΠ½ΡΡ Π΅Π΅ Ρ Π·ΡΠ±ΡΠ°ΡΡΠΌ Π²Π΅Π½ΡΠΎΠΌ Π²Π°Π»Π° 13. ΠΡΡΡΡΡΠΈΠΉ ΠΌΠΎΠΌΠ΅Π½Ρ ΠΏΠ΅ΡΠ΅Π΄Π°Π΅ΡΡΡ Ρ Π²Π΅Π΄ΡΡΠ΅Π³ΠΎ Π²Π°Π»Π° ΡΠ΅ΡΠ΅Π· ΡΠ΅ΡΡΠ΅ΡΠ½ΠΈ 9 ΠΈ 22, ΠΌΡΡΡΡ 20 Π½Π° ΡΠ΅ΡΡΠ΅ΡΠ½Ρ 16, Π³Π΄Π΅ ΠΌΠΎΠΌΠ΅Π½Ρ ΡΠ°ΡΠΏΡΠ΅Π΄Π΅Π»ΡΠ΅ΡΡΡ Π½Π° ΡΠ΅ΡΡΠ΅ΡΠ½Ρ 10 ΠΈ Π²Π°Π» 11 ΠΊ ΠΌΠΎΡΡΠ°ΠΌ Π·Π°Π΄Π½Π΅ΠΉ ΡΠ΅Π»Π΅ΠΆΠΊΠΈ ΠΈ ΡΠ΅ΡΠ΅Π· ΠΌΡΡΡΡ 15 Π½Π° Π²Π°Π» ΠΏΡΠΈΠ²ΠΎΠ΄Π° ΠΏΠ΅ΡΠ΅Π΄Π½Π΅Π³ΠΎ ΠΌΠΎΡΡΠ°.
ΠΡΠΈ Π²ΡΠΊΠ»ΡΡΠ΅Π½ΠΈΠΈ ΠΏΠ΅ΡΠ²ΠΎΠΉ ΠΏΠ΅ΡΠ΅Π΄Π°ΡΠΈ ΡΠ°Π·ΠΌΡΠΊΠ°Π΅ΡΡΡ ΡΠ΅ΠΏΡ ΡΠ»Π΅ΠΊΡΡΠΎΠΌΠ°Π³Π½ΠΈΒΡΠ°, Π·Π°ΠΊΡΡΠ²Π°Π΅ΡΡΡ Π²ΠΏΡΡΠΊΠ½ΠΎΠΉ ΠΊΠ»Π°ΠΏΠ°Π½ ΠΈ ΠΎΡΠΊΡΡΠ²Π°Π΅ΡΡΡ Π²ΡΠΏΡΡΠΊΠ½ΠΎΠΉ, Π²ΠΎΠ·Π²ΡΠ°ΡΠ½Π°Ρ ΠΏΡΡΠΆΠΈΠ½Π° ΠΏΠ½Π΅Π²ΠΌΠΎΠΊΠ°ΠΌΠ΅ΡΡ Π°Π²ΡΠΎΠΌΠ°ΡΠΈΡΠ΅ΡΠΊΠΈ Π²ΡΠΊΠ»ΡΡΠ°Π΅Ρ ΠΏΠ΅ΡΠ΅Π΄Π½ΠΈΠΉ ΠΌΠΎΡΡ.
ΠΠ»Ρ Π²ΠΊΠ»ΡΡΠ΅Π½ΠΈΡ Π²ΡΠΎΡΠΎΠΉ ΠΏΠ΅ΡΠ΅Π΄Π°ΡΠΈ ΡΡΡΠ°Π³ 27 ΠΏΠΎΠ²ΠΎΡΠ°ΡΠΈΠ²Π°Π΅ΡΡΡ ΠΎΡΠ½ΠΎΡΠΈΒΡΠ΅Π»ΡΠ½ΠΎ ΡΠΎΡΠΊΠΈ ΠΊΡΠ΅ΠΏΠ»Π΅Π½ΠΈΡ Π½ΠΈΠΆΠ½Π΅ΠΉ ΡΡΠ³ΠΈ 25 ΠΈ ΡΠ΅ΡΠ΅Π· ΡΡΠ³Ρ 28, ΡΡΠΎΠΊ 6 ΠΈ Π²ΠΈΠ»ΠΊΡ ΠΏΠ΅ΡΠ΅ΠΌΠ΅ΡΠ°Π΅Ρ ΠΌΡΡΡΡ 12 Π½Π°Π·Π°Π΄, ΡΠΎΠ΅Π΄ΠΈΠ½ΡΡ Π΅Π΅ Ρ Π²Π½ΡΡΡΠ΅Π½Π½ΠΈΠΌ Π·ΡΠ±ΡΠ°ΡΡΠΌ Π²Π΅Π½ΡΠΎΠΌ ΡΠ΅ΡΡΠ΅ΡΠ½ΠΈ 10. ΠΡΡΡΡΡΠΈΠΉ ΠΌΠΎΠΌΠ΅Π½Ρ ΠΏΠ΅ΡΠ΅Π΄Π°Π΅ΡΡΡ Ρ Π²Π΅Π΄ΡΡΠ΅Π³ΠΎ Π²Π°Π»Π° Π½Π° Π²Π°Π» ΠΏΡΠΈΠ²ΠΎΠ΄Π° ΠΌΠΎΡΡΠΎΠ² Π·Π°Π΄Π½Π΅ΠΉ ΡΠ΅Π»Π΅ΠΆΠΊΠΈ Π½Π°ΠΏΡΡΠΌΡΡ.
ΠΡΠΈ Π½Π΅ΠΎΠ±Ρ ΠΎΠ΄ΠΈΠΌΠΎΡΡΠΈ Π²ΠΊΠ»ΡΡΠΈΡΡ ΠΏΠ΅ΡΠ΅Π΄Π½ΠΈΠΉ ΠΌΠΎΡΡ Π½Π° ΠΏΡΡΠΌΠΎΠΉ ΠΏΠ΅ΡΠ΅Π΄Π°ΡΠ΅ (Π½Π°ΠΏΡΠΈΠΌΠ΅Ρ, Π½Π° ΡΠΊΠΎΠ»ΡΠ·ΠΊΠΎΠΉ Π΄ΠΎΡΠΎΠ³Π΅) ΡΠ΅ΠΏΡ ΡΠ»Π΅ΠΊΡΡΠΎΠΌΠ°Π³Π½ΠΈΡΠ° Π·Π°ΠΌΡΠΊΠ°Π΅ΡΡΡ ΠΏΡΠΈΠ½ΡΠ΄ΠΈΡΠ΅Π»ΡΠ½ΠΎ Π²ΠΊΠ»ΡΡΠ°ΡΠ΅Π»Π΅ΠΌ 30. Π ΡΡΠΎΠΌ ΡΠ»ΡΡΠ°Π΅ ΠΊΡΡΡΡΡΠΈΠΉ ΠΌΠΎΠΌΠ΅Π½Ρ Π½Π° Π²Π°Π» ΠΏΡΠΈΠ²ΠΎΠ΄Π° Π·Π°Π΄Π½Π΅ΠΉ ΡΠ΅Π»Π΅ΠΆΠΊΠΈ ΠΏΠ΅ΡΠ΅Π΄Π°Π΅ΡΡΡ Π½Π°ΠΏΡΡΠΌΡΡ, ΠΊΡΠΎΠΌΠ΅ ΡΠΎΠ³ΠΎ, ΡΠ΅ΡΠ΅Π· ΡΠ΅ΡΡΠ΅ΡΠ½ΠΈ 10,16 ΠΈ ΠΌΡΡΡΡ 15 ΠΌΠΎΠΌΠ΅Π½Ρ ΠΏΠ΅ΡΠ΅Π΄Π°Π΅ΡΡΡ Π½Π° Π²Π°Π» ΠΏΡΠΈΠ²ΠΎΠ΄Π° ΠΏΠ΅ΡΠ΅Π΄Π½Π΅Π³ΠΎ ΠΌΠΎΡΡΠ°.
ΠΠ° Π²ΡΠ΅Ρ ΠΏΠ΅ΡΠ΅Π΄Π°ΡΠ°Ρ ΠΏΡΠΈ Π²ΠΊΠ»ΡΡΠ΅Π½Π½ΠΎΠΌ ΠΏΠ΅ΡΠ΅Π΄Π½Π΅ΠΌ ΠΌΠΎΡΡΠ΅ ΠΊΡΡΡΡΡΠΈΠΉ ΠΌΠΎΠΌΠ΅Π½Ρ ΡΠ°ΡΠΏΡΠ΅Π΄Π΅Π»ΡΠ΅ΡΡΡ ΠΏΡΠΎΠΏΠΎΡΡΠΈΠΎΠ½Π°Π»ΡΠ½ΠΎ Π½Π°Π³ΡΡΠ·ΠΊΠ°ΠΌ, ΠΏΡΠΈΡ ΠΎΠ΄ΡΡΠΈΠΌΡΡ Π½Π° ΠΏΠ΅ΡΠ΅Π΄Π½ΠΈΠΉ ΠΌΠΎΡΡ ΠΈ ΠΌΠΎΡΡΡ Π·Π°Π΄Π½Π΅ΠΉ ΡΠ΅Π»Π΅ΠΆΠΊΠΈ.
ΠΡΠΈ Π²ΠΊΠ»ΡΡΠ΅Π½ΠΈΠΈ ΠΏΠ΅ΡΠ΅Π΄Π½Π΅Π³ΠΎ ΠΌΠΎΡΡΠ° ΠΌΠΈΠΊΡΠΎΠ²ΠΊΠ»ΡΡΠ°ΡΠ΅Π»Ρ 24 Π·Π°ΠΌΡΠΊΠ°Π΅Ρ ΡΠ΅ΠΏΡ, ΠΈ Π² ΠΊΠ°Π±ΠΈΠ½Π΅ Π·Π°Π³ΠΎΡΠ°Π΅ΡΡΡ ΡΠΈΠ³Π½Π°Π»ΡΠ½Π°Ρ Π»Π°ΠΌΠΏΠ° 2.
Π‘ΠΌΠ°Π·ΠΊΠ° ΡΠ°Π·Π΄Π°ΡΠΎΡΠ½ΠΎΠΉ ΠΊΠΎΡΠΎΠ±ΠΊΠΈ ΠΎΡΡΡΠ΅ΡΡΠ²Π»ΡΠ΅ΡΡΡ ΡΠ°Π·Π±ΡΡΠ·Π³ΠΈΠ²Π°Π½ΠΈΠ΅ΠΌ. Π ΠΊΠ°ΡΡΠ΅Ρ ΠΊΠΎΡΠΎΠ±ΠΊΠΈ Π·Π°Π»ΠΈΠ²Π°Π΅ΡΡΡ 3,3 Π» ΠΌΠ°ΡΠ»Π° ΠΌΠ°ΡΠΊΠΈ Π’ΠΠΏ-15Π.
| Π Π°Π·Π΄Π°ΡΠΎΡΠ½Π°Ρ ΠΊΠΎΡΠΎΠ±ΠΊΠ° Π°Π²ΡΠΎΠΌΠΎΠ±ΠΈΠ»Ρ Π£ΡΠ°Π»-4320 < ΠΡΠ΅Π΄. | Β | Π‘Π»Π΅Π΄. > Π’Π΅Ρ Π½ΠΈΡΠ΅ΡΠΊΠΎΠ΅ ΠΎΠ±ΡΠ»ΡΠΆΠΈΠ²Π°Π½ΠΈΠ΅ ΠΈ ΠΎΡΠ½ΠΎΠ²Π½ΡΠ΅ Π½Π΅ΠΈΡΠΏΡΠ°Π²Π½ΠΎΡΡΠΈ ΡΠ°Π·Π΄Π°ΡΠΎΡΠ½ΠΎΠΉ ΠΊΠΎΡΠΎΠ±ΠΊΠΈ |
|---|
xn—-7sbfkccucpkracijq8iofobm.xn--p1ai
ΠΠΎΠ½ΡΡΡΡΠΊΡΠΈΡ ΠΈ ΡΠ΅ΠΌΠΎΠ½Ρ ΠΊΠΎΡΠΎΠ±ΠΊΠΈ ΠΎΡΠ±ΠΎΡΠ° ΠΌΠΎΡΠ½ΠΎΡΡΠΈ ΠΠΠ-131
Π‘ΡΡΠ°Π½ΠΈΡΠ° 1 ΠΈΠ· 2
ΠΠΎΡΠΎΠ±ΠΊΠ° ΠΎΡΠ±ΠΎΡΠ° ΠΌΠΎΡΠ½ΠΎΡΡΠΈ (ΡΠΈΡ 1) ΡΠ΅Π²Π΅ΡΡΠΈΠ²Π½Π°Ρ, ΡΠ»ΡΠΆΠΈΡ Π΄Π»Ρ ΠΏΡΠΈΠ²ΠΎΠ΄Π° Π»Π΅Π±Π΅Π΄ΠΊΠΈ ΠΈ ΡΡΡΠ°Π½Π°Π²Π»ΠΈΠ²Π°Π΅ΡΡΡ Π½Π° ΡΠ»Π°Π½Π΅Ρ Π»ΡΠΊΠ° ΠΊΠΎΡΠΎΠ±ΠΊΠΈ ΠΏΠ΅ΡΠ΅Π΄Π°Ρ.
ΠΠ΅Π΄ΡΡΠΈΠΉ Π±Π»ΠΎΠΊ 16 Π·ΡΠ±ΡΠ°ΡΡΡ ΠΊΠΎΠ»Π΅Ρ ΠΈ ΠΏΡΠΎΠΌΠ΅ΠΆΡΡΠΎΡΠ½ΠΎΠ΅ Π·ΡΠ±ΡΠ°ΡΠΎΠ΅ ΠΊΠΎΠ»Π΅ΡΠΎ 13 ΡΡΡΠ°Π½ΠΎΠ²Π»Π΅Π½Ρ Π½Π° Π½Π΅ΠΏΠΎΠ΄Π²ΠΈΠΆΠ½ΡΡ ΠΎΡΡΡ 11 ΠΈ 14 Π½Π° ΡΠΎΠ»ΠΈΠΊΠΎΠ²ΡΡ ΠΏΠΎΠ΄ΡΠΈΠΏΠ½ΠΈΠΊΠ°Ρ 17
ΠΠ°Π» 10 Π²ΡΠ°ΡΠ°Π΅ΡΡΡ Π½Π° Π΄Π²ΡΡ ΡΠ°ΡΠΈΠΊΠΎΠ²ΡΡ ΠΏΠΎΠ΄ΡΠΈΠΏΠ½ΠΈΠΊΠ°Ρ 8. ΠΠΎ ΡΠ»ΠΈΡΠ°ΠΌ Π²Π°Π»Π° ΡΠΊΠΎΠ»ΡΠ·ΠΈΡ Π·ΡΠ±ΡΠ°ΡΠΎΠ΅ ΠΊΠΎΠ»Π΅ΡΠΎ 9 Π²ΠΊΠ»ΡΡΠ΅Π½ΠΈΡ ΠΏΠ΅ΡΠ΅Π΄Π°Ρ.
ΠΠ° Π²ΡΡ ΠΎΠ΄Π΅ Π²Π°Π»Π°, ΡΠΏΠ»ΠΎΡΠ½Π΅Π½Π½ΠΎΠΌ ΠΌΠ°Π½ΠΆΠ΅ΡΠΎΠΉ 23, ΡΡΡΠ°Π½ΠΎΠ²Π»Π΅Π½ ΡΠ»Π°Π½Π΅Ρ 22. Π£ΡΡΠ°Π½ΠΎΠ²ΠΊΠ° ΡΠ»Π°Π½ΡΠ° Π½Π° Π²Π°Π»Ρ ΠΏΡΠΈ Π½Π΅ΠΎΠ±Ρ ΠΎΠ΄ΠΈΠΌΠΎΡΡΠΈ ΠΌΠΎΠΆΠ΅Ρ Π±ΡΡΡ ΠΎΡΡΡΠ΅ΡΡΠ²Π»Π΅Π½Π° ΠΊΠ°ΠΊ Π΄Π»Ρ ΠΏΠ΅ΡΠ΅Π΄Π°ΡΠΈ ΠΌΠΎΠΌΠ΅Π½ΡΠ° Π²ΠΏΠ΅ΡΠ΅Π΄ ΠΏΠΎ Ρ ΠΎΠ΄Ρ Π°Π²ΡΠΎΠΌΠΎΠ±ΠΈΠ»Ρ, ΡΠ°ΠΊ ΠΈ Π½Π°Π·Π°Π΄, ΡΠΎΠΎΡΠ²Π΅ΡΡΡΠ²ΡΡΡΠ΅ΠΉ ΠΏΠ΅ΡΠ΅ΡΡΠ°Π½ΠΎΠ²ΠΊΠΎΠΉ Π²Π°Π»Π° 10.

ΠΠ΅ΡΠ΅Π΄Π°ΡΠΈ Π²ΠΊΠ»ΡΡΠ°ΡΡΡΡ Π²ΠΈΠ»ΠΊΠΎΠΉ 4, Π½Π΅ΠΏΠΎΠ΄Π²ΠΈΠΆΠ½ΠΎ Π·Π°ΠΊΡΠ΅ΠΏΠ»Π΅Π½Π½ΠΎΠΉ Π½Π° ΡΡΠΎΠΊΠ΅ 1. ΠΠ° Π²ΡΡ ΠΎΠ΄Π΅ ΡΡΠΎΠΊΠ° ΠΈΠΌΠ΅Π΅ΡΡΡ ΠΌΠ°Π½ΠΆΠ΅ΡΠ° 2. ΠΡΠ΅ Π·ΡΠ±ΡΠ°ΡΡΠ΅ ΠΊΠΎΠ»Π΅ΡΠ° ΠΊΠΎΡΠΎΠ±ΠΊΠΈ ΠΎΡΠ±ΠΎΡΠ° ΠΌΠΎΡΠ½ΠΎΡΡΠΈ β ΠΏΡΡΠΌΠΎΠ·ΡΠ±ΡΠ΅. Π£ΠΏΡΠ°Π²Π»Π΅Π½ΠΈΠ΅ ΠΊΠΎΡΠΎΠ±ΠΊΠΎΠΉ ΠΎΡΠ±ΠΎΡΠ° ΠΌΠΎΡΠ½ΠΎΡΡΠΈ ΠΎΡΡΡΠ΅ΡΡΠ²Π»ΡΠ΅ΡΡΡ ΡΠ΅ΡΠ΅Π· Π»ΡΠΊ Π² ΠΏΠΎΠ»Ρ ΠΊΠ°Π±ΠΈΠ½Ρ ΠΊΠ»ΡΡΠΎΠΌ S=46 ΠΈΠ· ΠΊΠΎΠΌΠΏΠ»Π΅ΠΊΡΠ° ΡΠΎΡΠ΅ΡΡΠΊΠΎΠ³ΠΎ ΠΈΠ½ΡΡΡΡΠΌΠ΅Π½ΡΠ°, ΠΏΡΠΈΠΌΠ΅Π½ΡΠ΅ΠΌΡΠΌ Π² ΠΊΠ°ΡΠ΅ΡΡΠ²Π΅ ΡΠ΄Π»ΠΈΠ½ΠΈΡΠ΅Π»Ρ ΡΡΡΠ°Π³Π° ΠΊΠΎΡΠΎΠ±ΠΊΠΈ ΠΎΡΠ±ΠΎΡΠ° ΠΌΠΎΡΠ½ΠΎΡΡΠΈ ΠΈ Π²ΡΡΠ°Π²Π»ΡΠ΅ΠΌΡΠΌ Π²ΠΎ Π²ΡΡΠ»ΠΊΡ Π½Π° ΡΡΡΠ°Π³Π΅
Π¨Π΅ΡΡΠ΅ΡΠ½Ρ Π²Π΅Π΄ΡΡΠ΅Π³ΠΎ Π±Π»ΠΎΠΊΠ° 16 ΠΊΠΎΡΠΎΠ±ΠΊΠΈ ΠΎΡΠ±ΠΎΡΠ° ΠΌΠΎΡΠ½ΠΎΡΡΠΈ Π½Π°Ρ ΠΎΠ΄ΠΈΡΡΡ Π² ΠΏΠΎΡΡΠΎΡΠ½Π½ΠΎΠΌ Π·Π°ΡΠ΅ΠΏΠ»Π΅Π½ΠΈΠΈ Ρ Π·ΡΠ±ΡΠ°ΡΡΠΌ ΠΊΠΎΠ»Π΅ΡΠΎΠΌ Π±Π»ΠΎΠΊΠ° Π·Π°Π΄Π½Π΅Π³ΠΎ Ρ ΠΎΠ΄Π° ΠΊΠΎΡΠΎΠ±ΠΊΠΈ ΠΏΠ΅ΡΠ΅Π΄Π°Ρ.
ΠΠ΅ΠΏΡΠ°Π²ΠΈΠ»ΡΠ½Π°Ρ ΡΡΡΠ°Π½ΠΎΠ²ΠΊΠ° ΠΊΠΎΡΠΎΠ±ΠΊΠΈ ΠΎΡΠ±ΠΎΡΠ° ΠΌΠΎΡΠ½ΠΎΡΡΠΈ ΡΠ²Π΅Π»ΠΈΡΠΈΠ²Π°Π΅Ρ ΡΡΠΌ Π·ΡΠ±ΡΠ°ΡΡΡ ΠΏΠ°Ρ ΠΈ ΠΏΡΠΈΠ²ΠΎΠ΄ΠΈΡ ΠΊ ΡΡΠΊΠΎΡΠ΅Π½Π½ΠΎΠΌΡ ΠΈΡ ΠΈΠ·Π½Π°ΡΠΈΠ²Π°Π½ΠΈΡ.
ΠΠ»Ρ ΠΏΡΠ°Π²ΠΈΠ»ΡΠ½ΠΎΠΉ ΡΡΡΠ°Π½ΠΎΠ²ΠΊΠΈ ΡΠ»Π΅Π΄ΡΠ΅Ρ Π³Π°ΠΉΠΊΠΈ ΡΠΏΠΈΠ»Π΅ΠΊ Π·Π°ΡΡΠ³ΠΈΠ²Π°ΡΡ ΡΠ°Π²Π½ΠΎΠΌΠ΅ΡΠ½ΠΎ ΠΊΡΠ΅ΡΡ- Π½Π°ΠΊΡΠ΅ΡΡ, ΠΎΠ΄Π½ΠΎΠ²ΡΠ΅ΠΌΠ΅Π½Π½ΠΎ ΠΏΡΠΎΠ²ΠΎΡΠ°ΡΠΈΠ²Π°Ρ Π²Π°Π» 10.
Π£ΠΏΠ»ΠΎΡΠ½ΠΈΡΠ΅Π»ΡΠ½Π°Ρ ΠΏΡΠΎΠΊΠ»Π°Π΄ΠΊΠ° 31 ΠΌΠ΅ΠΆΠ΄Ρ ΠΏΡΠΈΠ²Π°Π»ΠΎΡΠ½ΡΠΌΠΈ ΠΏΠ»ΠΎΡΠΊΠΎΡΡΡΠΌΠΈ ΡΠ»Π°Π½ΡΠ΅Π² ΠΊΠΎΡΠΎΠ±ΠΊΠΈ ΠΏΠ΅ΡΠ΅Π΄Π°Ρ ΠΈ ΠΊΠΎΡΠΎΠ±ΠΊΠΈ ΠΎΡΠ±ΠΎΡΠ° ΠΌΠΎΡΠ½ΠΎΡΡΠΈ Π΄ΠΎΠ»ΠΆΠ½Π° Π±ΡΡΡ ΡΠΎΠ»ΡΠΈΠ½ΠΎΠΉ 0,3β0,4 ΠΌΠΌ (ΠΈΡΠΏΠΎΠ»ΡΠ·ΡΠ΅ΡΡΡ ΠΏΡΠΎΠΊΠ»Π°Π΄ΠΊΠ° ΠΈΠ·-ΠΏΠΎΠ΄ ΠΊΡΡΡΠΊΠΈ Π»ΡΠΊΠ° ΠΊΠΎΡΠΎΠ±ΠΊΠΈ ΠΏΠ΅ΡΠ΅Π΄Π°Ρ).
ΠΡΠΈ ΠΏΡΠ°Π²ΠΈΠ»ΡΠ½ΠΎΠΉ ΡΡΡΠ°Π½ΠΎΠ²ΠΊΠ΅ ΠΊΠΎΡΠΎΠ±ΠΊΠΈ ΠΎΡΠ±ΠΎΡΠ° ΠΌΠΎΡΠ½ΠΎΡΡΠΈ Π²Π°Π» 10 ΠΏΡΠΎΠ²ΠΎΡΠ°ΡΠΈΠ²Π°Π΅ΡΡΡ ΡΠ²ΠΎΠ±ΠΎΠ΄Π½ΠΎ (Π±Π΅Π· Π·Π°Π΅Π΄Π°Π½ΠΈΡ Π·ΡΠ±ΡΠ°ΡΡΡ ΠΊΠΎΠ»Π΅Ρ) ΡΡΠΈΠ»ΠΈΠ΅ΠΌ ΡΡΠΊΠΈ, ΠΏΡΠΈΠ»ΠΎΠΆΠ΅Π½Π½ΡΠΌ ΠΊ Π²ΡΡ ΠΎΠ΄Π½ΠΎΠΌΡ ΠΊΠΎΠ½ΡΡ Π²Π°Π»Π°.
Π’Π΅Ρ Π½ΠΈΡΠ΅ΡΠΊΠΎΠ΅ ΠΎΠ±ΡΠ»ΡΠΆΠΈΠ²Π°Π½ΠΈΠ΅ ΠΊΠΎΡΠΎΠ±ΠΊΠΈ ΠΎΡΠ±ΠΎΡΠ° ΠΌΠΎΡΠ½ΠΎΡΡΠΈ ΡΠ°ΠΊΠΎΠ΅ ΠΆΠ΅, ΠΊΠ°ΠΊ ΠΈ ΠΊΠΎΡΠΎΠ±ΠΊΠΈ ΠΏΠ΅ΡΠ΅Π΄Π°Ρ. ΠΠΎΡΠ»Π΅ ΠΏΡΠΎΠ²Π΅Π΄Π΅Π½ΠΈΡ ΡΠ΅Ρ Π½ΠΈΡΠ΅ΡΠΊΠΎΠ³ΠΎ ΠΎΠ±ΡΠ»ΡΠΆΠΈΠ²Π°Π½ΠΈΡ ΠΊΠΎΡΠΎΠ±ΠΊΠΈ ΠΎΡΠ±ΠΎΡΠ° ΠΌΠΎΡΠ½ΠΎΡΡΠΈ ΠΈΠ»ΠΈ Π΅Π΅ Π·Π°ΠΌΠ΅Π½Ρ Π½Π΅ΠΎΠ±Ρ ΠΎΠ΄ΠΈΠΌΠΎ ΠΏΡΠΎΠ²Π΅ΡΠΈΡΡ Π½Π°Ρ ΠΎΠΆΠ΄Π΅Π½ΠΈΠ΅ ΡΡΡΠ°Π³Π° ΠΊΠΎΡΠΎΠ±ΠΊΠΈ ΠΎΡΠ±ΠΎΡΠ° ΠΌΠΎΡΠ½ΠΎΡΡΠΈ Π² Π½Π΅ΠΉΡΡΠ°Π»ΡΠ½ΠΎΠΌ ΠΏΠΎΠ»ΠΎΠΆΠ΅Π½ΠΈΠΈ. ΠΠ΅Π²ΡΠΏΠΎΠ»Π½Π΅Π½ΠΈΠ΅ ΡΡΠΎΠ³ΠΎ ΡΡΠ΅Π±ΠΎΠ²Π°Π½ΠΈΡ ΠΌΠΎΠΆΠ΅Ρ ΠΏΡΠΈΠ²Π΅ΡΡΠΈ ΠΊ ΠΎΠ±ΡΡΠ²Ρ ΡΡΠΎΡΠ° Π»Π΅Π±Π΅Π΄ΠΊΠΈ ΠΏΡΠΈ ΠΏΡΡΠΊΠ΅ Π΄Π²ΠΈΠ³Π°ΡΠ΅Π»Ρ.
Π£ΡΡΡΠΎΠΉΡΡΠ²ΠΎ ΠΊΠΎΡΠΎΠ±ΠΊΠΈ ΠΎΡΠ±ΠΎΡΠ° ΠΌΠΎΡΠ½ΠΎΡΡΠΈ ΠΎΡ ΡΠ°Π·Π΄Π°ΡΠΎΡΠ½ΠΎΠΉ ΠΊΠΎΡΠΎΠ±ΠΊΠΈ (ΠΠΠ-1)
ΠΠ΄Π½ΠΎΡΠΊΠΎΡΠΎΡΡΠ½ΡΡ ΠΊΠΎΡΠΎΠ±ΠΊΡ ΠΎΡΠ±ΠΎΡΠ° ΠΌΠΎΡΠ½ΠΎΡΡΠΈ (ΡΠΈΡ. 2) ΡΡΡΠ°Π½Π°Π²Π»ΠΈΠ²Π°ΡΡ Π½Π° Π²Π΅ΡΡ Π½ΠΈΠΉ Π»ΡΠΊ ΡΠ°Π·Π΄Π°ΡΠΎΡΠ½ΠΎΠΉ ΠΊΠΎΡΠΎΠ±ΠΊΠΈ. ΠΡΠΎ Π΄Π°Π΅Ρ Π²ΠΎΠ·ΠΌΠΎΠΆΠ½ΠΎΡΡΡ ΠΎΡΠ±ΠΎΡΠ° ΠΌΠΎΡΠ½ΠΎΡΡΠΈ ΠΎΡ ΡΡΠ°Π½ΡΠΌΠΈΡΡΠΈΠΈ Π΄Π»Ρ ΠΏΡΠΈΠ²ΠΎΠ΄Π° ΡΠ°Π·Π»ΠΈΡΠ½ΡΡ ΡΠΏΠ΅ΡΠΈΠ°Π»ΡΠ½ΡΡ Π°Π³ΡΠ΅Π³Π°ΡΠΎΠ², ΠΏΡΠΈΠΌΠ΅Π½ΡΠ΅ΠΌΡΡ ΠΏΠΎΡΡΠ΅Π±ΠΈΡΠ΅Π»Π΅ΠΌ ΠΏΡΠΈ ΠΈΡΠΏΠΎΠ»ΡΠ·ΠΎΠ²Π°Π½ΠΈΠΈ ΡΠ°ΡΡΠΈ Π°Π²ΡΠΎΠΌΠΎΠ±ΠΈΠ»Ρ Π² ΠΊΠ°ΡΠ΅ΡΡΠ²Π΅ ΡΡΠ°Π½ΡΠΏΠΎΡΡΠ½ΠΎΠΉ Π±Π°Π·Ρ. ΠΠ΄Π½ΠΎΡΠΊΠΎΡΠΎΡΡΠ½Π°Ρ ΠΊΠΎΡΠΎΠ±ΠΊΠ° ΠΎΡΠ±ΠΎΡΠ° ΠΌΠΎΡΠ½ΠΎΡΡΠΈ ΠΏΡΠ΅Π΄Π½Π°Π·Π½Π°ΡΠ΅Π½Π° Π΄Π»Ρ ΠΊΡΠ°ΡΠΊΠΎΠ²ΡΠ΅ΠΌΠ΅Π½Π½ΠΎΠΉ ΡΠ°Π±ΠΎΡΡ.
ΠΠ»ΠΈΡΠ΅Π»ΡΠ½ΠΎΡΡΡ Π½Π΅ΠΏΡΠ΅ΡΡΠ²Π½ΠΎΠΉ ΡΠ°Π±ΠΎΡΡ Π·Π°Π²ΠΈΡΠΈΡ ΠΎΡ ΡΠ°ΠΊΡΠΈΡΠ΅ΡΠΊΠΎΠΉ Π²Π΅Π»ΠΈΡΠΈΠ½Ρ ΠΎΡΠ±ΠΈΡΠ°Π΅ΠΌΠΎΠΉ ΠΌΠΎΡΠ½ΠΎΡΡΠΈ ΠΈ Π² ΠΊΠ°ΠΆΠ΄ΠΎΠΌ ΠΊΠΎΠ½ΠΊΡΠ΅ΡΠ½ΠΎΠΌ ΡΠ»ΡΡΠ°Π΅ ΠΏΡΠΎΠ²Π΅ΡΡΠ΅ΡΡΡ ΠΏΡΠ΅Π΄Π²Π°ΡΠΈΡΠ΅Π»ΡΠ½ΡΠΌΠΈ ΠΈΡΠΏΡΡΠ°Π½ΠΈΡΠΌΠΈ.
ΠΠ΅ΡΠ°Π»ΠΈ ΠΎΠ΄Π½ΠΎΡΠΊΠΎΡΠΎΡΡΠ½ΠΎΠΉ ΠΊΠΎΡΠΎΠ±ΠΊΠΈ ΠΎΡΠ±ΠΎΡΠ° ΠΌΠΎΡΠ½ΠΎΡΡΠΈ ΡΠΌΠΎΠ½ΡΠΈΡΠΎΠ²Π°Π½Ρ Π² Π»ΠΈΡΠΎΠΌ ΡΡΠ³ΡΠ½Π½ΠΎΠΌ ΠΊΠ°ΡΡΠ΅ΡΠ΅ 1 (ΡΠΌ. ΡΠΈΡ. 2).
ΠΠ»ΠΎΠΊ Π·ΡΠ±ΡΠ°ΡΡΡ ΠΊΠΎΠ»Π΅Ρ ΡΡΡΠ°Π½ΠΎΠ²Π»Π΅Π½ Π½Π° Π½Π΅ΠΏΠΎΠ΄Π²ΠΈΠΆΠ½ΠΎΠΉ ΠΎΡΠΈ 27 Π½Π° Π΄Π²ΡΡ ΡΠΎΠ»ΠΈΠΊΠΎΠ²ΡΡ ΠΏΠΎΠ΄ΡΠΈΠΏΠ½ΠΈΠΊΠ°Ρ 29, ΠΌΠ΅ΠΆΠ΄Ρ ΠΊΠΎΡΠΎΡΡΠΌΠΈ ΡΠ°ΡΠΏΠΎΠ»ΠΎΠΆΠ΅Π½ΠΎ ΡΠ°ΡΠΏΠΎΡΠ½ΠΎΠ΅ ΠΊΠΎΠ»ΡΡΠΎ 30.
ΠΡΡ Π·Π°ΠΏΡΠ΅ΡΡΠΎΠ²Π°Π½Π° Π² ΠΏΠ΅ΡΠ΅Π΄Π½ΡΡ ΠΈ Π·Π°Π΄Π½ΡΡ ΡΡΠ΅Π½ΠΊΠΈ ΠΊΠ°ΡΡΠ΅ΡΠ° ΠΈ Π·Π°ΡΡΠΎΠΏΠΎΡΠ΅Π½Π° ΠΏΠ»Π°ΡΡΠΈΠ½ΠΎΠΉ. ΠΠ° ΠΎΡΠΈ ΠΏΠΎ ΡΠΎΡΡΠ°ΠΌ ΡΡΡΠΏΠΈΡΡ Π±Π»ΠΎΠΊΠ° Π·ΡΠ±ΡΠ°ΡΡΡ ΠΊΠΎΠ»Π΅Ρ ΡΡΡΠ°Π½ΠΎΠ²Π»Π΅Π½Ρ ΠΎΠΏΠΎΡΠ½ΡΠ΅ ΡΠ°ΠΉΠ±Ρ 28, ΠΊΠΎΡΠΎΡΡΠ΅ ΠΏΡΠ΅Π΄ΠΎΡΠ²ΡΠ°ΡΠ°ΡΡ ΠΈΠ·Π½Π°ΡΠΈΠ²Π°Π½ΠΈΠ΅ ΠΎΠΏΠΎΡΠ½ΡΡ ΡΠΎΡΡΠΎΠ² ΠΊΠ°ΡΡΠ΅ΡΠ°. ΠΡΡ ΠΈΠΌΠ΅Π΅Ρ ΠΎΡΠ΅Π²ΠΎΠ΅ ΠΈ ΡΠ°Π΄ΠΈΠ°Π»ΡΠ½ΠΎΠ΅ ΠΎΡΠ²Π΅ΡΡΡΠΈΡ Π΄Π»Ρ ΠΏΠΎΠ΄Π²ΠΎΠ΄Π° ΠΌΠ°ΡΠ»Π° ΠΈΠ· ΠΊΠ°ΡΡΠ΅ΡΠ° ΠΊ ΡΠΎΠ»ΠΈΠΊΠΎΠ²ΡΠΌ ΠΏΠΎΠ΄ΡΠΈΠΏΠ½ΠΈΠΊΠ°ΠΌ. ΠΡΠ΅Π²ΠΎΠ΅ ΠΎΡΠ²Π΅ΡΡΡΠΈΠ΅ ΡΠ½Π°ΡΡΠΆΠΈ Π·Π°ΠΊΡΡΡΠΎ ΠΊΠΎΠ½ΠΈΡΠ΅ΡΠΊΠΎΠΉ ΠΏΡΠΎΠ±ΠΊΠΎΠΉ 26.
ΠΡΠΈ Π²ΠΊΠ»ΡΡΠ΅Π½ΠΈΠΈ ΠΊΠΎΡΠΎΠ±ΠΊΠΈ ΠΎΡΠ±ΠΎΡΠ° ΠΌΠΎΡΠ½ΠΎΡΡΠΈ ΡΠ΅ΡΡΠ΅ΡΠ½Ρ-ΠΊΠ°ΡΠ΅ΡΠΊΠ° 7, ΡΡΡΠ°Π½ΠΎΠ²Π»Π΅Π½Π½Π°Ρ ΠΏΠΎΠ΄Π²ΠΈΠΆΠ½ΠΎ Π½Π° ΡΠ»ΠΈΡΠ°Ρ Π²Π°Π»Π° 5, Π²Ρ ΠΎΠ΄ΠΈΡ Π² Π·Π°ΡΠ΅ΠΏΠ»Π΅Π½ΠΈΠ΅ Ρ ΡΠ΅ΡΡΠ΅ΡΠ½Π΅ΠΉ 25.
ΠΠ»Ρ ΠΏΡΠ΅Π΄ΠΎΡΠ²ΡΠ°ΡΠ΅Π½ΠΈΡ ΡΠ°ΠΌΠΎΠ²ΡΠΊΠ»ΡΡΠ΅Π½ΠΈΡ Π²ΡΠΎΡΠΈΡΠ½ΡΠΉ Π²Π°Π» ΠΈΠΌΠ΅Π΅Ρ ΡΠ»ΠΈΡ-Π·Π°ΠΌΠΎΠΊ. ΠΠ΅ΠΆΠ΄Ρ ΡΠ»ΠΈΡΠ΅Π²ΠΎΠΉ ΡΠ°ΡΡΡΡ Π²Π°Π»Π° ΠΈ ΠΏΠ΅ΡΠ΅Π΄Π½ΠΈΠΌ ΠΏΠΎΠ΄ΡΠΈΠΏΠ½ΠΈΠΊΠΎΠΌ 6 ΡΡΡΠ°Π½ΠΎΠ²Π»Π΅Π½Π° ΡΠ°ΡΠΏΠΎΡΠ½Π°Ρ Π²ΡΡΠ»ΠΊΠ° 2. ΠΠΎΠ΄ΡΠΈΠΏΠ½ΠΈΠΊ ΠΈ ΡΠ°ΡΠΏΠΎΡΠ½Π°Ρ Π²ΡΡΠ»ΠΊΠ° Π·Π°ΡΡΠ½ΡΡΡ Π³Π°ΠΉΠΊΠΎΠΉ 3.
Π‘ΡΠΎΠΏΠΎΡΠ΅Π½ΠΈΠ΅ Π³Π°ΠΉΠΊΠΈ ΠΎΡΡΡΠ΅ΡΡΠ²Π»ΡΠ΅ΡΡΡ Π²Π΄Π°Π²Π»ΠΈΠ²Π°Π½ΠΈΠ΅ΠΌ ΡΠΎΠ½ΠΊΠΎΠ³ΠΎ ΠΊΡΠ°Ρ Π³Π°ΠΉΠΊΠΈ Π² ΠΏΠ°Π· Π²Π°Π»Π° 5. ΠΠ°Π» Π²ΡΠ°ΡΠ°Π΅ΡΡΡ Π½Π° Π΄Π²ΡΡ ΡΠ°ΡΠΈΠΊΠΎΠ²ΡΡ ΠΏΠΎΠ΄ΡΠΈΠΏΠ½ΠΈΠΊΠ°Ρ 6 ΠΈ 23, Π½Π°ΡΡΠΆΠ½ΡΠ΅ ΠΊΠΎΠ»ΡΡΠ° ΠΊΠΎΡΠΎΡΡΡ ΡΡΡΠ°Π½ΠΎΠ²Π»Π΅Π½Ρ Π² Π³Π½Π΅Π·Π΄Π°Ρ ΠΊΠ°ΡΡΠ΅ΡΠ°, Π° Π²Π½ΡΡΡΠ΅Π½Π½ΠΈΠ΅ β Π½Π°ΠΏΡΠ΅ΡΡΠΎΠ²Π°Π½Ρ Π½Π° ΡΠ΅ΠΉΠΊΠΈ Π²Π°Π»Π°. Π ΠΎΡΠ΅Π²ΠΎΠΌ Π½Π°ΠΏΡΠ°Π²Π»Π΅Π½ΠΈΠΈ Π²ΡΠΎΡΠΈΡΠ½ΡΠΉ Π²Π°Π» ΡΠΈΠΊΡΠΈΡΡΠ΅ΡΡΡ ΠΊΡΡΡΠΊΠ°ΠΌΠΈ ΠΏΠΎΠ΄ΡΠΈΠΏΠ½ΠΈΠΊΠΎΠ² 4 ΠΈ 18. Π ΠΊΡΡΡΠΊΡ 18 ΡΡΡΠ°Π½ΠΎΠ²Π»Π΅Π½Π° ΠΌΠ°Π½ΠΆΠ΅ΡΠ°, ΠΏΡΠ΅Π΄ΠΎΡ ΡΠ°Π½ΡΡΡΠ°Ρ ΠΊΠΎΡΠΎΠ±ΠΊΡ ΠΎΡ ΠΏΠΎΠΏΠ°Π΄Π°Π½ΠΈΡ Π³ΡΡΠ·ΠΈ ΠΈ ΡΠ΅ΡΠΈ ΠΌΠ°ΡΠ»Π°. ΠΠ° ΡΠ»ΠΈΡΠ΅Π²ΠΎΠΌ ΠΊΠΎΠ½ΡΠ΅ Π²Π°Π»Π° 5 ΡΡΡΠ°Π½ΠΎΠ²Π»Π΅Π½ ΡΠ»Π°Π½Π΅Ρ 19 ΠΊΡΠ΅ΠΏΠ»Π΅Π½ΠΈΡ ΠΊΠ°ΡΠ΄Π°Π½Π½ΠΎΠ³ΠΎ Π²Π°Π»Π°. Π€Π»Π°Π½Π΅Ρ Π·Π°ΠΊΡΠ΅ΠΏΠ»Π΅Π½ Π³Π°ΠΉΠΊΠΎΠΉ 20, ΠΊΠΎΡΠΎΡΡΡ ΡΡΠΎΠΏΠΎΡΡΡ ΡΠ°ΠΊ ΠΆΠ΅, ΠΊΠ°ΠΊ Π³Π°ΠΉΠΊΡ 3.
ΠΠΊΠ»ΡΡΠ΅Π½ΠΈΠ΅ ΠΊΠΎΡΠΎΠ±ΠΊΠΈ ΠΎΡΠ±ΠΎΡΠ° ΠΌΠΎΡΠ½ΠΎΡΡΠΈ ΠΎΡΡΡΠ΅ΡΡΠ²Π»ΡΠ΅ΡΡΡ Π²ΠΈΠ»ΠΊΠΎΠΉ 31. ΠΠΈΠ»ΠΊΠ° Π·Π°ΠΊΡΠ΅ΠΏΠ»Π΅Π½Π° Π½Π΅ΠΏΠΎΠ΄Π²ΠΈΠΆΠ½ΠΎ Π½Π° ΡΡΠΎΠΊΠ΅ 15 Π±ΠΎΠ»ΡΠΎΠΌ 33, ΠΊΠΎΡΠΎΡΡΠΉ Π·Π°ΡΡΠΎΠΏΠΎΡΠ΅Π½ ΠΏΡΠΎΠ²ΠΎΠ»ΠΎΠΊΠΎΠΉ. Π ΠΏΠ΅ΡΠ΅Π΄Π½Π΅ΠΉ ΡΡΠ΅Π½ΠΊΠ΅ ΠΊΠ°ΡΡΠ΅ΡΠ° ΠΈΠΌΠ΅Π΅ΡΡΡ ΠΎΡΠ²Π΅ΡΡΡΠΈΠ΅, Π² ΠΊΠΎΡΠΎΡΠΎΠΌ ΠΏΠ΅ΡΠ΅ΠΌΠ΅ΡΠ°Π΅ΡΡΡ ΡΡΠΎΠΊ 15. ΠΡΠΎ ΠΎΡΠ²Π΅ΡΡΡΠΈΠ΅ Π·Π°ΠΊΡΡΡΠΎ Π·Π°Π³Π»ΡΡΠΊΠΎΠΉ 8.
ΠΠ΅ΡΡ Π½ΠΈΠΉ Π»ΡΠΊ ΠΊΠΎΡΠΎΠ±ΠΊΠΈ ΠΎΡΠ±ΠΎΡΠ° ΠΌΠΎΡΠ½ΠΎΡΡΠΈ Π·Π°ΠΊΡΡΡ ΠΊΡΡΡΠΊΠΎΠΉ. ΠΠ° ΠΊΡΡΡΠΊΠ΅ ΡΡΡΠ°Π½ΠΎΠ²Π»Π΅Π½ ΡΡΡΡΠ΅Ρ 32, ΡΠΎΠ΅Π΄ΠΈΠ½Π΅Π½Π½ΡΠΉ ΡΠ΅Π·ΠΈΠ½ΠΎΠ²ΡΠΌ ΡΠ»Π°Π½Π³ΠΎΠΌ Ρ Π²Π΅Π½ΡΠΈΠ»ΡΡΠΈΠΎΠ½Π½ΠΎΠΉ ΡΡΡΠ±ΠΊΠΎΠΉ, Π·Π°ΠΊΡΠ΅ΠΏΠ»Π΅Π½Π½ΠΎΠΉ Π½Π° Π·Π°Π΄Π½Π΅ΠΉ ΡΡΠ΅Π½ΠΊΠ΅ ΠΊΠ°Π±ΠΈΠ½Ρ. Π¨ΡΡΡΠ΅Ρ Π·Π°ΡΠΈΡΠ΅Π½ ΠΎΡ ΠΏΡΡΠΌΠΎΠ³ΠΎ ΠΏΠΎΠΏΠ°Π΄Π°Π½ΠΈΡ ΠΌΠ°ΡΠ»Π° ΡΠΈΡΠΊΠΎΠΌ 10.
ΠΠ»Π΅ΠΊΡΡΠΎΠΏΠ½Π΅Π²ΠΌΠ°ΡΠΈΡΠ΅ΡΠΊΠΎΠ΅ ΡΠΏΡΠ°Π²Π»Π΅Π½ΠΈΠ΅ ΠΎΡΡΡΠ΅ΡΡΠ²Π»ΡΠ΅ΡΡΡ ΠΊΠ½ΠΎΠΏΠΊΠΎΠΉ, ΡΡΡΠ°Π½ΠΎΠ²Π»Π΅Π½Π½ΠΎΠΉ Π½Π° ΠΏΠ°Π½Π΅Π»ΠΈ ΠΏΡΠΈΠ±ΠΎΡΠΎΠ² Π² ΠΊΠ°Π±ΠΈΠ½Π΅. ΠΠ½ΠΎΠΏΠΊΠ° ΡΠ°Π·ΠΌΡΠΊΠ°Π΅Ρ ΠΈ Π·Π°ΠΌΡΠΊΠ°Π΅Ρ ΡΠ»Π΅ΠΊΡΡΠΈΡΠ΅ΡΠΊΡΡ ΡΠ΅ΠΏΡ ΡΠΏΡΠ°Π²Π»Π΅Π½ΠΈΡ ΡΠ΅Π»Π΅ ΡΠ»Π΅ΠΊΡΡΠΎΠΌΠ°Π³Π½ΠΈΡΠ° ΠΏΡΠΈΠ²ΠΎΠ΄Π° Π²ΠΎΠ·Π΄ΡΡΠ½ΠΎΠ³ΠΎ ΠΊΠ»Π°ΠΏΠ°Π½Π°.
Π Π΅Π»Π΅ ΡΡΡΠ°Π½ΠΎΠ²Π»Π΅Π½ΠΎ Π½Π° ΡΠΈΡΠ΅ Π΄Π²ΠΈΠ³Π°ΡΠ΅Π»Ρ Π² ΠΏΠΎΠ΄ΠΊΠ°ΠΏΠΎΡΠ½ΠΎΠΌ ΠΏΡΠΎΡΡΡΠ°Π½ΡΡΠ²Π΅ Π½Π°Π΄ ΡΠ΅Π»Π΅ Π²ΠΊΠ»ΡΡΠ΅Π½ΠΈΡ ΡΠ»Π΅ΠΊΡΡΠΎΠΌΠ°Π³Π½ΠΈΡΠ° ΠΏΠ΅ΡΠ΅Π΄Π½Π΅Π³ΠΎ ΠΌΠΎΡΡΠ°.
ΠΡΠΈ Π²ΠΊΠ»ΡΡΠ΅Π½ΠΈΠΈ ΠΊΠΎΡΠΎΠ±ΠΊΠΈ ΠΎΡΠ±ΠΎΡΠ° ΠΌΠΎΡΠ½ΠΎΡΡΠΈ Π²ΡΠΊΠ»ΡΡΠ°ΡΠ΅Π»Π΅ΠΌ ΡΠ΅Π»Π΅ ΡΡΠ°Π±Π°ΡΡΠ²Π°Π΅Ρ ΠΈ Π·Π°ΠΌΡΠΊΠ°Π΅Ρ ΡΠ΅ΠΏΡ ΡΠ»Π΅ΠΊΡΡΠΎΡΠ½Π°Π±ΠΆΠ΅Π½ΠΈΡ ΡΠ»Π΅ΠΊΡΡΠΎΠΌΠ°Π³Π½ΠΈΡΠ°.
Π‘Π΅ΡΠ΄Π΅ΡΠ½ΠΈΠΊ ΡΠ»Π΅ΠΊΡΡΠΎΠΌΠ°Π³Π½ΠΈΡΠ°, ΠΏΠ΅ΡΠ΅ΠΌΠ΅ΡΠ°ΡΡΡ Π²Π½ΠΈΠ·, Π΄Π°Π²ΠΈΡ Π½Π° ΡΡΠΎΠΊ Π²ΠΊΠ»ΡΡΠ΅Π½ΠΈΡ Π²ΠΎΠ·Π΄ΡΡΠ½ΠΎΠ³ΠΎ ΠΊΠ»Π°ΠΏΠ°Π½Π° ΠΈ ΠΎΡΠΊΡΡΠ²Π°Π΅Ρ Π΅Π³ΠΎ.
ΠΠΎΠ·Π΄ΡΡ ΡΠ΅ΡΠ΅Π· Π²ΠΏΡΡΠΊΠ½ΠΎΠΉ ΠΊΠ»Π°ΠΏΠ°Π½ ΠΏΠΎΡΡΡΠΏΠ°Π΅Ρ Π² ΠΊΠ°ΠΌΠ΅ΡΡ Π²ΠΊΠ»ΡΡΠ΅Π½ΠΈΡ ΠΈ, Π²ΠΎΠ·Π΄Π΅ΠΉΡΡΠ²ΡΡ Π½Π° ΠΌΠ΅ΠΌΠ±ΡΠ°Π½Ρ 13, ΠΏΠ΅ΡΠ΅ΠΌΠ΅ΡΠ°Π΅Ρ ΡΡΠΎΠΊ 15, ΡΠΎΠ΅Π΄ΠΈΠ½Π΅Π½Π½ΡΠΉ Ρ Π²ΠΈΠ»ΠΊΠΎΠΉ Π²ΠΊΠ»ΡΡΠ΅Π½ΠΈΡ ΠΊΠΎΡΠΎΠ±ΠΊΠΈ ΠΎΡΠ±ΠΎΡΠ° ΠΌΠΎΡΠ½ΠΎΡΡΠΈ.
ΠΠ° ΠΊΠΎΡΠΏΡΡΠ΅ ΠΊΠ°ΠΌΠ΅ΡΡ Π²ΠΊΠ»ΡΡΠ΅Π½ΠΈΡ ΡΡΡΠ°Π½ΠΎΠ²Π»Π΅Π½ Π²ΡΠΊΠ»ΡΡΠ°ΡΠ΅Π»Ρ 11 ΡΠΈΠ³Π½Π°Π»ΠΈΠ·Π°ΡΠΎΡΠ° Π²ΡΠΊΠ»ΡΡΠ΅Π½ΠΈΡ ΠΊΠΎΡΠΎΠ±ΠΊΠΈ ΠΎΡΠ±ΠΎΡΠ° ΠΌΠΎΡΠ½ΠΎΡΡΠΈ.
ΠΡΠΈ ΠΏΠ΅ΡΠ΅ΠΌΠ΅ΡΠ΅Π½ΠΈΠΈ ΡΡΠΎΠΊΠ° ΠΊΠΎΠ½ΡΠ°ΠΊΡΡ Π²ΡΠΊΠ»ΡΡΠ°ΡΠ΅Π»Ρ Π·Π°ΠΌΡΠΊΠ°ΡΡΡΡ, ΠΈ Π·Π°Π³ΠΎΡΠ°Π΅ΡΡΡ ΡΠΈΠ³Π½Π°Π»ΠΈΠ·Π°ΡΠΎΡ ΠΊΡΠ°ΡΠ½ΠΎΠ³ΠΎ ΡΠ²Π΅ΡΠ°.
ΠΡΠΈ Π²ΡΠΊΠ»ΡΡΠ΅Π½ΠΈΠΈ ΠΊΠΎΡΠΎΠ±ΠΊΠΈ ΠΎΡΠ±ΠΎΡΠ° ΠΌΠΎΡΠ½ΠΎΡΡΠΈ ΡΠ°Π·ΠΌΡΠΊΠ°Π΅ΡΡΡ ΡΠ΅ΠΏΡ ΡΠ»Π΅ΠΊΡΡΠΎΡΠ½Π°Π±ΠΆΠ΅Π½ΠΈΡ ΡΠ»Π΅ΠΊΡΡΠΎΠΌΠ°Π³Π½ΠΈΡΠ°, Π²ΠΎΠ·Π΄ΡΡΠ½ΡΠΉ ΠΊΠ»Π°ΠΏΠ°Π½ Π·Π°ΠΊΡΡΠ²Π°Π΅ΡΡΡ, Π²ΠΎΠ·Π²ΡΠ°ΡΠ½Π°Ρ ΠΏΡΡΠΆΠΈΠ½Π° ΠΌΠ΅ΠΌΠ±ΡΠ°Π½Π½ΠΎΠΉ ΠΊΠ°ΠΌΠ΅ΡΡ ΠΏΠ΅ΡΠ΅ΠΌΠ΅ΡΠ°Π΅Ρ ΡΡΠΎΠΊ Ρ Π²ΠΈΠ»ΠΊΠΎΠΉ Π² ΠΈΡΡ ΠΎΠ΄Π½ΠΎΠ΅ ΠΏΠΎΠ»ΠΎΠΆΠ΅Π½ΠΈΠ΅.
Π¨Π΅ΡΡΠ΅ΡΠ½Ρ-ΠΊΠ°ΡΠ΅ΡΠΊΠ° 7 Π²ΡΡ ΠΎΠ΄ΠΈΡ ΠΈΠ· Π·Π°ΡΠ΅ΠΏΠ»Π΅Π½ΠΈΡ, ΠΈ ΠΊΠΎΡΠΎΠ±ΠΊΠ° ΠΎΡΠ±ΠΎΡΠ° ΠΌΠΎΡΠ½ΠΎΡΡΠΈ Π²ΡΠΊΠ»ΡΡΠ°Π΅ΡΡΡ, ΠΏΡΠΈ ΡΡΠΎΠΌ ΠΊΠΎΠ½ΡΠ°ΠΊΡΡ Π²ΡΠΊΠ»ΡΡΠ°ΡΠ΅Π»Ρ ΡΠΈΠ³Π½Π°Π»ΠΈΠ·Π°ΡΠΎΡΠ° ΡΠ°Π·ΠΌΡΠΊΠ°ΡΡΡΡ ΠΈ ΡΠΈΠ³Π½Π°Π»ΠΈΠ·Π°ΡΠΎΡ Π³Π°ΡΠ½Π΅Ρ.
Π’Π΅Ρ Π½ΠΈΡΠ΅ΡΠΊΠΎΠ΅ ΠΎΠ±ΡΠ»ΡΠΆΠΈΠ²Π°Π½ΠΈΠ΅ ΠΎΠ΄Π½ΠΎΡΠΊΠΎΡΠΎΡΡΠ½ΠΎΠΉ ΠΊΠΎΡΠΎΠ±ΠΊΠΈ ΠΎΡΠ±ΠΎΡΠ° ΠΌΠΎΡΠ½ΠΎΡΡΠΈ ΡΠ°ΠΊΠΎΠ΅ ΠΆΠ΅, ΠΊΠ°ΠΊ ΠΈ ΡΠ°Π·Π΄Π°ΡΠΎΡΠ½ΠΎΠΉ ΠΊΠΎΡΠΎΠ±ΠΊΠΈ.
autoruk.ru
ΠΡΠΎΠ±Π΅Π½Π½ΠΎΡΡΠΈ ΡΠΎΡΠΌΠΎΠ·Π½ΡΡ ΡΠΈΡΡΠ΅ΠΌ Π°Π²ΡΠΎΠΌΠΎΠ±ΠΈΠ»Ρ ΠΠΈΠ-131
ΠΡΠΎΠ±Π΅Π½Π½ΠΎΡΡΠΈ ΡΠΎΡΠΌΠΎΠ·Π½ΡΡ ΡΠΈΡΡΠ΅ΠΌ Π°Π²ΡΠΎΠΌΠΎΠ±ΠΈΠ»Ρ ΠΠΈΠ-131 ο»ΏΠΠ²ΡΠΎΠΌΠΎΠ±ΠΈΠ»Ρ ΠΠΈΠ-131 ΠΎΠ±ΠΎΡΡΠ΄ΠΎΠ²Π°Π½ ΡΠ°Π±ΠΎΡΠ΅ΠΉ ΠΈ ΡΡΠΎΡΠ½ΠΎΡΠ½ΠΎΠΉ ΡΠΎΡΠΌΠΎΠ·Π½ΡΠΌΠΈ ΡΠΈΡΡΠ΅ΠΌΠ°ΠΌΠΈ.
Π’ΠΎΡΠΌΠΎΠ·Π½ΠΎΠΉ ΠΌΠ΅Ρ Π°Π½ΠΈΠ·ΠΌ (ΡΠΈΡ. 171) ΡΠ°Π±ΠΎΡΠΈΠΉ ΡΠΎΡΠΌΠΎΠ·Π½ΠΎΠΉ ΡΠΈΡΡΠ΅ΠΌΡ ΠΈΠΌΠ΅Π΅Ρ ΡΠ°ΠΊΠΎΠ΅ ΠΆΠ΅ ΡΡΡΡΠΎΠΉΡΡΠ²ΠΎ, ΠΊΠ°ΠΊ ΠΈ Π°Π½Π°Π»ΠΎΠ³ΠΈΡΠ½ΡΠΉ ΠΌΠ΅Ρ Π°Π½ΠΈΠ·ΠΌ Π°Π²ΡΠΎΠΌΠΎΠ±ΠΈΠ»Ρ ΠΠ°ΠΌΠΠ-4310. ΠΡΠ»ΠΈΡΠΈΠ΅ ΡΠΎΡΡΠΎΠΈΡ Π² ΡΠ»Π΅Π΄ΡΡΡΠ΅ΠΌ: ΠΊΠΎΠ»ΠΎΠ΄ΠΊΠΈ Π»ΠΈΡΡΠ΅ ΡΡΠ³ΡΠ½Π½ΡΠ΅, ΡΠ°Π·ΠΆΠΈΠΌΠ½ΠΎΠΉ ΠΊΡΠ»Π°ΠΊ ΠΈΠΌΠ΅Π΅Ρ ΡΠΏΠ΅ΡΠΈΠ°Π»ΡΠ½ΡΠΉ ΠΏΡΠΎΡΠΈΠ»Ρ, ΡΡΡΠΆΠ½Π°Ρ ΠΏΡΡΠΆΠΈΠ½Π° ΠΎΠ΄Π½Π°, Π»ΡΠΊ Π΄Π»Ρ ΠΏΡΠΎΠ²Π΅ΡΠΊΠΈ Π·Π°Π·ΠΎΡΠΎΠ² Π² ΠΌΠ΅Ρ Π°Π½ΠΈΠ·ΠΌΠ΅ Π²ΡΠΏΠΎΠ»Π½Π΅Π½ Π² ΡΠΎΡΠΌΠΎΠ·Π½ΠΎΠΌ Π±Π°ΡΠ°Π±Π°Π½Π΅.
ΠΡΠΈΠ²ΠΎΠ΄ ΡΠ°Π±ΠΎΡΠ΅ΠΉ ΡΠΎΡΠΌΠΎΠ·Π½ΠΎΠΉ ΡΠΈΡΡΠ΅ΠΌΡ ΠΏΠ½Π΅Π²ΠΌΠ°ΡΠΈΡΠ΅ΡΠΊΠΈΠΉ ΠΈ Π²ΠΊΠ»ΡΡΠ°Π΅Ρ Π² ΡΠ΅Π±Ρ ΠΊΠΎΠΌΠΏΡΠ΅ΡΡΠΎΡ Ρ ΡΠ΅Π³ΡΠ»ΡΡΠΎΡΠΎΠΌ Π΄Π°Π²Π»Π΅Π½ΠΈΡ, ΡΡΠΈ Π²ΠΎΠ·Π΄ΡΡΠ½ΡΡ Π±Π°Π»Π»ΠΎΠ½Π°, ΡΠΎΡΠΌΠΎΠ·Π½ΠΎΠΉ ΠΊΡΠ°Π½, ΡΠ΅ΡΡΡ ΡΠΎΡΠΌΠΎΠ·Π½ΡΡ ΠΊΠ°ΠΌΠ΅Ρ, ΡΠ°Π·ΠΎΠ±ΡΠΈΡΠ΅Π»ΡΠ½ΡΠΉ ΠΊΡΠ°Π½, ΡΠΎΠ΅Π΄ΠΈΠ½ΠΈΡΠ΅Π»ΡΠ½ΡΡ Π³ΠΎΠ»ΠΎΠ²ΠΊΡ, ΡΡΡΠ±ΠΎΠΏΡΠΎΠ²ΠΎΠ΄Ρ ΠΈ ΡΠ»Π°Π½Π³ΠΈ.

Π ΠΈΡ.171. Π’ΠΎΡΠΌΠΎΠ·Π½ΠΎΠΉ ΠΌΠ΅Ρ Π°Π½ΠΈΠ·ΠΌ Π°Π²ΡΠΎΠΌΠΎΠ±ΠΈΠ»Ρ ΠΠΠ-131: 1 -ΠΎΠΏΠΎΡΠ½ΡΠΉ Π΄ΠΈΡΠΊ; 2 — ΠΊΠΎΠ»ΠΎΠ΄ΠΊΠ° ΡΠΎΡΠΌΠΎΠ·Π°; 3 — ΡΠΎΡΠΌΠΎΠ·Π½ΠΎΠΉ Π±Π°ΡΠ°Π±Π°Π½; 4 — Π²Π°Π» ΡΠ°Π·ΠΆΠΈΠΌΠ½ΠΎΠ³ΠΎ ΠΊΡΠ»Π°ΠΊΠ°; 5 — ΠΏΡΠΎΠ±ΠΊΠ° ΠΎΡΠ²Π΅ΡΡΡΠΈΡ Π΄Π»Ρ ΡΠΌΠ°Π·ΠΊΠΈ; 6 -ΡΠ΅ΡΠ²ΡΡΠ½Π°Ρ ΡΠ΅ΡΡΠ΅ΡΠ½Ρ; 7 — ΡΠ΅ΡΠ²ΡΠΊ; 8 — ΡΡΡΠ°Π³; 9 — ΡΡΠΎΠΊ ΡΠΎΡΠΌΠΎΠ·Π½ΠΎΠΉ ΠΊΠ°ΠΌΠ΅ΡΡ; 10 — ΠΊΠΎΡΠΏΡΡ; 11 — ΠΊΡΡΡΠΊΠ°; 1 — Π΄ΠΈΠ°ΡΡΠ°Π³ΠΌΠ°; 13 -ΠΏΡΡΠΆΠΈΠ½Π°; 14- ΠΊΡΠΎΠ½ΡΡΠ΅ΠΉΠ½ ΡΠΎΡΠΌΠΎΠ·Π½ΠΎΠΉ ΠΊΠ°ΠΌΠ΅ΡΡ; 15 — ΠΊΡΡΡΠΊΠ°; 16 — ΠΊΡΠΎΠ½ΡΡΠ΅ΠΉΠ½: ΠΎΡΠ΅ΠΉ ΠΊΠΎΠ»ΠΎΠ΄ΠΎΠΊ; 17 — ΡΠΊΡΡΠ΅Π½ΡΡΠΈΠΊΠΎΠ²ΡΠ΅ ΠΎΡΠΈ ΠΊΠΎΠ»ΠΎΠ΄ΠΎΠΊ.
ΠΠΎΠΌΠΏΡΠ΅ΡΡΠΎΡ ΠΏΠΎ ΡΡΡΡΠΎΠΉΡΡΠ²Ρ ΡΠ°ΠΊΠΎΠΉ ΠΆΠ΅, ΠΊΠ°ΠΊ Π½Π° Π°Π²ΡΠΎΠΌΠΎΠ±ΠΈΠ»Π΅ ΠΠ°ΠΌΠΠ-4310, ΠΎΡΠ»ΠΈΡΠΈΠ΅ ΡΠΎΡΡΠΎΠΈΡ Π² ΠΏΡΠΈΠ²ΠΎΠ΄Π΅ ΠΈ Π½Π°Π»ΠΈΡΠΈΠΈ ΡΠ°Π·Π³ΡΡΠ·ΠΎΡΠ½ΠΎΠ³ΠΎ ΡΡΡΡΠΎΠΉΡΡΠ²Π°. ΠΠΎΠΌΠΏΡΠ΅ΡΡΠΎΡ Π·Π°ΠΊΡΠ΅ΠΏΠ»Π΅Π½ Π½Π° Π»Π΅Π²ΠΎΠΉ Π³ΠΎΠ»ΠΎΠ²ΠΊΠ΅ Π±Π»ΠΎΠΊΠ° ΠΈ ΠΏΡΠΈΠ²ΠΎΠ΄ΠΈΡΡΡ Π² Π΄Π΅ΠΉΡΡΠ²ΠΈΠ΅ ΡΠ΅ΠΌΠ½Π΅ΠΌ ΠΎΡ ΡΠΊΠΈΠ²Π° ΠΊΠΎΠ»Π΅Π½ΡΠ°ΡΠΎΠ³ΠΎ Π²Π°Π»Π° Π΄Π²ΠΈΠ³Π°ΡΠ΅Π»Ρ. ΠΠ°ΡΡΠΆΠ΅Π½ΠΈΠ΅ ΡΠ΅ΠΌΠ½Ρ ΠΏΡΠΈΠ²ΠΎΠ΄Π° ΠΏΡΠΎΠΈΠ·Π²ΠΎΠ΄ΠΈΡΡΡ ΠΏΠ΅ΡΠ΅ΠΌΠ΅ΡΠ΅Π½ΠΈΠ΅ΠΌ ΡΠ°ΠΌΠΎΠ³ΠΎ ΠΊΠΎΠΌΠΏΡΠ΅ΡΡΠΎΡΠ° ΠΎΡΠ½ΠΎΡΠΈΡΠ΅Π»ΡΠ½ΠΎ ΠΎΠΏΠΎΡΠ½ΠΎΠ³ΠΎ ΠΊΡΠΎΠ½ΡΡΠ΅ΠΉΠ½Π° Ρ ΠΏΠΎΠΌΠΎΡΡΡ ΡΠ΅Π³ΡΠ»ΠΈΡΠΎΠ²ΠΎΡΠ½ΠΎΠ³ΠΎ Π²ΠΈΠ½ΡΠ°. ΠΡΠΎΠ³ΠΈΠ± ΡΠ΅ΠΌΠ½Ρ ΠΎΡ ΡΡΠΈΠ»ΠΈΡ 40Π Π΄ΠΎΠ»ΠΆΠ΅Π½ Π±ΡΡΡ 5… 8 ΠΌΠΌ. Π Π°Π·Π³ΡΡΠ·ΠΎΡΠ½ΠΎΠ΅ ΡΡΡΡΠΎΠΉΡΡΠ²ΠΎ, ΡΠ°ΡΠΏΠΎΠ»ΠΎΠΆΠ΅Π½Π½ΠΎΠ΅ Π² Π±Π»ΠΎΠΊΠ΅ ΡΠΈΠ»ΠΈΠ½Π΄ΡΠΎΠ², ΠΎΡΠΊΡΡΠ²Π°Π΅Ρ ΠΎΠ΄Π½ΠΎΠ²ΡΠ΅ΠΌΠ΅Π½Π½ΠΎ Π΄Π²Π° Π²ΠΏΡΡΠΊΠ½ΡΡ ΠΊΠ»Π°ΠΏΠ°Π½Π° ΠΈ ΡΠ΅ΠΌ ΡΠ°ΠΌΡΠΌ ΠΏΠ΅ΡΠ΅Π²ΠΎΠ΄ΠΈΡ ΠΊΠΎΠΌΠΏΡΠ΅ΡΡΠΎΡ Π½Π° Ρ ΠΎΠ»ΠΎΡΡΠΎΠΉ Ρ ΠΎΠ΄.
Π ΠΈΡ.172. Π Π΅Π³ΡΠ»ΡΡΠΎΡ ΠΈ ΠΏΡΠ΅Π΄ΠΎΡ ΡΠ°Π½ΠΈΡΠ΅Π»ΡΠ½ΡΠΉ ΠΊΠ»Π°ΠΏΠ°Π½ Π°Π²ΡΠΎΠΌΠΎΠ±ΠΈΠ»Ρ ΠΠΠ-131: Π° — ΡΠ΅Π³ΡΠ»ΡΡΠΎΡ Π΄Π°Π²Π»Π΅Π½ΠΈΡ; Π± — ΠΏΡΠ΅Π΄ΠΎΡ ΡΠ°Π½ΠΈΡΠ΅Π»ΡΠ½ΡΠΉ ΠΊΠ»Π°ΠΏΠ°Π½: 1 — ΠΊΠΎΠΆΡΡ ; 2, 17 — ΠΏΡΡΠΆΠΈΠ½Ρ; 3 — ΠΊΠΎΠ»ΠΏΠ°ΠΊ; 4 — ΡΡΠΎΠΊ; 3 — ΡΠ΅Π΄Π»ΠΎ Π²ΡΠΏΡΡΠΊΠ½ΠΎΠ³ΠΎ ΠΊΠ»Π°ΠΏΠ°Π½Π°; 6 — ΡΠ΅ΡΡΠ°ΡΡΠΉ ΡΠΈΠ»ΡΡΡ; 7 — ΠΌΠ΅ΡΠ°Π»Π»ΠΎΠΊΠ΅ΡΠ°ΠΌΠΈΡΠ΅ΡΠΊΠΈΠΉ ΡΠΈΠ»ΡΡΡ; 8 -ΠΊΠΎΡΠΏΡΡ ΡΠ΅Π³ΡΠ»ΡΡΠΎΡΠ°; 9 — ΠΏΡΠΎΠ±ΠΊΠ°; 10 — Π²ΠΏΡΡΠΊΠ½ΠΎΠΉ ΠΊΠ»Π°ΠΏΠ°Π½; 11 — Π²ΡΠΏΡΡΠΊΠ½ΠΎΠΉ ΠΊΠ°ΠΏΠ°Π½; 12, 18 — ΠΊΠΎΠ½ΡΡΠ³Π°ΠΉΠΊΠΈ: 13 -ΡΠΏΠΎΡΠ½ΡΠ΅ ΡΠ°ΡΠΈΠΊΠΈ: 14 — ΡΠ΅Π΄Π»ΠΎ; 15 — ΠΊΠΎΡΠΏΡΡ ΠΏΡΠ΅Π΄ΠΎΡ ΡΠ°Π½ΠΈΡΠ΅Π»ΡΠ½ΠΎΠ³ΠΎ ΠΊΠ»Π°ΠΈΠ°Π½Π°; 16 — ΡΠ°ΡΠΈΠΊ; 19 — Π²ΠΈΠ½Ρ; 20 — ΡΡΠ΅ΡΠΆΠ΅Π½Ρ.
Π Π΅Π³ΡΠ»ΡΡΠΎΡ Π΄Π°Π²Π»Π΅Π½ΠΈΡ ΡΠ°ΡΠΈΠΊΠΎΠ²ΠΎΠ³ΠΎ ΡΠΈΠΏΠ° ΡΡΡΠ°Π½ΠΎΠ²Π»Π΅Π½ Π½Π° ΠΊΠΎΠΌΠΏΡΠ΅ΡΡΠΎΡΠ΅. Π Π΅Π³ΡΠ»ΡΡΠΎΡ ΡΠΎΡΡΠΎΠΈΡ ΠΈΠ· ΠΊΠΎΡΠΏΡΡΠ° 8 (ΡΠΈΡ. 172Π°) Ρ Π·Π°ΡΠΈΡΠ½ΡΠΌ ΠΊΠΎΠΆΡΡ ΠΎΠΌ 1, Π²ΠΏΡΡΠΊΒΠ½ΠΎΠ³ΠΎ ΡΠ°ΡΠΈΠΊΠΎΠ²ΠΎΠ³ΠΎ ΠΊΠ»Π°ΠΏΠ°Π½Π° 10 Ρ ΡΠ΅Π΄Π»ΠΎΠΌ, Π²ΡΠΏΡΡΠΊΠ½ΠΎΠ³ΠΎ ΡΠ°ΡΠΈΠΊΠΎΠ²ΠΎΠ³ΠΎ ΠΊΠ»Π°ΠΏΠ°Π½Π° 11 Ρ ΡΠ΅Π΄Π»ΠΎΠΌ 5, Π΄Π²ΡΡ ΡΠΏΠΎΡΠ½ΡΡ ΡΠ°ΡΠΈΠΊΠΎΠ² 13 Ρ ΠΏΡΡΠΆΠΈΠ½ΠΎΠΉ 2, ΡΡΠΎΠΊΠ° 4, ΡΠ΅Π³ΡΠ»ΠΈΡΠΎΠ²ΠΎΡΠ½ΠΎΠ³ΠΎ ΠΊΠΎΠ»ΠΏΠ°ΠΊΠ° 3, Π΄Π²ΡΡ ΡΠΈΠ»ΡΡΡΠΎΠ² 6 ΠΈ 7.
ΠΡΠΈ Π΄Π°Π²Π»Π΅Π½ΠΈΠΈ Π² ΡΠΈΡΡΠ΅ΠΌΠ΅ ΠΌΠ΅Π½Π΅Π΅ 730. ..770 ΠΊΠΠ° ΡΠ°ΡΠΈΠΊΠΈ 10 ΠΈ 11 ΠΎΠΏΡΡΠ΅Π½Ρ Π²Π½ΠΈΠ· ΠΈ ΡΠ°Π·Π³ΡΡΠ·ΠΎΡΠ½ΠΎΠ΅ ΡΡΡΡΠΎΠΉΡΡΠ²ΠΎ ΠΊΠΎΠΌΠΏΡΠ΅ΡΡΠΎΡΠ° ΡΠ΅ΡΠ΅Π· Π±ΠΎΠΊΠΎΠ²ΠΎΠΉ ΠΊΠ°Π½Π°Π» Π² ΡΠ΅ΒΠ³ΡΠ»ΡΡΠΎΡΠ΅ ΠΈ ΠΎΡΠΊΡΡΡΡΠΉ ΠΊΠ»Π°ΠΏΠ°Π½ 11 ΡΠΎΠ΅Π΄ΠΈΠ½Π΅Π½ Ρ Π°ΡΠΌΠΎΡΡΠ΅ΡΠΎΠΉ. Π Π°Π·Π³ΡΡΠ·ΠΎΡΠ½ΠΎΠ΅ ΡΡΡΡΠΎΠΉΡΡΠ²ΠΎ Π²ΡΠΊΠ»ΡΡΠ΅Π½ΠΎ, ΠΈ ΠΊΠΎΠΌΠΏΡΠ΅ΡΡΠΎΡ Π½Π°Π³Π½Π΅ΡΠ°Π΅Ρ Π²ΠΎΠ·Π΄ΡΡ Π² ΡΠΈΡΡΠ΅ΠΌΡ.
ΠΡΠΈ Π΄ΠΎΡΡΠΈΠΆΠ΅Π½ΠΈΠΈ Π΄Π°Π²Π»Π΅Π½ΠΈΡ Π² ΡΠΈΡΡΠ΅ΠΌΠ΅ 730…770 ΠΊΠΠ° ΡΠ°ΡΠΈΠΊΠΈ 10 ΠΈ 11 ΠΏΠΎΠ΄Π½ΠΈΠΌΠ°ΡΡΡΡ. Π‘ΠΆΠ°ΡΡΠΉ Π²ΠΎΠ·Π΄ΡΡ ΠΈΠ· ΡΠΈΡΡΠ΅ΠΌΡ ΡΠ΅ΡΠ΅Π· ΠΎΡΠΊΡΡΠ²ΡΠΈΠΉΡΡ ΠΊΠ»Π°ΠΏΠ°Π½ 10 ΠΏΡΠΎΡ ΠΎΠ΄ΠΈΡ ΠΊ ΡΠ°Π·Π³ΡΡΠ·ΠΎΡΠ½ΠΎΠΌΡ ΡΡΡΡΠΎΠΉΡΡΠ²Ρ ΠΊΠΎΠΌΠΏΡΠ΅ΡΡΠΎΡΠ°, ΠΊΠΎΡΠΎΡΠΎΠ΅ ΠΏΠ΅ΡΠ΅Π²ΠΎΠ΄ΠΈΡ ΠΊΠΎΠΌΠΏΡΠ΅ΡΡΠΎΡ Π½Π° Ρ ΠΎΠ»ΠΎΡΡΠΎΠΉ Ρ ΠΎΠ΄.
ΠΡΠΈ ΠΏΠΎΠ½ΠΈΠΆΠ΅Π½ΠΈΠΈ Π΄Π°Π²Π»Π΅Π½ΠΈΡ Π½ΠΈΠΆΠ΅ 600-640 ΠΊΠΠ° ΡΠ°ΡΠΈΠΊΠΈ 10 ΠΈ 11 ΠΎΠΏΡΡΠΊΠ°ΡΡΒΡΡ, ΠΈ ΡΠ΅Π³ΡΠ»ΡΡΠΎΡ Π²ΠΊΠ»ΡΡΠ°Π΅Ρ ΡΠ½ΠΎΠ²Π° ΠΊΠΎΠΌΠΏΡΠ΅ΡΡΠΎΡ Π² ΡΠ°Π±ΠΎΡΡ.
ΠΡΠ΅Π΄ΠΎΡ ΡΠ°Π½ΠΈΡΠ΅Π»ΡΠ½ΡΠΉ ΠΊΠ»Π°ΠΏΠ°Π½ (ΡΠΈΡ.1726) ΡΠ°ΡΠΈΠΊΠΎΠ²ΠΎΠ³ΠΎ ΡΠΈΠΏΠ°, ΡΡΡΠ°Π½ΠΎΠ²Π»Π΅Π½ Π½Π° ΠΏΠ΅ΡΠ²ΠΎΠΌ Π²ΠΎΠ·Π΄ΡΡΠ½ΠΎΠΌ Π±Π°Π»Π»ΠΎΠ½Π΅. ΠΠ»Π°ΠΏΠ°Π½ Π²ΡΡΡΠΏΠ°Π΅Ρ Π² ΡΠ°Π±ΠΎΡΡ Π² ΡΠ»ΡΡΠ°Π΅ Π½Π΅ΠΈΡΒΠΏΡΠ°Π²Π½ΠΎΡΡΠΈ ΡΠ΅Π³ΡΠ»ΡΡΠΎΡΠ° Π΄Π°Π²Π»Π΅Π½ΠΈΡ ΠΈΠ»ΠΈ ΡΠ°Π·Π³ΡΡΠ·ΠΎΡΠ½ΠΎΠ³ΠΎ ΡΡΡΡΠΎΠΉΡΡΠ²Π° ΠΊΠΎΠΌΠΏΡΠ΅ΡΡΠΎΡΠ° ΠΈ ΠΎΡΠΊΡΡΠ²Π°Π΅ΡΡΡ ΠΏΡΠΈ ΠΏΠΎΠ²ΡΡΠ΅Π½ΠΈΠΈ Π΄Π°Π²Π»Π΅Π½ΠΈΡ Π² ΡΠΈΡΡΠ΅ΠΌΠ΅ Π΄ΠΎ 900-950 ΠΊΠΠ°. ΠΡΠ°Π½ ΠΎΡΠ±ΠΎΡΠ° Π²ΠΎΠ·Π΄ΡΡ Π° Π½Π°Ρ ΠΎΠ΄ΠΈΡΡΡ Π½Π° ΠΏΠ΅ΡΠ΅Π΄Π½Π΅ΠΌ Π²ΠΎΠ·Π΄ΡΡΠ½ΠΎΠΌ Π±Π°Π»Π»ΠΎΠ½Π΅. Π Π°Π·ΠΎΠ±ΡΠΈΡΠ΅Π»ΡΠ½ΡΠΉ ΠΊΡΠ°Π½ ΠΈ ΡΠΎΠ΅Π΄ΠΈΠ½ΠΈΡΠ΅Π»ΡΠ½Π°Ρ Π³ΠΎΠ»ΠΎΠ²ΠΊΠ° ΡΠ°ΠΊΠΆΠ΅ ΠΊΠ°ΠΊ Π½Π° Π°Π²ΡΠΎΠΌΠΎΠ±ΠΈΠ»Π΅ ΠΠ°ΠΌΠΠ-4310.

Π ΠΈΡ.173. Π’ΠΎΡΠΌΠΎΠ·Π½ΠΎΠΉ ΠΊΡΠ°Π½ Π°Π²ΡΠΎΠΌΠΎΠ±ΠΈΠ»Ρ ΠΠΠ-131: 1 — ΡΡΠΎΠΊ Π½ΠΈΠΆΠ½Π΅ΠΉ ΡΠ΅ΠΊΡΠΈΠΈ; 2 — ΠΊΠΎΡΠΏΡΡ ΡΡΡΠ°Π³ΠΎΠ²; 3, 4 — ΠΌΠ°Π»ΡΠΉ ΠΈ Π±ΠΎΠ»ΡΡΠΎΠΉ ΡΡΡΠ°Π³ΠΈ; 5 — Π½Π°ΠΏΡΠ°Π²Π»ΡΡΡΠ°Ρ ΡΡΠΎΠΊΠ° Π²Π΅ΡΡ Π½Π΅ΠΉ ΡΠ΅ΠΊΡΠΈΠΈ; 6 — ΡΡΠΎΠΊ Π²Π΅ΡΡ Π½Π΅ΠΉ ΡΠ΅ΠΊΡΠΈΠΈ; 7 — Π²Π°Π»ΠΈΠΊ ΡΡΡΠ°Π³Π° ΡΡΡΠ½ΠΎΠ³ΠΎ ΠΏΡΠΈΠ²ΠΎΠ΄Π°; 8 — ΡΡΠ³Π°; 9 — ΡΡΡΠ°Π³ ΡΡΡΠ½ΠΎΠ³ΠΎ ΠΏΡΠΈΠ²ΠΎΠ΄Π°; 10 — ΠΊΠΎΡΠΏΡΡ ΠΊΡΠ°Π½Π°; 11 -ΡΡΠ°Π²Π½ΠΎΠ²Π΅ΡΠΈΠ²Π°ΡΡΠ°Ρ ΠΏΡΡΠΆΠΈΠ½Π°; 12, 22 — Π΄ΠΈΠ°ΡΡΠ°Π³ΠΌΡ; 13, 23 — ΡΠ΅Π΄Π»Π° Π²ΡΠΏΡΡΠΊΠ½ΡΡ ΠΊΠ»Π°ΠΏΠ°Π½ΠΎΠ²; 14, 20 — Π²ΡΠΏΡΡΠΊΠ½ΡΠ΅ ΠΊΠ»Π°ΠΏΠ°Π½Ρ; 15, 19- Π²ΠΏΡΡΠΊΠ½ΡΠ΅ ΠΊΠ»Π°ΠΏΠ°Π½Ρ; 16, 21 — ΠΊΡΡΡΠΊΠΈ; 17, 24 — Π½Π°ΠΏΡΠ°Π²Π»ΡΡΡΠΈΠ΅ ΡΡΠ°ΠΊΠ°Π½Ρ; 18 — ΠΏΡΡΠΆΠΈΠ½Π° Π΄ΠΈΠ°ΡΡΠ°Π³ΠΌΡ Π½ΠΈΠΆΠ½Π΅ΠΉ ΡΠ΅ΠΊΡΠΈΠΈ; 23 — ΡΡΠ°Π²Π½ΠΎΠ²Π΅ΡΠΈΠ²Π°ΡΡΠ°Ρ ΠΏΡΡΠΆΠΈΠ½Π° Π½ΠΈΠΆΠ½Π΅ΠΉ ΡΠ΅ΠΊΡΠΈΠΈ; 26 — Π°ΡΠΌΠΎΡΡΠ΅ΡΠ½ΡΠΉ ΠΊΠ»Π°ΠΏΠ°Π½.
Π’ΠΎΡΠΌΠΎΠ·Π½ΠΎΠΉ ΠΊΡΠ°Π½ (ΡΠΈΡ. 173) Π΄Π²ΡΡ ΡΠ΅ΠΊΡΠΈΠΎΠ½Π½ΡΠΉ Π΄ΠΈΠ°ΡΡΠ°Π³ΠΌΠ΅Π½Π½ΡΠΉ Ρ ΡΠ΅Π·ΠΈΠ½ΠΎΒΠ²ΡΠΌΠΈ ΠΊΠΎΠ½ΠΈΡΠ΅ΡΠΊΠΈΠΌΠΈ ΠΊΠ»Π°ΠΏΠ°Π½Π°ΠΌΠΈ, ΡΡΡΠ°Π½ΠΎΠ²Π»Π΅Π½ Π½Π° Π»Π΅Π²ΠΎΠΌ Π»ΠΎΠ½ΠΆΠ΅ΡΠΎΠ½Π΅ ΡΠ°ΠΌΡ ΠΏΠΎΠ΄ ΠΊΠ°Π±ΠΈΠ½ΠΎΠΉ. ΠΡΠ½ΠΎΠ²Π½ΡΠ΅ ΡΠ°ΡΡΠΈ ΠΊΡΠ°Π½Π°: ΠΊΠΎΡΠΏΡΡ 10 Ρ Π΄Π²ΡΠΌΡ ΠΊΡΡΡΠΊΠ°ΠΌΠΈ, ΠΊΠΎΡΠΏΡΡ 2 ΡΡΡΠ°Π³ΠΎΠ² Ρ ΠΊΡΡΡΠΊΠΎΠΉ, Π΄Π²Π΅ Π΄ΠΈΠ°ΡΡΠ°Π³ΠΌΡ 12 ΠΈ 22 Ρ Π½Π°ΠΏΡΠ°Π²Π»ΡΡΡΠΈΠΌΠΈ ΡΡΠ°ΠΊΠ°Π½Π°ΠΌΠΈ ΠΈ ΡΠ΅Π΄Π»Π°ΠΌΠΈ Π²ΡΠΏΡΡΠΊΠ½ΡΡ ΠΊΠ»Π°ΠΏΠ°Π½ΠΎΠ², ΡΡΠΎΠΊ 6 Π²Π΅ΡΡ Π½Π΅ΠΉ ΡΠ΅ΠΊΡΠΈΠΈ Ρ Π½Π°ΠΏΡΠ°Π²Π»ΡΡΡΠ΅ΠΉ 5, ΡΡΠ°Π²Π½ΠΎΠ²Π΅ΡΠΈΠ²Π°ΡΡΠ°Ρ ΠΏΡΡΠΆΠΈΠ½Π° 11, ΡΡΠΎΠΊ 1 Π½ΠΈΠΆΠ½Π΅ΠΉ ΡΠ΅ΠΊΡΠΈΠΈ Ρ ΡΡΠ°Π²Π½ΠΎΠ²Π΅ΡΠΈΠ²Π°ΡΒΡΠ΅ΠΉ ΠΏΡΡΠΆΠΈΠ½ΠΎΠΉ 25, Π²ΠΎΠ·Π²ΡΠ°ΡΠ½Π°Ρ ΠΏΡΡΠΆΠΈΠ½Π° 18, Π΄Π²Π° ΡΡΡΠ°Π³Π° 3 ΠΈ 4, ΡΡΡΠ°Π³ 4 ΡΡΡΠ½ΠΎΠ³ΠΎ ΠΏΡΠΈΠ²ΠΎΠ΄Π° ΠΊΡΠ°Π½Π°, Π΄Π²Π° Π²ΠΏΡΡΠΊΠ½ΡΡ 15 ΠΈ 19 ΠΈ Π΄Π²Π° Π²ΠΏΡΡΠΊΠ½ΡΡ 14 ΠΈ 20 ΠΊΠ»Π°ΠΏΠ°Π½Π°. Π‘ΠΆΠ°ΡΡΠΉ Π²ΠΎΠ·Π΄ΡΡ ΠΏΠΎΠ΄Π²ΠΎΠ΄ΠΈΡΡΡ ΠΈΠ· Π²ΠΎΠ·Π΄ΡΡΠ½ΡΡ Π±Π°Π»Π»ΠΎΠ½ΠΎΠ² ΡΠ΅ΡΠ΅Π· ΠΏΡΠΎΠ±ΠΊΠΈ ΠΊ ΡΠ΅Π½ΡΡΠ°Π»ΡΠ½ΡΠΌ ΠΎΡΠ²Π΅ΡΡΡΠΈΡΠΌ ΠΊΡΡΡΠ΅ΠΊ, ΠΈΠ· Π±ΠΎΠΊΠΎΠ²ΠΎΠ³ΠΎ ΠΎΡΠ²Π΅ΡΡΡΠΈΡ ΠΊΡΡΡΠΊΠΈ Π²Π΅ΡΡ Π½Π΅ΠΉ ΡΠ΅ΠΊΡΠΈΠΈ Π²ΠΎΠ·Π΄ΡΡ ΠΏΡΠΎΡ ΠΎΠ΄ΠΈΡ ΠΊ ΡΠΎΠ΅Π΄ΠΈΠ½ΠΈΡΠ΅Π»ΡΠ½ΠΎΠΉ ΠΌΠ°Π³ΠΈΡΡΡΠ°Π»ΠΈ ΠΏΡΠΈΡΠ΅ΠΏΠ°, ΠΈΠ· Π±ΠΎΠΊΠΎΠ²ΠΎΠ³ΠΎ ΠΎΡΠ²Π΅ΡΡΡΠΈΡ ΠΊΡΡΡΠΊΠΈ Π½ΠΈΠΆΠ½Π΅ΠΉ ΡΠ΅ΠΊΡΠΈΠΈ Π²ΠΎΠ·Π΄ΡΡ ΠΏΠΎΡΡΡΠΏΠ°Π΅Ρ Π² ΡΠΎΡΠΌΠΎΠ·Π½ΡΠ΅ ΠΊΠ°ΠΌΠ΅ΡΡ Π°Π²ΡΠΎΠΌΠΎΠ±ΠΈΠ»Ρ. ΠΠΎΠ»ΠΎΡΡΠΈ Π²Π½ΡΡΡΠΈ ΠΊΠΎΡΠΏΡΡΠΎΠ² ΡΠ»Π΅Π²Π° ΠΎΡ Π΄ΠΈΠ°ΡΡΠ°Π³ΠΌ ΡΠΎΠ΅Π΄ΠΈΠ½Π΅Π½Ρ ΠΌΠ΅ΠΆΠ΄Ρ ΡΠΎΠ±ΠΎΠΉ ΠΈ. Π°ΡΠΌΠΎΡΡΠ΅ΡΠΎΠΉ ΡΠ΅ΡΠ΅Π· ΠΊΠ»Π°ΠΏΠ°Π½ 26.Β Β Β Β Β .
ΠΡΠΈ ΠΎΡΠΏΡΡΠ΅Π½Π½ΠΎΠΉ ΠΏΠ΅Π΄Π°Π»ΠΈ Π΄Π΅ΡΠ°Π»ΠΈ Π²Π΅ΡΡ Π½Π΅ΠΉ ΡΠ΅ΠΊΡΠΈΠΈ ΠΏΠΎΠ΄ Π΄Π΅ΠΉΡΡΠ²ΠΈΠ΅ΠΌ ΡΡΠ°Π²Π½ΠΎΠ²Π΅ΡΠΈΠ²Π°ΡΡΠ΅ΠΉ ΠΏΡΡΠΆΠΈΠ½Ρ ΡΠΌΠ΅ΡΠ΅Π½Ρ Π½Π°Π·Π°Π΄, Π²ΠΏΡΡΠΊΠ½ΠΎΠΉ ΠΊΠ»Π°ΠΏΠ°Π½ ΡΡΠΎΠΉ ΡΠ΅ΠΊΡΠΈΠΈ ΠΎΡΠΊΡΡΡ, Π²ΡΠΏΡΡΠΊΠ½ΠΎΠΉ Π·Π°ΠΊΡΡΡ. Π‘ΠΆΠ°ΡΡΠΉ Π²ΠΎΠ·Π΄ΡΡ ΠΈΠ· Π±Π°Π»Π»ΠΎΠ½ΠΎΠ² Π°Π²ΡΠΎΠΌΠΎΠ±ΠΈΠ»Ρ ΡΠ΅ΡΠ΅Π· ΠΎΡΠΊΡΡΡΡΠΉ Π²ΠΏΡΡΠΊΠ½ΠΎΠΉ ΠΊΠ»Π°ΠΏΠ°Π½ Π²Π΅ΡΡ Π½Π΅ΠΉ ΡΠ΅ΠΊΡΠΈΠΈ ΠΏΡΠΎΡ ΠΎΠ΄ΠΈΡ Π² ΡΠΎΠ΅Π΄ΠΈΠ½ΠΈΡΠ΅Π»ΡΠ½ΡΡ ΠΌΠ°Π³ΠΈΡΡΡΠ°Π»Ρ ΠΊ Π²ΠΎΠ·Π΄ΡΡ ΠΎΡΠ°ΡΠΏΡΠ΅Π΄Π΅Π»ΠΈΡΠ΅Π»Ρ ΠΏΡΠΈΡΠ΅ΠΏΠ° ΠΈ Π΄Π°Π»Π΅Π΅ Π² Π΅Π³ΠΎ Π²ΠΎΠ·Π΄ΡΡΠ½ΡΠ΅ Π±Π°Π»Π»ΠΎΠ½Ρ. ΠΡΠΈ Π΄ΠΎΡΡΠΈΠΆΠ΅Π½ΠΈΠΈ Π΄Π°Π²Π»Π΅Π½ΠΈΡ Π² Π±Π°Π»Π»ΠΎΠ½Π°Ρ ΠΏΡΠΈΡΠ΅ΠΏΠ° 480β¦530 ΠΊΠΠ° Π΄ΠΈΠ°ΡΡΠ°Π³ΠΌΠ° Π²Π΅ΡΡ Π½Π΅ΠΉ ΡΠ΅ΠΊΡΠΈΠΈ ΠΏΡΠΎΠ³ΠΈΠ±Π°Π΅ΡΡΡ ΠΈ Π²ΠΏΡΡΠΊΠ½ΠΎΠΉ ΠΊΠ»Π°ΠΏΠ°Π½ ΡΡΠΎΠΉ ΡΠ΅ΠΊΡΠΈΠΈ Π·Π°ΠΊΡΡΠ²Π°Π΅ΡΡΡ.
Π Π½ΠΈΠΆΠ½Π΅ΠΉ ΡΠ΅ΠΊΡΠΈΠΈ ΠΊΡΠ°Π½Π΅ Π²ΠΏΡΡΠΊΠ½ΠΎΠΉ ΠΊΠ»Π°ΠΏΠ°Π½ Π·Π°ΠΊΡΡΡ, Π²ΡΠΏΡΡΠΊΠ½ΠΎΠΉ ΠΎΡΠΊΡΡΡ, ΡΠΎΡΠΌΠΎΠ·Π½ΡΠ΅ ΠΊΠ°ΠΌΠ΅ΡΡ Π°Π²ΡΠΎΠΌΠΎΠ±ΠΈΠ»Ρ ΡΠΎΠ΅Π΄ΠΈΠ½Π΅Π½Ρ Ρ Π°ΡΠΌΠΎΡΡΠ΅ΡΠΎΠΉ. ΠΠ²ΡΠΎΠΌΠΎΠ±ΠΈΠ»Ρ ΠΈ ΠΏΡΠΈΡΠ΅ΠΏ ΡΠ°ΡΡΠΎΡΠΌΠΎΠΆΠ΅Π½Ρ.
ΠΡΠΈ Π½Π°ΠΆΠ°ΡΠΈΠΈ Π½Π° ΠΏΠ΅Π΄Π°Π»Ρ ΡΡΠΎΠΊ Π²Π΅ΡΡ Π½Π΅ΠΉ ΡΠ΅ΠΊΡΠΈΠΈ ΠΏΠ΅ΡΠ΅ΠΌΠ΅ΡΠ°Π΅ΡΡΡ Π²ΠΏΠ΅ΡΠ΅Π΄, Π΄ΠΈΠ°ΡΡΠ°Π³ΠΌΠ° ΡΡΠΎΠΉ ΡΠ΅ΠΊΡΠΈΠΈ Π΄Π°Π²Π»Π΅Π½ΠΈΠ΅ΠΌ ΡΠΆΠ°ΡΠΎΠ³ΠΎ Π²ΠΎΠ·Π΄ΡΡ Π° ΠΏΡΠΎΠ³ΠΈΠ±Π°Π΅ΡΡΡ ΡΠ°ΠΊΠΆΠ΅ Π²ΠΏΠ΅ΡΠ΅Π΄, Π²ΠΏΡΡΠΊΠ½ΠΎΠΉ ΠΊΠ»Π°ΠΏΠ°Π½ Π·Π°ΠΊΡΡΠ²Π°Π΅ΡΡΡ (ΠΈΠ»ΠΈ ΠΎΡΡΠ°Π΅ΡΡΡ Π·Π°ΠΊΡΡΡΡΠΌ), Π° Π²ΡΠΏΡΡΠΊΠ½ΠΎΠΉ ΠΎΡΠΊΡΡΠ²Π°Π΅ΡΡΡ. Π‘ΠΆΠ°ΡΡΠΉ Π²ΠΎΠ·Π΄ΡΡ ΠΈΠ· ΡΠΎΠ΅Π΄ΠΈΠ½ΠΈΡΠ΅Π»ΡΠ½ΠΎΠΉ ΠΌΠ°Π³ΠΈΡΡΡΠ°Π»ΠΈ Π²ΡΡ ΠΎΠ΄ΠΈΡ Π² Π°ΡΠΌΠΎΡΡΠ΅ΡΡ, Π§ΡΠΎ ΠΏΡΠΈΠ²ΠΎΠ΄ΠΈΡ ΠΊ ΡΡΠ°Π±Π°ΡΡΠ²Π°Π½ΠΈΡ Π²ΠΎΠ·Π΄ΡΡ ΠΎΡΠ°ΡΠΏΡΠ΅Π΄Π΅Π»ΠΈΡΠ΅Π»Ρ ΠΏΡΠΈΡΠ΅ΠΏΠ°. Π‘ΠΆΠ°ΡΡΠΉ Π²ΠΎΠ·Π΄ΡΡ ΠΈΠ· Π±Π°Π»Π»ΠΎΠ½ΠΎΠ² ΠΏΡΠΈΡΠ΅ΠΏΠ° ΠΏΠΎΡΡΡΠΏΠ°Π΅Ρ Π² Π΅Π³ΠΎ ΡΠΎΡΠΌΠΎΠ·Π½ΡΠ΅ ΠΊΠ°ΠΌΠ΅ΡΡ, ΡΡΠΎ Π²Π΅Π΄Π΅Ρ ΠΊ ΡΠΎΡΠΌΠΎΠΆΠ΅Π½ΠΈΡ ΠΏΡΠΈΡΠ΅ΠΏΠ°.
Π Π½ΠΈΠΆΠ½Π΅ΠΉ ΡΠ΅ΠΊΡΠΈΠΈ ΠΊΡΠ°Π½Π° ΡΡΠΎΠΊ Ρ Π΄ΠΈΠ°ΡΡΠ°Π³ΠΌΠΎΠΉ ΠΏΠ΅ΡΠ΅ΠΌΠ΅ΡΠ°ΡΡΡΡ Π½Π°Π·Π°Π΄, Π²ΡΠΏΡΡΠΊΠ½ΠΎΠΉ ΠΊΠ»Π°ΠΏΠ°Π½ Π·Π°ΠΊΡΡΠ²Π°Π΅ΡΡΡ, Π²ΠΏΡΡΠΊΠ½ΠΎΠΉ ΠΎΡΠΊΡΡΠ²Π°Π΅ΡΡΡ. Π‘ΠΆΠ°ΡΡΠΉ Π²ΠΎΠ·Π΄ΡΡ ΠΈΠ· Π±Π°Π»Π»ΠΎΠ½ΠΎΠ² Π°Π²ΡΠΎΠΌΠΎΠ±ΠΈΠ»Ρ ΠΏΠΎΡΡΡΠΏΠ°Π΅Ρ Π² Π΅Π³ΠΎ ΡΠΎΡΠΌΠΎΠ·Π½ΡΠ΅ ΠΊΠ°ΠΌΠ΅ΡΡ, ΡΡΠΎ Π²Π΅Π΄Π΅Ρ ΠΊ ΡΠΎΡΠΌΠΎΠΆΠ΅Π½ΠΈΡ Π°Π²ΡΠΎΠΌΠΎΠ±ΠΈΠ»Ρ.
ΠΡΠΈ ΠΎΡΠΏΡΡΠΊΠ°Π½ΠΈΠΈ ΠΏΠ΅Π΄Π°Π»ΠΈ Π² Π²Π΅ΡΡ Π½Π΅ΠΉ ΡΠ΅ΠΊΡΠΈΠΈ Π·Π°ΠΊΡΡΠ²Π°Π΅ΡΡΡ Π²ΡΠΏΡΡΠΊΠ½ΠΎΠΉ ΠΈ ΠΎΡΠΊΡΡΠ²Π°Π΅ΡΡΡ Π²ΠΏΡΡΠΊΠ½ΠΎΠΉ ΠΊΠ»Π°ΠΏΠ°Π½Ρ. ΠΠΎΠ·Π΄ΡΡ ΠΈΠ· Π±Π°Π»Π»ΠΎΠ½ΠΎΠ² Π°Π²ΡΠΎΠΌΠΎΠ±ΠΈΠ»Ρ ΠΏΠΎΡΡΡΠΏΠ°Π΅Ρ Π² ΡΠΎΠ΅Π΄ΠΈΠ½ΠΈΡΠ΅Π»ΡΠ½ΡΡ ΠΌΠ°Π³ΠΈΡΡΡΠ°Π»Ρ ΠΏΡΠΈΡΠ΅ΠΏΠ°, ΡΡΠΎ Π²Π΅Π΄Π΅Ρ ΠΊ ΡΡΠ°Π±Π°ΡΡΠ²Π°Π½ΠΈΡ Π΅Π³ΠΎ Π²ΠΎΠ·Π΄ΡΡ ΠΎΡΠ°ΡΠΏΡΠ΅Π΄Π΅Π»ΠΈΡΠ΅Π»Ρ ΠΈ ΡΠ°ΡΡΠΎΡΠΌΠ°ΠΆΠΈΠ²Π°Π½ΠΈΡ Π΅Π³ΠΎ ΠΊΠΎΠ»Π΅Ρ.
Π Π½ΠΈΠΆΠ½Π΅ΠΉ ΡΠ΅ΠΊΡΠΈΠΈ ΠΊΡΠ°Π½Π° Π²ΠΏΡΡΠΊΠ½ΠΎΠΉ ΠΊΠ»Π°ΠΏΠ°Π½ Π·Π°ΠΊΡΡΠ²Π°Π΅ΡΡΡ, Π²ΠΏΡΡΠΊΠ½ΠΎΠΉ ΠΎΡΠΊΡΡΠ²Π°Π΅ΡΡΡ, ΡΠΆΠ°ΡΡΠΉ Π²ΠΎΠ·Π΄ΡΡ ΠΈΠ· ΡΠΎΡΠΌΠΎΠ·Π½ΡΡ ΠΊΠ°ΠΌΠ΅Ρ Π°Π²ΡΠΎΠΌΠΎΠ±ΠΈΠ»Ρ Π²ΡΡ ΠΎΠ΄ΠΈΡ Π² Π°ΡΠΌΠΎΡΡΠ΅ΡΡ.
ΠΡΠ»ΠΈ ΠΏΡΠΈ ΡΠΎΡΠΌΠΎΠΆΠ΅Π½ΠΈΠΈ ΠΏΠ΅Π΄Π°Π»Ρ ΠΎΡΡΠ°Π½ΠΎΠ²ΠΈΡΡ Π² ΠΏΡΠΎΠΌΠ΅ΠΆΡΡΠΎΡΠ½ΠΎΠΌ ΠΏΠΎΠ»ΠΎΠΆΠ΅ΒΠ½ΠΈΠΈ, ΡΠΎ Π² Π½ΠΈΠΆΠ½Π΅ΠΉ ΡΠ΅ΠΊΡΠΈΠΈ ΠΊΡΠ°Π½Π° ΠΏΠΎΡΠ»Π΅ Π½Π΅ΠΊΠΎΡΠΎΡΠΎΠ³ΠΎ Π½Π°ΡΠ°ΡΡΠ°Π½ΠΈΡ Π΄Π°Π²Π»Π΅Π½ΠΈΡ Π΄ΠΈΠ°ΡΡΠ°Π³ΠΌΠ° ΠΏΡΠΎΠ³Π½Π΅ΡΡΡ Π²ΠΏΠ΅ΡΠ΅Π΄ ΠΈ Π²ΠΏΡΡΠΊΠ½ΠΎΠΉ ΠΊΠ»Π°ΠΏΠ°Π½ Π·Π°ΠΊΡΠΎΠ΅ΡΡΡ. Π ΡΠΎΡΠΌΠΎΠ·Π½ΡΡ ΠΊΠ°ΠΌΠ΅ΡΠ°Ρ Π°Π²ΡΠΎΠΌΠΎΠ±ΠΈΠ»Ρ ΡΡΡΠ°Π½ΠΎΠ²ΠΈΡΡΡ Π΄Π°Π²Π»Π΅Π½ΠΈΠ΅, ΠΏΡΠΎΠΏΠΎΡΡΠΈΠΎΠ½Π°Π»ΡΠ½ΠΎΠ΅ Π½Π°ΠΆΠ°ΡΠΈΡ Π½Π° ΠΏΠ΅Π΄Π°Π»Ρ. ΠΠ½Π°Π»ΠΎΠ³ΠΈΡΠ½ΠΎ Π² Π²Π΅ΡΡ Π½Π΅ΠΉ ΡΠ΅ΠΊΡΠΈΠΈ ΠΊΡΠ°Π½Π° Π²ΠΎΠ·Π΄ΡΡ ΡΠ°ΡΡΠΈΡΠ½ΠΎ Π²ΡΠΉΠ΄Π΅Ρ ΠΈΠ· ΡΠΎΠ΅Π΄ΠΈΠ½ΠΈΡΠ΅Π»ΡΠ½ΠΎΠΉ ΠΌΠ°Π³ΠΈΡΡΡΠ°Π»ΠΈ ΠΈ Π² Π½Π΅ΠΉ ΡΡΡΠ°Π½ΠΎΠ²ΠΈΡΡΡ Π΄Π°Π²Π»Π΅Π½ΠΈΠ΅, ΠΏΡΠΎΠΏΠΎΡΡΠΈΠΎΠ½Π°Π»ΡΠ½ΠΎΠ΅ Π½Π°ΠΆΠ°ΡΠΈΡ Π½Π° ΠΏΠ΅Π΄Π°Π»Ρ. Π ΡΡΠΎΠΌ ΠΏΡΠΎΡΠ²Π»ΡΠ΅ΡΡΡ ΡΠ»Π΅Π΄ΡΡΠ΅Π΅ Π΄Π΅ΠΉΡΡΠ²ΠΈΠ΅ Π΄Π²ΡΡ ΡΠ΅ΠΊΡΠΈΠΎΠ½Π½ΠΎΠ³ΠΎ ΡΠΎΡΠΌΠΎΠ·Π½ΠΎΠ³ΠΎ ΠΊΡΠ°Π½Π°.
ΠΡΠΈ ΡΠΎΡΠΌΠΎΠΆΠ΅Π½ΠΈΠΈ ΡΡΠΎΡΠ½ΠΎΡΠ½ΡΠΌ ΡΠΎΡΠΌΠΎΠ·ΠΎΠΌ ΡΡΠΈΠ»ΠΈΠ΅ Π²ΠΎΠ΄ΠΈΡΠ΅Π»Ρ ΠΏΠ΅ΡΠ΅Π΄Π°Π΅ΡΡΡ Π½Π° ΡΡΡΠ°Π³ 9 ΠΊΡΠ°Π½Π°, ΠΊΠΎΡΠΎΡΡΠΉ ΠΏΡΠΈΠ²ΠΎΠ΄ΠΈΡ Π² Π΄Π΅ΠΉΡΡΠ²ΠΈΠ΅ ΡΠΎΠ»ΡΠΊΠΎ Π²Π΅ΡΡ Π½ΡΡ ΡΠ΅ΠΊΡΠΈΡ ΠΊΡΠ°Π½Π°, ΡΡΠΎ Π²Π΅Π΄Π΅Ρ ΠΊ ΡΠΎΡΠΌΠΎΠΆΠ΅Π½ΠΈΡ ΠΏΡΠΈΡΠ΅ΠΏΠ°.
Π‘Π²ΠΎΠ±ΠΎΠ΄Π½ΡΠΉ Ρ ΠΎΠ΄ ΠΏΠ΅Π΄Π°Π»ΠΈ ΡΠΎΡΠΌΠΎΠ·Π° Π΄ΠΎΠ»ΠΆΠ΅Π½ Π±ΡΡΡ 40…60 ΠΌΠΌ, Π²Π΅ΡΡ Π½ΠΈΠΉ ΠΊΠΎΠ½Π΅Ρ ΠΏΠ΅Π΄Π°Π»ΠΈ Π½Π΅ Π΄ΠΎΠ»ΠΆΠ΅Π½ Π΄ΠΎΡ ΠΎΠ΄ΠΈΡΡ Π΄ΠΎ ΠΏΠΎΠ»Π° Π½Π° 10. ..30 ΠΌΠΌ.
Π‘Π²ΠΎΠ±ΠΎΠ΄Π½ΡΠΉ Ρ ΠΎΠ΄ ΠΏΠ΅Π΄Π°Π»ΠΈ ΡΠ΅Π³ΡΠ»ΠΈΡΡΠ΅ΡΡΡ ΠΈΠ·ΠΌΠ΅Π½Π΅Π½ΠΈΠ΅ΠΌ Π΄Π»ΠΈΠ½Ρ ΡΡΠ³ΠΈ 8, ΡΠΎΠ΅Π΄ΠΈΠ½ΡΡΡΠ΅ΠΉ ΠΏΠ΅Π΄Π°Π»Ρ Ρ ΡΠΎΡΠΌΠΎΠ·Π½ΡΠΌ ΠΊΡΠ°Π½ΠΎΠΌ ΠΏΡΡΠ΅ΠΌ Π½Π°Π²ΠΈΠ½ΡΠΈΠ²Π°Π½ΠΈΡ ΠΈΠ»ΠΈ ΡΠ²ΠΈΠ½ΡΠΈΠ²Π°Π½ΠΈΡ Π΅Π΅ Π²ΠΈΠ»ΠΊΠΈ.
Π‘ΡΠΎΡΠ½ΠΎΡΠ½Π°Ρ ΡΠΎΡΠΌΠΎΠ·Π½Π°Ρ ΡΠΈΡΡΠ΅ΠΌΠ° ΠΈΠΌΠ΅Π΅Ρ ΡΠ°ΠΊΠΎΠ΅ ΠΆΠ΅ ΡΡΡΡΠΎΠΉΡΡΠ²ΠΎ ΠΊΠ°ΠΊ Π½Π° Π°Π²ΡΠΎΠΌΠΎΠ±ΠΈΠ»Π΅ Π£ΡΠ°Π»-4320. ΠΡΠ»ΠΈΡΠΈΠ΅ ΡΠΎΡΡΠΎΠΈΡ Π»ΠΈΡΡ Π² ΡΠΎΠΌ, ΡΡΠΎ ΡΡΡΠ°Π³ ΡΠ°Π·ΠΆΠΈΠΌΠ½ΠΎΠ³ΠΎ ΠΊΡΠ»Π°ΠΊΠ° ΠΈΠ·Π³ΠΎΡΠΎΠ²Π»Π΅Π½ Π·Π°ΠΎΠ΄Π½ΠΎ Ρ ΡΠ΅ΠΊΡΠΎΡΠΎΠΌ, Π² ΠΊΠΎΡΠΎΡΠΎΠΌ ΠΈΠΌΠ΅Π΅ΡΡΡ Π½Π΅ΡΠΊΠΎΠ»ΡΠΊΠΎ ΠΎΡΠ²Π΅ΡΡΡΠΈΠΉ. ΠΠ΅ΡΠ΅ΡΡΠ°Π½ΠΎΠ²ΠΊΠΎΠΉ ΠΏΠ°Π»ΡΡΠ° Π²Π΅ΡΡΠΈΠΊΠ°Π»ΡΠ½ΠΎΠΉ ΡΡΠ³ΠΈ Π² ΠΎΡΠ΅ΡΠ΅Π΄Π½ΠΎΠ΅ ΠΎΡΠ²Π΅ΡΡΡΠΈΠ΅ ΡΠ΅ΠΊΡΠΎΡΠ° ΠΏΠΎΠ·Π²ΠΎΠ»ΡΠ΅Ρ ΡΠ΅Π³ΡΠ»ΠΈΡΠΎΠ²Π°ΡΡ Π·Π°Π·ΠΎΡ ΠΌΠ΅ΠΆΠ΄Ρ ΠΊΠΎΠ»ΠΎΠ΄ΠΊΠ°ΠΌΠΈ ΠΈ Π±Π°ΡΠ°Π±Π°Π½ΠΎΠΌ. ΠΠΎΠ»Π½ΠΎΠ΅ Π·Π°ΡΠΎΡΠΌΠ°ΠΆΠΈΠ²Π°Π½ΠΈΠ΅ Π΄ΠΎΠ»ΠΆΠ½ΠΎ ΠΏΡΠΎΠΈΡΡ ΠΎΠ΄ΠΈΡΡ ΠΏΡΠΈ ΠΏΠ΅ΡΠ΅ΠΌΠ΅ΡΠ΅Π½ΠΈΠΈ ΡΡΠΎΠΏΠΎΡΠ½ΠΎΠΉ Π·Π°ΡΠ΅Π»ΠΊΠΈ ΡΡΡΠ°Π³Π° ΡΠΎΡΠΌΠΎΠ·Π° Π½Π° 2.. .6 Π·ΡΠ±ΡΠ΅Π² ΡΠ΅ΠΊΡΠΎΡΠ°.
| Π‘ΡΠΎΡΠ½ΠΎΡΠ½Π°Ρ ΡΠΎΡΠΌΠΎΠ·Π½Π°Ρ ΡΠΈΡΡΠ΅ΠΌΠ° Π£Π ΠΠ-4320 < ΠΡΠ΅Π΄. | Β | Π‘Π»Π΅Π΄. > Π’Π΅Ρ Π½ΠΈΡΠ΅ΡΠΊΠΎΠ΅ ΠΎΠ±ΡΠ»ΡΠΆΠΈΠ²Π°Π½ΠΈΠ΅ ΡΠΎΡΠΌΠΎΠ·Π½ΡΡ ΡΠΈΡΡΠ΅ΠΌ |
|---|
xn—-7sbfkccucpkracijq8iofobm.xn--p1ai
ΠΠΠ-131
ΠΠ΅ΡΠΊΠΎΠ½ΡΠ°ΠΊΡΠ½Π°Ρ ΡΠΊΡΠ°Π½ΠΈΡΠΎΠ²Π°Π½Π½Π°Ρ ΡΠΈΡΡΠ΅ΠΌΠ° Π·Π°ΠΆΠΈΠ³Π°Π½ΠΈΡ ΡΡΡΠ°Π½Π°Π²Π»ΠΈΠ²Π°Π΅ΡΡΡ Π½Π° Π°Π²ΡΠΎΠΌΠΎΠ±ΠΈΠ»Π΅ ΠΠΠ-1Π1 ΠΈ Π΅Π³ΠΎ ΠΌΠΎΠ΄ΠΈΡΠΈΠΊΠ°ΡΠΈΡΡ . Π‘Ρ Π΅ΠΌΠ° ΡΠΈΡΡΠ΅ΠΌΡ Π·Π°ΠΆΠΈΠ³Π°Π½ΠΈΡ ΠΏΠΎΠΊΠ°Π·Π°Π½Π° Π½Π° ΡΠΈΡ. 1.
ΠΠΎΡΠΎΠ±ΠΊΠ° ΠΎΡΠ±ΠΎΡΠ° ΠΌΠΎΡΠ½ΠΎΡΡΠΈ (ΡΠΈΡ 1) ΡΠ΅Π²Π΅ΡΡΠΈΠ²Π½Π°Ρ, ΡΠ»ΡΠΆΠΈΡ Π΄Π»Ρ ΠΏΡΠΈΠ²ΠΎΠ΄Π° Π»Π΅Π±Π΅Π΄ΠΊΠΈ ΠΈ ΡΡΡΠ°Π½Π°Π²Π»ΠΈΠ²Π°Π΅ΡΡΡ Π½Π° ΡΠ»Π°Π½Π΅Ρ Π»ΡΠΊΠ° ΠΊΠΎΡΠΎΠ±ΠΊΠΈ ΠΏΠ΅ΡΠ΅Π΄Π°Ρ.
ΠΠ΅Π΄ΡΡΠΈΠΉ Π±Π»ΠΎΠΊ 16 Π·ΡΠ±ΡΠ°ΡΡΡ ΠΊΠΎΠ»Π΅Ρ ΠΈ ΠΏΡΠΎΠΌΠ΅ΠΆΡΡΠΎΡΠ½ΠΎΠ΅ Π·ΡΠ±ΡΠ°ΡΠΎΠ΅ ΠΊΠΎΠ»Π΅ΡΠΎ 13 ΡΡΡΠ°Π½ΠΎΠ²Π»Π΅Π½Ρ Π½Π° Π½Π΅ΠΏΠΎΠ΄Π²ΠΈΠΆΠ½ΡΡ ΠΎΡΡΡ 11 ΠΈ 14 Π½Π° ΡΠΎΠ»ΠΈΠΊΠΎΠ²ΡΡ ΠΏΠΎΠ΄ΡΠΈΠΏΠ½ΠΈΠΊΠ°Ρ 17
ΠΠ° Π°Π²ΡΠΎΠΌΠΎΠ±ΠΈΠ»Π΅ ΡΡΡΠ°Π½ΠΎΠ²Π»Π΅Π½Π° Π»Π΅Π±Π΅Π΄ΠΊΠ°, ΠΏΡΠ΅Π΄Π½Π°Π·Π½Π°ΡΠ΅Π½Π½Π°Ρ Π΄Π»Ρ ΡΠ°ΠΌΠΎΠ²ΡΡΠ°ΡΠΊΠΈΠ²Π°Π½ΠΈΡ Π°Π²ΡΠΎΠΌΠΎΠ±ΠΈΠ»Ρ ΠΏΡΠΈ ΠΏΡΠ΅ΠΎΠ΄ΠΎΠ»Π΅Π½ΠΈΠΈ ΡΡΡΠ΄Π½ΠΎΠΏΡΠΎΡ ΠΎΠ΄ΠΈΠΌΡΡ ΡΡΠ°ΡΡΠΊΠΎΠ² ΠΏΡΡΠΈ, Π° ΡΠ°ΠΊΠΆΠ΅ Π΄Π»Ρ ΠΎΠΊΠ°Π·Π°Π½ΠΈΡ ΠΏΠΎΠΌΠΎΡΠΈ Π΄ΡΡΠ³ΠΈΠΌ Π·Π°ΡΡΡΡΠ²ΡΠΈΠΌ Π² ΠΏΡΡΠΈ Π°Π²ΡΠΎΠΌΠΎΠ±ΠΈΠ»ΡΠΌ
Π£ΡΡΠ°Π½ΠΎΠ²ΠΊΡ Π·Π°ΠΆΠΈΠ³Π°Π½ΠΈΡ ΠΏΡΠΈ ΡΠ±ΠΎΡΠΊΠ΅ Π΄Π²ΠΈΠ³Π°ΡΠ΅Π»Ρ, Π° ΡΠ°ΠΊΠΆΠ΅ Π½Π° Π΄Π²ΠΈΠ³Π°ΡΠ΅Π»ΡΡ , Ρ ΠΊΠΎΡΠΎΡΡΡ ΡΠ½ΠΈΠΌΠ°Π»ΠΈΡΡ ΡΠ°ΡΠΏΡΠ΅Π΄Π΅Π»ΠΈΡΠ΅Π»Ρ ΠΈ ΠΏΡΠΈΠ²ΠΎΠ΄ ΡΠ°ΡΠΏΡΠ΅Π΄Π΅Π»ΠΈΡΠ΅Π»Ρ, Π½Π΅ΠΎΠ±Ρ ΠΎΠ΄ΠΈΠΌΠΎ ΠΏΡΠΎΠΈΠ·Π²ΠΎΠ΄ΠΈΡΡ Π² ΡΠ»Π΅Π΄ΡΡΡΠ΅ΠΌ ΠΏΠΎΡΡΠ΄ΠΊΠ΅:
ΠΠ° Π΄Π²ΠΈΠ³Π°ΡΠ΅Π»Π΅ ΡΡΡΠ°Π½ΠΎΠ²Π»Π΅Π½Π° ΡΠΊΡΠ°Π½ΠΈΡΠΎΠ²Π°Π½Π½Π°Ρ, Π³Π΅ΡΠΌΠ΅ΡΠΈΠ·ΠΈΡΠΎΠ²Π°Π½Π½Π°Ρ ΡΠΈΡΡΠ΅ΠΌΠ° Π±Π°ΡΠ°ΡΠ΅ΠΉΠ½ΠΎΠ³ΠΎ Π·Π°ΠΆΠΈΠ³Π°Π½ΠΈΡ, ΡΠΎΡΡΠΎΡΡΠ°Ρ ΠΈΠ· ΠΊΠ°ΡΡΡΠΊΠΈ Π·Π°ΠΆΠΈΠ³Π°Π½ΠΈΡ Π 102-Π, ΡΠ°ΡΠΏΡΠ΅Π΄Π΅Π»ΠΈΡΠ΅Π»Ρ Π·Π°ΠΆΠΈΠ³Π°Π½ΠΈΡ Π 102, ΡΠ²Π΅ΡΠ΅ΠΉ Π·Π°ΠΆΠΈΠ³Π°Π½ΠΈΡ Π‘Π307 ΠΈ ΠΏΡΠΎΠ²ΠΎΠ΄ΠΎΠ² Π²ΡΡΠΎΠΊΠΎΠ³ΠΎ Π½Π°ΠΏΡΡΠΆΠ΅Π½ΠΈΡ Π² ΡΠΊΡΠ°Π½ΠΈΡΡΡΡΠΈΡ ΡΠ»Π°Π½Π³Π°Ρ ΠΈ ΠΊΠΎΠ»Π»Π΅ΠΊΡΠΎΡΠ°Ρ , Π° ΡΠ°ΠΊΠΆΠ΅ Π²ΡΠΊΠ»ΡΡΠ°ΡΠ΅Π»Ρ Π·Π°ΠΆΠΈΠ³Π°Π½ΠΈΡ.
ΠΠ΅Π½Π΅ΡΠ°ΡΠΎΡ Π51 Π²ΠΎΠ΄ΠΎΡΡΠΎΠΉΠΊΠΈΠΉ, ΡΠ°Π±ΠΎΡΠ°Π΅Ρ ΠΏΠ°ΡΠ°Π»Π»Π΅Π»ΡΠ½ΠΎ Ρ Π°ΠΊΠΊΡΠΌΡΠ»ΡΡΠΎΡΠ½ΠΎΠΉ Π±Π°ΡΠ°ΡΠ΅Π΅ΠΉ ΠΈ ΡΠΎΠ²ΠΌΠ΅ΡΡΠ½ΠΎ Ρ ΡΠ΅Π»Π΅-ΡΠ΅Π³ΡΠ»ΡΡΠΎΡΠΎΠΌ Π Π 5I, ΠΏΡΠ΅Π΄Π½Π°Π·Π½Π°ΡΠ΅Π½ Π΄Π»Ρ ΠΏΠΈΡΠ°Π½ΠΈΡ ΠΏΠΎΡΡΠ΅Π±ΠΈΡΠ΅Π»Π΅ΠΉ ΡΠ»Π΅ΠΊΡΡΠΎΡΠ½Π΅ΡΠ³ΠΈΠ΅ΠΉ ΠΈ ΠΏΠΎΠ΄Π·Π°ΡΡΠ΄ΠΊΠΈ Π°ΠΊΠΊΡΠΌΡΠ»ΡΡΠΎΡΠ½ΡΡ Π±Π°ΡΠ°ΡΠ΅ΠΉ.
Π‘ΠΈΡΡΠ΅ΠΌΠ° ΡΠ»Π΅ΠΊΡΡΠΎΠΎΠ±ΠΎΡΡΠ΄ΠΎΠ²Π°Π½ΠΈΡ Π°Π²ΡΠΎΠΌΠΎΠ±ΠΈΠ»Ρ ΠΎΠ΄Π½ΠΎΠΏΡΠΎΠ²ΠΎΠ΄Π½Π°Ρ, Π½ΠΎΠΌΠΈΠ½Π°Π»ΡΠ½ΠΎΠ΅ Π½Π°ΠΏΡΡΠΆΠ΅Π½ΠΈΠ΅ 12 Π²; Ρ ΠΊΠΎΡΠΏΡΡΠΎΠΌ (Β«ΠΌΠ°ΡΡΠΎΠΉ Π°Π²ΡΠΎΠΌΠΎΠ±ΠΈΠ»ΡΒ») ΡΠΎΠ΅Π΄ΠΈΠ½Π΅Π½Ρ ΠΎΡΡΠΈΡΠ°ΡΠ΅Π»ΡΠ½ΡΠ΅ ΠΊΠ»Π΅ΠΌΠΌΡ ΠΈΡΡΠΎΡΠ½ΠΈΠΊΠΎΠ² ΡΠΎΠΊΠ°.
ΠΠ°Π»ΠΈΡΠΈΠ΅ Π½Π° Π°Π²ΡΠΎΠΌΠΎΠ±ΠΈΠ»Π΅ ΡΠΈΡΡΠ΅ΠΌΡ ΡΠ΅Π³ΡΠ»ΠΈΡΠΎΠ²Π°Π½ΠΈΡ Π΄Π°Π²Π»Π΅Π½ΠΈΡ Π²ΠΎΠ·Π΄ΡΡ Π° Π² ΡΠΈΠ½Π°Ρ ΠΏΠΎΠ·Π²ΠΎΠ»ΡΠ΅Ρ:
Π°) ΠΏΠΎΠ²ΡΡΠ°ΡΡ ΠΏΡΠΎΡ ΠΎΠ΄ΠΈΠΌΠΎΡΡΡ Π°Π²ΡΠΎΠΌΠΎΠ±ΠΈΠ»Ρ Π½Π° ΡΡΡΠ΄Π½ΠΎΠΏΡΠΎΡ ΠΎΠ΄ΠΈΠΌΡΡ ΡΡΠ°ΡΡΠΊΠ°Ρ ΠΏΡΡΠΈ Π·Π° ΡΡΠ΅Ρ ΡΠΌΠ΅Π½ΡΡΠ΅Π½ΠΈΡ ΡΠ΄Π΅Π»ΡΠ½ΠΎΠ³ΠΎ Π΄Π°Π²Π»Π΅Π½ΠΈΡ Π½Π° Π³ΡΡΠ½Ρ ΠΈΠ·ΠΌΠ΅Π½Π΅Π½ΠΈΠ΅ΠΌ Π΄Π°Π²Π»Π΅Π½ΠΈΡ Π² ΡΠΈΠ½Π°Ρ ;
ΠΠ΅ΡΠ΅Π΄ Π²ΡΠ΅Π·Π΄ΠΎΠΌ Π½Π΅ΠΎΠ±Ρ ΠΎΠ΄ΠΈΠΌΠΎ ΡΠ±Π΅Π΄ΠΈΡΡΡΡ, ΡΡΠΎ Π΄Π°Π²Π»Π΅Π½ΠΈΠ΅ Π² ΡΠΈΡΡΠ΅ΠΌΠ΅ Π½Π΅ Π½ΠΈΠΆΠ΅ 4,5 ΠΊΠ³/ΡΠΌΒ². ΠΠΎ Π²ΡΠ΅ΠΌΡ Π΄Π²ΠΈΠΆΠ΅Π½ΠΈΡ Π΄Π°Π²Π»Π΅Π½ΠΈΠ΅ Π² ΠΏΠ½Π΅Π²ΠΌΠ°ΡΠΈΡΠ΅ΡΠΊΠΎΠΉ ΡΠΈΡΡΠ΅ΠΌΠ΅ ΡΠΎΡΠΌΠΎΠ·ΠΎΠ² Π΄ΠΎΠ»ΠΆΠ½ΠΎ Π±ΡΡΡ Π² ΠΏΡΠ΅Π΄Π΅Π»Π°Ρ 5,6β7,4 ΠΊΠ³/ΡΠΌΒ²
autoruk.ru

