Как устроен авианосец
- Подписаться
- Лента публикаций
- Последние публикации
- Лучшие публикации
- за все время
- за полгода
- за месяц
- Категории
- Города и страны
- Здоровье
- Изобретения
- Интересные факты
- История
- Космос
- Наука
- Природа
- Рекорды
- Технологии
- Человек
Как устроен наземный авианосец » Военное обозрение
Последние политические события вернули в распоряжение Российских вооруженных сил уникальный полигон НИТКА, построенный в Крыму незадолго до распада СССР. В те времена у Советского Союза были широкомасштабные планы развития авианосного флота. Пригодится ли НИТКА теперь?Наземный испытательный тренировочный комплекс авиации стал в обиходе запросто величаться НИТКА (и склоняться как существительное женского рода). Это стало возможным после того, как из аббревиатуры НИУТКА исключили «У» — букву, говорящую о том, что комплекс этот был (как, впрочем, и остался) еще и учебным.
План строительства будущей НИТКИ был утвержден 30 апреля 1976 года постановлением ЦК КПСС и Совета министров СССР в рамках намеченной программы строительства двух тяжелых крейсеров с авиационным вооружением по проекту 1153. Эти корабли (которые так и не родились, похороненные перестройкой) предполагалось оснастить атомными силовыми установками, катапультами и аэрофинишерами. Корабли должны были нести 70 летательных аппаратов различного типа, включая тяжелые самолеты дальнего радиолокационного дозора Як-44РЛД (аналог американского АВАКС). Постановление правительства предусматривало упреждающее создание наземного тренировочного комплекса, способного решать все вопросы, связанные со строительством и эксплуатацией будущих кораблей. Первым должен был появиться полномасштабный наземный прототип авианосца. В мире на тот момент существовал единственный подобный комплекс, и принадлежал он США. Туда, а именно в Лейкхерст (штат Нью-Джерси), и отправились главком ВМФ адмирал Горшков с командующим морской авиацией генералом Мироненко. То, что им удалось увидеть и узнать там, многое прояснило. Вырисовалась общая концепция комплекса. И работа началась. Проектировали и строили НИТКУ те же КБ и заводы, что создавали авианосцы для моря — Невское ПКБ и Черноморский завод (здесь комплекс именовался заказом 705). Очень велика была роль в создании НИТКИ Ленинградских ЦНИИ судового машиностроения и Пролетарского завода. Именно им доверили разработать, изготовить, смонтировать непосредственно на комплексе и наладить такие его важнейшие компоненты, как паровую катапульту и аэрофинишеры, впервые создаваемые в СССР.
Как устроена НИТКА
НИТКА — это наземный прототип ударного авианосца, спрятавший глубоко под землю все три свои палубы. Отсеки этого «корабля» были выполнены так же, как у строящегося на стапеле Николаевского Черноморзавода авианосца. Правда, нет здесь комфортабельной кают-компании, спортивного зала и многого другого, предназначенного для быта моряков в условиях океанских походов. Все пространство под верхней палубой отдано технике.
Главными новшествами, прошедшими отработку на нескольких блоках НИТКИ, были аэрофинишеры, разгонное устройство, трамплины и оптико-электронная система посадки «Луна-3М».
Аэрофинишерами служат четыре сверхпрочных стальных троса, протянутых поперек кормовой части взлетно-посадочной палубы с интервалом в 13 м. Дополняют их аварийная цепь и нейлоновая сеть-ловитель на носовом срезе палубы. Сердце аэрофинишерной системы — тормозная машина, расположенная в специальном помещении под палубой. Этот мощный агрегат массой под 100 т основан на принципе вытеснения рабочей жидкости из тормозного цилиндра в гидроаккумулятор через клапан-дроссель, регулировка которого обеспечивает требуемое тормозное усилие на штоке цилиндра. Каждый трос аэрофинишера имеет свою тормозную машину. Тормозные цилиндры при почти полуметровом диаметре имеют длину 6 м. С их рабочими штоками через полиспасты соединены тросы. Самолет при посадке зацепляет специальным, размещенным в его хвостовой части гаком (крюком) трос и, приподнимая его примерно на 0,3 м над палубой, тянет за собой. Теперь в дело вступает тормозная машина, обеспечивающая в течение двух секунд остановку самолета на пробеге в несколько десятков метров. О количестве энергии, гасящейся тормозной машиной, можно судить по тому, что рабочая жидкость в ее цилиндрах всего за 2 с нагревается до 110 °C. Отработка и испытания аэрофинишеров первоначально выполнялись с помощью нагрузочных тележек-имитаторов (массой от 14 до 27 т) и разгонного устройства. Только после их успешного завершения к посадке на аэрофинишеры были допущены самолеты.
Разгонным устройством служила разработанная ЦНИИСМ и изготовленная Пролетарским заводом в Ленинграде паровая катапульта. Всего было выполнено три аналогичных образца, два из которых предназначались для строящегося авианосца «Ульяновск». Третья катапульта испытывалась на НИТКЕ сама и участвовала в отработке аэрофинишеров. Катапульта, известная как изделие «Светлана-1М», представляла собой размещенный под верхней палубой собранный из секций щелевой цилиндр длиной 90 м и диаметром более полуметра. Жестко соединенный с поршнем катапульты челнок через щели в цилиндре и палубе выходит наружу, где должен сцепляться с носовым шасси стартующего самолета. Цилиндр снабжен сложной системой уплотнения щели, минимизирующей потери подаваемого пара, а также расположенным в концевой секции гидротормозным устройством. Этот также очень непростой агрегат обеспечивает остановку несущегося со скоростью 250 км/ч челночно-поршневого узла массой в 5 т после его отстыковки от шасси самолета или нагрузочной тележки. Тормозной путь при этом укладывается в 1,5 м. Рабочим телом катапульты служит перегретый пар, подаваемый из баллонов-аккумуляторов. Паропроизводящая установка выполнена на базе обычного корабельного котла с топкой, сжигающей ежечасно до 1 т мазута. На каждый «выстрел» катапульты расходуется до 800 кг пара. Кроме катапульты, пар используется и для работы других агрегатов НИТКИ. Отработанный пар направляется в конденсаторы, куда по 1,5-метровой трубе подается морская вода от специально для этого построенного водозаборника.
Хотя катапульта на деле доказала свое соответствие требованиям ТЗ, самолеты на НИТКЕ с ее помощью не взлетали — прежде всего потому, что самолетов, пригодных для катапультного старта, в России пока нет. В связи с этим на НИТКЕ был успешно отработан другой способ взлета — с трамплина. Вначале был выполнен трамплин с углом подъема 8,5°, предназначенный для упрощенного энергосберегающего старта самолетов вертикального взлета Як-41. Позже угол подъема трамплина был увеличен до 14°. Именно такой трамплин, рассчитанный на взлет МиГ-29К и Су-33, выполнен на палубе нашего пока единственного ударного авианосца «Адмирал Кузнецов».
Все в новинку
Сначала построенный комплекс обкатали с помощью беспилотных аппаратов. Пилотируемые полеты начались летом 1982 года. 21 августа первый взлет на МиГ-29 совершил летчик-испытатель А. Фастовец, через неделю за ним последовал пилотируемый Н. Садовниковым Су-27. Только 31 августа 1984 года летчик-испытатель В. Пугачев совершил первую посадку на НИТКУ с использованием аэрофинишера и системы «Луна-3М». До 1988 года были проведены сотни взлетов, выполненные в разных метеоусловиях.
В декабре 1988-го летчики-испытатели Вотинцев и Крутов выполнили на комплексе аэрофинишерную посадку на самолете Су-25УТГ. Началась подготовка строевых пилотов. По результатам отработки на НИТКЕ были приняты принципиальные решения по конструкции строящегося корабля. От катапульты пока отказались, а в носовой части палубы выполнили параболический трамплин с углом в 14°.
Жертва политики
Но грянула перестройка, а затем и развал СССР. Украина стала «самостийной», Черноморский завод и НИТКА остались на ее территории. С 1994 года Россия была вынуждена арендовать комплекс для обучения и тренировок своих пилотов, рассчитываясь с его новым владельцем запчастями. В 2008 году российские летчики были отлучены от НИТКИ в наказание за участие Черноморского флота в конфликте с Грузией. В сентябре 2010-го запрет был снят, но одновременно поднята арендная плата. Все же полеты возобновились. Но тем временем в Ейске уже шло строительство российского аналога НИТКИ. Сейчас его вводят в строй, в июле 2013 года первый взлет с трамплина нового комплекса выполнил Су-25.
По своим возможностям новый тренажер превосходит первую НИТКУ. В частности, в нем предусмотрена вертолетная часть, монтируемая в акватории Азовского моря. Благодаря такому тренажеру летчики смогут отрабатывать взлет и посадку вертолетов на палубу авианесущих кораблей. На наземной (самолетной) части тренажера используется усовершенствованная система управления посадкой «Луна-37».
В 2012 году Минобороны РФ в последний раз перечислило Украине около $1,5 млн в счет оплаты за ранее предоставленные услуги НИТКИ, а в сентябре 2013-го официально сообщило, что с 2014 года не планирует использовать этот комплекс. Ситуация в корне изменилась после возвращения Крыма в лоно России. Вместе с полуостровом вернулась и НИТКА. Ничего на ней особо не изменилось, ведь все эти годы она использовалась штатно для тренировок только российских летчиков. Но часть агрегатов комплекса требует тщательной ревизии и как минимум ремонта. В марте текущего года Главный штаб ВМФ России сообщил, что НИТКУ может ожидать глубокая модернизация в рамках проекта новых российских авианосцев, уже разрабатываемого Невским ПКБ. И это понятно: ведь возведение столь сложных и дорогостоящих сооружений целесообразно лишь для государств, строящих ударные авианосцы.
Мнение эксперта

Владимир Григорьевич Дейнека
Генерал-полковник, командующий морской авиацией ВМФ России в 1994—2000 годах.Полигоны типа НИТКА, разумеется, очень нужны нашей морской авиации, по крайней мере до тех пор, пока у нас существует тяжелый авианесущий крейсер и есть планы дальнейшего развития авианосного флота. Дело в том, что взлет с палубы и посадка на нее — сложнейшие задачи, и у нас в стране наберется только три десятка летчиков, которые это умеют. Их меньше, чем космонавтов! Обычный истребитель, взлетающий с сухопутного аэродрома, имеет разбег 500−800 м и пробег после посадки — 500−600 м. Ничего подобного в условиях авианосца мы позволить себе не можем. При трамплинном взлете разбег может составлять всего 95 м, но после отрыва от трамплина самолет еще не выходит на эволютивную скорость, одну-две секунды он движется по баллистической кривой и практически неуправляем. Сталкивающийся с такой ситуацией пилот должен быть очень хорошо подготовлен.
При посадке на сухопутном аэродроме, когда в распоряжении пилота есть полоса длиной 2500 и шириной 48 м, самолет спускается к ней по пологой глиссаде 2,5° и последовательно проходит стадии выравнивания, выдерживания (на это нужно метров 300), приземления и пробега. Морской истребитель устремляется к палубе по крутой глиссаде 4°, при этом он должен попасть в прямоугольник размером примерно 36 х 6 м и совершить посадку без выравнивания и выдерживания. Помимо того, что это также невероятно сложная задача, при посадке с крутой глиссады и без выравнивания перегрузка составляет 4 единицы по линии голова-таз. Затем с помощью аэрофинишера на расстоянии чуть меньше 100 м самолет должен погасить скорость от 240 км/ч до нуля. Это перегрузка по линии спина-грудь 4,5−5 единиц. Неудивительно, что профессиональной болезнью пилотов палубной авиации становится отслоение сетчатки.
А какова цена ошибки? Если пилот не попадет в небольшой прямоугольник, гарантирующий правильную посадку, он может не только уничтожить дорогостоящий самолет, но и, врезавшись в борт, потопить авианосец. Это огромная ответственность, и, разумеется, прежде чем допускать пилотов к палубным взлетам и посадкам, их необходимо тренировать там, где недолет, перелет, посадка левее или правее цели не приведет к фатальным последствиям. И речь идет не только о подготовке пилотов, не имевших ранее опыта взлета с авианосца и посадки на палубу, но и о переподготовке уже опытных летчиков, если в практике был сделан перерыв.
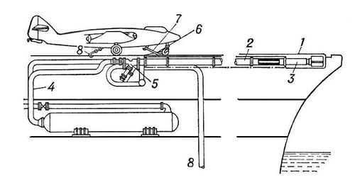
Схема полигона НИТКА

1. Командно-диспетчерский пункт
2. Стартовый блок БС-1
3. Трек паровой катапульты
4. Стартовый блок БС-2 (под ним паросиловая установка)
5. Блок аэрофинишеров БС-2−2
6. Место, зарезервированное для второй катапульты
7. Взлетно-посадочная полоса с трамплином
Аналогичные полигоны в мире
Все авианосные державы позаботились о том, чтобы каждый пилот, прежде чем пытаться совершить посадку на авианосец, прошел серьезную тренировку на земле. Наиболее активно в этом отношении развивается Китай.
США

Ни одно государство мира не имело и не имеет сегодня такого количества ударных авианосцев, как США. Только атомных монстров водоизмещением более 100 000 т (тип Нимиц) в строю десять. На борту каждого по 60−80 летательных аппаратов разных классов. А уже строится следующая усовершенствованная серия (тип Gerald Ford). Американцы были первыми и в создании Инженерного центра морской авиации, предназначенного для отработки новых технических решений при создании авианосцев, а также обучения и тренинга пилотов палубной авиации. Центр, расположенный вблизи города Лейкхерст, штат Нью-Джерси, создан на основе существующей с 1930-х годов базы дирижаблей. Сегодня в его составе несколько комплексов, имитирующих полномасштабные летные палубы перспективных авианосцев с соответствующей инфраструктурой (аэрофинишеры, катапульты, системы управления посадкой и т. д.). Центр обеспечивает взлет и посадку всех типов палубных летательных аппаратов (от легких беспилотников до тяжелых самолетов радиолокационной разведки системы АВАКС). Технической «изюминкой» Центра служат функционирующие в его составе новейшие электромагнитные катапульты для установки на строящиеся авианосцы.
Китай

Сразу после приобретения недостроенного советского авианосца и прототипа палубного истребителя Т-10К (ныне Су-33) Китай приступил к созданию наземного прототипа корабля. Вскоре полномасштабный бетонный авианосец с 300-метровой летной палубой и башней управления вырос в районе города Ухань (провинция Хубэй). Там уже начали совершать посадки и взлетать новые китайские палубные истребители J-15 (по мнению специалистов, это чистый клон российского Су-33). Столь стремительному продвижению китайцев по пути создания наземного комплекса во многом способствовали их визиты на николаевский Черноморский завод и крымскую НИТКУ, а также курс лекций на заданную тему, прочитанный в Ухане приглашенным туда главным конструктором советских паровых катапульт и аэрофинишеров А. Булгаковым. Но китайские инженеры пошли дальше: освоив самые передовые технологии создания мощных линейных электродвигателей, накопителей энергии и генераторов электромагнитных импульсов, они почти одновременно с американцами смогли построить электромагнитную катапульту, имеющую очевидные преимущества перед паровой. Длина всего устройства составляет около 150 м, в том числе электромагнитный трек порядка 80 м. Параллельно строятся новые комплексы, имитирующие взлетно-посадочную палубу авианосца, в провинциях Лаонин и Шэньси. Размер их будет соответствовать посадочным палубам перспективных китайских авианосцев, два из которых должны быть готовы уже в 2015 году.
Индия

Индийцы, не мудрствуя лукаво, свой наземный комплекс (SBTF) сделали по образу и подобию российского, строящегося в Ейске. Тем более что их недавно вошедший в строй авианосец «Викрамадитья» — это не что иное, как полностью перестроенный в Северодвинске бывший советский тяжелый авианесущий крейсер «Адмирал Горшков» (ранее «Баку»), а взлетать с его палубы будут российские МиГи и Су. Вся проектная документация комплекса была разработана Невским ПКБ. Взлетная палуба комплекса аналогична упомянутому авианосцу, также с трамплином в 14°. Расположилась индийская НИТКА вблизи моря — в курортной зоне штата Гоа. В 2013 году началась ее опытная эксплуатация.
Великобритания
О наземном испытательно-тренажерном комплексе этой страны известно очень немного. Его построили в центральной части северной Англии, в графстве Западный Йоркшир вблизи старинного города Брэдфорд. Комплекс оснащен паровой катапультой и аэрофинишерами. Уже в 70-е годы прошлого века на нем проходили испытания палубные истребители JaguarМ-05, а позднее — изготовленные во Франции одно- и двухместные палубные истребители Rafale.
topwar.ru
Как американские самолеты взлетают с авианосцев: Оружие: Силовые структуры: Lenta.ru
Намерение президента США Дональда Трампа на фоне не самого удачного хода испытаний новейших электромагнитных катапульт, предназначенных для использования на новейших же авианосцах, вернуться к проверенным паровым катапультам вызвало оживленные споры. «Лента.ру» вспоминает историю развития этих устройств.
Авианосцы начали строить в разных странах еще в конце Первой мировой войны, а после Вашингтонского соглашения 1922 года, жестко ограничившего развитие линкоров, число авианосцев начало быстро увеличиваться. Первое поколение кораблей этого типа редко оснащалось катапультами — самолеты 1920-х — начала 1930-х годов были достаточно легкими, чтобы разогнаться и взлететь самостоятельно, используя собственный двигатель и скорость воздушного потока над палубой авианосца, при взлетных операциях обычно идущего полным ходом против ветра.
Тем не менее уже к концу 1930-х годов появление палубных торпедоносцев и пикирующих бомбардировщиков потребовало создания катапульт — иначе эти самолеты не могли подняться с полным взлетным весом.
В ходе Второй мировой катапульты применялись постоянно, особенно на эскортных авианосцах — относительно небольших кораблях, не отличавшихся длинными взлетными палубами и высокой скоростью. На ударных авианосцах роли разделились: истребители, как правило, продолжали взлетать без катапульт на полном ходу корабля, ударным машинам требовался дополнительный разгон. В ВМС США катапульты на сжатом воздухе либо пороховых газах назывались Turkey shooter — по прозвищу самого тяжелого на тот момент американского палубника «Эвенджер». Turkey («индюшка») с полной нагрузкой и запасом топлива запускался с авианосца только с помощью катапульты.

TBM Avenger готовится к взлету с авианосца «Эссекс», февраль 1945 года
Фото: worldwarphotos.info
Из двадцати четырех переданных ВМС США авианосцев типа «Эссекс» только головной корабль не был оснащен катапультами при постройке, получив их позже. Восемь авианосцев располагали одной катапультой на полетной палубе, остальные — двумя. Четыре корабля были также оборудованы катапультами в ангарной палубе. Это установленное поперек корпуса авианосца устройство позволяло с помощью пороховых зарядов «выстреливать» истребители в открытый проем ангара, не тратя времени на их подъем на верхнюю палубу, например в случае внезапной атаки противника. Затем, с развитием радиолокаторов и палубных самолетов дальнего радиолокационного обнаружения, эта практика ушла в прошлое, и катапульты в ангарах «Эссексов» были демонтированы.
Первые палубные реактивные истребители 1945-46 годов уже безусловно требовали катапультного старта: особенности реактивных двигателей не позволяли им набирать скорость так же быстро, как и поршневым предшественникам (хотя их максимальная скорость была меньше, чем у новомодных «свистков»). Новейшие в то время гидравлические катапульты типа H Mk.8 позволяли поднимать в воздух реактивные машины, однако довольно быстро достигли предела мощности, ограничившего увеличение массы взлетающих самолетов.
В 1950 году на корабле Его Величества «Персеус» приступили к испытаниям паровой катапульты. В отличие от прежних устройств, механизм получал энергию непосредственно от главной энергетической установки корабля, используя вырабатываемый котлами пар. Новая концепция обещала резкий рост мощности катапульт, необходимый для подъема в воздух все более тяжелых самолетов (в том числе с ядерным оружием на борту). Сконструировал это устройство коммандер (капитан 2 ранга) резерва Королевского флота Колин Митчелл, главным испытателем был один из самых знаменитых британских морских пилотов, кэптен (капитан 1 ранга) Эрик Браун, занесенный в Книгу рекордов Гиннесса как человек с самым разнообразным опытом пилотирования — 487 типов (включая варианты) самолетов и вертолетов практически всех стран мира, от обеих Америк до СССР и Японии.
Материалы по теме
00:22 — 13 апреля 2017
Семь поколений
США впервые за сорок лет начали испытания авианосца нового типа
Это не могло не заинтересовать американских адмиралов, нуждавшихся в идеях, способных повысить возможности флота на фоне стремительного прогресса стратегической бомбардировочной авиации. США в итоге и стали лидером отрасли, помимо катапульт позаимствовав у англичан, остававшихся в то время еще законодателями мод, угловую палубу авианосцев, а также оптическую систему привода на посадку.
Испытания прошли успешно. С тех пор паровые катапульты — неотъемлемая часть комплекса авиационно-технических средств авианосцев ВМС США. Паровые катапульты устанавливались как на ранее построенные корабли типа «Эссекс» и «Мидуэй» в рамках модернизационных пакетов, так и на новые суперавианосцы типа «Форрестол». За последующие три десятка лет американский флот применял семь вариантов катапульт трех базовых типов — С-7, С-11 и С-13. Последние модификации эксплуатируются и сейчас.
Противолодочный самолет S-2E Tracker взлетает «через волну». Авианосец «Тикондерога», 1971 год.
Максимальный взлетный вес самолетов, которые могли быть подняты в воздух с помощью катапульт этих типов, колеблется в районе 32-36 тонн, чего достаточно для подавляющего большинства палубных самолетов. Однако возможен и подъем более тяжелых машин (например максимальный взлетный вес испытывавшегося в 1960-х F-111B приближался к сорока тоннам) с использованием традиционных для авианосцев методов облегчения взлета — полный ход против ветра. Катапульты зарекомендовали себя как достаточно простые и надежные системы — по собранной за почти шестьдесят лет американской статистике эксплуатации суперавианосцев, начиная с типа «Форрестол» и заканчивая «Нимитцами», в течение 99,5 процентов времени как минимум одна из четырех катапульт на каждом корабле готова к немедленному применению.
Достоинства паровой катапульты очевидны. Недостатки — тоже. Устройства этого типа отъедают заметную часть мощности энергетической установки корабля, потребляя большое количество пара с крайне низким коэффициентом полезного действия (4-6 процентов). В холодную погоду операции на палубе сильно осложняются из-за интенсивного парения, на поверхности палубы может образовываться наледь. Кроме того, на морском воздухе паровая катапульта требует особо тщательного антикоррозийного ухода. Обслуживание паровых катапульт входит в число самых грязных корабельных работ из-за большого объема используемой в механизмах устройства смазки.

F-14B готовится к взлету с палубы авианосца «Гарри Трумэн»
Фото: US Navy
Наконец, как отмечают инженеры ВМС США, в устройстве отсутствует обратная связь, что осложняет контроль и предупреждение инцидентов, способных привести к аварии и снижающих ресурс самолетов. Невозможность гибкого регулирования мощности катапульты приводит к тому, что она малопригодна для работы с легкими беспилотниками, которые могут получить повреждения при катапультном старте. Большая масса и объем также не позволяют назвать паровые катапульты оптимальным вариантом для кораблей, пусть даже настолько больших, как авианосцы.
Устранить эти недостатки была призвана электромагнитная катапульта. Идея подобного устройства предлагалась еще в 1940-х годах, но тогда было не до этого. Электромагнитная катапульта с гибкой цифровой системой управления, позволяющей поднимать все типы машин, от истребителя с максимальной взлетной массой до легкого БПЛА, всерьез заинтересовала ВМС США после того, как стало ясно, что ввод беспилотников в корабельные авиагруппы — насущная потребность флота, и это задача на ближайшую перспективу. Новым устройством, получившим обозначение EMALS, предполагалось оснастить авианосцы типа «Джеральд Форд».
По сравнению с паровой катапультой EMALS имеет меньший вес, занимает меньший объем, требует меньше времени и людей для обслуживания и управления, быстрее перезаряжается. Благодаря более высокому КПД электромагнитное устройство создает меньшую нагрузку на главную энергетическую установку корабля. Наибольшее упрощение конструкции произошло за счет устранения гидравлических и пневматических подсистем, и упрощения механической части по сравнению с паровой катапультой, которой для каждого запуска требовались сотни килограммов перегретого пара. В целом это устройство отлично ложится в концепцию «электрических кораблей», которые в перспективе должны определять облик ВМС США в целом.
«Звучит, по мне, как-то не очень — «цифровые». Это что такое? Это очень сложно, вы должны быть Альбертом Эйнштейном, чтобы сообразить. И они хотят еще авианосцев. Я говорю: вам какая система нужна? — «Сэр, мы хотим цифровую!» Я говорю, нет, не будет вам цифровой. Будете использовать чертов пар, потому что эти ваши «цифровые» устройства стоят сотни миллионов долларов, и это плохо», — заявил президент США Трамп в интервью Time.

F/A-18E Super Hornet готовится к взлету с электромагнитной катапульты на испытательном стенде
Это была реакция на разговор с одним из офицеров ВМС США, участвующих в испытаниях новой системы, который сообщил своему главнокомандующему, что новая система пока не дает достаточной мощности и в целом «работает нехорошо». Комментировать Трампа сложно. С одной стороны, паровые катапульты обеспечивают боеспособность американских палубных авиакрыльев уже более шести десятилетий и могут прослужить еще столько же. С другой — они не вписываются в перспективные концепции применения ВМС, требуя серьезного пересмотра планов использования БПЛА и внесения радикальных изменений в конструкцию авианосцев нового поколения, проектировавшихся как полностью электрические корабли, не нуждающиеся в массивных паропроводах от главной энергетической установки к авиационно-техническому комплексу.
Корректировать и демпфировать высказывания американского президента предстоит в первую очередь главе Пентагона Джеймсу Мэттису и министру ВМС США Шону Стекли. Учитывая прошлое Мэттиса как генерала Корпуса морской пехоты США, потребности флота он должен понимать больше, чем многие его коллеги, так что дискуссия обещает быть как минимум интересной. Впрочем, достаточно отвлеченной: последствия любого решения в данном случае начнут сказываться не раньше середины следующего десятилетия.
lenta.ru
Атомная установка на авианосце
Первый атомный авианосец
Использование на авианосцах зеркальных устройств посадки позволяет принимать на вооружение большие и скоростные бомбардировщики. При этом корабль все равно имеет один серьезный недостаток. Запасов горючего для функционирования судна хватает не более, чем на трое суток. В связи с этим авианосец становится буквально привязанным к танкерам, которые периодически посредством специальных шлангов перекачивают в него топливо. Такие сложности делают боевой корабль более уязвимым перед противником.
Инженеры начинают искать новый тип двигателя, позволяющий работать в автономном режиме более долгий срок. Однако размеры нового оборудования оказываются настолько большими, что приходится проектировать еще больший авианосец. Первым таким кораблем становится американский «Энтерпрайз», введенный в эксплуатацию в 1961 году. Для того, чтобы обеспечить энергией такой суперавианосец необходимо работа сразу 8 атомных реакторов. Благодаря использованию ядерной силовой установки судно получило возможность автономного плаванья в течение трех лет.
Особенности современных Авианосцев
Разновидности
Схема работы атомного реактора авианосца США
Как же работает данное устройство? Каким образом его разместили на корабле и как инженеры обеспечили защиту персонала от сильнейшего излучения? Итак, схема работы атомного реактора авианосца США выглядит следующим образом:
- При облучении атомов урана частицами можно добиться эффекта, позволяющего разъединить эти атомы;
- При этом процессе выделяется огромное количество тепловой энергии;
- Полученную энергию используют для образования пара;
- Произведенный пар направляют в турбину, которая вследствие этого начинает двигаться с большой скоростью;
- Вращение передается на длинный вал размером 120 метров, соединенный с винтом;
- Для движения авианосца требуется 4 подобных винта.

1 — машинное отделение; 2 — контейнер с реактором; 3 — отсек вспомогательных механизмов; 4 — хранилище отработавших ТВЭЛ
[flat_ab id=”1″]
В результате вышеописанных действий достигается скорость гигантского корабля, равная 55 км в час. Для примера, атомная установка, размещенная на «Энтерпрайз», может обеспечить электричеством город с населением 500 тысяч человек.
Однако следует помнить, что ядерный реактор выделяет облучение, которое может погубить все живое в радиусе нескольких километров. Поэтому для защиты экипажа необходимо закрыть смертоносное устройство коробом, созданным из сотен тонн свинца.
Атомный авианосец «Энтерпрайз» для полноценной работы требовал 8 ядерных реакторов, каждый из которых находился в свинцовой защите. Куда же поместить это тяжелейшее оборудование? Размещая его в центре, при сильном шторме корабль могло деформировать. Поэтому инженеры усилили киль на корабле, сделав металлическую конструкцию, напоминающую соты. В результате каждый реактор равномерно распределял свой вес по всей протяженности киля.
Следующий атомный авианосный корабль также был создан американцами. «Нимиц» может плавать в автономном режиме целых 20 лет и для этого ему потребуется всего 2 реактора. Такая значительная экономия пространства позволила хранить больше горючего и боеприпасов для палубной авиации. Численность экипажа плавучего города достигает 3 200 человек, и это не считая команды, обслуживающей воздушные судна. Таким образом, общее количество людей составляет свыше 6 000 человек.

[flat_ab id=”2″]
Атомные авианосцы России
На сегодняшний день на вооружении у ВМФ России находится всего один авианосец «Адмирал Кузнецов». Энергетическая установка включает четыре паровые турбины, 8 котлов, 4 винта. При этом максимальная скорость достигает 29 узлов. В автономном режиме корабль может плавать до 45 суток. Но низкая «энергоемкость» судна не только ограничивает его в дальности автономных походов, это еще и число военных способных единовременно выполнять боевую задачу.
Экипаж авианосца Адмирал Кузнецов составляет 1960 человек, включая более 500 офицеров. Они отвечают за бесперебойную работу корабля и полноценное функционирование в условиях проведения атакующих маневров. Помимо этого на авианосце базируется до 700 человек, обслуживающих авиационное вооружение.

Таким образом, российский «Адмирал Кузнецов» требует в два раза меньшее количество персонала, необходимого для эксплуатации корабля, в сравнении с количеством экипажа на американских атомных авианосцах типа «Нимиц». Следовательно, стоимость ежегодного обслуживания российского судна ниже стоимости американского. Однако не стоит забывать, что атомный реактор позволяет увеличить автономность судна в несколько сотен раз и позволит обслуживать большее количество авиации, что, разумеется, повлечет за собой увеличение персонала. Именно поэтому в России началась разработка новых атомных авианосцев.
Подводный атомный авианосец Акула
В последние месяцы активно распространяется информация о планировании строительства нового российского корабля, аналогов которому в мире до сих пор не существует. Атомный подводный авианосец 941-бис «Акула» пока находится в стадии разработок, однако фотографии макета субмарины уже появились в сети интернет. Официальных подробностей о вооружении, количестве ядерных установок и экипаже на сегодняшний день нет и быть не может в связи с засекреченностью строительства боевых кораблей. Однако, изучая макетные данные «Акулы» и зная об уникальных особенностях новой российской атомной субмарины «Борей», можно быть уверенными, что в случае строительства такого подводного авианосца – это будет серьезное боевое оружие, способное навести ужас на противника.
vmflot.ru
Стартовая катапульта на авианосце
Катапульта на авианосце
Первый взлет самолета с палубы корабля состоялся еще в 1910 года. Однако это не более чем условное название как самолета, так и самого взлета самого взлета. Самолет представлял собой небольшой примитивный планер, который взлетал со специально сконструированного помоста размером 25*7 метров. Летательный аппарат «Кёртисс» которым управлял Юджин Эли, смог преодолеть расстояние 4,5 км и успешно приводнился, удержаться на плаву ему позволяли деревянные поплавки.

Летательный аппарат «Кёртисс» 1910 год

Летательный аппарат «Кёртисс» 1910 год
Такой самолет не мог выполнять какие-либо боевые задачи, разве что разведка и связь с отдаленными частями и формациями флота. Когда технология повторного пуска самолетов была освоена наступила эра гидроавианосцев.
Появился рад существенных технических проблем, которые необходимо было решить. В процессе модернизации летательных аппаратов и оснащении их дополнительными баками с горючим и станковыми пулеметами увеличивало их вес. Разгон на палубе уже не давал необходимого ускорения для получения взлетной тяги. Была разработана стартовая катапульта. Это были направляющие, вдоль которых осуществлялся разгон при помощи системы тросов.
Стоит отметить: Первый взлет с катапульты состоялся в 1916 году и стал возможным при непосредственной помощи в разработке отцов всей авиации братьев Райт. Направляющая рампа, установленная на авианосце США “Северная Каролина”, имела длину 30 метров и позволяла в 7 раз увеличить стартовую скорость самолета.
Особенности современных Авианосцев
Разновидности
[flat_ab id=”2″]
Тип стартовых катапульт на авианосце
Сегодня применение авиации в военно-морских силах уже привычная практика. Во время проведения боевых действий при атаках наиболее удобно использовать воздушное вооружение. Однако первое время существовала проблема запуска самолета с палубы авианосца.
Катапульта позволяет в несколько раз увеличить скорость взлета с авианосца. Ее первые образцы действовали по принципу рогатки – однако такой способ не получил развития. И в настоящий момент существует два варианта данного устройства. Рассмотрим каждый из них в отдельности:
- Паровая катапульта – для ускорения используется пар, размещенный в специальных цилиндрах под взлетной полосой. На корме корабля монтируются направляющие, через которые проходит трос, тянущий истребитель по заданной линии. Этот трос прикреплен к поршню, находящемуся внутри цилиндра. После запуска пар выталкивает поршень, который в свою очередь тянет за собой самолет. В результате достигается скорость, равная 250 км/ч – достаточная для поднятия воздушного судна в небо. В настоящее время паровая катапульта используется на американских авианосцах типа «Нимиц» и на авианесущих крейсерах некоторых других стран.
- Электромагнитная катапульта – новая система запуска самолетов, применяемая на недавно вышедшем авианосце США – «Джеральд Р. Форд». Устройство электромагнитной катапульты состоит из: троса, направляющего колеса, магнитной трубы с железным сердечником, а также индуктивных катушек и резисторов. Принцип действия схож с предыдущим устройством, при этом самолет набирает скорость под действием магнитного поля. Движение и последующий взлет самолета с авианосца возможен строго по направляющей.
При столь быстром разгоне воздушное судно вырабатывает огромное количество раскаленного газа. Поэтому перед стартом позади самолета поднимается специальное устройство – газоотражатель. Он защищает персонал и необходимые технические установки от горячих выбросов. Принцип работы паровой катапульты значительно уступает электромагнитному устройству. Во втором случае при запуске самолета отсутствует дополнительное паровое задымление, которое препятствует нормальному обзору как со стороны пилота, так и со стороны остального персонала. При этом существует значительно меньше шансов аварийных нештатных ситуаций. Также современные методы катапультирования позволяют увеличить скорость взлета с авианосца.

Схема устройства паровой катапульты: 1 — полётная палуба; 2 — паровой цилиндр; 3 — тормозной цилиндр; 4 — труба парового коллектора; 5 — стартовый клапан; 6 — челнок; 7 — буксирный трос; 8 — задерживающее устройство.
Шло время и самолеты набирали в массе, не отставали от них и мощности катапульт. Так, например, в 20-е годы прошлого столетия катапульта на корабле «Мэриленд» имея всего 24 метра для разгона, могла передать ускорение телу 1,6 тонны до 75 км/ч. В 50 годы катапульты могли разгонять палубную авиацию до 200 км/ч массой 6 тонн и до 115 км/ч массой 28 тонн. Сегодня эти цифры практически остались неизменными, поскольку это очень сильное давление, которое оказывается на пилотов. При старте они испытывают перегрузки 6 g которые потом резко снижаются до 3 g.
Длина взлетной полосы
Большинству боевых летательных аппаратов в естественных условиях требуется около 1,5 км разгона. Если на земле проблем с этим не возникает, то в море истребитель или бомбардировщик должен осуществить подъем в условиях ограниченного пространства. Длина взлетной полосы на корабле обычно не превышает 200 метров. Например, авианосцы типа «Нимиц», находящиеся на вооружении США в количестве 10 единиц, имеют общую длину судна почти 333 метра, при этом взлетная полоса занимает не более одной трети.
В связи с этим военные инженеры стали разрабатывать варианты решения данной задачи. Так, были сконструированы катапульты, позволяющие осуществлять взлет с авианосца. Стоит отметить, что не все авианесущие корабли оснащены катапультами. Существует еще один способ запуска авиации – трамплин. Расскажем о нем на примере Российского авианосца «Адмирал Кузнецов».
[flat_ab id=”2″]
Взлет самолетов с Адмирала Кузнецова
Отличительной особенностью российского авианосца является возможность использования на его борту тяжелых самолетов, которые не смогут взлететь с американских более модернизированных атомных аналогов. Корабль не имеет громоздких паровых и других катапульт, вместо этого палуба имеет трамплин с углом наклона 14,3°, благодаря ему и становится возможен взлет с авианосца.

Адмирал кузнецов
На самом деле установка трамплина была вынужденной мерой. Катапульта требовала больших энергетических затрат, которые можно получить с помощью ядерных установок. В СССР же не планировалось строительство атомных авианосцев. Однако у такого судна имеются и достоинства:
- Взлет самолетов с Адмирала Кузнецова может осуществляться в любой климатической зоне, в отличие от паровых катапульт, которые не смогут работать в Северно-Ледовитом океане;
- Отсутствие любого вида катапульты существенно освобождало место на корабле, в результате свободное пространство можно использовать для дополнительного вооружения. Так, катапульта на авианосце типа «Нимиц» занимает значительное пространство, в результате чего в качестве мощного вооружения корабль имеет только боевую авиацию. В то же время, «Адмирал Кузнецов» оснащен большим количеством другого ракетного оружия. Именно поэтому российское судно именуют тяжелым авианесущим крейсером.
В России производство современного атомного судна с боевыми самолетами на борту находится пока на этапе планирования. В случае начала строительства, электромагнитная катапульта на российском авианосце станет оптимальным устройством для подъема воздушных судов.
vmflot.ru
Авианосец «Джорж Буш» — взгляд изнутри

Самое большое военное судно в мире. Его строительство началось в 2003 году и обошлось в американским налогоплательщикам в 6,5 миллиардов долларов. Предлагаю посмотреть на один из самых современных американских кораблей — авианосец «Джорж Буш».
Для начала факты. Точное название корабля USS George H.W. Bush (CVN 77). Это один из 11 американских атомных авианосцев класса Nimitz. Самое большое военное судно в мире. Корабль был принят на вооружение армией США в 2009 году. Вот его не полные тактико-технические характеристики: водоизмещение — 110 000 тонн, длинна — 332.8 м, имеет два атомных реактора, развивает скорость до 60км/ч. Корабль перевозит 90 самолётов, вертолётов и истребителей, обслуживается командой в 3,200 человек. Способен находиться в плавании до 20 лет без дозаправки. Этакий современный «Ноев ковчег».

В этом корабле собраны самые последние достижения 21-го века в области судостроения. Среди них — новый дизайн корпуса, изогнутый для повышения плавучести; инновационное покрытие, для снижения радиолокационной заметности; винты определённой конфигурации и много другое.

Авианосцы класса «Нимиц» модульные. Каждый из модулей собирается отдельно, доставляется и присоеденяется к другим модулям в финальной стадии строительства.

Вышка управления оснащена самыми современными средствами навигации, спутниковой связью, мощнейшими радарными системами, способными контролировать ситуацию в воздухе, на воде и под водой на сотни километров вокруг. Сама рубка, как впрочем и весь корабль, покрыты 67мм слоем кевларовой брони.

Рубка и антенны максимально сдвинуты на край палубы, что позволило увеличить пространство для взлёта-посадки самолётов.

На палубе авианосца десятки штурмовиков и истребителей, среди которых F/A-18 Hornet, F-35C, AV-8B Harrier II:

Boeing F/A-18E/F Super Hornet:

Матрос Виктор Бениш на боевом дежурстве во время прохода авианосца через Гибралтарский пролив. Родители парня иммигрировали в США с Украины:

Военные лётчики:

«Джорж Буш» в проливе. Снимок сделан с корабля сопровождения:

Один из 17-ти кораблей поддержки авианосца эсминец USS Truxtun (DDG-103):

Ракетный крейсер USS Philippine Sea (CG-58):

Ракетный эсминец (DDG 51) ожидает доступа к военно-транспортному топливному кораблю USNS Patuxent (Т-АО 201) в центре, в то время как Patuxent проводит дозаправку ракетного крейсера USS Leyte Gulf (CG 55) справа, и ракетного эсминца «Рузвельт» слева. Корабли готовятся к окончательной разверстке во главе с авианосцем «Джордж Буш» для достижения готовности к выполнению поставленных задач:

Идут приготовления на палубе. Моряки эсминца готовят корабль к приёму топлива:

Посадка вертолёта на один из кораблей сопровождения:

Моряки на вахте во время дозаправки:


Проверка качества топлива:

В трюмах авианосца огромный цех со станками и запчастями. Починить можно и сам авианосец и любой самолёт. Кстати, на обслуживании лётных экипажей задействовано более 2 500 человек. Среди них есть женщины.

Все самолёты запускаются с палубы при помощи катапульты. Принцип её работы очень похож на рогатку: самолёт цепляется передним шасси за разгонное устройство. Оператор задаёт массу и необходимое значение ускорения в систему и она подбирает оптимальную скорость или «натяжение» для разгонного устройства.

Самолёт разгонят двигатель и затем нажимается кнопка пуска катапульты.

Истребитель «выстреливается в небо» и затем продолжает самостоятельный полёт. С посадкой дело обстоит намного сложнее. Лётчику необходимо зацепиться тормозным крюком за трос, натяжение которого увеличивается в зависимости от массы и скорости садящегося судна.

Исключение составляют лишь вертолёты и истребители, способные взлетать вертикально.


Все на корабле заняты работой. Обычный день матроса состоит из 12-ти часовой вахты с перерывами на приём пищи, 4х часов личного времени и 8-ми часов сна.
Чтобы накормить более 5 000 человек, команда корабельных коков трудится не покладая рук круглые сутки.


Кроме обычной службы на корабле проводятся различного рода тренировки и отработки внештатных ситуаций. За время плавания матросы осваивают многие специальности и профессии, чтобы заменить товарищей в случае необходимости. Здесь так же испытывают новейшие средства разведки с использованием беспилотных аппаратов.

На корабле есть отряд быстрого реагирования.

Учения. Поиск и захват проникшего на борт «террориста»:

Ночной дозор:

Каждый моряк на любом военном корабле совсем не желает воевать. Он мечтает вернуться домой к родным и близким.

Кто в состоянии противостоять военному флоту США и НАТО? Если не брать в расчёт атомное оружие, применение которого необратимо влечёт гибель обоих сторон конфликта.

Авианосец «Джордж Буш».

ribalych.ru
Авианосцы США. Часть четвертая. История организации полетов на авианосцах США

Grumman TBF-1 Avenger садится на эскортный авианосец USS CVE-11 Card, 1943 год.
На переднем плане LSO — landing signal officer — дает указания пилоту по заходу на посадку.
Сегодня мы поговорим о том, как американцы заслуженно стали лидерами в деле организации взлетно-посадочных операций на авианосцах.
Заранее предупреждаю, избегая упреков в повторениях, что эта часть будет переплетаться с историей развития самих авианосцев, поэтому некоторые повторения уже изложенного ранее неизбежны.
Предыстория. Уже не первые.
США заслуженно считаются родиной как авиации вообще, так и морской авиации, в том числе и палубной. Именно в этой стране еще в 1910–1912 годах был произведен первый взлет аэроплана с корабля, первая посадка на корабль, изобретены поплавковый гидросамолет, летающая лодка, корабельная катапульта, первые аэрофинишеры и многое другое. Однако к окончанию Первой мировой войны ВМС США оказались в этой области в положении догоняющих, и в особенности это касалось авианосцев и палубной авиации.
Королевский флот Великобритании к тому времени уже имел 4 авианосца, перестроенных из боевых кораблей и океанских лайнеров. Кроме того, англичанами уже был заложен первый авианосец специальной постройки. Аналогичный корабль строился и в Японии, а вот на родине морской авиации, где тоже осознали перспективность нового класса кораблей, на авианосцы попросту не нашлось денег – все средства съедали масштабные программы постройки «обычных» кораблей (здесь достаточно вспомнить хотя бы постройку 273 эсминцев-«флешдекеров»). А затем США втянулись в охватившую все ведущие военно-морские державы послевоенную «линкорную гонку». В их случае это означало постройку шести линкоров и шести линейных крейсеров водоизмещением более 40 000 тонн каждый.
Единственное, под что Конгресс смог выделить финансирование, была недорогая перестройка в экспериментальный авианосец уже имевшегося судна. Им стал угольщик AC-3 «Юпитер» 1913 года постройки водоизмещением 19 360 тонн, оснащенный – впервые в истории американского флота – турбоэлектрической силовой установкой. Не следует думать, что для конверсии было использовано первое подвернувшееся не особо ценное судно. В начале 1920-х годов значительная часть флота США все еще использовала котлы с угольным питанием, так что специализированные угольщики, способные проводить бункеровку в открытом море, были более чем востребованы. Основной причиной выбора именно «Юпитера» стали шесть огромных угольных трюмов, занимавших большую часть его корпуса, что значительно упрощало и удешевляло конверсию. Кроме того, корабль, оснащенный турбоэлектрической установкой, теоретически мог развивать высокую скорость хода назад, на заре развития морской палубной авиации это считалось важным качеством.
Здесь стоит отметить, что данный корабль – в отличие от его современников и, теоретически, «одноклассников», японского «Хосё» и британского «Гермеса» – никогда не планировали использовать в боевых условиях. Еще во время разработки планов конверсии он рассматривался исключительно как недорогая экспериментальная платформа для отработки авианосных технологий, которую строили, чтобы не терять времени, дожидаясь финансирования постройки полноценных авианосцев.
Первый блин комом.

USS CV-1 Langley, 1925 год. Посадка. На углу палубы виден LSO.
Перестройка началась в марте 1920 года и продлилась до 22 марта 1922 года, когда корабль был принят состав флота под новым именем CV-1 «Лэнгли». С угольщика было демонтировано громоздкое оборудование для погрузки-разгрузки угля, поэтому водоизмещение перестроенного корабля значительно уменьшилось и составило 14 100 тонн. Силовая установка мощностью 7200 л.с., сообщавшая авианосцу более чем скромную скорость в 15,5 узлов (28,7 км/ч) была оставлена без изменений, а дальность хода при работе силовой установки в экономическом режиме составляла всего 3500 миль (6500 км). В носовом угольном трюме было оборудовано хранилище авиабензина, в четвертом был размещен погреб боеприпасов, а также привод самолетоподъемника. Оставшиеся четыре трюма использовались для хранения самолетов.
На бывшей верхней палубе угольщика были установлены пиллерсы, на которых смонтировали полетную палубу размером 160×20 метров. Надстройка и мостик остались на прежнем месте и оказались под полетной палубой, причем довольно далеко от её носового среза, что серьезно ухудшило обзор с мостика. Бронирование и противоторпедная защита у корабля отсутствовали, а его вооружение составили четыре 127-мм/51 орудия не совсем понятного назначения c максимальным углом возвышения 20°. На корме корабля была устроена голубятня (!), где жили почтовые голуби, предназначенные для связи самолетов с авианосцем.
Но оригинальней всего была организована собственно авианосная составляющая «Лэнгли». Его авиагруппа первоначально насчитывала всего 14 машин, при этом у корабля фактически отсутствовала ангарная палуба – самолеты с демонтированными плоскостями хранились в бывших угольных трюмах и поднимались оттуда с помощью двух кран-балок, расположенных под полетной палубой. После подъема самолеты собирались на бывшей верхней палубе, после чего, опять же кран-балкой, помещались на платформу самолетоподъемника, расположенную между двумя парами «самолетных» трюмов и возвышавшуюся на 2,4 м над уровнем палубы. И только затем его можно было поднять на полетную палубу. Как нетрудно догадаться, для того, чтобы вернуть самолёт в трюм, все эти операции надо было повторить в обратном порядке.

USS CV-1 Langley. «Недоангарная» палуба.
На переднем плане торпедоносец Douglas DT-2 с отстыкованными крыльями, сзади видны истребители Vought VE-7 из эскадрильи VF-2
Нет худа без добра.
Однако несуразность конструкции «Лэнгли» сыграла и положительную роль. На британских авианосцах «второго поколения» практически с самого начала придерживались концепции «чистой палубы», благо нормальные ангары и самолетоподъемники позволяли достаточно быстро (за считанные минуты) опускать совершившие посадку самолеты в ангары, и так же быстро поднимать машины на полетную палубу. Эта же схема была позаимствована и Императорским флотом Японии. В то время как процедура подъема самолета из трюма первого американского авианосца на его полетную палубу – равно как и процедура его спуска обратно – с учетом промежуточной сборки или разборки занимала уже десятки минут на каждую машину. По воспоминаниям служивших на «Лэнгли» пилотов, одна только перегрузка самолета с платформы самолетоподъемника на бывшую верхнюю палубу или наоборот могла занимать до 12 минут.
Для сокращения этого времени часть самолетов можно было держать на бывшей верхней палубе корабля уже в собранном виде, но в таком случае машины стояли на крышках люков трюмов, закрывая доступ к находившимся в них самолетам. Командованию авианосца пришлось придумывать и отрабатывать сложные алгоритмы перемещения запаркованных на «недоангарной» палубе машин с помощью кран-балок, а также при любой возможности использовать парковку самолетов на полетной палубе, что также требовало разработки алгоритмов их перемещения и «натаскивания» палубной команды на эти операции. В случае «Лэнгли» это были всего лишь вынужденные меры, что называется «не от хорошей жизни», но именно они дали впоследствии толчок к разработке уникальной американской технологии палубных операций, обеспечившей серьезные преимущества авианосцам ВМС США в ходе Второй Мировой войны.
Создание этой технологии связано, в первую очередь, с именем «отца американской палубной авиации» капитана 1-го ранга, впоследствии адмирала и главкома ВМС США, Джозефа М. Ривза (Joseph Mason Reeves). Кстати, на флоте он имел прозвище – Бык, что как бы косвенно говорит нам о его характере. По основному образованию он был артиллерийским офицером и к тому времени успел покомандовать крейсером и аж тремя линкорами. Однако во время обучения в Военно-морском колледже (научно-учебный центр по подготовке старшего и высшего командного состава ВМС США, аналог нашей Военно-морской академии) Ривз стал энтузиастом морской авиации. Поэтому он (в 52 года!) прошел подготовку летного наблюдателя и в августе 1925 года возглавил авиацию линейных сил ВМС США (Commander Aircraft Squadron, Battle Fleet).

Joseph M. Reeves, 1928 год
А состояла эта «авиация» на тот момент из более чем скромной авиагруппы «Лэнгли», что совершенно не устраивало ее нового командира, желавшего на практике проверить разработанные им тактические решения по ее применению. Для этого предстояло решить ряд технических и организационных проблем, и здесь капитану 1-го ранга на коммодорской должности серьезно помогло то, что он прекрасно знал устройство «Лэнгли», так как первым кораблем, которым он командовал в своей карьере, когда-то был некий угольщик «Юпитер»…
Проблемы и решения.
Ранние аэропланы, садившиеся на палубы первых авианосцев, были очень легкими и имели очень низкую посадочную скорость. Фактически, опытный пилот мог почти уровнять скорость относительно палубы идущего полным ходом против ветра авианосца. Поэтому главной проблемой тогда было не столько затормозить садившуюся машину, сколько предотвратить снос легкого аэроплана с палубы за борт в результате внезапного порыва ветра, какой-либо турбулентности и т.п.
Именно под эту задачу в Королевском флоте Великобритании в ходе Первой Мировой войны и были разработаны первые посадочные приспособления (arresting gear), так называемая «ловушка Бастида» (Busteed trap), названная по имени разработчика, капитана 2-го ранга Джека Бастида. Она представляла собой металлические тросы, натянутые вдоль кормовой части полетной палубы, поднимавшиеся с помощью двух рамп на высоту 9 дюймов (около 23 см) и располагавшиеся на таком же расстоянии друг от друга. Соответственно, на тележках шасси первых палубных самолетов были смонтированы своеобразные «гребенки» с редкими зубьями-«рогами» V-образной формы. При посадке они (плюс колеса шасси) попадали между тросов и таким образом страховали машину как от сноса вбок, так и от подскока или переворота. А для торможения самолета с его малой посадочной скоростью в тот период хватало сопротивления воздуха, трения горизонтальной части «гребенки» о тросы, а также передней рампы аэрофинишера, въезжая на которую машина должна была потерять большую часть скорости. В качестве дополнительной страховки от выката самолета с полетной палубы, в ее конце устанавливали прообраз аварийного барьера (crash barrier) в виде редкой сетки из тросов, которая впервые использовалось еще на первом в мире авианосце «Фьюриес».
Главным недостатком этой «британской системы», применявшейся, с некоторыми модификациями, в 1920-х годах на британских, японских и американских авианосцах, было то, что для посадки требовалась практически вся длина полетной палубы. Поэтому сразу после торможения самолет необходимо было опускать на ангарную палубу, чтобы освободить полетную для приема следующей машины. Таким образом, интервал между посадками определялся продолжительностью цикла самолетоподъемника, а численность авиагруппы лимитировалась вместимостью ангаров авианосца.
Американский путь.
Именно подобная система была изначально установлена и на первом американском авианосце CV-1 «Лэнгли», а затем и на перестроенных из линейных крейсеров CV-2 «Лексингтон» и CV-3 «Саратога». Разрабатывавший ее американскую версию капитан-лейтенант резерва ВМС США Альфред Прайд сохранил «британские» продольные тросы аэрофинишеров, которые, однако, поддерживались уже не рампами, а складывающимися при необходимости подпружиненными дощечками. Похожая схема была применена и на первом японском авианосце «Хосё».
При этом Прайд отказался от «пассивного» торможения с помощью рампы или просто пробега в пользу другой британской разработки 1918 года, не нашедшей применения у себя на родине. Ее автором был все тот же капитан 2-го ранга Королевского флота Великобритании Джек Бастид, хотя его устройство, в свою очередь, восходило к конструкции, разработанной американским инженером Хью Робинсоном ещё в 1911 году.
В варианте Бастида это были использовавшиеся еще при первой посадке аэроплана на корабль поперечные тросы аэрофинишеров, за которые при посадке цеплялся специальный крюк – «посадочный гак» – свисавший в хвостовой части самолета. Основное отличие заключалось в том, что теперь тросы крепились уже не к лежащим на палубе мешкам с песком, а уходили одним концом через шкивы под палубу, где к ним были подвешены грузы (впрочем, скорее всего, это были все те же мешки с песком или дробью). Кроме того, тросы аэрофинишеров были снабжены гидравлической подъемной системой, которая давала возможность опускать их на палубу, чтобы они не мешали при взлете самолетов.
Теперь для посадки машин хватало кормовой части полетной палубы – не более трети от её общей длины. Оставшееся место можно было отвести для парковки самолетов, что в случае «Лэнгли», как мы помним, было более чем актуально. Но всегда оставался риск, что совершающий посадку самолет из-за незацепа, обрыва троса аэрофинишера или посадочного гака может выкатиться из посадочной зоны и, несмотря на оставляемое для страховки пространство, врежется в запаркованные в носовой части палубы машины. И капитан 1-го ранга Ривз совместно с сотрудниками Управления Аэронавтики ВМС США нашли решение, позволившее устранить эту проблему. С позиции послезнания оно кажется простым и очевидным, однако на самом деле это была, без преувеличения, подлинная революция во взлетно-посадочных операциях палубной авиации.
В августе 1926 года в центральной части полётной палубы «Лэнгли» был установлен аварийный барьер нового типа. Он состоял из стоек по бортам и натянутых между ними поперек полетной палубы стальных тросов, находившихся на высоте фюзеляжа самолета. Барьер был снабжен гидравлической системой, позволявшей быстро поднимать и опускать стойки. Его назначением было уже не предотвращение выката самолетов с полетной палубы, а разделение её на две зоны – посадочную в кормовой части и безопасную парковочную в остальной части палубы. После посадки самолет отцепляли от тросов аэрофинишера, перекатывали за опущенный аварийный барьер, затем барьер поднимался, и авианосец был готов к посадке следующей машины без риска повредить уже севшие.
Результатом данного нововведения (а также учиненной Джозефом Ривзом жесточайшей муштры как летного состава, так и палубной команды) стало постепенное сокращение интервала между посадками до всего лишь 90 секунд (!) на самолет. А кроме того, численность авиагруппы уже не была жестко ограничена вместимостью трюмов и «недоангарной» палубы авианосца – теперь она зависела, в первую очередь, от площади полетной палубы и выучки личного состава. Поэтому вскоре количество самолетов на борту «Лэнгли» увеличилось с исходных 14 машин сначала до 24, затем до 36, а концу 1927 года составило уже 42 машины, то есть ровно в три раза больше, чем первоначально.
Здесь для сравнения можно вспомнить, что авиагруппы близких по водоизмещению и размерам современников «Лэнгли» – британского «Гермеса» (13 700 т) и японского «Хосё» (9630 т) – ни в тот период, ни когда-либо ещё, не превышали 20 самолетов. И это при наличии на них полноценных ангарных палуб и нормальных самолетоподъемников. Причем капитан 1-го ранга Ривз утверждал, что авиагруппу «Лэнгли» можно было увеличить и до 48 самолетов. Однако сам по себе аварийный барьер панацеей, конечно, не являлся, и полученные впечатляющие результаты были бы невозможны без ряда технических и организационных решений, придуманных ранее или параллельно с его введением.
Человек с теннисными ракетками.

LSO за работой на палубе USS CV-6 Enterprise, март 1945 года
Важным техническим решением, без которого было бы невозможно столь радикально уменьшить интервалы между посадками, а также повысить их безопасность, было наличие специального посадочного сигнальщика (Landing Signal Officer, LSO). Эта должность появилась на первом американском авианосце еще до прихода капитана 1-го ранга Ривза и благодарить за нее следует старшего помощника командира «Лэнгли» (некоторое время фактически исполнявшего обязанности командира корабля) капитана 2-го ранга Кеннета Уайтинга (Kenneth Whiting). Он был одним из пионеров авиации, достаточно сказать, что его удостоверение летчика морской авиации имело порядковый номер 16, и прекрасно понимал, какие трудности испытывает садящийся на авианосец пилот. Капот самолета полностью закрывал ему обзор вперед-вниз, и, приблизившись к кораблю, он переставал видеть кормовой срез полетной палубы. На «Лэнгли» это усугублялось еще и отсутствием надстройки, по которой можно было бы ориентироваться.
Капитан 2-го ранга Уайтинг имел обыкновение следить за посадкой, находясь на страховочной сетке сбоку от кормового среза палубы, часто снимая эти посадки на личную кинокамеру для последующего разбора с пилотами. И, как гласит легенда, как-то раз, наблюдая за самолетом, раз за разом, неудачно заходящим на посадку, а затем отворачивавшим на новый круг, офицер не выдержал. Он реквизировал у двух подвернувшихся под руку матросов их белые шапочки, выскочил на полетную палубу и начал жестами показывать пилоту садящегося самолета какие действия тому следует совершать. Благополучно севший с его помощью пилот охарактеризовал жестовые команды начальства как очень полезные, после чего было решено сделать эту практику постоянной.

Kenneth Whiting на авианосце USS CV-3 Saratoga, период 1927-1929 гг.
Матросские шапочки были возвращены владельцам и поначалу их попробовали заменить обычными сигнальными флажками. Однако развевавшаяся на ветру ткань не позволяла подавать сигналы достаточно точно. После чего сработала пресловутая военно-морская смекалка – для подачи сигналов приспособили нашедшиеся на корабле ракетки для настольного тенниса, имевшие ярко-красное резиновое покрытие. Поскольку они были все же маловаты, впоследствии их заменили ракетками уже для большого тенниса, укоротив им рукоятки и натянув поверх сетки ткань или цветные ленты для большей заметности. Затем для сигнальщика в кормовой части полетной палубы соорудили особый пост – выступающую в сторону платформу, за которой во время посадочного цикла поднимался брезентовый экран, как для защиты от ветра, так и для того, чтобы жесты сигнальщика были отчетливей видны на его фоне.
Постепенно был разработан более или менее стандартный набор сигналов, и в таком виде данная система управления посадкой просуществовала на американских авианосцах более четверти века, вплоть до внедрения в начале 1950-х годов «оптической посадочной системы». Роль посадочного сигнальщика значительно изменилась, ему уже не требовалось подавать жестовые команды, но при этом их до сих пор неофициально называют «ракетками» (причем, словом, обозначающим ракетки именно для настольного, а не большого тенниса – paddles).

LSO на палубе USS CV-7 Wasp, 1941-42 годы («Кодахром»)
Палубный конвейер.
Однако увеличение численности авиагруппы было далеко не единственной задачей из тех, что ставил перед собой капитан 1-ранга Ривз. Ударные возможности авианосца, согласно его представлениям, зависели не только от численности авиагруппы, и даже не только от того, сколько самолетов он может поднять или посадить за один взлётный или посадочный цикл. Но и от того, сколько самолетов авианосец в состоянии держать в воздухе в любой момент времени. То есть еще и от скорости «оборачиваемости» машин. В тот период это было особенно актуально, так как время нахождения тогдашних самолетов, особенно истребителей, в воздухе было очень небольшим. Поэтому было крайне важно организовать максимально оперативную подготовку севших машин к следующему вылету, а затем иметь возможность максимально быстро поднять их в воздух.
На практике это означало, что совершившие посадку самолеты надо было не только перекатить в носовую часть, но еще и принайтовать, потом прямо здесь, на полетной палубе, проверить их техническое состояние, заправить горючим и маслом, перезарядить пулеметы и подвесить авиабомбы или торпеды. А затем, по окончании посадки всех самолетов, еще и оперативно переместить все эти машины обратно в кормовую часть полетной палубы для последующего взлета. Причем расположив их в правильном порядке: более легкие самолеты, требующие меньшей дистанции разгона (как правило, истребители) – впереди, более тяжелые (торпедоносцы) – сзади.
С одной стороны, это потребовало новых технических решений – вывода на полетную палубу магистралей заправки, подъемников боеприпасов, а также увеличения количества точек крепления. Но гораздо более важной была организация палубной команды, перемещавшей и обслуживавшей самолёты. Методом проб и ошибок выяснилось, что единственным рабочим вариантом был перевод действий этой команды на фактически конвейерный метод «обработки» самолетов.
Пока на авианосце было мало самолетов, то с их перемещением вполне справлялись те же самые специалисты, что их затем обслуживали. Но с увеличением численности авиагруппы и уменьшением интервалов между посадками это стало уже невозможно, так как обслуживание одних машин должно было идти параллельно с посадкой других. Поэтому была создана отдельная категория палубной команды, чьей задачей стало исключительно перемещение самолетов. Одновременно с этим было решено отказаться от универсальности специалистов – они были разбиты на категории, обученные на выполнение очень узкого круга задач. Иными словами, каждый из них умел делать лишь что-то одно, но зато умел делать это хорошо, на уровне автоматизма. Это упростило подготовку, а заодно и повысило общую «дуракоустойчивость» системы. Ценой этого было значительное увеличение численности палубной команды и вызванные этим проблемы управления ею.
Разноцветная команда.

Палубная команда (deck crew) на палубе USS CV-6 Enterprise. Руководитель полетов дает указания.
Оригинальное фото из журнала Life, 1940 год.
В отличие, от классического конвейера, эта система была еще и гибкой, позволяющей на ходу, по обстоятельствам, менять приоритеты, очередность операций и так далее. Но для этого руководителю палубных операций (а также руководителям более низкого звена уже на самой палубе) надо было в любой момент времени четко видеть всю картину – кто где находится и чем занимается (или не занимается). А вот с этим на не имевшем надстройки «Лэнгли» были очень серьезные проблемы. Решение было позаимствовано, как ни странно, из спорта. Отцы-командиры вспомнили молодость и свои подвиги на футбольном поле, во времена учебы в военно-морском училище в Аннаполисе, и попросту одели разные специальности в собственные цвета, по типу футбольных команд. Роль этой формы играли цветные трикотажные свитера или футболки, а также шлемы из того же материала.
Кроме того, данная «дифференциация по цвету штанов» решила еще одну очень важную задачу. Новая система палубных операций имела достаточно сложную и временами «плавающую» иерархию. То есть требовалось еще и четкое выстраивание «командных цепочек», чтобы каждый член палубной команды всегда знал не только свои обязанности, но и кому он в той или иной ситуации подчиняется, и чьи команды обязан выполнять. Важность данного аспекта не для всех очевидна, вот яркое и доступное объяснение от человека, знакомого с этой системой изнутри: «Если ты «толкач» в синей майке и к тебе подходит любой «желтомаечник» и говорит что-то делать – ты точно знаешь что тебе это надо делать, а не выяснять, кто это такой и зачем он к тебе пристает. Это притом, что он может быть рангом ниже, чем ты. То же самое при аварии, если кто-то в красной майке тебе говорит что-то делать – ты это делаешь, а не пытаешься выяснить кто это такой. Если ты пилот и тот же «желтомаечник» подает тебе сигналы, то ты тоже знаешь что им надо следовать, а не то, что это какой-то непонятный мужик руками машет. Ну и начальство тоже издалека видит, что все заняты своими делами, хотя это далеко не главное в этом цветовом своде».
Лишь добавим, что последний пункт стал «далеко не главным» лишь после того, как вся эта система была методом проб и ошибок сначала разработана, а затем и отшлифована годами практики. Плюс необходимое напоминание, что все это происходит на загроможденной самолетами палубе, заполненной десятками снующих людей, и вдобавок двигатели этих самолетов зачастую еще и работают. Поэтому опознавание начальства обычным способом – по лицу, голосу и знакам различия – становится весьма затруднительным.
Окончательный вид.

USS CV-2 Lexington, 1939 год. Посадка самолетов. На заднем плане у края палубы виден LSO.
Итак, к концу 1927 года все дополнявшие друг друга решения, описанные выше, были сведены, наконец, в единую отработанную систему. Она позволила не только в три раза нарастить численность авиагруппы «Лэнгли», но и довести количество самолетов, которые можно было поднять «с одной палубы» (за один взлетный цикл) до 34 единиц (или даже 42, если речь шла только об истребителях). А затем достаточно продолжительное время держать в воздухе не менее 22 машин одновременно – путем быстрой ротации самолетов. Однако как раз к тому моменту, как все это было придумано, отработано и вылизано, в состав ВМС США начали поступать новые, уже полноценные авианосцы.
16 ноября 1927 года в строй вступила перестроенная из линейного крейсера CV-3 «Саратога», а месяцем позже – её систершип CV-2 «Лексингтон». Оба корабля имели уже нормальные ангарные палубы и по паре нормальных самолетоподъемников, на которые машины можно было просто закатывать, не прибегая к помощи кран-балок. Кроме того, отсутствие этих кран-балок под полетной палубой позволило осуществить старую задумку – использовать не только площадь, но и «кубатуру» ангара, путем подвески резервных машин под подволок ангарной палубы.
Казалось бы, настало время отказаться от большинства «извращений» вроде парковки на полетной палубе, придуманных, как мы помним, исключительно по причине вопиющего несовершенства конструкции первого американского экспериментального авианосца. Однако поскольку разработанная капитаном 1-го ранга Ривзом система уже успела продемонстрировать свои преимущества, то от нее не отказались, а наоборот, продолжили развитие. Что позволило разместить на новых американских авианосцах, имевших лишь по одной ангарной палубе, даже больше самолетов, чем на имевших по две таких палубы японских «Акаги» и «Кага» – до 110 машин разной степени боеготовности и с возможностью держать в воздухе до 83 самолетов.
Совершенствовалось также и посадочное оборудование. Поскольку боковой снос перестал быть серьезной угрозой для потяжелевших самолётов, то в том же 1927 году на «Лэнгли» в порядке эксперимента демонтировали «британские» продольные аэрофинишеры, оставив лишь поперечные. Эксперимент был признан удачным и в следующем году они были убраны и на «Лексингтоне» с «Саратогой», а палубные самолеты избавились, наконец, от «гребенок» на тележке шасси, что позволило использовать в будущем машины с убирающимися шасси.
Оставшиеся на авианосцах поперечные аэрофинишеры Mk 1 конструкции небезызвестного Карла Нордена (того самого, который изобрел еще и лучший бомбардировочный прицел Второй мировой) вскоре вызвали много нареканий из-за тенденции утаскивать самолет к борту, поэтому Управление Аэронавтики привлекло все того же капитан-лейтенанта резерва Альфреда Прайда, что когда-то разрабатывал первые посадочные приспособления для «Лэнгли». Созданные им новые поперечные аэрофинишеры уже не были жестко закреплены с одной из сторон. Теперь оба конца троса наматывались на расположенные под палубой специальные барабаны, снабженные гидравлической тормозной системой и электродвигателями для сматывания. Данная система оказалась более сбалансированной, и в 1931 году она была принята на вооружение под индексом Mk 2 и установлена сначала на «Лексингтон», а затем и на остальные американские авианосцы.
Последнее принципиальное изменение произошло в 1934 году, когда в строй вошел новый авианосец CV-4 «Рейнджер» с увеличенным до 6 единиц количеством аварийных барьеров и продублированными еще и в носовой части полетной палубы аэрофинишерами, позволявшими в случае повреждения кормовой части полетной палубы осуществлять посадку также и с носа. Это стало стандартной схемой для всех последующих авианосцев США, а «Лексингтон» и «Саратога» получили ее во время модернизаций.

USS CV-10 Yorktown, унаследовавший свое имя от недавно погибшего у Мидуэя «тезки», апрель 1943 года.
Фото на момент завершения постройки (as built). Хорошо видна полетная палуба АВ типа «Эссекс», бортовой самолетоподъемник в сложенном виде, расположение МЗА и «пятачок» для LSO у края полетной палубы.

USS CV-16 Lexington, 19 июня 1944 года. Филиппинское море, время знаменитой «охоты на индеек».
Посадка F6F Hellcat. На переднем плане хорошо видна зенитная артиллерия авианосца, на заднем плане за ветрозащитным экраном виден LSO.
А на сегодня все. Разобрав теорию, в следующий раз мы подробно рассмотрим действия разноцветной палубной команды (deck crew) на практике. Будет интересно, будьте с нами! 😉
Вконтакте
Google+
Мой мир
Автор публикации
Комментарии: 562Публикации: 58Регистрация: 07-11-2016
ships-not-tanks.ru
