Сигнальные и осветительные пистолеты («Ракетницы»). История и характеристика
Из специальных, не боевых пистолетов упомянем сигнальные и осветительные, часто именуемые «ракетницами» и нашедшие широкое применение не только в военной, но и в гражданской области. Ракетный или реактивный принцип в них, конечно, не используется. Просто до принятия таких пистолетов в армии широко использовали сигнальные и светящие пороховые ракеты. В память о них сигнальные и светящие «звездки», выстреливаемые из пистолетов, в России продолжили называть «ракетами», а сами пистолеты назвали «ракетницами». По сути, они представляют собой не оружие, а специальные пиротехнические средства ближнего действия. Специальный характер этих средств и позволяет ограничиться кратким их рассмотрением.

Сигнальные и осветительные 26-мм пистолеты, применявшиеся в СССР и в России в разные годы: сигнальный Дегтярева обр.1930 г. (СПД), осветительный Шпагина обр.1942 г. (ОПШ), сигнальный обр.1981 г. (СП-81), сигнальный Шпагина обр.1944 г. (СПШ-44)
Интерес к сигнальным пистолетам возник в русской армии и на флоте после Русско-японской войны. Флот, в частности, заинтересовали английские сигнальный пистолет и сигнальное ружье системы Бэра калибра 34-35 мм. Однако в 1908 г. капитан 2 ранга Жуков предложил более простую и дешевую систему «ракетной сигнализации» на основе сигнального пистолета, которая получила распространение на кораблях отечественного флота.
В 1910 г. принят 27-мм сигнальный пистолет полковника С.А. Зыбина, в конструкции которого использовались элементы однозарядного охотничьего ружья. Оно и не случайно — Зыбин служил начальником охотничьей мастерской ИТОЗ. Однако схожесть сигнальных пистолетов по калибру (распространенный их калибр 26 мм — не что иное, как 4-й охотничий) и конструкции с «переломными» охотничьими ружьями сохранялась и позже, как в отечественных, так и в зарубежных конструкциях.
Г.С. Шпагин (1897–1952)
Первая мировая война настоятельно потребовала пиротехнических сигнальных и осветительных средств, включая специальные пистолеты. Они были необходимы как для подачи световых сигналов (команды, сигналы взаимного познавания, сигналы взаимодействия), так и для освещения местности, что позволяло войскам ночью вести наблюдение за передним краем обороны и огонь по противнику. Сигнальные пистолеты особенно были нужны пехоте и артиллерии. Дефицит пистолетов покрывался различными импровизациями, вроде переделки охотничьих ружей, а также закупками за рубежом. Из различных средств, применявшихся в русской армии, наиболее удачными считались осветительные пистолеты и патроны английского образца. На кораблях Балтийского флота и в авиации имелись сигнальные пистолеты системы Вери. Производство 26-мм сигнальных пистолетов поставили тогда на Императорском Петра Великого Тульском оружейном заводе, а патронов к ним — на Троицком снаряжательном заводе. Производство Троицкого завода в этот период возглавлял В.И. Рдултовский — сигнальный пистолет его конструкции также нашел распространение в войсках.
Опыт войны показывал, что сигнальные и осветительные средства, обеспечивающие небольшим подразделениям возможность подачи сигналов и освещения местности, играют важную роль не только в позиционных условиях «траншейной» войны, но и в маневренных действиях. На вооружение РККА в 1930-е гг. поступили 26-мм сигнальный пистолет Ижевского оружейного завода (пистолет обр. 1927 г.) и сигнальный пистолет Дегтярева обр. 1930 г. (СПД), остававшиеся основными до середины Великой Отечественной войны. Уже во время войны новую систему сигнального и осветительного пистолета разработал Георгий Семенович Шпагин (1897-1952), к тому времени уже хорошо известный конструктор-оружейник. В 1943 г. на вооружение поступил 26-мм осветительный пистолет ОПШ (ОПШ-1), выпуск которого начали в осажденном Ленинграде. В том же году приняли СПШ-2 («сигнальный пистолет Шпагина второй»), ставший наиболее известным под обозначением СПШ-42. Сигнальные пистолеты выпускал во время войны, в частности, ижевский завод № 622.

Схема устройства сигнального пистолета из авторского свидетельства на изобретение, полученного Г.С. Шпагиным в 1944 г.
Конструкция СПШ во многом заимствована у германского сигнального пистолета «Вальтер» модели 1928 г., однако выполнена проще, с применением холодной штамповки и точечной сварки, с расчетом на минимальную себестоимость при производстве на отечественном оборудовании и использование отечественных сигнальных и осветительных патронов.
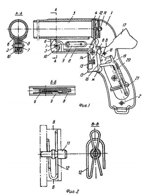
Калибр гладкого, откидывающегося на шарнире ствола — 26 мм. Ударный механизм — с открытым курком и цилиндрической винтовой боевой пружиной. Курок перед выстрелом взводится вручную. Открытый спуск позволяет стрелять в рукавицах. СПШ служит для подачи сигналов, ориентирования, освещения местности, связи с авиацией. Пистолет очень прост в обращении. Для заряжания необходимо нажать вперед защелку ствола, откинуть вниз ствол, вставить в патронник сигнальный патрон и вернуть ствол на место. После выстрела курок встает на предохранительный взвод («отбой» курка). При отпирании ствола после выстрела экстрактор выдвигает стреляную гильзу из канала ствола настолько, что ее удобно вынуть рукой, что ускоряет перезаряжание. Какого-либо прицельного приспособления пистолет не имеет. Для переноски пистолета и патронов к нему служит матерчатая кобура на плечевом ремне.

Общий вид, детали и сборки 26-мм сигнального пистолета СПШ обр.1944 г.: 1 — ствол, 3 — затыльник, 4 — ось курка, 5 — курок, 6 — толкатель, 7 и 16 — щечки рукоятки, 8 — соединительный винт щечек, 9- опорная планка боевой пружины, 10 — боевая пружина, 15 — гайка для соединительного винта, 11 — антабка для ремня, 12 — рамка, 13 — трубчатая ось, 14 — защелка ствола, 17 — пружина защелки ствола и спускового крючка, 18 — спусковой крючок, 19 — ось спускового крючка, 20 — желоб и упор экстрактора, 21 — экстрактор, 22 — передний выступ экстрактора, 23 — вырез для втулки (оси) ствола
В 1944 г. на основе СПШ Шпагин разработал авиационную 40-мм «ракетницу» для подачи сигналов взаимного опознавания — так выглядела тогда система «свой-чужой». Тогда же создан несколько модернизированный пистолет СПШ-44, пошедший в войска в 1945 г.
26-мм сигнальные и осветительные патроны в 1930-е гг. разрабатывались в числе других сигнальных и осветительных средств на заводах взрывчатых веществ — № 5 (Охтенский) и № 11 (Троицкий). К началу Великой Отечественной войны имелись 26-мм сигнальные патроны нескольких типов: дымовые дневного действия и светящие ночного действия. 26-мм светящий патрон ночного действия состоит из бумажной (папковой) гильзы с металлическим поддоном, капсюля-воспламенителя, вышибного порохового заряда из дымного пороха и сигнальной «звездки» (факела) одного из четырех цветов. При выстреле вышибной заряд выбрасывает звездку, воспламенительный состав звездки загорается от газов вышибного заряда. После выгорания воспламенительного состава (еще на подъеме) звездка загорается и дает пламя определенного цвета. Звездка светящего патрона видна в течение 6,5-7 секунд на дальности до 5-7 км днем и до 10 км ночью. Возможна стрельба патроном, содержавшим 2-6 звездок одного или разных по цвету огней (комбинированный). 26-мм сигнальный патрон дневного действия вместо светящей звездки снаряжен дымовым составом в оболочке, также именуемым часто «звездкой». Дымовые патроны создают на высоте 65-70 м облако, видимое на расстоянии до 5 км в течение 10 секунд в ветреную погоду и до 30 секунд в безветрие.
26-мм осветительный патрон отличался от сигнального большей массой звездки, которая при дальности полета до 120 м обеспечивала освещение местности в радиусе до 100 м в течение 7 секунд. В 19421943 гг. введены разработанные в НИИ-6 Наркомата боеприпасов парашютные патроны — уменьшение размеров зведки уменьшало и радиус освещения, зато местность освещалась в течение 15-20 секунд и более равномерно, что позволяло подразделениям вести ночью прицельный огонь на дальности до 300 м. Одновременно появились дневные патроны красного, желтого, синего дыма. В 1944 г. введены парашютные дымовые, а также сигнальные свистяще-световые патроны. Кроме того, вынужденно менялась технология изготовления пиротехнических составов — к примеру, в снаряжении 26-мм патрона красного огня из-за недостатка азотнокислового стронция использовался более доступный минерал целестин, в составах зеленого огня дефицитный гексахлорбензол заменили доступной полихлорвиниловой смолой, в осветительных составах вместо синтетических смол использовали природный асфальт. Такие меры позволяли не снижать и даже расширять выпуск сигнальных и осветительных патронов. Как видим, несмотря на наличие проводной и радиосвязи, значение сигнальных пистолетов оставалось большим. Их применяли практически во всех родах войск. Не случайно 26-мм патроны оказались, пожалуй, самыми расходуемыми из сигнальных и осветительных боеприпасов.

26-мм патроны к осветительным и сигнальным пистолетам: а — осветительный, б — осветительный парашютный, в-сигнальный ночного действия с пятью звездками, г — сигнальный дневного действия, д — имитационный
Любопытен и появившийся еще до войны имитационный 26-мм патрон — давая вспышку, облако дыма и резкий звук, он позволял имитировать воздушный разрыв шрапнельного снаряда в ходе учений.
Неоднократно сигнальным пистолетам пытались придать «боевые» свойства. Так, осенью 1941 г. создан 26-мм «диверсионный» патрон с зажигательной гранатой для спецгрупп НКВД и партизанских отрядов. Уже в 1970-е гг. для подразделений МВД создана 26-мм газовая граната «Черемуха-4», снаряженная рецептурой раздражающего действия ХАФ (CN): максимальная дальность стрельбы гранатой — 165 м, однако более-менее точная стрельба возможна до 25 м.

Сумка к сигнальному пистолету СПШ

26-мм сигнальный пистолет СП-81 и схема устройства сигнального патрона
Пистолет СПШ оказался простой и удачной конструкцией, продержался на вооружении доныне как в России, так и в ряде других стран, широко использовался и в гражданской сфере, был привычным средством не только геологических партий или спасателей, но и спортивных и туристских лагерей. А вот закон РФ «Об оружии» в редакции 1997 г. выделил особую группу «сигнального оружия», и приобретение «ракетницы» вдруг потребовало получения лицензии, выдаваемой органами внутренних дел, при том, что куда более опасную праздничную пиротехнику можно свободно купить в киосках.
Для замены СПШ был принят сигнальный пистолет СП-81 под патроны типа 26×79. Производство СП-81 поставил Ковровский механический завод. Характерной чертой СП-81 является укорочение ствола, что позволило уменьшить размеры и массу пистолета — пистолет имеет длину 175 мм, без патрона весит 0,6 кг. Высота подъема сигнала при стрельбе из СП-81 достигает 120 м, дальность полета звездки — 90 м. Наиболее употребляемые патроны — однозвездчатые осветительный (СПО) и сигнальные красного (СПК) и зеленого (СПЗ) огней.

26-мм сигнальные пистолеты СП-81
Тактико-технические характеристики СПШ
- Калибр — 26 мм
- Масса оружия без патрона — 0,9 кг
- Масса оружия с патроном — 0,96-0,975 кг
- Длина оружия — 220 мм
- Длина ствола — 150 мм
Поделиться ссылкой
sitekid.ru
Ракетница сигнальная (пистолет). Ракетница сигнальная в форме ручки
Сигнальные пистолеты не относятся к популярным видам оружия, тем не менее в арсенале заядлых охотников, туристов и охранников являются обязательными. Простая конструкция, легкость содержания и довольно эффектный результат действия позволяют использовать такие ракетницы и в тяжелых условиях, и в порядке дежурного обеспечения на ответственных пунктах. С точки зрения права, ракетницы сигнальные, пистолеты и другие вариации осветительного и звукового ручного оружия не относятся к боевым моделям и могут использоваться без специального разрешения.
Общие сведения

Есть множество версий и модификаций сигнального оружия, но в стандартном исполнении пистолет-ракетница представляет собой неавтоматическое оружие в форме ручки. Его устройство во многом повторяет конструкционные принципы гладкоствольного ружья, в котором предусматривается перелом ствола. В сущности, сигнальную ракетницу можно отнести к одной из ступеней эволюции классического охотничьего ружья, ведь по этому же принципу разрабатываются и боеприпасы для пиротехнической сигнализации.
Кроме того, что ракетница сигнальная в первых версиях выпускалась на платформе укороченных ружей, в дальнейшем были переняты и наиболее популярные калибры. Впрочем, системы маркировки все же имеют расхождения. Например, ствол ракетницы на 26 мм можно рассматривать как аналог 4-го охотничьего калибра. В стандартной версии ракетница сигнальная представляет собой одноствольное оружие, но существуют и двуствольные модели.
Принцип действия

Произведение выстрела обычно сопровождается шумом, который издается за счет образования газовой смеси из боезаряда. В момент активации детонирующего капсюля ударом бойка происходит взрыв заряда, освобождающий химическую энергию. Расширяющийся газ и формирует ударную волну в воздухе. Если используется ракетница сигнальная со световым эффектом, то ключевые процессы происходят на высоте, когда химические вещества ракетницы ярко освещают траекторию полета. Как и в случае с дымовыми боезарядами, световые ракетницы могут и вовсе не издавать шумовых эффектов – впрочем, сегодня немало вариантов патронов, в которых реализуется комбинированный принцип действия.
Назначение и применение

Ракетницы выполняют две главные функции – отпугивание и привлечение внимание (оповещение). У каждой модели патрона предусмотрен определенный сигнальный эффект – световой, звуковой или дымовой. В зависимости от целей и условий применения подбирается конкретный вариант – например, для отпугивания и устрашения рекомендуется ракетница сигнальная с зарядами звукового воздействия, а осветительные модели чаще используют для информирования, подачи сигналов о помощи и т.д. Дымовые заряды менее распространены, но их роль также существенна. Например, дым используется для маскировки или обозначения мест высадки. Впрочем, для подобных целей чаще используются специальные установки или боезаряды с крупными калибрами.
Кроме этого, сигнальный пистолет может применяться как обучающий инструмент, вырабатывающий навыки обращения уже с боевым аналогом. В этом отношении такие модели позволяют освоить не только технический механизм эксплуатации, но и психологически привыкнуть к рабочим «эффектам». К примеру, по степени шумового воздействия ракетница сигнальная не уступает, а в некоторых случаях и превосходит боевые модели. Собственно, этим и обусловлена востребованность ракетниц как оружия для самообороны. Вреда они не приносят, но психологическое действие оказывают достаточно внушительное.
Пистолет Шпагина

Одним из наиболее успешных представителей отечественных сигнальных ракетниц является пистолет Шпагина. Это ручное гладкоствольное оружие, с помощью которого можно осуществлять стрельбу осветительными патронами. Являясь надежным и безотказным помощником, ракетница сигнальная СПШ имеет простую конструкцию и принцип действия. Для заряда необходимо переломить ствол ракетницы и установить в нем патрон. При этом модель не отличается особыми свойствами прицеливания, а ее скорострельность составляет около 12 выстрелов за 1 мин.
Если используется сигнальный заряд, то высота полета может достигать 120 м, а в случае применения звездочек – 150 м. Стрельба может вестись патронами, предназначенными как для дневного, так и для ночного времени. Помимо сигнальных боезарядов СПШ совместим с зажигательными патронами и даже некоторыми модификациями газовых гранат.
Сигнальные боеприпасы

Боеприпасы, которыми комплектуется пистолет-ракетница, представлены в широком ассортименте. Их можно классифицировать по наличию парашютов, эффекту действия и количеству звезд. К простейшим зарядам относятся однозвездные сигнальные патроны, но есть и боезаряды с несколькими цветами, а также дымовые шашки. Максимальная высота подъема достигает 150 м, но этот показатель актуален для благоприятных условий использования.
Пиротехнический снаряд, который запускает ракетница сигнальная в форме ручки, виден на расстоянии нескольких километров. Последнее время распространены и комбинированные патроны, в которых наряду с цветовой зрительной сигнализацией предусмотрен шумовой эффект – его обеспечивает воющий пиротехнический свисток.
Безопасность при использовании ракетниц
Как и все устройства, работающие с пиротехникой, сигнальные ракетницы требуют выполнения определенных мер безопасности:
- Производители рекомендуют всегда обращаться с оружием так, словно оно заряжено, и не направлять ствол на людей.
- Если после нажатия спускового механизма капсюль не активировался, рекомендуется подождать до 1 мин. Как правило, это эффект «затяжного выстрела», но если и через время ничего не произошло, следует разрядить пистолет.
- Используемые боеприпасы должны быть совместимы с моделью пистолета.
- В имитаторах патронов нельзя вытаскивать капсюли.
Можно заметить, что ракетницы сигнальные, пистолеты и револьверы имеют системы предохранения, в некоторых случаях снижающие удобство пользования данным оружием. Понимая это, изготовители не рекомендуют модернизировать устройства, избавляясь от систем защиты. Кроме того, запрещается облегчать пусковые механизмы.
autogear.ru
Сигнальная ракетница в PUBG
Не так давно в PlayerUnknown’s Battlegrounds появился совершенно новый вид оружия – сигнальная ракетница. Пока что она доступна только в кастомных играх, но есть основания полагать, что очень скоро ее смогут опробовать и рядовые пользователи. Итак, зачем нужна сигнальная ракетница? Где ее найти? В чем заключается принцип ее действия? Ответить на эти и другие вопросы постарался в своем новом гайде WackyJacky101.
Зачем нужен Flare Gun?
Сигнальная ракетница позволяет самостоятельно вызвать самолет, который сбросит рядом с вами специальный Air Drop, который будет содержать в 2 раза больше лута, чем обычный красный контейнер. От обычного он также отличается по внешнему виду (и по размеру): новый контейнер спускается на тройном парашюте, он обернут зеленой тканью, имеет поддон и испускает желтый дым после приземления.
Как работает сигнальная ракетница?
Flare Gun занимает слот пистолета и появляется на карте вместе с одним снярядом. Можно носить с собой больше одной ракеты, но не больше одной ракетницы.
Ракетница не наносит никакого урона игрокам: она просто отскакивает от персонажа и падает на землю, освещая все вокруг.
Чтобы вызвать Air Drop, нужно выстрелить вертикально в воздух. Если выстрелить в землю или под небольшим углом, самолет не прилетит.

Контейнер будет сброшен туда, куда была выстрелена ракета. Поскольку ракету нельзя запустить в воздух под углом 90 градусов (она всегда летит по параболе), ящик приземлится приблизительно в 150 метрах от того места, откуда был сделан выстрел.
После выстрела ракета зависает в воздухе, ее видно на большом расстоянии. Кроме того, звук выстрела можно услышать из любой точки карты (см. видео ниже на 1:32). Таким образом, все противники в округе узнают о приближающемся Air Drop.
Важное замечание. Одновременно может быть активен только один самолет со специальным контейнером. Если игрок выстрелит вторую ракету до того, как первый самолет покинет пределы карты, повторный Air Drop не будет вызван: ракета будет потрачена зря. Однако на карте могут быть одновременно активны самолет с обычным дропом и самолет со специальным дропом.
Какой лут содержит в себе сигнальный Air Drop?
Как уже было упомянуто выше, особый контейнер содержит в 2 раза больше лута, чем обычный. WackyJacky101 провел эксперимент: ни разу за ~20 дропов ему не попалось контейнера с двумя одинаковыми оружиями.

Где можно найти Flare Gun?
Никакой официальной информации по этому поводу еще нет, однако WackyJacky101 при составлении настоящего гайда удавалось находить Flare Gun только строго в определенных местах, указанных на карте ниже.

Когда Flare Gun появится в игре?
Точно ответить на этот вопрос пока нельзя, однако в одном из недавних блогов разработчики заявили о том, что сигнальная ракетница будет доступна в течение ограниченного периода времени в рамках второй итерации мода «Event Mode». Возможно, в «Режиме событий» разработчики намерены протестировать Flare Gun, чтобы затем добавить его в классический режим игры.
pabg.ru
Ракетница- Эффективность в различных ситуациях
VinogradovYuri 22-04-2008 18:22Интересует, на сколько эффективна ракетница для самообороны? Каковы поражающие способности стандартного заряда? Сам опыта применения не имею.
Rasmuswolf 22-04-2008 18:27Лучше не имейте. Это не оружие самообороны. Поймите простую вещь — «звездка» летит на 30-60 метров, в зависимости от типа использованного боеприпаса и горит положенные 5-6 секунд. Состояние человека, в которого попадет представляете?
Manstopper 22-04-2008 18:29Если имеется в виду 26-мм армейская ракетница наподобие СПШ — лучше не надо.
Эта тема, помнится, лет пять назад на форуме активно обсуждалась.
Очень велик потенциальный ущерб третьим лицам — ракета может улететь совсем не туда, куда надо. Кроме того, «потом всю жизнь от запаха жареного мяса вздрагивать будете» (C) кто-то на форуме. Не надо.
Если же имеются в виду всякие недосигналки типа сигнальных патронов 18×45
или сигнала охотника — эффект они имеют разве что чисто психологический,
от препятствий отскакивают в произвольном направлении.
Тема на форуме обсуждалась много-много раз, можно воспользоваться поиском.
antoncher 22-04-2008 18:39видео выкладывали как стреляли по куртке, не было даже ожогов, она просто отлетает в сторону т.е. не успевает прожечь даже куртку.
Nimravus 22-04-2008 21:46есть очень разные ракетницы, некоторые при подадении звездки шансов выжить неоставляют
Дог 22-04-2008 22:12quote:
есть очень разные ракетницы, некоторые при подадении звездки шансов выжить неоставляют
Вот такой обороняться можно. Вместо «сайги»
——————
Lupus lupo homo est
году этак в 95 один сторож у нас в городе оборонился с просонья… сейчас сидит за неумышленное. А постродавшему пол головы снесло
Crew 22-04-2008 22:55Может у него РПГ-7 был?
Nimravus 22-04-2008 22:59у него был СПШ, попал человеку в голову примерно с 10 метров, тело я видел, зрелище малоприятное
mbkm 22-04-2008 23:42заранее извиняюсь за свою не осведомленность а спш продается по какому разрешению?
Crew 23-04-2008 12:12Кстати, по телевидению показывали передачу про банду с подобной ракетницой. Было ещё в СССР.
Viper NS 23-04-2008 12:41quote:
заранее извиняюсь за свою не осведомленность а спш продается по какому разрешению?
На охотничье гладкоствольное, вроде бы. (знаю одного владельца — у него так, но м.б. нарушение).StrellOK 23-04-2008 12:44
Спросонья в голову с 10 метров?
——————
Телефонный опрос, проведённый утром 1 января дал следующие резултаты: 2% — «Да?» 3% — «Алло?» 95% — затруднились ответить…
2 mbkm
Вписывается в ЛОа. Найти трудно(редкая штука СПШ и СП-81) приобрести еще труднее(от 10 до 15 т.р.). Зато обычно патронов можно найти без проблем (по крайней мере, у нас в городе) но не дешевые.
quote:
Originally posted by mbkm:
заранее извиняюсь за свою не осведомленность а спш продается по какому разрешению?
Теоретически должны вписывать в оружие самообороны. Но есть внутренняя указивка всячески препятствовать.
botanik 23-04-2008 10:04Для самообороны ракетницу не надо бы. Из большой — убивство получится. Осиными сигнальными патронами — фигня получится. Как уже отметили выше, на форуме выкладывали видео и раскадровку выстрела звёздкой из Осы — отскочила от висящей на дереве куртки.
Для самообороны есть другие девайсы. Не самые надёжные (потому их по несколько штук носить надо), но более легкие и, главное, законные.
Nimravus 23-04-2008 11:38quote:
Originally posted by StrellOK:
Спросонья в голову с 10 метров?
сторож охранял рыбопитомник, ночью услышав плеск выстрелил над водой (был туман) — итог хедшот
RobBoy 23-04-2008 12:58quote:
Теоретически должны вписывать в оружие самообороны
Практически туда вписывается, но по блату.
quote:
Originally posted by Crew:
Кстати, по телевидению показывали передачу про банду с подобной ракетницой. Было ещё в СССР.
У тех, вроде бы вставка была под малокалиберный патрон…
RobBoy 23-04-2008 14:56Точно
ag111 23-04-2008 17:24quote:
Originally posted by RobBoy:Практически туда вписывается, но по блату.
Вписывают-то по закону, что примечательно
spec 23-04-2008 22:18Помнится, во времена анархии (где-то 2002-2003) на форуме описывались технологии модернизации самых безобидных сигнальных боеприпасов — от Синала охотника — с задачей поражения биоцелей
А ведь работали те технологии то, пробовал когда-то по «манекену»
Не стоит поднимать скользкую тему.
Дог 24-04-2008 12:32а что тут скользкого? Скользко делать, а не обсуждать.
——————
Lupus lupo homo est
есть такой гладкоствол — ОФ 93, который представляет собой ракетницу 4 калибра с проволочным прикладом и вкладным длинным стволом 12 калибра (хотя были и другие). Стоит смешных денег, купить можно легально имея зеленку
spec 24-04-2008 14:29quote:
Originally posted by Nimravus:
есть такой гладкоствол — ОФ 93, который представляет собой ракетницу 4 калибра с проволочным прикладом и вкладным длинным стволом 12 калибра (хотя были и другие). Стоит смешных денег, купить можно легально имея зеленку
И с какой целью его покупать легально?
Если не пилить приклад, то это изделие уступает другим видам гладкоствола, а если пилить — то это статья.Nimravus 24-04-2008 14:42
приклад у него несьемный естественно, но гладкий ствол снять можно и стрелять сигнальными ракетами
spec 24-04-2008 14:53quote:
Originally posted by Nimravus:
приклад у него несьемный естественно, но гладкий ствол снять можно и стрелять сигнальными ракетами
А зачем?
Если по биоцели, то 12К предпочтительнее, а если для подачи сигналов, то есть сигнальные 12К, обычно хватает
Ну или одноразовых сигнальных ракет в крайнем случае.Nimravus 24-04-2008 14:54
это для особых эстетов понятно что девайс не более чем курьез, но вдруг кому нужен
spec 24-04-2008 14:55ОФ-93 — это хорошо для села, т.к. есть же патроны со шприцами для усыпления дивотных, да и просто сверхнадежная конструкция при любых условиях эксплуатации, на мой взгляд.
По крайней мере ракетницы, на базе которых ОФ делают, ломались на моей памяти крайне редко.
для села лучше горизонталку имхо, а это детя конверсии интересно именно возможностью при случаи использовать его как ракетницу. Ну и не стоит забывать про обьявленный ресурс при стрельбе 12 калибром — 200 выстрелов.
spec 24-04-2008 15:11Да уж, маловато будет — 200 выстрелов…
Тогда даже цена не удивляет.
quote:
Originally posted by Nimravus:
Ну и не стоит забывать про обьявленный ресурс при стрельбе 12 калибром — 200 выстрелов.
Ха-Ха-Ха
RobBoy 26-04-2008 09:49Нет, надо так — Ха-Ха-Ха-Ха.
И кто-ж его объявил?
Если б ОФ был бы курковый, цены б ему не было. Напрягает только клавиша взвода.
Nimravus 26-04-2008 14:12Александр, сей ресурс обьявил конструктор девайса, если очень нужно могу поискать его интервью оружейному журналу
ag111 26-04-2008 14:22Я больше отстрелял, следов износа не заметно.
Nimravus 26-04-2008 14:26ну и написали бы об этом зачем смехом давиться сразу?
ag111 26-04-2008 14:31Дак смешно, 200 выстрелов
RobBoy 26-04-2008 15:20А какого девайса и что это за конструктор такой?
Nimravus 26-04-2008 20:14а о чем речь шла? Конечно об AR-15 и Юджине Стоунере
pipneogen 25-04-2009 18:20Тема старая, но чтобы не создавать новых, спрошу тут.
ПОчему запретили ОФ-93?
quote:
Originally posted by pipneogen:
ПОчему запретили ОФ-93?
Ик !!!
pipneogen 25-04-2009 18:31ag111
Простите, что? =)
Икнул. Кто и что запретил ???
pipneogen 25-04-2009 18:47Я уже не раз читаю на форуме, что ОФ-93 с производства снять и к продаже запрещён, за исчключением с рук. Но говорят, при продлении лицензии — изымут. Так вот интересно, почему всё это, за это «чудо»
mike16.ru 01-05-2009 04:36интересно, а ракетница 71 года выпуска, сколько стоит?
Корниш-Рекс 01-05-2009 04:46quote:
Originally posted by pipneogen:
Я уже не раз читаю на форуме, что ОФ-93 с производства снять и к продаже запрещён, за исчключением с рук. Но говорят, при продлении лицензии — изымут. Так вот интересно, почему всё это, за это «чудо»
нет
rapado 01-05-2009 17:27лучше фаер, это футбольная штука такая дымовая http://www.youtube.com/watch?v=GQzPYiQlvgo&feature=related
на конце 1000 градусов если в лицо направить на расстоянии в пол метра хана, если за шиворот кинуть хана и т.д. стоит 100р
Полголовы снесло говорите? Я тоже где-то слышал что при попадании в грудь может оставить там дыру. Странно а за счет чего такая убойная сила у СП 26 калибра? Сигнальный патрон разве железный?
ПашаАБАКАН 30-05-2009 08:14quote:
Originally posted by HaZ:
Сигнальный патрон разве железный?
ПАТРОН не железный! Железных ПАТРОНОВ не бывает в мире!
А звездка имеет, ЕМНИП, металлические элементы, для подъема на бОльшую высоту.HaZ 01-06-2009 12:15
Да я вкурсе что такое патрон)) оговорка вышла. Насчет устройства звездки спасибо что просветили. Но всеравно смутно себе представляю, чтобы звездка, еще не успев зажечься, не отскочила от биоцели. Да может сильно травмировать, но так чтоб встрять в биоцель и там загореться… Неужели кто-то проверял? Мне здается возможности СП как травматика мало изучены.
mike83 24-06-2009 01:24я видел звездку от ракетницы 4к,она железная с дырками, внутри у нее светящийся состав, вес не знаю, но тяжелая… так вот если просто кинуть такой штукой в голову, может быть легкое сотрясение… а если она полетит из ствола хотя бы 100м/с,то думаю разбить череп сможет легко…
Landgraf 24-06-2009 04:12Не забывайте — магний (и смеси с его участием) в воде не тухнет, а только ещё больше разгорается — от температуры горения магния вода разлагается на водород и кислород (происходит пиролиз воды), и эта стехиометрическая смесь немедленно воспламеняется, превращаясь опять в воду.
А теперь вспомним, что тело человека состоит в основном из воды — и всё станет понятно. Достаточно звёздке добраться до тела — сразу начинается «цепная реакция» с выделением огромного количества тепла и соответственно страшными травмами. Горящий магний практически невозможно стряхнуть с себя, он как-бы «прилипает» к тканям организма, его бесполезно накрывать плотным одеялом (кислород он сам себе добудет из воды), его практически бесполезно тушить пеной или порошком… Единственный более-менее гарантированный способ — обильное засыпание песком, но пострадавшему от этого будет уже ни тепло, ни холодно.
t Landgraf
quote:
Единственный более-менее гарантированный способ — обильное засыпание песком
суровый ответ гопнегам — на вопрос закурить и одолжить бумажник, стрельнуть из ракетницы, а потом «обильно засыпать песком» в ближайшем леску
HaZ 24-06-2009 17:24Значит в шею надо стрелять. Будет слепое ранение и полнейшее сгорание головы А на просьбу закурить можно достать СП и сказать что это пистолет-зажигалка И ведь не соверешь. Представляю гопника бегающего с горящей башкой. Хорошо освещает в темноте. Вот что значит «горячая голова».Мда, такого бы и Тарантино не нарежессировал.
Landgraf 24-06-2009 18:42Как раз с головой всё не так просто — череп плоховато горит
Esterdes 24-06-2009 19:06quote:
суровый ответ гопнегам — на вопрос закурить и одолжить бумажник, стрельнуть из ракетницы, а потом «обильно засыпать песком» в ближайшем леску
Interventionist 24-06-2009 21:45
Чета как то и примеров мало.
Я два примера расскажу.
Давным давно в Сам себе режиссере на свадьбе или дне рождения один товарищ выстрелил и попал второму в ладонь, второй усиленно махал ладонью, но без толку, заряд горел и быстренько прожег ладонь насквозь…
Второй с этого форума — один человек стрельнул из гладкоствола, в патроне не было пороха и заряд не вылетел, загорелся прямо в стволе и прожег казенную часть нафиг, Наша мурка была, то ли 133, то ли 153.
ОГО !!! Пороха небыло? Я РЕКОРДовских сигнальных пачку отстрелял — все выстрелили, но у двух звёздка не загорелась… Но чтоб заряд в стволе горел — это уже полный звездец… Оставшиеся две пачки нафиг разберу от греха…
RvSn 24-08-2009 10:27quote:
Originally posted by Landgraf:
ОГО !!! Пороха небыло? Я РЕКОРДовских сигнальных пачку отстрелял — все выстрелили, но у двух звёздка не загорелась… Но чтоб заряд в стволе горел — это уже полный звездец… Оставшиеся две пачки нафиг разберу от греха…
Вообще то вроде как даже простого капсюля «Жевело» достаточно чтобы звездочку «выплюнуть» из ствола.
Подкалиберные «Полева 1» 20 калибра из 430 мм ствола сайги — выплевывало успешно весьма.
Если ракетница 4го калибра-то даже холостым до 2х метров мало не покажеться. (Да еслиб были травматические и газовые патроны к ним))))))
Nimravus 24-08-2009 19:01quote:
Originally posted by xxxNVNxxx:
Да еслиб были травматические и газовые патроны к ним
они есть xxxNVNxxx 25-08-2009 11:03
quote:
Originally posted by Nimravus:
они есть
О тады отакое хочу пятизарядное для скрытого ношения(ближе к низу)
http://guns.allzip.org/topic/36/56415.html
JJJ 27-10-2009 12:47
Ещё пара случаев.
Один мужик злостно браконьерил в наших достаточно глухих местах. И делал он один фокус при приближении рыбнадзора: перетаскивал лёгкую байдарку через перешеек шириной метров 20 и от погони неоднократно уходил. Чем очень злил преследователей. Ну и как-то раз шмальнули они в него из ракетницы. Он в байдарке к стоял спиной к ним и отталкивался от дна пропёшкой, уплыая, т.е. верхняя часть туловища совершала наклоны. Услышал выстрел и почувствовал довольно сильный удар (потом синяк был) в область плеча. Увидел пролетевшую вперёд и упавшую в воду звёзку. Итог: синяк на плече, сильно обожжённая фуфайка. Я её видел, несмотря на очень кратковременный контакт выгорело пятно примерно 7х10 см, довольно глубоко.
Второй случай. Рэкетиры в конце 90-х бомбили на стоянке-пяточке дальнобоев. Все платили определённую сумму и все было без проблем. Один из водителей заупирался т.к. рейс ещё не выполнил, но деньги с него всё-равно взяли и кое-чего добавили на словах. Пехота сидела в машине, когда он подошёл и выстрелил из ракетницы в открытое окно, как он сказал: «Просто, чтобы обосрались». Все, сидевшие в машине, сгорели.
Первая история может быть абсолютно реальна, вторая абсолютно фантастична. Байки тех же дальнобоев…
Прохожий_007 27-10-2009 03:38Лично отстреливал Осу ракетами по старой подушке. Тема есть в Бесствольном, если кратко, то действие по цели — туфта полная. То же самое относится и к «сигналу охотника», и к прочим бытовым звездкам.
«Армейские» ракетницы, в том числе и тубусные — штука намного серьезнее, с ними лучше не шутить.
quote:
Originally posted by ПашаАБАКАН:
вторая абсолютно фантастична.
Скорее всего, +1. Ну разве что у них бензин в бензобаке вдруг воспламенился, непонятно с какого перепугу.
А еще в старом фильме «Пираты ХХ века» главный герой Евгений Сидихин при помощи ракетницы и каратэ превосходящих злодеев с пистолетами и автоматами побеждает Lan 27-10-2009 06:56
В «Пиратах XX века» снимался Николай Еременко!
botanik 27-10-2009 07:33quote:
Originally posted by Lan:
В «Пиратах XX века» снимался Николай Еременко!
да Сидихин из более молодого поколения актёров
Прохожий_007 28-10-2009 12:06quote:
Originally posted by Lan:
В «Пиратах XX века» снимался Николай Еременко
Точно! Пардон, склероз Впрочем, фантастичность показанного от этого не меняется JJJ 28-10-2009 12:11
quote:
Originally posted by ПашаАБАКАН:
Первая история может быть абсолютно реальна, вторая абсолютно фантастична. Байки тех же дальнобоев…
поясню
Во второй истории были нюансы, которые не стоит излагать на открытом форуме и которые не имеют отношения к теме конкретно этого топика. Эффективность ракетницы в той ситуации выразилась в том, что выгорел салон машины при попадании звёздки через окно.
quote:
Originally posted by JJJ:
Во второй истории были нюансы, которые не стоит излагать на открытом форуме и которые не имеют отношения к теме конкретно этого топика. Эффективность ракетницы в той ситуации выразилась в том, что выгорел салон машины при попадании звёздки через окно.
«Приветствие» в салон машины до выстрела что ли? Так бы и говорили. Чего смущаться, все свои…ПашаАБАКАН 28-10-2009 01:43
quote:
Originally posted by JJJ:
🙂
Дык дело-то житейское…S.S.M 28-10-2009 22:28
Упоминаемая выше звёздка в виде»железки с дырками» не что иное как СХТ- сигнал химтревоги, в полёте этот кусок трубы издаёт довольно таки противный вой. Поджечь машину или дачу выстрелив из ракетницы в открытое окно, это вполне реально.
ПашаАБАКАН 29-10-2009 01:55quote:
Originally posted by S.S.M:
Упоминаемая выше звёздка в виде»железки с дырками» не что иное как СХТ- сигнал химтревоги, в полёте этот кусок трубы издаёт довольно таки противный вой. Поджечь машину или дачу выстрелив из ракетницы в открытое окно, это вполне реально.
В истории уважаемого JJJ не нашел упоминание об СХТ. А прсотой ракетницей 4к поджечь что-то — почти не реально. Звездка, щараза, рикошетит, ни за что не цепляется. Ну теоретически если повезет, можно ее вогнать в легкозажигающийся диван и вызвать пожар. Но не думаю, что сможет выгореть салон машины ТАК, что б из него не успели выбратсья люди (т.е. сгореть хотя бы на половину за 10-20 секунд). Там наверняка до выстрела в салон машины прилетели «бонусы от МТС».Joker12 29-10-2009 02:52
Я стрелял пару раз из СП-81. Страшная штука.
Дело было под Новый Год, во времена когда они свободно продавались. Решили позапускать в гаражах ракеты. Фигли молодые, безбашенные. Позапускали, надоело быстро. Хотя до сих пор помню, смачный такой звук с которым ракета вылетает. Что-то типа, глухого такого «чпок». Потом решили пальнуть по коробке у гаража. Поставили коробку, друг за дверкой гаража спрятался, я отошёл шагов на 20. Прицелился и выстрелил. Ракета коробку свалила, ничего не прожгла, срикошетила от дверки за которой друг ныкался, ударилась о другой гараж, и в мою сторону. Я только успел за дерево шагнуть, она мимо меня. Ну и так еще секунд 10, металась от гаража к гаражу. Потом в сугроб ушла. Пока летала, была такая фееричная красная иллюминация среди железных гаражей. Красиво.
Потом по слухам, из этой же ракетницы шлепнули особо злобного песика. Подробностей не помню, вроде в голову ему попали удачно, практически в упор.
На этой оптимистичной ноте данную скользкую тему и прикрою.
DM 02-01-2010 20:21quote:
Originally posted by antoncher:
видео выкладывали как стреляли по куртке, не было даже ожогов, она просто отлетает в сторону т.е. не успевает прожечь даже куртку.
Сотрудники Кировского РОВД разыскивают очевидцев и людей, причастных к несчастному случаю, произошедшему вечером 2 января в сквере имени Кирова. На главной елке Иркутска во время патрулирования был убит сотрудник отдельного батальона охраны и конвоирования при УВД г. Иркутска Денис Гродников. Кто-то из толпы неумело выпустил сигнальную ракету, она попала младшему сержанту в висок.
В новогоднюю ночь в Хмельницком около Дома офицеров в Раковском районе веселившиеся местные жители согревались на морозе водкой и танцами. Из окон близлежащих зданий лилась громкая музыка, пару сотен молодых людей устроили импровизированную дискотеку. Поскольку под Домом офицеров каждую минуту взрывались сотни петард и шутих, сначала никто не обратил внимания на раздавшийся около половины третьего выстрел из ракетницы. Когда через мгновение на землю упала девочка, наиболее трезвые сообразили, что произошло непоправимое.
Как рассказали «ФАКТАМ» сотрудники ЦОС УМВД Украины в Хмельницкой области, ставшие невольными свидетелями трагедии, 15-летняя Таисия Тамиева умерла практически сразу после попадания ракеты ей в затылок. Снег вокруг был залит кровью, а зеваки, находившиеся в трех-четырех метрах от погибшей, продолжали танцевать. Под выстрелы петард приехала скорая помощь, подружка Таси привела мать, которая никак не могла поверить, что на носилках лежит ее дочь…
Личность стрелявшего сейчас устанавливается, его разыскивает вся хмельницкая милиция. По предварительным данным, выстрел был произведен из военной сигнальной ракетницы (дальность полета ракеты 150 метров). Вероятнее всего, по словам милиционеров, стрелявший был в состоянии сильного опьянения, и его при выстреле «подвела» дрожащая рука…
3 декабря 2009 г. (15:58)
К 3 годам лишения свободы условно с испытательным сроком 3 года приговорена пенсионерка Красноярского края за покушение на убийство врача-уролога.
Как сообщил сегодня, 3 декабря, пресс-секретарь управления Судебного департамента в Красноярском крае Андрей Машкович, следствием было установлено, что в январе 2009 года у 69-летней жительницы Минусинска Розы Измайловой на почве личных неприязненных отношений возник умысел на убийство заведующего урологическим отделением Центральной районной больницы.
Реализуя свой умысел, Измайлова 23 апреля вошла в кабинет врача и с расстояния 2 метра выстрелила в него из сигнального пистолета. Горящая ракета обожгла лицо, шею мужчины и сломала ему ключицу. Увидев, что первый выстрел не привел к смерти человека, Измайлова стала перезаряжать пистолет вторым патроном, но в этот момент была обезоружена медицинской сестрой, вошедшей на шум в кабинет.
В Керчи правоохранители задержали пенсионера, который в ссоре застрелил другого пенсионера. Об этом сообщила пресс-служба Министерства внутренних дел Украины.
По информации пресс-службы, 64-летний местный житель распивал спиртное с 72-летним мужчиной, после чего между ними возникла ссора. Первый пенсионер выстрелил во второго из сигнального пистолета и был задержан милицией через два часа после происшествия.
Стадион опаснее Чечни
В Самаре во время матча был смертельно ранен боец ОМОНа
Александр Комраков, Самара
«Российская газета» — Поволжье N3461 от 22 апреля 2004 г.
Версия для печати / сохранить материал
Вчера утром в реанимации самарской больницы им. Семашко скончался 28-летний лейтенант тольяттинского ОМОНа Сергей Сергеев. Во время воскресного матча «Крыльев Советов» и «Торпедо» ему в голову попала сигнальная ракета, выпущенная 19-летним фанатом.
Трагедия произошла почти в самом начале матча, когда Андрей Каряка забил первый гол в ворота гостей. Под восторженный рев трибун один из фанатов «Крыльев» выстрелил из сигнальной ракетницы, но петарда почему-то полетела не вверх, а на соседнюю трибуну. Срикошетив от ограждения, ракета угодила в голову лейтенанту Сергею Сергееву, инструктору по боевой и физической подготовке тольяттинского ОМОНа. С открытым оскольчатым переломом свода черепа и повреждением мозга пострадавший был доставлен в реанимацию. Врачи боролись за жизнь милиционера почти трое суток, но ранение было слишком тяжелым, и он скончался, не приходя в сознание.
Эта смерть выглядит особенно нелепой потому, что лейтенанту Сергееву не раз доводилось рисковать жизнью. Он целый год прослужил в Чечне в армейском спецназе, а потом пять раз побывал там в командировках в составе ОМОНа, участвовал в боевых действиях и был награжден медалями «За отвагу» и «За доблесть в службе». И вот, не получив ни одного ранения на войне, 28-летний офицер погиб на обычном футбольном матче. Причем ракета, выпущенная фанатом, могла поразить любого из тех, кто пришел на стадион, включая многочисленных детей, но волей случая удар принял на себя милиционер, прибывший на матч для охраны правопорядка.
i am nobody 02-01-2010 21:07оружие возмездия?
а сколько жизней спасло, или могло спасти наличие средства подачи сигнала?
страшная штука? страшно в лес зимой ходить с одним топором.
поджечь машину или дачу? шмеля вам мало?
одним словом, слов нет…
Раз тут разговор о ракетницах, подскажите, 12К сигнальный патрон с 10-20 метров может разбить стекло квартиры с последующим воспламенением содержимого?
Reneart 02-01-2010 21:56Смотря какое стекло… Сколько камер стеклопакета или обычное стекло… Надо опытным путем
ПашаАБАКАН 02-01-2010 22:21quote:
Originally posted by Alex1i:
Раз тут разговор о ракетницах, подскажите, 12К сигнальный патрон с 10-20 метров может разбить стекло квартиры с последующим воспламенением содержимого?
Все верно, смотря какое стекло, смотря куда попадет (на паркет с обоев или на одеяло со спинки дивана).
А вот ствол эти сигнальные гадят только в путь. На ганзе был описан случай, когда бракованая ракета, застряв в стволе, горела-горела, да и прожгла на фиг ствол.DM 02-01-2010 23:01
quote:
Originally posted by xxxNVNxxx:
Если ракетница 4го калибра-то даже холостым до 2х метров мало не покажеться. (Да еслиб были травматические и газовые патроны к ним))))))
# 23мм патрон «Баррикада» со стальной пулей, предназначенной для разрушения «основных узлов автотранспорта с целью его остановки», т.е. для стрельбы по двигателям и колесам
# 23мм патрон «Волна-Р» травматического действия с резиновой пулей. Согласно инструкциям МВД, применение таких патронов на дальностях менее 40 метров запрещается из-за возможности нанесения тяжелых травм; максимальная эффективная дальность стрельбы составляет порядка 70 метров
# 23мм патрон «Черемуха-7М» с газовой гранатой, начиненной ирритантом CN. Максимальная эффективная дальность стрельбы до 150 метров.
# 23мм патрон «Сирень-7» с газовой гранатой, начиненной ирритантом CS. Максимальная эффективная дальность стрельбы до 150 метров
# 23мм патрон «Звезда» со свето-звуковой гранатой шокового действия
# 23мм патроны «Шрапнель-10» и «Шрапнель-25» с картечью; цифра в индексе обозначает максимальную заявленную эффективную дальность применения
все патроны для КС-23
народ активно применял в СПШ
DM 02-01-2010 23:11quote:
Originally posted by Viper NS:
На охотничье гладкоствольное, вроде бы. (знаю одного владельца — у него так, но м.б. нарушение).
ЛОа
DM 02-01-2010 23:17quote:
Originally posted by i am nobody:
оружие возмездия?а сколько жизней спасло, или могло спасти наличие средства подачи сигнала?
страшная штука? страшно в лес зимой ходить с одним топором.
поджечь машину или дачу? шмеля вам мало?
одним словом, слов нет…
убить из ракетницы армейской вполне возможно, особенно при выстреле с расстояния метр-два
неверующие могут купить свиную тушу и шмальнуть в неё из укрытия со станка с расстояние метр — два
goblis 03-01-2010 12:28Во как ! А я свою продавать собрался . Наверно зря .
i am nobody 03-01-2010 12:47quote:
убить из ракетницы армейской вполне возможно
те, кто не постесняются струлять из ракетницы в живого человека, не обломаются и ружье обрезать. вопрос не в том возможно ли из нее убить, а в том, насколько благоразумно рассматривать данный предмет в таком свете.
имхо:
1) ракетница эффективна для запуска салютов,
2) ракетница эффективна для подачи сигналов,
3) ???goblis 03-01-2010 01:14
3) СПШ можно бить по голове .
goblis 03-01-2010 01:19Как салют кстати проигрывает по зрелищности фейерверкам .
Alex1i 03-01-2010 02:06Надо отстрелять по муляжам окон сигнальными. Уточню, интересует не единичный выстрел, а если весь магазин помпы высадить, то есть 4-7 выстрелов.
м_с_в 03-01-2010 12:03quote:
Originally posted by Alex1i:
Alex1i
Вы к штурму готовитесь что-ли?Музыкант 03-01-2010 16:55
quote:
все патроны для КС-23
народ активно применял в СПШ
Честно говоря, я бы побоялся стрелять такими патронами их СПШ.DM 03-01-2010 23:18
отдача будет жесточайшей
DM 19-12-2010 11:21quote:
Originally posted by mbkm:
заранее извиняюсь за свою не осведомленность а спш продается по какому разрешению?
ЛОА, на оружие самообороны
toshik 12-02-2011 20:10quote:
Originally posted by fedor:
У тех, вроде бы вставка была под малокалиберный патрон…
Походя абсолютно легально продается в США.
guns.allzip.org
Сигнальные пистолеты и принадлежности — Снаряжение — Статьи

В Вермахте применялись в основном два вида сигнальных пистолетов-ракетниц (Signalpistole) — короткоствольный образца 1928 года и длинноствольный 1935. Обе модели имели калибр около 27 мм и весьма широкий набор боеприпасов. На базе короткоствольного пистолета были созданы боевые образцы (Kampfpistole), которые могли стрелять и сигнальными ракетами и гранатами (в том числе надкалиберными).


В 1942 году на вооружение в основном парашютистов поступил сигнальный пистолет с нарезным стволом. Это был обычный сигнальный пистолет, в котором гладкий ствол заменили на нарезной, что позволяло вести более точную стрельбу. Сбоку на стволе имелась литера «Z» — первая буква немецкого слова Zug — нарез. Для стрельбы из нарезной ракетницы могли использоваться все боеприпасы для гладкоствольного сигнального пистолета, среди которых осколочно фугасная граната и все сигнальные ракеты (18 наименований). Кроме
того, для этой ракетницы были разработаны еще два боеприпаса: разрывная фугасная
и дымовая гранаты. Дымовая граната предназначалась для борьбы с танками. При
подрыве она образовывала облако едкого дыма, который заполнял боевое отделение
танка и вынуждал танкистов покинуть машину. Из ракетницы можно было стрелять
специальным контейнером, в котором находились бумага и карандаш. На корпусе контейнера имелись нарезы,
и он оснащался небольшим парашютом.
Такой необычный вид почты помогал немецким парашютистам при передаче донесений или любых
других сведений.
Сигнальный пистолет Kampfpistole производился на заводах «Waffenfabrik Carl Walther» и «Waffenfabrik ERMA».
Он мог применяться с прикладом и прицельными приспособлениями.
Такая модификация сигнального пистолета получила название Sturmpistole. Из него можно было вести стрельбу на большую дальность. Применение лейнера, в качестве которого выступала длинная толстостенная латунная гильза с отверстием вместо капсюля, делало возможным стрельбу противопехотной гранатой образца М 1939, имевшей турбореактивный двигатель.



Sturmpistole
Несколько позднее появилась модернизированная надкалиберная противопехотная граната с турбореактивным двигателем «Wurfkorper 361», стрельбу которой можно было вести без применения лейнера. Граната вставлялась в дульную часть ствола ракетницы и удерживалась там с помощью специального кольцевого фиксатора. Также была разработана противотанковая кумулятивная граната Panzerwurfkorper42, но из-за своей малой эффективности массового применения она не получила. Дело в том, что для стрельбы этой гранатой и гладкоствольная, и нарезная ракетницы должны были оснащаться нарезной гильзой. После каждого выстрела необходимо было удалить из ствола остававшийся там стержень, что существенно ограничивало практическую
скорострельность оружия. Кроме того, в полете граната вращалась, из-за чего уменьшаюсь эффективность действия по броне. Для обоих типов армейских сигнальных пистолетов (ракетниц) применялась черная кожаная кобура одного типоразмера (Signalpistolentasche), похожая на обычную пистолетную.
Крышка в виде плоского клапана закрывалась с помощью ремешка и скобки. На задней стенке имелась петля для поясного ремня. В комплект входил снимаемый кожаный плечевой ремешок. К передней стенке с помощью дополнительного ремешка с карабином и карманчика пристегивался шомпол.
Сигнальные боеприпасы различного назначения калибра 27 мм переносились в
специальных подсумках (Signalpatronentasche) двух типов. Большой — на 18 патронов —представлял собой жесткий короб из черной кожи, пресс-штофа или оливково-зеленого брезента с тремя рядами ячеек. Крышка фиксировалась двумя ремешками на запонки. К боковым сторонам крепилась плечевая лямка. Малый подсумок имел ту же конструкцию, но вмещал только 12 патронов в два ряда. К его задней стенке пришивались
две петли для поясного ремня.

xn—-dtbvqbc9b0ck.xn--p1ai

