23-мм авиационная пушка МП-6. — Российская авиация
23-мм авиационная пушка МП-6.
Разработчик: ОКБ-16
Страна: СССР
Испытания: 1940 г.
В 1937 году ОКБ-16 получило задание разработать авиационную пушку под новый 23-мм патрон. В ОКБ-16 работу над 23-мм автоматической пушкой возглавил ведущий конструктор М.Н.Бабурин, в его группу вошли А.Э.Нудельман, А.С.Суранов, В.Л.Таубкин, П.И.Грибков и др. Общее руководство работами осуществлял Я.Г.Таубин.
Мотор-пушка, т.е. предназначенная для установки в развале цилиндров двигателя водяного охлаждения получила заводское обозначение МП-3. Она работала по принципу отдачи ствола при его длинном ходе, питание патронами осуществлялось из механизированного магазина вместимостью 81 патрон. Патроны снаряжались в 9 обойм по 9 патронов в каждой, которые, по мере расходования, заменялись новыми с помощью специального привода. Особенностью системы был низкий темп стрельбы — около 300 выстр./мин.
Но ВВС требовали темпа стрельбы не менее 600 выстр./мин. Достижение такой скорострельности было возможно при значительном сокращении длины хода ствола (примерно в 3 раза) с введением рычажного ускорителя затворного узла для сохранения хода затвора на прежнюю длину. Такая пушка получила индекс МП-6 (по данным Нудельмана). По сведениям же П.П.Грибкова был сделан вариант пушки МП-3 с коротким ходом ствола и темпом стрельбы 500-550 выстр./мин. Позже за счет увеличения жесткости возвратной пружины запирающего агрегата темп стрельбы был доведен до 600-610 выстр./мин. Такая пушка получила индекс МП-6 (мотор-пушка с темпом стрельбы 600 выстр./мин.).
Резкое увеличение при этом скорости движения деталей автоматики привело к снижению живучести и надежности пушки. Затруднения вызвала отработка механизмов магазина, в котором укладывалось девять обойм, в каждой по 9 патронов. Магазин являлся источником частых задержек в стрельбе.
В октябре 1940 года пушка МП-6 поступила на полигонные испытания в НИИ АВ ВВС РККА (г. Ногинск). Для проведения летных испытаний МП-6 была установлена на купленный в Германии «Мессершмитт-110». Под руководством Н.И.Волкова съемная пушечная установка из двух 20-мм немецких пушек была переделана под МП-6. МП-6 проходила испытания параллельно с газоотводной пушкой ВЯ. Достоинство магазинного питания пушки МП-6 полигон посчитал не очевидным по многим причинам. Что очень важно — установка МП-6 в крыле требовала прикрытия её специальным обтекателем, ухудшающим аэродинамику. И если по массогабаритным характеристикам МП-6 и ВЯ были соизмеримы, то по безотказности и живучести преимущество находилось на стороне ВЯ (0,05% задержек и 0,1% поломок, по сравнению с 0,21%/0,62% у МП-6), а главное — магазинное питание МП-6 совершенно не годилось, требовалась его переделка под ленту.
В апреле-мае 1940 года в ходе летных испытаний на Ме-110 была впервые проверена эффективность 23-мм снарядов по наземным целям. Но акт об испытаниях МП-6 на Ме-110 из-за арестов ряда начальников остался неутвержденным. На одном из первых образов Ил-2 в 1940 году были установлены две 23-мм пушки МП-6 с механизированным магазином на 81 патрон.
Однако первые же испытания в воздухе вызвали «заклинку» патронных обойм, выходивших из пушки в воздушный поток, что приводило к остановке стрельбы. Для сбора сравнительно длинных обойм и защиты их от воздушного потока сделали обтекатели, но их большая парусность значительно ухудшала динамику и маневренность самолета. Это потребовало замены магазинного питания звеньевым.
Летом 1940 года, после успешных испытаний МП-6 со звеньевым питанием на опытном истребителе И-21, установили такие пушки снова на Ил-2. Первый отстрел был произведен в августе 1940 года в тире авиационного завода.
Кроме того, в 1940 году МП-6 с магазином устанавливалась в развале двигателя М-105 на истребителе ЛаГГ-3. По результатам испытаний на ЛаГГ-3 МП-6 в магазинном варианте в ноябре 1940 года была поставлена в серийное производство на двух заводах (в Туле и в Коврове). К весне 1941 года выяснилось, что из-за значительной отдачи МП-6 в месте её соединения с двигателем М-105П образуются трещины, и пушку можно использовать только при условии усиления его картера. Налицо был срыв задачи по вооружению пушками современных истребителей. В то время это оценивалось как явное вредительство. Тогда нарком авиационной промышленности А.И.Шахурин, спасая положение, пошёл на самоуправство — разрешил изготовление моторов М-105П с усиленным картером, не согласовав, этот шаг с Правительством, Совнаркомом и ЦК ВКП(б).
Когда информация о самоуправстве Шахурина дошла до Сталина, нетерпимо относившегося к нарушениям регламента, последовало незамедлительное наказание. Постановлением СНК и ЦК ВКП(б) от 4 марта 1941 года А.И.Шахурин был обвинён в несогласованном утяжелении мотора М-105 в целях его приспособления к пушке Таубина и предупреждён, что в дальнейшем за подобные действия последует более строгое взыскание. Но «жертва», принесённая Шахуриным, оказалась напрасной — 12 апреля в ходе очередных испытаний ЛаГГ-3 с усиленным картером мотора и МП-6 — крепление пушки снова было сорвано отдачей…
В ходе этих испытаний МП-6 из первой серийной партии завода №66 показала себя крайне ненадёжной — задержки возникали в среднем одна на 15 выстрелов (у пушки ШВАК — одна задержка на 220 выстр.), часто случались поломки. Испытывавшиеся одновременно с МП-6 на том же истребителе пушки ВЯ и СГ тоже вели себя «не ах» — возникло немало задержек, поломок и даже несколько случаев выстрела при незапертом канале ствола, но положение этих пушек, по сравнению с таубинской, не вызывало особой тревоги. Ведь они были опытными, а МП-6 являлась СЕРИЙНОЙ!
Весной 1941 года в Монино состоялись сравнительные испытания пушек МП-6 (с ленточным питанием) и ВЯ на самолетах Ил-2. Хотя к марту 1941 года конструкторы ОКБ-16 «вылизали» пушку МП-6, руководству стало окончательно ясно, что освоение производства МП-6 идёт плохо. На заводских испытаниях в Туле и Коврове часто случались поломки и что критично, массовые случаи выстрелов при незапертом канале ствола. Что бы там ни было причиной, выпустить серию пригодных для поставки на авиазаводы пушек не получалось. И в этой обстановке Таубин готовит новый вариант МП-6 с ленточным питанием, что означает для заводов в ближайшей перспективе ломку с трудом организуемого производства пушек с магазинным питанием! В итоге МП-6 сняли с серийного производства и работу над ней прекратили. По результатам испытаний предпочтение было отдано пушке ВЯ, но развернуть массовое производство ВЯ в мирное время, уже не успели…
В мае 1941 года пушка МП-6 была снята с производства, на это накладывался провал с серийным производством пулемета АП-12,7, а ведь была ещё 37-мм авиационная пушка, работу над которой он начал в 1938 году и когда 37-мм пушку Таубина попытались установить на истребитель ЛаГГ-3, то тут же выяснилось, что она не вмещается в моторный отсек самолёта. Все изделия конструкции Я.Г.Таубина (не он один их, разумеется, проектировал, но отвечал за каждое): 23-мм пушка, 12,7-мм пулемёт и 37-мм пушка, на которые была сделана ставка в оснащении новых боевых самолетов, по тем или иным причинам провалились. На их разработку были потрачены огромные средства и упущено бесценное время, т.к. промышленность отвлекалась на подготовку выпуска недоработанных образцов. Я.Г.Таубин был арестован и впоследствии расстрелян.
Часть изготовленных 23-мм пушек МП-6 в конце 1941 года была помещена на упрощенные зенитные установки системы Н.Ф.Токарева и участвовала в обороне Тулы.
ТТХ:
Калибр, мм: 23
Длина ствола, мм: 1361
Длина, мм: 2455
Ширина, мм: 227
Высота, мм: 354
Вес, кг: 103
Вес снаряда, кг: 0,2
Скорострельность, выст/мин: 600-610
Начальная скорость, м/с
-снаряд ОЗТ: 690
-снаряд БТЗ: 675.

Авиационная пушка МП-6.

Пушка МП-6, установленная на моторе М-105П во время полигонных испытаний: а — пушка; б — магазин на 81 патрон; в — заднее крепление; г — фальшствол.

Пушка МП-6 установленная на моторе М-105П во время полигонных испытаний.

Магазин на 60 патронов к МП-6.

Магазин на 81 патрон к МП-6.

Вариант пушки МП-6 с ленточной подачей боеприпасов.

Лента к пушке МП-6.
.
.
Список источников:
А.Б.Широкорад. История авиационного вооружения.
М.В.Орлов, Н.В.Якубович. Истребитель ЛаГГ-3.
Журнал «Калашников. Оружие, боеприпасы, снаряжение.» № 12 за 2012 г.
xn--80aafy5bs.xn--p1ai
МП-6 класса точности 0,02 — Шатковский приборостроительный завод
По всем интересующим Вас вопросам пишите на электронную почту завода:
Генеральный директор — Камышев Александр Владимирович.
Торгующим организациям — хорошие скидки.
Приборы — всегда есть — в наличии.
Срочная доставка приборов до склада Грузополучателя за наш счёт.
ПРОИЗВОДИМ РЕМОНТ РАНЕЕ ВЫПУЩЕННЫХ ПРИБОРОВ
( с приёмкой ОТК и протоколом испытаний, поверкой).
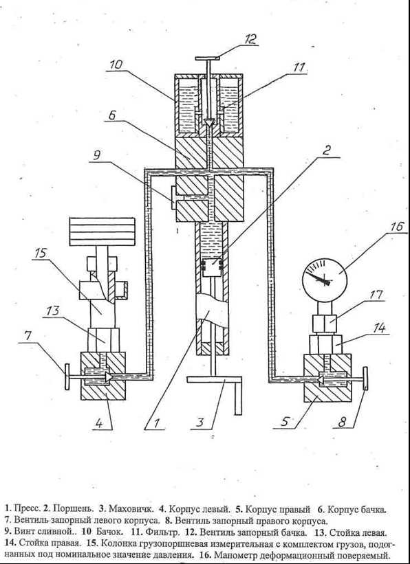
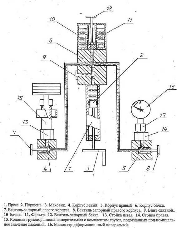
Манометр грузопоршневой МП-6 класса точности 0,02
Назначение.
Грузопоршневые манометры являются наиболее точными и стабильными приборами давления, дающие наилучшую повторяемость результатов измерений.
Технические характеристики.
Наименование параметров |
Норма для манометра |
|
Верхний предел измерений, МПа (кгс/см2)для грузопоршневых колонок (ИПС) |
|
| — из спец. сплава |
0,6 (6,0) |
|
Нижний предел измерений, МПа (кгс/см2)для грузопоршневых колонок (ИПС) |
|
| — из спец. сплава |
0,04 (0,4) |
|
Номинальное значение площади поршня, см2 |
|
| — из спец. сплава | 1 |
|
Номинальное значение массы поршня с грузоприёмным устройством, для грузопоршневых колонок (ИПС) кг, не более |
|
| — из спец. сплава |
0,4 х 0,98 |
|
Давление, создаваемое поршнем с грузоприемным устройством, |
|
| — из спец. сплава |
0,04 (0,4) |
Пределы допускаемой основной погрешности | |
|
При давлениях от 10 до 100% от верхнего предела измерений |
При давлениях до 10% от верхнего предела измерений |
|
± 0,02% от действительного значения измеряемого давления |
± 0,02% от 0,1 верхнего предела измерений |
Питание от сети переменного тока:напряжение (220В±22) В;частота (50±0,4) Гц.
Комплект поставки
.
Наименование |
Количество |
Примечание |
| Устройство для создания давления | 1 | |
| Колонка грузопоршневая измерительная (ИПС) | ||
| — из спец. сплава | 1 | |
| Комплект грузов, подогнанных под номинальное значение массы: | ||
| Груз 0,6 кг | 2 | |
| Груз 0,9 кг | 1 | |
| Груз 1 кг | 10 | |
| Комплект грузов, подогнанных под номинальное значение давления для колонки из спец. сплава: | ||
| Груз 0,01 МПа, или 0,1 кгс/см2,или 0,1бар или 10 кПа | 6 | |
| Груз 0,05 МПа, или 0,5 кгс/см2, или 0,5 бар или 50 кПа | 10 | |
| Груз дополнительный | 1 | Поставляется при заказе прибора с двойным комплектом грузов (в МПа и кгс/см2) |
| Отсчетное устройство для наблюдения за взаимным расположением поршней с блоком питания | 1 | |
| Разделитель гидравлический безмембранный РГБ-6 | 1 | Поставляется по заявке потребителя за отдельную плату |
| Комплект запасных и сменных частей | 1 | |
По всем интересующим Вас вопросам пишите на электронную почту завода:
Генеральный директор — Камышев Александр Владимирович.
ОБЩИЙ ВИД МАНОМЕТРА ГРУЗОПОРШНЕВОГО МП-6 КЛАССА ТОЧНОСТИ 0,02
Надёжная конструкция — проверенная временем. 
КОЛОНКА ИЗМЕРИТЕЛЬНАЯ К МАНОМЕТРУ ГРУЗОПОРШНЕВОМУ МП-6 КЛАССА ТОЧНОСТИ 0,02
Надёжная конструкция — проверенная временем.
СХЕМА ПОВЕРКИ ГРУЗОПОРШНЕВЫХ МАНОМЕТРОВ
СХЕМА ПОВЕРКИ ДЕФОРМАЦИОННЫХ МАНОМЕТРОВ
Свидетельство и сертификат

shzp.ru
МП-6 класса точности 0,05 характеристика прибора и параметры устройства
По всем интересующим Вас вопросам пишите на электронную почту завода:
Генеральный директор — Камышев Александр Владимирович.
Торгующим организациям — хорошие скидки.
Приборы — всегда есть — в наличии.
Срочная доставка приборов до склада Грузополучателя за наш счёт.
ПРОИЗВОДИМ РЕМОНТ РАНЕЕ ВЫПУЩЕННЫХ ПРИБОРОВ
( с приёмкой ОТК и протоколом испытаний, поверкой).
Манометр грузопоршневой МП-6 класса точности 0,05
Назначение.
Грузопоршневые манометры являются наиболее точными и стабильными приборами давления, дающие наилучшую повторяемость результатов измерений.
Технические характеристики.
Наименование параметров |
Норма для манометра |
|
Верхний предел измерений, МПа (кгс/см2)для грузопоршневых колонок (ИПС) |
|
|
— из спец. сплава |
0,6 (6,0) |
|
Нижний предел измерений, МПа (кгс/см2)для грузопоршневых колонок (ИПС) |
|
|
— из спец. сплава |
0,04 (0,4) |
|
Номинальное значение площади поршня, см2 |
|
|
— из спец. сплава |
1 |
|
Номинальное значение массы поршня с грузоприёмным устройством, для грузопоршневых колонок (ИПС) кг, не более |
|
|
— из спец. сплава |
0,4 х 0,98 |
|
Давление, создаваемое поршнем с грузоприемным устройством, |
|
| — из спец. сплава |
0,04 (0,4) |
Пределы допускаемой основной погрешности манометра |
|
|
При давлениях в диапазоне от 10 до 100% от верхнего предела измерений |
При давлении в диапазоне до 10% от верхнего предела измерений |
|
±0,05% от значения измеряемого давления |
±0,05% от 0,1 верхнего предела измерений |
Комплект поставки
.
Наименование |
Количество |
Примечание |
| Устройство для создания давления | 1 | |
| Колонка грузопоршневая измерительная (ИПС) | ||
| — из спец. сплава | 1 | |
| Комплект грузов, подогнанных под номинальное значение давления для колонки из спец. сплава: | ||
| Груз 0,01 МПа, или 0,1 кгс/см2,или 0,1бар или 10 кПа | 6 | |
| Груз 0,05 МПа, или 0,5 кгс/см2, или 0,5 бар или 50 кПа | 10 | |
| Груз дополнительный | 1 | Поставляется при заказе прибора с двойным комплектом грузов (в МПа и кгс/см2) |
| Разделитель гидравлический безмембранный РГБ-6 | 1 | Поставляется по заявке потребителя за отдельную плату |
| Комплект запасных и сменных частей | 1 | |
По всем интересующим Вас вопросам пишите на электронную почту завода:
Генеральный директор — Камышев Александр Владимирович.
ОБЩИЙ ВИД МАНОМЕТРА ГРУЗОПОРШНЕВОГО МП-6 КЛАССА ТОЧНОСТИ 0,05
Надёжная конструкция — проверенная временем.

КОЛОНКА ИЗМЕРИТЕЛЬНАЯ К МАНОМЕТРУ ГРУЗОПОРШНЕВОМУ МП-6 КЛАССА ТОЧНОСТИ 0,05
Надёжная конструкция — проверенная временем.

Свидетельство и сертификат

shzp.ru
МП-6 класса точности 0,01 точность измерения
По всем интересующим Вас вопросам пишите на электронную почту завода:
Генеральный директор — Камышев Александр Владимирович.
Торгующим организациям — хорошие скидки.
Приборы — всегда есть — в наличии.
Срочная доставка приборов до склада Грузополучателя за наш счёт.
ПРОИЗВОДИМ РЕМОНТ РАНЕЕ ВЫПУЩЕННЫХ ПРИБОРОВ
( с приёмкой ОТК и протоколом испытаний, поверкой).
Манометр грузопоршневой МП-6 класса точности 0,01
Назначение.
Грузопоршневые манометры являются наиболее точными и стабильными приборами давления, дающие наилучшую повторяемость результатов измерений.
Технические характеристики.
Наименование параметров |
Норма для манометра |
|
Верхний предел измерений, МПа (кгс/см2)для грузопоршневых колонок (ИПС) |
|
|
— из спец. сплава |
0,6 (6,0) |
|
Нижний предел измерений, МПа (кгс/см2)для грузопоршневых колонок (ИПС) |
|
|
— из спец. сплава |
0,04 (0,4) |
|
Номинальное значение площади поршня, см2 |
|
|
— из спец. сплава |
1 |
|
Номинальное значение массы поршня с грузоприёмным устройством, для грузопоршневых колонок (ИПС) кг, не более |
|
|
— из спец. сплава |
0,4 х 0,98 |
|
Давление, создаваемое поршнем с грузоприемным устройством, |
|
| — из спец. сплава |
0,04 (0,4) |
Пределы допускаемой основной погрешности |
|
|
При давлениях от 10 до 100% от верхнего предела измерений |
При давлениях до 10% от верхнего предела измерений |
|
± 0,01% от действительного значения измеряемого давления |
± 0,01% от 0,1 верхнего предела измерений |
Питание от сети переменного тока:
напряжение (220±22) В;
частота (50±0,4) Гц.
Комплект поставки
.
Наименование |
Количество |
Примечание |
| Устройство для создания давления | 1 | |
| Колонка грузопоршневая измерительная (ИПС) | ||
| — из спец. сплава | 1 | |
| Комплект грузов, подогнанных под номинальное значение массы: | ||
| Груз 0,6 кг | 2 | |
| Груз 0,9 кг | 1 | |
| Груз 1 кг | 10 | |
| Комплект грузов, подогнанных под номинальное значение давления для колонки из спец. сплава: | ||
| Груз 0,01 МПа, или 0,1 кгс/см2,или 0,1бар или 10 кПа | 6 | |
| Груз 0,05 МПа, или 0,5 кгс/см2, или 0,5 бар или 50 кПа | 10 | |
| Груз дополнительный | 1 | Поставляется при заказе прибора с двойным комплектом грузов (в МПа и кгс/см2) |
| Отсчетное устройство для наблюдения за взаимным расположением поршней с блоком питания | 1 | |
| Разделитель гидравлический безмембранный РГБ-6 | 1 | Поставляется по заявке потребителя за отдельную плату |
| Комплект запасных и сменных частей | 1 | |
По всем интересующим Вас вопросам пишите на электронную почту завода:
Генеральный директор — Камышев Александр Владимирович.
ОБЩИЙ ВИД МАНОМЕТРА ГРУЗОПОРШНЕВОГО МП-6 КЛАССА ТОЧНОСТИ 0,01
Надёжная конструкция — проверенная временем. 
КОЛОНКА ИЗМЕРИТЕЛЬНАЯ МАНОМЕТРА ГРУЗОПОРШНЕВОГО МП-6 КЛАССА ТОЧНОСТИ 0,01
Надёжная конструкция — проверенная временем. 
СХЕМА ПОВЕРКИ ГРУЗОПОРШНЕВЫХ МАНОМЕТРОВ
СХЕМА ПОВЕРКИ ДЕФОРМАЦИОННЫХ МАНОМЕТРОВ
Свидетельство и сертификат

shzp.ru
МП-6 класса точности 0,005 — Шатковский приборостроительный завод
По всем интересующим Вас вопросам пишите на электронную почту завода:
Приборы — всегда есть — в наличии.
Срочная доставка приборов до склада Грузополучателя за наш счёт.
( с приёмкой ОТК и протоколом испытаний, поверкой).
Манометр грузопоршневой МП-6 класса точности 0,005
Назначение.
Грузопоршневые манометры являются наиболее точными и стабильными приборами давления, дающие наилучшую повторяемость результатов измерений.
Технические характеристики
Наименование параметров |
Норма для манометра |
|
Верхний предел измерений, МПа (кгс/см2)для грузопоршневых колонок (ИПС) |
|
|
— из спец. сплава |
0,6 (6,0) |
|
Нижний предел измерений, МПа (кгс/см2)для грузопоршневых колонок (ИПС) |
|
|
— из спец. сплава |
0,04 (0,4) |
|
Номинальное значение площади поршня, см2 |
|
|
— из спец. сплава |
1 |
|
Номинальное значение массы поршня с грузоприёмным устройством, для грузопоршневых колонок (ИПС) кг, не более |
|
|
— из спец. сплава |
0,4 х 0,98 |
|
Давление, создаваемое поршнем с грузоприемным устройством, |
|
| — из спец. сплава |
0,04 (0,4) |
Пределы допускаемой основной погрешности |
|
|
При давлениях от 10 до 100% от верхнего предела измерений |
При давлениях до 10% от верхнего предела измерений |
|
± 0,005% от действительного значения измеряемого давления |
± 0,005% от 0,1 верхнего предела измерений |
Питание от сети переменного тока:
напряжение 220±22 В;
частота 50±0,4 Гц.
Комплект поставки
Наименование |
Количество |
Примечание |
| Устройство для создания давления | 1 | |
| Колонка грузопоршневая измерительная (ИПС) | ||
| — из спец. сплава | 1 | |
| Комплект грузов, подогнанных под номинальное значение массы: | ||
| Груз 0,1 кг | 8 | |
| Груз 0,5 кг | 2 | |
| Груз 0,6 кг | 2 | |
| Груз 0,9 кг | 1 | |
| Груз 1 кг | 10 | |
| Комплект грузов, подогнанных под номинальное значение давления для колонки из спец. сплава: | ||
| Груз 0,01 МПа, или 0,1 кгс/см2,или 0,1бар или 10 кПа | 6 | |
| Груз 0,05 МПа, или 0,5 кгс/см2, или 0,5 бар или 50 кПа | 10 | |
| Груз дополнительный | 1 | Поставляется при заказе прибора с двойным комплектом грузов (в МПа и кгс/см2) |
| Отсчетное устройство для наблюдения за взаимным расположением поршней с блоком питания | 1 | |
| Комплект запасных и сменных частей | 1 | |
По всем интересующим Вас вопросам пишите на электронную почту завода:
Генеральный директор — Камышев Александр Владимирович.
ОБЩИЙ ВИД МАНОМЕТРА ГРУЗОПОРШНЕВОГО МП-6 КЛАССА ТОЧНОСТИ 0,005
Надёжная конструкция — проверенная временем. 
ПОРШНЕВАЯ ИЗМЕРИТЕЛЬНАЯ СИСТЕМА МАНОМЕТРА ГРУЗОПОРШНЕВОГО МП-6 КЛАССА ТОЧНОСТИ 0,005
Надёжная конструкция — проверенная временем.

Надёжная конструкция — проверенная временем. 
СХЕМА ПОВЕРКИ ГРУЗОПОРШНЕВЫХ МАНОМЕТРОВ ПЕРВОГО РАЗРЯДА.
Надёжная конструкция — проверенная временем. 
СХЕМА ПОВЕРКИ ОБРАЗЦОВЫХ ДЕФОРМАЦИОННЫХ МАНОМЕТРОВ И ПРЕОБРАЗОВАТЕЛЕЙ ДАВЛЕНИЯ ПЕРВОГО РАЗРЯДА
Надёжная конструкция — проверенная временем.

Свидетельство и сертификат

shzp.ru
МП-6 кл. 0,05 манометр грузопоршневой
МП-6; МП 6; МП6 манометр грузопоршневой МП-6; МП 6; МП6; купить манометр МП-6; МП 6; МП6; купить МП-6; МП 6; МП6; цена манометра грузопоршневого МП-6; МП 6; МП6; цена МП-6; МП 6; МП6; купить дешевле манометр грузопоршневой МП-6; МП 6; МП6; купить дешевле МП-6; МП 6; МП6; технические характеристики МП-6; МП 6; МП6

НАЗНАЧЕНИЕ ГРУЗОПОРШНЕВОГО МАНОМЕТРА МП-6
Манометр грузопоршневой МП-6 предназначен для проверки и градуировки средств измерительной техники избыточного давления класса 0,25 и ниже непосредственным сличением.
ТЕХНИЧЕСКИЕ ХАРАКТЕРИСТИКИ МАНОМЕТРА МП-6
Верхний предел измерений | 600 (6) кПа(кгс/см2) |
Нижний предел измерений | 40 (0,4) кПа(кгс/см2) |
Номинальная площадь поршня | 1 см2 |
Предел допускаемой основной погрешности манометра: |
|
Габаритные размеры МП-6 | не более 800х600х600 мм |
Масса манометра без грузов МП-6 | не более 40 кг |
Рабочая жидкость | трансформаторное масло по ГОСТ 10121-76 |
ooobvs.ru
МП-6 кл. 0,005 манометр грузопоршневой
МП-6; МП 6; МП6 манометр грузопоршневой МП-6; МП 6; МП6; купить манометр МП-6; МП 6; МП6; купить МП-6; МП 6; МП6; цена манометра грузопоршневого МП-6; МП 6; МП6; цена МП-6; МП 6; МП6; купить дешевле манометр грузопоршневой МП-6; МП 6; МП6; купить дешевле МП-6; МП 6; МП6; технические характеристики МП-6; МП 6; МП6
НАЗНАЧЕНИЕ ГРУЗОПОРШНЕВОГО МАНОМЕТРА МП-6
Рабочий эталон (РЭ), представляющий собой грузопоршневой манометр избыточного давления МП-6 предназначен для передачи единицы давления от эталона-копии (ЭК) образцовым средствам измерений 1-го разряда (ОСИ) в соответствии с ГОСТ 8.017-79 «ГСИ. Государственный первичный эталон и общесоюзная поверочная схема для средств измерений избыточного давления до 250 МПа».
Область применения РЭ — поверка ОСИ 1-го разряда в метрологических центрах и лабораториях КИП промышленных предприятий, выпускающих образцовые средства измерения.
В соответствии с ГОСТ 15150-69 РЭ относится к климатическому исполнению 0, категория размещения 4.2
ТЕХНИЧЕСКИЕ ХАРАКТЕРИСТИКИ МАНОМЕТРА МП-6
Диапазон измерений избыточного давления | 0,04 — 0,6 МПа |
Среднее квадратическое отклонение результатов измерений при сличении рабочего эталона с эталоном-копией | не более 1,2·10-5 |
Нестабильность рабочего эталона за год | не более 1·10-5 |
Погрешность определения действительного значения массы каждого груза и массы подвижной части измерительной поршневой системы (ИПС) | не более 1·10-5 |
Пределы допускаемой основной погрешности: |
|
Номинальное значение площади поршня | 1 см2 |
Номинальное значение массы поршня с грузоприемным устройством | 0,4 кг |
Питание от сети переменного тока |
|
Габаритные размеры МП-6 | 440х390х425 мм |
Масса МП-6 |
не более 62 кг |
ooobvs.ru
