ΠΠΎΠ»Π»ΠΈΠΌΠ°ΡΠΎΡΠ½ΡΠΉ ΠΏΡΠΈΡΠ΅Π» Π²ΠΎ Π²ΡΠΎΡΠΎΠΉ ΠΌΠΈΡΠΎΠ²ΠΎΠΉ Π²ΠΎΠΉΠ½Π΅. ΠΠΎΠ»Π»ΠΈΠΌΠ°ΡΠΎΡΠ½ΡΠΉ ΠΏΡΠΈΡΠ΅Π»
ΠΡΠ΅ΡΠ΅Π΄Π½Π°Ρ ΡΠ°ΡΡΡ ΠΈΠ· ΡΠΈΠΊΠ»Π° ΠΏΡΠΎ ΠΊΠΎΠ»Π»ΠΈΠΌΠ°ΡΠΎΡΠ½ΡΠ΅ ΠΏΡΠΈΡΠ΅Π»Ρ ΠΌΠΎΠ΅Π³ΠΎ ΠΏΡΠΈΡΡΠ΅Π»Ρ http://solikama.livejournal.com
Π‘ΠΎΠ²Π΅ΡΡΠΊΠΈΠΉ Π‘ΠΎΡΠ· Π±ΡΠ» ΠΎΠ΄Π½ΠΎΠΉ ΠΈΠ· ΡΡΡΠ°Π½ Π² ΠΊΠΎΡΠΎΡΠΎΠΉ ΡΡΠΏΠ΅ΡΠ½ΠΎ ΡΠ°Π·ΡΠ°Π±Π°ΡΡΠ²Π°Π»ΠΈ, ΡΠΎΠ²Π΅ΡΡΠ΅Π½ΡΡΠ²ΠΎΠ²Π°Π»ΠΈ ΠΊΠΎΠ»Π»ΠΈΠΌΠ°ΡΠΎΡΠ½ΡΠ΅ ΠΏΡΠΈΡΠ΅Π»Ρ ΠΈ ΠΏΡΠΈΠ½ΠΈΠΌΠ°Π»ΠΈ ΠΈΡ Π½Π° Π²ΠΎΠΎΡΡΠΆΠ΅Π½ΠΈΠ΅. Π ΠΏΠ΅ΡΠ²ΡΡ ΠΎΡΠ΅ΡΠ΅Π΄Ρ ΠΊΠΎΠ»Π»ΠΈΠΌΠ°ΡΠΎΡΡ Π±ΡΠ°Π»ΠΈΡΡ Π½Π° Π²ΠΎΠΎΡΡΠΆΠ΅Π½ΠΈΠ΅ Π² Π°Π²ΠΈΠ°ΡΠΈΠΈ, Π·Π°ΡΠ΅ΠΌ Π°ΡΡΠΈΠ»Π»Π΅ΡΠΈΠΈ: ΡΡΡΠ°Π½Π°Π²Π»ΠΈΠ²Π°Π»ΠΈΡΡ Π½Π° ΠΌΠΈΠ½ΠΎΠΌΠ΅ΡΡ, Ρ ΡΠ΅ΡΠ΅Π΄ΠΈΠ½Ρ 20-Π³ΠΎ Π²Π΅ΠΊΠ° ΠΈ Π½Π° Π³Π°ΡΠ±ΠΈΡΡ, Π° ΡΠ°ΠΊ ΠΆΠ΅ ΠΏΡΠΈΠΌΠ΅Π½ΡΠ»ΠΈΡΡ Π² Π·Π΅Π½ΠΈΡΠ½ΡΡ ΡΡΡΠ°Π½ΠΎΠ²ΠΊΠ°Ρ .
ΠΠ²ΠΈΠ°ΡΠΈΡ.
ΠΠ΄Π½ΠΈΠΌ ΠΈΠ· ΠΏΠ΅ΡΠ²ΡΡ
Π°Π²ΠΈΠ°ΡΠΈΠΎΠ½Π½ΡΡ
ΠΊΠΎΠ»Π»ΠΈΠΌΠ°ΡΠΎΡΠ½ΡΡ
ΠΏΡΠΈΡΠ΅Π»ΠΎΠ² Π±ΡΠ» ΠΏΡΠΈΡΠ΅Π» ΠΠΠ-1.
ΠΠΠ-1 Π½Π° ΠΈΡΡΡΠ΅Π±ΠΈΡΠ΅Π»Π΅ Π-16, 1936Π³.


ΠΠΎΡΠΎΡΡΠΉ ΡΡΡΠ°Π½Π°Π²Π»ΠΈΠ²Π°Π»ΡΡ Π½Π° ΡΡΡΡΠΌΠΎΠ²ΠΈΠΊΠ°Ρ ΠΠ»-2.
ΠΡΠΈΡΠ΅Π»ΡΠ½Π°Ρ ΡΠ΅ΡΠΊΠ° ΠΠΠ-1 ΠΏΠΎΠ΄ΡΠ²Π΅ΡΠ΅Π½Π½Π°Ρ ΠΊΡΠ°ΡΠ½ΡΠΌ ΡΠ²Π΅ΡΠΎΠ΄ΠΈΠΎΠ΄ΠΎΠΌ, Π² ΠΎΡΠΈΠ³ΠΈΠ½Π°Π»Π΅ Π»Π°ΠΌΠΏΠΎΠΉ Π½Π°ΠΊΠ°Π»ΠΈΠ²Π°Π½ΠΈΡ ΠΈ ΡΠΎΠΎΡΠ²Π΅ΡΡΡΠ²Π΅Π½Π½ΠΎ Π΄ΠΎΠ»ΠΆΠ½Π° Π±ΡΡΡ ΠΆΠ΅Π»ΡΠΎΠ³ΠΎ ΡΠ²Π΅ΡΠ°.
ΠΠΎΠ·ΠΆΠ΅ ΡΠ°Π·ΡΠ°Π±Π°ΡΡΠ²Π°Π»ΠΈΡΡ Π΄ΡΡΠ³ΠΈΠ΅ ΠΠ, Π½ΠΎ ΠΏΡΠΈΠ½ΡΠΈΠΏΠΈΠ°Π»ΡΠ½Π°Ρ ΡΡ Π΅ΠΌΠ° Π°Π²ΠΈΠ°ΡΠΈΠΎΠ½Π½ΠΎΠ³ΠΎ ΠΏΡΠΈΡΠ΅Π»Π° ΠΎΡΡΠ°Π»Π°ΡΡ ΠΏΡΠ΅ΠΆΠ½Π΅ΠΉ.
ΠΡΡΠΈΠ»Π»Π΅ΡΠΈΡ.
Π‘Π»Π΅Π΄ΡΡΡΠ°Ρ ΠΎΠ±Π»Π°ΡΡΡ Π²ΠΎΠ΅Π½Π½ΠΎΠ³ΠΎ ΠΏΡΠΈΠΌΠ΅Π½Π΅Π½ΠΈΡ ΠΊΠΎΠ»Π»ΠΈΠΌΠ°ΡΠΎΡΠ½ΡΡ
ΠΏΡΠΈΡΠ΅Π»ΠΎΠ² β Π°ΡΡΠΈΠ»Π»Π΅ΡΠΈΡ, ΠΈΠ·Π½Π°ΡΠ°Π»ΡΠ½ΠΎ Π² 30-40 Π³ΠΎΠ΄Π°Ρ
ΠΊΠΎΠ»Π»ΠΈΠΌΠ°ΡΠΎΡΡ ΠΏΡΠΈΠΌΠ΅Π½ΡΠ»ΠΈΡΡ Π² ΠΌΠΈΠ½ΠΎΠΌΠ΅ΡΠ½ΡΡ
ΠΏΡΠΈΡΠ΅Π»Π°Ρ
, ΡΡΠΎ Π±ΡΠ»ΠΈ: ΠΠ-82,ΠΠ-41
ΠΡΠΈΡΠ΅Π»Π° ΠΠ-82
ΠΠΎΠ»Π»ΠΈΠΌΠ°ΡΠΎΡ ΡΠ°ΡΠΏΠΎΠ»ΠΎΠΆΠ΅Π½ Π½Π° Π²ΡΠ°ΡΠ°ΡΡΠ΅ΠΉΡΡ ΠΊΡΡΡΠΊΠ΅ ΡΠ³Π»ΠΎΠΌΠ΅ΡΠ½ΠΎΠ³ΠΎ ΠΌΠ΅Ρ
Π°Π½ΠΈΠ·ΠΌΠ°.
Π’Π°ΠΊΠΈΠΌ ΠΎΠ±ΡΠ°Π·ΠΎΠΌ, ΠΊΠΎΠ»Π»ΠΈΠΌΠ°ΡΠΎΡ, ΡΠ³Π»ΠΎΠΌΠ΅ΡΠ½ΡΠΉ ΠΌΠ΅Ρ
Π°Π½ΠΈΠ·ΠΌ ΠΈ ΠΏΡΠΈΡΠ΅Π» ΠΏΡΠ΅Π΄ΡΡΠ°Π²Π»ΡΡΡ ΡΠΎΠ±ΠΎΠΉ ΠΎΠ΄Π½ΠΎ ΡΠ΅Π»ΠΎΠ΅. ΠΠΎΠ»Π»ΠΈΠΌΠ°ΡΠΎΡ ΠΈ ΡΠ³Π»ΠΎΠΌΠ΅ΡΠ½ΡΠΉ ΠΌΠ΅Ρ
Π°Π½ΠΈΠ·ΠΌ, Π²ΠΌΠ΅ΡΡΠ΅ Π²Π·ΡΡΡΠ΅, ΠΏΡΠ΅Π΄ΡΡΠ°Π²Π»ΡΡΡ ΡΠΎΠ±ΠΎΠΉ ΡΠΏΡΠΎΡΠ΅Π½Π½ΡΡ ΠΏΠ°Π½ΠΎΡΠ°ΠΌΡ, ΠΊΠΎΡΠΎΡΠ°Ρ ΡΠ»ΡΠΆΠΈΡ Π΄Π»Ρ Π½Π°Π²ΠΎΠ΄ΠΊΠΈ ΠΌΠΈΠ½ΠΎΠΌΠ΅ΡΠ° Π² ΡΠ΅Π»Ρ.
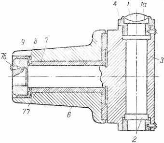
ΠΠΎΠ»Π»ΠΈΠΌΠ°ΡΠΎΡ ΡΠ»ΡΠΆΠΈΡ Π΄Π»Ρ Π²ΠΈΠ·ΠΈΡΠΎΠ²Π°Π½ΠΈΡ Π² ΡΠΎΡΠΊΡ Π½Π°Π²ΠΎΠ΄ΠΊΠΈ. Π‘ΠΎΡΡΠΎΠΈΡ ΠΎΠ½ ΠΈΠ· ΠΎΠ±ΡΠ΅ΠΊΡΠΈΠ²Π°, ΡΠΊΠ»Π΅Π΅Π½Π½ΠΎΠ³ΠΎ ΠΈΠ· Π΄Π²ΡΡ
Π»ΠΈΠ½Π· 1 ΠΈ 1Π°. Π ΡΠΎΠΊΡΡΠ΅ ΠΎΠ±ΡΠ΅ΠΊΡΠΈΠ²Π° ΡΡΡΠ°Π½ΠΎΠ²Π»Π΅Π½Π° ΠΏΠ»ΠΎΡΠΊΠΎ-ΠΏΠ°ΡΠ°Π»Π»Π΅Π»ΡΠ½Π°Ρ ΠΏΠ»Π°ΡΡΠΈΠ½ΠΊΠ° 2 ΡΠΎ ΡΠ²Π΅ΡΠΎΠ²ΠΎΠΉ ΡΠ΅Π»ΡΡ. Π‘Π²Π΅ΡΠΎΠ²Π°Ρ ΡΠ΅Π»Ρ ΠΏΡΠ΅Π΄ΡΡΠ°Π²Π»ΡΠ΅Ρ ΡΠΎΠ±ΠΎΡ ΠΏΡΠΎΡΠ΅Π·Ρ Π² ΡΠ»ΠΎΠ΅ ΡΠ΅ΡΠ΅Π±ΡΠ°, ΠΏΠΎΠΊΡΡΠ²Π°ΡΡΠ΅ΠΌ ΠΏΠ»ΠΎΡΠΊΠΎΡΡΡ ΠΏΠ»Π°ΡΡΠΈΠ½ΠΊΠΈ ΡΠΎ ΡΡΠΎΡΠΎΠ½Ρ ΠΎΠ±ΡΠ΅ΠΊΡΠΈΠ²Π° ΡΠΈΡΠΈΠ½ΠΎΠΉ 0,05 ΠΌΠΌ.
ΠΠΈΠ΄ ΠΊΠΎΠ»Π»ΠΈΠΌΠ°ΡΠΎΡΠ°

ΠΡΠΈΡΠ΅Π» ΠΠ-41

ΠΠΎΠ·ΠΆΠ΅ ΠΊΠΎΠ»Π»ΠΈΠΌΠ°ΡΠΎΡΠ½ΡΠ΅ ΠΏΡΠΈΡΠ΅Π»Ρ Π½Π° ΠΌΠΈΠ½ΠΎΠΌΠ΅ΡΠ°Ρ
Π·Π°ΠΌΠ΅Π½ΠΈΠ»ΠΈ ΠΎΠΏΡΠΈΡΠ΅ΡΠΊΠΈΠΌΠΈ, ΠΊΠΎΡΠΎΡΡΠ΅ Π±ΡΠ»ΠΈ Π±ΠΎΠ»Π΅Π΅ ΡΠ΄ΠΎΠ±Π½Ρ.
Π ΡΠ΅ΡΠ΅Π΄ΠΈΠ½Π΅ 20-Π³ΠΎ Π²Π΅ΠΊΠ° ΠΊ Π°ΡΡΠΈΠ»Π»Π΅ΡΠΈΠΉΡΠΊΠΈΠΌ ΠΏΠ°Π½ΠΎΡΠ°ΠΌΠ½ΡΠΌ ΠΏΡΠΈΡΠ΅Π»Π°ΠΌ Π΄ΠΎΠ±Π°Π²ΠΈΠ»ΠΈ ΠΊΠΎΠ»Π»ΠΈΠΌΠ°ΡΠΎΡΠ½ΡΠΉ.
ΠΡΠΈΡΠ΅Π» Π-1
ΠΡΡΠ΄ΠΈΠΉΠ½ΡΠΉ ΠΊΠΎΠ»Π»ΠΈΠΌΠ°ΡΠΎΡ Π-1 ΠΏΡΠ΅Π΄Π½Π°Π·Π½Π°ΡΠ΅Π½ Π΄Π»Ρ Π³ΠΎΡΠΈΠ·ΠΎΠ½ΡΠ°Π»ΡΠ½ΠΎΠΉ Π½Π°Π²ΠΎΠ΄ΠΊΠΈ ΠΎΡΡΠ΄ΠΈΡ (ΠΌΠΈΠ½ΠΎΠΌΠ΅ΡΠ°) ΠΏΡΠΈ ΠΎΡΡΡΡΡΡΠ²ΠΈΠΈ Π΅ΡΡΠ΅ΡΡΠ²Π΅Π½Π½ΡΡ ΡΠ΄Π°Π»Π΅Π½Π½ΡΡ ΡΠΎΡΠ΅ΠΊ Π½Π°Π²ΠΎΠ΄ΠΊΠΈ, Π° ΡΠ°ΠΊΠΆΠ΅ Π² ΡΡΠ»ΠΎΠ²ΠΈΡΡ ΠΏΠ»ΠΎΡ ΠΎΠΉ Π²ΠΈΠ΄ΠΈΠΌΠΎΡΡΠΈ ΠΈΡ . Π-1 ΠΏΡΠΈΠΌΠ΅Π½ΡΠ΅ΡΡΡ Π΄Π»Ρ ΠΎΡΡΠ΄ΠΈΠΉ Π½Π°Π·Π΅ΠΌΠ½ΠΎΠΉ Π°ΡΡΠΈΠ»Π»Π΅ΡΠΈΠΈ ΠΈ ΠΌΠΈΠ½ΠΎΠΌΠ΅ΡΠΎΠ². ΠΠ°ΠΆΠ΄ΠΎΠΌΡ ΠΎΡΡΠ΄ΠΈΡ (ΠΌΠΈΠ½ΠΎΠΌΠ΅ΡΡ) ΠΏΡΠΈΠ΄Π°Π΅ΡΡΡ ΠΎΠ΄ΠΈΠ½ Π-1. Π-1 ΠΌΠΎΠΆΠ΅Ρ ΠΏΡΠΈΠΌΠ΅Π½ΡΡΡΡΡ ΡΠΎΠ»ΡΠΊΠΎ ΡΠΎΠ²ΠΌΠ΅ΡΡΠ½ΠΎ Ρ ΠΏΠ°Π½ΠΎΡΠ°ΠΌΠΎΠΉ ΠΠ-1 Π½Π° ΠΎΡΡΠ΄ΠΈΡΡ ΠΈ Ρ ΠΏΡΠΈΡΠ΅Π»Π°ΠΌΠΈ ΠΠ-46Π ΠΈΠ»ΠΈ ΠΠΠ-44Π Π½Π° ΠΌΠΈΠ½ΠΎΠΌΠ΅ΡΠ°Ρ . ΠΡΠΈ ΡΠ°Π±ΠΎΡΠ΅ Ρ Π-1 Π΄Π½Π΅ΠΌ Π΄Π»Ρ ΠΏΠΎΠ΄ΡΠ²Π΅ΡΠΊΠΈ ΡΠ΅ΡΠΊΠΈ ΠΈΡΠΏΠΎΠ»ΡΠ·ΡΠ΅ΡΡΡ Π΅ΡΡΠ΅ΡΡΠ²Π΅Π½Π½ΠΎΠ΅ ΠΎΡΠ²Π΅ΡΠ΅Π½ΠΈΠ΅, Π° Π² ΡΡΠ»ΠΎΠ²ΠΈΡΡ ΠΏΠ»ΠΎΡ ΠΎΠΉ Π²ΠΈΠ΄ΠΈΠΌΠΎΡΡΠΈ Π°ΠΊΠΊΡΠΌΡΠ»ΡΡΠΎΡΠ½Π°Ρ Π±Π°ΡΠ°ΡΠ΅Ρ.
ΠΠ΅Π½ΠΈΡΠ½ΡΠ΅ ΡΡΡΠ°Π½ΠΎΠ²ΠΊΠΈ.
Π ΠΊΠΎΠ½ΡΠ΅ 30-Ρ
Π³ΠΎΠ΄ΠΎΠ² 20-Π³ΠΎ Π²Π΅ΠΊΠ° Π²ΠΎΠ΅Π½Π½ΡΠ΅ ΠΊΠΎΠ½ΡΡΡΡΠΊΡΠΎΡΡ ΠΏΡΠΈΡΠ»ΠΈ ΠΊ Π²ΡΠ²ΠΎΠ΄Ρ, ΡΡΠΎ Π² ΡΠΊΠΎΡΠΎΡΡΡΠ΅Π»ΡΠ½ΡΡ
ΠΌΠ°Π»ΠΎΠΊΠ°Π»ΠΈΠ±Π΅ΡΠ½ΡΡ
Π·Π΅Π½ΠΈΡΠ½ΡΡ
ΡΡΡΠ°Π½ΠΎΠ²ΠΊΠ°Ρ
ΡΠ΅Π»Π΅ΡΠΎΠΎΠ±ΡΠ°Π·Π½ΠΎ ΡΠ°ΠΊΠΊΡΡΡΠ½ΡΠ΅ ΠΏΡΠΈΡΠ΅Π»Ρ Π·Π°ΠΌΠ΅Π½ΡΡΡ Π½Π° ΠΊΠΎΠ»Π»ΠΈΠΌΠ°ΡΠΎΡΠ½ΡΠ΅, ΠΎΠ΄Π½Π°ΠΊΠΎ
kiddyclub.ru
ΠΠΎΠ»Π»ΠΈΠΌΠ°ΡΠΎΡΠ½ΡΠΉ ΠΏΡΠΈΡΠ΅Π» Π²ΠΎ Π²ΡΠΎΡΠΎΠΉ ΠΌΠΈΡΠΎΠ²ΠΎΠΉ Π²ΠΎΠΉΠ½Π΅. ΠΠΎΠ»Π»ΠΈΠΌΠ°ΡΠΎΡΡ ΠΎΡΠΊΡΡΡΠΎΠ³ΠΎ ΡΠΈΠΏΠ°
β ΠΏΡΠΈΠΌ.ΡΠ΅Π΄.), Π² 1995Π³. ΡΠ·Π½Π°Π» ΠΈΠ· ΠΆΡΡΠ½Π°Π»Π° Soldier of Fortune. ΠΡΠΎ Π±ΡΠ» ΠΏΡΠΈΡΠ΅Π» Holodot ΠΎΡ ΡΠΈΡΠΌΡ BoNaSo Trading Ltd . ΠΡΡΠΊΠΎ Π»ΡΠ±ΠΎΠΏΡΡΠ½ΠΎ Π±ΡΠ»ΠΎ ΠΈ ΠΎΡΠ΅Π½Ρ Ρ ΠΎΡΠ΅Π»ΠΎΡΡ ΠΏΠΎΠΏΡΠΎΠ±ΠΎΠ²Π°ΡΡ. ΠΠΎ Π²ΡΠ΅, ΠΊΠΎΠ³ΠΎ ΡΠΏΡΠ°ΡΠΈΠ²Π°Π» ΠΎ Π½Π΅ΠΌ, Π»ΠΈΡΡ ΠΏΠΎΠΆΠΈΠΌΠ°Π»ΠΈ ΠΏΠ»Π΅ΡΠ°ΠΌΠΈ.
ΠΠΎΠ·ΠΆΠ΅, ΠΎΠ±ΡΡΠ°ΡΡΡ Π½Π° ΡΠΏΠ΅ΡΡΠ°ΠΊΡΠ»ΡΡΠ΅ΡΠ΅, Π½Π°ΠΌ ΠΏΠΎΠΊΠ°Π·Π°Π»ΠΈ ΠΊΠΎΠ»Π»ΠΈΠΌΠ°ΡΠΎΡΠ½ΡΠΉ ΠΏΡΠΈΡΠ΅Π» Π² ΡΠΈΠΌΠ±ΠΈΠΎΠ·Π΅ Ρ ΠΠ-90 β ΡΡΠΎ-ΡΠΎ ΠΏΠΎΡ ΠΎΠΆΠ΅Π΅ Π½Π° ΡΠΎ, ΡΡΠΎ ΠΈΠ·ΠΎΠ±ΡΠ°ΠΆΠ΅Π½ΠΎ Π½Π° ΡΠΎΡΠΎ Π½ΠΈΠΆΠ΅)
ΠΠ΅ ΠΏΠΎΠΌΠ½Ρ ΠΊΠ°ΠΊ ΠΎΠ½ Π½Π°Π·ΡΠ²Π°Π»ΡΡ, Π²ΠΎΠ·ΠΌΠΎΠΆΠ½ΠΎ ΡΡΠΎ Π±ΡΠ» ΠΠ‘Π-8 ΠΈΠ»ΠΈ ΠΠΠ’
ΠΡΠ°ΠΊ, ΡΡΠΎ ΠΆΠ΅ ΡΠ°ΠΊΠΎΠ΅ ΠΊΠΎΠ»Π»ΠΈΠΌΠ°ΡΠΎΡ?
ΠΠΎΡ Π½Π°Π²Π΅ΡΠ½ΠΎΠ΅ ΠΏΠ΅ΡΠ²ΡΠΉ ΡΠΎΠ²Π΅ΡΡΠΊΠΈΠΉ ΠΊΠΎΠ»Π»ΠΈΠΌΠ°ΡΠΎΡ, Π΄Π»Ρ ΡΡΡΠ΅Π»ΠΊΠΎΠ²ΠΎΠ³ΠΎ ΠΎΡΡΠΆΠΈΡ Β«Π‘Π²Π΅ΡΠ»ΡΡΠΎΠΊΒ»ΠΠΎΠ»Π»ΠΈΠΌΠ°ΡΠΎΡ (ΠΎΡ collimo, ΠΈΡΠΊΠ°ΠΆΠ΅Π½ΠΈΠ΅ ΠΏΡΠ°Π²ΠΈΠ»ΡΠ½ΠΎΠ³ΠΎ Π»Π°Ρ. collineo — Π½Π°ΠΏΡΠ°Π²Π»ΡΡ ΠΏΠΎ ΠΏΡΡΠΌΠΎΠΉ Π»ΠΈΠ½ΠΈΠΈ) — ΡΡΡΡΠΎΠΉΡΡΠ²ΠΎ Π΄Π»Ρ ΠΏΠΎΠ»ΡΡΠ΅Π½ΠΈΡ ΠΏΠ°ΡΠ°Π»Π»Π΅Π»ΡΠ½ΡΡ ΠΏΡΡΠΊΠΎΠ² Π»ΡΡΠ΅ΠΉ ΡΠ²Π΅ΡΠ° ΠΈΠ»ΠΈ ΡΠ°ΡΡΠΈΡ.
ΠΠΎΠ»Π»ΠΈΠΌΠ°ΡΠΎΡΠ½ΡΠ΅ ΠΏΡΠΈΡΠ΅Π»ΡΠ½ΡΠ΅ ΡΠΈΡΡΠ΅ΠΌΡ — ΡΡΠΎ ΡΠΈΡΡΠ΅ΠΌΡ, ΠΈΡΠΏΠΎΠ»ΡΠ·ΡΡΡΠΈΠ΅ ΠΊΠΎΠ»Π»ΠΈΠΌΠ°ΡΠΎΡ Π΄Π»Ρ ΠΏΠΎΡΡΡΠΎΠ΅Π½ΠΈΡ ΠΈΠ·ΠΎΠ±ΡΠ°ΠΆΠ΅Π½ΠΈΡ ΠΏΡΠΈΡΠ΅Π»ΡΠ½ΠΎΠΉ ΠΌΠ΅ΡΠΊΠΈ, ΡΠΏΡΠΎΠ΅ΡΠΈΡΠΎΠ²Π°Π½Π½ΠΎΠ³ΠΎ Π² Π±Π΅ΡΠΊΠΎΠ½Π΅ΡΠ½ΠΎΡΡΡ. Π Π΄Π΅ΠΉΡΡΠ²ΠΈΡΠ΅Π»ΡΠ½ΠΎΡΡΠΈ Π² ΠΏΡΠΈΡΠ΅Π»Π΅ Π»ΡΡΠΈ ΡΠ²Π΅ΡΠ° ΠΎΡ ΠΈΡΡΠΎΡΠ½ΠΈΠΊΠ° ΠΎΡΡΠ°ΠΆΠ°ΡΡΡΡ Π»ΠΈΠ½Π·ΠΎΠΉ ΠΊΠΎΠ»Π»ΠΈΠΌΠ°ΡΠΎΡΠ° Π² Π³Π»Π°Π· ΡΡΡΠ΅Π»ΠΊΠ° ΠΏΠ°ΡΠ°Π»Π»Π΅Π»ΡΠ½ΡΠΌ ΠΏΠΎΡΠΎΠΊΠΎΠΌ. Π ΡΠ΅Π·ΡΠ»ΡΡΠ°ΡΠ΅ ΡΡΠΎΠ³ΠΎ Π³Π»Π°Π· ΡΡΡΠ΅Π»ΠΊΠ° Π½Π΅ ΠΎΠ±ΡΠ·Π°ΡΠ΅Π»ΡΠ½ΠΎ Π΄ΠΎΠ»ΠΆΠ΅Π½ Π½Π°Ρ ΠΎΠ΄ΠΈΡΡΡΡ Π½Π° ΠΎΠΏΡΠΈΡΠ΅ΡΠΊΠΎΠΉ ΠΎΡΠΈ ΠΏΡΠΈΡΠ΅Π»Π°, Π³Π»Π°Π²Π½ΠΎΠ΅, ΡΡΠΎΠ±Ρ ΠΎΠ½ Π½Π°Ρ ΠΎΠ΄ΠΈΠ»ΡΡ Π² ΠΏΡΠ΅Π΄Π΅Π»Π°Ρ ΠΏΡΠΎΠ΅ΠΊΡΠΈΠΈ Π»ΠΈΠ½Π·Ρ ΠΏΡΠΈΡΠ΅Π»Π° Π²Π΄ΠΎΠ»Ρ ΡΡΠΎΠΉ ΠΎΡΠΈ. ΠΡΠΈ ΠΏΠΎΠΏΠ΅ΡΠ΅ΡΠ½ΡΡ ΠΏΠ΅ΡΠ΅ΠΌΠ΅ΡΠ΅Π½ΠΈΡΡ Π³Π»Π°Π·Π° ΠΏΡΠΈΡΠ΅Π»ΡΠ½Π°Ρ ΠΌΠ΅ΡΠΊΠ° Ρ ΡΠΎΡΠΊΠΈ Π·ΡΠ΅Π½ΠΈΡ Π½Π°Π±Π»ΡΠ΄Π°ΡΠ΅Π»Ρ ΠΏΠ΅ΡΠ΅ΠΌΠ΅ΡΠ°Π΅ΡΡΡ ΠΏΠΎ Π»ΠΈΠ½Π·Π΅ ΠΏΡΠΈΡΠ΅Π»Π°, ΠΎΡΡΠ°Π²Π°ΡΡΡ Π½Π° ΡΠΎΡΠΊΠ΅ ΠΏΡΠΈΡΠ΅Π»ΠΈΠ²Π°Π½ΠΈΡ Π²Π½Π΅ Π·Π°Π²ΠΈΡΠΈΠΌΠΎΡΡΠΈ ΠΎΡ ΠΏΠΎΠ»ΠΎΠΆΠ΅Π½ΠΈΡ Π³Π»Π°Π·Π° Π½Π°Π±Π»ΡΠ΄Π°ΡΠ΅Π»Ρ ΠΎΡΠ½ΠΎΡΠΈΡΠ΅Π»ΡΠ½ΠΎ ΠΏΡΠΈΡΠ΅Π»Π°.
ΠΠΎΠ»Π»ΠΈΠΌΠ°ΡΠΎΡΠ½ΡΠΉ ΠΏΡΠΈΡΠ΅Π» ΠΏΠΎΠ·Π²ΠΎΠ»ΡΠ΅Ρ Π²Π΅ΡΡΠΈ ΡΡΡΠ΅Π»ΡΠ±Ρ, Π΄Π΅ΡΠΆΠ° ΠΎΠ±Π° Π³Π»Π°Π·Π° ΠΎΡΠΊΡΡΡΡΠΌΠΈ, ΠΏΡΠΈ ΡΡΠΎΠΌ ΠΏΠΎΠ»Π΅ Π·ΡΠ΅Π½ΠΈΡ Π½Π΅ ΡΠΌΠ΅Π½ΡΡΠ°Π΅ΡΡΡ ΠΈ Ρ ΡΡΡΠ΅Π»ΠΊΠ° Π΅ΡΡΡ Π²ΠΎΠ·ΠΌΠΎΠΆΠ½ΠΎΡΡΡ ΡΠ²ΠΎΠ΅Π²ΡΠ΅ΠΌΠ΅Π½Π½ΠΎ ΡΠ΅Π°Π³ΠΈΡΠΎΠ²Π°ΡΡ Π½Π° ΠΈΠ·ΠΌΠ΅Π½Π΅Π½ΠΈΠ΅ ΠΎΠΊΡΡΠΆΠ°ΡΡΠ΅ΠΉ ΠΎΠ±ΡΡΠ°Π½ΠΎΠ²ΠΊΠΈ.
ΠΠΎΡ ΠΎΠ½ ΠΆΠ΅ Ρ Π΄ΡΡΠ³ΠΈΠΌ ΠΏΡΠΈΡΠ΅Π»ΠΎΠΌ, Π΄Π»Ρ Π²ΠΎΠ΅Π½Π½ΡΡ Β«ΠΡΡΠ³Π°-45-2Β»ΠΠΎΠ»Π»ΠΈΠΌΠ°ΡΠΎΡΠ½ΡΠ΅ ΠΏΡΠΈΡΠ΅Π»Ρ Π±ΡΠ²Π°ΡΡ ΠΎΡΠΊΡΡΡΡΠ΅ ΠΈ Π·Π°ΠΊΡΡΡΡΠ΅. Π‘ΡΡΠ΅ΡΡΠ²ΡΠ΅Ρ/ΡΡΡΠ΅ΡΡΠ²ΠΎΠ²Π°Π»Π° Π½Π΅ΡΠ΅ΡΠΊΠΎΡΡΡ ΡΠ΅ΡΠΌΠΈΠ½ΠΎΠ»ΠΎΠ³ΠΈΠΈ Π½Π° ΡΡΠΎΡ ΡΡΠ΅Ρ. ΠΠ·Π½Π°ΡΠ°Π»ΡΠ½ΠΎ Π·Π°ΠΊΡΡΡΡΠΌΠΈ ΠΏΡΠΈΡΠ΅Π»Π°ΠΌΠΈ ΠΈΠΌΠ΅Π½ΠΎΠ²Π°Π»ΠΈΡΡ ΠΏΡΠΈΡΠ΅Π»Ρ, ΠΊΠΎΡΠΎΡΡΠ΅ Π½Π΅ ΠΈΠΌΠ΅Π»ΠΈ ΠΏΡΠΎΠ·ΡΠ°ΡΠ½ΠΎΠΉ Π»ΠΈΠ½Π·Ρ, Π° ΡΠΎΠ»ΡΠΊΠΎ ΠΏΡΠΎΠ΅ΡΠΈΡΠΎΠ²Π°Π»ΠΈ Π² Π³Π»Π°Π· ΡΡΡΠ΅Π»ΠΊΠ° ΠΏΡΠΈΡΠ΅Π»ΡΠ½ΡΡ ΠΌΠ΅ΡΠΊΡ. Π¦Π΅Π»Ρ Π² ΠΎΠΊΡΠ»ΡΡΠ΅ Π½Π΅ ΠΎΡΠΎΠ±ΡΠ°ΠΆΠ°Π»Π°ΡΡ, ΠΏΡΠΈΡΠ΅Π»ΠΈΠ²Π°Π½ΠΈΠ΅ ΠΎΡΡΡΠ΅ΡΡΠ²Π»ΡΠ»ΠΎΡΡ Π±ΠΈΠ½ΠΎΠΊΡΠ»ΡΡΠ½ΠΎ ΠΏΡΠΈ Π½Π°Π±Π»ΡΠ΄Π΅Π½ΠΈΠΈ ΠΎΠ΄Π½ΠΈΠΌ Π³Π»Π°Π·ΠΎΠΌ ΠΏΡΠΈΡΠ΅Π»ΡΠ½ΠΎΠΉ ΠΌΠ΅ΡΠΊΠΈ, Π° Π΄ΡΡΠ³ΠΈΠΌ — ΡΠ΅Π»ΠΈ, Π² ΠΌΠΎΠ·Π³Ρ ΡΡΡΠ΅Π»ΠΊΠ° ΠΏΡΠΎΠΈΡΡ ΠΎΠ΄ΠΈΠ»ΠΎ Ρ Π°ΡΠ°ΠΊΡΠ΅ΡΠ½ΠΎΠ΅ Π΄Π»Ρ Π±ΠΈΠ½ΠΎΠΊΡΠ»ΡΡΠ½ΠΎΠ³ΠΎ Π·ΡΠ΅Π½ΠΈΡ ΡΠΎΠ²ΠΌΠ΅ΡΠ΅Π½ΠΈΠ΅ ΠΈΠ·ΠΎΠ±ΡΠ°ΠΆΠ΅Π½ΠΈΠΉ ΠΎΡ ΠΎΠ±ΠΎΠΈΡ Π³Π»Π°Π·.
ΠΡΠΈΠΌΠ΅ΡΠ½ΠΎ ΡΡΠΎ Π²ΡΠ³Π»ΡΠ΄Π΅Π»ΠΎ ΡΠ°ΠΊ.
Π Π½Π°ΡΡΠΎΡΡΠ΅Π΅ Π²ΡΠ΅ΠΌΡ ΡΠ°ΠΊΠΈΠ΅ ΠΏΡΠΈΡΠ΅Π»Ρ ΠΏΡΠ°ΠΊΡΠΈΡΠ΅ΡΠΊΠΈ Π²ΡΡΠ»ΠΈ ΠΈΠ· ΡΠΏΠΎΡΡΠ΅Π±Π»Π΅Π½ΠΈΡ.
Π‘ΠΎΠ²ΡΠ΅ΠΌΠ΅Π½Π½ΡΠ΅ ΠΊΠΎΠ»Π»ΠΈΠΌΠ°ΡΠΎΡΠ½ΡΠ΅ ΠΏΡΠΈΡΠ΅Π»Ρ ΠΈΠΌΠ΅ΡΡ ΠΎΠΏΡΠΈΡΠ΅ΡΠΊΡΡ ΡΡ Π΅ΠΌΡ, ΡΠΊΠ²ΠΎΠ·Ρ ΠΊΠΎΡΠΎΡΡΡ ΡΡΡΠ΅Π»ΠΎΠΊ Π½Π°Π±Π»ΡΠ΄Π°Π΅Ρ ΡΠ΅Π»Ρ, ΠΈ ΠΏΡΠΈ ΡΡΠΎΠΌ ΠΎΠ½Π° ΠΆΠ΅ ΠΎΡΡΠ°ΠΆΠ°Π΅Ρ Π² Π΅Π³ΠΎ Π³Π»Π°Π· ΠΈΠ·ΠΎΠ±ΡΠ°ΠΆΠ΅Π½ΠΈΠ΅ ΠΏΡΠΈΡΠ΅Π»ΡΠ½ΠΎΠΉ ΠΌΠ΅ΡΠΊΠΈ, ΠΏΠΎ ΡΡΠ°ΡΠΎΠΉ ΠΊΠ»Π°ΡΡΠΈΡΠΈΠΊΠ°ΡΠΈΠΈ Π²ΡΠ΅ ΡΠ°ΠΊΠΈΠ΅ ΠΏΡΠΈΡΠ΅Π»Ρ Π½Π°Π·ΡΠ²Π°Π»ΠΈΡΡ ΠΎΡΠΊΡΡΡΡΠΌΠΈ.
Π‘Π΅ΠΉΡΠ°Ρ Π·Π°ΠΊΡΡΡΡΠΌ ΠΊΠΎΠ»Π»ΠΈΠΌΠ°ΡΠΎΡΠ½ΡΠΌ ΠΏΡΠΈΡΠ΅Π»ΠΎΠΌ ΠΈΠΌΠ΅Π½ΡΠ΅ΡΡΡ ΠΏΡΠΈΡΠ΅Π», Ρ ΠΊΠΎΡΠΎΡΠΎΠ³ΠΎ ΠΈΡΡΠΎΡΠ½ΠΈΠΊ ΠΎΡΠ²Π΅ΡΠ΅Π½ΠΈΡ, ΡΠΎΡΠΌΠΈΡΡΡΡΠΈΠΉ ΠΌΠ΅ΡΠΊΡ, Π½Π°Ρ ΠΎΠ΄ΠΈΡΡΡ Π² Π·Π°ΠΊΡΡΡΠΎΠΌ (ΠΎΠ±ΡΡΠ½ΠΎ ΡΠΈΠ»ΠΈΠ½Π΄ΡΠΈΡΠ΅ΡΠΊΠΎΠΌ, Π³Π΅ΡΠΌΠ΅ΡΠΈΡΠ½ΠΎΠΌ) ΠΊΠΎΡΠΏΡΡΠ΅, ΠΏΡΠΈ ΡΡΠΎΠΌ, ΠΊΡΠΎΠΌΠ΅ ΠΏΠ΅ΡΠ΅Π΄Π½Π΅ΠΉ Π»ΠΈΠ½Π·Ρ ΠΊΠΎΠ»Π»ΠΈΠΌΠ°ΡΠΎΡΠ° , ΠΈΠΌΠ΅Π΅ΡΡΡ Π·Π°ΠΊΡΡΠ²Π°ΡΡΠ°Ρ ΠΊΠΎΡΠΏΡΡ ΡΠ·Π°Π΄ΠΈ Π»ΠΈΠ½Π·Π° ΠΎΠΊΡΠ»ΡΡΠ°.
ΠΡΠΊΡΡΡΡΠΉ ΠΊΠΎΠ»Π»ΠΈΠΌΠ°ΡΠΎΡΠ½ΡΠΉ ΠΏΡΠΈΡΠ΅Π» ΠΈΠΌΠ΅Π΅Ρ ΡΠΎΠ»ΡΠΊΠΎ ΠΏΠ΅ΡΠ΅Π΄Π½ΡΡ Π»ΠΈΠ½Π·Ρ Π² ΠΎΠΏΡΠ°Π²Π΅, ΠΈΡΡΠΎΡΠ½ΠΈΠΊ ΡΠ²Π΅ΡΠ° Π½Π°Ρ ΠΎΠ΄ΠΈΡΡΡ ΠΎΡΠΊΡΡΡΠΎ Π½Π° ΠΎΡΠ½ΠΎΠ²Π°Π½ΠΈΠΈ ΠΏΡΠΈΡΠ΅Π»Π°.
ΠΡΡΠΎΡΠΈΡ ΡΠ°Π·Π²ΠΈΡΠΈΡ ΠΊΠΎΠ»Π»ΠΈΠΌΠ°ΡΠΎΡΠ½ΡΡ ΠΏΡΠΈΡΠ΅Π»ΠΎΠ²
ΠΠΎΠ²Π°ΡΠ΄ ΠΡΠ°Π±Π± Π±ΡΠ» Π³Π»Π°Π²ΠΎΠΉ ΡΠ΅ΠΌΠ΅ΠΉΠ½ΠΎΠΉ ΡΠΈΡΠΌΡ Grubb Telescope Company , ΠΎΡΠ½ΠΎΠ²Π°Π½Π½ΠΎΠΉ Π΅Π³ΠΎ ΠΎΡΡΠΎΠΌ, ΠΊΠΎΡΠΎΡΠ°Ρ Π΄Π΅Π»Π°Π»Π° Π±ΠΎΠ»ΡΡΠΈΠ΅ ΡΠ΅Π»Π΅ΡΠΊΠΎΠΏΡ, ΡΡΠ΅Π΄ΡΡΠ²Π° ΡΠΏΡΠ°Π²Π»Π΅Π½ΠΈΡ ΡΠ΅Π»Π΅ΡΠΊΠΎΠΏΠ°ΠΌΠΈ ΠΈ Π΄ΡΡΠ³ΠΈΠ΅ ΠΎΠΏΡΠΈΡΠ΅ΡΠΊΠΈΠ΅ ΠΏΡΠΈΠ±ΠΎΡΡ. ΠΠ½ ΡΠ°ΠΊΠΆΠ΅ ΠΈΠ·Π²Π΅ΡΡΠ΅Π½ ΡΠ²ΠΎΠ΅ΠΉ ΡΠ°Π±ΠΎΡΠΎΠΉ ΠΏΠΎ ΡΠΎΠ²Π΅ΡΡΠ΅Π½ΡΡΠ²ΠΎΠ²Π°Π½ΠΈΡ ΠΏΠ΅ΡΠΈΡΠΊΠΎΠΏΠΎΠ² ΠΈ ΠΈΠ·ΠΎΠ±ΡΠ΅ΡΠ΅Π½ΠΈΠ΅ΠΌ
ΠΠΎΠ²Π°ΡΠ΄ ΠΡΠ°Π±Π± (28 ΠΈΡΠ»Ρ 1844 β 16 ΡΠ΅Π½ΡΡΠ±ΡΡ 1931), ΠΡΠ±Π»ΠΈΠ½, ΠΡΠ»Π°Π½Π΄ΠΈΡ, ΠΊΠΎΠ½ΡΡΡΡΠΊΡΠΎΡ ΠΎΠΏΡΠΈΡΠ΅ΡΠΊΠΈΡ ΠΏΡΠΈΠ±ΠΎΡΠΎΠ².
Π 1900Π³. ΠΡΠ°Π±Π± ΠΈΠ·ΠΎΠ±ΡΠ΅Π» ΠΊΠΎΠ»Π»ΠΈΠΌΠ°ΡΠΎΡΠ½ΡΠΉ ΠΏΡΠΈΡΠ΅Π» . Π Π΄Π°Π»ΡΠ½Π΅ΠΉΡΠ΅ΠΌ ΡΡΠΎΡ ΡΠΈΠΏ ΠΏΡΠΈΡΠ΅Π»ΠΎΠ² Π½Π°ΡΠ°Π» ΠΈΡΠΏΠΎΠ»ΡΠ·ΠΎΠ²Π°ΡΡΡΡ Π½Π° Π²ΡΠ΅Ρ Π²ΠΈΠ΄Π°Ρ ΠΎΡΡΠΆΠΈΡ ΠΎΡ ΡΡΡΠ΅Π»ΠΊΠΎΠ²ΠΎΠ³ΠΎ, Π΄ΠΎ ΠΈΡΡΡΠ΅Π±ΠΈΡΠ΅Π»Π΅ΠΉ ΠΈ Π°ΡΡΠΈΠ»Π»Π΅ΡΠΈΠΈ.
Π 1901Π³. ΠΠΎΠ²Π°ΡΠ΄ ΠΡΠ°Π±Π± ΡΠΎΠ·Π΄Π°Π» ΠΊΠΎΠΌΠΏΠ°ΠΊΡΠ½ΡΠΉ Π²Π°ΡΠΈΠ°Π½Ρ ΠΊΠΎΠ»Π»ΠΈΠΌΠ°ΡΠΎΡΠ½ΠΎΠ³ΠΎ ΠΏΡΠΈΡΠ΅Π»Π° , ΠΏΠΎΠ΄Ρ ΠΎΠ΄ΡΡΠ΅Π³ΠΎ Π΄Π»Ρ ΡΡΡΠ½ΠΎΠ³ΠΎ ΠΎΠ³Π½Π΅ΡΡΡΠ΅Π»ΡΠ½ΠΎΠ³ΠΎ ΠΎΡΡΠΆΠΈΡ ΠΈ Π½Π΅Π±ΠΎΠ»ΡΡΠΈΡ ΡΡΡΡΠΎΠΉΡΡΠ². ΠΡΠΈΡΠ΅Π» Π±ΡΠ» ΠΌΠΎΠ΄Π΅ΡΠ½ΠΈΠ·ΠΈΡΠΎΠ²Π°Π½, ΠΎΡΠ²Π΅ΡΠ΅Π½ΠΈΠ΅ ΠΏΡΠΈΡΠ΅Π»ΡΠ½ΠΎΠΉ ΠΌΠ°ΡΠΊΠΈ Π±ΡΠ»ΠΎ ΡΠ»ΡΡΡΠ΅Π½ΠΎ ΠΏΡΡΠ΅ΠΌ ΡΠ°Π·ΠΌΠ΅ΡΠ΅Π½ΠΈΡ ΠΎΡΠ²Π΅ΡΠΈΡΠ΅Π»Ρ Π½Π° Π΅Π³ΠΎ Π»ΠΈΡΠ΅Π²ΠΎΠΉ ΡΡΠΎΡΠΎΠ½Π΅ ΡΠ²Π΅ΡΡ Ρ, Π² ΡΠ΅Π·ΡΠ»ΡΡΠ°ΡΠ΅ ΠΏΠΎΠΏΠ°Π΄Π°ΡΡΠΈΠΉ ΡΠ²Π΅Ρ ΠΎΡΡΠ°ΠΆΠ°Π»ΡΡ ΠΎΡ ΠΏΠ΅ΡΠ΅Π΄Π°ΡΡΠ΅Π³ΠΎ Π·Π΅ΡΠΊΠ°Π»Π°, Π° Π·Π°ΡΠ΅ΠΌ ΠΎΡ Π²ΠΎΠ³Π½ΡΡΠΎΠ³ΠΎ ΡΡΠ΅ΠΊΠ»Π° Π² Π³Π»Π°Π· Π½Π°Π±Π»ΡΠ΄Π°ΡΠ΅Π»Ρ.
ΠΠΎΠ»Π»ΠΈΠΌΠ°ΡΠΎΡΠ½ΡΠΉ ΠΏΡΠΈΡΠ΅Π» ΠΡΠ°Π±Π±Π° ΡΡΠ°Π» ΠΏΡΠΈΠΌΠ΅Π½ΡΡΡΡΡ Π½Π° ΠΎΡ ΠΎΡΠ½ΠΈΡΡΠ΅ΠΌ ΠΎΡΡΠΆΠΈΠΈ ΠΈ Π·Π°Π²ΠΎΠ΅Π²Π°Π» ΠΏΠΎΠΏΡΠ»ΡΡΠ½ΠΎΡΡΡ. ΡΠ°ΠΊΠΆΠ΅ Π² 1901Π³.
Π’ΠΈΠΏΡ ΠΊΠΎΠ»ΠΈΠΌΠ°ΡΠΎΡΠ½ΡΡ ΠΏΡΠΈΡΠ΅Π»ΠΎΠ²
ΠΠ·Π½Π°ΡΠ°Π»ΡΠ½ΠΎ ΠΊΠΎΠ»Π»ΠΈΠΌΠ°ΡΠΎΡΠ½ΡΠ΅ ΠΏΡΠΈΡΠ΅Π»Ρ ΡΡΠ°Π»ΠΈ ΠΈΡΠΏΠΎΠ»ΡΠ·ΠΎΠ²Π°ΡΡ Π² Π°Π²ΠΈΠ°ΡΠΈΠΈ, ΠΏΡΠΈΠΌΠ΅Π½ΡΡ ΠΈΡ Π½Π° ΠΈΡΡΡΠ΅Π±ΠΈΡΠ΅Π»ΡΡ .
ΠΠΏΠ΅ΡΠ²ΡΠ΅ ΠΈΡ ΠΏΡΠΈΠΌΠ΅Π½ΠΈΠ»ΠΈ Π² 1918 Π³ΠΎΠ΄Ρ Π½Π° ΠΈΡΡΡΠ΅Π±ΠΈΡΠ΅Π»ΡΡ Albatros D.V ΠΈ Fokker Dr.1. ΠΡΠΈΡΠ΅Π»Ρ Π±ΡΠ»ΠΈ ΠΏΡΠΎΠΈΠ·Π²ΠΎΠ΄ΡΡΠ²Π° ΡΠΈΡΠΌΡ Optische Anstalt Oigee , ΠΈΠ·Π³ΠΎΡΠΎΠ²Π»Π΅Π½Π½ΡΠ΅ ΠΏΠΎ ΠΏΠ°ΡΠ΅Π½ΡΡ ΠΡΠ°Π±Π±Π°,
rooled.ru
ΠΠΎΠ»Π»ΠΈΠΌΠ°ΡΠΎΡ Π²ΠΎ Π²ΡΠ΅ΠΌΡ Π²ΡΠΎΡΠΎΠΉ ΠΌΠΈΡΠΎΠ²ΠΎΠΉ. ΠΠΎΠ»Π»ΠΈΠΌΠ°ΡΠΎΡΠ½ΡΠΉ ΠΏΡΠΈΡΠ΅Π»
Π£ΡΠ»ΠΎΠ²Π½ΠΎ ΠΏΡΠΈΡΠ΅Π»Ρ Π΄Π»Ρ ΠΎΡ ΠΎΡΡ ΠΌΠΎΠΆΠ½ΠΎ ΡΠ°Π·Π΄Π΅Π»ΠΈΡΡ Π½Π° Π΄Π²Π΅ ΠΊΠ°ΡΠ΅Π³ΠΎΡΠΈΠΈ: ΡΠΈΡΡΠΎ ΠΌΠ΅Ρ Π°Π½ΠΈΡΠ΅ΡΠΊΠΈΠ΅ ΡΡΡΡΠΎΠΉΡΡΠ²Π° ΠΈ ΠΏΡΠΈΡΠΏΠΎΡΠΎΠ±Π»Π΅Π½ΠΈΡ, ΠΎΡΠ½ΠΎΠ²Π°Π½Π½ΡΠ΅ Π½Π° ΡΡΡΠ΅ΠΊΡΠ°Ρ Π² ΠΎΠΏΡΠΈΡΠ΅ΡΠΊΠΎΠΌ ΡΡΠ΅ΠΊΠ»Π΅ — ΠΏΡΠΈΠ·ΠΌΠ°Ρ ΠΈ Π»ΠΈΠ½Π·Π°Ρ . Π ΠΏΠ΅ΡΠ²ΠΎΠΉ ΠΎΡΠ½ΠΎΡΡΡΡΡ ΠΎΡΠΊΡΡΡΡΠ΅ ΠΈ Π΄ΠΈΠΎΠΏΡΡΠΈΡΠ΅ΡΠΊΠΈΠ΅, ΠΊΠΎ Π²ΡΠΎΡΠΎΠΉ — ΠΊΠΎΠ»Π»ΠΈΠΌΠ°ΡΠΎΡΠ½ΡΠ΅ ΠΈ ΠΎΠΏΡΠΈΡΠ΅ΡΠΊΠΈΠ΅ ΠΏΡΠΈΡΠ΅Π»Ρ. ΠΠΎΡΠ»Π΅Π΄Π½ΠΈΠ΅ ΠΈΠ·-Π·Π° ΠΎΠ³ΡΠΎΠΌΠ½ΠΎΠ³ΠΎ Π²ΠΈΠ΄ΠΎΠ²ΠΎΠ³ΠΎ ΡΠ°Π·Π½ΠΎΠΎΠ±ΡΠ°Π·ΠΈΡ Π·Π°ΡΠ»ΡΠΆΠΈΠ²Π°ΡΡ ΠΎΡΠ΄Π΅Π»ΡΠ½ΠΎΠ³ΠΎ ΡΠ°ΡΡΠΌΠΎΡΡΠ΅Π½ΠΈΡ, ΡΠΎΠ»ΡΠΊΠΎ ΠΎΡΠ½ΠΎΠ²Π½ΡΡ ΡΠΈΠΏΠΎΠ² ΡΠ΅ΡΠΎΠΊ Π½Π°ΡΡΠΈΡΡΠ²Π°Π΅ΡΡΡ Π΄ΠΎΠ±ΡΡΠΉ Π΄Π΅ΡΡΡΠΎΠΊ.
ΠΠΎΠ»Π»ΠΈΠΌΠ°ΡΠΎΡΠ½ΡΠ΅ ΠΏΡΠΈΡΠ΅Π»Ρ, Π½Π΅ΡΠΌΠΎΡΡΡ Π½Π° Π΄ΠΎΡΡΠ°ΡΠΎΡΠ½ΡΡ ΡΠ»ΠΎΠΆΠ½ΠΎΡΡΡ ΡΡΠΈΡ ΠΏΡΠΈΠ±ΠΎΡΠΎΠ², Ρ ΠΎΡΠΊΡΡΡΡΠΌΠΈ ΠΏΡΠΈΡΠΏΠΎΡΠΎΠ±Π»Π΅Π½ΠΈΡΠΌΠΈ ΡΠΎΠ΄Π½ΠΈΡ ΠΎΠ±Π»Π°ΡΡΡ ΠΏΡΠΈΠΌΠ΅Π½Π΅Π½ΠΈΡ, ΠΎΡ Π²Π°ΡΡΠ²Π°ΡΡΠ°Ρ ΠΊΠΎΡΠΎΡΠΊΠΈΠ΅ Π΄ΠΈΡΡΠ°Π½ΡΠΈΠΈ ΡΡΡΠ΅Π»ΡΠ±Ρ, Π² ΡΠ°ΡΡΠ½ΠΎΡΡΠΈ, Π½Π° Π·Π°Π³ΠΎΠ½Π½ΡΡ ΠΎΡ ΠΎΡΠ°Ρ . ΠΠ΄Π΅ΡΡ ΡΠ°ΠΊΠΆΠ΅ Π½Π΅Ρ ΡΠ²Π΅Π»ΠΈΡΠ΅Π½ΠΈΡ ΠΈΠ·ΠΎΠ±ΡΠ°ΠΆΠ΅Π½ΠΈΡ, ΡΠ΅Π³ΡΠ»ΠΈΡΠΎΠ²ΠΊΠΈ Π΅Π³ΠΎ ΠΊΡΠ°ΡΠ½ΠΎΡΡΠΈ, Π΄ΠΈΠΎΠΏΡΡΠΈΡΠ΅ΡΠΊΠΎΠΉ ΠΏΠΎΠ΄ΡΡΡΠΎΠΉΠΊΠΈ ΠΏΠΎΠ΄ ΠΎΡΠΎΠ±Π΅Π½Π½ΠΎΡΡΠΈ Π·ΡΠ΅Π½ΠΈΡ, ΡΡΠΎ ΡΠ²ΠΎΠΉΡΡΠ²Π΅Π½Π½ΠΎ Π±ΠΎΠ»ΡΡΠΈΠ½ΡΡΠ²Ρ ΠΎΠΏΡΠΈΡΠ΅ΡΠΊΠΈΡ ΠΏΡΠΈΡΠ΅Π»ΠΎΠ². ΠΠΎ ΡΠΈΡΠΎΠΊΠΎΠ΅ ΠΏΠΎΠ»Π΅, ΠΎΡΡΡΡΡΡΠ²ΠΈΠ΅ ΠΏΠ°ΡΠ°Π»Π»Π°ΠΊΡΠ°, Π²ΠΎΠ·ΠΌΠΎΠΆΠ½ΠΎΡΡΡ ΠΌΠ΅Π½ΡΡΡ ΡΠ³ΠΎΠ» ΠΎΠ±Π·ΠΎΡΠ° Π΄Π΅Π»Π°ΡΡ ΠΈΡ ΠΎΡΠ»ΠΈΡΠ½ΡΠΌ Π²Π°ΡΠΈΠ°Π½ΡΠΎΠΌ Π΄Π»Ρ ΡΡΡΠ΅Π»ΡΠ±Ρ ΠΏΠΎ Π΄Π²ΠΈΠΆΡΡΠΈΠΌΡΡ ΡΠ΅Π»ΡΠΌ.
ΠΠΎΠ»Π»ΠΈΠΌΠ°ΡΠΎΡΡ Π΄Π΅Π»ΡΡΡΡ Π½Π° ΠΏΠ°ΡΡΠΈΠ²Π½ΡΠ΅, Π½Π΅ ΡΡΠ΅Π±ΡΡΡΠΈΠ΅ ΠΈΡΡΠΎΡΠ½ΠΈΠΊΠ° ΠΏΠΈΡΠ°Π½ΠΈΡ, ΠΈ Π°ΠΊΡΠΈΠ²Π½ΡΠ΅, Ρ ΠΊΠΎΡΠΎΡΡΡ ΠΏΡΠΈΡΠ΅Π»ΡΠ½Π°Ρ ΠΌΠ°ΡΠΊΠ° Π² Π²ΠΈΠ΄Π΅ ΡΡΠΊΠΎΠΉ ΡΠΎΡΠΊΠΈ Π΄ΠΎΠΏΠΎΠ»Π½ΠΈΡΠ΅Π»ΡΠ½ΠΎ ΠΏΠΎΠ΄ΡΠ²Π΅ΡΠΈΠ²Π°Π΅ΡΡΡ ΠΈ Π½Π΅ Π·Π°Π²ΠΈΡΠΈΡ ΠΎΡ ΡΡΠΎΠ²Π½Ρ Π²Π½Π΅ΡΠ½Π΅ΠΉ ΠΎΡΠ²Π΅ΡΠ΅Π½Π½ΠΎΡΡΠΈ. ΠΠ»Ρ ΠΏΡΠΈΡΠ΅Π»ΠΈΠ²Π°Π½ΠΈΡ Π΄ΠΎΡΡΠ°ΡΠΎΡΠ½ΠΎ ΡΠΎΠ²ΠΌΠ΅ΡΡΠΈΡΡ Π΅Π΅ Ρ ΠΌΠΈΡΠ΅Π½ΡΡ, ΠΏΡΠΈ ΡΡΠΎΠΌ ΡΠ³ΠΎΠ» Π·ΡΠ΅Π½ΠΈΡ ΡΠΎΠ²Π΅ΡΡΠ΅Π½Π½ΠΎ Π½Π΅ Π²Π°ΠΆΠ΅Π½, Π³Π»Π°Π²Π½ΠΎΠ΅ — Π½Π΅ ΡΠ΅ΡΡΡΡ ΠΈΠ· Π²ΠΈΠ΄Π° ΡΠ΅Π»Ρ.
ΠΡΠΈ ΡΠΌΠ΅ΡΠ΅Π½ΠΈΠΈ Π·ΡΠ°ΡΠΊΠ° ΠΏΡΠΈΡΠ΅Π»ΡΠ½Π°Ρ ΠΌΠ°ΡΠΊΠ° Π²ΠΈΠ·ΡΠ°Π»ΡΠ½ΠΎ ΡΠ°ΠΊΠΆΠ΅ ΡΠΌΠ΅ΡΠ°Π΅ΡΡΡ, Π² ΡΠ΅Π°Π»ΡΠ½ΠΎΡΡΠΈ ΠΎΡΡΠ°Π²Π°ΡΡΡ Π½Π° ΡΠΎΡΠΊΠ΅ ΠΏΡΠΈΡΠ΅Π»ΠΈΠ²Π°Π½ΠΈΡ. Π§ΡΠΎ Π΄Π΅Π»Π°Π΅Ρ Π²ΡΡΡΡΠ΅Π» ΡΠΎΡΠ½ΡΠΌ Π΄Π°ΠΆΠ΅ ΠΏΡΠΈ Π²Π½Π΅Π·Π°ΠΏΠ½ΠΎΠΌ ΠΏΠΎΡΠ²Π»Π΅Π½ΠΈΠΈ ΠΆΠΈΠ²ΠΎΡΠ½ΠΎΠ³ΠΎ ΠΈ ΡΡΡΠ΅Π»ΡΠ±Π΅ Π½Π°Π²ΡΠΊΠΈΠ΄ΠΊΡ Π±Π΅Π· ΠΊΠΎΡΡΠ΅ΠΊΡΠ½ΠΎΠΉ Π²ΠΊΠ»Π°Π΄ΠΊΠΈ.
ΠΠΎΠ»Π»ΠΈΠΌΠ°ΡΠΎΡΡ Π±ΡΠ²Π°ΡΡ ΠΎΡΠΊΡΡΡΠΎΠ³ΠΎ ΠΈ Π·Π°ΠΊΡΡΡΠΎΠ³ΠΎ ΡΠΈΠΏΠΎΠ². Π£ ΠΎΡΠΊΡΡΡΠΎΠ³ΠΎ ΡΠΎΠ»ΡΠΊΠΎ ΠΎΠ΄Π½Π° Π»ΠΈΠ½Π·Π°, Π° ΠΈΡΡΠΎΡΠ½ΠΈΠΊ ΡΠ²Π΅ΡΠ° ΡΠ°ΡΠΏΠΎΠ»ΠΎΠΆΠ΅Π½ Π² ΠΎΡΠ½ΠΎΠ²Π°Π½ΠΈΠΈ.
ΠΡ Ρ Π°ΡΠ°ΠΊΡΠ΅ΡΠΈΠ·ΡΠ΅Ρ ΠΎΡΠ»ΠΈΡΠ½ΡΠΉ ΠΎΠ±Π·ΠΎΡ, ΠΌΠ°Π»ΡΠ΅ Π²Π΅Ρ ΠΈ Π³Π°Π±Π°ΡΠΈΡΡ, Π½Π΅ Π½Π°ΡΡΡΠ°ΡΡΠΈΠ΅ ΡΠ°Π·Π²Π΅ΡΠΎΠ²ΠΊΠΈ ΠΎΡΡΠΆΠΈΡ.
ΠΡΠΎΠ±ΠΎΠΉ ΡΠ°Π·Π½ΠΎΠ²ΠΈΠ΄Π½ΠΎΡΡΡΡ ΠΎΡΠΊΡΡΡΡΡ ΠΊΠΎΠ»Π»ΠΈΠΌΠ°ΡΠΎΡΠΎΠ² ΡΠ²Π»ΡΡΡΡΡ Π³ΠΎΠ»ΠΎΠ³ΡΠ°ΡΠΈΡΠ΅ΡΠΊΠΈΠ΅ ΠΏΡΠΈΡΠ΅Π»Ρ, Π² ΠΊΠΎΡΠΎΡΡΡ Π² ΡΠΎΠ»ΠΈ ΠΌΠ°ΡΠΊΠΈ Π²ΡΡΡΡΠΏΠ°Π΅Ρ Π³ΠΎΠ»ΠΎΠ³ΡΠ°ΠΌΠΌΠ°, ΡΠ°ΡΠΏΠΎΠ»ΠΎΠΆΠ΅Π½Π½Π°Ρ Π½Π° ΡΠΏΠ΅ΡΠΈΠ°Π»ΡΠ½ΠΎΠΌ ΠΎΡΡΠ°ΠΆΠ°ΡΠ΅Π»Π΅.
ΠΡΠΈ Π±ΠΎΠ»Π΅Π΅ Π²ΡΡΠΎΠΊΠΎΠΉ ΡΠΎΡΠ½ΠΎΡΡΠΈ Π΄Π°Π½Π½ΡΡ ΡΡΡΡΠΎΠΉΡΡΠ² ΠΎΠ½ΠΈ ΠΏΠΎΠ΄Π²Π΅ΡΠΆΠ΅Π½Ρ ΡΠ²ΠΎΠ΅ΠΎΠ±ΡΠ°Π·Π½ΠΎΠΉ Β«Π·Π°ΡΠ²Π΅ΡΠΊΠ΅Β» ΠΈΠ·ΠΎΠ±ΡΠ°ΠΆΠ΅Π½ΠΈΡ ΠΎΡ ΡΡΠΊΠΈΡ ΠΈΡΡΠΎΡΠ½ΠΈΠΊΠΎΠ² ΠΎΡΠ²Π΅ΡΠ΅Π½ΠΈΡ. Π ΡΠΎΠΌΡ ΠΆΠ΅ ΡΡΠΎΡΡ ΠΈΠ·ΡΡΠ΄Π½ΠΎ Π±ΠΎΠ»ΡΡΠ΅ ΡΠΎΠ±ΡΠ°ΡΡΠ΅Π².
Π Π·Π°ΠΊΡΡΡΠΎΠΌ ΠΊΠΎΠ»Π»ΠΈΠΌΠ°ΡΠΎΡΠ΅ ΡΠΎΡΠΌΠΈΡΡΡΡΠΈΠΉ ΠΌΠ΅ΡΠΊΡ ΠΈΡΡΠΎΡΠ½ΠΈΠΊ ΡΠ²Π΅ΡΠ° Π½Π°Ρ ΠΎΠ΄ΠΈΡΡΡ Π² Π³Π΅ΡΠΌΠ΅ΡΠΈΡΠ½ΠΎΠΌ ΠΊΠΎΡΠΏΡΡΠ΅ ΠΈ, ΠΊΡΠΎΠΌΠ΅ ΠΏΠ΅ΡΠ΅Π΄Π½Π΅ΠΉ Π»ΠΈΠ½Π·Ρ, ΠΈΠΌΠ΅Π΅ΡΡΡ Π΅ΡΠ΅ ΠΈ ΠΎΠΊΡΠ»ΡΡ.
Π‘ΡΠ΅Π΄ΠΈ ΠΎΡΠ½ΠΎΠ²Π½ΡΡ Π΄ΠΎΡΡΠΎΠΈΠ½ΡΡΠ² — ΡΠΏΠΎΡΠΎΠ±Π½ΠΎΡΡΡ ΠΏΡΠΎΡΠΈΠ²ΠΎΡΡΠΎΡΡΡ Π²ΠΎΠ·Π΄Π΅ΠΉΡΡΠ²ΠΈΡ ΠΎΠΊΡΡΠΆΠ°ΡΡΠ΅ΠΉ ΡΡΠ΅Π΄Ρ. ΠΠΎΡΠΎΠ³ΠΈΠ΅ ΠΏΡΠΈΠ±ΠΎΡΡ ΠΈΠ·Π²Π΅ΡΡΠ½ΡΡ ΠΏΡΠΎΠΈΠ·Π²ΠΎΠ΄ΠΈΡΠ΅Π»Π΅ΠΉ ΠΈΠ·Π½Π°ΡΠ°Π»ΡΠ½ΠΎ ΠΏΡΠ΅Π΄Π½Π°Π·Π½Π°ΡΠ΅Π½Ρ Π΄Π»Ρ ΡΡΡΠΎΠ²ΡΡ ΡΡΠ»ΠΎΠ²ΠΈΠΉ ΡΠΊΡΠΏΠ»ΡΠ°ΡΠ°ΡΠΈΠΈ.
ΠΠ·ΠΎΠ±ΡΠ°ΠΆΠ΅Π½ΠΈΠ΅ Ρ Π²ΡΠ΅Ρ ΡΡΠ΅Ρ ΡΠΈΠΏΠΎΠ² ΠΊΠΎΠ»Π»ΠΈΠΌΠ°ΡΠΎΡΠΎΠ² ΡΠ°ΠΊΠΆΠ΅ ΡΠΎΡΠΌΠΈΡΡΠ΅ΡΡΡ ΠΏΠΎ-ΡΠ°Π·Π½ΠΎΠΌΡ.
Π ΠΏΠΎΡΠ»Π΅Π΄Π½ΠΈΠ΅ Π³ΠΎΠ΄Ρ Π²ΠΎΠ·ΠΌΠΎΠΆΠ½ΠΎΡΡΠΈ ΠΊΠΎΠ»Π»ΠΈΠΌΠ°ΡΠΎΡΠ½ΡΡ ΠΏΡΠΈΡΠ΅Π»ΠΎΠ² Π΅ΡΠ΅ Π±ΠΎΠ»ΡΡΠ΅ ΡΠ°ΡΡΠΈΡΠΈΠ»ΠΈΡΡ. Π’Π°ΠΊ, ΠΏΠΎΡΠ²ΠΈΠ»ΠΈΡΡ ΠΏΡΠΈΠ±ΠΎΡΡ Ρ ΠΏΠ΅ΡΠ΅ΠΌΠ΅Π½Π½ΠΎΠΉ ΠΊΡΠ°ΡΠ½ΠΎΡΡΡΡ ΡΠ²Π΅Π»ΠΈΡΠ΅Π½ΠΈΡ, ΠΊΠ°ΠΊ ΠΏΡΠ°Π²ΠΈΠ»ΠΎ, 1-4Ρ . Π Π±Π°Π·ΠΎΠ²ΠΎΠΌ ΡΠ΅ΠΆΠΈΠΌΠ΅ ΠΎΠ½ΠΈ Π²ΡΡΡΡΠΏΠ°ΡΡ Π² ΡΠ²ΠΎΠ΅ΠΉ ΠΎΠ±ΡΡΠ½ΠΎΠΉ ΡΠΎΠ»ΠΈ, ΠΏΡΠΈ ΠΈΠ·ΠΌΠ΅Π½Π΅Π½ΠΈΠΈ ΠΊΡΠ°ΡΠ½ΠΎΡΡΠΈ ΠΏΡΠ΅Π²ΡΠ°ΡΠ°ΡΡΡΡ Π² ΠΎΠΏΡΠΈΡΠ΅ΡΠΊΠΈΠΉ ΠΏΡΠΈΡΠ΅Π»-Π·Π°Π³ΠΎΠ½Π½ΠΈΠΊ. ΠΠ΅ΠΊΠΎΡΠΎΡΡΠ΅ ΠΌΠΎΠ΄Π΅Π»ΠΈ ΠΌΠΎΠ³ΡΡ ΡΠ°Π±ΠΎΡΠ°ΡΡ Ρ Π½ΠΎΡΠ½ΡΠΌΠΈ ΠΌΠΎΠ½ΠΎΠΊΡΠ»ΡΡΠ°ΠΌΠΈ, ΡΡΠΎ ΠΏΡΠΈΠ±Π»ΠΈΠΆΠ°Π΅Ρ ΠΈΡ Π²ΠΎΠ·ΠΌΠΎΠΆΠ½ΠΎΡΡΠΈ ΠΊ Π·Π½Π°ΡΠΈΡΠ΅Π»ΡΠ½ΠΎ Π±ΠΎΠ»Π΅Π΅ Π΄ΠΎΡΠΎΠ³ΠΈΠΌ ΠΠΠ.
ΠΠΌΡ ΡΠΆΠ΅ Π½Π΅ ΠΎΠ΄Π½Π° ΡΠΎΡΠ½Ρ Π»Π΅Ρ, Π½ΠΎ ΠΎΠΊΠΎΠ½ΡΠ°ΡΠ΅Π»ΡΠ½ΠΎ ΡΠ²ΠΎΠΈ ΠΏΠΎΠ·ΠΈΡΠΈΠΈ ΠΊΠΎΠΌΠ±ΠΈΠ½Π°ΡΠΈΡ ΠΈΠ· ΡΠ΅Π»ΠΈΠΊΠ° ΠΈ ΠΌΡΡΠΊΠΈ ΡΠ΄Π°Π²Π°ΡΡ Π½Π΅ ΡΠΎΠ±ΠΈΡΠ°Π΅ΡΡΡ. Π ΡΠ°ΠΌΠΎΠΌ ΠΏΡΠΎΡΡΠΎΠΌ Π²Π°ΡΠΈΠ°Π½ΡΠ΅ ΡΠ΅Π»ΠΈΠΊ Π½Π΅ΠΏΠΎΠ΄Π²ΠΈΠΆΠ΅Π½, Π΄Π° ΠΈ ΠΌΡΡΠΊΠ° Π½Π΅ ΠΏΠΎΠ΄Π΄Π°Π΅ΡΡΡ ΡΠ΅Π³ΡΠ»ΠΈΡΠΎΠ²ΠΊΠ΅. Π ΠΎΡΠ½ΠΎΠ²Π½ΠΎΠΌ ΠΏΠΎΠ΄ΠΎΠ±Π½ΡΠ΅ ΡΡΡΡΠΎΠΉΡΡΠ²Π° ΡΠΎΡ ΡΠ°Π½ΠΈΠ»ΠΈΡΡ Π½Π° Π³Π»Π°Π΄ΠΎΠΊΠΎΡΡΠ²ΠΎΠ»ΡΠ½ΠΎΠΌ ΠΎΡΡΠΆΠΈΠΈ ΠΈ Π²ΠΏΠΎΠ»Π½Π΅ ΡΡΠΏΠ΅ΡΠ½ΠΎ ΠΏΡΠΈΠΌΠ΅Π½ΡΡΡΡΡ Π΄Π»Ρ ΡΡΡΠ΅Π»ΡΠ±Ρ Π½Π° ΠΊΠΎΡΠΎΡΠΊΠΈΠ΅ Π΄ΠΈΡΡΠ°Π½ΡΠΈΠΈ. Π Π°ΠΌΠΎΡΠ½ΡΠ΅ ΠΏΡΠΈΡΠ΅Π»Ρ ΠΊΠ°ΠΊ Π±ΠΎΠ»Π΅Π΅ ΠΏΡΠΎΠ΄Π²ΠΈΠ½ΡΡΠ°Ρ Π²Π΅ΡΡΠΈΡ ΠΏΠΎΠ·Π²ΠΎΠ»ΡΡΡ ΡΡΡΠΏΠ΅Π½ΡΠ°ΡΠΎ ΠΈΠ»ΠΈ ΠΏΠ»Π°Π²Π½ΠΎ ΡΠ΅Π³ΡΠ»ΠΈΡΠΎΠ²Π°ΡΡ ΡΠ³ΠΎΠ» ΠΏΡΠΈΡΠ΅Π»ΠΈΠ²Π°Π½ΠΈΡ Π΄Π»Ρ Π΄Π°Π»ΡΠ½ΠΈΡ Π΄ΠΈΡΡΠ°Π½ΡΠΈΠΉ, ΠΊΠΎΡΠΎΡΡΠ΅ ΡΠ°Π·Π±ΠΈΡΡ Π½Π° ΡΠ΅ΠΊΡΠΎΡΠ° Π² ΡΠΎΡΠ½ΡΡ ΠΌΠ΅ΡΡΠΎΠ².
1. ΠΠΎΠ»ΠΎΠ΄ΠΊΠ° ΠΏΡΠΈΡΠ΅Π»Π°. 2. Π‘Π΅ΠΊΡΠΎΡ. 3. ΠΡΠΈΡΠ΅Π»ΡΠ½Π°Ρ ΠΏΠ»Π°Π½ΠΊΠ°
ΠΠΎ ΠΏΠΎΠ½ΡΡΠ½ΡΠΌ ΠΏΡΠΈΡΠΈΠ½Π°ΠΌ ΡΠ΅ΠΊΡΠΎΡΠ½ΡΠ΅ ΠΏΡΠΈΡΠ΅Π»Ρ Π½Π°ΡΠ»ΠΈ ΠΎΡΠ½ΠΎΠ²Π½ΠΎΠ΅ ΠΏΡΠΈΠΌΠ΅Π½Π΅Π½ΠΈΠ΅ Π½Π° Π½Π°ΡΠ΅Π·Π½ΠΎΠΌ ΠΎΡΡΠΆΠΈΠΈ, Π² ΡΠΎΠΌ ΡΠΈΡΠ»Π΅ Π°ΡΠΌΠ΅ΠΉΡΠΊΠΈΡ ΠΎΠ±ΡΠ°Π·ΡΠ°Ρ .
Π‘Π°ΠΌΠ° ΡΠ΅Ρ Π½ΠΎΠ»ΠΎΠ³ΠΈΡ ΠΏΡΠΈΡΠ΅Π»ΠΈΠ²Π°Π½ΠΈΡ ΠΏΡΠ΅Π΄Π΅Π»ΡΠ½ΠΎ ΠΏΡΠΎΡΡΠ° ΠΈ ΠΈΠ½ΡΡΠΈΡΠΈΠ²Π½ΠΎ ΠΏΠΎΠ½ΡΡΠ½Π°, ΠΎΠ΄Π½Π°ΠΊΠΎ ΠΏΠΎΠ΄ΡΠ°Π·ΡΠΌΠ΅Π²Π°Π΅Ρ ΠΆΠ΅ΡΡΠΊΠΈΠ΅ ΡΡΠ΅Π±ΠΎΠ²Π°Π½ΠΈΡ ΠΊ ΡΠΎΡΡΠΎΡΠ½ΠΈΡ Π·ΡΠ΅Π½ΠΈΡ ΠΈ Π²ΠΎΠΎΠ±ΡΠ΅ ΠΊ Β«ΡΠΈΠ·ΠΈΠΊΠ΅Β» ΠΎΡ ΠΎΡΠ½ΠΈΠΊΠ°: ΠΎΠ΄Π½ΠΎ Π΄Π΅Π»ΠΎ ΡΠ΄Π΅ΡΠΆΠ°ΡΡ Π½Π° ΡΠ΅Π»ΠΈ ΠΎΠΏΡΠΈΡΠ΅ΡΠΊΡΡ ΠΌΠ°ΡΠΊΡ ΠΈ ΡΠΎΠ²ΡΠ΅ΠΌ Π΄ΡΡΠ³ΠΎΠ΅ — ΡΠ΄Π΅ΡΠΆΠΈΠ²Π°ΡΡ Π½Π° ΡΠΎΡΠΊΠ΅ ΠΏΡΠΈΡΠ΅Π»ΠΈΠ²Π°Π½ΠΈΡ ΡΠ°ΡΠΏΠΎΠ»ΠΎΠΆΠ΅Π½Π½ΡΡ ΡΡΡΠΎΠ³ΠΎ ΠΏΠΎ ΡΠ΅Π½ΡΡΡ ΠΏΡΠΎΡΠ΅Π·ΠΈ ΡΠ΅Π»ΠΈΠΊΠ° ΠΌΡΡΠΊΡ.
ΠΠ° ΡΠΈΡΡΠ½ΠΊΠ΅ ΠΈΠ·ΠΎΠ±ΡΠ°ΠΆΠ΅Π½ ΡΠΏΠΎΡΠΎΠ± ΠΏΡΠΈΡΠ΅Π»ΠΈΠ²Π°Π½ΠΈΡ Β«Π² ΡΠ±Π»ΠΎΡΠΊΠΎΒ» ΠΌΠΈΡΠ΅Π½ΠΈ, ΡΡΡΠ΅ΡΡΠ²ΡΠ΅Ρ Π΅ΡΠ΅ ΠΈ Π²Π°ΡΠΈΠ°Π½Ρ Β«ΠΏΠΎΠ΄ ΡΠ±Π»ΠΎΡΠΊΠΎΒ», Π½ΠΎ ΠΏΡΠΈΠΌΠ΅Π½ΡΠ΅ΡΡΡ ΠΎΠ½ Π² ΠΎΡΠ½ΠΎΠ²Π½ΠΎΠΌ Π΄Π»Ρ ΠΏΠΈΡΡΠΎΠ»Π΅ΡΠΎΠ² ΠΈ Π΅Π³ΠΎ ΠΎΡΠΎΠ±Π΅Π½Π½ΠΎΡΡΠΈ ΠΎΠ±ΡΡΠ»ΠΎΠ²Π»Π΅Π½Ρ ΡΠΈΡΡΠΎ Π²ΠΎΠ΅Π½Π½ΡΠΌ ΠΏΡΠΈΠΌΠ΅Π½Π΅Π½ΠΈΠ΅ΠΌ Π»ΠΈΡΠ½ΠΎΠ³ΠΎ ΠΎΡΡΠΆΠΈΡ.
ΠΠ°ΠΊΡΠΈΠΌΠ°Π»ΡΠ½ΠΎ ΡΠΏΡΠΎΡΠ΅Π½Π½ΠΎΠΉ Π²Π΅ΡΡΠΈΠ΅ΠΉ ΠΎΡΠΊΡΡΡΡΡ ΠΏΡΠΈΡΠΏΠΎΡΠΎΠ±Π»Π΅Π½ΠΈΠΉ ΡΠ²Π»ΡΠ΅ΡΡΡ ΠΏΡΠΈΡΠ΅Π»ΡΠ½Π°Ρ ΠΏΠ»Π°Π½ΠΊΠ°. ΠΠ°ΠΈΠ±ΠΎΠ»Π΅Π΅ ΠΏΠΎΠΏΡΠ»ΡΡΠ½Π° ΠΎΠ½Π° Π½Π° Π΄ΡΠΎΠ±ΠΎΠ²ΠΈΠΊΠ°Ρ , ΠΏΡΠ΅Π΄Π½Π°Π·Π½Π°ΡΠ΅Π½Π½ΡΡ Π² ΠΎΡΠ½ΠΎΠ²Π½ΠΎΠΌ Π΄Π»Ρ ΡΡΡΠ΅Π»ΡΠ±Ρ Π²Π»Π΅Ρ, ΠΊΠΎΠ³Π΄Π° ΠΏΠΎΡΡΠΈ Π½Π΅Π²ΠΎΠ·ΠΌΠΎΠΆΠ½ΠΎ ΡΠ²Π΅ΡΠ΅Π½Π½ΠΎ ΡΠΎΠ²ΠΌΠ΅ΡΡΠΈΡΡ ΠΌΡΡΠΊΡ Ρ ΠΏΡΠΎΡΠ΅Π·ΡΡ ΠΏΡΠΈΡΠ΅Π»Π°. Π Π΄Π°Π½Π½ΠΎΠΌ ΠΆΠ΅ ΡΠ»ΡΡΠ°Π΅ ΡΠ°ΠΌΠ° ΠΏΠ»ΠΎΡΠΊΠΎΡΡΡ ΠΏΠ»Π°Π½ΠΊΠΈ Π·Π°Π΄Π°Π΅Ρ Π»ΠΈΠ½ΠΈΡ ΠΏΡΠΈΡΠ΅Π»ΠΈΠ²Π°Π½ΠΈΡ ΠΈ ΠΏΠΎΠ·Π²ΠΎΠ»ΡΠ΅Ρ ΡΠ²Π΅ΡΠ΅Π½Π½ΠΎ ΡΠ°Π±ΠΎΡΠ°ΡΡ Ρ Π²ΡΠ±ΠΎΡΠΎΠΌ ΡΠΏΡΠ΅ΠΆΠ΄Π΅Π½ΠΈΡ.
Π ΠΎΡΠ½ΠΎΠ²Π½ΠΎΠΌ Π²ΡΡΡΠ΅ΡΠ°ΡΡΡΡ ΠΌΠΎΠ½ΠΎΠ»ΠΈΡΠ½ΡΠ΅ ΠΈ Π²Π΅Π½ΡΠΈΠ»ΠΈΡΡΠ΅ΠΌΡΠ΅ ΠΏΡΠΈΡΠ΅Π»ΡΠ½ΡΠ΅ ΠΏΠ»Π°Π½ΠΊΠΈ. ΠΠΎΡΠ»Π΅Π΄Π½ΠΈΠ΅ ΡΠ²Π»ΡΡΡΡΡ, ΡΠΊΠΎΡΠ΅Π΅, Π΄Π°Π½ΡΡ ΠΌΠΎΠ΄Π΅, ΠΏΠΎΡΠΊΠΎΠ»ΡΠΊΡ ΠΎΠ±Π΅ΡΠΏΠ΅ΡΠΈΠ²Π°ΡΡ ΠΎΡΡΠΆΠΈΡ Π±ΠΎΠ»Π΅Π΅ ΠΏΡΠΈΠ²Π»Π΅ΠΊΠ°ΡΠ΅Π»ΡΠ½ΡΠΉ Π²ΠΈΠ΄.
ΠΡΡΡΡΠΎΠ΅ ΠΎΡ Π»Π°ΠΆΠ΄Π΅Π½ΠΈΠ΅ Π½Π΅ΠΎΠ±Ρ ΠΎΠ΄ΠΈΠΌΠΎ, ΠΊΠΎΠ³Π΄Π° ΠΏΡΠΈΡ ΠΎΠ΄ΠΈΡΡΡ Π΄Π΅Π»Π°ΡΡ ΠΏΠΎΠ΄ΡΡΠ΄ ΠΌΠ½ΠΎΠΆΠ΅ΡΡΠ²ΠΎ Π²ΡΡΡΡΠ΅Π»ΠΎΠ², ΡΠΊΠ°ΠΆΠ΅ΠΌ, Π΄Π»Ρ ΡΡΠ΅Π½Π΄ΠΎΠ²ΠΎΠΉ ΡΡΡΠ΅Π»ΡΠ±Ρ. Π ΠΎΡ ΠΎΡΠ½ΠΈΡΡΠ΅ΠΉ ΠΏΡΠ°ΠΊΡΠΈΠΊΠ΅ ΠΊΡΠ°ΡΠΈΠ²ΡΠ΅ ΡΠΈΠ³ΡΡΠ½ΡΠ΅ ΠΏΡΠΎΡΠ΅Π·ΠΈ ΡΠ»ΡΠΆΠ°Ρ ΡΠΎΠ»ΡΠΊΠΎ Π΄ΠΎΠΏΠΎΠ»Π½ΠΈΡΠ΅Π»ΡΠ½ΡΠΌ Π³ΡΡΠ·Π΅ΡΠ±ΠΎΡΡΠΈΠΊΠΎΠΌ, ΠΊΠΎΡΠΎΡΡΡ Π½Π° ΠΎΡΡΠΆΠΈΠΈ ΠΈ Π±Π΅Π· ΡΠΎΠ³ΠΎ Ρ Π²Π°ΡΠ°Π΅Ρ. Π‘Π°ΠΌΠΈ ΠΏΠ»Π°Π½ΠΊΠΈ Π±ΡΠ²Π°ΡΡ ΠΏΠ»ΠΎΡΠΊΠΈΠ΅ ΠΈ Ρ ΠΆΠ΅Π»ΠΎΠ±ΠΊΠΎΠΌ, ΡΠ·ΠΊΠΈΠ΅ ΠΈ ΡΠΈΡΠΎΠΊΠΈΠ΅ (Π² ΠΎΡΠ½ΠΎΠ²Π½ΠΎΠΌ Π½Π° ΡΠΏΠΎΡΡΠΈΠ²Π½ΡΡ ΡΡΠΆΡΡΡ ).
ΠΠ»Π°ΡΡΠΈΡΠ΅ΡΠΊΠ°Ρ ΠΌΡΡΠΊΠ° Ρ ΠΎΡΠΊΡΡΡΡΡ ΠΏΡΠΈΡΠ΅Π»ΡΠ½ΡΡ ΠΏΡΠΈΡΠΏΠΎΡΠΎΠ±Π»Π΅Π½ΠΈΠΉ Π² ΠΏΠΎΡΠ»Π΅Π΄Π½ΠΈΠ΅ Π³ΠΎΠ΄Ρ Π½Π΅ΡΠ΅Π΄ΠΊΠΎ Π·Π°ΠΌΠ΅Π½ΡΠ΅ΡΡΡ ΠΎΠΏΡΠΎΠ²ΠΎΠ»ΠΎΠΊΠΎΠ½Π½ΡΠΌ ΠΊΠΎΠ½ΡΡΡΡΠΊΡΠΈΡΠΌΠΈ. ΠΡ ΡΠ²Π΅ΡΠΎΡΠΎΠ±ΠΈΡΠ°ΡΡΠΈΠ΅ ΡΠ²ΠΎΠΉΡΡΠ²Π° ΠΏΠΎΠ·Π²ΠΎΠ»ΡΡΡ ΡΡΡΠ΅Π»ΠΊΡ ΠΌΠ°ΠΊΡΠΈΠΌΠ°Π»ΡΠ½ΠΎ Π±ΡΡΡΡΠΎ ΠΊΠΎΠ½ΡΠ΅Π½ΡΡΠΈΡΠΎΠ²Π°ΡΡ Π²Π½ΠΈΠΌΠ°Π½ΠΈΠ΅, ΠΊ ΡΠΎΠΌΡ ΠΆΠ΅ ΠΎΠ½ΠΈ Π²ΡΡΠΎΠΊΠΎΠΊΠΎΠ½ΡΡΠ°ΡΡΠ½Ρ ΠΈ Π΄Π°ΡΡ Π΄ΠΎΠΏΠΎΠ»Π½ΠΈΡΠ΅Π»ΡΠ½ΡΠ΅ ΠΏΠ»ΡΡΡ Π² ΡΡΠ»ΠΎΠ²ΠΈΡΡ Π½ΠΈΠ·ΠΊΠΎΠΉ ΠΎΡΠ²Π΅ΡΠ΅Π½Π½ΠΎΡΡΠΈ.
ΠΠ»Π°Π²Π½ΡΠΉ Π½Π΅Π΄ΠΎΡΡΠ°ΡΠΎΠΊ — Π½Π΅Π²ΡΡΠΎΠΊΠ°Ρ ΠΌΠ΅Ρ Π°Π½ΠΈΡΠ΅ΡΠΊΠ°Ρ ΠΏΡΠΎΡΠ½ΠΎΡΡΡ, Π° Ρ ΡΡΠΆΠ΅ΠΉ, ΠΈΠ·Π½Π°ΡΠ°Π»ΡΠ½ΠΎ Π΄Π»Ρ Π½ΠΈΡ Π½Π΅ ΠΏΡΠ΅Π΄Π½Π°Π·Π½Π°ΡΠ΅Π½Π½ΡΡ , Π΅ΡΠ΅ ΠΈ Π½
rooled.ru
ΠΠ³ΡΡ / ΠΊΠ°ΡΡΠΈΠ½ΠΊΠΈ, Π³ΠΈΡΠΊΠΈ, ΠΏΡΠΈΠΊΠΎΠ»ΡΠ½ΡΠ΅ ΠΊΠΎΠΌΠΈΠΊΡΡ, ΠΈΠ½ΡΠ΅ΡΠ΅ΡΠ½ΡΠ΅ ΡΡΠ°ΡΡΠΈ ΠΏΠΎ ΡΠ΅ΠΌΠ΅.
ΠΡΠ°ΠΊ Π΄ΠΎΡΠΎΠ³ΠΈΠ΅ Π΄ΡΡΠ·ΡΡ, Π΄Π°Π²Π°ΠΉΡΠ΅ ΠΏΠΎΠ³ΠΎΠ²ΠΎΡΠΈΠΌ ΠΎ… Π½Π°ΡΠΈΠ·ΠΌΠ΅? ΠΠ΅Ρ! ΠΡΠ²Π΅ΡΡ Ρ Π²Π°ΠΌ. ΠΠ΅ ΠΎ Π½Π°ΡΠΈΠ·ΠΌΠ΅, Π° ΠΎ ΠΠΈΡΠ»Π΅ΡΠ΅, ΠΈ ΡΠΎ ΡΠ΅Π³ΠΎ ΠΎΠ½ Π½Π΅Π½Π°Π²ΠΈΠ΄Π΅Π» ΠΈ ΡΠ΅Π³ΠΎ Π΄ΠΎΠ±ΠΈΠ²Π°Π»ΡΡ. ΠΠ»Ρ ΡΠ΅Ρ ΠΊΡΠΎ ΠΏΠ»ΠΎΡ ΠΎ Π·Π½Π°Π΅Ρ ΡΠ°ΡΡΠΊΠ°ΠΆΡ Π²Π°ΠΌ ΠΏΡΠΈΡΠΈΠ½Ρ Π½Π°ΡΠ°Π»Π° Π²ΡΠΎΡΠΎΠΉ ΠΌΠΈΡΠΎΠ²ΠΎΠΉ Π²ΠΎΠΉΠ½Ρ. ΠΠ°ΠΊ Π»ΡΠ±ΠΎΠΉ ΠΈΠ· Π½Π°Ρ ΠΆΠΈΠ²ΡΡΠΈΠΉ Π² ΡΠΎΡΡΠΈΠΈ ΠΈΠΌΠ΅Π΅Ρ Π² ΡΠ²ΠΎΠ΅ΠΉ ΡΡΡΠ°Π½Π΅ ΠΏΡΠΈΠ΅Π·ΠΆΠΈΡ , Π³Π°ΡΡΠΎΡΠ±Π°ΠΉΡΠ΅ΡΠΎΠ², Π»ΡΠ΄Π΅ΠΉ ΠΊΠΎΡΠΎΡΡΠ΅ ΡΠ°Π·ΠΌΠ΅ΡΠΈΠ²Π°ΡΡ ΡΠΈΡΡΡΡ Π½Π°ΡΠΈΡ ΡΠ²ΠΎΠΈΠΌ ΠΏΡΠΈΡΡΡΡΡΠ²ΠΈΠ΅ΠΌ, Π² Π½Π°ΡΠ΅ΠΉ ΡΡΡΠ°Π½Π΅ — ΡΡΠΎ Ρ Π°ΡΠΈ. Π ΠΈΡΠ°Π»ΠΈΠΈ — ΡΡΠΎ Π°ΡΠ°Π±Ρ, Π² Π°ΠΌΠ΅ΡΠΈΠΊΠ΅ — ΡΡΠΎ ΠΌΠ΅ΠΊΡΠΈΠΊΠ°Π½ΡΡ, Π² Π²Π΅Π»ΠΈΠΊΠΎΠ±ΡΠΈΡΠ°Π½ΠΈΠΈ — ΡΡΠΎ ΠΏΡΠΎΡΠΈΠ΅ ΠΌΡΡΡΠ»ΡΠΌΠ°Π½ΠΈ. ΠΠΎΠ³Π΄Π° ΠΠΈΡΠ»Π΅Ρ ΡΠΎΡ, ΠΎΠ½ Ρ ΠΎΡΠ΅Π» ΠΏΠΎΡΡΡΠΏΠΈΡΡ Π² Ρ ΡΠ΄ΠΎΠΆΠ΅ΡΡΠ²Π΅Π½Π½ΡΡ Π°ΠΊΠ°Π΄Π΅ΠΌΠΈΡ, Π΅Π³ΠΎ ΡΡΠ΄Π° Π½Π΅ Π²Π·ΡΠ»ΠΈ ΠΏΠΎΡΠΎΠΌΡ ΡΡΠΎ ΡΡΠΊΠΎΠ²ΠΎΠ΄ΡΡΠ²ΠΎ Π±ΡΠ»ΠΎ ΠΈΠ·.. ΠΊΠΎΠ³ΠΎ? Π²Π΅ΡΠ½ΠΎ.. Π΅Π²ΡΠ΅Π΅Π². ΠΠ° ΠΏΠ΅ΡΠ²ΠΎΠΉ ΠΌΠΈΡΠΎΠ²ΠΎΠΉ Π²ΠΎΠΉΠ½Π΅, Π² ΠΊΠΎΡΠΎΡΠΎΠΉ ΠΎΠ½ ΡΡΠ°ΡΡΠ²ΠΎΠ²Π°Π», Π΅Π³ΠΎ ΠΊΠΎΠΌΠ°Π½Π΄ΠΈΡΠΎΠΌ Π±ΡΠ» ΡΠΎ ΠΆΠ΅ Π΅Π²ΡΠ΅ΠΉ, Π΄Π° ΠΆΠ΅ Π²ΡΠ°Ρ ΠΊΠΎΡΠΎΡΡΠΉ ΠΏΠ΅ΡΠ΅Π΄ ΡΠΌΠ΅ΡΡΡΡ ΠΎΡΠΌΠ°ΡΡΠΈΠ²Π°Π» Π΅Π³ΠΎ ΠΌΠ°ΡΡ ΠΈ ΠΊΠΎΡΠΎΡΡΠΉ Π΄Π°Π» Π·Π°ΠΊΠ»ΡΡΠ΅Π½ΠΈΠ΅ ΡΡΠΎ ΠΎΠ½Π° Π±ΡΠ»Π° ΡΠΆΠ΅ ΡΡΠΆΠ΅Π»ΠΎ Π±ΠΎΠ»ΡΠ½Π° ΡΠΎ ΠΆΠ΅ Π±ΡΠ» Π΅Π²ΡΠ΅Π΅ΠΌ. Π ΡΠ΅ Π²ΡΠ΅ΠΌΠ΅Π½Π° Π² Π³Π΅ΡΠΌΠ°Π½ΠΈΠΈ (1920), Π½Π΅ ΡΠΎΠ»ΡΠΊΠΎ ΠΠΈΡΠ»Π΅Ρ Π½Π΅ ΠΌΠΎΠ³ ΡΠ΅ΡΠΏΠ΅ΡΡ Π΅Π²ΡΠ΅Π΅Π², ΠΏΠΎΡΠΎΠΌΡ ΡΡΠΎ ΠΎΠ½ΠΈ Π±ΡΠ»ΠΈ Π½Π΅ ΡΠΎΠ»ΡΠΊΠΎ Π² ΠΏΠΎΠ»ΠΈΡΠΈΠΊΠ΅, ΠΊΡΠ»ΡΡΡΡΠ΅, ΠΏΡΠ°Π²ΠΈΡΠ΅Π»ΡΡΡΠ²Π΅, ΠΎΠ±ΡΠ°Π·ΠΎΠ²Π°Π½ΠΈΠ΅, ΠΎΠ½ΠΈ Π±ΡΠ»ΠΈ Π²Π΅Π·Π΄Π΅. ΠΠ°Π»ΠΎ ΠΊΡΠΎ Π·Π½Π°Π΅Ρ ΡΡΠΎ Π² ΡΠ΅ Π²ΡΠ΅ΠΌΠ΅Π½Π°, Π³Π΅ΡΠΌΠ°Π½ΡΠΊΠΈΠΉ Π½Π°ΡΠΎΠ΄ Π±ΡΠ» Π² Π½ΠΈΡΠ΅ΡΠ΅, ΠΏΠΎΠΊΠ° Π²ΡΠ΅ ΡΠ°Π±ΠΎΡΠΈΠ΅ ΠΌΠ΅ΡΡΠ° ΠΈ Π΄ΡΡΠ³ΠΈΠ΅ ΠΏΠΎΡΡΡ Π·Π°Π½ΠΈΠΌΠ°Π»ΠΈ Π΅Π²ΡΠ΅ΠΈ. ΠΠ΅ΡΠΌΠ°Π½ΡΠΊΠΈΠΉ ΡΠΈΡΡΠΎΠΊΡΠΎΠ²Π½ΡΠΉ Π½Π°ΡΠΎΠ΄, Π²ΠΎΠ»ΡΠ»ΡΡ Π² Π³ΡΡΠ·ΠΈ Ρ Π³ΠΎΠ»ΠΎΠ΄Π΅ Ρ Π½ΠΎΠ³ Π΅Π²ΡΠ΅Π΅Π². Π ΠΠΈΡΠ»Π΅Ρ ΡΠ²ΠΈΠ΄Π΅Π² ΡΠ°ΠΊΠΎΠ΅ ΠΏΠΎΠ»ΠΎΠΆΠ΅Π½ΠΈΠ΅ Π² ΡΡΡΠ°Π½Π΅, ΡΡΠ°Π» Π΅Π΄ΠΈΠ½ΡΡΠ²Π΅Π½Π½ΡΠΌ ΡΠ΅Π»ΠΎΠ²Π΅ΠΊΠΎΠΌ, ΡΡΡ ΠΈΠ΄Π΅Ρ Π·Π°ΡΠΎΠ΄ΠΈΠ²ΡΠ΅Π΅ΡΡ Π² Π΅Π³ΠΎ Π³ΠΎΠ»ΠΎΠ²Π° — ΡΡΠ°Π»Π° ΠΎΡΠΈΡΡΠΈΡΡ Π³Π΅ΡΠΌΠ°Π½ΡΠΊΠΈΠΉ Π½Π°ΡΠΎΠ΄ ΠΎΡ ΠΏΠΎΠ³ΠΎΠ»ΠΎΠ²Π½ΠΎΠ³ΠΎ Π½Π°ΡΠ΅ΡΡΠ²ΠΈΡ Π΅Π²ΡΠ΅Π΅Π². Π Π²ΠΎΡ ΡΠ°ΠΊ ΠΈΠ΄Π΅Ρ ΠΊΠΎΡΠΎΡΠ°Ρ ΠΏΠΎΡΠ΅Π»ΠΈΠ»Π°ΡΡ Π² Π΅Π³ΠΎ Π³ΠΎΠ»ΠΎΠ²Π΅ Π΄ΠΎΠ»Π³ΠΎ ΠΆΠΈΠ»Π°.. ΠΆΠΈΠ»Π° ΠΎΠΊΠΎΠ»ΠΎ 20 Π»Π΅Ρ ΠΏΠΎΠΊΠ° ΠΎΠ½ ΡΡΠ» ΠΊ Π²Π»Π°ΡΡΠΈ, Π½ΠΎ ΠΎΡ ΡΠ°ΡΡΠΈ ΡΠΎΠ³Π»Π°ΡΠΈΡΠ΅ΡΡ, ΡΡΠΎ Π΅Π³ΠΎ ΡΠ΅Π»ΡΡ Π±ΡΠ»Π° ΠΏΠΎΠΌΠΎΡΡ Π³Π΅ΡΠΌΠ°Π½ΡΠΊΠΎΠΌΡ Π½Π°ΡΠΎΠ΄Ρ. ΠΠ½ Π΅Π΄ΠΈΠ½ΡΡΠ²Π΅Π½Π½ΡΠΉ ΠΊΡΠΎ Π½Π΅ ΡΡΠ°Π» Π·Π°ΠΊΡΡΠ²Π°ΡΡ Π³Π»Π°Π·Π° Π½Π° ΡΠΎ, ΡΡΠΎ ΡΠΈΡΡΠΎΠΊΡΠΎΠ²Π½ΡΡ Π³Π΅ΡΠΌΠ°Π½ΡΠ΅Π² ΡΠΌΠ΅ΡΠΈΠ²Π°Π»ΠΈ Ρ Π΄ΡΡΠ³ΠΈΠΌΠΈ ΡΠ°ΡΠ°ΠΌΠΈ. Π ΠΊ ΡΠ΅ΠΌΡ Ρ Π²ΡΡ ΡΡΠΎ Π³ΠΎΠ²ΠΎΡΡ Π΄ΡΡΠ·ΡΡ. Π― Π½Π΅ ΠΏΡΠΈΠ·ΡΠ²Π°Ρ Π½ΠΈ ΠΊ ΡΠ΅ΠΌΡ, Π½ΠΎ ΡΠ΅ΡΡΠΎΠ²ΡΠΊΠΈ ΠΌΠΎΠ³Ρ ΠΏΠΎΠ½ΡΡΡ ΠΠΈΡΠ»Π΅ΡΠ° ΠΈ Π΅Π³ΠΎ ΠΏΡΠΈΡΠΈΠ½Ρ ΡΠ°ΠΊΠΎΠΉ Π°Π³ΡΠ΅ΡΡΠΈΠΈ ΠΊ Π΅Π²ΡΠ΅ΡΠΌ. ΠΠΎΡΠΎΠΌΡ ΡΡΠΎ Ρ Π²ΠΈΠΆΡ ΡΡΠΎ ΡΠ²ΠΎΡΠΈΡΡΡ Π² Π½Π°ΡΠ΅ΠΉ ΡΡΡΠ°Π½Π΅, Ρ Π²ΠΈΠΆΡ ΠΏΠΎ Π²ΡΡΠ΄Ρ ΡΡΠΈΡ ΡΡΡΠΎΠΊ. Π Ρ ΠΊΠ°ΠΊ ΠΈ ΠΌΠ½ΠΎΠ³ΠΈΠ΅ ΡΡΡ ΡΠΎ ΠΌΠ½ΠΎΠΉ ΡΠΎΠ³Π»Π°ΡΠΈΠ»ΠΈΡΡ Π±Ρ, ΡΡΠΎ Π΅ΡΠ»ΠΈ Π±Ρ Π² Π ΠΎΡΡΠΈΠΈ ΠΏΠΎΡΠ²ΠΈΠ»ΡΡ ΠΠΈΡΠ»Π΅Ρ #2 ΠΊΠΎΡΠΎΡΡΠΉ Π±Ρ ΠΈΡΠΊΠΎΡΠ΅Π½ΠΈΠ» ΠΏΠΎΠ»ΠΎΠΆΠ΅Π½ΠΈΠ΅ Π΄Π΅Π» ΡΠ΅ΠΉΡΠ°Ρ, ΡΠΎ ΠΌΠ½ΠΎΠ³ΠΈΠ΅ Π±Ρ ΠΊΠ°ΠΊ ΠΈ Π³Π΅ΡΠΌΠ°Π½ΡΠΊΠΈΠ΅ Π»ΡΠ΄ΠΈ Π±Ρ ΠΏΠΎΡΠ»ΠΈ Π±Ρ Π·Π° Π½ΠΈΠΌ.joyreactor.cc
ΠΠΎΠ»Π»ΠΈΠΌΠ°ΡΠΎΡ Π²ΠΎ Π²ΡΠ΅ΠΌΡ Π²ΡΠΎΡΠΎΠΉ ΠΌΠΈΡΠΎΠ²ΠΎΠΉ. ΠΠΎΠ»Π»ΠΈΠΌΠ°ΡΠΎΡΠ½ΡΠ΅ ΠΏΡΠΈΡΠ΅Π»Ρ
ΠΡΠ»Ρ β Π±ΠΈΡ ΡΠΎΠ²ΡΠ΅ΠΌΠ΅Π½Π½ΡΡ ΡΠ»Π΅ΠΊΡΡΠΎΠ½Π½ΡΡ ΠΏΡΠΈΠ±ΠΎΡΠΎΠ²: ΠΎΡΠ΅Π΄Π°Ρ Π½Π° ΠΌΠ΅Ρ Π°Π½ΠΈΡΠ΅ΡΠΊΠΈΡ Π΄Π΅ΡΠ°Π»ΡΡ , ΡΠ»Π΅ΠΊΡΡΠΎΠ½Π½ΡΡ ΠΏΠ»Π°ΡΠ°Ρ ΠΈ Ρ. Π΄., ΠΏΡΠ»Ρ ΡΠΎΠ·Π΄Π°Π΅Ρ ΡΡΡΠ΄Π½ΠΎΡΡΠΈ Π² ΡΠ°Π±ΠΎΡΠ΅ ΡΠ΅Ρ Π½ΠΈΠΊΠΈ, ΡΡΠΎ ΠΏΡΠΈΠ²ΠΎΠ΄ΠΈΡ ΠΊ Π΅Π΅ Π±ΡΡΡΡΠΎΠΌΡ ΠΈΠ·Π½ΠΎΡΡ ΠΈ ΠΏΠΎΠ»Π½ΠΎΠΌΡ Π²ΡΡ ΠΎΠ΄Ρ ΠΈΠ· ΡΠΊΡΠΏΠ»ΡΠ°ΡΠ°ΡΠΈΠΈ. Π§ΡΠΎ ΠΊΠ°ΡΠ°Π΅ΡΡΡ ΠΏΠΎΡΡΠ°ΡΠΈΠ²Π½ΡΡ ΠΊΠΎΠΌΠΏΡΡΡΠ΅ΡΠΎΠ², ΠΏΡΠ»Ρ β ΡΡΠΎ Π³Π»Π°Π²Π½Π°Ρ ΠΏΡΠΈΡΠΈΠ½Π° ΡΠ½ΠΈΠΆΠ΅Π½ΠΈΡ ΡΠ°Π±ΠΎΡΠΎΡΠΏΠΎΡΠΎΠ±Π½ΠΎΡΡΠΈ, ΠΏΠ΅ΡΠ΅Π³ΡΠ΅Π²Π° ΡΡΡΡΠΎΠΉΡΡΠ²Π°. ΠΠ°ΠΊ ΠΎΡΠΈΡΡΠΈΡΡ Π»ΡΠΏΡΠΎΠΏ ΠΎΡ ΠΏΡΠ»ΠΈ, ΠΈ ΠΊΠ°ΠΊΠΈΠ΅ ΡΠ·Π»Ρ ΠΎΠ±ΠΎΡΡΠ΄ΠΎΠ²Π°Π½ΠΈΡ Π±ΠΎΠ»ΡΡΠ΅ Π²ΡΠ΅Π³ΠΎ Π½ΡΠΆΠ΄Π°ΡΡΡΡ Π² ΡΠΈΡΡΠΊΠ΅ β ΡΠΈΡΠ°ΠΉΡΠ΅ Π½ΠΈΠΆΠ΅.
ΠΠΏΡΡΠ½ΡΠ΅ ΠΏΠΎΠ»ΡΠ·ΠΎΠ²Π°ΡΠ΅Π»ΠΈ ΡΠ»Π΅ΠΊΡΡΠΎΠ½Π½ΠΎΠΉ ΡΠ΅Ρ Π½ΠΈΠΊΠΈ Π΄Π°Π²Π½ΠΎ Π·Π½Π°ΡΡ, ΡΡΠΎ ΠΎΡΠΈΡΡΠΊΠ° ΠΈ ΠΏΡΠΎΠ΄ΡΠ²ΠΊΠ° ΠΎΠ±ΠΎΡΡΠ΄ΠΎΠ²Π°Π½ΠΈΡ ΠΎΡ ΠΏΡΠ»ΠΈ β ΡΡΠΎ ΠΎΠ±ΡΠ·Π°ΡΠ΅Π»ΡΠ½ΡΠ΅ ΠΌΠ΅ΡΠΎΠΏΡΠΈΡΡΠΈΡ ΠΏΠΎ ΠΏΠΎΠ΄Π΄Π΅ΡΠΆΠ°Π½ΠΈΡ Π½ΠΎΡΡΠ±ΡΠΊΠ° Π² ΡΠ°Π±ΠΎΡΠ΅ΠΌ ΡΠΎΡΡΠΎΡΠ½ΠΈΠΈ. Π ΡΡΠ΅Π΄Π½Π΅ΠΌ, ΠΎΡ ΠΏΡΠ»ΠΈ Π»ΡΠΏΡΠΎΠΏ Π½ΡΠΆΠ½ΠΎ ΡΠΈΡΡΠΈΡΡ ΠΊΠ°ΠΆΠ΄ΡΠ΅ ΠΏΠΎΠ»Π³ΠΎΠ΄Π°. Π Π½Π΅ΠΊΠΎΡΠΎΡΡΡ ΡΠ»ΡΡΠ°ΡΡ , ΠΏΡΠΎΠ²ΠΎΠ΄ΠΈΡΡ ΠΌΠ΅ΡΠΎΠΏΡΠΈΡΡΠΈΡ ΠΏΠΎ ΠΎΡΠΈΡΡΠΊΠ΅ Π½ΡΠΆΠ½ΠΎ ΡΠ°ΡΠ΅. ΠΠ°ΠΏΡΠΈΠΌΠ΅Ρ, Π΅ΡΠ»ΠΈ ΠΏΡΠΎΠ³ΡΠ°ΠΌΠΌΠ° Π½Π°ΡΠΈΠ½Π°Π΅Ρ βΠΏΠΎΠ΄Π²ΠΈΡΠ°ΡΡβ Π±Π΅Π· Π²ΠΈΠ΄ΠΈΠΌΡΡ Π½Π° ΡΠΎ ΠΏΡΠΈΡΠΈΠ½. Π§Π°ΡΡΠΎΡΠ° ΡΠΈΡΡΠΎΠΊ Π·Π°Π²ΠΈΡΠΈΡ ΠΎΡ ΠΊΠΎΠ»ΠΈΡΠ΅ΡΡΠ²Π° ΠΏΡΠ»Π΅ΡΠ±ΠΎΡΠ½ΠΈΠΊΠΎΠ² Π² ΠΏΠΎΠΌΠ΅ΡΠ΅Π½ΠΈΠΈ, ΠΊΠ°ΡΠ΅ΡΡΠ²Π° ΡΠ±ΠΎΡΠΊΠΈ.
ΠΠ°ΠΊ ΡΠ°ΡΡΠΎ Π½ΡΠΆΠ½ΠΎ ΠΏΡΠΎΠ²ΠΎΠ΄ΠΈΡΡ ΡΠΈΡΡΠΊΡ ΡΠ²ΠΎΠ΅Π³ΠΎ Π½ΠΎΡΡΠ±ΡΠΊΠ° Π²Ρ ΠΏΠΎΠΉΠΌΠ΅ΡΠ΅, ΠΊΠ°ΠΊ ΡΠΎΠ»ΡΠΊΠΎ ΡΠ°Π·Π±Π΅ΡΠ΅ΡΠ΅ ΡΠ΅Ρ Π½ΠΈΠΊΡ: ΠΊΠΎΠ»ΠΈΡΠ΅ΡΡΠ²ΠΎ ΠΏΡΠ»ΠΈ ΠΏΠΎΠ΄ΡΠΊΠ°ΠΆΠ΅Ρ ΡΡΠΎΠΈΡ Π»ΠΈ ΡΠ²Π΅Π»ΠΈΡΠΈΠ²Π°ΡΡ ΠΈΠ»ΠΈ ΡΠΎΠΊΡΠ°ΡΠ°ΡΡ ΠΈΠ½ΡΠ΅ΡΠ²Π°Π» ΠΌΠ΅ΠΆΠ΄Ρ ΡΠΈΡΡΠΊΠ°ΠΌΠΈ.
ΠΡΠΊΡΡΠ²Π°ΡΡ ΡΠ΅Ρ Π½ΠΈΠΊΡ, ΠΏΡΠΈ ΡΡΠΎΠΌ, Π½Π΅ΠΎΠ±Ρ ΠΎΠ΄ΠΈΠΌΠΎ Π»ΠΈΡΡ ΠΏΠΎΡΠ»Π΅ ΠΈΡΡΠ΅ΡΠ΅Π½ΠΈΡ Π³Π°ΡΠ°Π½ΡΠΈΠΉΠ½ΠΎΠ³ΠΎ ΡΡΠΎΠΊΠ°. ΠΠ½Π°ΡΠ΅, Π² ΡΠ»ΡΡΠ°Π΅ ΠΏΠΎΠ»ΠΎΠΌΠΎΠΊ, Π² Π³Π°ΡΠ°Π½ΡΠΈΠΉΠ½ΠΎΠΌ ΡΠ΅ΠΌΠΎΠ½ΡΠ΅ Π½ΠΎΡΡΠ±ΡΠΊΠ° Π²Π°ΠΌ Π±ΡΠ΄Π΅Ρ ΠΎΡΠΊΠ°Π·Π°Π½ΠΎ.
ΠΠ»Ρ ΡΠΎΠ³ΠΎ, ΡΡΠΎΠ±Ρ ΠΏΠΎΡΠΈΡΡΠΈΡΡ Π½ΠΎΡΡΠ±ΡΠΊ ΠΎΡ ΠΏΡΠ»ΠΈ Π½ΡΠΆΠ½ΠΎ :
- ΠΡΠΊΠ»ΡΡΠΈΡΡ ΠΏΡΠΈΠ±ΠΎΡ ΠΎΡ ΠΏΠΈΡΠ°Π½ΠΈΡ, ΠΈ ΠΈΠ·Π²Π»Π΅ΡΡ Π°ΠΊΠΊΡΠΌΡΠ»ΡΡΠΎΡ. Π Π·Π°Π²ΠΈΡΠΈΠΌΠΎΡΡΠΈ ΠΎΡ ΠΌΠΎΠ΄Π΅Π»ΠΈ ΠΈΠ·Π²Π»Π΅ΡΡ Π±Π°ΡΠ°ΡΠ΅Ρ ΠΌΠΎΠΆΠ½ΠΎ Π±ΡΠ΄Π΅Ρ Π»ΠΈΠ±ΠΎ, ΠΎΡΠΊΡΡΡΠΈΠ² Π±ΠΎΠ»ΡΡ, Π»ΠΈΠ±ΠΎ Π½Π°ΠΆΠ°Π² ΡΠΏΠ΅ΡΠΈΠ°Π»ΡΠ½ΡΡ Π·Π°ΡΠ΅Π»ΠΊΡ (Π½Π°ΠΏΡΠΈΠΌΠ΅Ρ, ΠΊΠ°ΠΊ Π½Π° Π»ΡΠΏΡΠΎΠΏΠ΅ Asus X51RL). ΠΠΎΠ΄Π΄Π΅ΡΡ Π·Π°ΡΠ΅Π»ΠΊΡ ΠΌΠΎΠΆΠ½ΠΎ ΠΊΠ°ΠΊ Π²ΡΡΡΠ½ΡΡ, ΡΠ°ΠΊ ΠΈ Ρ ΠΏΠΎΠΌΠΎΡΡΡ ΠΎΡΠ²Π΅ΡΡΠΊΠΈ.
- Π‘Π½ΡΡΡ Ρ ΠΏΡΠΈΠ±ΠΎΡΠ° Π·Π°Π΄Π½ΡΡ ΠΊΡΡΡΠΊΡ. ΠΠ»Ρ ΡΡΠΎΠ³ΠΎ Π½ΡΠΆΠ½ΠΎ ΠΎΡΠΊΡΡΡΠΈΡΡ Π²ΡΠ΅ Π²ΠΈΠ½ΡΡ, ΡΠ΄Π΅ΡΠΆΠΈΠ²Π°ΡΡΠΈΠ΅ ΠΊΡΡΡΠΊΡ ΠΎΡ Π΄Π΅ΠΌΠΎΠ½ΡΠ°ΠΆΠ° (Π½Π΅ Π·Π°Π±ΡΠ²Π°ΠΉΡΠ΅ ΠΏΡΠΎ Π±ΠΎΠ»ΡΡ Π² ΡΠ°ΠΉΠΎΠ½Π΅ Π°ΠΊΠΊΡΠΌΡΠ»ΡΡΠΎΡΠ½ΠΎΠΉ Π±Π°ΡΠ°ΡΠ΅ΠΈ). Π‘Π΄Π΅Π»Π°ΡΡ ΡΡΠΎ, Π½Π°ΠΏΡΠΈΠΌΠ΅Ρ, ΠΊΠ°ΠΊ Π½Π° Π»ΡΠΏΡΠΎΠΏΠ΅ ΠΡΡΡ, ΠΌΠΎΠΆΠ½ΠΎ ΠΏΡΠΈ ΠΏΠΎΠΌΠΎΡΠΈ ΠΎΡΠ²Π΅ΡΡΠΊΠΈ Ρ ΠΊΡΠ΅ΡΡΠΎΠΎΠ±ΡΠ°Π·Π½ΡΠΌ ΡΠ»ΠΈΡΠ΅ΠΌ.
- ΠΠ΅ΠΌΠΎΠ½ΡΠΈΡΠΎΠ²Π°ΡΡ ΠΊΠ»Π°Π²ΠΈΠ°ΡΡΡΡ (Π΅ΡΠ»ΠΈ ΠΊΡΠ»Π΅Ρ Π½Π°Ρ ΠΎΠ΄ΠΈΡΡΡ Π² ΠΏΠ΅ΡΠ΅Π΄Π½Π΅ΠΉ ΡΠ°ΡΡΠΈ Π½ΠΎΡΡΠ±ΡΠΊΠ°, Π½Π°ΠΏΡΠΈΠΌΠ΅Ρ ΠΊΠ°ΠΊ Ρ ΠΠ΅Π½ΠΎΠ²ΠΎ G780). Π Π±ΠΎΠ»ΡΡΠΈΠ½ΡΡΠ²Π΅ ΡΠΎΠ²ΡΠ΅ΠΌΠ΅Π½Π½ΡΡ Π»ΡΠΏΡΠΎΠΏΠΎΠ² ΠΊΠ»Π°Π²ΠΈΠ°ΡΡΡΠ° ΡΠ΄Π΅ΡΠΆΠΈΠ²Π°Π΅ΡΡΡ ΡΠΏΠ΅ΡΠΈΠ°Π»ΡΠ½ΡΠΌΠΈ ΠΏΠ»Π°ΡΡΠΈΠΊΠΎΠ²ΡΠΌΠΈ Π·Π°ΠΌΠΊΠ°ΠΌΠΈ. ΠΠ°ΠΆΠ°Π² ΠΈΡ , ΠΌΠΎΠΆΠ½ΠΎ ΠΏΠΎΠ΄Π΄Π΅ΡΡ ΠΊΠ»Π°Π²ΠΈΠ°ΡΡΡΡ ΠΏΠΈΠ½ΡΠ΅ΡΠΎΠΌ, ΠΎΡΠΊΠ»ΡΡΠΈΡΡ ΡΠ»Π΅ΠΉΡ, ΠΈ Π΄Π΅ΠΌΠΎΠ½ΡΠΈΡΠΎΠ²Π°ΡΡ Π΅Π΅.
- ΠΡΠΊΠ»ΡΡΠΈΡΡ Π²ΡΠ΅ ΡΠ»Π΅ΠΉΡΡ (Ρ ΠΏΠΎΠΌΠΎΡΡΡ ΠΏΠ»ΠΎΡΠΊΠΎΠΉ ΠΎΡΠ²Π΅ΡΡΠΊΠΈ), ΠΎΡΠΊΡΡΡΠΈΡΡ Π±ΠΎΠ»ΡΡ ΠΌΠ΅ΡΠ°Π»Π»ΠΈΡΠ΅ΡΠΊΠΎΠΉ Π½Π°ΠΊΠ»Π°Π΄ΠΊΠΈ, ΠΈ Π΄Π΅ΠΌΠΎΠ½ΡΠΈΡΠΎΠ²Π°ΡΡ Π΅Π΅.
ΠΡΠΈΡΡΠΈΡΡ ΡΠ»Π΅ΠΌΠ΅Π½ΡΡ ΠΎΡ ΠΏΡΠ»ΠΈ ΠΌΠΎΠΆΠ½ΠΎ ΠΏΡΠ»Π΅ΡΠΎΡΠΎΠΌ Π½Π° ΠΌΠ°Π»ΠΎΠΉ ΠΌΠΎΡΠ½ΠΎΡΡΠΈ ΠΈΠ»ΠΈ ΠΊΠΈΡΡΠΎΡΠΊΠΎΠΉ Ρ ΠΌΡΠ³ΠΊΠΈΠΌ Π²ΠΎΡΡΠΎΠΌ. ΠΡΠΈ ΡΡΠΎΠΌ, ΠΎΡΠΎΠ±ΠΎΠ΅ Π²Π½ΠΈΠΌΠ°Π½ΠΈΠ΅ ΡΠ»Π΅Π΄ΡΠ΅Ρ ΡΠ΄Π΅Π»ΠΈΡΡ ΠΊΡΠ»Π΅ΡΡ ΠΈ Π²ΡΡ ΠΎΠ΄Π½ΡΠΌ Π²Π΅Π½ΡΠΈΠ»ΡΡΠΈΠΎΠ½Π½ΡΠΌ ΡΠ°Ρ ΡΠ°ΠΌ Π² ΠΊΠΎΡΠΏΡΡΠ΅ Π²ΠΎΠΊΡΡΠ³ Π½Π΅Π³ΠΎ.
ΠΠ΅ ΡΡΠΎΠΈΡ Π·Π°Π±ΡΠ²Π°ΡΡ ΠΎ USB ΠΏΠΎΡΡΠ°Ρ ΠΈ CD-ΡΠΎΠΌΠ΅ ΡΡΡΡΠΎΠΉΡΡΠ²Π°: ΠΎΡΠΈΡΡΠΈΡΡ ΠΈΡ ΠΌΠΎΠΆΠ½ΠΎ Ρ ΠΏΠΎΠΌΠΎΡΡΡ ΡΡΠ½ΡΡ ΠΏΠ°Π»ΠΎΡΠ΅ΠΊ ΠΈΠ»ΠΈ Π±Π°Π»Π»ΠΎΠ½Π° ΡΠΎ ΡΠΆΠ°ΡΡΠΌ Π²ΠΎΠ·Π΄ΡΡ ΠΎΠΌ.
kiddyclub.ru
ΠΠΎΠ»Π»ΠΈΠΌΠ°ΡΠΎΡΠ½ΡΠΉ ΠΏΡΠΈΡΠ΅Π» Π²ΠΎ Π²ΡΠΎΡΠΎΠΉ ΠΌΠΈΡΠΎΠ²ΠΎΠΉ. ΠΠΎΠ»Π»ΠΈΠΌΠ°ΡΠΎΡΠ½ΡΠ΅ ΠΏΡΠΈΡΠ΅Π»Ρ: ΠΏΡΠΈΠ½ΡΠΈΠΏ ΡΠ°Π±ΠΎΡΡ, Π½Π°ΡΡΡΠΎΠΉΠΊΠ°, ΡΠΊΡΠΏΠ»ΡΠ°ΡΠ°ΡΠΈΡ
ΠΠΎΠ»Π»ΠΈΠΌΠ°ΡΠΎΡΠ½ΡΠ΅ ΠΏΡΠΈΡΠ΅Π»Ρ ΠΎΡΠΊΡΡΡΠΎΠ³ΠΎ ΡΠΈΠΏΠ° β ΡΡΠΎ ΠΎΠ΄Π½Π° ΠΈΠ· ΡΠ°ΠΌΡΡ ΠΏΠΎΡΠ»Π΅Π΄Π½ΠΈΡ ΡΠ°Π·ΡΠ°Π±ΠΎΡΠΎΠΊ Π² ΠΎΠ±Π»Π°ΡΡΠΈ ΡΡΡΠ½ΠΎΠ³ΠΎ ΡΡΡΠ΅Π»ΠΊΠΎΠ²ΠΎΠ³ΠΎ ΠΎΡΡΠΆΠΈΡ, Π½Π°Π΄Π΅Π»ΠΈΠ²ΡΠ°Ρ ΠΏΠ΅ΡΡΠΎΠ½Π°Π»ΡΠ½ΠΎΠ΅ Π²ΠΎΠΎΡΡΠΆΠ΅Π½ΠΈΠ΅ ΠΎΡ ΠΎΡΠ½ΠΈΠΊΠ° ΠΈΠ»ΠΈ ΡΠΎΠ»Π΄Π°ΡΠ° ΡΠΎΠ²Π΅ΡΡΠ΅Π½Π½ΠΎ Π½ΠΎΠ²ΡΠΌΠΈ Π²ΠΎΠ·ΠΌΠΎΠΆΠ½ΠΎΡΡΡΠΌΠΈ, ΠΎΡΠ»ΠΈΡΠ½ΡΠΌΠΈ ΠΎΡ ΠΊΠ»Π°ΡΡΠΈΡΠ΅ΡΠΊΠΈΡ ΡΡΡΡΠΎΠΉΡΡΠ². Π‘Π°ΠΌΠΎ ΠΈΠ·ΠΎΠ±ΡΠ΅ΡΠ΅Π½ΠΈΠ΅ Π½Π΅ Π½ΠΎΠ²ΠΎ, ΠΊΠΎΡΠ½ΡΠΌΠΈ ΠΎΠ½ΠΎ ΡΡ ΠΎΠ΄ΠΈΡ Π΅ΡΠ΅ Π² ΠΠ΅ΡΠ²ΡΡ ΠΠΈΡΠΎΠ²ΡΡ Π²ΠΎΠΉΠ½Ρ, ΠΊΠΎΠ³Π΄Π° Π½Π° ΠΏΡΠ»Π΅ΠΌΠ΅ΡΡ ΡΡΠ°Π»ΠΈ ΡΡΡΠ°Π½Π°Π²Π»ΠΈΠ²Π°ΡΡ ΠΊΡΡΠΏΠ½ΡΠ΅ ΠΊΠΎΠ»ΡΡΠ΅Π²ΡΠ΅ ΠΏΡΠΈΡΠ΅Π»Ρ, ΠΏΠΎΠ·Π²ΠΎΠ»ΡΠ²ΡΠΈΠ΅ ΠΎΠΏΠ΅ΡΠ°ΡΠΎΡΡ ΠΎΡΡΠΆΠΈΡ Π½Π΅ ΠΎΡΠ²Π»Π΅ΠΊΠ°ΡΡΡΡ Π½Π° ΡΠΎΠ²ΠΌΠ΅ΡΠ΅Π½ΠΈΠ΅ 3 Π»ΠΈΠ½ΠΈΠΉ Π²ΠΈΠ·ΠΈΡΠΎΠ²Π°Π½ΠΈΡ, Π° ΠΈΠΌΠ΅Π½Π½ΠΎ: Π±Π»ΠΈΠ·ΠΊΠΎ ΡΠ°ΡΠΏΠΎΠ»ΠΎΠΆΠ΅Π½Π½ΠΎΠ³ΠΎ ΡΠ΅Π»ΠΈΠΊΠ°, ΠΎΡΠ΄Π°Π»Π΅Π½Π½ΠΎΠΉ ΠΌΡΡΠΊΠΈ ΠΈ Π½Π΅ΠΏΠΎΡΡΠ΅Π΄ΡΡΠ²Π΅Π½Π½ΠΎ ΡΠ΅Π»ΠΈ.
Π‘ΡΡΠ΅Π»ΠΊΡ ΡΡΠ°Π»ΠΎ Π΄ΠΎΡΡΠ°ΡΠΎΡΠ½ΠΎ ΡΠΎΠ²ΠΌΠ΅ΡΡΠΈΡΡ ΠΊΠΎΠ»ΡΡΠ΅Π²ΠΎΠΉ ΠΏΡΠΈΡΠ΅Π» Ρ ΡΠ΅Π»ΡΡ ΠΈ ΠΎΡΠΊΡΡΡΡ ΠΎΠ³ΠΎΠ½Ρ. Π’ΠΎΡΠ½ΠΎΡΡΡ Π΄Π»Ρ ΠΏΡΠ»Π΅ΠΌΠ΅ΡΠ½ΠΎΠ³ΠΎ Π²ΠΎΠΎΡΡΠΆΠ΅Π½ΠΈΡ ΡΡΠΈΡΠ°Π»Π°ΡΡ Π±ΠΎΠ»Π΅Π΅, ΡΠ΅ΠΌ Π΄ΠΎΡΡΠ°ΡΠΎΡΠ½ΠΎΠΉ, Π²Π΅Π΄Ρ ΠΏΠΎΠ²ΡΡΠΈΠ»Π°ΡΡ ΡΠΊΠΎΡΠΎΡΡΡ Π½Π°Π²Π΅Π΄Π΅Π½ΠΈΡ.
Β«ΠΠ°ΡΡΠΎΡΡΠΈΠ΅Β» ΠΊΠΎΠ»Π»ΠΈΠΌΠ°ΡΠΎΡΡ ΠΏΠΎΡΠ²ΠΈΠ»ΠΈΡΡ ΡΠΆΠ΅ Π²ΠΎ ΠΡΠΎΡΠΎΠΉ ΠΠΈΡΠΎΠ²ΠΎΠΉ Π²ΠΎΠΉΠ½Π΅ Π½Π° Π±ΠΎΡΡΠ°Ρ ΠΈΡΡΡΠ΅Π±ΠΈΡΠ΅Π»Π΅ΠΉ. ΠΠ°ΠΊ ΠΈ ΡΠΎΠ²ΡΠ΅ΠΌΠ΅Π½Π½ΡΠ΅, ΠΎΠ½ΠΈ ΠΏΡΠ΅Π΄ΡΡΠ°Π²Π»ΡΠ»ΠΈ ΡΠΎΠ±ΠΎΠΉ Π»ΠΈΠ½Π·Ρ, ΠΏΡΠΎΠ΅ΡΠΈΡΡΡΡΡΡ ΠΏΡΠΈΡΠ΅Π»ΡΠ½ΡΡ ΠΌΠ°ΡΠΊΡ Π² Π±Π΅ΡΠΊΠΎΠ½Π΅ΡΠ½ΠΎΡΡΡ, ΠΏΠΈΠ»ΠΎΡΡ Π΄ΠΎΡΡΠ°ΡΠΎΡΠ½ΠΎ Π±ΡΠ»ΠΎ Π½Π°Ρ ΠΎΠ΄ΠΈΡΡΡ Π½Π° ΠΎΡΠΈ ΠΏΡΠΈΡΠ΅Π»ΠΈΠ²Π°Π½ΠΈΡ ΠΈ Π½Π°ΠΏΡΠ°Π²ΠΈΡΡ ΠΌΠ°ΡΠΊΡ Π½Π° ΠΏΡΠΎΡΠΈΠ²Π½ΠΈΠΊΠ°, ΡΡΠΎ Π±Ρ ΡΡΡΠ΅ΠΊΡΠΈΠ²Π½ΠΎ ΠΏΠΎΡΠ°Π·ΠΈΡΡ Π΅Π³ΠΎ.
ΠΠ°ΠΊ ΠΈ Π² ΠΌΠΈΡΠ΅ ΡΡΡΠ½ΠΎΠ³ΠΎ-ΡΡΡΠ΅Π»ΠΊΠΎΠ²ΠΎΠ³ΠΎ ΠΎΡΡΠΆΠΈΡ ΡΠ°ΠΊΠΈΠ΅ ΠΏΡΠΈΠ±ΠΎΡΡ Π±ΡΡΡΡΠΎ Π²ΡΡΠ΅ΡΠ½ΠΈΠ»ΠΈ ΡΠ΅Π»Π΅ΡΠΊΠΎΠΏΠΈΡΠ΅ΡΠΊΠΈΠ΅ ΠΏΡΠΈΡΠ΅Π»Ρ ΡΠ°ΠΌ, Π³Π΄Π΅ ΡΡΠ΅Π±ΠΎΠ²Π°Π»Π°ΡΡ ΡΠΊΠΎΡΠΎΡΡΡ, Π° Π½Π΅ ΡΠ²Π΅Π»ΠΈΡΠ΅Π½ΠΈΠ΅.
ΠΠ°ΠΊ ΡΠΆΠ΅ ΠΏΠΈΡΠ°Π»ΠΎΡΡ Π²ΡΡΠ΅, ΠΎΡΠΊΡΡΡΠ°Ρ ΡΡΡΡΠΊΡΡΡΠ° ΡΠ°ΠΊΠΈΡ ΠΏΡΠΈΠ±ΠΎΡΠΎΠ² Π½Π°Π΄Π΅Π»ΠΈΠ»Π° Π²Π»Π°Π΄Π΅Π»ΡΡΠ° Π²ΡΡΠΎΡΠ°ΠΉΡΠ΅ΠΉ ΡΠΎΡΠ½ΠΎΡΡΡΡ ΠΏΡΠΎΡΠΈΠ² Π΄ΠΈΠ½Π°ΠΌΠΈΡΠ΅ΡΠΊΠΈΡ ΡΠ΅Π»Π΅ΠΉ Π½Π° ΠΌΠ°Π»ΡΡ ΠΈ ΡΡΠ΅Π΄Π½ΠΈΡ Π΄ΠΈΡΡΠ°Π½ΡΠΈΡΡ ΡΡΡΠ΅Π»ΡΠ±Ρ. Π‘Π°ΠΌΠΎΠ΅ Π³Π»Π°Π²Π½ΠΎΠ΅ ΠΏΡΠ΅ΠΈΠΌΡΡΠ΅ΡΡΠ²ΠΎ ΡΠ°ΠΊΠΎΠΉ ΠΊΠΎΠ½ΡΡΡΡΠΊΡΠΈΠΈ β ΡΡΠΎ ΠΊΠΎΠΌΠΏΠ°ΠΊΡΠ½ΠΎΡΡΡ ΠΈ Π½Π΅ ΠΎΠ³ΡΠ°Π½ΠΈΡΠ΅Π½Π½ΠΎΠ΅ ΠΏΠΎΠ»Π΅ Π·ΡΠ΅Π½ΠΈΡ. ΠΠ½ΠΎ Π΄ΠΎΡΡΠΈΠ³Π°Π΅ΡΡΡ ΠΎΡΡΡΡΡΡΠ²ΠΈΠ΅ΠΌ Π³ΡΠΎΠΌΠΎΠ·Π΄ΠΊΠΎΠ³ΠΎ ΠΊΠΎΡΠΏΡΡΠ°, ΠΎΠ΄Π½ΠΎΠΉ Π²ΠΈΠ΄ΠΈΠΌΠΎΠΉ ΡΡΡΠ΅Π»ΠΊΡ Π»ΠΈΠ½Π·ΠΎΠΉ ΠΈ ΡΠΎΠ½ΠΊΠΈΠΌ ΠΎΠ±ΠΎΠ΄ΠΊΠΎΠΌ, Π½Π΅ ΠΌΠ΅ΡΠ°ΡΡΠΈΠΌ Π±ΡΡΡΡΠΎΠΌΡ ΡΠΎΠΊΡΡΠΈΡΠΎΠ²Π°Π½ΠΈΡ Π½Π° ΡΠ΅Π»ΠΈ. ΠΡΠΈ ΠΎΠΏΡΠΈΡΠ΅ΡΠΊΠΈΠ΅ ΠΈΠ½ΡΡΡΡΠΌΠ΅Π½ΡΡ ΡΠ°ΠΌΠ°Ρ Π½Π°Π³Π»ΡΠ΄Π½Π°Ρ ΠΈΠ»Π»ΡΡΡΡΠ°ΡΠΈΡ ΠΏΠΎΠ³ΠΎΠ²ΠΎΡΠΊΠΈ Β«ΠΡΠΈΡΠ΅Π», ΡΠ²ΠΈΠ΄Π΅Π», ΠΏΠΎΠ±Π΅Π΄ΠΈΠ»Β».
ΠΡΠ΅ΠΈΠΌΡΡΠ΅ΡΡΠ²Π° ΠΎΡΠΊΡΡΡΠΎΠΉ Π°ΡΡ ΠΈΡΠ΅ΠΊΡΡΡΡ
- ΠΡΡΡΡΡΡΠ²ΠΈΠ΅ ΡΠΈΠΊΡΠΈΡΠΎΠ²Π°Π½Π½ΠΎΠ³ΠΎ ΡΠ°ΡΡΡΠΎΡΠ½ΠΈΡ ΠΎΡ Π³Π»Π°Π·Π°.
- ΠΠ΅ ΠΎΠ³ΡΠ°Π½ΠΈΡΠ΅Π½Π½ΠΎΠ΅ ΠΏΠΎΠ»Π΅ Π·ΡΠ΅Π½ΠΈΡ.
- ΠΠ½Π°ΡΠΈΡΠ΅Π»ΡΠ½ΠΎ ΡΠ²Π΅Π»ΠΈΡΠΈΠ²Π°ΡΡ ΡΠΎΡΠ½ΠΎΡΡΡ ΡΡΡΠ΅Π»ΡΠ±Ρ.
- ΠΠΎΠ·Π²ΠΎΠ»ΡΡΡ ΡΡΡΠ΅ΠΊΡΠΈΠ²Π½ΠΎ ΠΏΠΎΡΠ°ΠΆΠ°ΡΡ ΡΠ΅Π»ΠΈ Π΄Π°ΠΆΠ΅ Π±Π΅Π· Π΄ΠΎΠ»ΠΆΠ½ΠΎΠ³ΠΎ ΠΎΠΏΡΡΠ°.
- ΠΠ±Π΅ΡΠΏΠ΅ΡΠΈΠ²Π°ΡΡ ΡΡΡΠ΅ΠΊΡΠΈΠ²Π½ΡΡ ΡΡΡΠ΅Π»ΡΠ±Ρ ΠΏΡΠΈ Π»ΡΠ±ΠΎΠΌ ΠΎΡΠ²Π΅ΡΠ΅Π½ΠΈΠΈ, Π΅ΡΠ»ΠΈ ΡΡΡΠ΅Π»ΠΎΠΊ Π²ΠΈΠ΄ΠΈΡ ΡΠ΅Π»Ρ.
- ΠΠ°Π»ΡΠΉ Π²Π΅Ρ.
- ΠΠ΅Π±ΠΎΠ»ΡΡΠΈΠ΅ Π³Π°Π±Π°ΡΠΈΡΡ.
- ΠΡΡΡΡΠΎΠ΅ ΠΏΡΠΈΡΠ΅Π»ΠΈΠ²Π°Π½ΠΈΠ΅ Π΄Π²ΡΠΌΡ ΠΎΡΠΊΡΡΡΡΠΌΠΈ Π³Π»Π°Π·Π°ΠΌΠΈ.
- ΠΠΎΠ·ΠΌΠΎΠΆΠ½ΠΎΡΡΡ ΡΡΡΠ΅ΠΊΡΠΈΠ²Π½ΠΎΠ³ΠΎ ΠΈΡΠΏΠΎΠ»ΡΠ·ΠΎΠ²Π°Π½ΠΈΡ Π½Π° ΡΡΠΆΠ΅ΠΉΠ½ΡΡ ΠΏΡΠΈΡΠ΅Π»ΡΠ½ΡΡ ΠΏΠ»Π°Π½ΠΊΠ°Ρ .
- ΠΠΎΠ·ΠΌΠΎΠΆΠ½ΠΎΡΡΡ ΠΈΡΠΏΠΎΠ»ΡΠ·ΠΎΠ²Π°Π½ΠΈΡ ΠΊΠ°ΠΊ Π΄ΠΎΠΏΠΎΠ»Π½ΠΈΡΠ΅Π»ΡΠ½ΠΎΠ΅ ΠΏΡΠΈΡΠ΅Π»ΡΠ½ΠΎΠ΅ ΠΏΡΠΈΡΠΏΠΎΡΠΎΠ±Π»Π΅Π½ΠΈΠ΅ Π²ΠΊΡΠΏΠ΅ ΡΠΎ ΡΡΠ°Π½Π΄Π°ΡΡΠ½ΡΠΌ ΠΏΡΠΈΡΠ΅Π»ΠΎΠΌ.
ΠΠΎΠΌΠΏΠ°Π½ΠΈΡ Hakko Π½Π΅ ΠΌΠΎΠ³Π»Π° ΠΈΠ³Π½ΠΎΡΠΈΡΠΎΠ²Π°ΡΡ ΠΏΠ΅ΡΡΠΏΠ΅ΠΊΡΠΈΠ²Π½ΠΎΡΡΡ ΡΠ°ΠΊΠΈΡ ΠΏΡΠΈΠ±ΠΎΡΠΎΠ² Π½Π° ΠΎΡ ΠΎΡΠ΅ ΠΈΠ»ΠΈ Π² ΡΡΠ»ΠΎΠ²ΠΈΡΡ Π±ΡΡΡΡΠΎ ΠΌΠ΅Π½ΡΡΡΠ΅ΠΉΡΡ ΡΠ°ΠΊΡΠΈΡΠ΅ΡΠΊΠΎΠΉ ΠΎΠ±ΡΡΠ°Π½ΠΎΠ²ΠΊΠ΅ ΡΠΎΠ²ΡΠ΅ΠΌΠ΅Π½Π½ΠΎΠ³ΠΎ ΠΏΠΎΠ»Ρ Π±ΠΎΡ ΠΈ Π°ΠΊΡΠΈΠ²Π½ΠΎ Π·Π°Π½ΡΠ»Π°ΡΡ ΠΈΡ ΡΠ°Π·ΡΠ°Π±ΠΎΡΠΊΠΎΠΉ.
ΠΠ΅ΡΠ²ΠΎΠΉ ΠΌΠΎΠ΄Π΅Π»ΡΡ Π² Π»ΠΈΠ½Π΅ΠΉΠΊΠ΅ ΠΊΠΎΠ»Π»ΠΈΠΌΠ°ΡΠΎΡΠ½ΡΡ ΠΏΡΠΈΡΠ΅Π»ΠΎΠ² ΡΡΠ°Π» ΠΏΠΎΡΠ²ΠΈΠ²ΡΠΈΠΉΡΡ Π² 1996 Π³ΠΎΠ΄Ρ BED-20.
ΠΡΠΎΡ ΠΏΡΠΈΠ±ΠΎΡ Π±ΡΠ» ΡΠ°Π·ΡΠ°Π±ΠΎΡΠ°Π½ ΠΊΠ°ΠΊ ΡΠΏΠ΅ΡΠΈΠ°Π»ΠΈΠ·ΠΈΡΠΎΠ²Π°Π½Π½ΠΎΠ΅ ΠΎΠΏΡΠΈΡΠ΅ΡΠΊΠΎΠ΅ ΡΡΡΡΠΎΠΉΡΡΠ²ΠΎ Π΄Π»Ρ Π³Π»Π°Π΄ΠΊΠΎΡΡΠ²ΠΎΠ»ΡΠ½ΠΎΠ³ΠΎ ΠΎΡΡΠΆΠΈΡ. ΠΡΠ½ΠΎΠ²Π½ΡΠΌΠΈ ΡΡΠ΅Π±ΠΎΠ²Π°Π½ΠΈΡΠΌΠΈ, ΠΊΠΎΡΠΎΡΡΠΌ ΠΎΠ½ Π΄ΠΎΠ»ΠΆΠ΅Π½ Π±ΡΠ» ΠΎΡΠ²Π΅ΡΠ°ΡΡ ΡΠ²Π»ΡΠ»ΠΈΡΡ: ΠΌΠ°ΠΊΡΠΈΠΌΠ°Π»ΡΠ½ΠΎ Π²ΠΎΠ·ΠΌΠΎΠΆΠ½ΠΎΠ΅ ΠΏΠΎΠ»Π΅ Π·ΡΠ΅Π½ΠΈΡ, Π»Π΅Π³ΠΊΠ°Ρ ΡΡΡΠ°Π½ΠΎΠ²ΠΊΠ° Π½Π° ΠΎΡΡΠΆΠΈΠ΅ ΠΈ ΠΏΡΠΎΡΠ½ΠΎΡΡΡ ΠΊΠΎΠ½ΡΡΡΡΠΊΡΠΈΠΈ, ΠΎΠ±Π΅ΡΠΏΠ΅ΡΠΈΠ²Π°ΡΡΠ°Ρ ΠΏΠ΅ΡΠ΅Π½ΠΎΡΠΈΠΌΠΎΡΡΡ ΠΎΡΠ΄Π°ΡΠΈ ΡΡΠΆΠ΅ΠΉ 10 ΠΈ 12 ΠΊΠ°Π»ΠΈΠ±ΡΠΎΠ². ΠΠ°Π±Ρ ΠΎΠ±Π΅ΡΠΏΠ΅ΡΠΈΡΡ Π²ΡΠΏΠΎΠ»Π½Π΅Π½ΠΈΠ΅ ΡΡΠΈΡ ΡΡΠ΅Π±ΠΎΠ²Π°Π½ΠΈΠΉ Π±ΡΠ» ΠΏΠΎΠ΄ΠΎΠ±ΡΠ°Π½ ΡΠ°Π·ΠΌΠ΅Ρ ΠΈ ΡΠΎΡΠΌΠ° Π»ΠΈΠ½Π·Ρ, ΠΌΠ°ΡΠ΅ΡΠΈΠ°Π» ΠΈΠ·Π³ΠΎΡΠΎΠ²Π»Π΅Π½ΠΈΡ ΠΈ ΡΠΎΡΠ½ΠΎΡΡΡ ΠΎΠ±ΡΠ°Π±ΠΎΡΠΊΠΈ ΠΈ ΡΠΎΠΏΡΡΠΆΠ΅Π½ΠΈΡ Π²ΡΠ΅Ρ Π΄Π΅ΡΠ°Π»Π΅ΠΉ. ΠΠ°ΡΠ΅ΡΡΠ²ΠΎ ΠΌΠ°ΡΠ΅ΡΠΈΠ°Π»ΠΎΠ² ΠΈ Π²ΡΡΠΎΠΊΠΈΠΉ ΡΡΠΎΠ²Π΅Π½Ρ ΠΏΡΠΎΠΈΠ·Π²ΠΎΠ΄ΡΡΠ²Π° Π±ΡΠ»ΠΈ ΠΏΠΎΡΡΠ°Π²Π»Π΅Π½Ρ Π²ΠΎ Π³Π»Π°Π²Ρ ΡΠ³Π»Π°. ΠΡΠΎ Π΄Π°Π»ΠΎ ΠΈΠ·Π΄Π΅Π»ΠΈΡ Π½Π΅ΠΎΠ±Ρ ΠΎΠ΄ΠΈΠΌΡΡ ΡΡΠΎΠΉΠΊΠΎΡΡΡ ΠΊ ΠΎΡΠ΄Π°ΡΠ΅ ΠΈ Π²ΠΎΠ·ΠΌΠΎΠΆΠ½ΠΎΡΡΡ Π²ΡΠΏΠΎΠ»Π½ΡΡΡ ΡΡΠ½ΠΊΡΠΈΠΈ, ΠΊΠΎΡΠΎΡΡΠ΅ ΡΡΠ΅Π±ΠΎΠ²Π°Π»ΠΈ ΠΏΠ΅ΡΡΠΏΠ΅ΠΊΡΠΈΠ²Π½ΡΠ΅ Π·Π°ΠΊΠ°Π·ΡΠΈΠΊΠΈ-ΠΎΡ ΠΎΡΠ½ΠΈΠΊΠΈ. ΠΠ»Π°Π²Π½ΠΎΠΉ ΠΎΡΠ»ΠΈΡΠΈΡΠ΅Π»ΡΠ½ΠΎΠΉ Π΄Π΅ΡΠ°Π»ΡΡ, ΠΊΠΎΡΠΎΡΠ°Ρ ΠΏΠΎ ΡΠ΅ΠΉ Π΄Π΅Π½Ρ ΠΎΡΡ
kiddyclub.ru
ΠΠΎΠ»Π»ΠΈΠΌΠ°ΡΠΎΡΠ½ΡΠ΅ ΠΏΡΠΈΡΠ΅Π»Ρ. Π‘Π‘Π‘Π . β Π£Π±Π΅ΠΆΠΈΡΠ΅ β8 β Π²ΡΠΆΠΈΠ²Π°Π½ΠΈΠ΅, ΠΈΡΡΠΎΡΠΈΡ, ΠΎΠ±ΡΡΠ΅Π½ΠΈΠ΅ ΠΈ ΡΠ°ΠΊΡΠΈΠΊΠ°
ΠΡΠ΅ΡΠ΅Π΄Π½Π°Ρ ΡΠ°ΡΡΡ ΠΈΠ· ΡΠΈΠΊΠ»Π° ΠΏΡΠΎ ΠΊΠΎΠ»Π»ΠΈΠΌΠ°ΡΠΎΡΠ½ΡΠ΅ ΠΏΡΠΈΡΠ΅Π»Ρ ΠΌΠΎΠ΅Π³ΠΎ ΠΏΡΠΈΡΡΠ΅Π»Ρ http://solikama.livejournal.com
Π‘ΠΎΠ²Π΅ΡΡΠΊΠΈΠΉ Π‘ΠΎΡΠ· Π±ΡΠ» ΠΎΠ΄Π½ΠΎΠΉ ΠΈΠ· ΡΡΡΠ°Π½ Π² ΠΊΠΎΡΠΎΡΠΎΠΉ ΡΡΠΏΠ΅ΡΠ½ΠΎ ΡΠ°Π·ΡΠ°Π±Π°ΡΡΠ²Π°Π»ΠΈ, ΡΠΎΠ²Π΅ΡΡΠ΅Π½ΡΡΠ²ΠΎΠ²Π°Π»ΠΈ ΠΊΠΎΠ»Π»ΠΈΠΌΠ°ΡΠΎΡΠ½ΡΠ΅ ΠΏΡΠΈΡΠ΅Π»Ρ ΠΈ ΠΏΡΠΈΠ½ΠΈΠΌΠ°Π»ΠΈ ΠΈΡ Π½Π° Π²ΠΎΠΎΡΡΠΆΠ΅Π½ΠΈΠ΅. Π ΠΏΠ΅ΡΠ²ΡΡ ΠΎΡΠ΅ΡΠ΅Π΄Ρ ΠΊΠΎΠ»Π»ΠΈΠΌΠ°ΡΠΎΡΡ Π±ΡΠ°Π»ΠΈΡΡ Π½Π° Π²ΠΎΠΎΡΡΠΆΠ΅Π½ΠΈΠ΅ Π² Π°Π²ΠΈΠ°ΡΠΈΠΈ, Π·Π°ΡΠ΅ΠΌ Π°ΡΡΠΈΠ»Π»Π΅ΡΠΈΠΈ: ΡΡΡΠ°Π½Π°Π²Π»ΠΈΠ²Π°Π»ΠΈΡΡ Π½Π° ΠΌΠΈΠ½ΠΎΠΌΠ΅ΡΡ, Ρ ΡΠ΅ΡΠ΅Π΄ΠΈΠ½Ρ 20-Π³ΠΎ Π²Π΅ΠΊΠ° ΠΈ Π½Π° Π³Π°ΡΠ±ΠΈΡΡ, Π° ΡΠ°ΠΊ ΠΆΠ΅ ΠΏΡΠΈΠΌΠ΅Π½ΡΠ»ΠΈΡΡ Π² Π·Π΅Π½ΠΈΡΠ½ΡΡ ΡΡΡΠ°Π½ΠΎΠ²ΠΊΠ°Ρ .
ΠΠ²ΠΈΠ°ΡΠΈΡ.
ΠΠ΄Π½ΠΈΠΌ ΠΈΠ· ΠΏΠ΅ΡΠ²ΡΡ
Π°Π²ΠΈΠ°ΡΠΈΠΎΠ½Π½ΡΡ
ΠΊΠΎΠ»Π»ΠΈΠΌΠ°ΡΠΎΡΠ½ΡΡ
ΠΏΡΠΈΡΠ΅Π»ΠΎΠ² Π±ΡΠ» ΠΏΡΠΈΡΠ΅Π» ΠΠΠ-1.

ΠΠΠ-1 Π½Π° ΠΈΡΡΡΠ΅Π±ΠΈΡΠ΅Π»Π΅ Π-16, 1936Π³.

ΠΠ°Π»ΡΡΠ΅ ΠΏΠΎΡΠ²ΠΈΠ»ΡΡ ΠΏΡΠΈΡΠ΅Π» ΠΠΠ-1.

ΠΠΎΡΠΎΡΡΠΉ ΡΡΡΠ°Π½Π°Π²Π»ΠΈΠ²Π°Π»ΡΡ Π½Π° ΡΡΡΡΠΌΠΎΠ²ΠΈΠΊΠ°Ρ ΠΠ»-2.

ΠΡΠΈΡΠ΅Π»ΡΠ½Π°Ρ ΡΠ΅ΡΠΊΠ° ΠΠΠ-1 ΠΏΠΎΠ΄ΡΠ²Π΅ΡΠ΅Π½Π½Π°Ρ ΠΊΡΠ°ΡΠ½ΡΠΌ ΡΠ²Π΅ΡΠΎΠ΄ΠΈΠΎΠ΄ΠΎΠΌ, Π² ΠΎΡΠΈΠ³ΠΈΠ½Π°Π»Π΅ Π»Π°ΠΌΠΏΠΎΠΉ Π½Π°ΠΊΠ°Π»ΠΈΠ²Π°Π½ΠΈΡ ΠΈ ΡΠΎΠΎΡΠ²Π΅ΡΡΡΠ²Π΅Π½Π½ΠΎ Π΄ΠΎΠ»ΠΆΠ½Π° Π±ΡΡΡ ΠΆΠ΅Π»ΡΠΎΠ³ΠΎ ΡΠ²Π΅ΡΠ°.

ΠΠΎΠ·ΠΆΠ΅ ΡΠ°Π·ΡΠ°Π±Π°ΡΡΠ²Π°Π»ΠΈΡΡ Π΄ΡΡΠ³ΠΈΠ΅ ΠΠ, Π½ΠΎ ΠΏΡΠΈΠ½ΡΠΈΠΏΠΈΠ°Π»ΡΠ½Π°Ρ ΡΡ Π΅ΠΌΠ° Π°Π²ΠΈΠ°ΡΠΈΠΎΠ½Π½ΠΎΠ³ΠΎ ΠΏΡΠΈΡΠ΅Π»Π° ΠΎΡΡΠ°Π»Π°ΡΡ ΠΏΡΠ΅ΠΆΠ½Π΅ΠΉ.

ΠΡΡΠΈΠ»Π»Π΅ΡΠΈΡ.
Π‘Π»Π΅Π΄ΡΡΡΠ°Ρ ΠΎΠ±Π»Π°ΡΡΡ Π²ΠΎΠ΅Π½Π½ΠΎΠ³ΠΎ ΠΏΡΠΈΠΌΠ΅Π½Π΅Π½ΠΈΡ ΠΊΠΎΠ»Π»ΠΈΠΌΠ°ΡΠΎΡΠ½ΡΡ
ΠΏΡΠΈΡΠ΅Π»ΠΎΠ² β Π°ΡΡΠΈΠ»Π»Π΅ΡΠΈΡ, ΠΈΠ·Π½Π°ΡΠ°Π»ΡΠ½ΠΎ Π² 30-40 Π³ΠΎΠ΄Π°Ρ
ΠΊΠΎΠ»Π»ΠΈΠΌΠ°ΡΠΎΡΡ ΠΏΡΠΈΠΌΠ΅Π½ΡΠ»ΠΈΡΡ Π² ΠΌΠΈΠ½ΠΎΠΌΠ΅ΡΠ½ΡΡ
ΠΏΡΠΈΡΠ΅Π»Π°Ρ
, ΡΡΠΎ Π±ΡΠ»ΠΈ: ΠΠ-82,ΠΠ-41
ΠΡΠΈΡΠ΅Π»Π° ΠΠ-82

ΠΠΎΠ»Π»ΠΈΠΌΠ°ΡΠΎΡ ΡΠ°ΡΠΏΠΎΠ»ΠΎΠΆΠ΅Π½ Π½Π° Π²ΡΠ°ΡΠ°ΡΡΠ΅ΠΉΡΡ ΠΊΡΡΡΠΊΠ΅ ΡΠ³Π»ΠΎΠΌΠ΅ΡΠ½ΠΎΠ³ΠΎ ΠΌΠ΅Ρ
Π°Π½ΠΈΠ·ΠΌΠ°.
Π’Π°ΠΊΠΈΠΌ ΠΎΠ±ΡΠ°Π·ΠΎΠΌ , ΠΊΠΎΠ»Π»ΠΈΠΌΠ°ΡΠΎΡ, ΡΠ³Π»ΠΎΠΌΠ΅ΡΠ½ΡΠΉ ΠΌΠ΅Ρ
Π°Π½ΠΈΠ·ΠΌ ΠΈ ΠΏΡΠΈΡΠ΅Π» ΠΏΡΠ΅Π΄ΡΡΠ°Π²Π»ΡΡΡ ΡΠΎΠ±ΠΎΠΉ ΠΎΠ΄Π½ΠΎ ΡΠ΅Π»ΠΎΠ΅. ΠΠΎΠ»Π»ΠΈΠΌΠ°ΡΠΎΡ ΠΈ ΡΠ³Π»ΠΎΠΌΠ΅ΡΠ½ΡΠΉ ΠΌΠ΅Ρ
Π°Π½ΠΈΠ·ΠΌ, Π²ΠΌΠ΅ΡΡΠ΅ Π²Π·ΡΡΡΠ΅, ΠΏΡΠ΅Π΄ΡΡΠ°Π²Π»ΡΡΡ ΡΠΎΠ±ΠΎΠΉ ΡΠΏΡΠΎΡΠ΅Π½Π½ΡΡ ΠΏΠ°Π½ΠΎΡΠ°ΠΌΡ, ΠΊΠΎΡΠΎΡΠ°Ρ ΡΠ»ΡΠΆΠΈΡ Π΄Π»Ρ Π½Π°Π²ΠΎΠ΄ΠΊΠΈ ΠΌΠΈΠ½ΠΎΠΌΠ΅ΡΠ° Π² ΡΠ΅Π»Ρ.
ΠΠΎΠ»Π»ΠΈΠΌΠ°ΡΠΎΡ ΡΠ»ΡΠΆΠΈΡ Π΄Π»Ρ Π²ΠΈΠ·ΠΈΡΠΎΠ²Π°Π½ΠΈΡ Π² ΡΠΎΡΠΊΡ Π½Π°Π²ΠΎΠ΄ΠΊΠΈ. Π‘ΠΎΡΡΠΎΠΈΡ ΠΎΠ½ ΠΈΠ· ΠΎΠ±ΡΠ΅ΠΊΡΠΈΠ²Π°, ΡΠΊΠ»Π΅Π΅Π½Π½ΠΎΠ³ΠΎ ΠΈΠ· Π΄Π²ΡΡ
Π»ΠΈΠ½Π· 1 ΠΈ 1Π°. Π ΡΠΎΠΊΡΡΠ΅ ΠΎΠ±ΡΠ΅ΠΊΡΠΈΠ²Π° ΡΡΡΠ°Π½ΠΎΠ²Π»Π΅Π½Π° ΠΏΠ»ΠΎΡΠΊΠΎ-ΠΏΠ°ΡΠ°Π»Π»Π΅Π»ΡΠ½Π°Ρ ΠΏΠ»Π°ΡΡΠΈΠ½ΠΊΠ° 2 ΡΠΎ ΡΠ²Π΅ΡΠΎΠ²ΠΎΠΉ ΡΠ΅Π»ΡΡ. Π‘Π²Π΅ΡΠΎΠ²Π°Ρ ΡΠ΅Π»Ρ ΠΏΡΠ΅Π΄ΡΡΠ°Π²Π»ΡΠ΅Ρ ΡΠΎΠ±ΠΎΡ ΠΏΡΠΎΡΠ΅Π·Ρ Π² ΡΠ»ΠΎΠ΅ ΡΠ΅ΡΠ΅Π±ΡΠ°, ΠΏΠΎΠΊΡΡΠ²Π°ΡΡΠ΅ΠΌ ΠΏΠ»ΠΎΡΠΊΠΎΡΡΡ ΠΏΠ»Π°ΡΡΠΈΠ½ΠΊΠΈ ΡΠΎ ΡΡΠΎΡΠΎΠ½Ρ ΠΎΠ±ΡΠ΅ΠΊΡΠΈΠ²Π° ΡΠΈΡΠΈΠ½ΠΎΠΉ 0,05 ΠΌΠΌ.
ΠΠΈΠ΄ ΠΊΠΎΠ»Π»ΠΈΠΌΠ°ΡΠΎΡΠ°

ΠΡΠΈΡΠ΅Π» ΠΠ-41



ΠΠΎΠ·ΠΆΠ΅ ΠΊΠΎΠ»Π»ΠΈΠΌΠ°ΡΠΎΡΠ½ΡΠ΅ ΠΏΡΠΈΡΠ΅Π»Ρ Π½Π° ΠΌΠΈΠ½ΠΎΠΌΠ΅ΡΠ°Ρ
Π·Π°ΠΌΠ΅Π½ΠΈΠ»ΠΈ ΠΎΠΏΡΠΈΡΠ΅ΡΠΊΠΈΠΌΠΈ, ΠΊΠΎΡΠΎΡΡΠ΅ Π±ΡΠ»ΠΈ Π±ΠΎΠ»Π΅Π΅ ΡΠ΄ΠΎΠ±Π½Ρ.
Π ΡΠ΅ΡΠ΅Π΄ΠΈΠ½Π΅ 20-Π³ΠΎ Π²Π΅ΠΊΠ° ΠΊ Π°ΡΡΠΈΠ»Π»Π΅ΡΠΈΠΉΡΠΊΠΈΠΌ ΠΏΠ°Π½ΠΎΡΠ°ΠΌΠ½ΡΠΌ ΠΏΡΠΈΡΠ΅Π»Π°ΠΌ Π΄ΠΎΠ±Π°Π²ΠΈΠ»ΠΈ ΠΊΠΎΠ»Π»ΠΈΠΌΠ°ΡΠΎΡΠ½ΡΠΉ.
ΠΡΠΈΡΠ΅Π» Π-1

ΠΡΡΠ΄ΠΈΠΉΠ½ΡΠΉ ΠΊΠΎΠ»Π»ΠΈΠΌΠ°ΡΠΎΡ Π-1 ΠΏΡΠ΅Π΄Π½Π°Π·Π½Π°ΡΠ΅Π½ Π΄Π»Ρ Π³ΠΎΡΠΈΠ·ΠΎΠ½ΡΠ°Π»ΡΠ½ΠΎΠΉ Π½Π°Π²ΠΎΠ΄ΠΊΠΈ ΠΎΡΡΠ΄ΠΈΡ (ΠΌΠΈΠ½ΠΎΠΌΠ΅ΡΠ°) ΠΏΡΠΈ ΠΎΡΡΡΡΡΡΠ²ΠΈΠΈ Π΅ΡΡΠ΅ΡΡΠ²Π΅Π½Π½ΡΡ ΡΠ΄Π°Π»Π΅Π½Π½ΡΡ ΡΠΎΡΠ΅ΠΊ Π½Π°Π²ΠΎΠ΄ΠΊΠΈ, Π° ΡΠ°ΠΊΠΆΠ΅ Π² ΡΡΠ»ΠΎΠ²ΠΈΡΡ ΠΏΠ»ΠΎΡ ΠΎΠΉ Π²ΠΈΠ΄ΠΈΠΌΠΎΡΡΠΈ ΠΈΡ . Π-1 ΠΏΡΠΈΠΌΠ΅Π½ΡΠ΅ΡΡΡ Π΄Π»Ρ ΠΎΡΡΠ΄ΠΈΠΉ Π½Π°Π·Π΅ΠΌΠ½ΠΎΠΉ Π°ΡΡΠΈΠ»Π»Π΅ΡΠΈΠΈ ΠΈ ΠΌΠΈΠ½ΠΎΠΌΠ΅ΡΠΎΠ². ΠΠ°ΠΆΠ΄ΠΎΠΌΡ ΠΎΡΡΠ΄ΠΈΡ (ΠΌΠΈΠ½ΠΎΠΌΠ΅ΡΡ) ΠΏΡΠΈΠ΄Π°Π΅ΡΡΡ ΠΎΠ΄ΠΈΠ½ Π-1. Π-1 ΠΌΠΎΠΆΠ΅Ρ ΠΏΡΠΈΠΌΠ΅Π½ΡΡΡΡΡ ΡΠΎΠ»ΡΠΊΠΎ ΡΠΎΠ²ΠΌΠ΅ΡΡΠ½ΠΎ Ρ ΠΏΠ°Π½ΠΎΡΠ°ΠΌΠΎΠΉ ΠΠ-1 Π½Π° ΠΎΡΡΠ΄ΠΈΡΡ ΠΈ Ρ ΠΏΡΠΈΡΠ΅Π»Π°ΠΌΠΈ ΠΠ-46Π ΠΈΠ»ΠΈ ΠΠΠ-44Π Π½Π° ΠΌΠΈΠ½ΠΎΠΌΠ΅ΡΠ°Ρ . ΠΡΠΈ ΡΠ°Π±ΠΎΡΠ΅ Ρ Π-1 Π΄Π½Π΅ΠΌ Π΄Π»Ρ ΠΏΠΎΠ΄ΡΠ²Π΅ΡΠΊΠΈ ΡΠ΅ΡΠΊΠΈ ΠΈΡΠΏΠΎΠ»ΡΠ·ΡΠ΅ΡΡΡ Π΅ΡΡΠ΅ΡΡΠ²Π΅Π½Π½ΠΎΠ΅ ΠΎΡΠ²Π΅ΡΠ΅Π½ΠΈΠ΅, Π° Π² ΡΡΠ»ΠΎΠ²ΠΈΡΡ ΠΏΠ»ΠΎΡ ΠΎΠΉ Π²ΠΈΠ΄ΠΈΠΌΠΎΡΡΠΈ Π°ΠΊΠΊΡΠΌΡΠ»ΡΡΠΎΡΠ½Π°Ρ Π±Π°ΡΠ°ΡΠ΅Ρ.
ΠΠ΅Π½ΠΈΡΠ½ΡΠ΅ ΡΡΡΠ°Π½ΠΎΠ²ΠΊΠΈ.
Π ΠΊΠΎΠ½ΡΠ΅ 30-Ρ
Π³ΠΎΠ΄ΠΎΠ² 20-Π³ΠΎ Π²Π΅ΠΊΠ° Π²ΠΎΠ΅Π½Π½ΡΠ΅ ΠΊΠΎΠ½ΡΡΡΡΠΊΡΠΎΡΡ ΠΏΡΠΈΡΠ»ΠΈ ΠΊ Π²ΡΠ²ΠΎΠ΄Ρ, ΡΡΠΎ Π² ΡΠΊΠΎΡΠΎΡΡΡΠ΅Π»ΡΠ½ΡΡ
ΠΌΠ°Π»ΠΎΠΊΠ°Π»ΠΈΠ±Π΅ΡΠ½ΡΡ
Π·Π΅Π½ΠΈΡΠ½ΡΡ
ΡΡΡΠ°Π½ΠΎΠ²ΠΊΠ°Ρ
ΡΠ΅Π»Π΅ΡΠΎΠΎΠ±ΡΠ°Π·Π½ΠΎ ΡΠ°ΠΊΠΊΡΡΡΠ½ΡΠ΅ ΠΏΡΠΈΡΠ΅Π»Ρ Π·Π°ΠΌΠ΅Π½ΡΡΡ Π½Π° ΠΊΠΎΠ»Π»ΠΈΠΌΠ°ΡΠΎΡΠ½ΡΠ΅, ΠΎΠ΄Π½Π°ΠΊΠΎ Π²ΠΎΠΉΠ½Π° Π²Π½Π΅ΡΠ»Π° ΡΠ²ΠΎΠΈ ΠΊΠΎΡΡΠ΅ΠΊΡΠΈΠ²Ρ. ΠΠΎΠ»Π»ΠΈΠΌΠ°ΡΠΎΡΠ½ΡΠ΅ ΠΏΡΠΈΡΠ΅Π»Ρ ΡΡΠ°Π»ΠΈ ΡΠΈΡΠΎΠΊΠΎ ΠΏΡΠΈΠΌΠ΅Π½ΡΡΡΡ Π² Π·Π΅Π½ΠΈΡΠ½ΡΡ
ΡΡΡΠ°Π½ΠΎΠ²ΠΊΠ°Ρ
ΠΏΠΎΡΠ»Π΅ Π²ΠΎΠΉΠ½Ρ.
ΠΠΠ£-2 (ΠΎΠ±Ρ. 1944Π³.)

Π ΠΊΠ°ΡΠ΅ΡΡΠ²Π΅ ΠΏΡΠΈΡΠ΅Π»Π° ΠΠΠ£-2 ΠΈΡΠΏΠΎΠ»ΡΠ·ΠΎΠ²Π°Π»ΡΡ ΠΊΠΎΠ»Π»ΠΈΠΌΠ°ΡΠΎΡΠ½ΡΠΉ ΠΏΡΠΈΡΠ΅Π» Π10Π’.


ΠΠΠ£-1 (ΠΎΠ±Ρ. 1948Π³.)

Π ΠΠΠ£-1 ΠΈΡΠΏΠΎΠ»ΡΠ·ΠΎΠ²Π°Π»ΡΡ ΡΠΆΠ΅ Π±ΠΎΠ»Π΅Π΅ ΡΠΎΠ²Π΅ΡΡΠ΅Π½Π½ΡΠΉ ΠΏΡΠΈΡΠ΅Π» ΠΠ-4(Π).



Π¨ΠΊΠ°Π»Π° ΠΏΡΠΈΡΠ΅Π»ΠΎΠ² ΠΠ-4 ΠΈ ΠΠ-4Π.

Π‘ΡΡΠ΅Π»ΡΠ±Π° ΠΈΠ· ΡΠ°Π½ΠΊΠΎΠ²ΡΡ Π·Π΅Π½ΠΈΡΠ½ΡΡ ΠΏΡΠ»Π΅ΠΌΠ΅ΡΠΎΠ² ΠΠ¨ΠΠ ΠΈ ΠΠΠΠ’ Π²Π΅Π»Π°ΡΡ Ρ ΠΏΠΎΠΌΠΎΡΡΡ ΠΊΠΎΠ»Π»ΠΈΠΌΠ°ΡΠΎΡΠ½ΡΡ ΠΏΡΠΈΡΠ΅Π»ΠΎΠ² Π10-Π’ ΠΈ ΠΠ-4 ΡΠΎΠΎΡΠ²Π΅ΡΡΡΠ²Π΅Π½Π½ΠΎ.
ΠΠ£-23-2

ΠΠ£-23-2 ΠΈΡΠΏΠΎΠ»ΡΠ·ΡΠ΅Ρ ΠΏΡΠΈΡΠ΅Π» ΠΠΠ-23.

Π ΡΠΎΡΡΠ°Π²Π΅ ΠΊΠΎΡΠΎΡΠΎΠ³ΠΎ Π½Π°Ρ ΠΎΠ΄ΡΡΡΡ ΠΎΠΏΡΠΈΡΠ΅ΡΠΊΠΈΠΉ ΠΈ ΠΊΠΎΠ»Π»ΠΈΠΌΠ°ΡΠΎΡΠ½ΡΠΉ ΠΏΡΠΈΡΠ΅Π»Ρ.



ΠΠ½Π΅ Π·Π°Π²ΠΈΡΠΈΠΌΠΎΡΡΠΈ ΠΎΡ Π²ΠΈΠ΄Π° ΠΊΠΎΠ»Π»ΠΈΠΌΠ°ΡΠΎΡΠ½ΡΡ ΠΏΡΠΈΡΠ΅Π»ΠΎΠ², Π°Π²ΠΈΠ°ΡΠΈΠΎΠ½Π½ΡΡ , Π·Π΅Π½ΠΈΡΠ½ΡΡ , ΠΈΡΠΏΠΎΠ»ΡΠ·ΠΎΠ²Π°Π»Π°ΡΡ ΠΎΠ΄Π½Π° ΡΡ Π΅ΠΌΠ°.

ΠΠ°Π΄ΠΎ ΠΎΡΠΌΠ΅ΡΠΈΡΡ, ΡΡΠΎ Π² Π‘Π‘Π‘Π ΡΠΈΡΠΎΠΊΠΎ ΠΏΡΠΈΠΌΠ΅Π½ΡΠ»ΠΈ ΠΊΠΎΠ»Π»ΠΈΠΌΠ°ΡΠΎΡΠ½ΡΠ΅ ΠΏΡΠΈΡΠ΅Π»Ρ, ΠΎΠ½ΠΈ ΠΏΠΎΡΡΠΎΡΠ½Π½ΠΎ ΡΠ°Π·Π²ΠΈΠ²Π°Π»ΠΈΡΡ ΠΈ ΡΠΎΠ²Π΅ΡΡΠ΅Π½ΡΡΠ²ΠΎΠ²Π°Π»ΠΈΡΡ, Π½ΠΎ ΡΡΠΎ ΠΊΠ°ΡΠ°Π»ΠΎΡΡ Π² ΠΏΠ΅ΡΠ²ΡΡ Π°Π²ΠΈΠ°ΡΠΈΠΈ, ΠΠΠ ΠΈ Π°ΡΡΠΈΠ»Π»Π΅ΡΠΈΠΈ. Π‘ ΠΊΠΎΠ»Π»ΠΈΠΌΠ°ΡΠΎΡΠ½ΡΠΌΠΈ ΠΏΡΠΈΡΠ΅Π»Π°ΠΌΠΈ Π΄Π»Ρ ΡΡΡΠ΅Π»ΠΊΠΎΠ²ΠΎΠ³ΠΎ ΠΎΡΡΠΆΠΈΡ Π΄Π΅Π»Π° ΠΎΠ±ΡΡΠΎΡΠ»ΠΈ Π½Π΅ ΡΠ°ΠΊ Ρ ΠΎΡΠΎΡΠΎ.
ΠΡΠΎΠ΄ΠΎΠ»ΠΆΠ΅Π½ΠΈΠ΅ ΡΠ»Π΅Π΄ΡΠ΅Ρβ¦
Β
vault8.pro
