ТТХ пожарного Зила-131? — Полезная информация для всех
Такая нужная модель машины, как Зил-131 имеет следующие основные параметры или показатели ТТХ.
Следует отметить, что данная машина крайне полезна при любой степени пожара, поскольку может, как
так и являться своего рода резервуаром, то есть
Пожарный ЗИЛ-131 технические характеристики автомобиля такие:
Более подробную информацию о АВТОЦИСТЕРНА ПОЖАРНАЯ АЦ-40(131)-137 можно найти, например, здесь: http://npcspasop.ru/Content/Imedg%20PA/ac-40.html
Очнь много технических параметров для лестницы, цистерны
Например, ТТХ автоцистерны ЗИЛ 131
А для автолестницы тоже имеются свои технические параметры и в скорости они к примеру одинаковые с автоцистерной.

Модель грузовика Зил-131 имеет довольно скромные скромные технические характеристики.У него всего 134 лошадиные силы в двигателе, всего 6 человек могут одновременно двигаться в автомобиле, ее вес 10280 кг, радует шасси оно полноприводное, производительность насоса 40 л/c.
На базе шасси Зил-131 на данный момент в пожарной техники комплектуются два вида автоцистерн — это АЦ-3,0-40(131) и М9-АР-01. У автоцистерн свои характеристики, а шасси Зил-131 имеют такие технические параметры:


Техические характеристики Зил-131 такие: вес составляет 10281 кг,кабина у него сдвоенная, шасси полноприводное, далее двигатель всего 150 л.с., мест внутри на 6 человек, высота всасывания у него 7.5 метров, а вот скорость максимальная 80 километров в час.
Сложный однако вопрос. Те кто в этом разбираются без особых раздумий Вам ответят
А те кто не разбираются — могут обратиться за помощью к интернету
Масса — 10280 кг
Сдвоенная Кабина
Свыше 100 лошадиных сил
В машине может находиться не больше 6 человек (хотя где то в интернете пишут что можно и до 8 человек)
Плюс наличие сирены и шланга
Более подробно про остальные характеристики читайте здесь
модель-ПН-40Ув
тип-центрабежный одноступенчатый
подача-40л,с в сек.
напор-100м
частота вращения оборотов в менуту-2700
Вместимость 2400 л. воды
пенообразоватиля-170л
Сигнал тривоги-Газовая или Электрическая сирена
Лафетный Ствол модель-ПЛС-П20
расход воды 19 литров в сек.
Если вы хотите узнать технические характеристики такой пожарной машины, как Зила-131, то вы можете посмотреть е на картинке:
Также следует упомянуть, что мотор имеет мощность на бензине 134 лошадиные силы.
Пожарный ЗИЛ-131 имеет такие технические характеристики:
привод 6Х6, моторы: бензин(134 лошадиные силы) и дизель(150 лошадиных сил).
Цистерны ставят разные в зависимости от модификации — от 2000 и до 3000 литров, насос пожарный — в среднем дает около 50 литров в секунду. Вместительность бака для пены — около 200 литров.
info-4all.ru
преимущества, технические характеристики, разновидности автоцистерны
Пожарные автоцистерны выходят на основе самых различных серийных автомобилей. На их платформу на конвейере спецпредприятий устанавливается спецоборудование и необходимые инструменты. Однако самое широкое распространение в России получили шасси героя нашего рассказа — грузовика ЗИЛ.

Преимущества пожарного ЗИЛа
Итак, почему же на обеспечении в пожарных расчетах стоит именно ЗИЛ:
- Автомобиль очень неприхотлив как в эксплуатации, так и в обслуживании.
- Машину можно использовать в самых разных погодных и климатических условиях.
- Пожарный ЗИЛ — весьма маневренный транспорт, что помогает поставить его в удобном для тушения месте.
- Если сравнивать с другими автомобилями подобного класса, то сходу можно отметить компактность ЗИЛа. Отчего машина может заезжать даже в относительно узкие пространства.
- Неприхотливость к типу и качеству заливаемого топлива. Доступны как бензиновые, так и дизельные вариации, которые возможно заменить на газобаллонное оборудование. Последнее предполагает большую экономию на обслуживании этого служебного транспорта.
- Запчасти, как и ремонт этого авто — сравнительно незначительные растраты. Более того, починка ЗИЛа не требует обращения в специализированные сервисные центры — в большинстве случаев с ней справляется и штатная бригада автомехаников.
- Разумное сочетание стоимости и качества, что не получается сказать о многих остальных пожарных машинах.
- Продуманная конструкция шасси, адаптированная к работе в реальных условиях.
Средние технические характеристики
Самыми востребованными пожарными машинами ЗИЛ считаются модели:

Познакомимся поближе с техническими характеристиками спецтранспорта в таблице. Для примера будем использовать классику модельного ряда ЗИЛ-130 (пожарный) — А-40 (131).
| Общие данные | |
| Тип платформы | ЗИЛ-131 |
| Длина/ширина/высота | 7,64/2,5/2,95 м |
| Масса | 11 т |
| Наивысшая скорость | 80 км/ч |
| Экипаж | 7 человек |
| Колесная формула | 6х6 |
| Распределение общей массы | |
| Передний мост/задняя тележка | 2,98/8,17 т |
| Лафетный ствол | |
| Наименование модели | ПЛС-П20 |
| Растрата воды | 19 л в секунду |
| Кратность пены на выходе из лафетного ствола | 6 |
| Вместимость | |
| Бака с пенообразователем | 170 л |
| Цистерны с водой | 2,4 т |
| Сигнал тревоги | |
| Сирена | Электрическая либо газовая |
| Пеносмеситель | |
| Разновидность | Эжектор водоструйный |
| Уровень производительности по пене по кратности десяти | 4,7; 9,4; 14,1; 18,8; 23,5 м3/мин. |
| Всасывающее устройство | |
| Тип | Воздушный или газоструйный эжектор |
| Наибольшая высота всасывания | 7 м |
| Временной промежуток заполнения насоса водой (при условии: высота всасывания — 7 м, длина/диаметр всасывающего рукава — 8 м/125 мм) | 55 секунд — для эжектора, 30 секунд -для вакуумного струйного насоса |
| Пожарный насос | |
| Вариация модели | ПН-40УВ |
| Тип | Одноступенчатый центробежный |
| Напор | 100 м |
| Подача | 40 л/сек. |
| Частота вращения | 2700 оборотов/мин. |
| Максимальная/контрольная высота всасывания | 7/3,5 м |
Теперь поговорим конкретно о модельных рядах пожарных ЗИЛов.
Модель 130
Самая распространенная модель этой пожарной техники — ЗИЛ 130. Было выпущено более 10 вариантов автомобиля, самым популярным из которых стал ЗИЛ 130 АЦ 40 – 63Б.
Посмотрим на отличительные черты этого модельного ряда:
- Цистерна для воды была рассчитана на 2,36 т, а бак для пенообразователя — на 170 л.
- Кабина — цельнометаллическая конструкция с четырьмя дверьми и двумя рядами посадочных мест. Предусмотрены отсеки для хранения оборудования.
- Центробежный насос с одноступенчатым типом работы.
- 8-цилиндровый четырехтактный силовой агрегат с жидкой системой охлаждения.
- Шасси — лонжеронная рама, усиленная специальными вставками.
- Рессоры и телескопические амортизаторы в подвеске.

Модель 131
Разработанная в 1968 г., эта серия тоже была довольно популярной — выпускалась в 1970-1984 гг. Имелось два исполнения — 137 и 137А.
Пройдемся по особенностям:
- Объем цистерны для воды — 2,4 т.
- Бак для пены — 150 л.
- Двигатель — 150 л.с.
- Расход топлива — 40 л/100 км.
- Уникальная система подогрева воды за счет выхлопных газов.
- Управление лафетным стволом в ручном режиме. Дальность водной струи — 60 м, пены — 50 м.
- Поворот лафетного ствола — +90… -20 градусов по вертикали.

Красно-белого цвета пожарный ЗИЛ, мчащийся на вызов или возвращающийся в гараж, наверное, видел каждый из нас. Как мы убедились по техническим характеристикам и выявленному ряду преимуществ данной машины, она еще долго будет состоять на службе у российских пожарных частей — из-за своей универсальности, неприхотливости и полного соответствия условиям выполняемой работы.
fb.ru
конструкция автомобиля и популярные модели
При тушении и локализации пожаров огромную роль играет своевременное прибытие пожарного расчета на место происшествия, а также возможность использования специфического оборудования и инструментов, которыми оснащено транспортное средство специального назначения.
Конструкция машин
Пожарные автомобили выпускаются на базе самых различных грузовых транспортных средств, которые поставлены на серийное производство. Одним из таких грузовых автомобилей является ЗИЛ.
На платформу стандартной модели устанавливается специализированное оборудование, а подобные работы осуществляются на профильных заводах и сборочных цехах. Готовая пожарная машина должна соответствовать всем требованиям, которые предъявляются для данной категории транспортных средств.
Наиболее эффективными и востребованными являются такие модели пожарных автомобилей ЗИЛ, как АЦ 2,5/40, 3/40, 3,5/40 и 4/40.
Предпочтительное использование в качестве базовой модели именно автомобилей марки ЗИЛ обусловлено неприхотливостью в использовании и обслуживании этих транспортных средств.
Их технические характеристики максимально адаптированы к эксплуатации в различных условиях, а маневренность грузового транспорта марки ЗИЛ позволяет выбрать наиболее подходящее положение автомобиля при тушении пожара.
Компактные габариты пожарного автомобиля ЗИЛ, по сравнению с другими марками грузовых транспортных средств, позволяют успешно использовать его при тушении пожаров в городских условиях даже при относительном дефиците пространства.

Среди дополнительных преимуществ пожарных машин марки ЗИЛ стоит отметить их неприхотливость к качеству или типу топлива. Более того, помимо дизельных версий доступны и бензиновые варианты силовых агрегатов автомобилей этих марок, которые при незначительных вложениях могут быть оборудованы газобаллонным оборудованием.
Такая модернизация позволит существенно сократить расходы на обслуживание пожарной техники, при условии монтажа ГБО на специализированных и сертифицированных станциях.
Также эти транспортные средства прекрасно зарекомендовали себя при эксплуатации в различных климатических условиях. Ремонт, как и запасные части к машине, относительно недороги, а для обслуживания не требуется обращаться в специальные сервисные центры. Многие работы по ремонту и обслуживанию пожарных автомобилей ЗИЛ выполняются силами штатных механиков.
ЗИЛ 130
Самым распространенным пожарным автомобилем можно по праву считать специализированное транспортное средство на базе модели ЗИЛ 130. Стоит отметить, что всего было выпущено и переоборудовано различными инженерными предприятиями порядка 10 вариантов этих автомобилей.
Наиболее популярной была модель пожарного автомобиля ЗИЛ 130 АЦ 40 – 63Б. Это транспортное средство предназначалось для доставки к месту тушения пожара расчета, специальных средств, а также дополнительного оборудования для оперативной локализации и устранения возгорания. В качестве основного вещества, которое применялось для тушения пожаров выступала либо вода, либо воздушно-механическое пенное вещество.
Описываемые автомобили оснащались вместительной цистерной, объем которой составляет 2360 литров, а также дополнительным баком, в который наполнялся пенообразователь в объеме 170 литров при общей массе в 187 кг.
Кабина, в которой размещается пожарный расчет, собрана в виде цельнометаллической конструкции и имеет два ряда посадочных мест. Четыре двери кабины обеспечивают быстрый выход пожарных из автомобиля. На крыше предусмотрены пеналы, где располагаются всасывающие рукава.
С каждой стороны кузова находятся металлические отсеки для размещения в них различных специализированных аксессуаров и оборудования. Кроме того, описываемый автомобиль оснащен центробежным насосом для тушения пожаров модели ПН 40УА. Насос расположен в задней части автомобиля и имеет одноступенчатый механизм работы.
Силовой агрегат у этой модели ЗИЛа оснащен 8 цилиндрами, четырехтактный с системой жидкого охлаждения. Номинальная задекларированная мощность силового агрегата этого автомобиля составляет 110 кВт.
Шасси автомобиля отличается повышенным уровнем надежности и выполнено в виде лонжеронной рамы. Сами лонжероны изготавливаются из низколегированной стали марки 30Т. Лонжероны усилены специальными вставками, которые обеспечивают целостность общей несущей конструкции при полной загруженности автомобиля.
Подвеска этой пожарной машины полностью зависима и предусматривает наличие рессор и телескопических амортизаторов. Двускатная комплектация задних колес пожарной машины ЗИЛ 130 обеспечивает устойчивое положение автомобиля и высокий уровень проходимости. Кроме этого, при использовании этого транспортного средства в сельской местности допускается установка на ведущую ось арочных шин.
Такая модернизация позволяет оперативно пребывать к месту тушения пожаров по дорогам с различным качеством и структурой поверхности. Также в подобных условиях допускается установка специальной лебедки на передний бампер автомобиля.
Механизм рулевого управления предусматривает наличие гидроусилителя. В качестве привода используется ременное соединение с коленчатым валом силового агрегата автомобиля. Тормозной механизм имеет конструкцию барабанного типа с двумя внутренними колодками для каждой из ступиц.
ЗИЛ 131
Пожарный автомобиль на базе грузового ЗИЛ 131 также считается одной из наиболее популярных и востребованных пожарных машин. Впервые эта модель была разработана в 1968 году, а серийный выпуск осуществлялся в промежуток с 1970 по 1984 год. Пожарные машины на базе ЗИЛ 131 выпускались в двух исполнениях модель 137 и модель 137А.
За весь период выпуска автомобили подвергались множеству модернизаций и усовершенствований, которые имели не только внешние отличительные черты при сравнении различных машин, но и в значительной степени улучшали эксплуатационные и операционные качества оборудования и автомобилей в целом.
Помимо тушения пожаров водой также предусмотрена возможность использования специальной пены. Цистерна для воды отличалась внушительной вместительностью, которая составляла 2400 литров.
Отдельный независимый бак для пены имеет меньший объем в отличие от предыдущей модели ЗИЛа, и составляет 150 литров. Общая масса пожарной модели ЗИЛ 131 составляет 11 тонн 50 кг.
Силовой агрегат у описываемой модели обладает мощностью в 150 л.с. или 110 кВт. Такие данные позволяют разгоняться автомобилю до максимального скоростного показателя в 80 км/ч. Расход топлива при этом составляет около 40 литров на каждые 100 км пробега.
Автомобиль оборудован уникальной системой подогрева воды, которая находится в основной цистерне. Это возможно благодаря работе системы частичного подогрева выхлопными газами. Колесная база насчитывает шесть односкатных колес, каждое из которых является ведущим.
Габаритные показатели следующие:
- общая высота пожарной машины ЗИЛ 131 составляет 2950 мм;
- длина – 7640 мм;
- ширина — 2550 мм.
При этом показатель высоты автомобиля отмечен без учета полных цистерн и баков, а также экипажа пожарной машины. Вместе с водителем кабина машины рассчитана на экипаж в количестве 7 человек.
Лафетный ствол, установленный на автомобиле, обеспечивает дальность водяной струи в 60 метров и пенной до 50 метров, при этом управление лафетным стволом осуществляется в ручном режиме. Конструкция лафетного ствола предусматривает возможность его поворота в диапазоне от -20 до + 90 градусов по вертикальной плоскости.
В изначальной комплектации описываемые пожарные автомобили комплектовались пожарными насосами марки ПН 40У. Кроме того, предусмотрена система пеносмесителя – ПС5.
Пожарный ЗИЛ 131 подвергались модернизациям и улучшениям. Так в процессе эксплуатации этих автомобилей выявлялись множество недостатков и просчетов в конструкции.
В качестве примера можно привести недостаточную жесткость волнорезов внутри рабочей цистерны или качество и принцип крепления цистерны к раме автомобиля. Во многих случаях последний недостаток являлся причиной нарушения геометрии цистерны с последующей разгерметизацией и течью.
Загрузка…Пожарная автоцистерна (6Х6) АЦ-40 (131)-137А
Пожарная автоцистерна (6Х6) АЦ-40 (131)-137А
Пожарная автоцистерна АЦ-40 (131)-137 на полноприводном шасси ЗИЛ-131 была призвана заменить предыдущую модель пожарной машины повышенной проходимости ПМЗ-27 (ЗИЛ-157).Усовершенствованная модификация АЦ-40 (131)-137А производилась в Прилуках в течение нескольких лет в середине 80-х годов. Внешне машина отличалась от базовой модели лафетным стволом без рукоятки ручного управления (ствол стал управляться из кабины водителя) и, соответственно, отсутствием люка ствольщика в крыше кабины боевого расчёта.







Полноприводная АЦ-40 (131) и её предшественник ПМЗ-27.








• Базовая модель: АЦ-40 (131)-137
• Годы выпуска: 1969–1984
• Модификация: АЦ-40 (131)-137А (1983–1985 годы)
• Расчёт: 7 человек
• Мощность двигателя: 150 л. с.
• Вместимость цистерны: 2500 л воды, 150 л пенообразователя
• Максимальная скорость: 80 км/ч
• Модель 1/43: SSM SSM1139 АЦ-40 (131), УПЧ г. Кострома
aleksey-delfinn.livejournal.com
АЦ-40 (131) мод. 137 — Википедия РУ
АЦ-40 (131) модель 137 — пожарная автоцистерна на шасси полноприводного грузового автомобиля ЗИЛ-131. Предназначена для доставки к месту пожара боевого расчёта из 7 человек, пожарного оборудования, воды и пенообразователя, а также для тушения пожара водой из цистерны, открытого водоёма или водопроводной сети, воздушно-механической пеной с использованием привезённого или забираемого из постороннего резервуара пенообразователя. Самый распространенный тип пожарного автомобиля на территории бывшего СССР, который до сих пор можно встретить практически во всех городах и сельских районах на пространстве СНГ. Силуэт именно этой машины стал настолько узнаваем, что его стилизованное изображение часто используется в пожарной атрибутике или на плакатах противопожарной пропаганды.
Машинами этого типа с начала 1970-х годов комплектовались городские и сельские пожарные части, ведомственные пожарные части, пожарные подразделения в войсковых частях, пожарно-химические станции лесной охраны, аэродромы, морские и речные порты. За счет высокой проходимости базового шасси машина получилась универсальной, способной добраться до очага пожара даже по бездорожью или в условиях снежных заносов на дорогах и во дворах. Удачной оказалась и конструкция пожарной надстройки, которая обладала сравнительно простой и ремонтопригодной (даже в условиях сельских пожарных частей) конструкцией, достаточно удачным насосом, продуманным расположением пожарного вооружения, лафетным стволом.
Были у машины и недостатки: прежде всего невысокие динамические характеристики, перегрев двигателя при работе насоса (поэтому для машин, поставляемых в жаркие регионы СССР было предусмотрено дополнительное охлаждение водой, подаваемой из цистерны или гидранта), большая посадочная высота, которая затрудняла быстрый выход боевого расчета из кабины и приводила к травмам.
Выпускалась Прилукским заводом противопожарного оборудования с 1970 по 1984 годы (опытный образец собран в 1968 году там же). С 1984 года выпускается модификация АЦ-40 (131) модель 137А, с увеличенным на 100 литров объёмом цистерны и управлением лафетным стволом из кабины. В 1983 году также выпущен опытный образец машины АЦ-40/3 (131) модель 137А-01 с комбинированным насосом ПНК-40/3 с катушкой и стволом высокого давления. В серию эта модификация не пошла.
Автомобили этого типа до сих пор массово эксплуатируются. Даже в пожарных частях, которые получили новую технику, АЦ-40 (131) мод. 137 продолжают службу в качестве резерва. Множество машин 1980-х годов выпуска стоят еще законсервированными с завода. Тем не менее МЧС России производит постепенный вывод из эксплуатации этих автомобилей. Из крупных городов хорошо сохранившиеся машины передаются в сельские пожарные части, где зачастую заменяют вышедшие из строя однотипные. Передаются машины и добровольной пожарной охране.
В Казахстане и Узбекистане по причине дефицита запчастей для шасси ЗиЛ и их высокой степени износа, пожарная надстройка 137-ой модели переставляется на другие шасси (чаще всего корейские или китайские) и продолжает службу.
Пожарный насос:
- модель — ПН-40УВ
- тип — центробежный одноступенчатый
- подача, л/сек — 40
- напор, м — 100
- частота вращения, об/мин — 2700
- наибольшая геометрическая высота всасывания, м — 7
- контрольная геометрическая высота всасывания, м — 3,5
Пеносмеситель:
- тип — водоструйный эжектор
- производительность по пене при кратности 10, м³/мин — 4,7; 9,4; 14,1; 18,8; 23,5
Всасывающий аппарат:
- тип — газоструйный или воздушный эжектор
- наибольшая геометрическая высота всасывания, м — 7
- время заполнения насоса водой (при высоте всасывания 7 м, всасывающем рукаве диаметром 125 мм и длиной 8 м), сек — 55 (эжектор), 30 (вакуумный струйный насос)
Сигнал тревоги:
- газовая или электрическая сирена
Вместимость, л:
- цистерны для воды — 2400 (2500 — мод. 137 А)
- бака для пенообразователя — 170
Лафетный ствол:
- модель — ПЛС-П20
- расход воды, л/сек — 19
- кратность пены на выходе из ствола − 6
Распределение массы, кг:
- на передний мост — 2980
- на заднюю тележку — 8170
http-wikipediya.ru
АЦ-40(131)-137А (Start Scale Models): diecast43
АЦ-40(131)-137 на шасси ЗиЛ-131 — вторая по значимости пожарная машина позднего СССР наравне с АЦ-40(130)-63Б: её видели и помнят все, да и на дорогах эти автомобили до сих пор встречаются — модель 137А до сих пор стоит на боевом дежурстве во многих частях. SSM изготовили эту модель летом 2014 года и единственная «жизненная» окраска «Казань» моментально, чуть ли не за полчаса разлетелась по коллекциям, несмотря на множество мелких недочётов, среди которых и отсутствующий фаркоп, и забытая расшивка по левому борту кабины, и множество неверно окрашенных деталей. Неделю назад в продаже появился дополнительный тираж АЦ-40 (131) 137А, хотя точнее его назвать изданием исправленным и дополненным. Дополненным в том числе и новыми недочётами.

Прилукский завод выпустил установочную партию АЦ-40(131)-137 в 1969 году, а незначительно модернизированная машина с индексом 137А появилась в 1983-м. Судя по отсутствию ручек управления лафетным стволом, люка и прямому трубопроводу к стволу, костромские товарищи изготовили модель именно такого автомобиля, хотя производитель не уточняет, что сделал — АЦ-40(131) и всё тут.
Благодаря подробнейшему просветительскому посту коллеги aleksey_delfinn , мы в подробностях можем разобраться в наименованиях и назначении оборудования советских пожарных автомобилей. Сам автомобиль АЦ-40(131)-137 по мнению профессионалов был вполне удачным, хотя в процессе эксплуатации, как и всякая советская техника, начинал разваливаться — отказывали системы дистанционного управления (хорошо, что они изначально были продублированы ручным управлением), через пару лет разваливались волнорезы внутри цистерны, её крепления приходилось переваривать, а саму цистерну приходилось менять через 3-4 года интенсивной эксплуатации. Элементы кузова провисали, задевая за колёса, дверцы отсеков начинали произвольно открываться, а сам кузов пожирала коррозия — никакого дренажа для воды в сложном кузове предусмотрено не было. Страда и электропроводка. В сравнении с ПМЗ-27А эта пожарная машина была огромным шагом вперёд — по комфорту, удобству, оснащению (хотя находились критики, говорившие, что шасси ЗиЛ-131 уступает по проходимости старому ЗиЛ-157), но оборудование и арматура вели отсчёт своей истории ещё с довоенных времён. Интересующиеся собиратели могут прочитать подробнейшую историю пожарной техники и АЦ-40(131)-137 в частности в книге А.В. Карпова «Краеугольный камень» — это недорогое и обязательное дополнение к коллекции пожарных автомобилей в масштабе 1:43.

Модель «Кострома» в сравнении с вариантом по имени «Казань» претерпела ряд мелких изменений в окраске, приблизивших машину к реальности — опоры под подножками стали серебристыми, откидывающие подножки — чёрными, появился фаркоп. В итоге вид сзади у машины значительно улучшился. Номерными же знаками модель почему-то обделили и заднюю фару не установили.










Завидуйте, владельцы прошлогодних раритетов — фаркоп!

Толстоватые решётки на фарах и отсутствие номеров несколько омрачают впечатление от модели. Интересно, что АЦ-40(130)-63Б в переиздании «Москва» получила номерные знаки, которых не было у первой модели «Шарья».
В пакетике, приклеенном к подиуму модели, — крюк штурмовой лестницы. Костромские в этот раз немного сэкономили на боксе — модель в сборе чуть не влазила в имеющийся, поэтому крюк собирателям надлежит приклеить самостоятельно. Правда после этого модель уже не влезет в бокс и годна только к установке на полку.

А это — основной недостаток перевыпущенной модели, без них костромские «производители» ни одной модели не делают: ветровое стекло машине досталось от ЗиЛ-130 — 131-ой модели положена перемычка посередине:
Модель автомобиля: 1984 АЦ-40(131)-137А УПЧ Кострома
Наименование модели: АЦ-40(131) Кострома
Производитель: Start Scale Models
Дата выпуска: 17 сентября 2014 года
Каталожный номер: SSM1139
Серия: —
Тираж: нет данных
Краткое мнение: исправленное и дополненное
Субъективная оценка: 9/10
Резервная копия записи находится здесь: http://diecast43.dreamwidth.org/404061.html
Навигатор по журналу
diecast43.livejournal.com
Пожарная автоцистерна ац-40(131)-137а
Устройство АЦ-40(131)-137А и отличительные особенности в сравнении с АЦ-40(130)-63Б.
Базовые шасси — ЗИЛ-131.
2. Двигатель с измененной системой выпуска газов дополнительного охлаждения.
3. Кабина водителя и боевого расчета.
4. Кузов с отсеками.
5. Цистерна для воды ( Vв=2400л ).
6. Бак для пенообразователя ( Vп.о.=170л ).
7. Насосная утановка:
— центробежный насос ПН-40УВ;
— пеносмеситель ПС-5;
— вакуумная система – ГВА;
валом и КОМ-68Б.
— водопенные коммуникации.
8. Дополнительные системы.
Отличия:
Ац-40(131)-137а ац-40(130)-63б
ЗИЛ – 131 ЗИЛ – 130
Vв=2400лVв=2360л
Vп.о.=170лVп.о.=150л
Теплообм. на дв. и Теплообм. на дв.
орошение топл. бака
Дист.упр. клапанами Ручное
Дистанционное управление клапанами водопенных коммуникации.
Дистанционное управление клапанами водопенных коммуникации предназначено для осуществления подачи огнетушащих средств через лафетный ствол в движении.
Пневмосистемауправления состоит:
— калонка управления
— клапана: ДУ-32,ДУ-80(2шт),распределительный.
— разобщительный кран.
— ограничительный клапан
-рессивер тормозной системы
-гидрозамедлитель

Пневмовентиль Ду-32
Ду-32 предназначен для дистанционного (ручного) открывания линии с пенобака.

Устройство: 1- корпус; 2- золотник; 3- кольцо; 4- штуцер; 5- поршень; 6- маховик; 7- шпиндель; 8- пружина; 9- цилиндр; 10- кольцо; 11- шток.
Пневмовентиль Ду-80
Ду-80 предназначен для дистанционного (ручного) открывания линии из цистерны в насос.

Устройство: 1- корпус; 2- штуцер; 3,4- кольцо; 5- поршень; 6- цилиндр; 7- маховик; 8- крышка; 9- пружина; 10- шпиндель; 11- шток; 12- золотник.
Пневмовентиль Ду-80
Ду-80 предназначен для дистанционного (ручного) заполнения водой цистерны и подачи огнетушащего вещества к лафетному стволу.

Устройство: 1- маховик; 2- шпиндель; 3 — крышка;,4- пружина; 5, 9- гайка; 6- цилиндр; 7, 10- кольцо; 8- поршень; 11- проставка; 12- пробка; 13- шток; 14- золотник; 15- корпус коллектора насоса.
Чтобы избежать гидравлического ударана насосе управление пневмовентилем осуществляется черезгидрозамедлитель.

Устройство:1- трубопровод; 2- золотник; 3- пружина; 4- седло; 5- обратный клапан в сборе; 6- щуп; 7- контргайка; 8- перегородка; 9- корпус; 10- пробка; 11- бачок масляный.
Распределительный клапан предназначен для подачи воды в цистерну или на лафетный ствол.

Устройство:1- патрубок; 2,4- седло; 3- заслонка; 5- корпус; 6- манжета; 7- гайка; 8- цилиндр; 9- кольцо уплотнительное; 10- диск; 11- крышка; 12- пробка; 13- масленка.
Колонка управления с золотниками установлена в кабине боевого расчета для управления клапанами Ду-32, Ду-80 и распределительным, с целью подачи воды или ВМП через лафетный ствол, как в стационарном режиме так и при движении.
Разобщительный кран предназначен для отключения пневмосистемы управления клапанами (находится за сиденьем командира отделения).
Ограничительный клапанпредназначен для поддержания необходимого давления в пневмосистеме тормозов (при не герметичности системы управления клапанами).
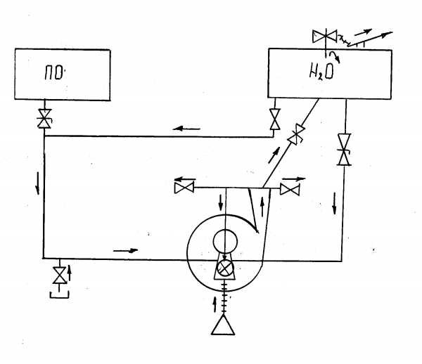
Схема водопенных коммуникаций.

Особенности эксплуатации пневмосистемы:
давление в пневмосистеме тормозов не менее 5,5 атмосфер
предварительная подготовка Ду-32 иДу-80 (выбор свободного хода)
возможность ручного управления за исключением распределительного клапана
особое внимание при техническом обслуживании уделять герметичности коммуникаций.
studfiles.net


