ΠΠΈΠ΄ΡΠΎΡΡ Π΅ΠΌΠ° ΠΏΠΎΠ΄ΡΠ΅ΠΌΠ½ΠΎΠ³ΠΎ ΠΌΠ΅Ρ Π°Π½ΠΈΠ·ΠΌΠ° Π°Π²ΡΠΎΠΌΠΎΠ±ΠΈΠ»Ρ-ΡΠ°ΠΌΠΎΡΠ²Π°Π»Π° ΠΠΠβΠΠΠβ4502
ΠΠ ΠΠΠ’ΠΠ§ΠΠ‘ΠΠΠ ΠΠΠΠ―Π’ΠΠ β3
ΠΠΠ£Π§ΠΠΠΠ Π‘Π₯ΠΠ ΠΠΠΠͺΠΠΠΠ«Π₯ ΠΠΠ₯ΠΠΠΠΠΠΠ ΠΠΠ’ΠΠΠΠΠΠΠΠ-Π‘ΠΠΠΠ‘ΠΠΠΠΠ ΠΠ ΠΠ ΠΠΠΠ Π ΠΠΠβΠΠΠβ4502
Β
Β
Π¦Π΅Π»Ρ ΡΠ°Π±ΠΎΡΡ: ΠΎΠ·Π½Π°ΠΊΠΎΠΌΠ»Π΅Π½ΠΈΠ΅ Ρ ΠΏΡΠΈΠ½ΡΠΈΠΏΠ°ΠΌΠΈ ΠΊΠ»Π°ΡΡΠΈΡΠΈΠΊΠ°ΡΠΈΠΈ Π°Π²ΡΠΎΠΌΠΎΠ±ΠΈΠ»Π΅ΠΉ-
ΡΠ°ΠΌΠΎΡΠ²Π°Π»ΠΎΠ², ΠΎΡΠΎΠ±Π΅Π½Π½ΠΎΡΡΡΠΌΠΈ ΠΊΠΎΠ½ΡΡΡΡΠΊΡΠΈΠΉ ΠΈ ΡΠ°Π±ΠΎΡΡ ΠΏΠΎΠ΄ΡΠ΅ΠΌΠ½ΡΡ ΠΌΠ΅Ρ Π°Π½ΠΈΠ·ΠΌΠΎΠ².
Β
Β
ΠΠ±ΡΠΈΠ΅ ΡΠ²Π΅Π΄Π΅Π½ΠΈΡ
ΠΠ²ΡΠΎΠΌΠΎΠ±ΠΈΠ»ΠΈ-ΡΠ°ΠΌΠΎΡΠ²Π°Π»Ρ ΠΎΡΠ»ΠΈΡΠ°ΡΡΡΡ ΠΎΡ ΠΎΠ±ΡΡΠ½ΡΡ Π³ΡΡΠ·ΠΎΠ²ΡΡ Π°Π²ΡΠΎΠΌΠΎΠ±ΠΈΠ»Π΅ΠΉ ΡΠ΅ΠΌ,
ΡΡΠΎ Π²ΡΠ³ΡΡΠ·ΠΊΠ° ΠΏΠ΅ΡΠ΅Π²ΠΎΠ·ΠΈΠΌΠΎΠ³ΠΎ ΠΈΠΌΠΈ Π³ΡΡΠ·Π° ΠΎΡΡΡΠ΅ΡΡΠ²Π»ΡΠ΅ΡΡΡ ΠΌΠ΅Ρ Π°Π½ΠΈΡΠ΅ΡΠΊΠΈ: Π»ΠΈΠ±ΠΎ Π·Π° ΡΡΠ΅Ρ ΠΈΡ- ΠΏΠΎΠ»ΡΠ·ΠΎΠ²Π°Π½ΠΈΡ ΠΌΠ°ΡΡΡ Π³ΡΡΠ·Π° Π±Π΅Π· Π½Π°ΠΊΠ»ΠΎΠ½Π° ΠΊΡΠ·ΠΎΠ²Π° (Π±ΡΠ½ΠΊΠ΅ΡΠ½ΡΠ΅ Π°Π²ΡΠΎΠΌΠΎΠ±ΠΈΠ»ΠΈ-ΡΠ°ΠΌΠΎΡΠ²Π°Π»Ρ),
Π»ΠΈΠ±ΠΎ Π·Π° ΡΡΠ΅Ρ ΠΏΡΠΈΠ½ΡΠ΄ΠΈΡΠ΅Π»ΡΠ½ΠΎΠ³ΠΎ ΡΠ±ΡΠ°ΡΡΠ²Π°Π½ΠΈΡ Π³ΡΡΠ·Π° (ΡΠ½Π΅ΠΊΠΎΠ²ΡΠ΅ Π°Π²ΡΠΎΠΌΠΎΠ±ΠΈΠ»ΠΈ-ΡΠ°ΠΌΠΎΡΠ²Π°Π»Ρ
Ρ Π΄Π²ΠΈΠΆΡΡΠΈΠΌΡΡ ΠΏΠΎΠ»ΠΎΠΌ ΠΈΠ»ΠΈ Ρ Π½Π°ΠΊΠ»ΠΎΠ½ΡΡΡΠΈΠΌΠΈΡΡ ΠΊΡΠ·ΠΎΠ²Π°ΠΌΠΈ). ΠΡΠ½ΠΎΠ²Π½ΡΠ΅ ΡΠ΅Ρ Π½ΠΈΡΠ΅ΡΠΊΠΈΠ΅ Π΄Π°Π½Π½ΡΠ΅ ΡΠ°ΠΌΠΎΡΠ²Π°Π»ΠΎΠ² ΠΏΡΠΈΠ²Π΅Π΄Π΅Π½Ρ Π² ΡΠ°Π±Π». 3.1. ΠΡΠ΅ΠΈΠΌΡΡΠ΅ΡΡΠ²Π΅Π½Π½ΠΎΠ΅ ΡΠ°ΡΠΏΡΠΎΡΡΡΠ°Π½Π΅Π½ΠΈΠ΅
ΠΈΠΌΠ΅ΡΡ Π°Π²ΡΠΎΠΌΠΎΠ±ΠΈΠ»ΠΈ-ΡΠ°ΠΌΠΎΡΠ²Π°Π»Ρ Ρ ΠΏΡΠΈΠ½ΡΠ΄ΠΈΡΠ΅Π»ΡΠ½ΠΎΠΉ Π²ΡΠ³ΡΡΠ·ΠΊΠΎΠΉ Π³ΡΡΠ·Π° ΠΏΡΠΈ ΠΏΠΎΠΌΠΎΡΠΈ Π½Π°- ΠΊΠ»ΠΎΠ½Π° ΠΊΡΠ·ΠΎΠ²Π° ΠΏΠΎΠ΄ΡΠ΅ΠΌΠ½ΡΠΌΠΈ ΠΌΠ΅Ρ Π°Π½ΠΈΠ·ΠΌΠ°ΠΌΠΈ ΡΠ°Π·Π»ΠΈΡΠ½ΠΎΠΉ ΠΊΠΎΠ½ΡΡΡΡΠΊΡΠΈΠΈ.
Β
Β
|
Β
ΠΡΠΎΠ΄ΠΎΠ»ΠΆΠ΅Π½ΠΈΠ΅ ΡΠ°Π±Π»ΠΈΡΡ 3.1
| Β ΠΠ°ΡΠ°ΠΌΠ΅ΡΡΡ | ΠΠΠ β 5549 (ΠΠΠ β 503Π) | Β ΠΠ°ΠΌΠΠ β 5511 | Β ΠΡΠΠ β 256Π |
| ΠΠΎΠ»Π΅ΡΠ½Π°Ρ ΡΠΎΡΠΌΡΠ»Π° ΠΡΡΠΏΠΏΠ° Π°Π²ΡΠΎΠΌΠΎΠ±ΠΈΠ»Π΅ΠΉ- ΡΠ°ΠΌΠΎΡΠ²Π°Π»ΠΎΠ² ΠΠ°Π·ΠΎΠ²ΠΎΠ΅ ΡΠ°ΡΡΠΈ ΠΡΡΠ·ΠΎΠΏΠΎΠ΄ΡΠ΅ΠΌΠ½ΠΎΡΡΡ, ΠΊΠ³ ΠΠ°ΡΡΠ° ΡΠ½Π°ΡΡΠΆΠ΅Π½Π½ΠΎΠ³ΠΎ Π°Π²ΡΠΎ- ΠΌΠΎΠ±ΠΈΠ»Ρ, ΠΊΠ³ ΠΠΎΠ»Π½Π°Ρ ΠΌΠ°ΡΡΠ° Π°Π²ΡΠΎΠΌΠΎΠ±ΠΈΠ»Ρ, ΠΊΠ³ ΠΠΎΠ»Π½Π°Ρ ΠΌΠ°ΡΡΠ° Π±ΡΠΊΡΠΈΡΡΠ΅ΠΌΠΎ- Π³ΠΎ ΠΏΡΠΈΡΠ΅ΠΏΠ°, ΠΊΠ³ ΠΠ²ΠΈΠ³Π°ΡΠ΅Π»Ρ ΠΠΎΡΠ½ΠΎΡΡΡ, Π».Ρ., ΠΏΡΠΈ ΡΠ°ΡΡΠΎ- ΡΠ΅ Π²ΡΠ°ΡΠ΅Π½ΠΈΡ ΠΊΠΎΠ»Π΅Π½ΡΠ°ΡΠΎΠ³ΠΎ Π²Π°Π»Π°, ΠΎΠ±/ΠΌΠΈΠ½ ΠΠ°ΠΈΠ±ΠΎΠ»ΡΡΠΈΠΉ ΠΊΡΡΡΡΡΠΈΠΉ ΠΌΠΎΠΌΠ΅Π½Ρ, ΠΊΠ³Ρ ΠΌ, ΠΏΡΠΈ ΡΠ°ΡΡΠΎΡΠ΅ Π²ΡΠ°ΡΠ΅Π½ΠΈΡ ΠΊΠΎΠ»Π΅Π½ΡΠ°ΡΠΎΠ³ΠΎ Π²Π°- Π»Π°, ΠΎΠ±/ΠΌΠΈΠ½ Π’ΠΈΠΏ ΠΊΡΠ·ΠΎΠ²Π° Β ΠΠ±ΡΠ΅ΠΌ ΠΊΡΠ·ΠΎΠ²Π°, ΠΌ3: Π±Π΅Π· Π½Π°Π΄ΡΡΠ°Π²Π½ΡΡ Π±ΠΎΡΡΠΎΠ² Ρ Π½Π°Π΄ΡΡΠ°Π²Π½ΡΠΌΠΈ Π±ΠΎΡΡΠ°ΠΌΠΈ Π‘ΡΠΎΡΠΎΠ½Ρ Π²ΡΠ³ΡΡΠ·ΠΊΠΈ ΠΡΠ΅ΠΌΡ Π½Π°ΠΊΠ»ΠΎΠ½Π° ΠΊΡΠ·ΠΎΠ²Π°, Ρ ΠΠ°ΠΊΡΠΈΠΌΠ°Π»ΡΠ½Π°Ρ ΡΠΊΠΎΡΠΎΡΡΡ, ΠΊΠΌ/Ρ | 4 Γ 2 Β Π ΠΠΠ β 500Π Β 7225 (7100) Β 15375 (15250) Β β Π―ΠΠ β 236 Β 180/2100 Β Β 68 / 1500 ΠΏΡΡΠΌΠΎΠ±ΠΎΡΡΠ½ΡΠΉ Ρ ΠΊΠΎΠ·ΡΡΡΠΊΠΎΠΌ Β 5,1 β Π½Π°Π·Π°Π΄ Β | 6 Γ 4 Β Π ΠΠ°ΠΌΠΠ β 5320* Β Β Β β Π―ΠΠ β 740 Β 210/2600 Β Β 65 1(1400 — 1700) ΠΊΠΎΠ²ΡΠΎΠ²ΡΠΉ Π±Π΅Π· Π·Π°Π΄Π½Π΅Π³ΠΎ Π±ΠΎΡΡΠ° Β 7,2 β Π½Π°Π·Π°Π΄ Β | 6 Γ 4 Β Π ΠΡΠΠ β257 Β Β Β β Π―ΠΠ β 238 Β 240/2100 Β Β 90 / 1500 ΠΊΠΎΠ²ΡΠΎΠ²ΡΠΉ Π±Π΅Π· Π·Π°Π΄Π½Π΅Π³ΠΎ Π±ΠΎΡΡΠ° Β 6,0 β Π½Π°Π·Π°Π΄ Β |
* Π‘ ΠΏΡΡΠΈΡΡΡΠΏΠ΅Π½ΡΠ°ΡΠΎΠΉ ΠΊΠΎΡΠΎΠ±ΠΊΠΎΠΉ ΠΏΠ΅ΡΠ΅Π΄Π°Ρ.
Β
Π ΠΎΡΠ½ΠΎΠ²Π½ΠΎΠΌ ΠΏΠΎΠ΄ΡΠ΅ΠΌΠ½ΡΠ΅ ΠΌΠ΅Ρ Π°Π½ΠΈΠ·ΠΌΡ ΠΎΠ±ΠΎΡΡΠ΄ΠΎΠ²Π°Π½Ρ Π³ΠΈΠ΄ΡΠ°Π²Π»ΠΈΡΠ΅ΡΠΊΠΈΠΌ ΠΏΡΠΈΠ²ΠΎΠ΄ΠΎΠΌ. ΠΠ°ΡΠ»ΡΠ½ΡΠΉ Π½Π°ΡΠΎΡ ΠΏΡΠΈΠ²ΠΎΠ΄ΠΈΡΡΡ Π² ΡΠ°Π±ΠΎΡΡ ΠΎΡ Π΄Π²ΠΈΠ³Π°ΡΠ΅Π»Ρ Π°Π²ΡΠΎΠΌΠΎΠ±ΠΈΠ»Ρ ΡΠ΅ΡΠ΅Π· ΠΊΠΎΡΠΎΠ±ΠΊΡ ΠΎΡΠ±ΠΎΡΠ° ΠΌΠΎΡΠ½ΠΎΡΡΠΈ. ΠΠΈΠ΄ΡΠΎΡΠΈΠ»ΠΈΠ½Π΄ΡΡ ΠΏΠΎΠ΄ΡΠ΅ΠΌΠ½ΡΡ ΠΌΠ΅Ρ Π°Π½ΠΈΠ·ΠΌΠΎΠ² ΠΌΠΎΠ³ΡΡ ΠΈΠΌΠ΅ΡΡ Π³ΠΎΡΠΈΠ·ΠΎΠ½ΡΠ°Π»ΡΠ½ΠΎΠ΅, Π½Π°ΠΊΠ»ΠΎΠ½Π½ΠΎΠ΅ ΠΈΠ»ΠΈ Π²Π΅ΡΡΠΈΠΊΠ°Π»ΡΠ½ΠΎΠ΅ ΡΠ°ΡΠΏΠΎΠ»ΠΎΠΆΠ΅Π½ΠΈΠ΅. ΠΠΈΠ΄ΡΠΎΡΠΈΠ»ΠΈΠ½Π΄ΡΡ ΡΠ°ΡΠΏΠΎΠ»Π°Π³Π°ΡΡΡΡ Π½Π° ΡΠ°ΠΌΠ΅ Π°Π²ΡΠΎΠΌΠΎΠ±ΠΈΠ»Ρ-ΡΠ°ΠΌΠΎΡΠ²Π°Π»Π° ΠΏΠΎΠ΄ ΠΊΡΠ·ΠΎΠ²ΠΎΠΌ, Π² ΠΏΠ΅ΡΠ΅Π΄Π½Π΅ΠΉ ΡΠ°ΡΡΠΈ ΡΠ°ΠΌΡ ΠΈΠ»ΠΈ Π½Π° ΠΏΠ΅ΡΠ΅Π΄Π½Π΅ΠΌ Π±ΠΎΡΡΡ ΠΊΡΠ·ΠΎΠ²Π° (ΡΠΈΡΡΠ½ΠΎΠΊ 3.1).
Β
Β
|
Π ΠΈΡΡΠ½ΠΎΠΊ 3.1 β Π‘Ρ Π΅ΠΌΡ ΠΏΠΎΠ΄ΡΠ΅ΠΌΠ½ΡΡ ΠΌΠ΅Ρ Π°Π½ΠΈΠ·ΠΌΠΎΠ² Π°Π²ΡΠΎΠΌΠΎΠ±ΠΈΠ»Π΅ΠΉ-ΡΠ°ΠΌΠΎΡΠ²Π°Π»ΠΎΠ²
Ρ ΡΠ°ΡΠΏΠΎΠ»ΠΎΠΆΠ΅Π½ΠΈΠ΅ΠΌ Π³ΠΈΠ΄ΡΠΎΡΠΈΠ»ΠΈΠ½Π΄ΡΠΎΠ²: Π° β ΠΏΠΎΠ΄ ΠΊΡΠ·ΠΎΠ²ΠΎΠΌ; Π± β Π² ΠΏΠ΅ΡΠ΅Π΄Π½Π΅ΠΉ ΡΠ°ΡΡΠΈ ΡΠ°ΠΌΡ
Β
Π‘ ΠΈΠ·ΠΌΠ΅Π½Π΅Π½ΠΈΠ΅ΠΌ ΡΠ³Π»Π° ΠΏΠΎΠ΄ΡΠ΅ΠΌΠ° ΠΊΡΠ·ΠΎΠ²Π° ΠΈΠ·ΠΌΠ΅Π½ΡΠ΅ΡΡΡ ΡΠ³ΠΎΠ» Ξ± Π½Π°ΠΊΠ»ΠΎΠ½Π° ΡΠΈΠ»ΠΈΠ½Π΄ΡΠΎΠ² ΠΈ ΠΏΠ»Π΅ΡΠΈ Π° ΠΈ b ΠΌΠΎΠΌΠ΅Π½ΡΠΎΠ². Π’Π°ΠΊΠΈΠΌ ΠΎΠ±ΡΠ°Π·ΠΎΠΌ, Π΄Π»Ρ ΠΊΠ°ΠΆΠ΄ΠΎΠ³ΠΎ ΡΠ³Π»Π° Ξ² ΠΏΠΎΠ΄ΡΠ΅ΠΌΠ° ΠΊΡΠ·ΠΎΠ²Π° ΡΡΠΈΠ»ΠΈΡ Q Π½Π° ΡΡΠΎΠΊΠ°Ρ Π²ΡΠ΄Π²ΠΈΠΆΠ½ΡΡ Π·Π²Π΅Π½ΡΠ΅Π² ΠΈ Π΄Π°Π²Π»Π΅Π½ΠΈΠ΅ p Π² Π³ΠΈΠ΄ΡΠΎΡΠΈΠ»ΠΈΠ½Π΄ΡΠ°Ρ ΠΏΠΎΠ΄ΡΠ΅ΠΌΠ½ΠΈΠΊΠ° Π±ΡΠ΄ΡΡ ΡΠ°Π·Π»ΠΈΡΠ½ΡΠΌΠΈ. ΠΠ· ΡΡΠ°Π²Π½Π΅Π½ΠΈΡ ΠΌΠΎΠΌΠ΅Π½ΡΠΎΠ² ΠΎΡΠ½ΠΎΡΠΈΡΠ΅Π»ΡΠ½ΠΎ ΡΠΎΡΠΊΠΈ Π2 ΡΡΠΌΠΌΠ°ΡΠ½ΠΎΠ΅ ΡΡΠΈΠ»ΠΈΠ΅ Π½Π° ΡΡΠΎΠΊΠ°Ρ ΠΎΠΏΡΠ΅Π΄Π΅Π»ΡΠ΅ΡΡΡ ΡΠ»Π΅Π΄ΡΡΡΠΈΠΌ ΠΎΠ±ΡΠ°Π·ΠΎΠΌ:Q =G Γa ,
b1
Π³Π΄Π΅ G β Π²Π΅Ρ Π³ΡΡΠ·Π° ΠΊΡΠ·ΠΎΠ²Π°, ΠΊΠ³; a ΠΈ b1 βΠΏΠ»Π΅ΡΠΈ, ΠΊ ΠΊΠΎΡΠΎΡΡΠΌ ΠΏΡΠΈΠΊΠ»Π°Π΄ΡΠ²Π°ΡΡΡΡ ΡΡΠΈΠ»ΠΈΡ G ΠΈ Q.
ΠΠ°Π²Π»Π΅Π½ΠΈΠ΅ Π² Π³ΠΈΠ΄ΡΠΎΡΠΈΠ»ΠΈΠ½Π΄ΡΠ°Ρ :
p =Q ,
F
Π³Π΄Π΅ F β ΡΡΠΌΠΌΠ°ΡΠ½Π°Ρ ΠΏΠ»ΠΎΡΠ°Π΄Ρ ΠΎΡΠ½ΠΎΠ²Π°Π½ΠΈΡ ΡΠΈΠ»ΠΈΠ½Π΄ΡΠΎΠ², ΠΌ2.
Β
Β
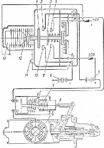
ΠΠΈΠ΄ΡΠΎΡΡ Π΅ΠΌΠ° ΠΏΠΎΠ΄ΡΠ΅ΠΌΠ½ΠΎΠ³ΠΎ ΠΌΠ΅Ρ Π°Π½ΠΈΠ·ΠΌΠ° Π°Π²ΡΠΎΠΌΠΎΠ±ΠΈΠ»Ρ-ΡΠ°ΠΌΠΎΡΠ²Π°Π»Π° ΠΠΠβΠΠΠβ4502
ΠΠ° Π°Π²ΡΠΎΠΌΠΎΠ±ΠΈΠ»Π΅-ΡΠ°ΠΌΠΎΡΠ²Π°Π»Π΅ ΠΠΠ β ΠΠΠ β 4502 (ΡΠΈΡΡΠ½ΠΎΠΊ 3.2) ΠΈ Π΅Π³ΠΎ ΠΌΠΎΠ΄ΠΈΡΠΈΠΊΠ°ΡΠΈ-
ΡΡ ΡΡΡΠ°Π½ΠΎΠ²Π»Π΅Π½Ρ Π³ΠΈΠ΄ΡΠ°Π²Π»ΠΈΡΠ΅ΡΠΊΠΈΠ΅ ΠΏΠΎΠ΄ΡΠ΅ΠΌΠ½ΡΠ΅ ΠΌΠ΅Ρ Π°Π½ΠΈΠ·ΠΌΡ Ρ ΡΠ΅Π»Π΅ΡΠΊΠΎΠΏΠΈΡΠ΅ΡΠΊΠΈΠΌΠΈ ΠΏΠ»ΡΠ½- ΠΆΠ΅ΡΠ½ΡΠΌΠΈ ΡΠΈΠ»ΠΈΠ½Π΄ΡΠ°ΠΌΠΈ. ΠΡΠΈΠ½ΡΠΈΠΏΠΈΠ°Π»ΡΠ½Π°Ρ ΡΡ Π΅ΠΌΠ° Π³ΠΈΠ΄ΡΠ°Π²Π»ΠΈΡΠ΅ΡΠΊΠΎΠ³ΠΎ ΠΏΠΎΠ΄ΡΠ΅ΠΌΠ½ΠΎΠ³ΠΎ ΠΌΠ΅Ρ Π°-
Π½ΠΈΠ·ΠΌΠ° ΠΏΠΎΠΊΠ°Π·Π°Π½Π° Π½Π° ΡΠΈΡΡΠ½ΠΎΠΊ 4.3. ΠΠ»Ρ ΡΠΏΡΠ°Π²Π»Π΅Π½ΠΈΡ ΠΏΠΎΠ΄ΡΠ΅ΠΌΠΎΠΌ ΠΈ ΠΎΠΏΡΡΠΊΠ°Π½ΠΈΠ΅ΠΌ ΠΊΡΠ·ΠΎΠ²ΠΎΠ² Π°Π²- ΡΠΎΠΌΠΎΠ±ΠΈΠ»Ρ ΠΈ ΠΏΡΠΈΡΠ΅ΠΏΠ° Π² ΠΊΠ°Π±ΠΈΠ½Π΅ Π²ΠΎΠ΄ΠΈΡΠ΅Π»Ρ ΡΠΏΡΠ°Π²Π° ΠΎΡ ΡΡΡΠ°Π³Π° ΠΏΠ΅ΡΠ΅ΠΊΠ»ΡΡΠ°ΡΠ΅Π»Ρ ΠΏΠ΅ΡΠ΅Π΄Π°Ρ ΡΡ- ΡΠ°Π½ΠΎΠ²Π»Π΅Π½ ΡΡΡΠ°Π³ 17 ΠΊΠΎΡΠΎΠ±ΠΊΠΈ ΠΎΡΠ±ΠΎΡΠ° ΠΌΠΎΡΠ½ΠΎΡΡΠΈ ΠΈ ΠΌΠ΅ΠΆΠ΄Ρ Π½ΠΈΠΌ ΠΈ ΡΠΈΠ΄Π΅Π½ΡΠ΅ΠΌ Π²ΠΎΠ΄ΠΈΡΠ΅Π»Ρ ΡΠ°ΡΠΏΠΎΠ»ΠΎΠΆΠ΅Π½Ρ Π΄Π²Π΅ ΡΡΠΊΠΎΡΡΠΊΠΈ 7 ΠΈ 8 ΡΠ°ΡΠΏΡΠ΅Π΄Π΅Π»ΠΈΡΠ΅Π»Ρ 6. Π ΡΡΠ°Π³ ΠΊΠΎΡΠΎΠ±ΠΊΠΈ ΠΎΡΠ±ΠΎΡΠ° ΠΌΠΎΡΠ½ΠΎΡΡΠΈ ΠΌΠΎΠΆΠ΅Ρ Π±ΡΡΡ ΡΡΡΠ°Π½ΠΎΠ²Π»Π΅Π½ Π² ΠΏΠ΅ΡΠ΅Π΄Π½Π΅ΠΌ (ΠΊΠΎΡΠΎΠ±ΠΊΠ° ΠΎΡΠ±ΠΎΡΠ° ΠΌΠΎΡΠ½ΠΎΡΡΠΈ ΠΎΡΠΊΠ»ΡΡΠ΅Π½Π°, Π½Π°ΡΠΎΡ Π½Π΅ ΡΠ°Π±ΠΎΡΠ°Π΅Ρ) ΠΈΠ»ΠΈ Π·Π°Π΄Π½Π΅ΠΌ (ΠΊΠΎΡΠΎΠ±ΠΊΠ° ΠΎΡΠ±ΠΎΡΠ° ΠΌΠΎΡΠ½ΠΎΡΡΠΈ Π²ΠΊΠ»ΡΡΠ΅Π½Π°, Π½Π°ΡΠΎΡ ΡΠ°Π±ΠΎΡΠ°Π΅Ρ) ΠΏΠΎΠ»ΠΎΠΆΠ΅-
Π½ΠΈΠΈ.

Β
Β
Π ΠΈΡΡΠ½ΠΎΠΊ 3.2 β ΠΠ²ΡΠΎΠΌΠΎΠ±ΠΈΠ»Ρ-ΡΠ°ΠΌΠΎΡΠ²Π°Π» ΠΠΠ β ΠΠΠ β 4502
Β
Β
ΠΠ΅ΡΠ΅Π΄Π½ΡΡ ΡΡΠΊΠΎΡΡΠΊΠ° 7 ΡΠ°ΡΠΏΡΠ΅Π΄Π΅Π»ΠΈΡΠ΅Π»Ρ 6 ΡΠ»ΡΠΆΠΈΡ Π΄Π»Ρ ΡΠΏΡΠ°Π²Π»Π΅Π½ΠΈΡ ΠΏΠΎΠ΄ΡΠ΅ΠΌΠΎΠΌ ΠΈ ΠΎΠΏΡΡΠΊΠ°Π½ΠΈΠ΅ΠΌ ΠΊΡΠ·ΠΎΠ²Π° Π°Π²ΡΠΎΠΌΠΎΠ±ΠΈΠ»Ρ-ΡΠ°ΠΌΠΎΡΠ²Π°Π»Π°, Π·Π°Π΄Π½ΡΡ 8 β Π΄Π»Ρ ΡΠΏΡΠ°Π²Π»Π΅Π½ΠΈΡ ΠΏΠΎΠ΄ΡΠ΅ΠΌΠΎΠΌ ΠΈ ΠΎΠΏΡΡΠΊΠ°Π½ΠΈΠ΅ΠΌ ΠΊΡΠ·ΠΎΠ²Π° ΠΏΡΠΈΡΠ΅ΠΏΠ°-ΡΠ°ΠΌΠΎΡΠ²Π°Π»Π°. ΠΡΠΈ ΠΏΠ΅ΡΠ΅Π²ΠΎΠ΄Π΅ ΡΡΡΠ°Π³Π° 17 Π½Π°Π·Π°Π΄ (Π½Π° ΡΠΈΡΡΠ½ΠΊΠ΅ Π²ΠΏΡΠ°Π²ΠΎ) ΠΏΡΠΎΠΌΠ΅ΠΆΡΡΠΎΡΠ½Π°Ρ ΡΠ΅ΡΡΠ΅ΡΠ½Ρ Π²Ρ ΠΎΠ΄ΠΈΡ Π² Π·Π°ΡΠ΅ΠΏΠ»Π΅Π½ΠΈΠ΅ Ρ ΡΠ΅ΡΡΠ΅ΡΠ½Π΅ΠΉ 18 Π±Π»ΠΎΠΊΠ° ΡΠ΅ΡΡΠ΅- ΡΠ΅Π½ Π·Π°Π΄Π½Π΅Π³ΠΎ Ρ ΠΎΠ΄Π° ΠΊΠΎΡΠΎΠ±ΠΊΠΈ ΠΏΠ΅ΡΠ΅Π΄Π°Ρ ΠΈ ΠΊΠΎΡΠΎΠ±ΠΊΠ° ΠΎΡΠ±ΠΎΡΠ° ΠΌΠΎΡΠ½ΠΎΡΡΠΈ Π²ΠΊΠ»ΡΡΠ°Π΅ΡΡΡ. ΠΠ΄Π½ΠΎ- Π²ΡΠ΅ΠΌΠ΅Π½Π½ΠΎ Π½Π°ΡΠΈΠ½Π°Π΅Ρ ΡΠ°Π±ΠΎΡΠ°ΡΡ ΡΠΎΠ΅Π΄ΠΈΠ½Π΅Π½Π½ΡΠΉ Ρ ΠΊΠΎΡΠΎΠ±ΠΊΠΎΠΉ Π½Π°ΡΠΎΡ 19. ΠΠ· Π½Π°ΡΠΎΡΠ° ΡΠ°Π±ΠΎΡΠ°Ρ ΠΆΠΈΠ΄ΠΊΠΎΡΡΡ ΠΏΠΎ ΡΡΡΠ±ΠΎΠΏΡΠΎΠ²ΠΎΠ΄Ρ 5 ΠΏΠΎΡΡΡΠΏΠ°Π΅Ρ Π² ΡΠ°ΡΠΏΡΠ΅Π΄Π΅Π»ΠΈΡΠ΅Π»Ρ 6, Π° ΠΈΠ· Π½Π΅Π³ΠΎ ΠΏΠΎ ΡΡΡΠ±ΠΎΠΏΡΠΎ-
Β
Π²ΠΎΠ΄Ρ 10 Π² ΡΠΈΠ»ΠΈΠ½Π΄Ρ 12 Π°Π²ΡΠΎΠΌΠΎΠ±ΠΈΠ»Ρ-ΡΠ°ΠΌΠΎΡΠ²Π°Π»Π° ΠΈΠ»ΠΈ ΠΏΠΎ ΡΡΡΠ±ΠΎΠΏΡΠΎΠ²ΠΎΠ΄Ρ 9 ΡΠ΅ΡΠ΅Π· Π»ΠΈΡΠ΅ΡΠΊΠΈΠΉ Π²ΡΠ²ΠΎΠ΄ 11 Π² ΡΠΈΠ»ΠΈΠ½Π΄Ρ ΠΏΡΠΈΡΠ΅ΠΏΠ°-ΡΠ°ΠΌΠΎΡΠ²Π°Π»Π°.
Β
Β

Β
Β
Π ΠΈΡΡΠ½ΠΎΠΊ 3.3 β ΠΠΈΠ΄ΡΠ°Π²Π»ΠΈΡΠ΅ΡΠΊΠ°Ρ ΡΡ Π΅ΠΌΠ° ΠΏΠΎΠ΄ΡΠ΅ΠΌΠ½ΠΎΠ³ΠΎ ΠΌΠ΅Ρ Π°Π½ΠΈΠ·ΠΌΠ° Π°Π²ΡΠΎΠΌΠΎΠ±ΠΈΠ»Ρ-ΡΠ°ΠΌΠΎΡΠ²Π°Π»Π° ΠΠΠ β ΠΠΠ β 4502
Β
Β
ΠΡΠΈ ΠΏΠΎΠ΄ΡΠ΅ΠΌΠ΅ ΠΊΡΠ·ΠΎΠ²Π° Π½Π°Π·Π°Π΄ Π½Π° ΠΌΠ°ΠΊΡΠΈΠΌΠ°Π»ΡΠ½ΡΠΉ ΡΠ³ΠΎΠ» ΠΈΠ»ΠΈ ΠΏΡΠΈ Π½Π΅ΠΎΠ±Ρ ΠΎΠ΄ΠΈΠΌΠΎΡΡΠΈ ΠΎΡ- ΡΠ°Π½ΠΎΠ²ΠΊΠΈ ΠΊΡΠ·ΠΎΠ²Π° Π² ΠΏΡΠΎΠΌΠ΅ΠΆΡΡΠΎΡΠ½ΠΎΠΌ ΠΏΠΎΠ»ΠΎΠΆΠ΅Π½ΠΈΠΈ ΡΡΠΊΠΎΡΡΠΊΡ 7 ΡΠ°ΡΠΏΡΠ΅Π΄Π΅Π»ΠΈΡΠ΅Π»Ρ 6 ΡΡΡΠ°Π½Π°Π²- Π»ΠΈΠ²Π°ΡΡ Π² Π½Π΅ΠΉΡΡΠ°Π»ΡΠ½ΠΎΠ΅ ΠΏΠΎΠ»ΠΎΠΆΠ΅Π½ΠΈΠ΅, Π° ΡΡΡΠ°Π³ 17 ΠΏΠ΅ΡΠ΅Π²ΠΎΠ΄ΡΡ Π²ΠΏΠ΅ΡΠ΅Π΄ (ΠΊΠΎΡΠΎΠ±ΠΊΠ° ΠΎΡΠ±ΠΎΡΠ° ΠΌΠΎΡΠ½ΠΎΡΡΠΈ ΠΈ Π½Π°ΡΠΎΡ Π²ΡΠΊΠ»ΡΡΠ°ΡΡΡΡ). ΠΡΠΈ ΠΏΠ΅ΡΠ΅ΠΌΠ΅ΡΠ΅Π½ΠΈΠΈ ΡΡΠΊΠΎΡΡΠΊΠΈ 7 ΡΠ°ΡΠΏΡΠ΅Π΄Π΅Π»ΠΈΡΠ΅Π»Ρ Π² Π½Π΅ΠΉΡΡΠ°Π»ΡΠ½ΠΎΠ΅ ΠΏΠΎΠ»ΠΎΠΆΠ΅Π½ΠΈΠ΅ Π·ΠΎΠ»ΠΎΡΠ½ΠΈΠΊ ΡΠ°ΡΠΏΡΠ΅Π΄Π΅Π»ΠΈΡΠ΅Π»Ρ ΠΏΠ΅ΡΠ΅ΠΊΡΡΠ²Π°Π΅Ρ ΠΌΠ°Π³ΠΈΡΡΡΠ°Π»Ρ 5 Π²ΡΡΠΎ- ΠΊΠΎΠ³ΠΎ Π΄Π°Π²Π»Π΅Π½ΠΈΡ. ΠΠΎΠ΄Π°ΡΠ° ΡΠ°Π±ΠΎΡΠ΅ΠΉ ΠΆΠΈΠ΄ΠΊΠΎΡΡΠΈ Π² ΡΡΡΠ±ΠΎΠΏΡΠΎΠ²ΠΎΠ΄ 10 ΠΏΡΠ΅ΠΊΡΠ°ΡΠ°Π΅ΡΡΡ. ΠΠΈΠ΄ΠΊΠΎΡΡΡ Π² ΠΌΠ°Π³ΠΈΡΡΡΠ°Π»ΠΈ Π²ΡΡΠΎΠΊΠΎΠ³ΠΎ Π΄Π°Π²Π»Π΅Π½ΠΈΡ ΠΎΡΡΠ°Π΅ΡΡΡ ΠΏΠΎΠ΄ ΡΠ°Π±ΠΎΡΠΈΠΌ Π΄Π°Π²Π»Π΅Π½ΠΈΠ΅ΠΌ, ΠΈ ΠΊΡΠ·ΠΎΠ² ΡΠ΄Π΅ΡΠΆΠΈ- Π²Π°Π΅ΡΡΡ Π² ΠΏΠΎΠ΄Π½ΡΡΠΎΠΌ ΠΏΠΎΠ»ΠΎΠΆΠ΅Π½ΠΈΠΈ (ΠΊΡΠ°ΠΉΠ½Π΅ΠΌ ΠΈΠ»ΠΈ ΠΏΡΠΎΠΌΠ΅ΠΆΡΡΠΎΡΠ½ΠΎΠΌ). ΠΠ΄Π½ΠΎΠ²ΡΠ΅ΠΌΠ΅Π½Π½ΠΎ ΡΡΡΠ±ΠΎ- ΠΏΡΠΎΠ²ΠΎΠ΄ 5 Π²ΡΡΠΎΠΊΠΎΠ³ΠΎ Π΄Π°Π²Π»Π΅Π½ΠΈΡ ΡΠ΅ΡΠ΅Π· ΡΠ°ΡΠΏΡΠ΅Π΄Π΅Π»ΠΈΡΠ΅Π»Ρ ΠΈ ΡΡΡΠ±ΠΎΠΏΡΠΎΠ²ΠΎΠ΄ 15 ΡΠΎΠ΅Π΄ΠΈΠ½ΡΠ΅ΡΡΡ Ρ ΡΡΡΠ±ΠΎΠΏΡΠΎΠ²ΠΎΠ΄ΠΎΠΌ 4. ΠΠ°ΡΠΎΡ ΠΏΡΠΎΠ΄ΠΎΠ»ΠΆΠ°Π΅Ρ ΡΠ°Π±ΠΎΡΠ°ΡΡ, ΠΈ ΡΠ°Π±ΠΎΡΠ°Ρ ΠΆΠΈΠ΄ΠΊΠΎΡΡΡ ΡΠ΅ΡΠ΅Π· ΡΠ°ΡΠΏΡΠ΅Π΄Π΅- Π»ΠΈΡΠ΅Π»Ρ ΠΏΠΎ ΡΡΡΠ±ΠΎΠΏΡΠΎΠ²ΠΎΠ΄Π°ΠΌ 15 ΠΈ 4 Π½ΠΈΠ·ΠΊΠΎΠ³ΠΎ Π΄Π°Π²Π»Π΅Π½ΠΈΡ Π²ΠΎΠ·Π²ΡΠ°ΡΠ°Π΅ΡΡΡ Π² Π±Π°ΠΊ 1. ΠΠ»Ρ ΠΎΠΏΡΡ- ΠΊΠ°Π½ΠΈΡ ΠΊΡΠ·ΠΎΠ²Π° ΡΡΠΊΠΎΡΡΠΊΡ ΡΠ°ΡΠΏΡΠ΅Π΄Π΅Π»ΠΈΡΠ΅Π»Ρ ΠΏΠ΅ΡΠ΅Π²ΠΎΠ΄ΡΡ Π² ΠΏΠΎΠ»ΠΎΠΆΠ΅Π½ΠΈΠ΅ Β«ΠΎΠΏΡΡΠΊΠ°Π½ΠΈΠ΅ ΠΊΡΠ·ΠΎΠ²Π°Β», ΠΏΡΠΈ ΡΡΠΎΠΌ Π·ΠΎΠ»ΠΎΡΠ½ΠΈΠΊ ΡΠ°ΡΠΏΡΠ΅Π΄Π΅Π»ΠΈΡΠ΅Π»Ρ ΡΠΎΠ΅Π΄ΠΈΠ½ΡΠ΅Ρ ΡΡΡΠ±ΠΎΠΏΡΠΎΠ²ΠΎΠ΄Ρ Π²ΡΡΠΎΠΊΠΎΠ³ΠΎ ΠΈ Π½ΠΈΠ·ΠΊΠΎΠ³ΠΎ Π΄Π°Π²Π»Π΅Π½ΠΈΡ ΠΈ ΡΠ°Π±ΠΎΡΠ°Ρ ΠΆΠΈΠ΄ΠΊΠΎΡΡΡ ΠΈΠ· ΡΠΈΠ»ΠΈΠ½Π΄ΡΠ° ΡΠ΅ΡΠ΅Π· ΡΠ°ΡΠΏΡΠ΅Π΄Π΅Π»ΠΈΡΠ΅Π»Ρ Π²ΠΎΠ·Π²ΡΠ°ΡΠ°Π΅ΡΡΡ Π² Π±Π°ΠΊ. ΠΠΎΡΠ»Π΅ ΠΎΠΏΡΡΠΊΠ°Π½ΠΈΡ ΠΊΡΠ·ΠΎΠ²Π° ΡΡΡΠ°Π³ 17 ΠΏΠ΅ΡΠ΅Π²ΠΎΠ΄ΡΡ Π² ΠΏΠ΅ΡΠ΅Π΄Π½Π΅Π΅ ΠΏΠΎΠ»ΠΎΠΆΠ΅Π½ΠΈΠ΅. ΠΡΠΈ ΡΡΠΎΠΌ ΠΏΡΠΎ- ΠΌΠ΅ΠΆΡΡΠΎΡΠ½Π°Ρ ΡΠ΅ΡΡΠ΅ΡΠ½Ρ Π²ΡΡ ΠΎΠ΄ΠΈΡ ΠΈΠ· Π·Π°ΡΠ΅ΠΏΠ»Π΅Π½ΠΈΡ ΠΈ ΠΊΠΎΡΠΎΠ±ΠΊΠ° ΠΎΡΠ±ΠΎΡΠ° ΠΌΠΎΡΠ½ΠΎΡΡΠΈ ΠΎΡΠΊΠ»ΡΡΠ°- Π΅ΡΡΡ. ΠΠΎΠ΄Π°ΡΠ° ΠΌΠ°ΡΠ»Π° ΠΏΡΠ΅ΠΊΡΠ°ΡΠ°Π΅ΡΡΡ. Π’ΡΡΠ±ΠΎΠΏΡΠΎΠ²ΠΎΠ΄ Π½ΠΈΠ·ΠΊΠΎΠ³ΠΎ Π΄Π°Π²Π»Π΅Π½ΠΈΡ Π·Π°ΠΊΠ°Π½ΡΠΈΠ²Π°Π΅ΡΡΡ ΡΠΈΠ»ΡΡΡΠΎΠΌ 2 ΡΠΎΠ½ΠΊΠΎΠΉ ΠΎΡΠΈΡΡΠΊΠΈ, ΡΡΡΠ°Π½ΠΎΠ²Π»Π΅Π½Π½ΡΠΌ Π² Π±Π°ΠΊΠ΅ 1. ΠΠ°ΡΠ°Π»Π»Π΅Π»ΡΠ½ΠΎ ΡΠΈΠ»ΡΡΡΡ Π²ΠΊΠ»Ρ- ΡΠ΅Π½ ΡΠ΅Π΄ΡΠΊΡΠΈΠΎΠ½Π½ΡΠΉ ΠΊΠ»Π°ΠΏΠ°Π½ 3, ΠΊΠΎΡΠΎΡΡΠΉ ΡΡΠ°Π±Π°ΡΡΠ²Π°Π΅Ρ ΠΏΡΠΈ Π·Π°ΡΠΎΡΠ΅Π½ΠΈΠΈ ΡΠΈΠ»ΡΡΡΠ° 2 (ΠΏΡΠΈ
Π΄Π°Π²Π»Π΅Π½ΠΈΠΈ 14 Π/ΠΌΠΌ2). Π Π°Π±ΠΎΡΠ΅Π΅ Π΄Π°Π²Π»Π΅Π½ΠΈΠ΅ Π² Π³ΠΈΠ΄ΡΠ°Π²Π»ΠΈΡΠ΅ΡΠΊΠΎΠΉ ΡΠΈΡΡΠ΅ΠΌΠ΅ β 8 Π/ΠΌΠΌ. ΠΠ° Π°Π²ΡΠΎ- ΠΌΠΎΠ±ΠΈΠ»Π΅-ΡΠ°ΠΌΠΎΡΠ²Π°Π»Π΅ ΠΠΠβΠΠΠβ4502 ΡΡΡΠ°Π½ΠΎΠ²Π»Π΅Π½ Π·ΠΎΠ»ΠΎΡΠ½ΠΈΠΊΠΎΠ²ΡΠΉ Π΄Π²ΡΡ ΡΠ΅ΠΊΡΠΈΠΎΠ½Π½ΡΠΉ ΡΠ΅- ΡΡΡΠ΅Ρ ΠΏΠΎΠ·ΠΈΡΠΈΠΎΠ½Π½ΡΠΉ ΡΠ°ΡΠΏΡΠ΅Π΄Π΅Π»ΠΈΡΠ΅Π»Ρ Π 75 β Π2Π (ΡΠΈΡΡΠ½ΠΎΠΊ 3.4) Ρ ΡΠΈΠΊΡΠ°ΡΠΈΠ΅ΠΉ Π·ΠΎΠ»ΠΎΡΠ½ΠΈ- ΠΊΠΎΠ² Π² ΡΠ°Π±ΠΎΡΠΈΡ ΠΏΠΎΠ»ΠΎΠΆΠ΅Π½ΠΈΡΡ Ρ ΠΏΠΎΠΌΠΎΡΡΡ ΠΌΠ΅Ρ Π°Π½ΠΈΡΠ΅ΡΠΊΠΎΠ³ΠΎ ΡΠΈΠΊΡΠ°ΡΠΎΡΠ° Ρ ΡΠ°ΡΠΈΠΊΠ°ΠΌΠΈ.
Β
Π° Π± Π²
Π ΠΈΡΡΠ½ΠΎΠΊ 3.4 β Π‘Ρ Π΅ΠΌΠ° ΡΠ°Π±ΠΎΡΡ ΡΠ°ΡΠΏΡΠ΅Π΄Π΅Π»ΠΈΡΠ΅Π»Ρ Π 75-Π2Π:
Π° β Π½Π΅ΠΉΡΡΠ°Π»ΡΠ½ΠΎΠ΅ ΠΏΠΎΠ»ΠΎΠΆΠ΅Π½ΠΈΠ΅; Π± β ΠΏΠΎΠ΄ΡΠ΅ΠΌ ΠΊΡΠ·ΠΎΠ²Π°; Π² β ΠΎΠΏΡΡΠΊΠ°Π½ΠΈΠ΅ ΠΊΡΠ·ΠΎΠ²Π°
Β
Β
Π Π°Π·Π±ΠΎΡΠΊΠ° ΠΈ ΡΠ±ΠΎΡΠΊΠ° ΠΏΠΎΠ΄ΡΠ΅ΠΌΠ½ΠΈΠΊΠ° | ΠΠΠ 130, ΠΠΠ 131,ΠΠΠ 3307, ΠΠΠ 3102, ΠΠΠ 3110, ΠΠΠ 53, ΠΠΠ 500, Π’ 25, Π’40, ΠΠΆ ΠΏΠ»Π°Π½Π΅ΡΠ°, ΠΠΆ ΡΠΏΠΈΡΠ΅Ρ
Π§ΡΠΎΠ±Ρ ΠΎΡΠ²ΠΎΠ±ΠΎΠ΄ΠΈΡΡ ΡΠ°Π·ΡΠ΅Π·Π½ΡΠ΅ ΡΡΠΎΠΏΠΎΡΠ½ΡΠ΅ ΠΊΠΎΠ»ΡΡΠ° , Π½Π΅ΡΠΊΠΎΠ»ΡΠΊΠΎ Π²ΡΠ΄Π²ΠΈΠ³Π°ΡΡ ΠΏΠ»ΡΠ½ΠΆΠ΅Ρ ΠΈ Π³ΠΈΠ»ΡΠ·Ρ, ΠΊΡΠΎΠΌΠ΅ Π½Π°ΡΡΠΆΠ½ΠΎΠΉ Π³ΠΈΠ»ΡΠ·Ρ, ΠΈ, ΠΎΡΠ²ΠΎΠ±ΠΎΒΠ΄ΠΈΠ² ΡΡΠΎΠΏΠΎΡΠ½ΡΠ΅ ΠΊΠΎΠ»ΡΡΠ°, ΡΠΈΠ»ΠΎΠΌ ΠΏΠΎΠ΄Π΄Π΅Π²Π°ΡΡ ΠΈΡ ΠΈ ΠΈΠ·Π²Π»Π΅ΠΊΠ°ΡΡ ΠΈΠ· ΠΊΠ°Π½Π°ΒΠ²ΠΎΠΊ Π² Π½ΠΈΠΆΠ½Π΅ΠΉ ΡΠ°ΡΡΠΈ Π³ΠΈΠ»ΡΠ·.
ΠΠΎΡΠ»Π΅ ΡΡΠΎΠ³ΠΎ ΠΏΠΎΠ΄ΡΠ΅ΠΌΠ½ΠΈΠΊ ΡΠ°Π·Π±ΠΈΡΠ°ΡΡ Π² ΡΠ°ΠΊΠΎΠΉ ΠΏΠΎΡΠ»Π΅Π΄ΠΎΠ²Π°ΡΠ΅Π»ΡΠ½ΠΎΒΡΡΠΈ: ΡΠ½Π°ΡΠ°Π»Π° ΠΏΠ»ΡΠ½ΠΆΠ΅Ρ , Π·Π°ΡΠ΅ΠΌ ΠΏΠΎΡΠ»Π΅Π΄ΠΎΠ²Π°ΡΠ΅Π»ΡΠ½ΠΎ Π²ΡΠ΅ Π³ΠΈΠ»ΡΠ·Ρ, Π½Π°ΡΠΈΒΠ½Π°Ρ Ρ Π²Π½ΡΡΡΠ΅Π½Π½Π΅ΠΉ Π³ΠΈΠ»ΡΠ·Ρ ΠΏΠΎΠ΄ΡΠ΅ΠΌΠ½ΠΈΠΊΠ°, ΠΏΠΎΠ»Π½ΠΎΡΡΡΡ Π²ΡΠ΄Π²ΠΈΠ³Π°ΡΡ ΠΈΠ· ΠΊΠΎΡΠΏΡΡΠ° Π² ΡΡΠΎΡΠΎΠ½Ρ Π΄Π½ΠΈΡΠ°. Π‘ ΠΏΠ»ΡΠ½ΠΆΠ΅ΡΠ° ΠΈ Π³ΠΈΠ»ΡΠ· ΡΠ½ΠΈΠΌΠ°ΡΡ Π½Π°ΠΏΡΠ°Π²ΒΠ»ΡΡΡΠΈΠ΅ Π²ΠΊΠ»Π°Π΄ΡΡΠΈ , ΡΠΎΡΡΠΎΡΡΠΈΠ΅ ΠΈΠ· Π΄Π²ΡΡ ΡΠ°ΡΡΠ΅ΠΉ. ΠΠ°ΡΠ΅ΠΌ ΠΈΠ· Π³ΠΈΠ»ΡΠ· ΠΈ ΠΊΠΎΡΠΏΡΡΠ° Π²ΡΠ½ΠΈΠΌΠ°ΡΡ Π½Π°ΠΏΡΠ°ΡΠ»ΡΡΡΠΈΠ΅ Π²ΠΊΠ»Π°Π΄ΡΡΠΈ , ΡΠΎΡΡΠΎΡΡΠΈΠ΅ ΠΈΠ· ΡΡΠ΅Ρ ΡΠ°ΡΡΠ΅ΠΉ. ΠΠ°ΡΠ΅ΠΌ Π²ΡΠ½ΠΈΠΌΠ°ΡΡ Π³ΡΡΠ·Π΅ΡΡΠ΅ΠΌΠ½ΠΈΠΊΠΈ , ΡΠΏΠ»ΠΎΡΠ½ΠΈΡΠ΅Π»ΡΠ½ΡΠ΅ ΠΊΠΎΠ»ΡΡΠ°Β ΠΈ Π·Π°ΡΠΈΡΠ½ΡΠ΅ ΠΊΠΎΠ»ΡΡΠ°. Π‘Π»Π΅Π΄ΡΠ΅Ρ ΡΡΠΈΡΡΠ²Π°ΡΡ, ΡΡΠΎ Π·Π°ΡΠΈΡΠ½ΡΠ΅ ΠΊΠΎΠ»ΡΡΠ° ΠΌΠΎΠΆΠ½ΠΎ ΡΠ½ΠΈΠΌΠ°ΡΡ ΡΠΎΠ»ΡΠΊΠΎ ΠΏΠΎΡΠ»Π΅ ΡΠΎΠ³ΠΎ, ΠΊΠ°ΠΊ Π±ΡΠ΄ΡΡ ΠΈΠ·Π²Π»Π΅ΡΠ΅Π½Ρ ΡΠΏΠ»ΠΎΡΠ½ΠΈΡΠ΅Π»ΡΠ½ΡΠ΅ ΠΊΠΎΠ»ΡΡΠ°. ΠΡΠΏΡΠ°Π²Π½ΡΠ΅ ΡΠ΅Π·ΠΈΠ½ΠΎΠ²ΡΠ΅ ΡΠΏΠ»ΠΎΡΠ½Π΅Π½ΠΈΡ ΠΈ Π³ΡΡΒΠ·Π΅ΡΡΠ΅ΠΌΠ½ΠΈΠΊΠΈ, ΠΏΡΠΈΠ³ΠΎΠ΄Π½ΡΠ΅ Π΄Π»Ρ Π΄Π°Π»ΡΠ½Π΅ΠΉΡΠ΅ΠΉ ΡΠΊΡΠΏΠ»ΡΠ°ΡΠ°ΡΠΈΠΈ, Π²ΡΠ½ΠΈΠΌΠ°ΡΡ ΠΏΡΠΈ ΡΠ°Π·Π±ΠΎΡΠΊΠ΅ ΠΏΠΎΠ΄ΡΠ΅ΠΌΠ½ΠΈΠΊΠ° Π½Π΅ ΡΠ΅ΠΊΠΎΠΌΠ΅Π½Π΄ΡΠ΅ΡΡΡ. ΠΡΠ»ΠΈ ΠΆΠ΅ ΠΎΠ½ΠΈ ΠΏΠΎΠ²ΒΡΠ΅ΠΆΠ΄Π΅Π½Ρ ΠΈΠ»ΠΈ ΡΠ°Π·Π±ΡΡ Π»ΠΈ ΠΈΠ·-Π·Π° ΠΏΡΠΈΠΌΠ΅Π½Π΅Π½ΠΈΡ Π½Π΅ΡΠ΅ΠΊΠΎΠΌΠ΅Π½Π΄ΠΎΠ²Π°Π½Π½ΠΎΠ³ΠΎ Π΄Π»Ρ ΡΠΊΡΠΏΠ»ΡΠ°ΡΠ°ΡΠΈΠΈ ΠΌΠ°ΡΠ»Π°, ΡΠΎ ΠΈΡ Π·Π°ΠΌΠ΅Π½ΡΡΡ.
Π‘Π±ΠΎΡΠΊΡ ΠΏΠΎΠ΄ΡΠ΅ΠΌΠ½ΠΈΠΊΠ° ΠΏΡΠΎΠΈΠ·Π²ΠΎΠ΄ΡΡ Π² ΠΏΠΎΡΠ»Π΅Π΄ΠΎΠ²Π°ΡΠ΅Π»ΡΠ½ΠΎΡΡΠΈ, ΠΎΠ±ΡΠ°ΡΠ½ΠΎΠΉ ΡΠ°Π·Π±ΠΎΡΠΊΠ΅. ΠΡΠΈ ΡΠ±ΠΎΡΠΊΠ΅ Π³ΡΡΠ·Π΅ΡΡΠ΅ΠΌΠ½ΠΈΠΊΠΈ Β«Π½Π΅ΠΎΠ±Ρ
ΠΎΠ΄ΠΈΠΌΠΎ ΡΠΌΠ°Π·ΡΠ²Π°ΡΡ ΠΌΠ°ΡΠΈΠ½Π½ΡΠΌ ΠΌΠ°ΡΠ»ΠΎΠΌ, Π° ΡΠ΅Π·ΡΠ±Ρ ΠΊΠΎΡΠΏΡΡΠ° Π΄Π½ΠΈΡΠ° β ΡΠΌΠ°Π·ΠΊΠΎΠΉ 1-13 ΠΈΠ»ΠΈ ΡΠΎΠ»ΠΈΠ΄ΠΎΠ»ΠΎΠΌ. ΠΠ΅ΡΠΌΠ°Π·Π°Π½Π½Π°Ρ ΡΠ΅Π·ΡΠ±Π° Π΄Π½ΠΈΡΠ° ΠΈ ΠΊΠΎΡΠΏΡΡΠ° ΠΏΠΎΠ΄ΡΠ΅ΠΌΠ½ΠΈΠΊΠ° ΠΈΠ·-Π·Π° ΠΏΠΎΠΏΠ°Π΄Π°Π½ΠΈΡ Π²ΠΎΠ΄Ρ ΠΌΠΎΠΆΠ΅Ρ Π·Π°ΡΠΆΠ°Π²Π΅ΡΡ, ΡΡΠΎ Π² Π΄Π°Π»ΡΠ½Π΅ΠΉΡΠ΅ΠΌ Π·Π°ΒΡΡΡΠ΄Π½ΠΈΡ ΠΎΡΠ²Π΅ΡΡΡΠ²Π°Π½ΠΈΠ΅ Π΄Π½ΠΈΡΠ°.Π‘ΠΎΠ±ΡΠ°Π½Π½ΡΠΉ ΠΏΠΎΠ΄ΡΠ΅ΠΌΠ½ΠΈΠΊ Π΄ΠΎΠ»ΠΆΠ΅Π½ ΡΠ°Π±ΠΎΡΠ°ΡΡ Π±Π΅Π· ΡΡΠ²ΠΊΠΎΠ² ΠΈ Π·Π°Π΅Π΄Π°ΒΠ½ΠΈΠΉ. ΠΠΎΠ΄ΡΠ΅ΠΊΠ°Π½ΠΈΠ΅ ΡΠ°Π±ΠΎΡΠ΅ΠΉ ΠΆΠΈΠ΄ΠΊΠΎΡΡΠΈ ΠΈ ΠΊΠ°ΠΏΠ»Π΅ΠΏΠ°Π΄Π΅Π½ΠΈΡ ΡΠ΅ΡΠ΅Π· ΡΠΏΠ»ΠΎΡΒΠ½Π΅Π½ΠΈΡ ΠΏΠΎΠ΄ΡΠ΅ΠΌΠ½ΠΈΠΊΠ° Π½Π΅ Π΄ΠΎΠΏΡΡΠΊΠ°ΡΡΡΡ. ΠΡΠΈ ΡΡΡΠ°Π½ΠΎΠ²ΠΊΠ΅ ΡΠΏΠ»ΠΎΡΠ½ΠΈΠ³Π΅Π»ΡΠ½ΡΡ
ΠΊΠΎΠ»Π΅Ρ ΠΈ Π³ΡΡΠ·Π΅ΡΡΠ΅ΠΌΠ½ΠΈΠΊΠΎΠ² Π½Π΅ΠΎΠ±Ρ
ΠΎΠ΄ΠΈΠΌΠΎ ΠΏΡΠ΅Π΄ΠΎΡ
ΡΠ°Π½ΡΡΡ ΡΠΏΠ»ΠΎΡΠ½ΡΡΒΡΠΈΠ΅ ΠΏΠΎΠ²Π΅ΡΡ
Π½ΠΎΡΡΠΈ ΠΎΡ ΠΏΠΎΠ²ΡΠ΅ΠΆΠ΄Π΅Π½ΠΈΠΉ, ΠΏΡΠΈΠΌΠ΅Π½ΡΡ Π΄Π»Ρ ΡΡΡΠ°Π½ΠΎΠ²ΠΊΠΈ ΡΠΏΠ»ΠΎΡΠ½ΠΈΡΠ΅Π»ΡΠ½ΡΡ
ΠΊΠΎΠ»Π΅Ρ ΠΎΠΏΡΠ°Π²ΠΊΠΈ. ΠΠ΅ΡΠ΅ΠΊΡΡΡΠΈΠ²Π°Π½ΠΈΠ΅ ΡΠΏΠ»ΠΎΡΠ½ΠΈΡΠ΅Π»ΡΠ½ΡΡ
ΠΊΠΎΠ»Π΅Ρ Π½Π΅ Π΄ΠΎΠΏΡΡΠΊΠ°Π΅ΡΡΡ. ΠΠ»Ρ ΠΏΡΠ΅Π΄ΠΎΡ
ΡΠ°Π½Π΅Π½ΠΈΡ ΠΎΡ ΠΊΠΎΡΡΠΎΠ·ΠΈΠΈ Π²ΡΡΡΡΠΏΠ°ΡΡΠΈΠ΅ Π²Π΅ΡΡ
Π½ΠΈΠ΅ ΡΠ°ΡΡΠΈ ΠΏΠ»ΡΠ½ΠΆΠ΅ΡΠ° ΠΈ Π³ΠΈΠ»ΡΠ· ΡΠ΅ΠΊΠΎΠΌΠ΅Π½Π΄ΡΠ΅ΡΡΡ Π²ΠΎ Π²ΡΠ΅ΠΌΡ ΡΠΊΡΠΏΠ»ΡΠ°ΒΡΠ°ΡΠΈΠΈ ΠΏΠΎ ΠΌΠ΅ΡΠ΅ Π½Π΅ΠΎΠ±Ρ
ΠΎΠ΄ΠΈΠΌΠΎΡΡΠΈ ΡΠΌΠ°Π·ΡΠ²Π°ΡΡ ΡΠΎΠ»ΠΈΠ΄ΠΎΠ»ΠΎΠΌ.
ΠΠΎΡ ΠΎΠΆΠΈΠ΅ ΡΡΠ°ΡΡΠΈ:
- ΠΠΎΠ΄ΡΠ΅ΠΌΠ½ΠΈΠΊ
- Π Π΅Π³ΡΠ»ΠΈΡΠΎΠ²ΠΊΠΈ, ΡΠ°Π·Π±ΠΎΡΠΊΠ° ΠΈ ΡΠ±ΠΎΡΠΊΠ° ΠΊΠΎΡΠΎΠ±ΠΊΠΈ ΠΌΠΎΡΠ½ΠΎΡΡΠΈ
- Π Π°Π·Π±ΠΎΡΠΊΠ° ΠΈ ΡΠ±ΠΎΡΠΊΠ° ΡΠ°ΡΠΏΡΠ΅Π΄Π΅Π»ΠΈΡΠ΅Π»Ρ
- Π Π°Π·Π±ΠΎΡΠΊΠ° ΠΈ ΡΠ±ΠΎΡΠΊΠ° Π½Π°ΡΠΎΡΠ°
- ΠΠΏΡΠΎΠΊΠΈΠ΄ΡΠ²Π°ΡΡΠ΅Π΅ ΡΡΡΡΠΎΠΉΡΡΠ²ΠΎ
realib.ru
ΠΠΎΠ΄ΡΠ΅ΠΌΠ½ΡΠΉ ΠΌΠ΅Ρ Π°Π½ΠΈΠ·ΠΌ ΠΊΡΠ·ΠΎΠ²Π° Π°Π²ΡΠΎΠΌΠΎΠ±ΠΈΠ»Ρ-ΡΠ°ΠΌΠΎΡΠ²Π°Π»Π° ΠΈ Π΅Π³ΠΎ ΠΏΡΠΈΠ²ΠΎΠ΄
ΠΠ°ΡΠ΅Π³ΠΎΡΠΈΡ:
Β Β Β ΠΠ²ΡΠΎΠ±ΡΡΡ ΠΈ ΡΠΏΠ΅ΡΠΈΠ°Π»ΡΠ½ΡΠ΅ Π°Π²ΡΠΎΠΌΠΎΠ±ΠΈΠ»ΠΈ
ΠΡΠ±Π»ΠΈΠΊΠ°ΡΠΈΡ:
Β Β Β ΠΠΎΠ΄ΡΠ΅ΠΌΠ½ΡΠΉ ΠΌΠ΅Ρ Π°Π½ΠΈΠ·ΠΌ ΠΊΡΠ·ΠΎΠ²Π° Π°Π²ΡΠΎΠΌΠΎΠ±ΠΈΠ»Ρ-ΡΠ°ΠΌΠΎΡΠ²Π°Π»Π° ΠΈ Π΅Π³ΠΎΒ ΠΏΡΠΈΠ²ΠΎΠ΄
Π§ΠΈΡΠ°ΡΡ Π΄Π°Π»Π΅Π΅:
ΠΠΎΠ΄ΡΠ΅ΠΌΠ½ΡΠΉ ΠΌΠ΅Ρ Π°Π½ΠΈΠ·ΠΌ ΠΊΡΠ·ΠΎΠ²Π° Π°Π²ΡΠΎΠΌΠΎΠ±ΠΈΠ»Ρ-ΡΠ°ΠΌΠΎΡΠ²Π°Π»Π° ΠΈ Π΅Π³ΠΎΒ ΠΏΡΠΈΠ²ΠΎΠ΄
ΠΠΎΠ΄ΡΠ΅ΠΌΠ½ΡΠΉ ΠΌΠ΅Ρ Π°Π½ΠΈΠ·ΠΌ ΠΌΠΎΠΆΠ΅Ρ ΠΎΠ±Π΅ΡΠΏΠ΅ΡΠΈΠ²Π°ΡΡ ΠΏΠΎΠ΄ΡΠ΅ΠΌ ΠΊΡΠ·ΠΎΠ²Π°, ΡΠΈΠΊΡΠ°ΡΠΈΡ Π΅Π³ΠΎ Π² Π»ΡΠ±ΡΡ ΠΏΠΎΠ»ΠΎΠΆΠ΅Π½ΠΈΡΡ ΠΈ ΠΎΠΏΡΡΠΊΠ°Π½ΠΈΠ΅. Π ΡΠΈΡΡΠ΅ΠΌΡ ΠΏΠΎΠ΄ΡΠ΅ΠΌΠ½ΠΎΠ³ΠΎ ΠΌΠ΅Ρ Π°Π½ΠΈΠ·ΠΌΠ° ΠΈ Π΅Π³ΠΎ ΠΏΡΠΈΠ²ΠΎΠ΄Π° Π²Ρ ΠΎΠ΄ΡΡ ΠΊΠΎΡΠΎΠ±ΠΊΠ° ΠΎΡΠ±ΠΎΡΠ° ΠΌΠΎΡΠ½ΠΎΡΡΠΈ, Π½Π°ΡΠΎΡ, Π³ΠΈΠ΄ΡΠ°Π²Π»ΠΈΡΠ΅ΡΠΊΠΈΠΉ ΠΏΠΎΠ΄ΡΠ΅ΠΌΠ½ΠΈΠΊ ΠΈ ΠΌΠ΅Ρ Π°Π½ΠΈΠ·ΠΌ ΡΠΏΡΠ°Π²Π»Π΅Π½ΠΈΡ. ΠΠΎΠ΄ΡΠ΅ΠΌΠ½ΡΠ΅ ΠΌΠ΅Ρ Π°Π½ΠΈΠ·ΠΌΡ Ρ Π°Π²ΡΠΎΠΌΠΎΠ±ΠΈΠ»Π΅ΠΉ-ΡΠ°ΠΌΠΎΡΠ²Π°Π»ΠΎΠ² ΠΠΠ-Π‘ΠΠ-63Π ΠΈ ΠΠΠ-ΠΠΠ-555 ΠΈΠΌΠ΅ΡΡ ΡΡΡΠ½ΠΎΠ΅ ΡΠΏΡΠ°Π²Π»Π΅Π½ΠΈΠ΅, Π° Ρ Π°Π²ΡΠΎΠΌΠΎΠ±ΠΈΠ»Π΅ΠΉ-ΡΠ°ΠΌΠΎΡΠ²Π°Π»ΠΎΠ² MA3-503B β ΠΏΠ½Π΅Π²ΠΌΠ°ΡΠΈΡΠ΅ΡΠΊΠΎΠ΅.
Π£ Π°Π²ΡΠΎΠΌΠΎΠ±ΠΈΠ»Ρ-ΡΠ°ΠΌΠΎΡΠ²Π°Π»Π° ΠΠΠ-ΠΠΠ-555 Π³ΠΈΠ΄ΡΠ°Π²Π»ΠΈΡΠ΅ΡΠΊΠΈΠΉ ΡΠ΅Π»Π΅ΡΠΊΠΎΠΏΠΈΡΠ΅ΡΠΊΠΈΠΉ ΠΏΠΎΠ΄ΡΠ΅ΠΌΠ½ΠΈΠΊ ΠΎΠΏΡΠΎΠΊΠΈΠ΄ΡΠ²Π°Π΅Ρ ΡΠ΅Π»ΡΠ½ΠΎΠΌΠ΅ΡΠ°Π»Π»ΠΈΡΠ΅ΡΠΊΡΡ ΠΏΠ»Π°ΡΡΠΎΡΠΌΡ Π½Π°Π·Π°Π΄, ΠΏΠΎΠ²Π΅ΡΡΡΠ²Π°Ρ Π΅Π΅ ΠΎΡΠ½ΠΎΡΠΈΡΠ΅Π»ΡΠ½ΠΎ ΠΎΡΠ΅ΠΉ. ΠΠ°Π΄Π½ΠΈΠΉ Π±ΠΎΡΡ ΠΏΠ»Π°ΡΡΠΎΡΠΌΡ ΡΠ΄Π΅Π»Π°Π½ ΠΎΡΠΊΡΡΠ²Π°ΡΡΠΈΠΌΡΡ ΠΈ ΠΌΠΎΠΆΠ΅Ρ ΠΏΠΎΠ²Π΅ΡΡΡΠ²Π°ΡΡΡΡ Π² ΠΊΡΠΎΠ½ΡΡΠ΅ΠΉΠ½Π°Ρ ΠΏΠΎΠ΄Π²Π΅ΡΠΊΠΈ. Π Π½Π°ΡΠ°ΠΌΠ½ΠΈΠΊΡ ΠΏΡΠΈΠΊΡΠ΅ΠΏΠ»Π΅Π½ ΠΊΡΠΎΠ½ΡΡΠ΅ΠΉΠ½, Π² ΠΏΡΠΎΡΠ΅Π·ΠΈ ΠΊΠΎΡΠΎΡΠΎΠ³ΠΎ Π²Ρ ΠΎΠ΄ΠΈΡ ΡΡΡΠ°Π³ Π°Π²ΡΠΎΠΌΠ°ΡΠΈΡΠ΅ΡΠΊΠΎΠ³ΠΎ ΠΎΡΠΊΡΡΠ²Π°Π½ΠΈΡ Π·Π°Π΄Π½Π΅Π³ΠΎ Π±ΠΎΡΡΠ° ΠΏΡΠΈ ΠΏΠΎΠ΄ΡΠ΅ΠΌΠ΅ ΠΏΠ»Π°ΡΡΠΎΡΠΌΡ. Π Π½Π°ΡΠ°Π»Π΅ ΠΏΠΎΠ΄ΡΠ΅ΠΌΠ° ΡΡΡΠ°Π³, ΡΠΏΠΈΡΠ°ΡΡΡ Π² Π²Π΅ΡΡ Π½ΡΡ ΠΊΡΠΎΠΌΠΊΡ ΠΏΡΠΎΡΠ΅Π·ΠΈ ΠΊΡΠΎΠ½ΡΡΠ΅ΠΉΠ½Π°, ΡΠ΅ΡΠ΅Π· Π²Π°Π» ΠΏΠΎΠ²Π΅ΡΡΡΠ²Π°Π΅Ρ ΡΠΊΠΎΠ±Ρ, ΠΊΠΎΡΠΎΡΠ°Ρ, ΠΏΠ΅ΡΠ΅ΠΌΠ΅ΡΠ°Ρ ΡΡΠ³Ρ Π·Π°ΠΏΠΎΡΠ½ΠΎΠ³ΠΎ ΠΊΡΡΠΊΠ° Π²ΠΏΠ΅ΡΠ΅Π΄, ΠΎΡΠΊΡΡΠ²Π°Π΅Ρ Π·Π°Π΄Π½ΠΈΠΉ Π±ΠΎΡΡ. ΠΠΎΠ³Π΄Π° ΠΏΠ»Π°ΡΡΠΎΡΠΌΠ° Π½Π°Ρ ΠΎΠ΄ΠΈΡΡΡ Π² ΠΎΠΏΡΡΠ΅Π½Π½ΠΎΠΌ ΠΏΠΎΠ»ΠΎΠΆΠ΅Π½ΠΈΠΈ, Π·Π°Π΄Π½ΠΈΠΉ Π±ΠΎΡΡ Π·Π°ΠΊΡΡΡ ΡΡΠΊΠΎΡΡΠΊΠΎΠΉ, Π·Π°ΠΊΡΠ΅ΠΏΠ»Π΅Π½Π½ΠΎΠΉ Π½Π° Π²Π°Π»Ρ. ΠΠ° Π½Π°ΡΠ°ΠΌΠ½ΠΈΠΊΠ΅ ΡΠ°ΡΠ½ΠΈΡΠ½ΠΎ ΡΠΊΡΠ΅ΠΏΠ»Π΅Π½Π° ΡΡΠ°Π½Π³Π°, ΡΠΈΠΊΡΠΈΡΡΡΡΠ°Ρ ΠΏΠ»Π°ΡΡΠΎΡΠΌΡ Π² ΠΏΠΎΠ΄Π½ΡΡΠΎΠΌ ΠΏΠΎΠ»ΠΎΠΆΠ΅Π½ΠΈΠΈ.

Π Π΅ΠΊΠ»Π°ΠΌΠ½ΡΠ΅ ΠΏΡΠ΅Π΄Π»ΠΎΠΆΠ΅Π½ΠΈΡ Π½Π° ΠΎΡΠ½ΠΎΠ²Π΅ Π²Π°ΡΠΈΡ ΠΈΠ½ΡΠ΅ΡΠ΅ΡΠΎΠ²:
Π ΠΈΡ. 1. Π‘Ρ Π΅ΠΌΠ° ΡΠ°ΡΠΏΠΎΠ»ΠΎΠΆΠ΅Π½ΠΈΡ ΡΠ·Π»ΠΎΠ· ΠΏΠΎΠ΄ΡΠ΅ΠΌΠ½ΠΎΠ³ΠΎ ΠΌΠ΅Ρ Π°Π½ΠΈΠ·ΠΌΠ° Π½Π° Π°Π²ΡΠΎΠΌΠΎΠ±ΠΈΠ»Π΅-ΡΠ°ΠΌΠΎΡΠ²Π°Π»Π΅ ΠΠΠ-ΠΠΠ-555: 1 β ΡΡΡΠ°Π³ ΡΠΏΡΠ°Π²Π»Π΅Π½ΠΈΡ; 2 β ΠΏΠ»Π°ΡΡΠΎΡΠΌΠ°; 3 β Π½Π°ΡΠ°ΠΌΠ½ΠΈΠΊ; 4 β Π³ΠΈΠ΄ΡΠ°Π²Π»ΠΈΡΠ΅ΡΠΊΠΈΠΉ ΠΏΠΎΠ΄ΡΠ΅ΠΌΠ½ΠΈΠΊ; 5 β- Π½Π°Π³Π½Π΅ΡΠ°ΡΠ΅Π»ΡΠ½Π°Ρ ΡΡΡΠ±Π°; 6 β ΠΌΠ°ΡΠ»ΡΠ½ΡΠΉ Π±Π°ΠΊ; 7 β Π²ΡΠ°ΡΡΠ²Π°ΡΡΠ°Ρ ΡΡΡΠ±Π°; 8 β ΡΡΡΠ±Π° Π΄Π»Ρ ΡΠ»ΠΈΠ²Π° ΠΌΠ°ΡΠ»Π°; 9 β ΠΊΠΎΡΠΎΠ±ΠΊΠ° ΠΎΡΠ±ΠΎΡΠ° ΠΌΠΎΡΠ½ΠΎΡΡΠΈ; 10 β Π½Π°ΡΠΎΡ; 11 β ΠΌΠ΅Ρ Π°Π½ΠΈΠ·ΠΌ ΡΠΏΡΠ°Π²Π»Π΅Π½ΠΈΡ; 12 β ΠΊΠΎΡΠΎΠ±ΠΊΠ° ΠΏΠ΅ΡΠ΅Π΄Π°Ρ
Π‘Ρ Π΅ΠΌΠ°, ΠΏΠΎΠΊΠ°Π·ΡΠ²Π°ΡΡΠ°Ρ ΠΏΡΠΈΠ½ΡΠΈΠΏ ΡΠ°Π±ΠΎΡΡ Π³ΠΈΠ΄ΡΠ°Π²Π»ΠΈΡΠ΅ΡΠΊΠΎΠ³ΠΎ ΠΏΠΎΠ΄ΡΠ΅ΠΌΠ½ΠΎΠ³ΠΎ ΠΌΠ΅Ρ Π°Π½ΠΈΠ·ΠΌΠ° Π°Π²ΡΠΎΠΌΠΎΠ±ΠΈΠ»Ρ ΠΠΠ-ΠΠΠ-555. ΠΡΠΈ ΡΡΡΠ°Π½ΠΎΠ²ΠΊΠ΅ ΡΡΡΠ°Π³Π° ΡΠΏΡΠ°Π²Π»Π΅Π½ΠΈΡ Π² ΠΏΠΎΠ»ΠΎΠΆΠ΅Π½ΠΈΠ΅ Β«ΠΠΎΠ΄ΡΠ΅ΠΌΒ» Π·ΠΎΠ»ΠΎΡΠ½ΠΈΠΊ Π·Π°Π½ΠΈΠΌΠ°Π΅Ρ ΠΏΠΎΠ»ΠΎΠΆΠ΅Π½ΠΈΠ΅ I, Π½Π°ΡΠΎΡ Π·Π°ΡΠ°ΡΡΠ²Π°Π΅Ρ ΠΌΠ°ΡΠ»ΠΎ ΠΈΠ· Π±Π°ΠΊΠ° ΠΏΠΎ ΡΡΡΠ±Π΅ ΠΈ Π½Π°Π³Π½Π΅ΡΠ°Π΅Ρ Π΅Π³ΠΎ ΠΏΠΎ ΡΡΡΠ±Π΅ Π² ΡΠΈΠ»ΠΈΠ½Π΄Ρ. ΠΠ»Π°ΠΏΠ°Π½ ΡΠ²Π»ΡΠ΅ΡΡΡ ΠΏΡΠ΅Π΄ΠΎΡ ΡΠ°Π½ΠΈΡΠ΅Π»ΡΠ½ΡΠΌ; ΠΎΠ½ ΠΎΡΠΊΡΡΠ²Π°Π΅ΡΡΡ ΠΏΡΠΈ ΡΠ²Π΅Π»ΠΈΡΠ΅Π½ΠΈΠΈ Π΄Π°Π²Π»Π΅Π½ΠΈΡ ΠΌΠ°ΡΠ»Π° Π² ΠΌΠ°Π³ΠΈΡΡΡΠ°Π»ΠΈ Π΄ΠΎ 13,5 ΠΠ/ΠΌ2 (135 ΠΊΠ³Ρ/ΡΠΌ2) ΠΈ ΠΏΠ΅ΡΠ΅ΠΏΡΡΠΊΠ°Π΅Ρ ΠΈΠ·Π»ΠΈΡΠ½Π΅Π΅ ΠΌΠ°ΡΠ»ΠΎ ΠΎΠ±ΡΠ°ΡΠ½ΠΎ Π² Π±Π°ΠΊ ΠΏΠΎ ΡΡΡΠ±Π΅. ΠΠΎΠ΄ Π΄Π΅ΠΉΡΡΠ²ΠΈΠ΅ΠΌ Π΄Π°Π²Π»Π΅Π½ΠΈΡ ΠΌΠ°ΡΠ»Π° ΠΈΠ· ΡΠΈΠ»ΠΈΠ½Π΄ΡΠ° Π²ΡΠ΄Π²ΠΈΠ³Π°Π΅ΡΡΡ Π²Π½Π°ΡΠ°Π»Π΅ Π³ΠΈΠ»ΡΠ·Π° 8, Π° Π·Π°ΡΠ΅ΠΌ ΠΏΠ»ΡΠ½ΠΆΠ΅Ρ, ΡΡΠΎ ΠΈ ΠΏΡΠΈΠ²ΠΎΠ΄ΠΈΡ ΠΊ ΠΎΠΏΡΠΎΠΊΠΈΠ΄ΡΠ²Π°Π½ΠΈΡ ΠΏΠ»Π°ΡΡΠΎΡΠΌΡ. ΠΡΠΈ ΡΡΡΠ°Π½ΠΎΠ²ΠΊΠ΅ ΡΡΡΠ°Π³Π° ΡΠΏΡΠ°Π²Π»Π΅Π½ΠΈΡ Π² ΠΏΠΎΠ»ΠΎΠΆΠ΅Π½ΠΈΠ΅ II ΠΌΠ°ΡΠ»ΠΎ ΠΈΠ· ΡΠΈΠ»ΠΈΠ½Π΄ΡΠ° ΡΠ΅ΡΠ΅Π· ΡΡΡΠ±ΠΊΡ, Π·ΠΎΠ»ΠΎΡΠ½ΠΈΠΊ ΠΈ ΡΡΡΠ±Ρ ΡΠ»ΠΈΠ²Π°Π΅ΡΡΡ Π² Π±Π°ΠΊ, Π° ΠΏΠ»ΡΠ½ΠΆΠ΅Ρ ΠΈ Π³ΠΈΠ»ΡΠ·Π° ΠΎΠΏΡΡΠΊΠ°ΡΡΡΡ ΠΎΠ±ΡΠ°ΡΠ½ΠΎ Π² ΡΠΈΠ»ΠΈΠ½Π΄Ρ.

Π ΠΈΡ. 2. Π¦Π΅Π»ΡΠ½ΠΎΠΌΠ΅ΡΠ°Π»Π»ΠΈΡΠ΅ΡΠΊΠΈΠΉ ΠΊΡΠ·ΠΎΠ· Π°Π²ΡΠΎΠΌΠΎΠ±ΠΈΠ»Ρ-ΡΠ°ΠΌΠΎΡΠ²Π°Π»Π° ΠΠΠ-ΠΠΠ-555: 1 β ΠΊΡΠΎΠ½ΡΡΠ΅ΠΉΠ½ ΠΏΠΎΠ΄Π²Π΅ΡΠΊΠΈ Π·Π°Π΄Π½Π΅Π³ΠΎ Π±ΠΎΡΡΠ°; 2 β Π·Π°Π΄Π½ΠΈΠΉ Π±ΠΎΡΠ³; 3 β ΠΏΠΎΠΏΠ΅ΡΠ΅ΡΠ½Π°Ρ Π±Π°Π»ΠΊΠ°; 4 β ΠΏΠ»Π°ΡΡΠΎΡΠΌΠ°; 5 β ΡΠ°ΠΏΡΠ° Π·Π°ΠΏΠΎΡΠ½ΠΎΠ³ΠΎ ΠΊΡΡΠΊΠ°; 6 β Π·Π°ΠΏΠΎΡΠ½ΡΠΉ ΠΊΡΡΠΊ; 7 β ΠΎΡΡ ΠΎΠΏΡΠΎΠΊΠΈΠ΄ΡΠ²Π°Π½ΠΈΡ ΠΏΠ»Π°ΡΡΠΎΡΠΌΡ; 8 β ΠΊΡΠΎΠ½ΡΡΠ΅ΠΉΠ½ ΠΎΡΠΈ ΠΎΠΏΡΠΎΠΊΠΈΠ΄ΡΠ²Π°Π½ΠΈΡ; 9 β ΡΡΠ³Π°; 10 β ΠΏΠΎΠ΄ΡΠ΅ΠΌΠ½ΠΈΠΊ; Π β ΡΠΏΠΎΡΠ½Π°Ρ ΡΡΠ°Π½Π³Π°; 12 β Π½Π°ΡΠ°ΠΌΠ½ΠΈΠΊ; 13 β ΠΊΡΠΎΠ½ΡΡΠ΅ΠΉΠ½ Π΄Π»Ρ Π°Π²ΡΠΎΠΌΠ°ΡΠΈΡΠ΅ΡΠΊΠΎΠ³ΠΎ ΠΎΡΠΊΡΡΠ²Π°Π½ΠΈΡ Π·Π°Π΄Π½Π΅Π³ΠΎ Π±ΠΎΡΡΠ°; 14 β ΡΡΡΠ°Π³ Π°Π²ΡΠΎΠΌΠ°ΡΠΈΡΠ΅ΡΠΊΠΎΠ³ΠΎ ΠΎΡΠΊΡΡΠ²Π°Π½ΠΈΡ Π·Π°Π΄Π½Π΅Π³ΠΎ Π±ΠΎΡΡΠ°; 15 β ΡΠΊΠΎΠ±Π°; 16 β Π²Π°Π» ΡΠΏΡΠ°Π²Π»Π΅Π½ΠΈΡ -ΡΡΠΎΡΠ°ΠΌΠΈ Π·Π°Π΄Π½Π΅Π³ΠΎ Π±ΠΎΡΡΠ°; 17 β ΡΡΠΊΠΎΡΡΠΊΠ°; 18β ΠΊΠΎΠ·ΡΡΠ΅ΠΊ

Π ΠΈΡ. 3. Π‘Ρ Π΅ΠΌΠ° Π³ΠΈΠ΄ΡΠ°Π²Π»ΠΈΡΠ΅ΡΠΊΠΎΠ³ΠΎ ΠΏΠΎΠ΄ΡΠ΅ΠΌΠ½ΠΎΠ³ΠΎ ΠΌΠ΅Ρ Π°Π½ΠΈΠ·ΠΌΠ° Π°Π²ΡΠΎΠΌΠΎΠ±ΠΈΠ»Ρ-ΡΠ°ΠΌΠΎΡΠ²Π°Π»Π° ΠΠΠ-ΠΠΠ-555: 1 β Π½Π°ΡΠΎΡ; 2 β Π²ΡΠ°ΡΡΠ²Π°ΡΡΠ°Ρ ΡΡΡΠ±Π°; 3 β ΠΌΠ°ΡΠ»ΡΠ½ΡΠΉ Π±Π°ΠΊ; 4 β ΡΡΡΠ±Π° Π΄Π»Ρ ΡΠ»ΠΈΠ²Π° ΠΌΠ°ΡΠ»Π°; 5 β ΠΏΡΠ΅Π΄ΠΎΡ ΡΠ°Π½ΠΈΡΠ΅Π»ΡΠ½ΡΠΉ ΠΊΠ»Π°ΠΏΠ°Π½; 6 β Π³ΠΎΠ»ΠΎΠ²ΠΊΠ° ΠΏΠ»ΡΠ½ΠΆΠ΅ΡΠ°; 7 β ΠΏΠ»ΡΠ½ΠΆΠ΅Ρ; 8 β Π³ΠΈΠ»ΡΠ·Π°; 9 β ΡΠΈΠ»ΠΈΠ½Π΄Ρ; 10 β Π½Π°Π³Π½Π΅ΡΠ°ΡΠ΅Π»ΡΠ½Π°Ρ ΡΡΡΠ±Π°; 11 β Π·ΠΎΠ»ΠΎΡΠ½ΠΈΠΊ ΠΊΡΠ°Π½Π° ΡΠΏΡΠ°Π²Π»Π΅Π½ΠΈΡ; 12 β ΠΎΠ±ΡΠ°ΡΠ½ΡΠΉ ΠΊΠ»Π°ΠΏΠ°Π½
Π ΠΏΠΎΠ΄ΡΠ΅ΠΌΠ½ΠΎΠΌ ΠΌΠ΅Ρ Π°Π½ΠΈΠ·ΠΌΠ΅ Π°Π²ΡΠΎΠΌΠΎΠ±ΠΈΠ»Ρ-ΡΠ°ΠΌΠΎΡΠ²Π°Π»Π° ΠΠΠ-Π‘ΠΠ-63Π ΠΊΠΎΡΠΎΠ±ΠΊΠ° ΠΎΡΠ±ΠΎΡΠ° ΠΌΠΎΡΠ½ΠΎΡΡΠΈ ΠΈ Π½Π°ΡΠΎΡ ΠΎΠ±ΡΠ΅Π΄ΠΈΠ½Π΅Π½Ρ Π² ΠΎΠ΄Π½ΠΎΠΌ Π±Π»ΠΎΠΊΠ΅, ΡΡΡΠ°Π½Π°Π²Π»ΠΈΠ²Π°Π΅ΠΌΠΎΠΌ Π½Π° ΠΊΠ°ΡΡΠ΅ΡΠ΅ ΠΊΠΎΡΠΎΠ±ΠΊΠΈ ΠΏΠ΅ΡΠ΅Π΄Π°Ρ. ΠΡΠΎΠΌΠ΅ΠΆΡΡΠΎΡΠ½Π°Ρ ΡΠ΅ΡΡΠ΅ΡΠ½Ρ, Π²ΡΠ°ΡΠ°ΡΡΠ°ΡΡΡ Π² Π΄Π²ΡΡ ΡΠ°ΡΠΈΠΊΠΎΠΏΠΎΠ΄ΡΠΈΠΏΠ½ΠΈΠΊΠ°Ρ , ΠΏΠ΅ΡΠ΅ΠΌΠ΅ΡΠ°Π΅ΡΡΡ Π²ΠΌΠ΅ΡΡΠ΅ Ρ ΠΎΡΡΡ Π² Π½Π°ΠΏΡΠ°Π²Π»ΡΡΡΠΈΡ ΠΊΠΎΡΠΏΡΡΠ°. ΠΡΠ° ΡΠ΅ΡΡΠ΅ΡΠ½Ρ Π½Π°Ρ ΠΎΠ΄ΠΈΡΡΡ Π² ΠΏΠΎΡΡΠΎΡΠ½Π½ΠΎΠΌ Π·Π°ΡΠ΅ΠΏΠ»Π΅Π½ΠΈΠΈ Ρ Π²Π΅Π΄ΠΎΠΌΠΎΠΉ ΡΠ΅ΡΡΠ΅ΡΠ½Π΅ΠΉ ΠΊΠΎΡΠΎΠ±ΠΊΠΈ ΠΎΡΠ±ΠΎΡΠ° ΠΌΠΎΡΠ½ΠΎΡΡΠΈ, ΠΈΠ·Π³ΠΎΡΠΎΠ²Π»Π΅Π½Π½ΠΎΠΉ ΠΊΠ°ΠΊ ΠΎΠ΄Π½ΠΎ ΡΠ΅Π»ΠΎΠ΅ Ρ Π²Π°Π»ΠΎΠΌ, ΠΊΠΎΡΠΎΡΡΠΉ Π²Π½ΡΡΡΠ΅Π½Π½ΠΈΠΌΠΈ ΡΠ»ΠΈΡΠ°ΠΌΠΈ ΡΠ²ΡΠ·Π°Π½ Ρ Π²Π°Π»ΠΎΠΌ Π²Π΅Π΄ΡΡΠ΅ΠΉ ΡΠ΅ΡΡΠ΅ΡΠ½ΠΈ ΠΌΠ°ΡΠ»ΡΠ½ΠΎΠ³ΠΎ Π½Π°ΡΠΎΡΠ°. ΠΡΠΈ Π²ΠΊΠ»ΡΡΠ΅Π½ΠΈΠΈ ΠΏΠΎΠ΄ΡΠ΅ΠΌΠ½ΠΎΠ³ΠΎ ΠΌΠ΅Ρ Π°Π½ΠΈΠ·ΠΌΠ° ΠΏΡΠΎΠΌΠ΅ΠΆΡΡΠΎΡΠ½Π°Ρ ΡΠ΅ΡΡΠ΅ΡΠ½Ρ Π²Π²ΠΎΠ΄ΠΈΡΡΡ Π² Π·Π°ΡΠ΅ΠΏΠ»Π΅Π½ΠΈΠ΅ Ρ ΡΠ΅ΡΡΠ΅ΡΠ½Π΅ΠΉ ΡΡΠ΅ΡΡΠ΅ΠΉ ΠΏΠ΅ΡΠ΅Π΄Π°ΡΠΈ ΠΏΡΠΎΠΌΠ΅ΠΆΡΡΠΎΡΠ½ΠΎΠ³ΠΎ Π²Π°Π»Π° ΠΊΠΎΡΠΎΠ±ΠΊΠΈ ΠΏΠ΅ΡΠ΅Π΄Π°Ρ.
ΠΠΈΠ΄ΡΠΎΡΠΈΠ»ΠΈΠ½Π΄Ρ Π°Π²ΡΠΎΠΌΠΎΠ±ΠΈΠ»Ρ-ΡΠ°ΠΌΠΎΡΠ²Π°Π»Π° ΠΠΠ-Π‘ΠΠ-63Π ΠΈΠΌΠ΅Π΅Ρ ΡΠ΅Π»Π΅ΡΠΊΠΎΠΏΠΈΡΠ΅ΡΠΊΠΎΠ΅ ΡΡΡΡΠΎΠΉΡΡΠ²ΠΎ, ΠΏΠΎΡΡΠΎΠΌΡ Π΅Π³ΠΎ ΠΊΠΎΠ½ΡΡΡΡΠΊΡΠΈΡ ΠΊΠΎΠΌΠΏΠ°ΠΊΡΠ½Π° ΠΏΡΠΈ Π±ΠΎΠ»ΡΡΠΎΠΌ ΡΠ°Π±ΠΎΡΠ΅ΠΌ Ρ ΠΎΠ΄Π΅ ΠΈ Π·Π½Π°ΡΠΈΡΠ΅Π»ΡΠ½ΠΎΠΌ ΡΠΈΠ»ΠΎΠ²ΠΎΠΌ ΡΡΡΠ΅ΠΊΡΠ΅. ΠΠ°ΡΡΠΆΠ½ΡΠΉ ΡΠ»Π΅ΠΌΠ΅Π½Ρ Π³ΠΈΠ΄ΡΠΎΡΠΈΠ»ΠΈΠ½Π΄ΡΠ° Π½Π΅ΠΏΠΎΠ΄Π²ΠΈΠΆΠ½ΡΠΉ, Π° ΡΠ΅ΡΡΡΠ΅ Π²Π½ΡΡΡΠ΅Π½Π½ΠΈΡ ΡΠ»Π΅ΠΌΠ΅Π½ΡΠ° Π²Ρ ΠΎΠ΄ΡΡ ΠΎΠ΄ΠΈΠ½ Π² Π΄ΡΡΠ³ΠΎΠΉ.

Π ΠΈΡ. 4. ΠΠ³ΡΠ΅Π³Π°ΡΡ ΠΎΠΏΡΠΎΠΊΠΈΠ΄ΡΠ²Π°ΡΡΠ΅Π³ΠΎ ΡΡΡΡΠΎΠΉΡΡΠ²Π° Π°Π²ΡΠΎΠΌΠΎΠ±ΠΈΠ»Ρ-ΡΠ°ΠΌΠΎΡΠ²Π°Π»Π° ΠΠΠ-ΠΠΠ: a β Π±Π»ΠΎΠΊ ΠΊΠΎΡΠΎΠ±ΠΊΠΈ ΠΌΠΎΡΠ½ΠΎΡΡΠΈ ΠΈ Π½Π°ΡΠΎΡΠ°; Π± β Π³ΠΈΠ΄ΡΠΎΡΠΈΠ»ΠΈΠ½Π΄Ρ; Π² β ΡΡ Π΅ΠΌΠ° ΠΊΡΠ°Π½Π° ΡΠΏΡΠ°Π²Π»Π΅Π½ΠΈΡ ΠΎΠΏΡΠΎΠΊΠΈΠ΄ΡΠ²Π°ΡΡΠΈΠΌ ΡΡΡΡΠΎΠΉΡΡΠ²ΠΎΠΌ; 1 β Π½Π°ΡΠΎΡ; 2 β ΠΎΡΡ ΠΏΠ΅ΡΠ΅Π΄Π²ΠΈΠΆΠ½ΠΎΠΉ ΡΠ΅ΡΡΠ΅ΡΠ½ΠΈ; 3 β ΠΊΠΎΡΠΏΡΡ; 4 β ΠΏΡΠΎΠΌΠ΅ΠΆΡΡΠΎΡΠ½Π°Ρ ΡΠ΅ΡΡΠ΅ΡΠ½Ρ; 5 ΠΈ 8 β ΡΠ°ΡΠΈΠΊΠΎΠΏΠΎΠ΄ΡΠΈΠΏΠ½ΠΈΠΊΠΈ; 6 β Π²Π΅Π΄ΠΎΠΌΠ°Ρ ΡΠ΅ΡΡΠ΅ΡΠ½Ρ; 7 β Π²Π°Π»; 9 β Π³ΡΡΠ·Π΅ΡΡΠ΅ΠΌΡΡΠ΅ ΠΊΠΎΠ»ΡΡΠ°; 10 β ΡΠΏΠ»ΠΎΡΠ½ΠΈΡΠ΅Π»ΡΠ½ΡΠ΅ ΠΊΠΎΠ»ΡΡΠ°; 11 β ΠΎΠΏΠΎΡΠ½Π°Ρ ΡΠ°ΠΏΡΠ°; 12 β ΡΠΎΠ»ΠΊΠ°ΡΠ΅Π»Ρ; 13, 14 a 18 β ΠΎΡΠ²Π΅ΡΡΡΠΈΡ
ΠΡΠΈ ΠΎΠΏΡΠΎΠΊΠΈΠ΄ΡΠ²Π°Π½ΠΈΠΈ ΠΊΡΠ·ΠΎΠ²Π° ΠΎΠ½ΠΈ ΠΏΠ΅ΡΠ΅ΠΌΠ΅ΡΠ°ΡΡΡΡ ΠΏΠΎΡΠ»Π΅Π΄ΠΎΠ²Π°ΡΠ΅Π»ΡΠ½ΠΎ, ΠΏΡΠΈΡΠ΅ΠΌ ΡΠ»Π΅ΠΌΠ΅Π½Ρ, Π΄ΠΎΡΡΠΈΠ³ΡΠΈΠΉ ΠΊΡΠ°ΠΉΠ½Π΅Π³ΠΎ Π²Π΅ΡΡ Π½Π΅Π³ΠΎ ΠΏΠΎΠ»ΠΎΠΆΠ΅Π½ΠΈΡ, ΡΡΠ°Π½ΠΎΠ²ΠΈΡΡΡ Π½Π°ΠΏΡΠ°Π²Π»ΡΡΡΠΈΠΌ Π΄Π»Ρ ΡΠ»Π΅Π΄ΡΡΡΠ΅Π³ΠΎ ΡΠ»Π΅ΠΌΠ΅Π½ΡΠ°. ΠΠΎΠ»ΡΡΠ° ΡΠ»ΡΠΆΠ°Ρ Π΄Π»Ρ ΡΡΠ΅ΠΌΠ° Π³ΡΡΠ·ΠΈ, Π° ΠΊΠΎΠ»ΡΡΠ° β Π΄Π»Ρ ΡΠΏΠ»ΠΎΡΠ½Π΅Π½ΠΈΡ. ΠΠΎΡΡΠΊΠΈ Π½Π° Π²Π½ΡΡΡΠ΅Π½Π½ΠΈΡ ΠΈ Π½Π°ΡΡΠΆΠ½ΡΡ ΠΏΠΎΠ²Π΅ΡΡ Π½ΠΎΡΡΡΡ ΡΠΈΠ»ΠΈΠ½Π΄ΡΠΈΡΠ΅ΡΠΊΠΈΡ ΡΠ»Π΅ΠΌΠ΅Π½ΡΠΎΠ² ΠΎΠ³ΡΠ°Π½ΠΈΡΠΈΠ²Π°ΡΡ ΠΈΡ Π²ΡΠ΄Π²ΠΈΠΆΠ΅Π½ΠΈΠ΅. Π Π°Π±ΠΎΡΠ°Ρ ΠΆΠΈΠ΄ΠΊΠΎΡΡΡ ΠΏΠΎΡΡΡΠΏΠ°Π΅Ρ Π² Π½Π°ΡΡΠΆΠ½ΡΠΉ ΡΠΈΠ»ΠΈΠ½Π΄Ρ ΡΠ΅ΡΠ΅Π· ΠΎΡΠ²Π΅ΡΡΡΠΈΠ΅ Π² ΠΎΠ΄Π½ΠΎΠΉ ΠΈΠ· Π΅Π³ΠΎ ΠΎΠΏΠΎΡΠ½ΡΡ ΡΠ°ΠΏΡ.
ΠΠΎΠ΄ΡΠ΅ΠΌΠ½ΡΠΌ ΠΌΠ΅Ρ Π°Π½ΠΈΠ·ΠΌΠΎΠΌ ΡΠΏΡΠ°Π²Π»ΡΡΡ ΠΏΡΠΈ ΠΏΠΎΠΌΠΎΡΠΈ ΡΡΠΊΠΎΡΡΠΊΠΈ Π²ΠΊΠ»ΡΡΠ΅Π½ΠΈΡ ΠΊΠΎΡΠΎΠ±ΠΊΠΈ ΠΎΡΠ±ΠΎΡΠ° ΠΌΠΎΡΠ½ΠΎΡΡΠΈ ΠΈ ΠΊΡΠ°Π½Π° ΡΠΏΡΠ°Π²Π»Π΅Π½ΠΈΡ ΠΎΠΏΡΠΎΠΊΠΈΠ΄ΡΠ²Π°ΡΡΠΈΠΌ ΡΡΡΡΠΎΠΉΡΡΠ²ΠΎΠΌ. ΠΡΠΈ Π²ΠΊΠ»ΡΡΠ΅Π½ΠΈΠΈ ΠΊΠΎΡΠΎΠ±ΠΊΠΈ ΠΎΡΠ±ΠΎΡΠ° ΠΌΠΎΡΠ½ΠΎΡΡΠΈ ΠΌΠ°ΡΠ»ΡΠ½ΡΠΉ Π½Π°ΡΠΎΡ ΡΠ΅ΡΠ΅Π· ΠΎΡΠ²Π΅ΡΡΡΠΈΠ΅, ΠΊΠ»Π°ΠΏΠ°Π½ ΠΈ ΠΎΡΠ²Π΅ΡΡΡΠΈΠ΅ ΠΏΠΎΠ΄Π°Π΅Ρ ΠΌΠ°ΡΠ»ΠΎ Π² ΡΠΈΠ»ΠΈΠ½Π΄Ρ β ΠΏΠ»Π°ΡΡΠΎΡΠΌΠ° ΠΏΠΎΠ΄Π½ΠΈΠΌΠ°Π΅ΡΡΡ. ΠΡΠΈ Π²ΡΠ΄Π²ΠΈΠΆΠ΅Π½ΠΈΠΈ Π²ΡΠ΅Ρ ΡΠ»Π΅ΠΌΠ΅Π½ΡΠΎΠ² ΡΠΈΠ»ΠΈΠ½Π΄ΡΠ° ΠΏΠΎΠ΄ Π΄Π΅ΠΉΡΡΠ²ΠΈΠ΅ΠΌ Π²ΠΎΠ·ΡΠΎΡΡΠ΅Π³ΠΎ Π΄Π°Π²Π»Π΅Π½ΠΈΡ ΠΎΡΠΊΡΡΠ²Π°Π΅ΡΡΡ ΠΊΠ»Π°ΠΏΠ°Π½ ΠΈ ΡΠ°ΡΡΡ ΠΌΠ°ΡΠ»Π° ΡΠ΅ΡΠ΅Π· ΠΎΡΠ²Π΅ΡΡΡΠΈΠ΅ ΡΠ»ΠΈΠ²Π°Π΅ΡΡΡ Π² Π±Π°ΠΊ. Π ΡΠ»ΡΡΠ°Π΅ ΠΏΠ΅ΡΠ΅Π²ΠΎΠ΄Π° ΡΡΡΠ°Π³Π° ΡΠΏΡΠ°Π²Π»Π΅Π½ΠΈΡ ΠΊΠΎΡΠΎΠ±ΠΊΠΎΠΉ ΠΎΡΠ±ΠΎΡΠ° ΠΌΠΎΡΠ½ΠΎΡΡΠΈ Π² ΠΏΠΎΠ»ΠΎΠΆΠ΅Π½ΠΈΠ΅ Β«ΠΠΏΡΡΠΊΠ°Π½ΠΈΠ΅Β» ΡΡΡΠ°Π³ ΡΠΎΠ»ΠΊΠ°ΡΠ΅Π»Ρ ΠΎΡΠΊΡΡΠ²Π°Π΅Ρ ΠΊΠ»Π°ΠΏΠ°Π½ ΠΎΠΏΡΡΠΊΠ°Π½ΠΈΡ ΠΈ ΠΆΠΈΠ΄ΠΊΠΎΡΡΡ ΠΏΠΎΠ΄ Π΄Π΅ΠΉΡΡΠ²ΠΈΠ΅ΠΌ Π²Π΅ΡΠ° ΠΏΠ»Π°ΡΡΠΎΡΠΌΡ Π²ΡΡΠ΅ΡΠ½ΡΠ΅ΡΡΡ ΠΈΠ· Π³ΠΈΠ΄ΡΠΎΡΠΈΠ»ΠΈΠ½Π΄ΡΠ° Π² Π±Π°ΠΊ ΡΠ΅ΡΠ΅Π· ΠΊΠ»Π°ΠΏΠ°Π½ ΠΊΠ»Π°ΠΏΠ°Π½ ΠΏΡΠΈ ΡΡΠΎΠΌ Π±ΡΠ΄Π΅Ρ Π·Π°ΠΊΡΡΡ.
Π£ΡΡΡΠΎΠΉΡΡΠ²ΠΎ ΠΈ ΠΏΡΠΈΠ½ΡΠΈΠΏ ΡΠ°Π±ΠΎΡΡ ΠΏΠΎΠ΄ΡΠ΅ΠΌΠ½ΡΡ ΠΌΠ΅Ρ Π°Π½ΠΈΠ·ΠΌΠΎΠ² Π΄ΡΡΠ³ΠΈΡ Π°Π²ΡΠΎΠΌΠΎΠ±ΠΈΠ»Π΅ΠΉ-ΡΠ°ΠΌΠΎΡΠ²Π°Π»ΠΎΠ² Π°Π½Π°Π»ΠΎΠ³ΠΈΡΠ½Ρ ΡΡΡΡΠΎΠΉΡΡΠ²Ρ ΠΈ ΠΏΡΠΈΠ½ΡΠΈΠΏΡ ΡΠ°Π±ΠΎΡΡ ΡΠ°ΡΡΠΌΠΎΡΡΠ΅Π½Π½ΠΎΠ³ΠΎ ΠΌΠ΅Ρ Π°Π½ΠΈΠ·ΠΌΠ°, Ρ ΠΎΡΡ ΠΈΠΌΠ΅ΡΡ ΠΌΠ΅ΡΡΠΎ ΠΈ Π½Π΅ΠΊΠΎΡΠΎΡΡΠ΅ ΠΊΠΎΠ½ΡΡΡΡΠΊΡΠΈΠ²Π½ΡΠ΅ ΡΠ°Π·Π»ΠΈΡΠΈΡ. Π’Π°ΠΊ, ΠΏΡΠΈ ΠΏΠΎΠΌΠΎΡΠΈ ΡΠ΅Π»Π΅ΡΠΊΠΎΠΏΠΈΡΠ΅ΡΠΊΠΈΡ ΡΠΈΠ»ΠΈΠ½Π΄ΡΠΎΠ² Π°Π²ΡΠΎΠΌΠΎΠ±ΠΈΠ»Π΅ΠΉ-ΡΠ°ΠΌΠΎΡΠ²Π°Π»ΠΎΠ² ΠΠΠ-5549 ΠΏΠΎΠ΄Π½ΠΈΠΌΠ°ΡΡ ΠΈ ΠΎΠΏΡΡΠΊΠ°ΡΡ ΠΏΠ»Π°ΡΡΠΎΡΠΌΡ Ρ ΠΈΡΠΏΠΎΠ»ΡΠ·ΠΎΠ²Π°Π½ΠΈΠ΅ΠΌ Π΄ΠΈΡΡΠ°Π½ΡΠΈΠΎΠ½Π½ΠΎΠ³ΠΎ ΠΏΠ½Π΅Π²ΠΌΠ°ΡΠΈΡΠ΅ΡΠΊΠΎΠ³ΠΎ ΡΠΏΡΠ°Π²Π»Π΅Π½ΠΈΡ ΠΊΡΠ°Π½ΠΎΠΌ ΠΏΠΎΠ΄ΡΠ΅ΠΌΠ° ΠΈ ΠΎΠΏΡΡΠΊΠ°Π½ΠΈΡ ΠΈΠ· ΠΊΠ°Π±ΠΈΠ½Ρ Π²ΠΎΠ΄ΠΈΡΠ΅Π»Ρ. ΠΡΠΎΠΌΠ΅ ΡΠΎΠ³ΠΎ, Π² ΡΠΈΡΡΠ΅ΠΌΠ΅ ΡΠΏΡΠ°Π²Π»Π΅Π½ΠΈΡ ΠΏΠΎΠ΄ΡΠ΅ΠΌΠ½ΡΠΌ ΠΌΠ΅Ρ Π°Π½ΠΈΠ·ΠΌΠΎΠΌ ΠΈΡΠΏΠΎΠ»ΡΠ·ΠΎΠ²Π°Π½ ΠΏΠ΅ΡΠ΅ΠΏΡΡΠΊΠ½ΠΎΠΉ ΠΊΠ»Π°ΠΏΠ°Π½, ΠΎΠ±Π΅ΡΠΏΠ΅ΡΠΈΠ²Π°ΡΡΠΈΠΉ Π²ΡΡΡΡΡ ΠΈΠ²Π°Π½ΠΈΠ΅ ΠΊΡΠ·ΠΎΠ²Π° Π΄Π»Ρ Π΅Π³ΠΎ Π±ΠΎΠ»Π΅Π΅ ΠΏΠΎΠ»Π½ΠΎΠΉ ΡΠ°Π·Π³ΡΡΠ·ΠΊΠΈ. Π£ Π°Π²ΡΠΎΠΌΠΎΠ±ΠΈΠ»Ρ-ΡΠ°ΠΌΠΎΡΠ²Π°Π»Π° MA3-503B Π·Π°Π΄Π½ΠΈΠΉ Π±ΠΎΡΡ ΡΠ½Π°Π±ΠΆΠ΅Π½ ΠΌΠ΅Ρ Π°Π½ΠΈΡΠ΅ΡΠΊΠΈΠΌ Π·Π°ΠΏΠΎΡΠΎΠΌ Ρ ΠΏΠ½Π΅Π²ΠΌΠ°ΡΠΈΡΠ΅ΡΠΊΠΈΠΌ Π΄ΠΈΡΡΠ°Π½ΡΠΈΠΎΠ½Π½ΡΠΌ ΠΏΡΠΈΠ²ΠΎΠ΄ΠΎΠΌ, ΡΠ±Π»ΠΎΠΊΠΈΡΠΎΠ²Π°Π½Π½ΡΠΌ Ρ ΠΏΠ½Π΅Π²ΠΌΠ°ΡΠΈΡΠ΅ΡΠΊΠΎΠΉ ΡΠΈΡΡΠ΅ΠΌΠΎΠΉ ΡΠΏΡΠ°Π²Π»Π΅Π½ΠΈΡ ΠΏΠΎΠ΄ΡΠ΅ΠΌΠ½ΡΠΌ ΠΌΠ΅Ρ Π°Π½ΠΈΠ·ΠΌΠΎΠΌ ΠΏΠ»Π°ΡΡΠΎΡΠΌΡ.
ΠΠ½Π΅Π²ΠΌΠ°ΡΠΈΡΠ΅ΡΠΊΠΈΠΉ ΡΠ°ΡΠΏΡΠ΅Π΄Π΅Π»ΠΈΡΠ΅Π»ΡΠ½ΡΠΉ ΠΊΡΠ°Π½ ΠΏΠΎΠ΄ΡΠ΅ΠΌΠ½ΠΎΠ³ΠΎ ΠΌΠ΅Ρ Π°Π½ΠΈΠ·ΠΌΠ° Π°Π²ΡΠΎΠΌΠΎΠ±ΠΈΠ»Ρ-ΡΠ°ΠΌΠΎΡΠ²Π°Π»Π° ΠΏΠΎΠΊΠ°Π·Π°Π½ Π½Π° ΡΠΈΡ. 223. Π ΡΠΊΠΎΡΡΠΊΠ° Π² ΠΊΠ°Π±ΠΈΠ½Π΅ Π²ΠΎΠ΄ΠΈΡΠ΅Π»Ρ ΠΏΡΠΈ ΠΏΠΎΠΌΠΎΡΠΈ ΠΊΠ°ΡΠ΄Π°Π½Π½ΠΎΠΉ ΠΏΠ΅ΡΠ΅Π΄Π°ΡΠΈ ΡΠ²ΡΠ·Π°Π½Π° Ρ Π²Π°Π»ΠΈΠΊΠΎΠΌ, Π½Π° ΠΊΠΎΡΠΎΡΠΎΠΌ Π·Π°ΠΊΡΠ΅ΠΏΠ»Π΅Π½ Π·ΡΠ±ΡΠ°ΡΡΠΉ ΡΠ΅ΠΊΡΠΎΡ, ΠΏΡΠΈΠ²ΠΎΠ΄ΡΡΠΈΠΉ Π² Π΄Π²ΠΈΠΆΠ΅Π½ΠΈΠ΅ ΡΠ΅ΡΡΠ΅ΡΠ½Ρ. ΠΠΌΠ΅ΡΡΠ΅ Ρ ΡΠ΅ΡΡΠ΅ΡΠ½Π΅ΠΉ ΠΏΠΎΠ²Π΅ΡΡΡΠ²Π°Π΅ΡΡΡ ΡΡΠΎΠΊ Ρ Π·Π°ΠΊΡΠ΅ΠΏΠ»Π΅Π½Π½ΡΠΌ Π½Π° Π½Π΅ΠΌ Π΄ΠΈΡΠΊΠΎΠΌ ΡΠΈΠΊΡΠ°ΡΠΎΡΠ°. ΠΠΈΡΠΊ ΠΈΠΌΠ΅Π΅Ρ ΡΠ³Π»ΡΠ±Π»Π΅Π½ΠΈΡ, ΠΊΠΎΡΠΎΡΡΠ΅ ΠΏΠΎΠ·Π²ΠΎΠ»ΡΡΡ ΡΠΈΠΊΡΠ°ΡΠΎΡΡ ΡΠΈΠΊΡΠΈΡΠΎΠ²Π°ΡΡ ΠΏΠΎΠ·ΠΈΡΠΈΠΈ, ΡΠΎΠΎΡΠ²Π΅ΡΡΡΠ²ΡΡΡΠΈΠ΅ Π²ΡΠ΅ΠΌ ΡΠ°Π±ΠΎΡΠΈΠΌ ΠΏΠΎΠ»ΠΎΠΆΠ΅Π½ΠΈΡΠΌ ΠΌΠ΅Ρ Π°Π½ΠΈΠ·ΠΌΠ°. Π‘ΠΎ ΡΡΠΎΠΊΠΎΠΌ ΡΠ²ΡΠ·Π°Π½ Π·ΠΎΠ»ΠΎΡΠ½ΠΈΠΊ, ΠΏΡΠΈΠΆΠΈΠΌΠ°Π΅ΠΌΡΠΉ ΠΊ ΠΊΠΎΡΠΏΡΡΡ ΡΠ°ΡΠ΅Π»ΡΡΠ°ΡΠΎΠΉ ΠΏΡΡΠΆΠΈΠ½ΠΎΠΉ ΠΈ Π΄Π°Π²Π»Π΅Π½ΠΈΠ΅ΠΌ Π²ΠΎΠ·Π΄ΡΡ Π°, ΠΏΠΎΠ΄Π²ΠΎΠ΄ΠΈΠΌΠΎΠ³ΠΎ ΡΠ΅ΡΠ΅Π· Π½ΠΈΠΆΠ½Π΅Π΅ ΠΎΡΠ²Π΅ΡΡΡΠΈΠ΅ Π. ΠΡΠΈ ΠΏΠΎΠ²ΠΎΡΠΎΡΠ΅ Π·ΠΎΠ»ΠΎΡΠ½ΠΈΠΊ ΡΠ°ΡΠΏΡΠ΅Π΄Π΅Π»ΡΠ΅Ρ Π²ΠΎΠ·Π΄ΡΡ , ΠΏΠΎΡΡΡΠΏΠΈΠ²ΡΠΈΠΉ Π² Π½ΠΈΠΆΠ½ΡΡ ΠΏΠΎΠ»ΠΎΡΡΡ, ΠΈΠ»ΠΈ Π² ΠΊΠ°ΠΌΠ΅ΡΡ Π²ΠΊΠ»ΡΡΠ΅Π½ΠΈΡ ΠΎΡΠ±ΠΎΡΠ° ΠΊΠΎΡΠΎΠ±ΠΊΠΈ ΠΌΠΎΡΠ½ΠΎΡΡΠΈ, Π° ΠΎΠ΄Π½ΠΎΠ²ΡΠ΅ΠΌΠ΅Π½Π½ΠΎ ΠΈ ΠΊ Π±ΠΎΡΡΠΎΠ²ΠΎΠΌΡ ΡΠΈΠ»ΠΈΠ½Π΄ΡΡ, ΠΈΠ»ΠΈ Π² ΠΊΠ°ΠΌΠ΅ΡΡ ΠΏΠ΅ΡΠ΅ΠΏΡΡΠΊΠ½ΠΎΠ³ΠΎ ΠΊΠ»Π°ΠΏΠ°Π½Π°. ΠΡΠΈ ΠΏΠΎΠ΄Π²ΠΎΠ΄Π΅ Π²ΠΎΠ·Π΄ΡΡ Π° ΠΊ ΠΎΠ΄Π½ΠΎΠΉ ΠΈΠ· ΠΊΠ°ΠΌΠ΅Ρ Π΄ΡΡΠ³Π°Ρ ΠΊΠ°ΠΌΠ΅ΡΠ° ΡΠΎΠ΅Π΄ΠΈΠ½ΡΠ΅ΡΡΡ Ρ Π°ΡΠΌΠΎΡΡΠ΅ΡΠΎΠΉ, Π° ΠΏΡΠΈ Π½Π΅ΠΉΡΡΠ°Π»ΡΠ½ΠΎΠΌ ΠΏΠΎΠ»ΠΎΠΆΠ΅Π½ΠΈΠΈ Π·ΠΎΠ»ΠΎΡΠ½ΠΈΠΊΠ° Ρ Π°ΡΠΌΠΎΡΡΠ΅ΡΠΎΠΉ ΡΠΎΠ΅Π΄ΠΈΠ½ΡΡΡΡΡ ΡΠ°Π±ΠΎΡΠΈΠ΅ ΠΏΠΎΠ»ΠΎΡΡΠΈ ΠΏΠ½Π΅Π²ΠΌΠ°ΡΠΈΡΠ΅ΡΠΊΠΈΡ ΠΊΠ°ΠΌΠ΅Ρ ΠΊΠΎΡΠΎΠ±ΠΊΠΈ ΠΎΡΠ±ΠΎΡΠ° ΠΌΠΎΡΠ½ΠΎΡΡΠΈ ΠΈ ΠΏΠ΅ΡΠ΅ΠΏΡΡΠΊΠ½ΠΎΠ³ΠΎ ΠΊΠ»Π°ΠΏΠ°Π½Π° (ΠΏΠΎΠ»ΠΎΠΆΠ΅Π½ΠΈΠ΅ ΠΏΡΠΈ ΡΡΠ°Π½ΡΠΏΠΎΡΡΠΈΡΠΎΠ²Π°Π½ΠΈΠΈ).
ΠΠ΅ΡΠ΅ΠΏΡΡΠΊΠ½ΠΎΠΉ ΠΊΠ»Π°ΠΏΠ°Π½ ΠΎΡΠ²Π΅ΡΡΡΠΈΠ΅ΠΌ Π ΡΠΎΠ΅Π΄ΠΈΠ½Π΅Π½ Ρ Π³ΠΈΠ΄ΡΠΎΡΠΈΠ»ΠΈΠ½Π΄ΡΠΎΠΌ, Π° ΠΎΡΠ²Π΅ΡΡΡΠΈΠ΅ΠΌ Π β Ρ ΠΌΠ°ΡΠ»ΡΠ½ΡΠΌ Π±Π°ΠΊΠΎΠΌ. ΠΡΠ²Π΅ΡΡΡΠΈΠ΅ Π ΡΠ»ΡΠΆΠΈΡ Π΄Π»Ρ ΡΠΎΠ΅Π΄ΠΈΠ½Π΅Π½ΠΈΡ ΠΏΠ½Π΅Π²ΠΌΠ°ΡΠΈΡΠ΅ΡΠΊΠΎΠΉ ΠΊΠ°ΠΌΠ΅ΡΡ Ρ ΠΏΠ½Π΅Π²ΠΌΠ°ΡΠΈΡΠ΅ΡΠΊΠΈΠΌ ΡΠ°ΡΠΏΡΠ΅Π΄Π΅Π»ΠΈΡΠ΅Π»ΡΠ½ΡΠΌ ΠΊΡΠ°Π½ΠΎΠΌ. ΠΠ»Π°ΠΏΠ°Π½, Ρ Π»Π΅Π²ΠΎΠΉ ΡΡΠΎΡΠΎΠ½Ρ ΡΠ²ΡΠ·Π°Π½Π½ΡΠΉ Ρ Π΄ΠΈΠ°ΡΡΠ°Π³ΠΌΠΎΠΉ, ΠΏΡΡΠΆΠΈΠ½ΠΎΠΉ ΠΏΡΠΈΠΆΠΈΠΌΠ°Π΅ΡΡΡ ΠΊ ΡΠ΅Π·ΠΈΠ½ΠΎΠ²ΠΎΠΌΡ ΡΠ΅Π΄Π»Ρ-ΠΌΠ°Π½ΠΆΠ΅ΡΠ΅. Π’ΡΠΎΡΠΎΠΌ Π΄ΠΈΠ°ΡΡΠ°Π³ΠΌΠ° ΡΠΎΠ΅Π΄ΠΈΠ½Π΅Π½Π° Ρ ΠΏΠΎΠ΄ΡΠ΅ΠΌΠ½ΡΠΌ ΠΌΠ΅Ρ Π°Π½ΠΈΠ·ΠΌΠΎΠΌ. ΠΡΠΈ ΠΏΠΎΠ΄ΡΠ΅ΠΌΠ΅ ΠΏΠ»Π°ΡΡΠΎΡΠΌΡ Π½Π° ΠΏΡΠ΅Π΄Π΅Π»ΡΠ½ΡΠΉ ΡΠ³ΠΎΠ» ΡΡΠΎΡ Π½Π°ΡΡΠ³ΠΈΠ²Π°Π΅ΡΡΡ ΠΈ ΠΏΠ΅ΡΠ΅Π΄Π²ΠΈΠ³Π°Π΅Ρ Π΄ΠΈΠ°ΡΡΠ°Π³ΠΌΡ ΠΈ ΠΊΠ»Π°ΠΏΠ°Π½ Π²Π»Π΅Π²ΠΎ, ΠΏΡΠΈ ΡΡΠΎΠΌ ΠΌΠ°ΡΠ»ΠΎ ΠΈΠ· ΡΠΈΠ»ΠΈΠ½Π΄ΡΠ° ΡΠ΅ΡΠ΅Π· ΠΎΡΠ²Π΅ΡΡΡΠΈΡ ΡΠ»ΠΈΠ²Π°Π΅ΡΡΡ Π² Π±Π°ΠΊ. ΠΠ°ΡΠ΅ΠΌ ΠΏΠ»Π°ΡΡΠΎΡΠΌΠ° ΡΠ΅Π·ΠΊΠΎ ΠΎΠΏΡΡΠΊΠ°Π΅ΡΡΡ (Π²ΡΡΡΡΡ ΠΈΠ²Π°Π΅ΡΡΡ), ΡΡΠΎΡ ΠΎΡΠ²ΠΎΠ±ΠΎΠΆΠ΄Π°Π΅ΡΡΡ, ΠΈ ΠΏΠΎΠ΄ Π΄Π΅ΠΉΡΡΠ²ΠΈΠ΅ΠΌ Π΄Π°Π²Π»Π΅Π½ΠΈΡ ΠΌΠ°ΡΠ»Π° ΠΏΠ»Π°ΡΡΠΎΡΠΌΠ° Π²Π½ΠΎΠ²Ρ ΠΏΠΎΠ΄Π½ΠΈΠΌΠ°Π΅ΡΡΡ Π΄ΠΎ ΠΏΡΠ΅Π΄Π΅Π»ΡΠ½ΠΎΠ³ΠΎ ΡΠ³Π»Π°, ΠΏΡΠΎΠΈΡΡ ΠΎΠ΄ΠΈΡ Π΅ΡΠ΅ ΠΎΠ΄Π½ΠΎ Π²ΡΡΡΡΡ ΠΈΠ²Π°Π½ΠΈΠ΅, ΠΈ ΡΠ°ΠΊ Π±ΡΠ΄Π΅Ρ ΠΏΠΎΠ²ΡΠΎΡΡΡΡΡΡ Π΄ΠΎ ΡΠ΅Ρ ΠΏΠΎΡ, ΠΏΠΎΠΊΠ° Π²ΠΎΠ΄ΠΈΡΠ΅Π»Ρ Π½Π΅ ΠΏΠ΅ΡΠ΅ΠΊΠ»ΡΡΠΈΡ ΠΏΠ½Π΅Π²ΠΌΠ°ΡΠΈΡΠ΅ΡΠΊΠΈΠΉ ΡΠ°ΡΠΏΡΠ΅Π΄Π΅Π»ΠΈΡΠ΅Π»ΡΠ½ΡΠΉ ΠΊΡΠ°Π½. Π’ΠΎΠ³Π΄Π° Π²ΠΎΠ·Π΄ΡΡ , ΠΏΠΎΡΡΡΠΏΠΈΠ²ΡΠΈΠΉ ΡΠ΅ΡΠ΅Π· ΠΎΡΠ²Π΅ΡΡΡΠΈΠ΅ Π, ΠΎΡΠΎΠΆΠΌΠ΅Ρ Π΄ΠΈΠ°ΡΡΠ°Π³ΠΌΡ Π²Π»Π΅Π²ΠΎ, ΠΊΠ»Π°ΠΏΠ°Π½ Π±ΡΠ΄Π΅Ρ Π²ΡΠ΅ Π²ΡΠ΅ΠΌΡ ΠΎΡΠΊΡΡΡ, ΠΈ ΠΌΠ°ΡΠ»ΠΎ ΠΈΠ· ΡΠΈΠ»ΠΈΠ½Π΄ΡΠ° ΡΠΎΠ»ΡΠ΅ΡΡΡ Π² Π±Π°ΠΊ Π΄ΠΎ ΠΏΠΎΠ»Π½ΠΎΠ³ΠΎ ΠΎΠΏΡΡΠΊΠ°Π½ΠΈΡ ΠΏΠ»Π°ΡΡΠΎΡΠΌΡ.
ΠΠ»Π°ΠΏΠ°Π½ ΠΏΡΠ΅Π΄ΠΎΡ ΡΠ°Π½ΡΠ΅Ρ ΡΠΈΡΡΠ΅ΠΌΡ ΠΎΡ ΠΏΠ΅ΡΠ΅Π³ΡΡΠ·ΠΊΠΈ. Π ΡΠ»ΡΡΠ°Π΅ ΡΡΠ΅Π·ΠΌΠ΅ΡΠ½ΠΎΠ³ΠΎ ΠΏΠΎΠ²ΡΡΠ΅Π½ΠΈΡ Π΄Π°Π²Π»Π΅Π½ΠΈΡ ΠΌΠ°ΡΠ»ΠΎ ΠΎΡΠΆΠΈΠΌΠ°Π΅Ρ ΠΊΠ»Π°ΠΏΠ°Π½ ΠΈ ΠΎΡΠΊΡΡΠ²Π°Π΅Ρ ΠΊΠ»Π°ΠΏΠ°Π½. ΠΠΎΠ»ΠΎΡΠ½ΠΈΠΊ ΡΠΏΡΠ΅ΡΡΡ Π² ΡΠ΅Π΄Π»ΠΎ-ΠΌΠ°Π½ΠΆΠ΅ΡΡ, ΠΏΠΎΡΡΠΎΠΌΡ ΠΊΠ»Π°ΠΏΠ°Π½ Π½Π°ΡΠ½Π΅Ρ ΠΏΠ΅ΡΠ΅ΠΌΠ΅ΡΠ°ΡΡΡΡ Π²Π»Π΅Π²ΠΎ, ΠΈ ΠΌΠ°ΡΠ»ΠΎ Π±ΡΠ΄Π΅Ρ ΡΠ»ΠΈΠ²Π°ΡΡΡΡ Π² Π±Π°ΠΊ.
β
Π Π°ΡΡΠΌΠΎΡΡΠΈΠΌ ΠΏΡΠΈΠ²ΠΎΠ΄ ΠΈ ΠΏΠΎΠ΄ΡΠ΅ΠΌΠ½ΡΠΉ ΠΌΠ΅Ρ Π°Π½ΠΈΠ·ΠΌ Π°Π²ΡΠΎΠΌΠΎΠ±ΠΈΠ»Ρ-ΡΠ°ΠΌΠΎΡΠ²Π°Π»Π° ΠΠΠ-205.
ΠΠ»Ρ ΠΎΠΏΡΠΎΠΊΠΈΠ΄ΡΠ²Π°Π½ΠΈΡ ΠΊΡΠ·ΠΎΠ²Π° ΡΡΠΎΡ Π°Π²ΡΠΎΠΌΠΎΠ±ΠΈΠ»Ρ-ΡΠ°ΠΌΠΎΡΠ²Π°Π» ΠΈΠΌΠ΅Π΅Ρ ΡΡΡΠ°ΠΆΠ½ΡΠΉ ΠΌΠ΅Ρ Π°Π½ΠΈΠ·ΠΌ, ΡΠΎΠ΅Π΄ΠΈΠ½Π΅Π½Π½ΡΠΉ ΡΠΎ ΡΡΠΎΠΊΠΎΠΌ Π³ΠΈΠ΄ΡΠ°Π²Π»ΠΈΡΠ΅ΡΠΊΠΎΠ³ΠΎ ΡΠΈΠ»ΠΈΠ½Π΄ΡΠ° (ΠΈΠ»ΠΈ ΡΠΈΠ»ΠΈΠ½Π΄ΡΠΎΠ²). ΠΠ° ΠΊΠΎΡΠΎΠ±ΠΊΠ΅ ΠΏΠ΅ΡΠ΅Π΄Π°Ρ Π°Π²ΡΠΎΠΌΠΎΠ±ΠΈΠ»Ρ-ΡΠ°ΠΌΠΎΡΠ²Π°Π»Π° ΡΡΡΠ°Π½Π°Π²Π»ΠΈΠ²Π°Π΅ΡΡΡ ΠΊΠΎΡΠΎΠ±ΠΊΠ° ΠΎΡΠ±ΠΎΡΠ° ΠΌΠΎΡΠ½ΠΎΡΡΠΈ, ΠΊΠΎΡΠΎΡΠ°Ρ ΡΠ΅ΡΠ΅Π· ΠΊΠ°ΡΠ΄Π°Π½Π½ΡΡ ΠΏΠ΅ΡΠ΅Π΄Π°ΡΡ, ΡΠΎΡΡΠΎΡΡΡΡ ΠΈΠ· Π²Π°Π»ΠΎΠ² ΠΈ ΠΏΡΠΎΠΌΠ΅ΠΆΡΡΠΎΡΠ½ΠΎΠΉ ΠΎΠΏΠΎΡΡ, ΠΏΡΠΈΠ²ΠΎΠ΄ΠΈΡ Π² Π΄Π΅ΠΉΡΡΠ²ΠΈΠ΅ ΠΌΠ°ΡΠ»ΡΠ½ΡΠΉ Π½Π°ΡΠΎΡ, ΡΠΊΡΠ΅ΠΏΠ»Π΅Π½Π½ΡΠΉ Π½Π° Π³ΠΎΠ»ΠΎΠ²ΠΊΠ΅ ΡΠΈΠ»ΠΈΠ½Π΄ΡΠ° Π³ΠΈΠ΄ΡΠ°Π²Π»ΠΈΡΠ΅ΡΠΊΠΎΠ³ΠΎ ΠΏΠΎΠ΄ΡΠ΅ΠΌΠ½ΠΈΠΊΠ°.
ΠΡΠ·ΠΎΠ² ΡΠ°ΡΠ½ΠΈΡΠ½ΠΎ ΡΠ²ΡΠ·Π°Π½ Ρ Π½Π°Π΄ΡΠ°ΠΌΠ½ΠΈΠΊΠΎΠΌ, ΠΊΠΎΡΠΎΡΡΠΉ ΠΆΠ΅ΡΡΠΊΠΎ ΡΠΊΡΠ΅ΠΏΠ»Π΅Π½ Π½Π° ΡΠ°ΠΌΠ΅.
Π ΠΊΠ°ΡΡΠ΅ΡΠ΅ ΠΊΠΎΡΠΎΠ±ΠΊΠΈ ΠΎΡΠ±ΠΎΡΠ° ΠΌΠΎΡΠ½ΠΎΡΡΠΈ ΡΡΡΠ°Π½ΠΎΠ²Π»Π΅Π½Ρ ΡΠ΅ΡΡΠ΅ΡΠ½ΠΈ. ΠΠ΅Π΄ΡΡΠ°Ρ ΡΠ΅ΡΡΠ΅ΡΠ½Ρ ΡΠ²ΠΎΠ±ΠΎΠ΄Π½ΠΎ ΡΠΈΠ΄ΠΈΡ Π½Π° ΠΎΡΠΈ ΠΈ Π½Π°Ρ ΠΎΠ΄ΠΈΡΡΡ Π² ΠΏΠΎΡΡΠΎΡΠ½Π½ΠΎΠΌ Π·Π°ΡΠ΅ΠΏΠ»Π΅Π½ΠΈΠΈ Ρ, Π²Π΅Π΄ΠΎΠΌΠΎΠΉ ΡΠ΅ΡΡΠ΅ΡΠ½Π΅ΠΉ, Π·Π°ΠΊΡΠ΅ΠΏΠ»Π΅Π½Π½ΠΎΠΉ Π½Π° Π²Π°Π»Ρ. ΠΠ°Π» ΡΠ²ΠΎΠ±ΠΎΠ΄Π½ΠΎ Π²ΡΠ°ΡΠ°Π΅ΡΡΡ Π² Π΄Π²ΡΡ Π±ΡΠΎΠ½Π·ΠΎΠ²ΡΡ Π²ΡΡΠ»ΠΊΠ°Ρ , Π·Π°ΠΏΡΠ΅ΡΡΠΎΠ²Π°Π½Π½ΡΡ Π² ΠΊΠ°ΡΡΠ΅Ρ ΠΊΠΎΡΠΎΠ±ΠΊΠΈ. ΠΠΊΠ»ΡΡΠ΅Π½ΠΈΠ΅ Π²Π°Π»Π° ΠΎΡΠ±ΠΎΡΠ° ΠΌΠΎΡΠ½ΠΎΡΡΠΈ ΠΏΡΠΎΠΈΠ·Π²ΠΎΠ΄ΠΈΡΡΡ ΠΏΡΠΈ ΠΏΠ΅ΡΠ΅ΠΌΠ΅ΡΠ΅Π½ΠΈΠΈ ΡΠ΅ΡΡΠ΅ΡΠ½ΠΈ ΡΠΏΠ΅ΡΠΈΠ°Π»ΡΠ½ΠΎΠΉ Π²ΠΈΠ»ΠΊΠΎΠΉ. Π ΡΡΠΎΠΌ ΡΠ»ΡΡΠ°Π΅ ΠΎΠ½Π° ΡΠΎΠ΅Π΄ΠΈΠ½ΡΠ΅ΡΡΡ Ρ ΡΠ΅ΡΡΠ΅ΡΠ½Π΅ΠΉ ΠΏΡΠΎΠΌΠ΅ΠΆΡΡΠΎΡΠ½ΠΎΠ³ΠΎ Π²Π°Π»Π° ΠΊΠΎΡΠΎΠ±ΠΊΠΈ ΠΏΠ΅ΡΠ΅Π΄Π°Ρ, Π½ΠΎ Π½Π΅ Π²ΡΡ ΠΎΠ΄ΠΈΡ ΠΈΠ· Π·Π°ΡΠ΅ΠΏΠ»Π΅Π½ΠΈΡ Ρ Π²Π΅Π΄ΠΎΠΌΠΎΠΉ ΡΠ΅ΡΡΠ΅ΡΠ½Π΅ΠΉ. Π’Π°ΠΊΠΈΠΌ ΠΎΠ±ΡΠ°Π·ΠΎΠΌ, ΡΠ΅ΡΡΠ΅ΡΠ½Ρ ΠΌΠΎΠΆΠ΅Ρ Π·Π°Π½ΠΈΠΌΠ°ΡΡ Π΄Π²Π° ΠΏΠΎΠ»ΠΎΠΆΠ΅Π½ΠΈΡ: Π²ΡΠΊΠ»ΡΡΠ΅Π½Π½ΠΎΠ΅ ΠΈΠ»ΠΈ Π²ΠΊΠ»ΡΡΠ΅Π½Π½ΠΎΠ΅. ΠΠΎΠ³Π΄Π° ΠΎΠ½Π° Π½Π°Ρ ΠΎΠ΄ΠΈΡΡΡ Π² Π·Π°ΡΠ΅ΠΏΠ»Π΅Π½ΠΈΠΈ Ρ ΡΠ΅ΡΡΠ΅ΡΠ½Π΅ΠΉ ΠΊΠΎΡΠΎΠ±ΠΊΠΈ ΠΏΠ΅ΡΠ΅Π΄Π°Ρ, ΡΠΎ ΡΠ΅ΡΠ΅Π· ΡΠ΅ΡΡΠ΅ΡΠ½Ρ ΠΏΡΠΈΠ²ΠΎΠ΄ΠΈΡ Π²ΠΎ Π²ΡΠ°ΡΠ΅Π½ΠΈΠ΅ Π²Π°Π» ΠΈ ΡΠ΅ΡΠ΅Π· ΠΊΠ°ΡΠ΄Π°Π½Π½ΡΡ ΠΏΠ΅ΡΠ΅Π΄Π°ΡΡ β ΡΠ΅ΡΡΠ΅ΡΠ½ΠΈ ΠΌΠ°ΡΠ»ΡΠ½ΠΎΠ³ΠΎ Π½Π°ΡΠΎΡΠ°.
ΠΠΎΡΠΎΠ±ΠΊΡ ΠΎΡΠ±ΠΎΡΠ° ΠΌΠΎΡΠ½ΠΎΡΡΠΈ Π²ΠΊΠ»ΡΡΠ°Π΅Ρ ΡΠΎΡΠ΅Ρ ΠΏΡΠΈ ΠΏΠΎΠΌΠΎΡΠΈ ΡΡΡΠ°Π³Π°, ΡΡΡΠ°Π½ΠΎΠ²Π»Π΅Π½Π½ΠΎΠ³ΠΎ Π² ΠΊΠ°Π±ΠΈΠ½Π΅.
Π ΠΊΠΎΡΠΏΡΡΠ΅ ΠΌΠ°ΡΠ»ΡΠ½ΠΎΠ³ΠΎ Π½Π°ΡΠΎΡΠ° Π½Π° Π΄Π²ΡΡ Π²Π°Π»ΠΈΠΊΠ°Ρ Π·Π°ΠΊΡΠ΅ΠΏΠ»Π΅Π½Ρ ΡΠ΅ΡΡΠ΅ΡΠ½ΠΈ, Π° ΡΠ°ΠΊΠΆΠ΅ ΡΠ°ΡΠΏΠΎΠ»ΠΎΠΆΠ΅Π½Ρ Π½Π°Π³Π½Π΅ΡΠ°ΡΠ΅Π»ΡΠ½ΡΠΉ ΠΊΠ»Π°ΠΏΠ°Π½ ΠΈ ΡΡΠ΅Ρ Ρ ΠΎΠ΄ΠΎΠ²ΠΎΠΉ ΠΊΡΠ°Π½. ΠΠ°Π»ΠΈΠΊΠΈ Π²ΡΠ°ΡΠ°ΡΡΡΡ Π² Π±ΡΠΎΠ½Π·ΠΎΠ²ΡΡ Π²ΡΡΠ»ΠΊΠ°Ρ , Π·Π°ΠΏΡΠ΅ΡΡΠΎΠ²Π°Π½Π½ΡΡ Π² ΠΊΠΎΡΠΏΡΡ ΠΈ ΠΊΡΡΡΠΊΡ Π½Π°ΡΠΎΡΠ°. ΠΡΠ²Π΅ΡΡΡΠΈΡ ΠΈ ΠΊΠ°Π½Π°Π»Ρ, ΠΈΠΌΠ΅ΡΡΠΈΠ΅ΡΡ Π² ΠΊΠΎΡΠΏΡΡΠ΅, Π΄Π°ΡΡ Π²ΠΎΠ·ΠΌΠΎΠΆΠ½ΠΎΡΡΡ ΡΠΎΠ΅Π΄ΠΈΠ½ΡΡΡ ΠΌΠ°ΡΠ»ΡΠ½ΡΠΉ Π½Π°ΡΠΎΡ Ρ ΠΏΠΎΠΌΠΎΡΡΡ ΡΡΠ΅Ρ Ρ ΠΎΠ΄ΠΎΠ²ΠΎΠ³ΠΎ ΠΊΡΠ°Π½Π° Ρ ΠΏΠΎΠ»ΠΎΡΡΡΠΌΠΈ Π³ΠΈΠ΄ΡΠ°Π²Π»ΠΈΡΠ΅ΡΠΊΠΎΠ³ΠΎ ΡΠΈΠ»ΠΈΠ½Π΄ΡΠ°.
ΠΠ΄ΠΈΠ½ ΠΈΠ· Π²Π°Π»ΠΈΠΊΠΎΠ² Π½Π°ΡΠΎΡΠ° ΡΠ²Π»ΡΠ΅ΡΡΡ Π²Π΅Π΄ΡΡΠΈΠΌ ΠΈ ΡΠΎΠ΅Π΄ΠΈΠ½ΡΠ΅ΡΡΡ Ρ ΠΊΠ°ΡΠ΄Π°Π½Π½ΠΎΠΉ ΠΏΠ΅ΡΠ΅Π΄Π°ΡΠ΅ΠΉ. ΠΠ°Π»ΠΈΠΊ ΠΊΡΠ°Π½Π° ΡΠ΅ΡΠ΅Π· ΠΏΡΠΎΠΌΠ΅ΠΆΡΡΠΎΡΠ½ΡΠ΅ Π΄Π΅ΡΠ°Π»ΠΈ ΡΠ²ΡΠ·Π°Π½ Ρ ΡΡΡΠ°Π³ΠΎΠΌ ΡΠΏΡΠ°Π²Π»Π΅Π½ΠΈΡ, Π½Π°Ρ ΠΎΠ΄ΡΡΠΈΠΌΡΡ Π² ΠΊΠ°Π±ΠΈΠ½Π΅ ΡΠΎΡΠ΅ΡΠ°.
Π¦ΠΈΠ»ΠΈΠ½Π΄Ρ 8 ΠΈΠ·Π³ΠΎΡΠΎΠ²Π»Π΅Π½ ΠΈΠ· ΡΡΠ°Π»ΡΠ½ΠΎΠΉ ΡΡΡΠ±Ρ. Π‘ ΠΎΠ΄Π½ΠΎΠΉ ΡΡΠΎΡΠΎΠ½Ρ ΠΊ Π½Π΅ΠΌΡ ΠΏΡΠΈΠ²Π°ΡΠ΅Π½Π° ΡΡΠ°Π»ΡΠ½Π°Ρ ΠΎΠΏΠΎΡΠ½Π°Ρ Π³ΠΎΠ»ΠΎΠ²ΠΊΠ°, ΠΈΠΌΠ΅ΡΡΠ°Ρ ΠΊΡΠΎΠ½ΡΡΠ΅ΠΉΠ½ ΠΈ ΡΡΠΊΠΎ, Π΄Π»Ρ ΡΠΎΠ΅Π΄ΠΈΠ½Π΅Π½ΠΈΡ Ρ Π½Π°Π΄ΡΠ°ΠΌΠ½ΠΈΠΊΠΎΠΌ, Ρ Π΄ΡΡΠ³ΠΎΠΉ β Π² ΡΠΈΠ»ΠΈΠ½Π΄Ρ Π²Π²Π΅ΡΡΡΠ²Π°Π΅ΡΡΡ ΡΡΠ³ΡΠ½Π½Π°Ρ ΠΊΡΡΡΠΊΠ°, ΠΈΠΌΠ΅ΡΡΠ°Ρ ΠΎΡΠ²Π΅ΡΡΡΠΈΠ΅ Π΄Π»Ρ ΠΏΡΠΎΡ ΠΎΠ΄Π° ΡΡΠΎΠΊΠ°. ΠΠΎΠ»ΠΎΠ²ΠΊΠΎΠΉ ΡΡΠΎΠΊ ΡΠΎΠ΅Π΄ΠΈΠ½ΡΠ΅ΡΡΡ Ρ ΡΡΡΠ°ΠΆΠ½ΡΠΌ ΠΌΠ΅Ρ Π°Π½ΠΈΠ·ΠΌΠΎΠΌ ΠΏΠΎΠ΄ΡΠ΅ΠΌΠ° ΠΊΡΠ·ΠΎΠ²Π°, Π° Π΄ΡΡΠ³ΠΈΠΌ ΠΊΠΎΠ½ΡΠΎΠΌ ΡΠΎΠ΅Π΄ΠΈΠ½ΡΠ΅ΡΡΡ Ρ ΡΡΠ³ΡΠ½Π½ΡΠΌ ΠΏΠΎΡΡΠ½Π΅ΠΌ. Π ΠΊΠ°Π½Π°Π²ΠΊΠ°Ρ ΠΏΠΎΡΡΠ½Ρ ΠΏΠΎΠΌΠ΅ΡΠ°ΡΡΡΡ ΡΡΠ³ΡΠ½Π½ΡΠ΅ ΡΠΏΠ»ΠΎΡΠ½ΡΡΡΠΈΠ΅ ΠΊΠΎΠ»ΡΡΠ°.

Π ΠΈΡ. 5. ΠΠΎΠ΄ΡΠ΅ΠΌΠ½ΡΠΉ ΠΌΠ΅Ρ
Π°Π½ΠΈΠ·ΠΌ ΠΊΡΠ·ΠΎΠ²Π° Π°Π²ΡΠΎΠΌΠΎΠ±ΠΈΠ»Ρ-ΡΠ°ΠΌΠΎΡΠ²Π°Π»Π° ΠΠΠ-205:
1 β ΠΊΠΎΡΠΎΠ±ΠΊΠ° ΠΎΡΠ±ΠΎΡΠ° ΠΌΠΎΡΠ½ΠΎΡΡΠΈ; Π³Π°Π· β ΡΡΡΠ°Π³ΠΈ; 4, β Π²Π°Π»Ρ; 5 β ΠΏΡΠΎΠΌΠ΅ΠΆΡΡΠΎΡΠ½Π°Ρ ΠΎΠΏΠΎΡΠ°; 7 β ΠΌΠ°ΡΠ»ΡΠ½ΡΠΉ Π½Π°ΡΠΎΡ; 8 β Π³ΠΈΠ΄ΡΠ°Π²Π»ΠΈΡΠ΅ΡΠΊΠΈΠΉ ΡΠΈΠ»ΠΈΠ½Π΄Ρ; 9 β ΡΡΠΎΠΊ; 10 β ΡΡΡΠ°ΠΆΠ½ΡΠΉ ΠΌΠ΅Ρ
Π°Π½ΠΈΠ·ΠΌ; 11 β ΠΊΡΠ·ΠΎΠ²; 12 β Π½Π°Π΄ΡΠ°ΠΌΠ½ΠΈΠΊ; 13 β ΡΠ°ΠΌΠ°; 14 β ΠΏΠΎΡΡΠ΅Π½Ρ; 15, 19 ΠΈ SO β ΡΠ΅ΡΡΠ΅ΡΠ½ΠΈ; 16 β ΠΊΠ°Π½Π°Π»Ρ; 17 β ΡΡΠ΅Ρ
Ρ
ΠΎΠ΄ΠΎΠ²ΠΎΠΉ ΠΊΡΠ°Π½; 18 β Π½Π°Π³Π½Π΅ΡΠ°ΡΠ΅Π»ΡΠ½ΡΠΉ ΠΊΠ»Π°ΠΏΠ°Π½
ΠΠΈΠ΄ΡΠ°Π²Π»ΠΈΡΠ΅ΡΠΊΠ°Ρ ΡΠΈΡΡΠ΅ΠΌΠ° Π°Π²ΡΠΎΠΌΠΎΠ±ΠΈΠ»Ρ-ΡΠ°ΠΌΠΎΡΠ²Π°Π»Π° Π·Π°ΠΏΠΎΠ»Π½Π΅Π½Π° Π²Π΅ΡΠ΅ΡΠ΅Π½Π½ΡΠΌ ΠΌΠ°ΡΠ»ΠΎΠΌ.
ΠΠ»Ρ ΠΎΠΏΡΠΎΠΊΠΈΠ΄ΡΠ²Π°Π½ΠΈΡ ΠΊΡΠ·ΠΎΠ²Π° ΡΠΎΡΠ΅Ρ ΠΏΠ΅ΡΠ΅Π²ΠΎΠ΄ΠΈΡ ΡΡΡΠ°Π³ Π² ΡΡΠ΅Π΄Π½Π΅Π΅ (Β«ΠΠΎΠ΄ΡΠ΅ΠΌΒ») ΠΏΠΎΠ»ΠΎΠΆΠ΅Π½ΠΈΠ΅. ΠΡΠ°Π½ ΠΏΠΎΠ²Π΅ΡΡΡΠ²Π°Π΅ΡΡΡ ΠΈ ΠΏΠ΅ΡΠ΅ΠΊΡΡΠ²Π°Π΅Ρ ΠΊΠ°Π½Π°Π»Ρ Π² ΠΊΠΎΡΠΏΡΡΠ΅ Π½Π°ΡΠΎΡΠ° ΡΠ°ΠΊ, ΡΡΠΎ ΠΌΠ°ΡΠ»ΠΎ ΠΏΠΎΡΡΡΠΏΠ°Π΅Ρ Π² ΡΠΈΠ»ΠΈΠ½Π΄Ρ, ΠΏΡΠ΅Π΄Π²Π°ΡΠΈΡΠ΅Π»ΡΠ½ΠΎ ΠΎΡΠΊΡΡΠ² Π½Π°Π³Π½Π΅ΡΠ°ΡΠ΅Π»ΡΠ½ΡΠΉ ΠΊΠ»Π°ΠΏΠ°Π½. ΠΠΎΠ΄ Π΄Π°Π²Π»Π΅Π½ΠΈΠ΅ΠΌ ΠΌΠ°ΡΠ»Π° ΠΏΠΎΡΡΠ΅Π½Ρ Π²ΠΌΠ΅ΡΡΠ΅ ΡΠΎ ΡΡΠΎΠΊΠΎΠΌ ΠΏΠ΅ΡΠ΅ΠΌΠ΅ΡΠ°Π΅ΡΡΡ Π² Π»Π΅Π²ΡΡ ΡΡΠΎΡΠΎΠ½Ρ, Π²ΡΠ·ΡΠ²Π°Ρ ΠΏΠΎΠ²ΠΎΡΠΎΡ ΡΡΡΠ°ΠΆΠ½ΠΎΠ³ΠΎ ΠΌΠ΅Ρ Π°Π½ΠΈΠ·ΠΌΠ° ΠΈ ΠΏΠΎΠ΄ΡΠ΅ΠΌ ΠΊΡΠ·ΠΎΠ²Π°. Π ΡΡΠΎΠΌ ΡΠ»ΡΡΠ°Π΅ Π½Π°ΡΠΎΡ ΠΏΠ΅ΡΠ΅ΠΊΠ°ΡΠΈΠ²Π°Π΅Ρ ΠΌΠ°ΡΠ»ΠΎ ΠΈΠ· ΠΎΠ΄Π½ΠΎΠΉ ΠΏΠΎΠ»ΠΎΡΡΠΈ ΡΠΈΠ»ΠΈΠ½Π΄ΡΠ° Π² Π΄ΡΡΠ³ΡΡ.

Π ΠΈΡ. 6. Π‘Ρ
Π΅ΠΌΠ° ΡΠ°Π±ΠΎΡΡ ΠΏΠΎΠ΄ΡΠ΅ΠΌΠ½ΠΎΠ³ΠΎ ΠΌΠ΅Ρ
Π°Π½ΠΈΠ·ΠΌΠ° ΠΏΡΠΈ ΡΠ°Π·Π»ΠΈΡΠ½ΡΡ
ΠΏΠΎΠ»ΠΎΠΆΠ΅Π½ΠΈΡΡ
ΡΡΡΠ°Π³Π° ΡΠΏΡΠ°Π²Π»Π΅Π½ΠΈΡ:
Π° β Π½Π΅ΠΉΡΡΠ°Π»ΡΠ½ΠΎΠ΅ ΠΏΠΎΠ»ΠΎΠΆΠ΅Π½ΠΈΠ΅; Π± β ΠΏΠΎΠ΄ΡΠ΅ΠΌ; Π² β ΠΎΠΏΡΡΠΊΠ°Π½ΠΈΠ΅; 1 β ΡΡΡΠ°Π³; 2 β ΠΊΡΠ°Π½; 3 β Π½Π°ΡΠΎΡ; 4 β Π½Π°Π³Π½Π΅ΡΠ°ΡΠ΅Π»ΡΠ½ΡΠΉ ΠΊΠ»Π°ΠΏΠ°Π½; 5 β ΡΡΡΠ°ΠΆΠ½ΡΠΉ ΠΌΠ΅Ρ
Π°Π½ΠΈΠ·ΠΌ; 6 β ΠΊΡΠ·ΠΎΠ²
ΠΡΠΈ ΠΏΠ΅ΡΠ΅Π²ΠΎΠ΄Π΅ ΡΡΡΠ°Π³Π° Π² Π·Π°Π΄Π½Π΅Π΅ ΠΏΠΎΠ»ΠΎΠΆΠ΅Π½ΠΈΠ΅ (Β«ΠΠΏΡΡΠΊΠ°Π½ΠΈΠ΅Β») ΠΏΠΎΠ²Π΅ΡΡΡΠ²Π°Π΅ΡΡΡ ΠΊΡΠ°Π½ ΠΈ ΠΎΠ±Π΅ ΠΏΠΎΠ»ΠΎΡΡΠΈ ΡΠΈΠ»ΠΈΠ½Π΄ΡΠ° ΡΠΎΠ΅Π΄ΠΈΠ½ΡΡΡΡΡ.ΠΌΠ΅ΠΆΠ΄Ρ ΡΠΎΠ±ΠΎΠΉ. ΠΠΎΠ΄ Π΄Π΅ΠΉΡΡΠ²ΠΈΠ΅ΠΌ ΡΠΈΠ»Ρ ΡΡΠΆΠ΅ΡΡΠΈ ΠΊΡΠ·ΠΎΠ²Π° ΠΏΠΎΡΡΠ΅Π½Ρ ΠΏΠ΅ΡΠ΅ΠΌΠ΅ΡΠ°Π΅ΡΡΡ Π² ΠΏΡΠ°Π²ΡΡ ΡΡΠΎΡΠΎΠ½Ρ, ΠΈ ΠΊΡΠ·ΠΎΠ² ΠΎΠΏΡΡΠΊΠ°Π΅ΡΡΡ. ΠΠ°ΡΠ»ΠΎ ΠΏΡΠΈΠΆΠΈΠΌΠ°Π΅Ρ Π½Π°Π³Π½Π΅ΡΠ°ΡΠ΅Π»ΡΠ½ΡΠΉ ΠΊΠ»Π°ΠΏΠ°Π½ ΠΊ ΡΠ΅Π΄Π»Ρ ΠΈ ΠΏΠ΅ΡΠ΅ΡΠ΅ΠΊΠ°Π΅Ρ ΠΈΠ· ΠΎΠ΄Π½ΠΎΠΉ ΠΏΠΎΠ»ΠΎΡΡΠΈ ΡΠΈΠ»ΠΈΠ½Π΄ΡΠ° Π² Π΄ΡΡΠ³ΡΡ. ΠΡΠ»ΠΈ ΡΡΡΠ°Π³ ΠΏΠ΅ΡΠ΅Π²Π΅ΡΡΠΈ Π² Π½Π΅ΠΉΡΡΠ°Π»ΡΠ½ΠΎΠ΅ ΠΏΠΎΠ»ΠΎΠΆΠ΅Π½ΠΈΠ΅, ΡΠΎ ΠΊΡΠ·ΠΎΠ² ΠΌΠΎΠΆΠ½ΠΎ ΠΎΡΡΠ°Π½ΠΎΠ²ΠΈΡΡ Π² Π»ΡΠ±ΠΎΠΌ ΠΏΠΎΠ΄Π½ΡΡΠΎΠΌ ΠΏΠΎΠ»ΠΎΠΆΠ΅Π½ΠΈΠΈ.
Π Π΅ΠΊΠ»Π°ΠΌΠ½ΡΠ΅ ΠΏΡΠ΅Π΄Π»ΠΎΠΆΠ΅Π½ΠΈΡ:
Π§ΠΈΡΠ°ΡΡ Π΄Π°Π»Π΅Π΅: ΠΠ°Π·Π½Π°ΡΠ΅Π½ΠΈΠ΅ ΠΈ ΡΠΈΠΏΡ Π°Π²ΡΠΎΠΌΠΎΠ±ΠΈΠ»Π΅ΠΉ-ΡΠ΅ΡΡΠΈΠΆΠ΅ΡΠ°ΡΠΎΡΠΎΠ²
ΠΠ°ΡΠ΅Π³ΠΎΡΠΈΡ: — ΠΠ²ΡΠΎΠ±ΡΡΡ ΠΈ ΡΠΏΠ΅ΡΠΈΠ°Π»ΡΠ½ΡΠ΅ Π°Π²ΡΠΎΠΌΠΎΠ±ΠΈΠ»ΠΈ
ΠΠ»Π°Π²Π½Π°Ρ β Π‘ΠΏΡΠ°Π²ΠΎΡΠ½ΠΈΠΊ β Π‘ΡΠ°ΡΡΠΈ β Π€ΠΎΡΡΠΌ
stroy-technics.ru
ΠΠΌΠΏΠ΅ΡΠΈΡ β ΠΠΎΠΈΡΠΊΠΎΠ²ΡΠΉ ΠΎΠ½Π»Π°ΠΉΠ½ Π²ΠΈΠ΄Π΅ΠΎ ΡΠ΅ΡΠ²ΠΈΡ
ΠΠ°Π΄ΠΎΠ΅Π»ΠΎ ΠΏΡΠΎΠΏΡΡΠΊΠ°ΡΡ ΠΏΡΠ΅ΠΌΡΠ΅ΡΡ Π² ΠΊΠΈΠ½ΠΎΡΠ΅Π°ΡΡΠ΅ ΠΈΠ·-Π·Π° Π±Π΅ΡΠ΅Π½ΠΎΠ³ΠΎ ΡΠΈΡΠΌΠ° ΠΆΠΈΠ·Π½ΠΈ? Π£ΡΡΠ°Π»ΠΈ ΠΎΡ ΡΠΎΠ³ΠΎ, ΡΡΠΎ ΠΏΠΎ ΡΠ΅Π»Π΅ΠΊΠ°Π½Π°Π»Π°ΠΌ ΡΡΠΎΡΡΠΈΠ΅ ΡΠΈΠ»ΡΠΌΡ ΡΡΠ°Π½ΡΠ»ΠΈΡΡΡΡΡΡ Π² Π½Π΅ΡΠ΄ΠΎΠ±Π½ΠΎΠ΅ Π΄Π»Ρ ΠΠ°Ρ Π²ΡΠ΅ΠΌΡ? Π ΠΠ°ΡΠ΅ΠΉ ΡΠ΅ΠΌΡΠ΅ ΡΠ°ΡΡΠΎ ΡΠΎΠ΄Π½ΡΠ΅ Π΄Π΅Π»ΡΡ ΠΏΡΠ»ΡΡ ΠΎΡ ΡΠ΅Π»Π΅Π²ΠΈΠ·ΠΎΡΠ°? Π Π΅Π±Π΅Π½ΠΎΠΊ ΠΏΡΠΎΡΠΈΡ ΠΏΠΎΡΠΌΠΎΡΡΠ΅ΡΡ ΠΌΡΠ»ΡΡΡΠΈΠ»ΡΠΌΡ Π΄Π»Ρ Π΄Π΅ΡΠ΅ΠΉ, ΠΊΠΎΠ³Π΄Π° ΠΡ Π·Π°Π½ΡΡΡ, Π° Π½Π° ΠΊΠ°Π½Π°Π»Π°Ρ Π½Π΅Ρ Ρ ΠΎΡΠΎΡΠΈΡ ΠΌΡΠ»ΡΡΡΠΈΠ»ΡΠΌΠΎΠ²? Π, Π² ΠΊΠΎΠ½ΡΠ΅ ΠΊΠΎΠ½ΡΠΎΠ², ΠΡ ΠΏΡΠΎΡΡΠΎ Ρ ΠΎΡΠΈΡΠ΅ ΡΠ°ΡΡΠ»Π°Π±ΠΈΡΡΡΡ ΠΏΠΎΡΠ»Π΅ ΡΡΡΠ΄ΠΎΠ²ΠΎΠ³ΠΎ Π΄Π½Ρ Π½Π° Π΄ΠΈΠ²Π°Π½Π΅ Π² Π΄ΠΎΠΌΠ°ΡΠ½Π΅ΠΉ ΠΎΠ΄Π΅ΠΆΠ΄Π΅ Π·Π° ΠΏΡΠΎΡΠΌΠΎΡΡΠΎΠΌ ΠΈΠ½ΡΠ΅ΡΠ΅ΡΠ½ΠΎΠ³ΠΎ ΡΠΈΠ»ΡΠΌΠ° ΠΈΠ»ΠΈ ΡΠ΅ΡΠΈΠ°Π»Π°?
ΠΠ»Ρ ΡΡΠΎΠ³ΠΎ Π»ΡΡΡΠ΅ Π²ΡΠ΅Π³ΠΎ ΠΈΠΌΠ΅ΡΡ Π²ΡΠ΅Π³Π΄Π° Π² Π·Π°ΠΊΠ»Π°Π΄ΠΊΠ°Ρ Π»ΡΠ±ΠΈΠΌΡΠΉ ΡΠ°ΠΉΡ, ΠΊΠΎΡΠΎΡΡΠΉ ΡΡΠ°Π½Π΅Ρ Π΄Π»Ρ ΠΠ°Ρ Π»ΡΡΡΠΈΠΌ Π΄ΡΡΠ³ΠΎΠΌ ΠΈ ΠΏΠΎΠΌΠΎΡΠ½ΠΈΠΊΠΎΠΌ. Β«Π ΠΊΠ°ΠΊ ΠΆΠ΅ Π²ΡΠ±ΡΠ°ΡΡ ΡΠ°ΠΊΠΎΠΉ ΡΠ°ΠΉΡ, ΠΊΠΎΠ³Π΄Π° ΠΈΡ ΡΠ°ΠΊ ΠΌΠ½ΠΎΠ³ΠΎ?Β» — ΡΠΏΡΠΎΡΠΈΡΠ΅ ΠΡ. ΠΡΡΡΠΈΠΌ Π²ΡΠ±ΠΎΡΠΎΠΌ Π΄Π»Ρ ΠΠ°Ρ Π±ΡΠ΄Π΅Ρ ΠΈΠΌΠ΅Π½Π½ΠΎ imperiya.by
ΠΠΎΡΠ΅ΠΌΡ ΠΈΠΌΠ΅Π½Π½ΠΎ Π½Π°Ρ ΡΠ΅ΡΡΡΡ? ΠΠΎΡΠΎΠΌΡ ΡΡΠΎ ΠΎΠ½ ΠΎΠ±ΡΠ΅Π΄ΠΈΠ½ΡΠ΅Ρ Π² ΡΠ΅Π±Π΅ ΠΌΠ½ΠΎΠΆΠ΅ΡΡΠ²ΠΎ ΠΏΠΎΠ»ΠΎΠΆΠΈΡΠ΅Π»ΡΠ½ΡΡ ΠΎΡΠΎΠ±Π΅Π½Π½ΠΎΡΡΠ΅ΠΉ, ΠΊΠΎΡΠΎΡΡΠ΅ Π΄Π΅Π»Π°ΡΡ Π΅Π³ΠΎ ΡΠ½ΠΈΠ²Π΅ΡΡΠ°Π»ΡΠ½ΡΠΌ, ΡΠ΄ΠΎΠ±Π½ΡΠΌ ΠΈ ΠΏΡΠΎΡΡΡΠΌ. ΠΠΎΡ ΡΠΏΠΈΡΠΎΠΊ ΠΎΡΠ½ΠΎΠ²Π½ΡΡ ΠΏΡΠ΅ΠΈΠΌΡΡΠ΅ΡΡΠ² ΡΠ΅ΡΡΡΡΠ°.
ΠΠ΅ΡΠΏΠ»Π°ΡΠ½ΡΠΉ Π΄ΠΎΡΡΡΠΏ. ΠΠ½ΠΎΠ³ΠΈΠ΅ ΡΠ°ΠΉΡΡ ΠΏΡΠΎΡΡΡ ΠΊΠ»ΠΈΠ΅Π½ΡΠΎΠ² ΠΏΠΎΠΊΡΠΏΠ°ΡΡ ΠΏΠΎΠ΄ΠΏΠΈΡΠΊΡ, ΡΠ΅ΠΌ Π½Π°Ρ ΠΏΠΎΡΡΠ°Π» Π½Π΅ Π·Π°Π½ΠΈΠΌΠ°Π΅ΡΡΡ, ΡΠ°ΠΊ ΠΊΠ°ΠΊ ΡΡΠΈΡΠ°Π΅Ρ, ΡΡΠΎ Ρ Π»ΡΠ΄Π΅ΠΉ Π΄ΠΎΠ»ΠΆΠ΅Π½ Π±ΡΡΡ ΡΠ²ΠΎΠ±ΠΎΠ΄Π½ΡΠΉ Π΄ΠΎΡΡΡΠΏ Π² ΡΠ΅ΡΠΈ ΠΈΠ½ΡΠ΅ΡΠ½Π΅Ρ ΠΊΠΎ Π²ΡΠ΅ΠΌΡ. ΠΡ Π½Π΅ Π±Π΅ΡΠ΅ΠΌ Ρ Π½Π°ΡΠΈΡ Π·ΡΠΈΡΠ΅Π»Π΅ΠΉ ΠΏΠ»Π°ΡΡ Π·Π° ΠΏΡΠΎΡΠΌΠΎΡΡ!
ΠΠ΅ Π½ΡΠΆΠ½ΠΎ Π½ΠΈΠΊΠ°ΠΊΠΎΠΉ ΡΠ΅Π³ΠΈΡΡΡΠ°ΡΠΈΠΈ ΠΈ Π‘ΠΠ‘ Π½Π° ΡΠΎΠΌΠ½ΠΈΡΠ΅Π»ΡΠ½ΡΠ΅ Π½ΠΎΠΌΠ΅ΡΠ° ΡΠ΅Π»Π΅ΡΠΎΠ½ΠΎΠ². ΠΡ Π½Π΅ ΡΠΎΠ±ΠΈΡΠ°Π΅ΠΌ ΠΊΠΎΠ½ΡΠΈΠ΄Π΅Π½ΡΠΈΠ°Π»ΡΠ½ΡΡ ΠΈΠ½ΡΠΎΡΠΌΠ°ΡΠΈΡ ΠΎ Π½Π°ΡΠΈΡ ΠΏΠΎΠ»ΡΠ·ΠΎΠ²Π°ΡΠ΅Π»ΡΡ . ΠΠ°ΠΆΠ΄ΡΠΉ ΠΈΠΌΠ΅Π΅Ρ ΠΏΡΠ°Π²ΠΎ Π½Π° Π°Π½ΠΎΠ½ΠΈΠΌΠ½ΠΎΡΡΡ Π² ΠΈΠ½ΡΠ΅ΡΠ½Π΅ΡΠ΅, ΡΡΠΎ ΠΌΡ ΠΈ ΠΏΠΎΠ΄Π΄Π΅ΡΠΆΠΈΠ²Π°Π΅ΠΌ.
ΠΡΠ»ΠΈΡΠ½ΠΎΠ΅ ΠΊΠ°ΡΠ΅ΡΡΠ²ΠΎ Π²ΠΈΠ΄Π΅ΠΎ. ΠΡ Π·Π°Π³ΡΡΠΆΠ°Π΅ΠΌ ΠΌΠ°ΡΠ΅ΡΠΈΠ°Π»Ρ ΠΈΡΠΊΠ»ΡΡΠΈΡΠ΅Π»ΡΠ½ΠΎ Π² HD ΡΠΎΡΠΌΠ°ΡΠ΅, ΡΡΠΎ, Π±Π΅Π·ΡΡΠ»ΠΎΠ²Π½ΠΎ, ΡΠΏΠΎΡΠΎΠ±Π½ΠΎ ΠΏΠΎΡΠ°Π΄ΠΎΠ²Π°ΡΡ Π»ΡΠ±ΠΈΠΌΡΡ ΠΏΠΎΠ»ΡΠ·ΠΎΠ²Π°ΡΠ΅Π»Π΅ΠΉ. ΠΠ΅Π΄Ρ Π³ΠΎΡΠ°Π·Π΄ΠΎ ΠΏΡΠΈΡΡΠ½Π΅Π΅ ΡΠΌΠΎΡΡΠ΅ΡΡ Ρ ΠΎΡΠΎΡΠΈΠΉ ΡΠΈΠ»ΡΠΌ Ρ ΠΊΠ°ΡΠ΅ΡΡΠ²Π΅Π½Π½ΠΎΠΉ ΠΊΠ°ΡΡΠΈΠ½ΠΊΠΎΠΉ, ΡΠ΅ΠΌ Ρ ΠΈΠ·ΠΎΠ±ΡΠ°ΠΆΠ΅Π½ΠΈΠ΅ΠΌ Π½ΠΈΠ·ΠΊΠΎΠ³ΠΎ ΠΊΠ°ΡΠ΅ΡΡΠ²Π°.
ΠΠ³ΡΠΎΠΌΠ½ΡΠΉ Π²ΡΠ±ΠΎΡ. ΠΠ΄Π΅ΡΡ ΠΡ Π½Π°ΠΉΠ΄Π΅ΡΠ΅ Π²ΠΈΠ΄Π΅ΠΎ Π½Π° Π»ΡΠ±ΠΎΠΉ Π²ΠΊΡΡ. ΠΠ°ΠΆΠ΅ ΡΠ°ΠΌΠΎΠΌΡ Π·Π°ΡΠ΄Π»ΠΎΠΌΡ ΠΊΠΈΠ½ΠΎΠΌΠ°Π½Ρ Π²ΡΠ΅Π³Π΄Π° Π½Π°ΠΉΠ΄Π΅ΡΡΡ, ΡΡΠΎ ΠΏΠΎΡΠΌΠΎΡΡΠ΅ΡΡ Ρ Π½Π°Ρ. ΠΠ»Ρ Π΄Π΅ΡΠ΅ΠΉ Π΅ΡΡΡ ΠΌΡΠ»ΡΡΡΠΈΠ»ΡΠΌΡ Π² Ρ ΠΎΡΠΎΡΠ΅ΠΌ ΠΊΠ°ΡΠ΅ΡΡΠ²Π΅, ΠΏΠΎΠ·Π½Π°Π²Π°ΡΠ΅Π»ΡΠ½ΡΠ΅ ΠΏΡΠΎΠ³ΡΠ°ΠΌΠΌΡ ΠΎ ΠΆΠΈΠ²ΠΎΡΠ½ΡΡ ΠΈ ΠΏΡΠΈΡΠΎΠ΄Π΅. ΠΡΠΆΡΠΈΠ½Ρ Π½Π°ΠΉΠ΄ΡΡ Π΄Π»Ρ ΡΠ΅Π±Ρ ΠΈΠ½ΡΠ΅ΡΠ΅ΡΠ½ΡΠΌΠΈ ΠΊΠ°Π½Π°Π»Ρ ΠΎ Π½ΠΎΠ²ΠΎΡΡΡΡ , ΡΠΏΠΎΡΡΠ΅, Π°Π²ΡΠΎΠΌΠΎΠ±ΠΈΠ»ΡΡ , Π° ΡΠ°ΠΊΠΆΠ΅ ΠΎ Π½Π°ΡΠΊΠ΅ ΠΈ ΡΠ΅Ρ Π½ΠΈΠΊΠ΅. Π Π΄Π»Ρ Π½Π°ΡΠΈΡ Π»ΡΠ±ΠΈΠΌΡΡ ΠΆΠ΅Π½ΡΠΈΠ½ ΠΌΡ ΠΏΠΎΠ΄ΠΎΠ±ΡΠ°Π»ΠΈ ΠΊΠ°Π½Π°Π»Π° ΠΎ ΠΌΠΎΠ΄Π΅ ΠΈ ΡΡΠΈΠ»Π΅, ΠΎ Π·Π½Π°ΠΌΠ΅Π½ΠΈΡΠΎΡΡΡΡ , Π½Ρ ΠΈ ΠΊΠΎΠ½Π΅ΡΠ½ΠΎ ΠΌΡΠ·ΡΠΊΠ°Π»ΡΠ½ΡΠ΅ ΠΊΠ»ΠΈΠΏΡ. Π£ΡΡΡΠΎΠΈΠ² Π²Π΅ΡΠ΅Ρ Π² ΠΊΡΡΠ³Ρ ΡΠ΅ΠΌΡΠΈ, ΠΈΠ»ΠΈ Ρ Π΄ΡΡΠ·ΡΡΠΌΠΈ ΠΡ ΡΠΌΠΎΠΆΠ΅ΡΠ΅ ΠΏΠΎΠ΄ΠΎΠ±ΡΠ°ΡΡ Π²Π΅ΡΠ΅Π»ΡΡ ΡΠ΅ΠΌΠ΅ΠΉΠ½ΡΡ ΠΊΠΎΠΌΠ΅Π΄ΠΈΡ. ΠΠ»ΡΠ±Π»Π΅Π½Π½Π°Ρ ΠΏΠ°ΡΠ° ΠΏΠΎΠ½Π΅ΠΆΠΈΡΡΡΡ Π·Π° ΠΏΡΠΎΡΠΌΠΎΡΡΠΎΠΌ Π»ΡΠ±ΠΎΠ²Π½ΠΎΠΉ ΠΌΠ΅Π»ΠΎΠ΄ΡΠ°ΠΌΡ. ΠΠΎΡΠ»Π΅ ΡΠ°Π±ΠΎΡΠ΅Π³ΠΎ Π΄Π½Ρ ΡΠ°ΡΡΠ»Π°Π±ΠΈΡΡΡΡ ΠΏΠΎΠΌΠΎΠ³Π°Π΅Ρ Π·Π°Ρ Π²Π°ΡΡΠ²Π°ΡΡΠΈΠΉ ΡΠ΅ΡΠΈΠ°Π» ΠΈΠ»ΠΈ Π΄Π΅ΡΠ΅ΠΊΡΠΈΠ². Π€ΠΈΠ»ΡΠΌΡ Π² HD ΡΠΎΡΠΌΠ°ΡΠ΅ Π½ΠΎΠ²ΠΎΠ³ΠΎ Π²ΡΠ΅ΠΌΠ΅Π½ΠΈ ΠΈ ΠΏΡΠΎΡΠ»ΡΡ Π»Π΅Ρ ΠΏΡΠ΅Π΄ΡΡΠ°Π²Π»Π΅Π½Ρ Π½Π° Π°Π±ΡΠΎΠ»ΡΡΠ½ΠΎ Π»ΡΠ±ΠΎΠΉ Π²ΠΊΡΡ ΠΈ ΠΌΠΎΠ³ΡΡ ΡΠ΄ΠΎΠ²Π»Π΅ΡΠ²ΠΎΡΠΈΡΡ ΠΏΠΎΡΡΠ΅Π±Π½ΠΎΡΡΠΈ Π»ΡΠ±ΠΎΠ³ΠΎ Π·ΡΠΈΡΠ΅Π»Ρ.
ΠΠΎΠ·ΠΌΠΎΠΆΠ½ΠΎΡΡΡ ΡΠΊΠ°ΡΠΈΠ²Π°ΡΡ Π²ΠΈΠ΄Π΅ΠΎ. ΠΠ±ΡΠΎΠ»ΡΡΠ½ΠΎ Π»ΡΠ±ΠΎΠΉ ΠΌΠ°ΡΠ΅ΡΠΈΠ°Π» Π½Π° ΡΠ°ΠΉΡΠ΅ ΠΌΠΎΠΆΠ½ΠΎ ΡΠΊΠ°ΡΠ°ΡΡ ΠΊ ΡΠ΅Π±Π΅ Π½Π° ΠΊΠΎΠΌΠΏΡΡΡΠ΅Ρ ΠΈΠ»ΠΈ ΡΠ»Π΅ΡΠΊΡ. ΠΡΠ»ΠΈ Π²Π΄ΡΡΠ³ ΠΡ ΡΠΎΠ±Π΅ΡΠ΅ΡΠ΅ΡΡ Π½Π° Π΄Π°ΡΡ Ρ Π½ΠΎΡΡΠ±ΡΠΊΠΎΠΌ, Π³Π΄Π΅ Π½Π΅Ρ ΠΈΠ½ΡΠ΅ΡΠ½Π΅ΡΠ°, ΠΈΠ»ΠΈ Π·Π°Ρ ΠΎΡΠΈΡΠ΅ ΠΏΠΎΡΠΌΠΎΡΡΠ΅ΡΡ ΡΠΈΠ»ΡΠΌ Π½Π° Π±ΠΎΠ»ΡΡΠΎΠΌ ΡΠΊΡΠ°Π½Π΅ ΡΠ΅Π»Π΅Π²ΠΈΠ·ΠΎΡΠ°, ΡΠΎ ΠΡ Π²ΡΠ΅Π³Π΄Π° ΠΌΠΎΠΆΠ΅ΡΠ΅ Π·Π°ΡΠ°Π½Π΅Π΅ ΡΠΊΠ°ΡΠ°ΡΡ, Π° ΠΏΠΎΡΠ»Π΅ ΠΏΠΎΡΠΌΠΎΡΡΠ΅ΡΡ Π² Π½ΡΠΆΠ½ΡΠΉ ΠΌΠΎΠΌΠ΅Π½Ρ. ΠΡΠΈ ΡΡΠΎΠΌ ΠΠ°ΠΌ Π½Π΅ ΠΏΡΠΈΠ΄Π΅ΡΡΡ ΠΆΠ΄Π°ΡΡ ΡΠ²ΠΎΠ΅ΠΉ ΠΎΡΠ΅ΡΠ΅Π΄ΠΈ, ΡΡΠΎΠ±Ρ ΡΠΊΠ°ΡΠ°ΡΡ Π²ΠΈΠ΄Π΅ΠΎ, ΠΊΠ°ΠΊ ΡΡΠΎ Π±ΡΠ²Π°Π΅Ρ Π½Π° ΡΠΎΡΡΠ΅Π½ΡΠ°Ρ ΠΈΠ»ΠΈ Π΄ΡΡΠ³ΠΈΡ ΠΏΠΎΡ ΠΎΠΆΠΈΡ ΡΠ°ΠΉΡΠ°Ρ .
ΠΠ΅Π·ΠΎΠΏΠ°ΡΠ½ΠΎΡΡΡ. ΠΡ ΡΠ»Π΅Π΄ΠΈΠΌ Π·Π° ΡΠΈΡΡΠΎΡΠΎΠΉ ΠΊΠΎΠ½ΡΠ΅Π½ΡΠ°, ΠΊΠ°ΠΆΠ΄ΡΠΉ ΡΠ°ΠΉΠ» ΠΏΠ΅ΡΠ΅Π΄ Π·Π°ΠΊΠ°ΡΠΊΠΎΠΉ ΠΏΡΠΎΠ²Π΅ΡΡΠ΅ΡΡΡ. ΠΠΎΡΡΠΎΠΌΡ Π½Π° Π½Π°ΡΠ΅ΠΌ ΡΠ°ΠΉΡΠ΅ Π½Π΅Ρ Π½ΠΈΠΊΠ°ΠΊΠΈΡ Π²ΠΈΡΡΡΠΎΠ² ΠΈ ΡΠΏΠΈΠΎΠ½ΡΠΊΠΈΡ ΠΏΡΠΎΠ³ΡΠ°ΠΌΠΌ, ΠΈ ΠΌΡ ΡΡΠ°ΡΠ΅Π»ΡΠ½ΠΎ ΡΠ»Π΅Π΄ΠΈΠΌ Π·Π° ΡΡΠΈΠΌ.
ΠΠΎΠ²ΠΈΠ½ΠΊΠΈ. Π Π΅Π³ΡΠ»ΡΡΠ½ΠΎ ΠΌΡ ΠΎΠ±Π½ΠΎΠ²Π»ΡΠ΅ΠΌ ΠΈ Π΄ΠΎΠ±Π°Π²Π»ΡΠ΅ΠΌ Π½Π° ΠΏΠΎΡΡΠ°Π» Π½ΠΎΠ²ΡΠ΅ ΠΌΡΠ»ΡΡΡΠΈΠ»ΡΠΌΡ, ΡΠ΅ΡΠΈΠ°Π»Ρ, Π’Π-ΡΠΎΡ, ΠΌΡΠ·ΡΠΊΠ°Π»ΡΠ½ΡΠ΅ ΠΊΠ»ΠΈΠΏΡ, Π½ΠΎΠ²ΠΎΡΡΠΈ, ΠΎΠ±Π·ΠΎΡΡ, ΠΌΡΠ»ΡΡΡΠ΅ΡΠΈΠ°Π»Ρ ΠΈ Ρ.Π΄. ΠΈ Π²ΡΡ ΡΡΠΎ ΠΡ ΠΌΠΎΠΆΠ΅ΡΠ΅ ΠΏΠΎΡΠΌΠΎΡΡΠ΅ΡΡ ΡΠΎΠ²Π΅ΡΡΠ΅Π½Π½ΠΎ Π±Π΅ΡΠΏΠ»Π°ΡΠ½ΠΎ, Π±Π΅Π· ΡΠ΅Π³ΠΈΡΡΡΠ°ΡΠΈΠΈ ΠΈ ΡΠΌΡ. ΠΡ ΡΡΠ°ΡΠ°Π΅ΠΌΡΡ Π΄Π»Ρ ΠΠ°Ρ, Π΄Π»Ρ Π½Π°ΡΠΈΡ Π»ΡΠ±ΠΈΠΌΡΡ ΠΏΠΎΡΠ΅ΡΠΈΡΠ΅Π»Π΅ΠΉ.
ΠΠ½Π»Π°ΠΉΠ½-ΠΏΡΠΎΡΠΌΠΎΡΡ. ΠΠ° Π½Π°ΡΠ΅ΠΌ ΡΠ°ΠΉΡΠ΅ Π½Π΅ ΠΎΠ±ΡΠ·Π°ΡΠ΅Π»ΡΠ½ΠΎ ΠΏΡΠ΅Π΄Π²Π°ΡΠΈΡΠ΅Π»ΡΠ½ΠΎ ΡΠΊΠ°ΡΠΈΠ²Π°ΡΡ ΡΠΈΠ»ΡΠΌ, ΡΡΠΎΠ±Ρ Π΅Π³ΠΎ ΠΏΠΎΡΠΌΠΎΡΡΠ΅ΡΡ, Π΄ΠΎΡΡΠ°ΡΠΎΡΠ½ΠΎ ΠΏΡΠΎΡΡΠΎ Π²ΠΊΠ»ΡΡΠΈΡΡ ΠΈ Π½Π°ΡΠ»Π°ΠΆΠ΄Π°ΡΡΡΡ ΠΏΡΠΎΡΠΌΠΎΡΡΠΎΠΌ. ΠΠ»Π°Π³ΠΎΠ΄Π°ΡΡ ΠΏΡΠΎΡΠ΅ΡΡΠΈΠΎΠ½Π°Π»ΡΠ½ΠΎΠΉ Π½Π°ΡΡΡΠΎΠΉΠΊΠ΅ Π½Π΅ Π±ΡΠ΄Π΅Ρ Π½ΠΈΠΊΠ°ΠΊΠΈΡ ΡΠΎΡΠΌΠΎΠΆΠ΅Π½ΠΈΠΉ, ΠΈ Π½ΠΈΡΡΠΎ Π½Π΅ ΡΠΌΠΎΠΆΠ΅Ρ ΠΠ°ΠΌ ΠΏΠΎΠΌΠ΅ΡΠ°ΡΡ ΠΏΠΎΡΠΌΠΎΡΡΠ΅ΡΡ ΠΈΠ½ΡΠ΅ΡΠ΅ΡΠ½ΡΠΉ ΡΠΈΠ»ΡΠΌ.
ΠΠ°ΠΊΠ»Π°Π΄ΠΊΠ°. ΠΠ° ΡΠ°ΠΉΡΠ΅ ΠΌΠΎΠΆΠ½ΠΎ Π½Π°ΠΆΠ°ΡΠΈΠ΅ΠΌ ΠΎΠ΄Π½ΠΎΠΉ ΠΊΠ½ΠΎΠΏΠΊΠΈ ΡΠΎ Π·Π²Π΅Π·Π΄ΠΎΡΠΊΠΎΠΉ ΠΎΡΡΠ°Π²ΠΈΡΡ Π²ΠΈΠ΄Π΅ΠΎ Π² Π·Π°ΠΊΠ»Π°Π΄ΠΊΠΈ ΠΈ Π²Π΅ΡΠ½ΡΡΡΡΡ ΠΊ Π½Π΅ΠΌΡ ΠΏΠΎΠ·ΠΆΠ΅. Π£ ΠΊΠ°ΠΆΠ΄ΠΎΠ³ΠΎ, Π½Π°Π²Π΅ΡΠ½ΡΠΊΠ° Π±ΡΠ²Π°Π»ΠΎ, ΡΡΠΎ ΡΠ²ΠΈΠ΄Π΅Π» Π½Π° ΡΠ°ΠΉΡΠ΅ ΠΈΠ½ΡΠ΅ΡΠ΅ΡΠ½ΠΎΠ΅ Π²ΠΈΠ΄Π΅ΠΎ, ΠΊΠΎΡΠΎΡΠΎΠ΅ Ρ ΠΎΡΠ΅ΡΡ ΠΏΠΎΡΠΌΠΎΡΡΠ΅ΡΡ, Π½ΠΎ ΠΏΡΡΠΌΠΎ ΡΠ΅ΠΉΡΠ°Ρ Π½Π΅Ρ Π²ΠΎΠ·ΠΌΠΎΠΆΠ½ΠΎΡΡΠΈ. ΠΠ°Π½Π½Π°Ρ ΠΊΠ½ΠΎΠΏΠΊΠ° ΠΏΠΎΠΌΠΎΠΆΠ΅Ρ ΠΠ°ΠΌ Π² ΡΡΠΎΠΌ ΠΈ, ΠΎΡΠ²ΠΎΠ±ΠΎΠ΄ΠΈΠ²ΡΠΈΡΡ, ΠΡ Ρ Π»Π΅Π³ΠΊΠΎΡΡΡΡ ΡΠΌΠΎΠΆΠ΅ΡΠ΅ ΠΏΠΎΡΠΌΠΎΡΡΠ΅ΡΡ, ΡΠΎ ΡΡΠΎ Ρ ΠΎΡΠ΅Π»ΠΈ.
Π£Π΄ΠΎΠ±Π½ΡΠΉ ΠΈΠ½ΡΠ΅ΡΡΠ΅ΠΉΡ. ΠΠΎΠΈΡΠΊ Π½ΡΠΆΠ½ΠΎΠ³ΠΎ Π²ΠΈΠ΄Π΅ΠΎ Π½Π΅ Π·Π°ΠΉΠΌΠ΅Ρ Ρ ΠΠ°Ρ ΠΌΠ½ΠΎΠ³ΠΎ Π²ΡΠ΅ΠΌΠ΅Π½ΠΈ, ΡΠ°ΠΊ ΠΊΠ°ΠΊ ΡΠ°ΠΉΡ Π»ΡΡΡΠΈΠΌ ΠΎΠ±ΡΠ°Π·ΠΎΠΌ Π°Π΄Π°ΠΏΡΠΈΡΠΎΠ²Π°Π½ Π΄Π»Ρ ΠΏΠΎΠ»ΡΠ·ΠΎΠ²Π°ΡΠ΅Π»Π΅ΠΉ, ΠΈ Π²ΡΡ ΠΈΠ½ΡΡΠΈΡΠΈΠ²Π½ΠΎ ΠΏΠΎΠ½ΡΡΠ½ΠΎ. ΠΠ°ΠΆΠ΅ ΡΠ΅Π±Π΅Π½ΠΎΠΊ ΡΠΌΠΎΠΆΠ΅Ρ ΡΠ°Π·ΠΎΠ±ΡΠ°ΡΡΡΡ ΠΈ Π²ΠΊΠ»ΡΡΠΈΡΡ Π΄Π»Ρ ΡΠ΅Π±Ρ ΠΌΡΠ»ΡΡΡΠΈΠ»ΡΠΌ ΠΈΠ»ΠΈ ΠΊΠ°ΠΊΡΡ-Π½ΠΈΠ±ΡΠ΄Ρ ΠΏΡΠΎΠ³ΡΠ°ΠΌΠΌΡ ΠΎ ΠΆΠΈΠ²ΠΎΡΠ½ΡΡ , ΠΏΡΠΈΡΠΎΠ΄Π΅.
ΠΠΈΠ½ΠΎ ΠΊΠ°ΠΊ ΠΈΡΠΊΡΡΡΡΠ²ΠΎ ΠΏΠΎΡΠ²ΠΈΠ»ΠΎΡΡ ΡΡΠ°Π²Π½ΠΈΡΠ΅Π»ΡΠ½ΠΎ Π½Π΅Π΄Π°Π²Π½ΠΎ, Π½ΠΎ ΡΠΆΠ΅ ΡΡΠΏΠ΅Π»ΠΎ ΡΠ΅ΡΠ½ΠΎ ΠΏΠ΅ΡΠ΅ΠΏΠ»Π΅ΡΡΠΈΡΡ Ρ Π½Π°ΡΠ΅ΠΉ ΠΆΠΈΠ·Π½ΡΡ. ΠΠ½ΠΎΠΆΠ΅ΡΡΠ²ΠΎ Π»ΡΠ΄Π΅ΠΉ ΠΈΠ·-Π·Π° ΡΠΏΠ΅ΡΠΊΠΈ Π½Π°ΡΠ΅Π³ΠΎ Π²ΡΠ΅ΠΌΠ΅Π½ΠΈ ΡΠΆΠ΅ Π³ΠΎΠ΄Π°ΠΌΠΈ Π½Π΅ Ρ ΠΎΠ΄ΠΈΠ»ΠΈ Π² ΡΠ΅Π°ΡΡ, Π² Π³Π°Π»Π΅ΡΠ΅Ρ ΠΈΠ»ΠΈ ΠΌΡΠ·Π΅ΠΈ. ΠΠ΄Π½Π°ΠΊΠΎ ΡΡΡΠ΄Π½ΠΎ ΡΠ΅Π±Π΅ ΠΏΡΠ΅Π΄ΡΡΠ°Π²ΠΈΡΡ ΡΠ΅Π»ΠΎΠ²Π΅ΠΊΠ°, ΠΊΠΎΡΠΎΡΡΠΉ Π½Π΅ ΡΠΌΠΎΡΡΠ΅Π» ΡΠ΅ΡΠΈΠ°Π» ΠΈΠ»ΠΈ ΡΠΈΠ»ΡΠΌ Ρ ΠΎΡΡ Π±Ρ ΠΌΠ΅ΡΡΡ. ΠΠΈΠ½ΠΎΠΈΡΠΊΡΡΡΡΠ²ΠΎ ΡΠ²Π»ΡΠ΅ΡΡΡ ΡΠΈΠ½ΡΠ΅Π·ΠΎΠΌ ΡΠ΅Π°ΡΡΠ°, ΠΌΡΠ·ΡΠΊΠΈ, ΠΈΠ·ΠΎΠ±ΡΠ°Π·ΠΈΡΠ΅Π»ΡΠ½ΠΎΠ³ΠΎ ΠΈΡΠΊΡΡΡΡΠ²Π° ΠΈ Π»ΠΈΡΠ΅ΡΠ°ΡΡΡΡ. Π’Π°ΠΊΠΈΠΌ ΠΎΠ±ΡΠ°Π·ΠΎΠΌ, ΠΎΠ½ΠΎ Π΄Π°Π΅Ρ Π΄Π°ΠΆΠ΅ ΡΠ°ΠΌΠΎΠΌΡ Π·Π°Π½ΡΡΠΎΠΌΡ ΡΠ΅Π»ΠΎΠ²Π΅ΠΊΡ, Ρ ΠΊΠΎΡΠΎΡΠΎΠ³ΠΎ Π½Π΅Ρ Π²ΡΠ΅ΠΌΠ΅Π½ΠΈ Ρ ΠΎΠ΄ΠΈΡΡ ΠΏΠΎ ΡΠ΅Π°ΡΡΠ°ΠΌ ΠΈ Π³Π°Π»Π΅ΡΠ΅ΡΠΌ, Π±ΡΡΡ Π±Π»ΠΈΠΆΠ΅ ΠΊ ΠΈΡΠΊΡΡΡΡΠ²Ρ ΠΈ Π΄ΡΡ ΠΎΠ²Π½ΠΎ ΡΠΎΠ²Π΅ΡΡΠ΅Π½ΡΡΠ²ΠΎΠ²Π°ΡΡΡΡ.
Π’Π°ΠΊΠΆΠ΅ ΠΊΠΈΠ½ΠΎ Π·Π°Π½ΡΠ»ΠΎ ΡΡΠ΅ΡΡ ΠΈ ΠΎΠ±ΡΠ΅Π΄ΠΎΡΡΡΠΏΠ½ΠΎΠ³ΠΎ ΡΠ°Π·Π²Π»Π΅ΡΠ΅Π½ΠΈΡ. ΠΡΠΎΡΠΌΠΎΡΡ ΠΊΠΎΠΌΠ΅Π΄ΠΈΠΉ, Π±ΠΎΠ΅Π²ΠΈΠΊΠΎΠ², Π²Π΅ΡΡΠ΅ΡΠ½ΠΎΠ² ΠΈ Ρ.Π΄. ΠΎΡΠ»ΠΈΡΠ½ΠΎ Π²ΠΏΠΈΡΡΠ²Π°Π΅ΡΡΡ Π² ΠΊΠ°ΠΊΠΎΠΉ-Π½ΠΈΠ±ΡΠ΄Ρ Π²Π΅ΡΠ΅Ρ Π² ΠΊΡΡΠ³Ρ ΡΠ΅ΠΌΡΠΈ. Π£ΠΆΠ°ΡΡΠΈΠΊΠΈ ΠΎΡΠ»ΠΈΡΠ½ΠΎ ΡΠ΅ΠΊΠΎΡΡΡ Π½Π΅ΡΠ²Ρ Π΄Π°ΠΆΠ΅ ΡΠ°ΠΌΠΎΠ³ΠΎ Π±Π΅ΡΡΡΡΠ°ΡΠ½ΠΎΠ³ΠΎ ΡΠ΅Π»ΠΎΠ²Π΅ΠΊΠ°. ΠΡΠ»ΡΡΡΠΈΠ»ΡΠΌΡ ΠΎΠ±ΠΎΠΆΠ°ΡΡ Π΄Π΅ΡΠΈ, Π° Π½Π΅ΠΊΠΎΡΠΎΡΡΠ΅ ΠΌΠΎΠΆΠ½ΠΎ ΡΠΌΠΎΡΡΠ΅ΡΡ ΠΈ Π²ΡΠ΅ΠΉ ΡΠ΅ΠΌΡΠ΅ΠΉ. ΠΠΎΠ·Π½Π°Π²Π°ΡΠ΅Π»ΡΠ½ΡΠ΅ Π²ΠΈΠ΄Π΅ΠΎ ΠΏΠΎΠΌΠΎΠ³Π°ΡΡ ΡΠ°ΡΡΠΈΡΠΈΡΡ Π·Π½Π°Π½ΠΈΡ, ΠΏΠΎΡΠΌΠΎΡΡΠ΅ΡΡ Π½Π° ΠΌΠΈΡ ΡΠΈΡΠ΅ ΠΈ ΡΠ΄ΠΎΠ²Π»Π΅ΡΠ²ΠΎΡΠΈΡΡ ΡΠΎΠ±ΡΡΠ²Π΅Π½Π½ΠΎΠ΅ ΠΏΡΠΈΡΠΎΠ΄Π½ΠΎΠ΅ Π»ΡΠ±ΠΎΠΏΡΡΡΡΠ²ΠΎ.
Π§Π΅Π»ΠΎΠ²Π΅ΠΊ Π² Π΄Π²Π°Π΄ΡΠ°ΡΡ ΠΏΠ΅ΡΠ²ΠΎΠΌ Π²Π΅ΠΊΠ΅ ΡΠΆΠ΅ Π½Π΅ ΠΌΠΎΠΆΠ΅Ρ ΠΏΡΠ΅Π΄ΡΡΠ°Π²ΠΈΡΡ ΡΠ²ΠΎΡ ΠΆΠΈΠ·Π½Ρ Π±Π΅Π· ΡΠ΅Ρ Π½ΠΎΠ»ΠΎΠ³ΠΈΠΉ Π±ΡΠ΄ΡΡΠ΅Π³ΠΎ, ΠΊΠ°ΠΆΠ΅ΡΡΡ, Π² Π±ΡΠ΄ΡΡΠ΅ΠΌ ΠΌΠ°ΡΠΈΠ½Ρ, ΡΠΎΠ±ΠΎΡΡ ΠΈ ΡΠ΅Ρ Π½ΠΈΠΊΠ° ΡΠΌΠΎΠ³ΡΠ΄ Π·Π°ΠΌΠ΅Π½ΠΈΡΡ ΡΠ΅Π»ΠΎΠ²Π΅ΠΊΠ°, Π° ΡΠΎΡΠ½Π΅Π΅ Π²ΡΠΏΠΎΠ»Π½Π΅Π½ΠΈΠ΅ ΠΌΠ½ΠΎΠ³ΠΈΡ Π°Π²ΡΠΎΠΌΠ°ΡΠΈΡΠ΅ΡΠΊΠΈΡ ΡΠ°Π±ΠΎΡ, ΠΏΠΎ ΡΡΠΎΠΌΡ ΠΊΠ°ΠΆΠ΄ΡΠΉ Ρ ΠΎΡΠ΅Ρ ΡΠΌΠΎΡΡΠ΅ΡΡ ΠΊΠ°ΠΊΠΈΠ΅ ΡΠ΅Ρ Π½ΠΎΠ»ΠΎΠ³ΠΈΠΈ Π±ΡΠ΄ΡΡ Π² Π±ΡΠ΄ΡΡΠ΅ΠΌ. ΠΠ° imperiya.by ΠΠ°ΠΌ ΠΈ Π½Π΅ Π½ΡΠΆΠ½ΠΎ ΠΎΡΠΊΠ»Π°Π΄ΡΠ²Π°ΡΡ ΠΏΡΠΎΡΠΌΠΎΡΡ, ΠΏΡΠΎΡΡΠΎ Π΄ΠΎΠ±Π°Π²ΡΡΠ΅ Π²ΠΈΠ΄Π΅ΠΎ Π² Π·Π°ΠΊΠ»Π°Π΄ΠΊΠΈ ΠΈ Π² Π»ΡΠ±ΠΎΠΉ ΠΌΠΎΠΌΠ΅Π½Ρ ΠΌΠΎΠΆΠ΅ΡΠ΅ ΠΊ Π½Π΅ΠΌΡ Π²Π΅ΡΠ½ΡΡΡΡ ΠΈ ΠΎΡΠ»ΠΈΡΠ½ΠΎ ΠΏΡΠΎΠ²Π΅ΡΡΠΈ Π²ΡΠ΅ΠΌΡ Π·Π° ΠΏΡΠΎΡΠΌΠΎΡΡΠΎΠΌ ΠΊΠ°ΡΠ΅ΡΡΠ²Π΅Π½Π½ΠΎΠ³ΠΎ Π²ΠΈΠ΄Π΅ΠΎ.
ΠΠ΅ ΠΎΡΠΊΠ°Π·ΡΠ²Π°ΠΉΡΠ΅ ΡΠ΅Π±Π΅ Π² ΡΠ΄ΠΎΠ²ΠΎΠ»ΡΡΡΠ²ΠΈΠΈ, Π½Π°ΡΠ½ΠΈΡΠ΅ ΡΠΌΠΎΡΡΠ΅ΡΡ ΡΠΆΠ΅ ΠΏΡΡΠΌΠΎ ΡΠ΅ΠΉΡΠ°Ρ! ΠΠ½Π°ΠΊΠΎΠΌΡΡΠ΅ΡΡ Ρ ΠΎΠ±Π½ΠΎΠ²Π»Π΅Π½ΠΈΡΠΌΠΈ, Ρ Π½ΠΎΠ²ΠΈΠ½ΠΊΠ°ΠΌΠΈ, Π²ΡΠ±ΠΈΡΠ°ΠΉΡΠ΅ ΡΠΎ, ΡΡΠΎ Ρ ΠΎΡΠ΅Π»ΠΈ Π±Ρ ΠΏΠΎΡΠΌΠΎΡΡΠ΅ΡΡ ΠΏΠΎΠ·ΠΆΠ΅. ΠΠΎΡΠ°Π΄ΡΠΉΡΠ΅ ΡΠ΅Π±Ρ ΠΈ Π±Π»ΠΈΠ·ΠΊΠΈΡ ΠΈΠ½ΡΠ΅ΡΠ΅ΡΠ½ΡΠΌΠΈ ΡΠΈΠ»ΡΠΌΠ°ΠΌΠΈ Π² Ρ ΠΎΡΠΎΡΠ΅ΠΌ ΠΊΠ°ΡΠ΅ΡΡΠ²Π΅!
imperiya.by
ΠΠ°Π±ΠΈΠ½Π° Π°Π²ΡΠΎΠΌΠΎΠ±ΠΈΠ»Ρ ΠΠΠ-130 ΠΈ Π΅Π΅ ΡΡΡΡΠΎΠΉΡΡΠ²ΠΎ
ΠΠΎΠ²ΡΠΉ Π·ΠΈΠ» 432940Π‘ΠΎΠ΄Π΅ΡΠΆΠ°Π½ΠΈΠ΅Β
ΠΠΠ-130 Π½ΠΎΠ²Π°Ρ ΠΊΠ°Π±ΠΈΠ½Π°
Π Π°Π·Π±ΠΎΡΠΊΠ° ΡΠ»Π΅ΠΌΠ΅Π½ΡΠΎΠ² ΠΊΠ°Π±ΠΈΠ½Ρ ΠΈ ΠΎΠΏΠ΅ΡΠ΅Π½ΠΈΡ
Π’ΡΠ½ΠΈΠ½Π³ ΠΊΠ°Π±ΠΈΠ½Ρ ΠΠΠ-130
ΠΠ±ΡΠΈΠ²ΠΊΠ° ΠΊΠ°Π±ΠΈΠ½Ρ ΠΠΠ-130
ΠΠΎΠΌΠ΅Ρ ΠΊΠ°Π±ΠΈΠ½Ρ ΠΠΠ-130Β
ΠΠΎΠ»ΠΊΠ° Π² ΠΊΠ°Π±ΠΈΠ½Ρ ΠΠΠ-130
ΠΠ²ΡΠΎΠΌΠΎΠ±ΠΈΠ»ΠΈ ΡΠ΅ΠΌΠ΅ΠΉΡΡΠ²Π° ΠΠΠβ431410 Π²ΡΠΏΡΡΠΊΠ°Π»ΠΈΡΡ Π½Π° ΠΠΎΡΠΊΠΎΠ²ΡΠΊΠΎΠΌ Π³ΠΎΠ»ΠΎΠ²Π½ΠΎΠΌ Π·Π°Π²ΠΎΠ΄Π΅ ΠΠΠ ΠΠΠ Π΄ΠΎ ΡΠ½Π²Π°ΡΡ 1995 Π³ ΠΈΒ ΠΏΡΠΎΠ΄ΠΎΠ»ΠΆΠ°ΡΡ Π²ΡΠΏΡΡΠΊΠ°ΡΡΡΡ Π½Π° Π£ΡΠ°Π»ΡΡΠΊΠΎΠΌ Π°Π²ΡΠΎΠΌΠΎΡΠΎΡΠ½ΠΎΠΌ Π·Π°Π²ΠΎΠ΄Π΅ ΠΠΠ ΠΠΠ Π΄ΠΎ Π½Π°ΡΡΠΎΡΡΠ΅Π³ΠΎ Π²ΡΠ΅ΠΌΠ΅Π½ΠΈ. ΠΡΠ½ΠΎΠ²Π½ΡΠΌ ΠΎΡΠ»ΠΈΡΠΈΠ΅ΠΌ Π°Π²ΡΠΎΠΌΠΎΠ±ΠΈΠ»Π΅ΠΉ ΠΠΠ-431410 ΠΎΡ Π°Π²ΡΠΎΠΌΠΎΠ±ΠΈΠ»Π΅ΠΉ ΠΠΠ-433360 ΡΠ²Π»ΡΠ΅ΡΡΡ ΡΡΡΠ°Π½ΠΎΠ²ΠΊΠ° ΠΊΠ°Π±ΠΈΠ½Ρ ΠΌΠΎΠ΄. ΠΠΠ-130.Β Π ΡΠ²ΡΠ·ΠΈ Ρ ΡΡΠΈΠΌ Π½Π° Π°Π²ΡΠΎΠΌΠΎΠ±ΠΈΠ»ΡΡ ΠΠΠ-433360 ΠΈΠ·ΠΌΠ΅Π½Π΅Π½Ρ ΡΠ»Π΅Π΄ΡΡΡΠΈΠ΅ ΡΠ·Π»Ρ ΠΈ ΡΠΈΡΡΠ΅ΠΌΡ: ΡΠ°ΠΌΠ° Π°Π²ΡΠΎΠΌΠΎΠ±ΠΈΠ»Ρ; ΠΏΡΠΈΠ²ΠΎΠ΄ ΡΡΠ΅ΠΏΠ»Π΅Π½ΠΈΡ; ΡΠΎΡΠΌΠΎΠ·Π½Π°Ρ ΡΠΈΡΡΠ΅ΠΌΠ°; ΡΠΈΡΡΠ΅ΠΌΠ° ΡΠ»Π΅ΠΊΡΡΠΎΠΎΠ±ΠΎΡΡΠ΄ΠΎΠ²Π°Π½ΠΈΡ ΠΈ ΡΠΈΡΡΠ΅ΠΌΠ° ΡΡΠ»Π΅Π²ΠΎΠ³ΠΎ ΡΠΏΡΠ°Π²Π»Π΅Π½ΠΈΡ.
ΠΡΠΎΠΌΠ΅ ΡΡΠΎΠ³ΠΎ Π½Π° Π°Π²ΡΠΎΠΌΠΎΠ±ΠΈΠ»ΡΡ Β ΠΠΠ-433360 ΡΡΡΠ°Π½ΠΎΠ²Π»Π΅Π½ ΠΏΠ΅ΡΠ΅Π΄Π½ΠΈΠΉ ΠΌΠΎΡΡ ΠΌΠΎΠ΄. ΠΠΠ-4331 ΠΈ ΠΏΠ΅ΡΠ΅Π΄Π½ΡΡ ΠΏΠΎΠ΄Π²Π΅ΡΠΊΠ° ΠΌΠΎΠ΄. ΠΠΠ-13 Π Π΄Π°Π½Π½ΠΎΠΉ Π³Π»Π°Π²Π΅ ΠΏΡΠΈΠ²Π΅Π΄Π΅Π½ΠΎ ΠΎΠΏΠΈΡΠ°Π½ΠΈΠ΅ ΡΠ΅ΠΌΠΎΠ½ΡΠ° ΡΠ΅Ρ ΡΠ·Π»ΠΎΠ² Π°Π²ΡΠΎΠΌΠΎΠ±ΠΈΠ»Π΅ΠΉ ΠΠΠ-431410, ΠΊΠΎΡΠΎΡΡΠ΅ Π·Π½Π°ΡΠΈΡΠ΅Π»ΡΠ½ΠΎ ΠΎΡΠ»ΠΈΡΠ°ΡΡΡΡ ΠΎΡΒ ΡΠ·Π»ΠΎΠ² Π°Π²ΡΠΎΠΌΠΎΠ±ΠΈΠ»Π΅ΠΉ ΠΠΠ-433360 ΠΈΠ»ΠΈ Π½Π° Π½ΠΈΡ Π½Π΅ ΡΡΡΠ°Π½Π°Π²Π»ΠΈΠ²Π°ΡΡΡΡ.
ΠΊΠ°Π±ΠΈΠ½Π° Π½ΠΎΠ²ΠΎΠ³ΠΎ Π·ΠΈΠ»Π°Π ΠΠΠΠΠ ΠΠ ΠΠΠΠΠΠΠ’ΠΠ ΠΠΠΠΠΠ«Β ΠΒ ΠΠΠΠ ΠΠΠΠ―
ΠΠ΅ΠΌΠΎΠ½ΡΠ°ΠΆ ΠΈΠ½ΡΠ΅Π³ΡΠ°Π»ΡΠ½ΠΎΠΌ ΠΎΠΏΠ΅ΡΠ΅Π½ΠΈΡ ΡΒ Π°Π²ΡΠΎΠΌΠΎΠ±ΠΈΠ»Ρ.
Π‘Π½ΠΈΠΌΠ°ΡΡ Π΄Π΅ΡΠ°Π»ΠΈ ΠΎΠΏΠ΅ΡΠ΅Π½ΠΈΡ (ΡΠΈΡ.!0-2Β ΠΈΒ 10-3) ΡΠ΅ΠΊΠΎΠΌΠ΅Π½Π΄ΡΠ΅ΡΡΡΒ Π²Β ΡΠ»Π΅Π΄ΡΡΡΠ΅ΠΌ ΠΏΠΎΡΡΠ΄ΠΊΠ΅:
Π½Π°Π²Π΅ΡΠΈΡΡ ΠΏΡΠΈΡΠΏΠΎΡΠΎΠ±Π»Π΅Π½ΠΈΠ΅Β Π½Π°Β ΠΊΡΡΠΊ ΠΏΠΎΠ΄ΡΠ΅ΠΌΠΎΡΠΎ ΡΡΡΡΠΎΠΉΡΡΠ²Π°Β ΠΈ Π·Π°Π²Π΅ΡΡΠΈ ΠΊΡΡΡΠΊΠΈ ΠΏΠΎΠ΄ ΠΏΠ°Π»ΡΡΡ Π·Π°ΠΏΠΎΡΠ° ΠΊΠ°ΠΏΠΎΡΠ°, Π·Π°ΡΠΈΠΊΡΠΈΡΠΎΠ²Π°Π²Β ΠΏΠΎΠ»ΠΎΠΆΠ΅Π½ΠΈΠ΅ ΠΊΠ°ΠΏΠΎΡΠ°;
ΠΎΡΠ²Π΅ΡΠ½ΡΡΡ Π³Π°ΠΉΠΊΠΈ ΠΊΡΠ΅ΠΏΠ»Π΅Π½ΠΈΡ ΠΈ ΠΎΡΡΠΎΠ΅Π΄ΠΈΠ½ΠΈΡΡ Π½ΠΈΠΆΠ½ΠΈΠ΅ ΡΡΠΎΡΡΒ ΡΡΡΠ°Ρ ΠΎΠ²ΠΊΠΈ ΠΊΠ°Π½Π°ΡΠ° ΠΎΡ ΠΊΡΠΎΠ½ΡΡΠ΅ΠΉΠ½ΠΎΠ² ΡΠ°ΠΌΡ;
ΠΎΡΠ²Π΅ΡΠ½ΡΡΡ Π³Π°ΠΉΠΊΠΈ ΠΈ ΠΎΡΡΠΎΠ΅Π΄ΠΈΠ½ΠΈΡΡ ΠΏΡΡΠΆΠΈΠ½Ρ 5 ΠΈ Π²Π΅ΡΡ Π½ΠΈΠ΅ ΡΡΠΎΡΡ 6 ΠΎΡ ΠΊΡΠΎΠ½ΡΡΠ΅ΠΉΠ½ΠΎΠ² Π±ΠΎΠΊΠΎΠ²ΡΡ ΡΠ°ΡΠΊΠΎΡΠΎΠ² ΡΠ°Π΄ΠΈΠ°ΡΠΎΡΠ°. ΠΠΎΡΠ»Π΅Β ΡΡΠΎΠ³ΠΎ ΡΠ½ΡΡΡ ΠΎΠΏΠ΅ΡΠ΅Π½ΠΈΠ΅. Π£ΡΡΠ°Π½ΠΎΠ²ΠΊΠ° ΠΎΠΏΠ΅ΡΠ΅Π½ΠΈΡ ΠΏΡΠΎΠΈΠ·Π²ΠΎΠ΄ΠΈΡΡΡ Π² ΠΎΠ±ΡΠ°ΡΠ½ΠΎΠΌ ΠΏΠΎΡΡΠ΄ΠΊΠ΅.
ΠΠ΅ΡΠ°Π»ΠΈ ΠΎΠΏΠ΅ΡΠ΅Π½ΠΈΡ Π°Π²ΡΠΎΠΌΠΎΠ±ΠΈΠ»Ρ ΠΠΠ-433360ΠΠ΅ΠΌΠΎΠ½ΡΠ°ΠΆΒ ΠΊΠ°Π±ΠΈΠ½ΡΒ ΡΒ Π°Π²ΡΠΎΠΌΠΎΠ±ΠΈΠ»Ρ
Π£ΡΡΠ°Π½ΠΎΠ²ΠΊΠ° ΠΊΠ°Π±ΠΈΠ½Ρ Π°Π²ΡΠΎΠΌΠΎΠ±ΠΈΠ»Ρ ΠΠ°Β ΡΠ°ΠΌΡ ΠΏΠΎΠΊΠ°Π·Π°Π½Π°Β Π½Π°Β ΡΠΈΡ.Β 10-4.Β ΠΠ΅ΡΠ΅Π΄ Π΄Π΅ΠΌΠΎΠ½ΡΠ°ΠΆΠ΅ΠΌ ΠΊΠ°Π±ΠΈΠ½Ρ Ρ Π°Π²ΡΠΎΠΌΠΎΠ±ΠΈΠ»Ρ Π½Π°Π΄ΠΎ ΠΎΡΠΊΠΈΠ½ΡΡΡΒ ΠΈΠ½ΡΠ΅Π³ΡΠ°Π»ΡΠ½ΠΎΠ΅ ΠΎΠΏΠ΅ΡΠ΅Π½ΠΈΠ΅, ΠΎΡΠΊΡΡΡΡ ΠΊΡΠ°Π½Ρ ΡΠ»ΠΈΠ²Π° ΠΎΡ
Π»Π°ΠΆΠ΄Π°ΡΡΠ΅ΠΉ
ΠΆΠΈΠ΄ΠΊΠΎΡΡΠΈ ΠΈ ΡΠ»ΠΈΡΡ Π΅Π΅ ΠΈΠ· ΡΠΈΡΡΠ΅ΠΌΡ ΠΎΡ
Π»Π°ΠΆΠ΄Π΅Π½ΠΈΡ Π΄Π²ΠΈΠ³Π°ΡΠ΅Π»Ρ.
ΠΠ°ΡΠ΅ΠΌ Π½Π°Π΄ΠΎ ΠΎΡΠ»Π°Π±ΠΈΡΡ Π²ΠΈΠ½ΡΡ ΠΊΡΠ΅ΠΏΠ»Π΅Π½ΠΈΡ Ρ ΠΎΠΌΡΡΠΎΠ² ΠΈ ΡΠ»Π°Π½Π³ΠΎΠ²Β ΠΎΡΠΎΠΏΠΈΡΠ΅Π»Ρ ΠΈ ΡΠ½ΡΡΡ ΡΠ»Π°Π½Π³ΠΈ. ΠΡΠ»Π°Π±ΠΈΡΡ Π²ΠΈΠ½Ρ ΠΊΡΠ΅ΠΏΠ»Π΅Π½ΠΈΡ ΡΡΠ³ΠΈ ΠΊΡΠ°Π½Π° ΠΎΡΠΎΠΏΠΈΡΠ΅Π»Ρ ΠΊΠ°Π±ΠΈΠ½Ρ ΠΈΒ ΠΎΡΡΠΎΠ΅Π΄ΠΈΠ½ΠΈΡΡ ΡΡΠ³Ρ.
ΠΡΠ»Π°Π±ΠΈΡΡ Π²ΠΈΠ½Ρ ΠΊΡΠ΅ΠΏΠ»Π΅Π½ΠΈΡ ΡΡΠ³ΠΈ ΡΠΏΡΠ°Π²Π»Π΅Π½ΠΈΡ ΠΆΠ°Π»ΡΠ·ΠΈ ΡΠ°Π΄ΠΈΠ°ΡΠΎΡΠ° ΠΈ ΠΎΡΡΠΎΠ΅Π΄ΠΈΠ½ΠΈΡΡ ΡΡΠ³Ρ. ΠΡΠ²Π΅ΡΠ½ΡΡΡ Π³Π°ΠΉΠΊΡ ΠΈ Π±ΠΎΠ»Ρ ΠΊΡΠ΅ΠΏΠ»Π΅Π½ΠΈΡΒ ΡΠΊΠΎΠ± ΡΡΠ³ΠΈ ΡΠΏΡΠ°Π²Π»Π΅Π½ΠΈΡ ΠΠ°Π»ΡΠ·ΠΈ.
ΠΡΡΠΎΠ΅Π΄ΠΈΠ½ΠΈΡΡ ΡΡΠΎΡΡ ΡΡΡΠ½ΠΎΠ³ΠΎ ΡΠΏΡΠ°Π²Π»Π΅Π½ΠΈΡ, Π²ΠΎΠ·Π΄ΡΡΠ½ΠΎΠΉ ΠΈΒ Π΄ΡΠΎΡΡΠ΅Π»ΡΠ½ΡΡ Π·Π°ΡΠ»ΠΎΠ½ΠΎΠΊ, ΠΎΡΠ»Π°Π±ΠΈΠ² Π²ΠΈΠ½ΡΡ ΠΊΡΠ΅ΠΏΠ»Π΅Π½ΠΈΡ ΡΡΠΎΡΠΎΠ² ΠΊ ΡΡΠ³Π°ΠΌ.
ΠΡΡΠΎΠ΅Π΄ΠΈΠ½ΠΈΡΡ ΡΡΠ³Ρ ΠΏΡΠΈΠ²ΠΎΠ΄Π° ΠΊΠ°ΡΠ±ΡΡΠ°ΡΠΎΡΠ° ΠΎΡ ΠΠ°Π»Π° ΡΠΏΡΠ°Π²Π»Π΅Π½ΠΈΡ Π΄ΡΠΎΡΡΠ΅Π»ΡΠ½ΡΠΌΠΈ Π·Π°ΡΠ»ΠΎΠ½ΠΊΠ°ΠΌΠΈ.
ΠΡΠ»Π°Π±ΠΈΡΡ Π²ΠΈΠ½ΡΡ ΠΊΡΠ΅ΠΏΠ»Π΅Π½ΠΈΡ Ρ ΠΎΠΌΡΡΠΎΠ² Π΄Π²ΡΡ ΡΠ΅ΠΊΡΠΈΠΎΠ½Π½ΠΎΠ³ΠΎΒ ΠΊΡΠ°Π½Π° ΡΠ°Π±ΠΎΡΠ΅ΠΉ ΡΠΎΡΠΌΠΎΠ·Π½ΠΎΠΉ ΡΠΈΡΡΠ΅ΠΌΡ ΠΈ ΠΎΡΡΠΎΠ΅Π΄ΠΈΠ½ΠΈΡΡ ΡΠ»Π°Π½Π³.
Π Π°ΡΡΠΏΠ»ΠΈΠ½ΡΠΎΠ²Π°ΡΡ Π³Π°ΠΉΠΊΡ ΠΊΡΠ΅ΠΏΠ»Π΅Π½ΠΈΡ ΠΊΠ»ΠΈΠ½Π° Π½ΠΈΠΆΠ½Π΅Π³ΠΎ ΡΠ°ΡΠ½ΠΈΡΠ°Β ΠΊΠ°ΡΠ΄Π°Π½Π° ΡΡΠ»Π΅Π²ΠΎΠ³ΠΎ ΡΠΏΡΠ°Π²Π»Π΅Π½ΠΈΡ, ΠΎΡΠ²Π΅ΡΠ½ΡΡΡ ΡΡΡ Π³Π°ΠΉΠΊΡ, Π²ΡΠ±ΠΈΡΡΒ ΠΊΠ»ΠΈΠ½Β ΠΈΒ ΠΎΡΡΠΎΠ΅Π΄ΠΈΠ½ΠΈΡΡ ΠΊΠ°ΡΠ΄Π°Π½Π½ΡΠΉ Π²Π°Π»Β ΠΎΡΒ ΡΡΠ»Π΅Π²ΠΎΠ³ΠΎΒ ΠΌΠ΅Ρ Π°Π½ΠΈΠ·ΠΌΠ°.
ΠΡΠΊΠ»ΡΡΠΈΡΡ ΡΠ»Π΅ΠΊΡΡΠΎΠΏΠΈΡΠ°Π½ΠΈΠ΅Β Π°Π²ΡΠΎΠΌΠΎΠ±ΠΈΠ»Ρ,Β ΡΠ½ΡΠ² ΠΎΡΡΠΈΡΠ°ΡΠ΅Π»ΡΠ½ΡΡ ΠΊΠ»Π΅ΠΌΠΌΡ Ρ Π°ΠΊΠΊΡΠΌΡΠ»ΡΡΠΎΡΠ°.
ΠΡΡΠΎΠ΅Π΄ΠΈΠ½ΠΈΡΡ ΠΏΡΡΠΎΠΊ ΡΠ»Π΅ΠΊΡΡΠΎΠΏΡΠΎΠ²ΠΎΠ΄ΠΎΠ², ΠΈΠ΄ΡΡΠΈΡ Π½Π° Π³Π΅Π½Π΅ΡΠ°ΡΠΎΡ ΠΈ Π΄Π°ΡΡΠΈΠΊΠΈ Π΄Π²ΠΈΠ³Π°ΡΠ΅Π»Ρ (ΠΏΠΎΠ΄ ΠΎΠΏΠ΅ΡΠ΅Π½ΠΈΠ΅ΠΌ ΡΠ»Π΅Π²Π°).
Π Π°Π·ΡΠ΅Π΄ΠΈΠ½ΠΈΡΡ ΡΡΠ΅ΠΊΠ΅ΡΠ½ΡΠΉ ΡΠ°Π·ΡΠ΅ΠΌ ΠΏΡΠΎΠ²ΠΎΠ΄ΠΎΠ², ΠΈΠ΄ΡΡΠΈΡ Π½Π°Β Π΄Π°ΡΡΠΈΠΊΠΈ ΡΠΊΠ°Π·Π°ΡΠ΅Π»Ρ ΡΡΠΎΠ²Π½Ρ ΡΠΎΠΏΠ»ΠΈΠ²Π°, ΠΏΠ°Π΄Π΅Π½ΠΈΡ Π΄Π°Π²Π»Π΅Π½ΠΈΡ Π²ΠΎΠ·Π΄ΡΡ Π°Β Π² ΡΠΈΡΡΠ΅ΠΌΠ΅ ΡΠΎΡΠΌΠΎΠ·Π½ΠΎΠ³ΠΎ ΠΏΡΠΈΠ²ΠΎΠ΄Π° ΠΈ ΠΎΡΡΠΎΠ΅Π΄ΠΈΠ½ΠΈΡΡ ΠΏΡΠΎΠ²ΠΎΠ΄Π° Π²ΠΊΠ»ΡΡΠ΅Π½ΠΈΡ ΡΡΠ°ΡΡΠ΅ΡΠ°.
ΠΡΡΠΎΠ΅Π΄ΠΈΠ½ΠΈΡΡ ΠΏΡΡΠΎΠΊ ΠΏΡΠΎΠ²ΠΎΠ΄ΠΎΠ², ΠΈΠ΄ΡΡΠΈΡ Π½Π° ΡΠ²Π΅ΡΠΎΠ²ΡΡ ΡΠΈΠ³Π½Π°Π»ΠΈΠ·Π°ΡΠΈΡ ΠΈ ΠΎΡΠ²Π΅ΡΠ΅Π½ΠΈΠ΅ ΡΠ·Π°Π΄ΠΈ Π°Π²ΡΠΎΠΌΠΎΠ±ΠΈΠ»Ρ (ΠΏΠΎΠ΄ ΠΊΠ°ΠΏΠΎΡΠΎΠΌ ΡΠΏΡΠ°Π²Π°).
Π£ΡΡΠ°Π½ΠΎΠ²ΠΊΠ° ΠΊΠ°Π±ΠΈΠ½Ρ Π½Π° ΡΠ°ΠΌΠ΅ΠΡΠ²Π΅ΡΠ½ΡΡΡ Π±ΠΎΠ»ΡΡ ΠΊΡΠ΅ΠΏΠ»Π΅Π½ΠΈΡ ΠΊΡΡΡΠΊΠΈ Π»ΡΠΊΠ° ΠΏΠΎΠ»Π° ΠΊΠ°Π±ΠΈΠ½Ρ ΠΈΒ ΡΠ½ΡΡΡ ΠΊΡΡΡΠΊΡ.
ΠΡΠΈΠΏΠΎΠ΄Π½ΡΡΡ Π°Π²ΡΠΎΠΌΠΎΠ±ΠΈΠ»Ρ ΠΈ ΠΎΡΠ²Π΅ΡΠ½ΡΡΡ ΡΡΡΡΠ΅Ρ ΡΠ»Π°Π½Π³Π° Π³ΠΈΠ΄ΡΠΎΠΏΡΠΈΠ²ΠΎΠ΄Π° ΠΏΠ½Π΅Π²ΠΌΠΎΠ³ΠΈΠ΄ΡΠΎΡΡΠΈΠ»ΠΈΡΠ΅Π»Ρ ΡΡΠ΅ΠΏΠ»Π΅Π½ΠΈΡ, ΠΎΡΡΠΎΠ΅Π΄ΠΈΠ½ΠΈΡΡ ΡΠ»Π°Π½Π³ ΠΎΡ ΠΏΠ½Π΅Π²ΠΌΠΎΠ³ΠΈΠ΄ΡΠΎΡΡΠΈΠ»ΠΈΡΠ΅Π»Ρ ΠΈ ΡΡΡΠ°Π½ΠΎΠ²ΠΈΡΡ Π½Π° ΡΠ»Π°Π½Π³ Π·Π°Π³Π»ΡΡΠΊΡ.Π Π°ΡΠΏΠ»ΠΎΠΌΠ±ΠΈΡΠΎΠ²Π°ΡΡ Π½ΠΈΠΆΠ½ΠΈΠΉ ΠΊΠΎΠ½Π΅Ρ ΡΡΠΎΡΠ° ΡΠΏΠΈΠ΄ΠΎΠΌΠ΅ΡΡΠ°. ΠΡΠ²Π΅ΡΠ½ΡΡΡ Π³Π°ΠΉΠΊΡ ΠΈ ΠΎΡΡΠΎΠ΅Π΄ΠΈΠ½ΠΈΡΡ ΡΡΠΎΡ ΠΎΡ ΠΊΠΎΡΠΎΠ±ΠΊΠΈ ΠΏΠ΅ΡΠ΅Π΄Π°Ρ.ΠΡΠ»Π°Π±ΠΈΡΡ Π²ΠΈΠ½ΡΡ Ρ ΠΎΠΌΡΡΠΎΠ² Π½Π° ΡΡΡΠ±ΠΊΠ°Ρ ΡΠΈΡΡΠ΅ΠΌΡ ΡΡΠΎΡΠ½ΠΎΡΠ½ΠΎΠ³ΠΎ ΡΠΎΡΠΌΠΎΠ·Π° ΠΈ ΠΎΡΡΠΎΠ΅Π΄ΠΈΠ½ΠΈΠ² ΡΡΡΠ±ΠΊΠΈ ΠΎΡ ΠΊΠ°Π±ΠΈΠ½Ρ.
ΠΡΠ²Π΅ΡΠ½ΡΡΡ Π³Π°ΠΉΠΊΡ Π²Π΅ΡΡ Π½Π΅Π³ΠΎ ΠΊΡΠ΅ΠΏΠ»Π΅Π½ΠΈΡ ΠΏΠ΅ΡΠ΅Π΄Π½Π΅Π³ΠΎ Π°ΠΌΠΎΡΡΠΈΠ·Π°ΡΠΎΡΠ° Ρ ΠΏΡΠ°Π²ΠΎΠΉ ΡΡΠΎΡΠΎΠ½Ρ, ΡΠ½ΡΡΡ Π±ΠΎΠ»Ρ ΠΈ ΠΎΡΡΠΎΠ΅Π΄ΠΈΠ½ΠΈΡΡ Π°ΠΌΠΎΡΡΠΈΠ·Π°ΡΠΎΡ ΠΎΡ ΠΊΠ°Π±ΠΈΠ½Ρ. ΠΡΠ²Π΅ΡΠ½ΡΡΡ Π³Π°ΠΉΠΊΡ Π²Π΅ΡΡ Π½Π΅Π³ΠΎ ΠΊΡΠ΅ΠΏΠ»Π΅Π½ΠΈΡ Π·Π°Π΄Π½Π΅Π³ΠΎ Π°ΠΌΠΎΡΡΠΈΠ·Π°ΡΠΎΡΠ° Ρ ΠΏΡΠ°Π²ΠΎΠΉ ΡΡΠΎΡΠΎΠ½Ρ, ΡΠ½ΡΡΡ Π±ΠΎΠ»Ρ ΠΈ ΠΎΡΡΠΎΠ΅Π΄ΠΈΠ½ΠΈΡΡ Π°ΠΌΠΎΡΡΠΈΠ·Π°ΡΠΎΡ ΠΎΡ ΠΊΠ°Π±ΠΈΠ½Ρ. Π’ΠΎΠΆΠ΅ ΡΠ°ΠΌΠΎΠ΅ Π½Π°Π΄ΠΎ ΡΠ΄Π΅Π»Π°ΡΡ Ρ Π»Π΅Π²ΠΎΠΉ ΡΡΠΎΡΠΎΠ½Ρ ΠΊΠ°Π±ΠΈΠ½Ρ. ΠΡΠ²Π΅ΡΠ½ΡΡΡ Π³Π°ΠΉΠΊΠΈ ΠΊΡΠ΅ΠΏΠ»Π΅Π½ΠΈΡ ΡΠΊΠΎΠ±Ρ 2 (ΡΠΌ. ΡΠΈΡ. 10-4) ΠΎΠ³ΡΠ°Π½ΠΈΡΠ΅Π½ΠΈΡ Π²Π΅ΡΡΠΈΠΊΠ°Π»ΡΠ½ΠΎΠ³ΠΎ ΠΏΠ΅ΡΠ΅ΠΌΠ΅ΡΠ΅Π½ΠΈΡ Π·Π°Π΄Π½Π΅ΠΉ ΡΠ°ΡΡΠΈ ΠΊΠ°Π±ΠΈΠ½Ρ ΠΈ ΡΠ½ΡΡΡ Π±ΠΎΠ»Ρ ΠΈ ΡΠΊΠΎΠ±Ρ.
ΠΡΠ²Π΅ΡΠ½ΡΡΡ Π³Π°ΠΉΠΊΠΈ ΡΠΏΠΈΠ»Π΅ΠΊ ΠΊΡΠ΅ΠΏΠ»Π΅Π½ΠΈΡ ΡΡΡΠ°Π³Π° ΡΠΎΡΡΠΈΠΎΠ½Π° Ρ ΠΏΡΠ°Π²ΠΎΠΉ ΡΡΠΎΡΠΎΠ½Ρ, Π° Π·Π°ΡΠ΅ΠΌ Ρ Π»Π΅Π²ΠΎΠΉ ΡΡΠΎΡΠΎΠ½Ρ. ΠΠΏΡΡΡΠΈΡΡ Π°Π²ΡΠΎΠΌΠΎΠ±ΠΈΠ»Ρ. Π£ΡΡΠ°Π½ΠΎΠ²ΠΈΡΡ ΠΏΡΠΈΡΠΏΠΎΡΠΎΠ±Π»Π΅Π½ΠΈΠ΅ Π΄Π»Ρ ΠΏΠΎΠ΄ΡΠ΅ΠΌΠ° ΠΊΠ°Π±ΠΈΠ½Ρ Π½Π° ΠΊΡΡΠΊ ΠΏΠΎΠ΄ΡΠ΅ΠΌΠ½ΠΈΠΊΠ° ΠΈ Π·Π°Π²Π΅ΡΡΠΈ Π·Π°Ρ Π²Π°ΡΡβ ΡΡΠ΅ΠΌΠ½ΠΈΠΊΠ° Π² ΠΏΡΠΎΠ΅ΠΌΡ Π΄Π²Π΅ΡΠ΅ΠΉ, Π·Π°ΡΠΈΠΊΡΠΈΡΠΎΠ²Π°Π² ΠΏΠΎΠ»ΠΎΠΆΠ΅Π½ΠΈΠ΅ ΠΊΠ°Π±ΠΈΠ½Ρ.
ΠΡΠ²Π΅ΡΠ½ΡΡΡ Π³Π°ΠΉΠΊΠΈ ΠΊΡΠ΅ΠΏΠ»Π΅Π½ΠΈΡ ΠΏΠ΅ΡΠ΅Π΄Π½Π΅ΠΉ ΡΠ°ΡΡΠΈ ΠΊΠ°Π±ΠΈΠ½Ρ ΠΊ ΠΊΡΠΎΠ½ΡΡΠ΅ΠΉΠ½Ρ ΡΠ°ΠΌΡ ΡΠΏΡΠ°Π²Π° ΠΈ ΡΠ»Π΅Π²Π° ΠΈ ΡΠ½ΡΡΡ Π±ΠΎΠ»ΡΡ. Β ΠΠΎΡΠ»Π΅ ΡΡΠΎΠ³ΠΎ Π½Π°Π΄ΠΎ ΡΠ½ΡΡΡ ΠΊΠ°Π±ΠΈΠ½Ρ βΉ: ΠΏΠΎΠΌΠΎΡΡΡ ΠΏΡΠΈΡΠΏΠΎΡΠΎΠ±Π»Π΅Π½ΠΈΡ ΠΈ ΠΏΠΎΠ΄ΡΠ΅ΠΌΠ½ΠΎΠ³ΠΎ ΡΡΡΡΠΎΠΉΡΡΠ²Π° Ρ ΡΠ°ΠΌΡ Π°Π²ΡΠΎΠΌΠΎΠ±ΠΈΠ»Ρ. Π£ΡΡΠ°Π½ΠΎΠ²ΠΊΠ° ΠΊΠ°Π±ΠΈΠ½Ρ ΠΏΡΠΎΠΈΠ·Π²ΠΎΠ΄ΠΈΡΡΡ Π² ΠΎΠ±ΡΠ°ΡΠ½ΠΎΠΉ ΠΏΠΎΡΠ»Π΅Π΄ΠΎΠ²Π°ΡΠ΅Π»ΡΠ½ΠΎΡΡΠΈ.
Π‘Π½ΡΡΠΈΠ΅ ΡΡΠ΅ΠΊΠ»Π° ΠΈ ΡΠΎΡΡΠΎΡΠΊΠΈ Π΄Π²Π΅ΡΠΈ ΠΊΠ°Π±ΠΈΠ½Ρ
ΠΠ»Ρ ΡΠ½ΡΡΠΈΡ ΡΡΠ΅ΠΊΠ»Π° Π΄Π²Π΅ΡΠΈ ΠΈ ΡΠΎΡΡΠΎΡΠΊΠΈ Β Π½Π°Π΄ΠΎ ΡΠ½ΡΡΡ Ρ Π²Π½ΡΡΡΠ΅Π½Π½Π΅ΠΉ ΡΡΠΎΡΠΎΠ½Ρ Π΄Π²Π΅ΡΠΈ ΡΡΡΠΊΡ ΡΡΠ΅ΠΊΠ»ΠΎΠΏΠΎΠ΄ΡΠ΅ΠΌΠ½ΠΈΠΊΠ° Π·Π°ΠΌΠΊΠ° ΠΈ ΡΠΈΠΊΡΠ°ΡΠΎΡΠ° Π·Π°ΠΌΠΊΠ°, ΠΎΡΠ²Π΅ΡΠ½ΡΠ² Π²ΠΈΠ½ΡΡ ΠΈΡ ΠΊΡΠ΅ΠΏΠ»Π΅Π½ΠΈΡ.
Π’ΠΎΠ½ΠΊΠΎΠΉ ΠΎΡΠ²Π΅ΡΡΠΊΠΎΠΉ ΠΈΠ»ΠΈ ΡΠΏΠ΅ΡΠΈΠ°Π»ΡΠ½ΠΎΠΉ ΠΏΠ»Π°ΡΡΠΈΠ½ΠΎΠΉ, ΡΡΡΠ°Π½ΠΎΠ²Π»Π΅Π½Π½ΠΎΠΉ ΠΌΠ΅ΠΆΠ΄Ρ ΠΎΠ±ΠΈΠ²ΠΊΠΎΠΉ 7 ΠΈ Π΄Π²Π΅ΡΡΡ ΠΊΠ°ΠΊ ΠΌΠΎΠΆΠ½ΠΎ Π±Π»ΠΈΠΆΠ΅ ΠΊ ΠΏΠΈΡΡΠΎΠ½Π°ΠΌ ΠΊΡΠ΅ΠΏΠ»Π΅Π½ΠΈΡ ΠΎΠ±ΠΈΠ²ΠΊΠΈ, ΠΏΠΎΠΎΡΠ΅ΡΠ΅Π΄Π½ΠΎ Π²ΡΠ½ΡΡΡ ΠΏΠΈΡΡΠΎΠ½Ρ ΠΈΠ· Π΄Π²Π΅ΡΠΈ ΠΈ ΡΠ½ΡΡΡ ΠΎΠ±ΠΈΠ²ΠΊΡ Π΄Π²Π΅ΡΠΈ.
ΠΠΏΡΡΡΠΈΡΡ ΡΡΠ΅ΠΊΠ»ΠΎΠΏΠΎΠ΄ΡΠ΅ΠΌΠ½ΠΈΠΊΠΎΠΌ ΡΡΠ΅ΠΊΠ»ΠΎ Π²Π½ΠΈΠ·, ΠΎΡΠ²Π΅ΡΠ½ΡΡΡ Π±ΠΎΠ»ΡΡ ΠΊΡΠ΅ΠΏΠ»Π΅Π½ΠΈΡ Π΄Π΅ΡΠΆΠ°ΡΠ΅Π»Ρ ΡΠΏΠ»ΠΎΡΠ½ΠΈΡΠ΅Π»Ρ (Π½Π°ΠΏΡΠ°Π²Π»ΡΡΡΠ΅ΠΉ ΡΡΠ΅ΠΊΠ»Π°), ΡΠ½ΡΡΡ ΡΠΏΠ»ΠΎΡΠ½ΠΈΡΠ΅Π»ΠΈ ΠΈ Π½Π°ΠΏΡΠ°Π²Π»ΡΡΡΡΡ.
ΠΡΠ²Π΅ΡΠ½ΡΡΡ, ΠΏΡΠΈΠ΄Π΅ΡΠΆΠΈΠ²Π°Ρ ΡΡΠ΅ΠΊΠ»ΠΎ, ΡΠ΅ΡΡΡΠ΅ Π±ΠΎΠ»ΡΠ° ΠΊΡΠ΅ΠΏΠ»Π΅Π½ΠΈΡ ΠΊΠΎΡΠΏΡΡΠ°Β ΡΡΠ΅ΠΊΠ»ΠΎΠΏΠΎΠ΄ΡΠ΅ΠΌΠ½ΠΈΠΊΠ°. ΠΡΠ½ΡΡΡ ΡΠΎΠ»ΠΈΠΊ ΡΡΡΠ°Π³Π° ΡΡΠ΅ΠΊΠ»ΠΎΠΏΠΎΠ΄ΡΠ΅ΠΌΠ½ΠΈΠΊΠ° ΠΈΠ· ΠΏΡΠΎΡΠ΅Π·ΠΈ ΠΊΡΠ»ΠΈΡΡ ΠΎΠ±ΠΎΠΉΠΌΡ 3.
ΠΠΎΠ΄Π½ΡΡΡ ΡΡΠ΅ΠΊΠ»ΠΎ Π²Π²Π΅ΡΡ ΠΈ, Π½Π°ΠΊΠ»ΠΎΠ½ΠΈΠ², Π²ΡΠ½ΡΡΡ ΡΠ΅ΡΠ΅Π· ΠΎΠΊΠΎΠ½Π½ΡΠΉ ΠΏΡΠΎΠ΅ΠΌ.
ΠΠ»Ρ Π΄Π΅ΠΌΠΎΠ½ΡΠ°ΠΆΠ° ΡΠΎΡΡΠΎΡΠΊΠΈ Π½Π°Π΄ΠΎ ΠΎΡΠΊΡΡΡΡ Π΅Π΅, ΠΏΠΎΠ²Π΅ΡΠ½ΡΠ² ΡΡΡΠΊΡ-Π·Π°ΠΏΠΎΡ 18 (ΡΠΌ. ΡΠΈΡ.10-5) ΠΏΡΠΈ Π½Π°ΠΆΠ°ΡΠΎΠΉ ΡΠΎΠ±Π°ΡΠΊΠ΅ 19.
ΠΡΠ²Π΅ΡΠ½ΡΡΡ Π³Π°ΠΉΠΊΡ 28 ΠΈ ΡΠ»Π΅Π³ΠΊΠ° ΠΏΠΎΡΡΡΠΊΠΈΠ²Π°Ρ ΠΏΠΎ Π²Π΅ΡΡ Π½Π΅ΠΌΡ ΠΈ Π½ΠΈΠΆΠ½Π΅ΠΌΡ Π΄Π΅ΡΠΆΠ°ΡΠ΅Π»ΡΠΌ ΠΎΡΠΈ 32 ΡΠ½ΡΡΡ ΡΡΠ΅ΠΊΠ»ΠΎ.
ΠΡΡΠΎΡΠΎΠΆΠ½ΠΎ Π²ΡΠ±ΠΈΡΡ ΡΡΠΈΡΡ ΠΈΠ· ΡΡΡΠΊΠΈ-Π·Π°ΠΏΠΎΡΠ° ΠΈ ΡΠ½ΡΡΡ Π΅Π³ΠΎ. ΠΡΠ²Π΅ΡΠ½ΡΡΡ Π³Π°ΠΉΠΊΡ 22, Π²ΡΠ½ΡΡΡ ΠΎΡΡ Π·Π°ΠΏΠΎΡΠ° ΠΈ ΠΎΡΠ²ΠΎΠ±ΠΎΠ΄ΠΈΡΡ ΡΡΠ΅ΠΊΠ»ΠΎ.
ΠΠ²Π΅ΡΡ ΠΊΠ°Π±ΠΈΠ½Ρ Π°Π²ΡΠΎΠΌΠΎΠ±ΠΈΠ»ΡΠ‘Π½ΡΡΠΈΠ΅ ΡΡΠ΅ΠΊΠ»ΠΎΠΏΠΎΠ΄ΡΠ΅ΠΌΠ½ΠΈΠΊΠ°
ΠΠ»Ρ Π΄Π΅ΠΌΠΎΠ½ΡΠ°ΠΆΠ° ΡΡΠ΅ΠΊΠ»ΠΎΠΏΠΎΠ΄ΡΠ΅ΠΌΠ½ΠΈΠΊΠΈ (ΡΠΌ. ΡΠΈΡ. 10- 6) Π½Π°Π΄ΠΎ ΡΠ½ΡΡΡ Π΅Π³ΠΎ ΡΡΡΠΊΡ 10, ΠΠ»Ρ ΡΠ΅Π³ΠΎ ΡΠ»Π΅Π΄ΡΠ΅Ρ ΠΎΡΠΆΠ°ΡΡ ΡΠΎΠ½ΠΊΠΎΠΉ ΠΎΡΠ²Π΅ΡΡΠΊΠΎΠΉ Π·Π°Π³Π»ΡΡΠΊΡ, ΠΎΡΠ²Π΅ΡΠ½ΡΡΡ Π²ΠΈΠ½Ρ ΠΊΡΠ΅ΠΏΠ»Π΅Π½ΠΈΡ ΠΈ ΡΠ½ΡΡΡ ΠΊΠ½ΠΎΠΏΠΊΡ ΡΠΈΠΊΡΠ°ΡΠΎΡΠ° Π·Π°ΠΌΠΊΠ° Π΄Π²Π΅ΡΠΈ ΠΈ ΡΡΡΠΊΡ Π·Π°ΠΌΠΊΠ° Π΄Π²Π΅ΡΠΈ. β
Π‘Π½ΡΡΡ ΠΎΠ±ΠΈΠ²ΠΊΡ Π΄Π²Π΅ΡΠΈ ΠΊΠ°ΠΊ ΠΎΠΏΠΈΡΠ°Π½ΠΎ Π²ΡΡΠ΅ ΠΈ ΠΏΠΎΠ΄ΡΡΠ°Π²ΠΈΡΡ ΠΏΠΎΠ΄; ΡΡΠ΅ΠΊΠ»ΠΎ Π»ΡΠ±ΠΎΠΉ Π½Π°Π΄Π΅ΠΆΠ½ΡΠΉ ΡΠΏΠΎΡ. ΠΠ°ΡΠ΅ΠΌ Π½Π°Π΄ΠΎ ΠΎΡΠ²Π΅ΡΠ½ΡΡΡ ΡΠ΅ΡΡΡΠ΅? Π±ΠΎΠ»ΡΠ° ΠΊΡΠ΅ΠΏΠ»Π΅Π½ΠΈΡ ΠΊΠΎΡΠΏΡΡΠ° 5 ΠΈ Π²ΡΠ½ΡΡΡ ΡΡΠ΅ΠΊΠ»ΠΎΠΏΠΎΠ΄ΡΠ΅ΠΌΠ½ΠΈΠΊ Π² ΡΠ±ΠΎΡΠ΅
Π‘ΡΠ΅ΠΊΠ»ΠΎΠΏΠΎΠ΄ΡΠ΅ΠΌΠ½ΠΈΠΊ Π΄Π²Π΅ΡΠΈ ΡΠΎ ΡΡΠ΅ΠΊΠ»ΠΎΠΌΠ‘Π½ΡΡΠΈΠ΅ Π·Π°ΠΌΠΊΠ° Π΄Π²Π΅ΡΠΈ
ΠΠ»Ρ ΡΠ½ΡΡΠΈΡ Π·Π°ΠΌΠΊΠ° Π΄Π²Π΅ΡΠΈ (ΡΠΈΡ.10-7) Π½Π°Π΄ΠΎ ΡΠ½ΡΡΡ ΠΎΠ±ΠΈΠ²ΠΊΡ Π΄Π²Π΅ΡΠΈ β ΠΊΠ°ΠΊ ΠΎΠΏΠΈΡΠ°Π½ΠΎ Π²ΡΡΠ΅ ΠΠ°ΡΠ΅ΠΌ ΠΎΡΠ²Π΅ΡΠ½ΡΡΡ Π΄Π²Π° Π²ΠΈΠ½ΡΠ° ΠΊΡΠ΅ΠΏΠ»Π΅Π½ΠΈΡ Π½Π°ΡΡΠΆΠ½ΠΎΠΉ ΡΡΡΠΊΠΈ Π΄Π²Π΅ΡΠΈ 20 ΠΈ ΡΠ½ΡΡΡ Π΅Π΅.
ΠΡΠ²Π΅ΡΠ½ΡΡΡ Π΄Π²Π° Π²ΠΈΠ½ΡΠ° ΠΊΡΠ΅ΠΏΠ»Π΅Π½ΠΈΡ ΠΊΠΎΡΠΏΡΡΠ° ΠΏΡΠΈΠ²ΠΎΠ΄Π° 28. ΠΡΠ²Π΅ΡΠ½ΡΡΡ ΡΡΠΈ Π²ΠΈΠ½ΡΠ° ΠΊΡΠ΅ΠΏΠ»Π΅Π½ΠΈΡ ΠΊΠΎΡΠΏΡΡΠ° Π·Π°ΠΌΠΊΠ° 8 Ρ Π²Π½ΡΡΡΠ΅Π½Π½Π΅ΠΉ ΡΡΠΎΡΠΎΠ½Ρ Π΄Π²Π΅ΡΠΈ ΠΈ Π΄Π²Π° Π²ΠΈΠ½ΡΠ° Ρ ΡΠΎΡΡΠ΅Π²ΠΎΠΉ ΡΡΠΎΡΠΎΠ½Ρ. ΠΠΎΡΠ»Π΅ ΡΠ΅Π³ΠΎ Π²ΡΠ½ΡΡΡ Π·Π°ΠΌΠΎΠΊ Π² ΡΠ±ΠΎΡΠ΅ ΡΠ΅ΡΠ΅Π· ΡΠΎΠΊ Π΄Π²Π΅ΡΠΈ.
ΠΠ°ΠΌΠΎΠΊ Π΄Π²Π΅ΡΠΈ ΠΊΠ°Π±ΠΈΠ½ΡΠΡΠΎΠ²Π΅ΡΠΊΠ° Π΄Π²Π΅ΡΠΈ ΠΏΠΎΡΠ»Π΅ ΡΠ±ΠΎΡΠΊΠΈ
ΠΠ²Π΅ΡΠΈ ΠΊΠ°Π±ΠΈΠ½Ρ Π°Π²ΡΠΎΠΌΠΎΠ±ΠΈΠ»Ρ Π΄ΠΎΠ»ΠΆΠ½Ρ ΡΠ²ΠΎΠ±ΠΎΠ΄Π½ΠΎ Β ΠΎΡΠΊΡΡΠ²Π°ΡΡΡΡ ΠΈ Π·Π°ΠΊΡΡΠ²Π°ΡΡΡΡ. ΠΡΠΈΠ²Π°ΡΠΊΠ° ΠΏΠ΅ΡΠ΅Π»Ρ Π΄Π²Π΅ΡΠ΅ΠΉ ΠΊ ΡΡΠΎΠΉΠΊΠ°ΠΌ ΠΊΠΎΡΠΏΡΡΠ° ΠΊΠ°Π±ΠΈΠ½Ρ Π½Π΅ Π΄ΠΎΠΏΡΡΠΊΠ°Π΅ΡΡΡ.
ΠΡΠΈ Π²Π΅ΡΡ Π½ΠΈΡ ΠΈ Π½ΠΈΠΆΠ½ΠΈΡ ΠΏΠ΅ΡΠ΅Π»Ρ Π΄Π²Π΅ΡΠΈ 13 ΠΈ 16 (ΡΠΌ. ΡΠΈΡ. 10 5) Π΄ΠΎΠ»ΠΆΠ½Ρ Π±ΡΡΡ ΡΠΎΠΎΡΠ½Ρ. ΠΠ²Π΅ΡΠΈ ΠΊΠ°Π±ΠΈΠ½Ρ Π΄ΠΎΠ»ΠΆΠ½Ρ Π±ΡΡΡ ΠΏΠ»ΠΎΡΠ½ΠΎ ΠΏΠΎΠ΄ΠΎΠ³Π½Π°Π½Ρ, Π±Π΅Π· ΠΏΠ΅ΡΠ΅ΠΊΠΎΡΠΎΠ² Π² Π΄Π²Π΅ΡΠ½ΠΎΠΌ ΠΏΡΠΎΠ΅ΠΌΠ΅.
Π Π΅Π·ΠΈΠ½ΠΎΠ²ΡΠ΅ ΡΠΏΠ»ΠΎΡΠ½ΠΈΡΠ΅Π»ΠΈ Π² ΠΌΠ΅ΡΡΠ°Ρ ΡΠΎΠΏΡΡΠΆΠ΅Π½ΠΈΡ ΡΠΎ ΡΡΠ΅ΠΊΠ»Π°ΠΌΠΈ ΠΈ ΠΊΠ°Π±ΠΈΠ½ΠΎΠΉ Π΄ΠΎΠ»ΠΆΠ½Ρ Π±ΡΡΡ ΠΏΡΠΎΠΌΠ°Π·Π°Π½Ρ ΠΏΠ°ΡΡΠΎΠΉ, ΡΡΠΎ ΠΎΠ±Π΅ΡΠΏΠ΅ΡΠΈΠ²Π°Π΅Ρ Π³Π΅ΡΠΌΠ΅ΡΠΈΡΠ½ΠΎΡΡΡ, ΠΈΡΠΊΠ»ΡΡΠ°ΡΡΡΡ ΠΏΡΠΎΠ½ΠΈΠΊΠ½ΠΎΠ²Π΅Π½ΠΈΠ΅ Π²ΠΎΠ΄Ρ Π² ΠΊΠ°Π±ΠΈΠ½Ρ.
Π€ΠΎΡΡΠΎΡΠΊΠΈ Π΄Π²Π΅ΡΠ΅ΠΉ Π² Π·Π°ΠΏΠ΅ΡΡΠΎΠΌ ΠΏΠΎΠ»ΠΎΠΆΠ΅Π½ΠΈΠΈ Π΄ΠΎΠ»ΠΆΠ½Ρ ΠΏΠ»ΠΎΡΠ½ΠΎ ΠΏΡΠΈΠ»Π΅Π³Π°ΡΡ ΠΊ ΡΠΏΠ»ΠΎΡΠ½ΠΈΡΠ΅Π»ΡΠΌ. ΠΡΠΈ ΠΎΡΠΊΡΡΠ²Π°Π½ΠΈΠΈ ΠΈ Π·Π°ΠΊΡΡΠ²Π°Π½ΠΈΠΈ ΡΠΎΡΡΠΎΡΠΊΠΈ ΡΡΠΈΠ»ΠΈΠ΅ Π½Π° ΡΡΡΠΊΠ΅ Π΄ΠΎΠ»ΠΆΠ½ΠΎ Π±ΡΡΡ Π½Π΅ Π±ΠΎΠ»Π΅Π΅ 20β¦30 Π
ΠΠ΅ΡΠ°Π»ΠΈ ΡΡΠ΅ΠΊΠ»ΠΎΠΏΠΎΠ΄ΡΠ΅ΠΌΠ½ΠΈΠΊΠ° Π΄ΠΎΠ»ΠΆΠ½Ρ ΠΈΠΌΠ΅ΡΡ Π°Π½ΡΠΈΠΊΠΎΡΡΠΎΠ·ΠΈΠΉΠ½ΠΎΠ΅ ΠΏΠΎΠΊΡΡΡΠΈΠ΅. Π£ ΡΠΎΠ±ΡΠ°Π½Π½ΠΎΠ³ΠΎ ΡΡΠ΅ΠΊΠ»Π° ΠΏΠΎΠ΄ΡΠ΅ΠΌΠ½ΠΈΠΊΠ° ΡΡΡΠ°Π³ΠΈ Π΄ΠΎΠ»ΠΆΠ½Ρ ΠΏΠ΅ΡΠ΅ΠΌΠ΅ΡΠ°ΡΡΡΡ ΡΠ²ΠΎΠ±ΠΎΠ΄Π½ΠΎ, Π±Π΅Π· Π·Π°ΠΊΠ»ΠΈΠ½ΠΈΠ²Π°Π½ΠΈΡ. ΠΡΠΈΠΆΠΈΠΌΠ½ΠΎΠΉ ΡΠ·ΡΠΊ
ΠΊΠΎΡΠΏΡΡΠ° Π΄ΠΎΠ»ΠΆΠ΅Π½ ΡΠ΄Π΅ΡΠΆΠΈΠ²Π°ΡΡ ΡΠ΅ΠΊΡΠΎΡ ΠΈ Π½Π΅ Π΄Π°Π²Π°ΡΡ ΡΠ΅ΠΊΡΠΎΡΡ Π²ΡΡ ΠΎΠ΄ΠΈΡΡ ΠΈΠ· ΠΏΠΎΠ»Π½ΠΎΠ³ΠΎ Π·Π°ΡΠ΅ΠΏΠ»Π΅Π½ΠΈΡ βΉ: ΡΠ΅ΡΡΠ΅ΡΠ½Π΅ΠΉ. ΠΡΠΎΠ΄ΠΎΠ»ΡΠ½ΡΠΉ Π»ΡΡΡ ΠΏΡΠΈΠ²ΠΎΠ΄Π½ΠΎΠ³ΠΎ Π²Π°Π»Π° Β 12 (ΡΠΌ. ΡΠΈΡ.10-6) Π½Π΅ Π΄ΠΎΠ»ΠΆΠ΅Π½ ΠΏΡΠ΅Π²ΡΡΠ°ΡΡ 1,0 ΠΌΠΌ. Π‘Π²ΠΎΠ±ΠΎΠ΄Π½ΡΠΉ ΠΏΠΎΠ²ΠΎΡΠΎΡ ΡΡΡΠΊΠΈ 10 Π΄ΠΎ Π½Π°ΡΠ°Π»Π° ΠΏΠ΅ΡΠ΅ΠΌΠ΅ΡΠ΅Π½ΠΈΡ ΡΡΡΠ°Π³ΠΎΠ² Π΄ΠΎΠΏΡΡΠΊΠ°Π΅ΡΡΡ Π½Π΅ Π±ΠΎΠ»Π΅Π΅ 1800.
Π‘ΡΠ΅ΠΊΠ»ΠΎΠΏΠΎΠ΄ΡΠ΅ΠΌΠ½ΠΈΠΊΠΈ Π΄Π²Π΅ΡΠ΅ΠΉ ΠΊΠ°Π±ΠΈΠ½Ρ Π΄ΠΎΠ»ΠΆΠ½Ρ ΠΏΠ»Π°Π²Π½ΠΎ, Π±Π΅Π· ΠΏΠ΅ΡΠ΅ΠΊΠΎΡΠΎΠ² ΠΈ Π·Π°Π΅Π΄Π°Π½ΠΈΠΉ, ΠΏΠΎΠ΄Π½ΠΈΠΌΠ°ΡΡ ΠΈ ΠΎΠΏΡΡΠΊΠ°ΡΡ ΡΡΠ΅ΠΊΠ»Π° Π΄Π²Π΅ΡΠ΅ΠΉ. Π£ΡΠΈΠ»ΠΈΠ΅ Π½Π° ΡΡΡΠΊΠ΅ ΡΡΠ΅ΠΊΠ»ΠΎΠΏΠΎΠ΄ΡΠ΅ΠΌΠ½ΠΈΠΊΠ° Π½Π΅ Π΄ΠΎΠ»ΠΆΠ½ΠΎ ΠΏΡΠ΅Π²ΡΡΠ°ΡΡ ΠΏΡΠΈ ΠΎΠΏΡΡΠΊΠ°Π½ΠΈΠΈ 30 Π (3 ΠΊΠ³Ρ) ΠΈ ΠΏΡΠΈ ΠΏΠΎΠ΄ΡΠ΅ΠΌΠ΅ β 40 Π (4 ΠΊΠ³Ρ). Π‘ΡΠ΅ΠΊΠ»ΠΎΠΏΠΎΠ΄ΡΠ΅ΠΌΠ½ΠΈΠΊ ΠΏΡΠΈ ΡΡΡΠ°Π½ΠΎΠ²ΠΊΠ΅ ΠΎΠΏΡΡΠΊΠ½ΠΎΠ³ΠΎ ΡΡΠ΅ΠΊΠ»Π° ΡΠ΅Π³ΡΠ»ΠΈΡΠΎΠ²ΠΊΠΈ Π½Π΅ ΡΡΠ΅Π±ΡΠ΅Ρ. ΠΠΎΠΏΡΡΠΊΠ°Π΅ΡΡΡ ΠΈ Π½Π΅ΡΠ°Π²Π½ΠΎΠΌΠ΅ΡΠ½ΠΎΠ΅ ΡΠ°ΡΠΊΡΡΡΠΈΠ²Π°Π½ΠΈΠ΅ Π±Π°Π»Π°Π½ΡΠΈΡΠ½ΠΎΠΉ ΠΏΡΡΠΆΠΈΠ½Ρ ΠΈ ΠΏΡΠΎΡΠΊΠ°Π»ΡΠ·ΡΠ²Π°Π½ΠΈΠ΅ Π²ΠΈΡΠΊΠΎΠ², Π΅ΡΠ»ΠΈ ΡΡΠΎ Π½Π΅ ΡΠΎΠΏΡΠΎΠ²ΠΎΠΆΠ΄Π°Π΅ΡΡΡ ΡΠΊΡΠΈΠΏΠΎΠΌ.
ΠΠ°ΠΌΠΊΠΈ Π΄Π²Π΅ΡΠ΅ΠΉ Π΄ΠΎΠ»ΠΆΠ½Ρ ΠΈΡΠΏΡΠ°Π²Π½ΠΎ ΡΠ°Π±ΠΎΡΠ°ΡΡ ΠΏΡΠΈ ΠΏΠΎΠ»ΡΠ·ΠΎΠ²Π°Π½ΠΈΠΈ ΠΊΠ°ΠΊ Π²Π½ΡΡΡΠ΅Π½Π½ΠΈΠΌΠΈ, ΡΠ°ΠΊ ΠΈ Π½Π°ΡΡΠΆΠ½ΡΠΌΠΈ ΡΡΡΠΊΠ°ΠΌΠΈ. Π£ΡΡΠ°Π½ΠΎΠ² Β Π΄Π²Π΅ΡΠΈ Π΄ΠΎΠ»ΠΆΠ΅Π½ Π±ΡΡΡ ΠΎΡΡΠ΅Π³ΡΠ»ΠΈΡΠΎΠ²Π°Π½ ΠΏΠΎ Π·Π°ΠΌΠΊΡ ΠΈ ΠΎΠΊΠΎΠ½ΡΠ°ΡΠ΅Π»ΡΠ½ΠΎ Π·Π°ΠΊΡΠ΅ΠΏΠ»Π΅Π½ ΠΏΡΠΈ ΠΈΠ·Π²Π΅ΡΠ΅Π½Π½ΡΡ ΠΈ ΠΎΡΡΠ΅Π³ΡΠ»ΠΈΡΠΎΠ²Π°Π½Π½ΡΡ Π΄Π²Π΅ΡΡΡ .
ΠΠ°ΠΏΡΠ°Π²ΠΊΠ° ΡΠ΅Π·ΠΈΠ½ΠΎΠ²ΠΎΠ³ΠΎ Π·Π°ΠΌΠΊΠ°Π‘Π½ΡΡΠΈΠ΅ ΠΈ ΡΡΡΠ°Π½ΠΎΠ²ΠΊΠ° Π²Π΅ΡΡΠΎΠ²ΠΎΠ³ΠΎ ΠΈ Π·Π°Π΄Π½Π΅Π³ΠΎ ΡΡΠ΅ΠΊΠ»Π°
ΠΠ»Ρ ΡΠ½ΡΡΠΈΡ Π²Π΅ΡΡΠΎΠ²ΠΎΠ³ΠΎ ΡΡΠ΅ΠΊΠ»Π° Π½Π°Π΄ΠΎ Π²ΡΠ½ΡΡΡ ΠΏΡΠΈ ΠΏΠΎΠΌΠΎΡΠΈ ΠΎΡΠ²Π΅ΡΡΠΊΠΈ ΡΠ΅Π·ΠΈΠ½ΠΎΠ²ΡΠΉ Π·Π°ΠΌΠΎΠΊ, ΡΠ°ΡΠΏΠΎΠ»ΠΎΠΆΠ΅Π½Π½ΡΠΉ Π² ΠΏΡΠΎΠ΄ΠΎΠ»ΡΠ½ΠΎΠΌ ΠΏΠ°Π·Ρ Π½Π° ΡΠ΅ΡΠ΅Π΄ΠΈΠ½Π΅ ΡΠΏΠ»ΠΎΡΠ½ΠΈΡΠ΅Π»Ρ. ΠΡΠΎΠ³Π½ΡΡΡ ΠΎΡΠ²Π΅ΡΡΠΊΠΎΠΉ Π²Π΅ΡΡ Π½ΠΈΠΉ Π³ΡΠ΅Π±Π΅ΡΠΎΠΊ ΡΠΏΠ»ΠΎΡΠ½ΠΈΡΠ΅Π»ΠΈ ΠΏΠΎ Π²ΡΠ΅ΠΉ Π΄Π»ΠΈΠ½Π΅ ΡΡΠ΅ΠΊΠ»Π°.
ΠΡΠΈΠ΄Π΅ΡΠΆΠΈΠ²Π°Ρ ΡΡΠ΅ΠΊΠ»ΠΎ ΡΠ½Π°ΡΡΠΆΠΈ, Π½Π°Π΄ΠΎ ΡΠΈΠ»ΡΠ½ΡΠΌ Π½Π°ΠΆΠ°ΡΠΈΠ΅ΠΌ Π½Π° Π½Π΅Π³ΠΎ ΠΈΠ·Π½ΡΡΡΠΈ Π²ΡΠ΄Π²ΠΈΠ½ΡΡΡ ΠΏΡΠ°Π²ΡΠΉ ΠΈΠ»ΠΈ Π»Π΅Π²ΡΠΉ Π²Π΅ΡΡ Π½ΠΈΠΉ ΡΠ³ΠΎΠ» ΡΡΠ΅ΠΊΠ»Π° ΠΈ ΠΏΠΎΡΡΠ΅ΠΏΠ΅Π½Π½ΠΎ Π²ΡΠ΄Π²ΠΈΠ³Π°ΡΡ Π²ΡΡ Π²Π΅ΡΡ Π½ΡΡ ΡΠ°ΡΡΡ ΡΡΠ΅ΠΊΠ»Π°, ΠΏΠΎΡΠ»Π΅ ΡΠ΅Π³ΠΎ Π²ΡΠ½ΡΡΡ ΡΡΠ΅ΠΊΠ»ΠΎ ΠΈΠ· ΠΏΡΠΎΠ΅ΠΌΠ° ΠΊΠ°Π±ΠΈΠ½Ρ. Π‘Π½ΡΡΡ ΡΠΏΠ»ΠΎΡΠ½ΠΈΡΠ΅Π»Ρ ΠΈ ΠΎΡΠΈΡΡΠΈΡΡ Π΅Π³ΠΎ ΠΎΡ ΡΡΠ°ΡΠΎΠΉ Π²ΠΎΠ΄ΠΎΠ·Π°ΠΏΠΎΡΠ½ΠΎΠΉ ΠΌΠ°ΡΡΠΈΠΊΠΈ.
ΠΠ½Π°Π»ΠΎΠ³ΠΈΡΠ½ΡΠΌ ΠΏΡΡΠ΅ΠΌ Π²ΡΠ½ΠΈΠΌΠ°Π΅ΡΡΡ Π·Π°Π΄Π½Π΅Π΅ ΡΡΠ΅ΠΊΠ»ΠΎ ΠΊΠ°Π±ΠΈΠ½Ρ. ΠΠ»Ρ ΡΡΡΠ°Π½ΠΎΠ²ΠΊΠΈ Π²Π΅ΡΡΠΎΠ²ΠΎΠ³ΠΎ ΡΡΠ΅ΠΊΠ»Π° Π½Π°Π΄ΠΎ ΠΎΡΠΈΡΡΠΈΡΡ ΡΠ»Π°Π½Π΅Ρ ΠΏΡΠΎΠ΅ΠΌΠ° `ΠΊΠ°Π±ΠΈΠ½Ρ ΠΎΡ ΠΎΡΡΠ°ΡΠΊΠΎΠ² ΡΡΠ°ΡΠΎΠΉ Π²ΠΎΠ΄ΠΎΠ·Π°ΠΏΠΎΡΠ½ΠΎΠΉ ΠΌΠ°ΡΡΠΈΠΊΠΈ ΠΈ Π½Π°Π½Π΅ΡΡΠΈ Π½Π° Π½Π°ΡΡΠΆΠ½ΡΡ ΠΊΡΠΎΠΌΠΊΡ ΡΠ»Π°Π½ΡΠ° ΠΏΡΠΎΠ΅ΠΌΠ° ΠΊΠ°Π±ΠΈΠ½Ρ Π½ΠΎΠ²ΡΡ Π²ΠΎΠ΄ΠΎΠ·Π°Π±ΠΎΡΠ½ΡΡ ΠΌΠ°ΡΡΠΈΠΊΡ Ρ ΠΏΠΎΠΌΠΎΡΡΡ Π΄Π΅ΡΠ΅Π²ΡΠ½Π½ΠΎΠΉ Π»ΠΎΠΏΠ°ΡΠΎΡΠΊΠΈ. ΠΠ°ΡΠ΅ΠΌ ΡΡΡΠ°Π½ΠΎΠ²ΠΈΡΡ ΡΠ΅Π·ΠΈΠ½ΠΎΠ²ΡΠΉ ΡΠΏΠ»ΠΎΡΠ½ΠΈΡΠ΅Π»Ρ Π½Π° ΡΠ»Π°Π½Π΅Ρ ΠΏΡΠΎΠ΅ΠΌΠ° ΠΊΠ°Π±ΠΈΠ½Ρ. Π£ΡΡΠ°Π½ΠΎΠ²ΠΊΡ ΡΠ»Π΅Π΄ΡΠ΅Ρ Π½Π°ΡΠΈΠ½Π°ΡΡ Ρ ΡΠ΅ΡΠ΅Π΄ΠΈΠ½Ρ Π½ΠΈΠΆΠ½Π΅ΠΉ ΡΠ°ΡΡΠΈ ΠΏΡΠΎΠ΅ΠΌΠ°, Π½Π°ΡΠ°ΠΆΠΈΠ²Π°Π» Π΅Π³ΠΎ ΠΏΠ°Π·ΠΎΠΌ Π½Π° ΡΠ»Π°Π½Π΅Ρ.
ΠΡΡΠ°Π²ΠΈΠ² ΡΡΠ΅ΠΊΠ»ΠΎ Π² ΠΏΡΠΎΠ΅ΠΌ Π²Π΅ΡΡΠΎΠ²ΠΎΠ³ΠΎ ΠΎΠΊΠ½Π° ΠΊΠ°Π±ΠΈΠ½Ρ, Π½Π°ΠΏΡΠ°Π²ΠΈΡΡ Π΅Π³ΠΎ Π½ΠΈΠΆΠ½ΡΡ ΡΠ°ΡΡΡ Π² ΠΏΠ°Π· ΡΠΏΠ»ΠΎΡΠ½ΠΈΡΠ΅Π»Ρ. ΠΠ°ΡΠ΅ΠΌ, ΠΏΠ΅ΡΠΈΠΎΠ΄ΠΈΡΠ΅ΡΠΊΠΈ Π½Π°Π΄Π°Π²Π»ΠΈΠ²Π°Ρ Π½Π° ΡΡΠ΅ΠΊΠ»ΠΎ ΠΈ ΠΏΠΎΠΌΠΎΠ³Π°Ρ ΠΏΡΠΈ ΡΡΠΎΠΌ Π»Π΅Π³ΠΊΠΈΠΌ ΠΏΠΎΡΡΡΠΊΠΈΠ²Π°Π½ΠΈΠ΅ΠΌ ΡΠ΅Π·ΠΈΠ½ΠΎΠ²ΡΠΌ ΠΌΠΎΠ»ΠΎΡΠΊΠΎΠΌ Π΄ΠΎΡΠ»Π°ΡΡ Π΄ΠΎ Π½Π΅ΠΎΠ±Ρ ΠΎΠ΄ΠΈΠΌΠΎΠ³ΠΎ ΠΏΠΎΠ»ΠΎΠΆΠ΅Π½ΠΈΡ.
ΠΠ»Ρ ΡΠΎΠ³ΠΎ, ΡΡΠΎΠ±Ρ ΠΏΡΠΈ ΡΡΡΠ°Π½ΠΎΠ²ΠΊΠ΅ ΡΡΠ΅ΠΊΠ»Π° ΠΊΡΠΎΠΌΠΊΠΈ ΠΏΠ°Π·Π° ΡΠΏΠ»ΠΎΡΠ½ΠΈΡΠ΅Π»ΠΈ Π½Π΅ Π·Π°Π³ΠΈΠ±Π°Π»ΠΈΡΡ, Π·Π°ΠΏΡΠ°Π²ΠΊΡ ΡΡΠ΅ΠΊΠ»Π° ΠΏΠ°Π· Π½ΡΠΆΠ½ΠΎ ΠΏΡΠΎΠΈΠ·Π²ΠΎΠ΄ΠΈΡΡ ΠΏΡΠΈ ΠΏΠΎΠΌΠΎΡΠΈ Π΄Π΅ΡΠ΅Π²ΡΠ½Π½ΠΎΠΉ Π»ΠΎΠΏΠ°ΡΠΎΡΠΊΠΈ. ΠΡΠΈ ΡΡΡΠ°Π½ΠΎΠ²ΠΊΠ΅ Π²Π΅ΡΡΠΎΠ²ΠΎΠ³ΠΎ ΡΡΠ΅ΠΊΠ»Π° ΡΠ΅ΠΊΠΎΠΌΠ΅Π½Π΄ΡΠ΅ΡΡΡ Π½Π°Π΄Π΅ΡΡ Π·Π°ΡΠΈΡΠ½ΡΠ΅ ΠΎΡΠΊΠΈ, ΠΏΡΠ΅Π΄ΠΎΡ ΡΠ°Π½ΡΡ Π³Π»Π°Π·Π° Π½Π° ΡΠ»ΡΡΠ°ΠΉ ΡΠ°Π·ΡΡΡΠ΅Π½ΠΈΡ ΡΡΠ΅ΠΊΠ»Π°.
Π£ΡΡΠ°Π½ΠΎΠ²ΠΈΠ² ΡΡΠ΅ΠΊΠ»ΠΎ Π² ΠΏΡΠΎΠ΅ΠΌ ΠΊΠ°Π±ΠΈΠ½Ρ, Π½Π°Π΄ΠΎ Π²Π²Π΅ΡΡΠΈ Π²ΠΎΠ΄ΠΎΠ·Π°Π±ΠΎΡΠ½ΡΡ ΠΌΠ°ΡΡΡ Π² ΠΏΠ°Π· ΡΠΏΠ»ΠΎΡΠ½ΠΈΡΠ΅Π»Ρ Ρ Π½Π°ΡΡΠΆΠ½ΠΎΠΉ ΡΡΠΎΡΠΎΠ½Ρ ΠΌΠ΅ΠΆΠ΄Ρ ΡΡΠ΅ΠΊΠ»ΠΎΠΌ ΠΈ ΡΠΏΠ»ΠΎΡΠ½ΠΈΡΠ΅Π»Π΅ΠΌ ΠΏΡΠΈ ΠΏΠΎΠΌΠΎΡΠΈ ΡΡΡΠ°ΠΆΠ½ΠΎ-ΠΏΠ»ΡΠ½ΠΆΠ΅ΡΠ½ΠΎΠ³ΠΎ ΡΠΏΡΠΈΡΠ°.
Π’ΡΠ½ΠΈΠ½Π³ ΠΊ
zil-130-431410.ru

Β