Пистолет-пулемет «Суоми» | Военное оружие и армии Мира
В 1923 году молодой финский оружейный мастер Аймо Йоханнес Лахти предложил собственную конструкцию пистолета-пулемета.
Пистолеты-пулеметы появились пятью годами ранее. Внимание к новому типу оружия военные разных стран проявляли пока осторожно и воспринимали по-разному — либо как род легкого ручного пулемета, либо как вспомогательное оружие весьма ограниченного применения.
ПУТЬ К «СУОМИ»
Модель 1926 года, разработанная Лахти на базе арсенала в Хельсинки и выполненная под 7,65-мм патрон «парабеллум» (недавно созданная финская армия еще не выбрала штатный пистолетный патрон), отличалась рядом оригинальных решений. Однако выпущена она была в небольшом количестве. Лахти продолжил работу, ориентируясь уже на 9-мм патроны. Поначалу это были 9-мм «браунинг короткий» и 9-мм «маузер». Но более удачным оказался вариант под 9-мм патрон «парабеллум». Этот вариант и приняли на вооружение в 1931 году под обозначением Konepistooli М-31 Suomi (или т/31, Суоми — давнее название коренной народности и самой страны). Серийное производство «Суоми» было организовано на заводе «Тиккакоски» (Oy Tikkakoski AB) и продолжалось до 1944 года.

УСТРОЙСТВО «СУОМИ»
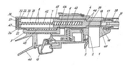
Автоматика оружия работала за счет энергии отдачи свободного затвора. «Карабинный» дизайн с деревянным прикладом, трубчатые ствольная коробка и перфорированный кожух ствола, выстрел при открытом затворе роднили «Суоми» с большинством пистолетов-пулеметов того периода, однако в целом это была оригинальная конструкция. Сравнительно длинный ствол свободно вставлялся в ствольную коробку до упора и фиксировался перфорированным кожухом и флажковым замыкателем — так обеспечивалась быстрая замена ствола. В затыльнике ствольной коробки монтировался пневматический замедлитель темпа стрельбы. Рукоятка перезаряжания при стрельбе оставалась неподвижной. Спусковой механизм допускал ведение автоматического и одиночного огня. Переводчик-предохранитель имел вид продольно движущегося рычажка, при заднем его положении затвор блокировался в переднем или заднем положении.
Секторный прицел был насечен до 500 м. Кожух ствола оканчивался наклонным срезом, но встречались образцы и с дульным тормозом-компенсатором, к тому же защищавшим дульный срез ствола от засорения и повреждения.
К «Суоми» были разработаны коробчатые магазины на 20 и на 50 патронов и барабанные на 40 и на 71 патрон. Коробчатый магазин большой емкости имел четырехрядную схему, запатентованную конструктором Карлом Пело. Барабанные магазины были выполнены по схеме Ирьйо Коскинена.
РАЗНООБРАЗНАЯ СЛУЖБА
Небольшая финская армия не нуждалась в большом количестве такого оружия, но «Суоми» неплохо продавался за рубеж. Его боевой дебют состоялся на другом конце Земли — во время войны 1932-1935 годов между Боливией и Парагваем за область Чако-Борсаль. Это была первая война, в которой обе стороны широко применяли пистолеты-пулеметы, и «Суоми» хорошо зарекомендовал себя в уличных боях. Следующим испытанием стала гражданская война в Испании 1936-1939 годов, в которой «Суоми» применялся наряду с испанскими пистолетами-пулеметами «Лабора», Si-35 «Стар», германскими ЕМР «Эрма». Некоторое количество «Суоми» контрабандой попало в Палестину для вооружения подпольных еврейских групп, позднее — уже во время арабо-израильской войны 1948-1949 годов израильтяне брали «Суоми» в качестве трофеев в боях с арабскими отрядами. Возвращаясь в сентябрь 1939 года, то есть к началу Второй мировой войны, мы увидим немногочисленные «Суоми» в полицейских формированиях Польши. В 1939-1940 годах около 300 «Суоми» вместе с другими пистолетами-пулеметами имелось во французской армии.
Но наибольшую славу «Суоми» приобрели в руках финских солдат. К началу советско-финской войны 1939-1940 годов. «Суоми» отнюдь не был массовым оружием финской пехоты — эту роль, как и везде, играли магазинные винтовки. Пистолетами-пулеметами вооружали отдельных стрелков в подразделениях или мелкие подразделения в стрелковых частях. В комплект «Суоми» кроме трех магазинов входил и запасной ствол — то есть пистолет-пулемет служил своего рода ручным пулеметом ближнего боя. Тем более что он был сравним с ручным пулеметом по массе. Наиболее успешно использовали «Суоми» маневренные подразделения егерей, передвигавшиеся летом на велосипедах, зимой — на лыжах.
Внезапные огневые нападения мелких групп автоматчиков на малых дальностях наносили большие потери советским войскам. Неудивительно, что трофейные «Суоми» стали популярны у бойцов РККА, особенно после перехода к тактике штурмовых групп. Этот опыт в значительно мере стимулировал рост выпуска советских пистолетов-пулеметов. Финская армия применяла «Суоми» и в ходе боевых действий против СССР в 1941-1944 годах в Карелии и на Крайнем Севере. После заключения перемирия с СССР в 1944 году финские автоматчики с «Суоми» участвовали уже в боях с немецкими частями на севере Финляндии («Лапландская война»).
ЗАРУБЕЖНЫЕ ВАРИАНТЫ
Хорошая приспособленность к условиям Скандинавии и Северной Европы определила применение «Суоми» Норвегией, Швецией, Данией. В Швеции его приняли под обозначением т/37 с магазином на 36 патронов и выпускали на заводе «Хускварна» (Husqvarna Vapenfabriks А.Н.). Модель m/37-39 имела укороченный до 200 мм ствол — уже эта шведская модель поставлялась в Египет и Индонезию. Лицензионное производство «Суоми» организовали и в Дании, где к нему приспособили магазин на 25 патронов. Приняли на вооружение «Суоми» и в Швейцарии — под обозначением MP 43/44 здесь его выпускали на заводе фирмы «Испано-Сюиза». MP 43/44 продержался на вооружении до 1960-х годов и был затем передан в территориальные части. Интересно, что в самой Финляндии в 1944 году для замены тяжелого «Суоми» приняли пистолет-пулемет т/44 — 9-мм копию советского ППС, но при этом сохранили возможность использования магазинов от «Суоми».
Оставить эмоциюНравится Тронуло Ха-Ха Ого Печаль Злюсь
8438warfor.me
Вячеслав Шпаковский. Пистолет-пулемёт: вчера, сегодня, завтра. Часть 2. Пистолет-пулемет «Суоми»
Пистолет-пулемет «Суоми» с принадлежностями и магазинами
Полное его имя было Аймо Йоханнес Лахти, а разработкой собственного пистолета-пулемета он занялся с 1921 года, едва только лишь германский МР-18 попал ему в руки. Впрочем, может быть это был и МР-19, выпускавшийся в рамках положений Версальского мирного договора для нужд полиции Веймарской республики. И он ему, безусловно, понравился, иначе бы он им не занялся. Но понравившись, этот пистолет-пулемет заставил Лахти задуматься о том, а как сделать исходный образец еще лучше и совершеннее во всех отношения. Первый его образец, воплощенный в металле, имел калибр 7,65-мм и назывался KP/-26 (konepistooli Suomi m/26), и он сразу же в том же году пошел в производство. Правда, производился он в количествах не слишком больших. Ну, а слово Suomi – означало название его страны, то есть – Финляндии.
Первый образец часто бывает весьма странным. Вот и «Суоми» m/26 тоже выглядел, как совершенное «нечто»…
Однако совершенствование данного образца он не прекращал, что в итоге привело к появлению в 1931 году другой модели под названием Suomi-KP Model 1931. Выпуск данного образца продолжался довольно долго – до 1953 года, а всего их было изготовлено около 80 тысяч.
Удивительно, но «Суоми» рассматривался военными скорее как эрзац легкого ручного пулемета, чем оружие штурмовых подразделений. Вышло так, что таких пулеметов не хватало, но тут подоспел как раз «Суоми» и… военные потребовали поставить на него сменный ствол большой длины, а также придать ему магазин большой емкости, а также сошки. Так что не одни только чехи видели в пистолетах-пулеметах некий вариант облегченного пулемета. И, кстати говоря, это имело место в то самое время, когда этот же конструктор, еще в 1926 году предложил армии свой ручной пулемет под винтовочный патрон «Лахти-Солоранта» L/S-26. Ну производите его, насыщайте войска, а то купите пулемет у чехов, у немцев, если уж чешский показался им не слишком подходящим из-за малой емкости магазина. Но нет – решили компенсировать нехватку пулеметом наличием пистолетов-пулеметов. Да так, что некоторые образцы «Суоми» выпускались в варианте для ДОТов, то есть с пистолетной рукояткой и без приклада вообще!

Около 500 экземпляров «Суоми» предназначались для оснащения бункеров и дотов.
Но эффективность этого пистолета-пулемета в качестве именно ручного пулемета была невысока из-за низкой поражающей способности пистолетных пуль. Поэтому финнам пришлось уже непосредственно во время боевых действий начавшейся «Зимней войны» пересматривать свою военную доктрину и спешно увеличивать производство «Лахти-Солоранта» L/S-26. Тут им на счастье, правда, подвернулся трофейный ДП-27, оказавшийся намного лучше своего финского коллеги. Но зато они увеличили количество ПП с 1 штуки до 2-3 на отделение, что сразу сказалось на повышении огневой мощи финской пехоты. Как бы там ни было, нужно отметить, что «Суоми» как пистолет-пулемет первого поколения весьма далеко ушел от МР-18 и стал удачным образцом, хотя и он тоже имел свои, причем весьма специфические недостатки. С другой стороны, некоторые из них ему скорее приписывались. Например, можно в нашей литературе прочитать о том, что недостатком было отсутствие цевья под стволом за магазином, из-за чего при стрельбе приходилось удерживать его за магазин. Но точно такая же конструкция была и у ППШ. Но… этот недостаток у нашего образца почему-то не усматривается. Впрочем, «Суоми» действительно требовал хорошей обученности личного состава, поскольку вакуумный замедлитель затвора, на нем стоявший, был весьма чувствителен к малейшему загрязнению, пыли и даже простому запотеванию. К слову, пистолет-пулемет Аймо Лахти понравился не только у него на родине. Лицензию на его производство купила Дания, где он выпускался под обозначением m/41, Швеция (m/37), Швейцария (а уж там толк в хороших изделиях понимали!). Здесь он пошел в производство под обозначением MP.43/44, а всего выпущено их было 22 500. Болгария в 1940—1942 годах закупила 5505 экземпляров «Суоми». Швеция 420 штук закупила, а произвела у себя M/37 35 тысяч единиц.
Примерно по 500 единиц закупили Хорватия и Эстония, а Германия — получила 3042 пистолетов-пулеметов «Суоми» финского производства, которые пошли на вооружение подразделений Ваффен-СС в Карелии и Лапландии. Ими также вооружался 3-й финский батальон полка «Нордланд», принадлежавший 5-й танковой дивизии СС «Викинг». Из Дании немцы получили некоторое количество ПП «Мадсен-Суоми», которым они дали обозначение MP.746(d). Каким-то образом неопределенное количество «Суоми» попало в охваченную гражданской войной Испанию. Трофейные «Суоми» воевали в РККА и в ходе Зимней войны, и во время Великой Отечественной.
Как же был устроен этот довольно оригинальный пистолет-пулемет, задавший своего рода тренд, говоря современным языком, конструкторам многих стран мира? В целом «Суоми» был типичным ПП первого поколения, что вели свою «родословную» начиная с MP-18. Так, затвор походил на немецкий от MP-19 (предка австро-швейцарского «Штейр-Солотурн S1-100), но при этом он имел и свои оригинальные конструкторские изюминки. Впрочем, об этом немного позже, а пока важно отметить, что данный образец был изготовлен по очень высоким стандартам качества, очень добротно, но… с применением большого количества металлорежущих станков. Затворную раму нужно было фрезеровать из цельной стальной поковки, переводя в стружку целые килограммы металла! Прочность получалась высокой, но и вес (в снаряженном состоянии более 7 кг) был не маленьким, а уж о стоимости нечего и говорить. Кстати, это одна из причин, почему этот ПП был выпущен в относительно небольшом количестве.
Пистолет-пулемет имел простейшую автоматику, действовавшую за счет отдачи свободного затвора, и с открытого затвора же и стрелял. То есть ударник на затворе закреплялся неподвижно, а сам ствол при выстреле не запирался! Такая конструкция для замедления темпа стрельбы требует или большой массы затвора, либо каких-то приспособлений. И вот на «Суоми» таким «приспособлением», вернее «изюминкой» ее конструкции, стал вакуумный тормоз затвора, устроенный весьма оригинальным образом. Ствольная коробка цилиндрической формы и затвор тоже в виде цилиндра были так плотно подогнаны друг к другу, что прорыв воздуха между ними при движении затвора внутри ствольной коробки полностью исключался. В задней крышке ствольной коробки находился клапан, который позволял находившемуся там воздуху выходить наружу, а вот наоборот его не пропускал. Когда после выстрела затвор шел назад, он выжимал воздух из задней части ствольной коробки наружу через этот клапан. При этом возникало избыточное давление, и вот оно-то и тормозило при этом затвор. Когда же под действием возвратной пружины затвор начинал движение вперед, то клапан закрывался, и позади затвора возникало разрежение, которое тоже замедляло его движение. Такое устройство позволило решить сразу несколько важных задач: добиться замедления движения затвора при движении сразу в обе стороны, а значит, и снижения темпа стрельбы, а еще повысить плавность его хода, что самым благоприятным образом отразилось на меткости стрельбы.
Чтобы через прорезь для рукоятки затвора внутрь не попадала пыль и грязь и, конечно же, в целях повышения герметичности ствольной коробки, рукоятку затвора Г-образной формы конструктор расположил отдельно от него, под самым затыльником ствольной коробки, и устроена она была так, что при стрельбе она оставалась неподвижной.

Пистолет-пулемет «Суоми». Внешний вид и вид с разрезами. Хорошо видна Г-образная рукоятка перезаряжания, расположенная сзади слева.
Другой особенностью «Суоми» была конструкция кожуха ствола и сам ствол, которые вместе легко снимались, что позволяло заменять перегревшиеся стволы и поддерживать высокий темп стрельбы. Хотя секторный прицел был проградуирован на расстояние до 500 м, реальная дальность при стрельбе очередями не превышала 200 м.
Магазины для «Суоми» были нескольких типов. Один из них коробчатый на 20 патронов, затем дисковый на 40 патронов, конструкции самого Лахти, и, наконец, еще один барабанный магазин на 70 патронов, разработанный инженером Коскиненом в 1936 году и весивший при этом столько же, сколько весил и 40-зарядный. В Швеции были сконструированы четырехрядные коробчатые магазины емкостью 50 патронов. В 1950-е годы начал использоваться коробчатый магазин на 36 патронов от шведского пистолета-пулемета «Карл Густав» M/45. Солдатам финской армии, как, впрочем, и солдатам всех прочих стран мира, было категорически запрещено держать пистолет-пулемет при стрельбе за магазин, чтобы не расшатывать его защелки и горловину приемник. Но этот запрет в боевой обстановке практически всегда нарушался.

Барабанный магазин пистолета-пулемета «Суоми»
Несмотря на то, что объемы производства «Суоми» были в целом невелики, финны продемонстрировали их умелое применение в боях в ходе Советско-финской войны 1939−1940 г. Тогда эти пистолеты-пулеметы произвели сильное впечатление как на рядовой, так и на командный состав РККА. По сути именно это заставило наших военных форсировать производство и массовый выпуск для армии этого нового вида оружия. Причем, планы по развертыванию производства ПП в СССР были приняты даже до Финской войны, но осуществление их на практике шло медленно. А тут – все увидели, а многие еще и испытали на собственном опыте, что значит иметь под руками пистолет-пулемет с большим запасом патронов в лесистой местности, и неудивительно, что на «автоматизацию» бойцов РККА были сразу же брошены все силы. Помимо того, что со складов изъяли и вернули в строй даже автоматы Федорова, спешно увеличили выпуск пистолетов-пулеметов конструкции Дегтярева, а заодно их еще и модернизировали.

Финский солдат в лесу в засаде с пистолетом-пулеметом «Суоми» в руках
Кстати, пиком использования барабанных магазинов стала как раз «зимняя война». Их тут же приняли на вооружение РККА и Великую Отечественную войну наши автоматчики встретили именно с такими магазинами большой емкости. И… уже в ее ходе выяснилась поистине удивительная вещь, впрочем, очевидная с самого начала. Использование таких магазинов по большей части… не оправдано. Они сложнее и намного дороже в производстве, а еще они менее надежны, чем «рожковые» коробчатые. К тому же они утяжеляют оружие и лишают его маневренности. Сменить магазин много времени не надо, а вот запас патронов куда удобнее переносить в подсумках. И недаром в СССР, взяв барабанный магазин от «Суоми» за основу для поздней модификации ППД и ППШ-41, уже на втором году войны вновь вернулись к традиционным коробчатым магазинам. Правда в кино (ох уж это кино!), а также на кадрах кинохроники у пистолетов-пулеметов в руках наших бойцов намного чаще имеют барабанные магазины.
Продолжение следует…
Источник — https://topwar.ru/154394-pistolet-pulemet-vchera-segodnja-zavtra-neobychnyj-pp-iz-pervogo-pokolenija-chast-2.html
alternathistory.com
Пистолет-пулемёт Suomi — это… Что такое Пистолет-пулемёт Suomi?
| Suomi | |
|---|---|
пистолет-пулемёт Suomi с магазином на 70 патронов | |
| Тип: | Пистолет-пулемёт |
| Страна: | Финляндия |
| История службы | |
| Годы эксплуатации: | 1931—1990-е |
| Использовалось: | Финляндия |
| Войны и конфликты: | Советско-финская война (1939—1940) Советско-финская кампания (1941—1944) Лапландская война |
| История производства | |
| Конструктор: | Аймо Лахти |
| Разработан: | 1931 год |
| Характеристики | |
| Масса, кг: | 4,6 кг |
| Длина, мм: | 870 мм |
| Длина ствола, мм: | 314 мм |
| Патрон: | 9×19 мм Парабеллум 7,65×17 мм |
| Калибр, мм: | 9; 7,65 |
| Принципы работы: | свободный затвор |
| Скорострельность, выстрелов/мин: | 750—900 |
| Начальная скорость пули, м/с: | 396 |
| Прицельная дальность, м: | 200 м |
| Вид боепитания: | коробчатый магазин на 20, 36, 50 патронов; дисковый на 40 или 70 патронов |
| Прицел: | нерегулируемый, открытый, на 100 м, с откидной стойкой на 200 м |
| Изображения на Викискладе?: | Suomi |
Suomi-konepistooli M/31 (KP/-31, Suomi KP) — финский пистолет-пулемёт системы Аймо Лахти. Также существовала менее известная и массовая модель калибра 7,65 мм, KP/-26, в небольших количествах выпускавшаяся с 1926 года.
Находился на вооружении в Финляндии (с 1931 года) и ряде других стран, применялся в Советско-финской войне и Великой Отечественной войне.
Разработка и применение
Аймо Йоханнес Лахти разрабатывал пистолеты-пулемёты с 1921 года. «Суоми» модели 1931 года был разработан в начале 1930-х, на основе konepistooli Suomi m/26. Слово Suomi — самоназвание Финляндии.
В 1931 году его приняли на вооружение финской армии под названием Suomi-KP Model 1931. Общий объём производства, продолжавшегося до 1953 года — около 80 тысяч.
Изначально «Суоми» разрабатывался и был принят на вооружение как оружие поддержки уровня отделения для боя на ближней дистанции, своего рода эрзац лёгкого ручного пулемёта, нехватку которых испытывала финская армия. Отсюда — ряд конструктивных особенностей оружия, таких, как сравнительно длинный, и притом быстросменный, ствол, магазины большой ёмкости, наличие на некоторых моделях сошек и так далее.
Это решение впоследствии оказалось ошибочным — малая дальность стрельбы и сравнительно низкая поражающая способность пистолетных пуль не позволяли использовать ПП в качестве полноценного оружия поддержки пехотного отделения. В результате финнам пришлось уже в ходе боевых действий пересмотреть свою военную доктрину и дополнить вооружение пехотного отделения ручным пулемётом под винтовочно-пулемётные боеприпасы, роль которого, как правило, играл трофейный советский ДП, одновременно с увеличением количества ПП с 1 до 2-3 на отделение.
Тем не менее, в целом сам по себе «Суоми» оказался удачным образцом, хотя и не лишённым определённых, и довольно существенных, недостатков.
Пистолет-пулемёт поставлялся на экспорт. Производился по лицензии в Дании (m/41), Швеции (m/37) и Швейцарии (MP.43/44, 22 500 экземпляров).
В финской армии «Суоми» находился на вооружении вплоть до начала 1990-х годов.
Система

Устройство «Суоми» в целом было типично для ПП первого поколения, ведущих свою «родословную» от MP18 и других ранних образцов. В частности, конструкция затвора весьма напоминает немецкий Rheinmetall MP19, в свою очередь являющийся также предком австро-швейцарского ПП Steyr-Solothurn S1-100. Впрочем, при всём при этом этом оружие имело целый ряд весьма характерных особенностей, не встречавшихся на тот момент на ПП других систем.
Оружие было выполнено очень добротно, с высоким качеством и широким применением металлорежущих станков. Например, затворная коробка изготовлялась зацело из стальной поковки. Оборотной стороной такого решения были очень большая масса (более 7 кг в снаряжённом состоянии) и высокая стоимость «Суоми», которая так и не позволила ему стать по-настоящему массовым образцом.
Пистолет-пулемёт состоит из цельной деревянной ложи, цельнофрезерованной ствольной коробки круглого сечения, ствола, съёмного кожуха, спускового механизма. Предохранитель в виде Г-образной детали, выполняющий также функции переводчика режима огня, расположен в передней части спусковой скобы.
Автоматика перезаряжания работает за счёт отката свободного затвора от отдачи при выстреле. Огонь ведётся с заднего шептала (с открытого затвора), ударник неподвижно закреплён в чашечке затвора, ствол в момент выстрела не запирается.
Для замедления темпа стрельбы используется система вакуумного торможения затвора: ствольная коробка, её крышка и затвор плотно подогнаны, так что затвор движется как поршень в цилиндре, прорыв воздуха между стенками ствольной коробки и затвором практически отсутствует. В затыльнике ствольной коробки установлен клапан, пропускающий воздух только изнутри наружу, но не наоборот. При движении затвора назад (после выстрела) воздух из задней части ствольной коробки выходит через клапан (при этом избыточное давление несколько замедляет откат затвора). При движении затвора вперёд клапан закрывается, за затвором создаётся разрежение, которое и замедляет затвор. За счёт этой системы удалось несколько снизить массу затвора, улучшив точность стрельбы, в особенности одиночными выстрелами.
Для обеспечения герметичности, а также исключения попадания внутрь ствольной коробки пыли и грязи через прорезь для взводной рукоятки затвора, последняя была расположена отдельно от него, сзади под затыльником ствольной коробки, и при стрельбе оставалась неподвижной. Для оружия с неподвижно закреплённым на зеркале затвора бойком, каковым являлся «Суоми», это давало ещё и то преимущество, что при недосыле патрона в патронник не тренированный или находящийся в стрессовой ситуации стрелок физически не имел возможности вручную дослать затвор вперёд ввиду отсутствия жёсткой связи между ним и взводной рукоятью; в оружии с более сложным ударным механизмом, вроде автоматической или обычной магазинной винтовки, это вполне нормальный способ устранения подобной задержки при стрельбе, но в случае пистолета-пулемёта с неподвижным бойком досылание затвора вперёд вручную привело бы к случайному выстрелу и неизбежной травме руки стрелка взводной рукоятью.
Ещё одна конструктивная особенность «Суоми» — кожух ствола и сам ствол легко снимаются и устанавливаются на место. Это позволяет при наличии запасных стволов вести активную стрельбу, не опасаясь перегрева и выхода ствола из строя — перегретый ствол всегда можно заменить прямо по ходу боя.
Прицел секторный, с регулировкой до 500 метров. Реальная дальность эффективного огня, как и у большинства пистолетов-пулемётов, не превышает 200 м при стрельбе очередями.
Приёмник магазина имел необычную «открытую» конструкцию, что позволяло использовать широкие магазины большой ёмкости. Для «Суоми» было разработано несколько типов магазинов: коробчатый на 20 патронов, дисковый на 40 патронов, разработанный непосредственно Лахти, и дисковый магазин на 70 патронов конструкции Коскинена, принятый в 1936 году и весивший столько же, как и 40-зарядный. Позднее 70-патронный магазин «Суоми» был вместе с приёмником для него скопирован советскими оружейниками и использовался на ППД-40 и ранних выпусках ППШ, но оказался непрактичен и впоследствии заменён секторным «рожком» на 35 патронов. Также применялись разработанные в Швеции четырёхрядные коробчатые магазины на 50 патронов, более известный под прозвищем «гроб» из-за характерной формы. Гораздо позднее, уже в 1950-х годах, начали использоваться также коробчатые магазины на 36 патронов от шведского пистолета-пулемёта Carl Gustaf M/45, обратно совместимые с ранее состоявшим в Швеции на вооружении «Суоми».
Любопытно, что солдатам категорически запрещалось удерживать ПП за магазин при стрельбе, во избежание расшатывания защелки и приемника. Впрочем, это запрещалось и в РККА по отношению к ППШ. Однако этот запрет очень часто нарушался в бою.
Некоторые «Суоми» снабжались двуногой сошкой возле дульного среза. Кроме того, была выпущена небольшая (примерно 500 экземпляров) партия «Суоми» для вооружения бункеров и других укреплённых объектов, которая имела пистолетную рукоятку вместо приклада, укороченный кожух ствола и специальный упор вблизи его дульного среза для стрельбы из амбразуры.
Характеристика
«Суоми» — весьма эффективное и надёжное по меркам своего класса оружие, хорошо показавшее себя при эксплуатации в тяжёлых условиях, в частности, зимой в Финляндии, при экстремально низких температурах. Быстросменный ствол также оказался весьма полезным новшеством (до «Суоми» заменяемые стволы делали только у пулемётов), — хотя и не получившим широкого распространения, но всё же использовавшимся впоследствии на ряде удачных образцов пистолетов-пулемётов, вроде Uzi.
Несмотря на небольшой объём производства, умелое применение финнами своих «Суоми» во время Советско-финской войны 1939−1940 г. произвело большое впечатление на рядовой и командный состав РККА, по сути дав толчок к расширению производства и массовому снабжению армии этим видом оружия. Следует, однако, иметь в виду, что планы по расширению производства ПП имелись в СССР ещё до Финской войны, которая, таким образом, сыграла роль «катализатора» этого процесса (более подробно эта тема изложена в статье про пистолет-пулемёт Дегтярёва).
Из недостатков можно отметить достаточно большую массу оружия: автомат[1] с одним полностью снаряжённым дисковым магазином весит около 7 кг. Ещё одним минусом «Суоми» была высокая стоимость и сложность изготовления. В частности, из-за механизма вакуумного замедления затвора сам затвор, ствольная коробка и крышка ствольной коробки требовали при изготовлении очень точной механической обработки, что приводило к дополнительным затратам.
Во времена Зимней войны имело место ограниченное применение РККА автоматов Фёдорова. По свидетельствам участников боев, автоматы продемонстрировали неоспоримое преимущество над пистолетами-пулеметами финской армии. Любопытно, что стреляющее несравненно более мощным патроном оружие оказалось легче финского пистолета-пулемета.
Использование барабанного магазина большой ёмкости, как показала практика, большей частью неоправданно. Барабанный магазин существенно сложнее и дороже в производстве, при этом он менее надёжен, чем простые коробчатые. Он весит больше, чем несколько коробчатых магазинов той же общей вместимости, и существенно утяжеляет оружие. Время на смену магазина не так велико, а дополнительный запас патронов солдату удобнее носить в подсумке, а не непосредственно на оружии. Показательно, что в СССР, выпустив по образцу «Суоми» барабанные магазины для позднего варианта ППД и ППШ, уже на второй год Великой Отечественной войны снова вернулись к рожковым магазинам.
Страны-эксплуатанты
Ссылки
Примечания
- ↑ До появления автоматов в современном значении этого слова, так в РККА именовали пистолеты-пулемёты, так что в таком контексте использование этого термина для обозначения ПП волне корректно.
- ↑ 1 2 3 4 5 6 7 М.Р. Попенкер, М. Милчев. Вторая Мировая: война оружейников. М., Яуза — ЭКСМО, 2009. стр.301
dic.academic.ru
| Пистолет-пулемет Suomi M-1931 Пистолет-пулемет Suomi M/31 с барабанным магазином на 71 патрон Пистолет-пулемет Suomi M/26 (1926 год) под патрон 7,65×22 Parabellum Пистолет-пулемет Suomi M/32 (вариант для установки на танках или в ДОТах), с коробчатым магазином на 50 патронов Шведский вариант пистолета-пулемета Suomi M 37-39 с укороченным стволом, выпущенный по лицензии на заводе Husqvarna Vapenfabrik
Схемы на устройство пистолета-пулемета Suomi
Схемы иллюстрирующие устройство 40- и 71-патронных барабанных магазинов и 50-патронного коробчатого магазина для пистолета-пулемета Suomi Калибр: 9x19mm Luger/Para |
calibr.ucoz.ru
Пистолет-пулемет Суоми (Suomi KP-31) обр.1931 года, Финляндия
Пистолет-пулемет Суоми (Konepistooli Suomi) образца 1931 года в очень хорошем состоянии.Оружие деактивировано, все основные части выведены из боевого состояния без возможности восстановления.
Пистолет-пулемет «Суоми» спроектировал Аймо Йоханнес Лахти, работавший над этим видом оружия с 1921 года по личной инициативе. Ранние образцы Suomi появились к 1926 году и стреляли патронами 7,65х22 Люгер. «Суоми» модели 1931 года был разработан в начале 1930-х годов на базе konepistooli Suomi m/26. Слово Suomi — это самоназвание Финляндии. В 1931 году это оружие было принято на вооружение финской армии под названием Suomi-KP Model 1931 в калибре 9х19 Парабеллум. KP расшифровывется как Konepistooli — автоматический пистолет. Производство продолжалось до 1953 года, его объем составил около 80000 экземпляров.
ПП «Суоми» разрабатывался и был принят на вооружение в качестве оружия поддержки на уровне отделения для боя на ближней дистанции, что компенсировало нехватку в финской армии ручных пулеметов. В результате оружие имеет ряд таких особенностей как магазины большой ёмкости, сравнительно длинный и быстросменный ствол, наличие на некоторых моделях сошек. Однако малая дальность стрельбы и сравнительно низкая поражающая способность пистолетных пуль не позволяли использовать ПП в качестве полноценного оружия поддержки пехотного отделения. В результате финнам пришлось уже в ходе боевых действий пересмотреть свою военную доктрину и дополнить вооружение пехотного отделения ручным пулемётом под винтовочно-пулемётные боеприпасы, роль которого, как правило, играл трофейный советский ДП, одновременно с увеличением количества ПП с 1 до 2-3 на отделение.
При этом сам пистолет-пулемет «Суоми» зарекомендовал себя удачным образцом. Пистолет-пулемет Suomi поставлялся в Швецию, Германию, страны Южной Америки, Прибалтику. Производился по лицензии в Дании (m/41), Швеции (m/37) и Швейцарии (MP.43/44, 22 500 экземпляров). В финской армии «Суоми» находился на вооружении вплоть до начала 1990-х годов.
Пистолет-пулемёт состоит из цельной деревянной ложи, цельнофрезерованной ствольной коробки круглого сечения, ствола, съёмного кожуха, спускового механизма. Автоматика работает по схеме со свободным затвором. Ударно-спусковой механизм допускает ведение стрельбы очередями и одиночными выстрелами, с открытого затвора. Ударник неподвижно установлен в зеркале затвора. Накол капсюля осуществляется еще до момента прихода затвора в крайнее переднее положение, за счет чего достигается «дифференциальное запирание» — запирание ствола не только силой сжатия возвратной пружины, но и инерцией движущегося затвора. Переводчик-предохранитель размещается в передней части спусковой скобы. Взведение затвора осуществляется рукояткой, находящейся сзади и ниже ствольной коробки. При стрельбе рукоятка остается неподвижной.
Ствольная коробка и затвор производились из высококачественной стали методом фрезерования. Оборотной стороной такого решения были очень большая масса (более 7 кг в снаряжённом состоянии) и высокая стоимость «Суоми», которая так и не позволила ему стать по-настоящему массовым образцом. Для замедления темпа стрельбы используется система вакуумного торможения затвора: ствольная коробка, её крышка и затвор плотно подогнаны, так что затвор движется как поршень в цилиндре, прорыв воздуха между стенками ствольной коробки и затвором практически отсутствует. В затыльнике ствольной коробки установлен клапан, пропускающий воздух только изнутри наружу, но не наоборот. При движении затвора назад (после выстрела) воздух из задней части ствольной коробки выходит через клапан (при этом избыточное давление несколько замедляет откат затвора). При движении затвора вперёд клапан закрывается, за затвором создаётся разрежение, которое и замедляет затвор.
За счёт этой системы удалось несколько снизить массу затвора, улучшив точность стрельбы, в особенности одиночными выстрелами. Для обеспечения герметичности, а также исключения попадания внутрь ствольной коробки пыли и грязи через прорезь для взводной рукоятки затвора, последняя была расположена отдельно от него, сзади под затыльником ствольной коробки, и при стрельбе оставалась неподвижной. Для оружия с неподвижно закреплённым на зеркале затвора бойком, каковым являлся «Суоми», это давало ещё и то преимущество, что при недосыле патрона в патронник не тренированный или находящийся в стрессовой ситуации стрелок физически не имел возможности вручную дослать затвор вперёд ввиду отсутствия жёсткой связи между ним и взводной рукоятью; в оружии с более сложным ударным механизмом, вроде автоматической или обычной магазинной винтовки, это вполне нормальный способ устранения подобной задержки при стрельбе, но в случае пистолета-пулемёта с неподвижным бойком досылание затвора вперёд вручную привело бы к случайному выстрелу и неизбежной травме руки стрелка взводной рукоятью.
Другая особенность конструкции «Суоми» — кожух ствола и сам ствол легко снимаются и устанавливаются на место. Это позволяет при наличии запасных стволов вести активную стрельбу, не опасаясь перегрева и выхода ствола из строя — перегретый ствол всегда можно заменить прямо по ходу боя. Некоторые «Суоми» снабжались двуногой сошкой возле дульного среза. Кроме того, была выпущена небольшая (примерно 500 экземпляров) партия «Суоми» для вооружения бункеров и других укреплённых объектов, которая имела пистолетную рукоятку вместо приклада, укороченный кожух ствола и специальный упор вблизи его дульного среза для стрельбы из амбразуры.
Приёмник магазина имел необычную «открытую» конструкцию, что позволяло использовать широкие магазины большой ёмкости. Для «Суоми» было разработано несколько типов магазинов: коробчатый на 20 патронов, дисковый на 40 патронов, разработанный непосредственно Лахти, и дисковый магазин на 70 патронов конструкции Коскинена, принятый в 1936 году и весивший столько же, как и 40-зарядный. Позднее 70-патронный магазин «Суоми» был вместе с приёмником для него скопирован советскими оружейниками и использовался на ППД-40 и ранних выпусках ППШ, но оказался непрактичен и впоследствии заменён секторным «рожком» на 35 патронов. Также применялись разработанные в Швеции четырёхрядные коробчатые магазины на 50 патронов, более известный под прозвищем «гроб» из-за характерной формы. Гораздо позднее, уже в 1950-х годах, начали использоваться также коробчатые магазины на 36 патронов от шведского пистолета-пулемёта Carl Gustaf M/45, обратно совместимые с ранее состоявшим в Швеции на вооружении «Суоми». Солдатам категорически запрещалось удерживать ПП за магазин при стрельбе, во избежание расшатывания защелки и приемника. Впрочем, это запрещалось и в РККА по отношению к ППШ. Однако этот запрет очень часто нарушался в бою.
Пистолет-пулемет Suomi стал очень эффективным и надежное в бою оружием, для своего времени. «Суоми» хорошо показал себя при эксплуатации в тяжёлых условиях — зимой в Финляндии, при экстремально низких температурах. Он был весьма дорог и трудоемок, что являлось основным недостатком этого образца. Несмотря на небольшой объём производства, умелое применение финнами своих «Суоми» во время Советско-финской войны 1939-1940 г. произвело большое впечатление на рядовой и командный состав РККА, по сути, дав толчок к расширению производства и массовому снабжению армии этим видом оружия. Хотя планы по расширению производства ПП имелись в СССР ещё до Финской войны, которая, таким образом, сыграла роль «катализатора» этого процесса.
Помимо высокой стоимости и сложности изготовления, из недостатков можно отметить достаточно большую массу оружия — с одним полностью снаряжённым дисковым магазином «Суоми» весит около 7 кг. Во времена Зимней войны имело место ограниченное применение РККА автоматов Фёдорова. По свидетельствам участников боев, автоматы продемонстрировали неоспоримое преимущество над пистолетами-пулеметами финской армии. Любопытно, что стреляющее несравненно более мощным патроном оружие оказалось легче финского пистолета-пулемета. При этом, практика Второй Мировой войны показала неоправданность использования магазинов большой емкости. Барабанный магазин существенно сложнее и дороже в производстве, при этом он менее надёжен, чем простые коробчатые, а так же весит больше, чем несколько коробчатых магазинов той же общей вместимости. Смена магазина не занимает много времени, а дополнительный запас патронов солдату удобнее носить в подсумке. В СССР по образцу «Суоми» барабанные магазины выпускались для ППД и ППШ, но уже на второй год Великой Отечественной войны снова вернулись к рожковым магазинам.
По материалам сайта http://www.armoury-online.ru
antikvariat.ru
Миф об автомате «Суоми»
Знаменитый ПП «Суоми» был создан в 1931 г. в качестве временной замены ручных пулеметов, которых остро не хватало в финской армии.
Существует, миф, что успехи финнов в Зимней войне связаны с наличием у них автоматов, а вернее, пистолетов-пулеметов «Суоми», а неудачи Красной Армии — с их отсутствием. Автоматов с пистолетными патронами в начале войны у красноармейцев действительно не было. Правда и то, что принятый на вооружение еще в 1934 г. пистолет-пулемет Дегтярева (ППД-34) был снят с вооружения армии (передан пограничникам), потому что из такого вида оружия прицельный огонь можно было вести всего лишь на 100 м. Неудивительно, что вместо таких горе-автоматов наши бойцы получили автоматические и полуавтоматические (самозарядные) винтовки, благодаря своим патронам бьющие на целый километр! И если в финской дивизии было 250 ПП «Суоми», то в советской — 419 автоматоматических винтовок.
Однако на войне количественный показатель не всегда главный. Несмотря на большую огневую мощь стрелкового оружия, 2-кратное превосходство в артиллерии, 15-кратное в броневиках и 60-кратное в танках, РККА не смогла с ходу прорвать оборону противника.

Сверху вниз: Автоматическая винтовка Симонова АВС-36, Самозарядная винтовка Токарева СВТ-38, Автомат Федорова, ППД-34
Все-таки пистолеты-пулеметы «Суоми» очень пригодились финским солдатам, особенно в разведке или штурмовой операции, когда дистанция с противником была минимальной и требовалась высокая плотность огня. Вот здесь компактные ПП с магазином на 70 патронов были действительно незаменимы. Поэтому во время январского затишья 1940 г. красноармейцам стали спешно поставлять пистолеты-пулеметы и даже автоматы Федорова, стрелявшие японскими 6,5-мм патронами. В итоге нашего февральского наступления линия Маннергейма была прорвана и финны запросили мира.
Эта война показала советским военным существенное значение пистолетов-пулеметов и поразила их снайперским искусством противника. Миф о финских «кукушках», отстреливающих наших бойцов с деревьев, родился не на пустом месте. До этой кампании в Красной Армии не было снайперов, а в финской существовала целая школа. В течение всей войны ее ученики в буквальном смысле обезглавливали наши подразделения, уничтожая командиров, попадавшихся им на мушку. Самый известный финский снайпер Симо Хяюхя убил из обычной винтовки без оптического прицела 542 красноармейца, а из 1111 «Суоми» — еще 200 человек.

Финны так охотно брали трофейные русские пулеметы Дегтярева (ДП), что вскоре «дегтяр» вытеснил из финской армии самого «лахти».
Поделиться ссылкой
sitekid.ru
Русский Инженерный портал — Пистолет-пулемет Суоми M-1931
Высокая эффективность Советского Спецназа, вооружённого «автоматами Фёдорова», и активно действующего в тылу противника в бесконечных Советско-Финских военных конфликтах 20х-30х годов, способствовала принятию на вооружение Финляндии в 1931 аналогичной системы, под обозначением Suomi-KP Model 1931, разработанной Финским оружейником Аймо Лахти (Aimo Lahti). Опыт применения финскими войсками немногочисленных ПП Suomi в ходе Советско-Финской войны изменил взгляды многих высокопоставленных военных того времени на роль ПП в современной войне.
Финский оружейник Аймо Лахти (Aimo Lahti) начал разработку пистолета-пулемета в 1921 году по собственной инициативе. Вскоре его инициативу поддержала финская армия, и к 1926 году на свет появился весьма удачный пистолет-пулемет, названный Suomi (самоназвание Финляндии). Ранние прототипы были расчитаны под патрон 7.65х22 Парабеллум, и их доводка затянулась на несколько лет.
В 1931 году финская армия приняла на вооружение новый пистолет-пулемет под обозначением Suomi-KP Model 1931 (KP расшифровывется как Konepistooli — автоматический пистолет), под патрон 9х19 Люгер / Парабеллум. Пистолет-пулемет Suomi также поставлялся в Прибалтику, Германию, Швецию, страны Южной Америки, и производился по лицензии в Дании (на заводе Madsen), Швеции (завод Husqvarna) и Швейцарии (Hispano Suiza). Основным производителем Suomi в Финляндии была компания Tikkakoski Oy. Производство Suomi в Финляндии было прекращено в 1944 году, однако они оставались на вооружении финской армии вплоть до начала 1990х годов.
Пистолет-пулемет Suomi построен на основе автоматики со свободным затвором. Огонь ведется с открытого затвора, ударник неподвижно установлен в затворе. Накол капсюля производится до момента прихода затвора в крайнее переднее положение, чем достигается так называемое «дифференциальное запирание», когда для запирания ствола используется не только сила сжатия возвратной пружины, но и накопленный момент инерции движущегося затвора.
Затвор и ствольная коробка выполнены из высококачественной стали фрезеровкой и затвор своей задней частью пригнан к ствольной коробке так, что движется в ней как поршень в двигателе, без перетекания воздуха. Задняя крышка ствольной коробки установлена на резьбе и также закрывается практически герметично. На задней крышке выполнены воздушные перепускные клапаны, хорошо пропускающие воздух наружу из пространства за затвором и плохо — в обратную сторону. Тем самым в Suomi реализуется запатентованный Лахти принцип вакуумного торможения затвора для замедления темпа стрельбы — при движении затвора вперед за ним образуется зона пониженного давления, и разница давлений тормозит движение затвора. Таким образом достигнута относительно небольшая масса затвора, что положительно сказалось на точности стрельбы, особенно — одиночными выстрелами. Взведение затвора осуществляется при помощи рукоятки, расположенной позади и ниже ствольной коробки. При стрельбе рукоятка остается неподвижной. Предохранитель, он же переводчик режимов огня, расположен в передней части спусковой скобы.
Еще одна особенность ПП Suomi — быстросменный ствол; его защелка расположена справа в передней части ствольной коробки, перед приемником магазина. Эта особенность, совершенно несвойственная пистолетам-пулеметам, позволила финским стрелкам в ходе Советско-Финской войны 1940 года вести очень интенсивный автоматический огонь, расходуя сотни патронов за минимальное время. Кроме того, некоторые пистолеты-пулеметы Suomi могли комплектоваться дульным тормозом-компенсатором и легкой съемной двуногой сошкой.
Питание патронами осуществлялось из традиционных двухрядных магазинов на 20 патронов (с перестроением патронов по одному на выходе), а также из 40- или 71-патронных барабанных магазинов (магазины на 40 патронов встречаются очень редко). Кроме того, использовались разработанные в Швеции четырехрядные коробчатые магазины на 50 патронов, представлявшие собой фактически два соединенных боками двухрядных магазина с общим выходом патронов. Уже после войны, в середине 1950х годов, финны также принимают на вооружение к ПП Suomi шведские двухрядные магазины на 36 патронов от ПП М/45 Carl Gustaf.
В целом, ПП Suomi отличался высоким качеством выделки и был исключительно надежен, а также имел высокую точность стрельбы. Он был весьма дорог и трудоемок в производстве, и поэтому в 1944г. был заменён на пистолет-пулемет M44, представлявший собой не что иное как точную копию весьма удачного советского пистолета-пулемета Судаева ППС-43, адаптированную под штатный финский пистолетный патрон 9х19мм с использованием магазинов от пистолета-пулемета Suomi. Выпуск М44 продолжался в 1944-45 годах, на вооружении в Финляндии он состоял еще несколько десятилетий после войны.
Интересно, что вскоре после войны конструктор М44, некто Вилли Даус (Willy Daughs) иммигрировал из Финляндии, прихватив с собой производственную документацию. В начале 1950х Вилли оказался в Испании, где при участии немецких конструткторов наладил серийное производство этого же пистолета-пулемета под обозначением Dux M53. В середине 1950х пистолеты-пулеметы Dux M53 были в незначительных количествах закуплены Пограничной Стражей ФРГ..
Неисповедимы пути Русского оружия…
Тактико–технические характеристики Суоми M-1931:
- калибр: 9x19mm Luger/Parabellum
- длина: 870 мм
- вес: 4.6 кг без патронов, 7кг со снаряженным 71-патронным диском
- начальная скорость пули: 380 м/с;
- прицельная дальность: 200 метров
- темп стрельбы: 900 выстрелов в минуту
- Емкость магазина: 20, 36, 40, 50 или 71 патрон
Использованы материалы порталов:
- http://www.encycl.atsar.ru
- http://hand-gun.narod.ru
- http://www.weltkrieg.ru
- http://www.gewehr.ru
- http://world.guns.ru
- http://www.arms.ru
operation-barbarossa.narod.ru


