Конструкция и ремонт лебедки автомобиля ЗИЛ-131
На автомобиле установлена лебедка, предназначенная для самовытаскивания автомобиля при преодолении труднопроходимых участков пути, а также для оказания помощи другим застрявшим в пути автомобилям
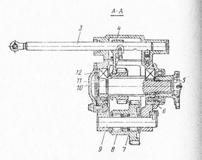
Лебедка (рис. 1) установлена спереди автомобиля, прикреплена болтами к переднему буферу и передней поперечине рамы.
Передний буфер крепится болтами к съемным удлинителям лонжеронов.
Привод лебедки осуществляется карданным валом от коробки отбора мощности, закрепленной на коробке передач.
Барабан 5 лебедки свободно вращается на валу и жестко соединяется с валом при помощи муфты 29.
При переводе рукоятки вилки 35 включения барабана в крайнее левое положение муфта включения барабана передвигается на валу по двум шпонкам и торцовыми кулачками входит в зацепление с торцовыми кулачками барабана.
Вилка включения барабана установлена на траверсе лебедки.
Вилка включения снабжена тормозной колодкой, шарнирно закрепленной в ушках траверсы на оси.
При выключении муфты тормозная колодка под действием нажимного болта с пружиной упирается в торец реборды барабана, притормаживает его вращение и предотвращает возможность самораспускания троса при разматывании его вручную.
Тормоз регулируют натяжением или ослаблением пружины упорного болта при помощи гайки с контргайкой, а при необходимости (когда усилие пружины недостаточно) — перемещением этого болта ввертыванием или вывертыванием резьбовой втулки.
Давление пружины отрегулировано правильно, если трос разматывается под действием усилия руки без самораспускания в реборде барабана с внутренней стороны имеется впадина, в которую закладывают конец троса, закрепляя его скобой и гайками.
Трос лебедки стальной, нераскручивающийся, с металлическим сердечником. На свободном конце троса закреплен крюк.
Вал барабана вращается в трех бронзовых подшипниках, из которых два установлены в картере редуктора и один в траверсе.
Траверса и картер редуктора прикреплены болтами к поперечинам.
Подшипник вала барабана в траверсе смазывают через масленку 30.
Подшипники вала барабана в картере редуктора смазываются маслом, стекающим с червячного колеса редуктора и со стенок крышки картера.
Поверхности вращения барабана на валу смазываются через две масленки 18, расположенные у ступиц барабана.
Редуктор лебедки (рис. 2) состоит из глобоидного однозаходного стального червяка 21, червячного колеса 3 с бронзовым венцом, разъемного картера, вала 7 барабана, автоматического тормоза, подшипников и их крышек.
Червячное колесо редуктора установлено на валу барабана лебедки на двух шпонках и закреплено от осевых перемещений штифтом.
Перемещение вала барабана с червячным колесом в осевом направлении осуществляется изменением толщины набора прокладок под шайбой 4, установленной между правым торцом картера редуктора и торцом выточки в крышке 6. Шайба 4 прикреплена к торцу вала болтами.
В крышке картера редуктора имеется смотровой люк, закрытый крышкой 11.
Червяк 21 установлен в картере 13 редуктора на двух конических роликовых подшипниках.
Подшипники закрыты крышками 14 и 22. В крышку 14 запрессована манжета 18. Крышки подшипников прикреплены к картеру редуктора болтами.
На заднем конце вала червяка установлены барабан 15 автоматического тормоза редуктора лебедки и фланец 16 крепления карданного вала.
Барабан тормоза смонтирован на шпонке, а фланец — на шлицах; от осевых перемещений они закреплены гайкой. Барабан тормоза закрыт крышкой. В крышке имеется войлочная манжета 17, предотвращающая попадание грязи в тормоз.
Между торцом внутреннего кольца подшипника и торцом ступицы барабана тормоза расположено уплотнительное кольцо из меди или паронита.
Торможение барабана осуществляется лентой 9 тормоза с фрикционной накладкой. Один конец ленты тормоза закреплен в стенке крышки подшипника жестко, а другой — подвижно через пружину.
Пружина затягивает ленту в направлении, противоположном вращению вала червяка при наматывании троса лебедки.
Лента под действием силы трения сжимает пружину, что приводит к ослаблению нажатия ленты на барабан, т. есть к уменьшению торможения
Вследствие жесткого закрепления противоположного конца ленты при обратном вращении под действием силы трения происходит самозатягивание ленты, вызывающее притормаживание червяка.
При небольшой частоте вращения вала червяка усилие торможения, создаваемое автоматическим тормозом, незначительно и не препятствует разматыванию троса.
В случае среза в результате перегрузки предохранительного пальца, когда барабан лебедки начинает вращаться в обратном направлении с повышенной частотой вращения, действие тормоза становится значительным и служит дополнением к самотормозящему действию червячной передачи, препятствующему быстрому вращению барабана лебедки и разматыванию троса.
Натяжение ленты тормоза регулируется гайкой 24.
При вращении гайки по часовой стрелке нажимное усилие пружины увеличивается. Тормоз должен быть отрегулирован так, чтобы при разматывании троса чрезмерно не нагревался его барабан
К нижней полке переднего буфера и задней поперечине лебедки болтами прикреплены направляющие троса лебедки.
Спереди между направляющими установлены направляющий ролик троса лебедки и штанга, удерживающая трос от выпадения.
Ролик вращается на оси, закрепленной гайками в направляющих. Смазывают подшипники роликов через масленку, установленную в левом конце оси ролика.
Карданный вал лебедки (рис.3) трубчатый, с двумя шарнирами. На переднем конце карданного вала установлена вилка с предохранительным штифтом, на заднем на шлицах, установлена скользящая вилка.
При увеличении нагрузки выше предельной штифт срезается, предохраняя детали лебедки от поломки.
Техническое обслуживание лебедки заключается в проверке и подтяжке всех деталей крепления, смазывании подшипников, смене масла в редукторе, проверке качества уплотнений, регулировке подшипников, проверке и регулировании осевого зазора вала барабана и зацепления червячной передачи
Картер редуктора лебедки заправляют маслом через люк в верхней части редуктора до уровня контрольно-заливного отверстия.
После 15—20 подтягиваний автомобиля надо проверять уровень масла.
При необходимости следует добавлять масло до уровня контрольного отверстия. Масло в редукторе следует менять в сроки, указанные в карте смазывания.
Шарниры, шлицевые соединения карданных валов привода лебедки, подшипники вала барабана и направляющего ролика надо смазать согласно карте смазывания.
Отсоединить карданную передачу. Освободить от крепления кронштейны 9 (рис. 4) и снять их вместе с направляющим роликом 14 и направляющей штангой 13 троса.
Отвернуть болты крепления предохранительной скобы 4 лебедки к передней поперечине 15 лебедки и снять скобу.
Освободить от крепления съемные кронштейны 2 переднего буфера. Отвернуть болты крепления кронштейнов переднего буфера к раме и болты крепления передней поперечины лебедки к переднему буферу.
Отвернуть болты крепления переднего буфера к кронштейнам крепления переднего буфера 8. С помощью подъемника снять передний буфер в сборе с лебедкой и отсоединить ее от буфера.
Установить лебедку на подставку для разборки.
Перед разборкой следует очистить лебедку от грязи и пыли, промыть в обезжиривающем растворе и обдуть сжатым воздухом. Разборку лебедки проводят в исключительных случаях, так как она работает непостоянно и детали ее интенсивного износа не имеют.
Разборка лебедки
Снятие барабана.
Размотать трос, отвернуть болты крепления траверсы 10 к поперечинам лебедки, снять шплинт и выбить палец 12 вилки включения барабана лебедки, после чего снять траверсу, колодку 11 тормоза, муфту включения лебедки, вынуть из пазов вала шпонки, снять барабан 16 троса лебедки (рис. 5).
При разборке запрещается снимать барабан 15 (см. рис. 2) тормоза червяка лебедки ввертыванием болтов до упора в манжету, что приводит к ее повреждению и потере герметичности.
Для того чтобы болты не упирались в манжету, следует ввернуть болты на 7— 8 мм, съемником зацепить за болты и снять барабан.
Разборка редуктора лебедки
Отвернуть болты и снять крышки 6 и 26 (см.
рис. 2).
Расшплинтовать и отвернуть установочные болты вала 7 барабана и снять установочную шайбу 4 и регулировочные прокладки 8.
Отвернуть болты крепления и снять крышку 12 картера 13 редуктора.
Снять вал 7 барабана в сборе с червячным колесом 3.
Расстопорить гайку крепления фланца 16 вала червяка 21 редуктора, отвернуть гайку, снять шайбу и фланец вручную.
Если фланец вручную не снимается, воспользоваться съемником мод. 20П-7968.
Отвернуть болты крепления крышки автоматического тормоза редуктора лебедки, снять крышку с манжетой 17 в сборе и упорную шайбу.
Отвернуть болты крышки 10 пружины 23 и снять крышку. Отвернуть гайки ленты тормоза и снять ленту 9.
Снять с помощью съемника барабан 15 тормоза с манжетой.
Способ снятия барабана тормоза лебедки показан на рис. 5.
Отвернуть болты крепления и снять крышки 14 и 22 с прокладками (см. рис. 2).
Установить картер 13 редуктора в сборе с червяком на пресс и выпрессовать вал червяка в сборе с кольцами подшипников (рис.
7).
При этом выпрессовывается одно наружное кольцо подшипника. При необходимости может быть выпрессовано другое кольцо с помощью оправки или съемника.
Спрессовать с вала червяка внутренние кольца подшипников с помощью съемника мод. 20П-7968 (рис.6).
Снять подшипники 2 (см. рис. 2) вала барабана лебедки, выпрессовать штифт, соединяющий вал 7 и червячное колесо 3.
Установить червячное колесо под пресс на пустотелую подставку, направив через нее вал барабана, затем выпрессовать вал из ступицы червячного колеса (рис. 9) и вынуть шпонки из пазов вала.
Разборка карданной передачи лебедки
Разборка карданной передачи лебедки проводится аналогично разборке карданной передачи автомобиля.
Устройство карданной передачи лебедки показано на рис. 3
Детали лебедки
При наличии трещин и обломов на картере редуктора, крышках и других деталях лебедки их следует заменить.
Допускается заварка нескольких трещин на деталях из серого и ковкого чугуна.
Повреждение резьбы на деталях лебедки допускается не более двух ниток.
Изношенные отверстия в картере редуктора под наружные кольца подшипников следует отремонтировать постановкой ремонтных втулок.
Несоосность расточенного отверстия картера и отверстия ремонтной втулки под подшипник допускается не более 0,05 мм.
Неперпендикулярность торцов картера редуктора под крышки подшипников относительно поверхности отверстий под подшипники допускается не более 0,08 мм.
Изношенные шейки валов и осей сверхдопустимых размеров могут быть отремонтированы хромированием с последующей обработкой под номинальные размеры. Валы, имеющие изгиб или скручивание, подлежат замене.
Биение шеек вала червяка под подшипник допускается не более 0,05 мм. Биение торцовых поверхностей вала червяка в местах сопряжения с подшипниками не более 0,03 мм.
Биение торца венца червячного колеса (при установке вала на опоры) не более 0,12 мм. Биение торца вала, установленного шейками на опоры, не более 0,06 мм.
Подшипники, имеющие повышенные люфты, трещины колец, забоины и коррозийные пятна на рабочих поверхностях, следует заменить.
На фланцах не должно быть повреждений сопрягаемых поверхностей. Забоины на поверхности фланца или на тормозном барабане следует устранить зачисткой.
При наличии в механизме включения барабана износа лапок вилки или износа паза в скользящей муфте сверхдопустимых размеров их следует заменить.
Погнутая вилка может быть отремонтирована правкой. При поломке или износе зуба червяка или зуба венца червячного колеса сверхдопустимых размеров их следует заменить.
Изношенные сверхдопустимых размеров втулки и фрикционные накладки тормозов подлежат замене.
Несоосность внутренних поверхностей втулок трубы направляющего ролика троса допускается не более 0,1 мм.
Сборка и регулировка лебедки
детали лебедки перед сборкой должны быть промыты в обезжиривающем растворе, продуты сжатым воздухом и проверены на пригодность к сборке. Манжеты, уплотнители и прокладки в случае порчи должны быть заменены новыми.
Сборка лебедки проводится в порядке, обратном разборке.
Перед запрессовкой манжеты крышки подшипника червяка редуктора, наружную поверхность кожуха манжеты и гнездо манжеты следует смазать тонким слоем клея АК-20.
При установке крышек подшипников редуктора должны быть отрегулированы конические роликовые подшипники с предварительным натягом.
Момент, необходимый для проворачивания вала червяка в подшипниках, должен быть равен 0,1—0,6 Нм.
После регулировки вал червяка должен свободно проворачиваться при полностью затянутых болтах крышек подшипников, но не иметь осевого зазора.
Регулировка конических подшипников проводится с помощью регулировочных прокладок, подкладываемых под фланец крышек.
Если вал червяка вращается слишком свободно или имеет осевой зазор, надо удалить часть прокладок равной толщины из-под передней и задней крышек подшипников; если вал червяка вращается с моментом более 0,6 Нм, следует добавить прокладки равной толщины под обе крышки подшипников.
Количество прокладок под задней и передней крышками подшипников должно быть приблизительно одинаковым или иметь разность толщины прокладок не более 0,1 мм.
Изменять толщину прокладок под крышками можно только при регулировке зацепления зубьев червячной передачи.
Регулировка конических подшипников редуктора проводится до установки в редуктор червячного колеса в сборе с валом, фланца и барабана тормоза.
После регулировки тормоза болты, прокладки и гайки крепления барабана тормоза следует ставить на клей АК-20.
После установки червячного колеса на вал лебедки следует запрессовать и закернить штифт.
Перед установкой вала барабана с червячным колесом в сборе следует проверить износ втулок и шеек вала барабана.
Допустимый зазор между диаметром втулок и шейками не должен превышать 0,6 мм.
При большем зазоре втулки должны быть заменены. Установочный штифт втулки не должен выступать за пределы поверхности внутреннего диаметра втулки.
После установки на вал барабана механизма включения и траверсы следует закрепить установочную шайбу и отрегулировать осевое перемещение вала.
Вал должен вращаться свободно, но не должен иметь осевой зазор более 0,1 мм (при измерении индикатором на левом торце вала барабана) при перемещении колеса в осевом направлении.
После регулировки подшипников вала червяка и регулировки осевого зазора вала барабана рекомендуется проверить правильность зацепления зубьев червячного колеса и червяка на «краску» по пятну контакта.
При правильно отрегулированной передаче пятно контакта на рабочей стороне зуба червячного колеса должно соответствовать пятну, показанному на рис. 10.
Правильное расположение пятна контакта относительно оси симметрии зуба достигается соответствующим перемещением вала барабана с червячным колесом в противоположную сторону смещению пятна контакта.
Чтобы сместить червячное колесо с валом барабана вправо или влево, следует снять или добавить часть прокладок под торец опорной шайбы
Регулировка величины пятна контакта по высоте зуба достигается перемещением червяка относительно червячного колеса для этого нужно переложить прокладки из-под крышки подшипника с одной стороны на другую, не меняя предварительного натяга в подшипниках.
Червячная передача может работать надежно только при условии правильного зацепления.
Неправильная регулировка является причиной сильного нагрева редуктора.
При установке автоматического тормоза должна быть проведена его регулировка.
Результат регулировки должен быть проверен в процессе разматывания троса, при этом барабан тормоза не должен сильно нагреваться от трения тормозной ленты.
Слабое дымление тормозной ленты при приработке не может служить браковочным признаком.
Натяжение ленты тормоза регулируют гайкой (рис. 11), при вращении которой в правую сторону сила натяжения ленты и торможения увеличивается.
Для проверки затяжки тормоза червяка допускается снятие крышки тормоза редуктора и крышки пружины перед намоткой троса на барабан.
Зазор между витками пружины ленты тормоза должен быть в пределах 1—1,5 мм.
После сборки лебедки нужно проверить работу механизма включения барабана лебедки.
При выключении муфты тормозная колодка 2 (рис.
12) при вращении барабана должна притормаживать барабан 1, что будет предотвращать возможность самораспускания троса при разматывании вручную.
Тормоз регулируют натяжением или ослаблением пружины нажимного болта 3 при помощи гайки с контргайкой, а при необходимости (когда усилия пружины недостаточно) — перемещением этого болта путем ввертывания или вывертывания направляющего нажимного болта.
Давление пружины тормоза отрегулировано правильно, если трос разматывается под действием усилия руки без самораспускания.
При установке направляющего ролика троса лебедки гайку крепления ролика затянуть, прикладывая крутящий момент 120 Нм, и загнуть кромки в паз.
Установка лебедки на автомобиль
Закрепить на лебедке переднюю и заднюю поперечины. Соединить передний буфер с передней поперечиной лебедки.
Установить лебедку в сборе с передним буфером на раму автомобиля с помощью подъемного приспособления и закрепить заднюю поперечину лебедки к первой поперечине рамы, а буфер в сборе со съемными кронштейнами — к лонжеронам рамы.
Закрепить предохранительную скобу на передней поперечине лебедки и первой поперечине рамы одновременно с задней поперечиной лебедки.
Закрепить снизу кронштейн направляющего ролика троса на переднем буфере и задней поперечине лебедки.
Присоединить карданную передачу к фланцам редуктора и коробке отбора мощности, установленной на люке коробки передач.
Проверить правильность положения рычага коробки отбора мощности; при необходимости провести регулировку.
Пустить двигатель, включая передачи коробки отбора мощности, проверить работу лебедки.
раздаточная коробка, стартер, система охлаждения, тормозная, зажигания, карбюратор, регулировка, КПП схема переключения, свободный ход педали сцепления, переключение передач, емкость, устройство, технические характеристики, схема электрооборудования цветная с описанием, ремонт, проводка, раздатка, объем топливного бака
Содержание
- Устройство основных механизмов грузовика
- Лебедка
- Трансмиссия
- Стартер
- Система охлаждения
- Тормозная система
- Система питания
- Система зажигания
- Электрооборудование
- Система подкачки колес
- Обслуживание и ремонт
- Почему не заводится, и что делать
- Регулировка карбюратора
- Как выставить зажигание
- Регулировка сцепления
- Регулировка тормозов
Лебедка ЗИЛ-131 — это механизм, который необходим для самовытаскивания транспортного средства во время преодоления труднопроходимых участков дороги.
Устройство основных механизмов грузовика
Конструкция автомобиля включает в себя такие элементы, как:
- лебедка;
- трансмиссия;
- стартер;
- система охлаждения;
- тормозная система;
- система питания;
- система зажигания;
- электрооборудование;
- система подкачки колес.
Лебедка
Этот механизм состоит из:
- редуктора;
- барабана;
- масленки;
- упорных колец;
- тормозной колодки;
- троса;
- направляющего ролика;
- фиксатора и привода лебедки;
- шплинта;
- крепежных элементов.
Технические характеристики оборудования:
| Длина троса | 50 000 мм |
| Диаметр троса | 14 мм |
| Тяговое усилие | 4500 кг |
| Передаточное число редуктора | 31 |
| Вес устройства | 32 кг |
Лебедка расположена на передней части корпуса автомобиля и прикреплена специальными гайками к буферу и передней поперечине опорной рамы.
За стабильную работу привода отвечает карданный вал от коробки отбора мощности. Барабанная часть вращается на валу и соединяется с ним при помощи муфты.
Трансмиссия
Здесь установлена механическая (МКПП) коробка передач ЗИЛ, которая оборудована двумя синхронизаторами.
Передаточные числа КПП ЗИЛ:
- первая передача — 7,44;
- вторая передача — 4,1;
- третья передача — 2,29;
- четвертая передача — 1,47;
- пятая передача — 1,00.
Схема переключения передач приведена в руководстве пользователя.
Трансмиссия транспорта оснащена раздаточной коробкой и сцеплением ЗИЛ.
Устройство раздатки на ЗИЛе-131 включает в себя следующие элементы:
- рычаг управления;
- электровоздушный клапан;
- шланг соединительного типа;
- серьгу рычага;
- стержень вилки включения первой передачи;
- трубку.
Стартер
Для подключения стартера используется вспомогательное реле.
Сам процесс активации механизма происходит дистанционно.
Электрический стартер включает в себя: неподвижные контакты, обмотку, рычаг включения, крышку, шестерни, муфту свободного хода, коллектор, щетку, вал привода и стяжную шпильку.
Тяговое реле электромагнитного типа замыкает контакты электрической цепи и вводит шестерни в зацепление с ободом маховика силового агрегата. Перемещение корпуса привода осуществляется по резьбе ленточного типа вала якорного устройства. Шестерня выходит из зацепления под воздействием пружинного механизма.
Система охлаждения
Здесь установлена жидкостная система охлаждения с принудительной циркуляцией топлива внутри системы.
В прогретом моторе жидкость засасывается из радиаторной части в водяной насосный элемент и под давлением переходит по двум нагнетающим патрубкам в левый и правый блоки цилиндрических механизмов. Во время движения она также охлаждает гильзы цилиндров.
Схема этой системы включает в себя:
- радиатор;
- водяной насос;
- пробку;
- перепускной шланг;
- термостат;
- кран;
- отводящую трубку;
- датчик.

Емкость системы охлаждения вмещает в себя 17 л. Количество охлаждающей жидкости всегда должно быть не менее 13-15 л.
Тормозная система
Тормозная система ЗИЛа-131 включает в себя следующие элементы:
- компрессор;
- предохранительный клапан;
- манометр;
- тормозную педаль;
- шланг;
- головку подвода воздуха;
- тормозную камеру;
- электровоздушный клапан;
- раздатку.
Транспорт оснащен независящими друг от друга ручным и ножным тормозным механизмом. Конструкция ручного тормоза состоит из двух внутренних колодок. Такой тип тормозов необходим для принудительной остановки транспорта в экстренных случаях.
Привод тормоза ножного типа срабатывает при нажатии на тормозную педаль, а также за счет работы пневматической системы автомобиля, которая действует на колодки, находящиеся на каждом колесе.
Система питания
Здесь установлена принудительная система питания, оборудованная предпусковым подогревателем и насосом диафрагменного типа для подачи топливной жидкости.
В качестве топлива используется бензин с октановым числом не менее АИ-76.
Транспорт, выпускаемый заводом имени Лихачева, оснащен двумя емкостями для топлива. Объем бака равен 170 л. Емкости расположены с двух сторон под грузовой платформой.
Устройство этой системы включает в себя:
- топливный насос;
- фильтрующий элемент тонкой очистки;
- карбюратор;
- воздухопроводящую трубку;
- угольник;
- сетчатый фильтр;
- пробку;
- резиновый шланг;
- отстойник.
Система зажигания
Система зажигания ЗИЛа-131 — бесконтактного типа, которая состоит из катушки зажигания, распределительного механизма, свечей зажигания и проводов высокого напряжения.
Во время установки добавочного сопротивления необходимо учитывать, что оно не герметично, поэтому рекомендуется устанавливать его выше уровня брода.
Для того чтобы выставить зажигание на ЗИЛе, нужно установить поршень в положение верхней мертвой точки, расположить паз привода на валу распределительного механизма, провернуть коленчатый вал на 1-1,5 оборота по часовой стрелке и провернуть корпус распределителя против часовой стрелки.
Электрооборудование
Цветная схема электрооборудования ЗИЛ-131 представлена в руководстве пользователя.
Здесь установлена однопроводная электрическая система с номинальным напряжением 12 В. Клеммы, которые отрицательно заряжены, подсоединяются к массе транспортного средства. Устройство электропроводки предусматривает наличие проводов низкого и высокого напряжения.
Подключать дополнительные электрические механизмы можно только в соответствии с электросхемой, которая есть в инструкции.
Основные неисправности системы связаны с коротким замыканием или обрывом цепи. Для диагностики рекомендуется использовать специальный прибор, оборудованный контрольной лампой.
Система подкачки колес
Для накачки колес здесь используется централизованная система регулировки уровня давления воздушного потока в шинах.
Питание шин осуществляется за счет сжатого воздуха из баллонов привода пневматического типа тормозной системы.
В конструкцию системы регулировки входит кран комбинированного типа, необходимый для управления уровнем давления.
Такой кран оснащен клапаном-ограничителем и воздушными проводами с гибкими шлангами. Шинные краны соединены с вентилями камер пневматических шин.
Все клапаны находятся в литом корпусе на магистрали, подводящей воздух от баллонов тормозных механизмов к центральному крану управления.
Обслуживание и ремонт
Обслуживание и ремонт ЗИЛа-131 нужно проводить только при отключенном двигателе и на специальной площадке.
Причины, по которым требуется проведение ремонтных работ:
- Сильно греется двигатель и стреляет глушитель.
- Выработка ресурса, из-за чего выходят из строя коленчатый вал, блок цилиндров, трансмиссия и другие основные узлы автомобиля.
- Прогорание поршневого устройства.
- Наличие повреждений и трещин на корпусе двигателя, коробки передач и блока цилиндров.
- Короткое замыкание или обрыв электрической цепи.
Техническое обслуживание предполагает замену масляной жидкости, внешний осмотр агрегатов и замену расходников.
Почему не заводится, и что делать
Силовой агрегат может не заводиться из-за отсутствия топлива в системе, заедания воздушной дроссельной заслонки, засорения жиклеров.
Для того чтобы отремонтировать двигатель, необходимо:
- Продуть топливные провода.
- Проверить работоспособность игольчатого клапана, который расположен на карбюраторе.
- Провести осмотр топливного насоса на наличие дефектов и повреждений.
- Продуть цилиндрические элементы.
- Провернуть коленчатый вал мотора при помощи электрического стартера при полностью открытых дроссельных заслонках.
- Проверить работоспособность заслонки воздушного типа.
- Промыть жиклеры ацетоном и продуть воздухом.
Регулировка карбюратора
При правильно отрегулированном карбюраторе дроссели и воздушные заслонки будут открываться и закрываться в соответствии с положением тормозной педали.
Регулировка карбюратора проходит в несколько этапов. Сначала настраивают ручной и ножной привод дросселей, только после этого переходят к настройке воздушной заслонки.
Привод ножного типа регулируется при помощи резьбовой вилки, а ручной — с использованием зажима, который устанавливают на конец троса привода.
На малых оборотах холостого хода мотора разрежение из впускного трубопровода передается через отверстие системы холостого хода, после чего рабочая жидкость попадает в систему смазки.
Как выставить зажигание
Для того чтобы выставить зажигание на ЗИЛе, необходимо выполнить следующие действия:
- Установить поршневой механизм цилиндра под номером 1 в положение верхней мертвой точки.
- Провернуть коленвал до совмещения отверстия на шкиве коленвала с меткой высшей мертвой точки.
- Расположить паз на вал привода распределителя.
- Вставить привод в гнездо блока.
- Провернуть коленвал на величину установочного угла.
- Убрать крепежный болт с пластины.
- Включить зажигание.
- Провернуть корпус распределительного устройства в гнездо привода.
- Проверить правильность установки проводов всех цилиндров.

Регулировка сцепления
Регулировка сцепления проводится в несколько этапов. На первом необходимо отрегулировать свободный ход педали сцепления. Для этого нужно:
- Измерить ход от центральной части пластины до механизма.
- Опустить педаль до упора.
- Соединить рычаг с верхней проушиной толкателя при помощи эксцентрикового пальца.
- Закрутить корончатую гайку.
На втором этапе необходимо отладить ход муфты. Ее свободный ход не должен превышать 4 мм. Регулировка осуществляется при помощи сферической гайки.
На последнем этапе нужно отрегулировать полный ход толкателя гидравлического усилителя руля.
Регулировка тормозов
Регулировка тормозов проводится только на холодных механизмах. Нужно подать сжатый воздух под давлением в тормозную систему, а также в тормозную камеру. После чего необходимо провернуть ось червяка так, чтобы шток камеры находился в пределах 25 мм.
Затем следует проверить, как вращается барабанное устройство.
ЗИЛ-131, башня, продажа, цена 3 307$ ⋆ Техклуб
3 307 $
Артикул: 11709 674 14
ЗИЛ-131, башня
Артикул: 11709
3 307 $
Чтобы написать сообщение Написать сообщениеЗвонить по телефону
ЗИЛ-131 — советский и российский грузовик повышенной проходимости Московского автомобильного завода имени Лихачева, основная модель.
Был заменой грузовику ЗИЛ-157. Значительная часть этих машин была произведена для Советской Армии.
Снаряженная масса: без лебедки — 6135 кг с лебедкой — 6375 кг Полная масса: без лебедки — 10 185 кг с лебедкой — 10 425 кг Грузоподъемность: размах > по земле — 3500 кг Допустимый прицеп масса: по дорогам с твердым покрытием — 6500 кг по грунту — 4000 кг Запас хода — 630 км Радиус поворота — 10,8 м Тормозной путь при скорости 50 км/ч — 29 м
- Состояние: Б/у
Показать полностью
Мы используем файлы cookie, чтобы улучшить ваше взаимодействие с нашим сайтом. Используя наш сайт, вы даете согласие на использование файлов cookie.
Узнать больше Принять
Проектирование и ремонт автомобильной лебедки ЗИЛ-131
На автомобиль устанавливается лебедка, предназначенная для вытаскивания автомобиля при преодолении сложных участков дороги, а также для оказания помощи другим автомобилям, застрявшим в пути
Лебедка (рис.
1) устанавливается в передней части автомобиля и крепится болтами к переднему буферу и передней поперечине.
Передний буфер крепится болтами к съемным удлинителям лонжеронов.
Лебедка приводится в действие карданным валом от коробки отбора мощности, установленной на редукторе.
Барабан 5 лебедки свободно вращается на валу и жестко соединен с валом с помощью муфты 29.
При перемещении рукоятки вилки 35 для включения барабана в крайнее левое положение муфта включения барабана перемещается на валу по двум шпонкам и концевые кулачки входят в зацепление с концевыми кулачками барабана.
Вилка активации барабана установлена на траверсе лебедки.
Вилка переключения снабжена тормозной колодкой, шарнирно закрепленной в проушинах крейцкопфа на оси.
При выключении сцепления тормозная колодка под действием нажимного болта с пружиной упирается в торец фланца барабана, замедляет его вращение и препятствует саморазматыванию троса при его ручной размотке.
Тормоз регулируется затягиванием или ослаблением пружины упорного болта с помощью гайки с контргайкой, а при необходимости (при недостаточной силе пружины) перемещением этого болта путем вкручивания или выкручивания резьбовой втулки .
Давление пружины отрегулировано правильно, если трос разматывается под действием силы руки без самораспускания во фланце барабана с внутренней стороны имеется полость, в которую укладывают конец троса, закрепляя его кронштейн и гайки.
Трос лебедки стальной некрутящийся с металлическим сердечником. К свободному концу веревки крепится крючок.
Вал барабана вращается в трех бронзовых подшипниках, два из которых установлены в корпусе редуктора и один в траверсе.
Траверса и картер редуктора крепятся болтами к поперечинам.
Подшипник вала барабана в траверсе смазывается через масленку 30.
Подшипники вала барабана в картере смазываются маслом, вытекающим из червячной передачи редуктора и со стенок крышки картера.
Поверхности вращения барабана на валу смазываются через две масленки 18, расположенные на ступицах барабана.
Редуктор лебедки (рис. 2) состоит из глобоидного однозаходного стального червяка 21, червячного колеса 3 с бронзовым венцом, разъемного картера, барабанного вала 7, автоматического тормоза, подшипников и их крышек.
Червячное колесо редуктора установлено на валу барабана лебедки на двух шпонках и зафиксировано от осевого перемещения шплинтом.
Перемещение вала барабана с червячным колесом в осевом направлении осуществляется изменением толщины комплекта прокладок под шайбу 4, устанавливаемую между правым торцом корпуса редуктора и концом поднутрения в крышке 6. Шайба 4 крепится к концу вала болтами.
В крышке картера коробки передач имеется смотровой люк, закрывающийся крышкой 11.
Червяк 21 установлен в корпусе редуктора 13 на двух конических роликоподшипниках.
Подшипники закрыты крышками 14 и 22. В крышку 14 запрессована манжета 18.
Крышки подшипников прикручены к корпусу редуктора болтами.
На заднем конце червячного вала установлены барабан 15 автоматического тормоза редуктора лебедки и фланец 16 карданного вала.
Барабан тормозной установлен на шпонке, фланец шлицевой; от осевых перемещений они фиксируются гайкой. Тормозной барабан закрыт крышкой. На крышке имеется войлочная манжета 17, препятствующая попаданию грязи в тормоз.
Между торцом внутреннего кольца подшипника и торцом ступицы тормозного барабана установлено уплотнительное кольцо из меди или паронита.
Барабан тормозится тормозной лентой 9 с фрикционной накладкой. Один конец тормозной ленты жестко закреплен в стенке крышки подшипника, а другой конец подвижен посредством пружины.
Пружина натягивает ленту в направлении, противоположном вращению червячного вала при намотке троса лебедки. Лента под действием силы трения сжимает пружину, что приводит к ослаблению давления ленты на барабан, то есть к уменьшению торможения
За счет жесткого закрепления противоположного конца ленты при обратном вращении под действием трения лента самозатягивается, вызывая торможение червяка.
При малой частоте вращения червячного вала тормозная сила, создаваемая автоматическим тормозом, незначительна и не препятствует разматыванию троса.
При срезе из-за перегрузки предохранительного штифта, когда барабан лебедки начинает вращаться в обратном направлении с повышенной скоростью, тормозное действие становится значительным и служит дополнением к самотормозящему действию червяка шестерня, препятствующая быстрому вращению барабана лебедки и разматыванию троса.
Натяжение тормозной ленты регулируется гайкой 24.
Поворот гайки по часовой стрелке увеличивает усилие пружины. Тормоз должен быть отрегулирован таким образом, чтобы при разматывании троса его барабан не нагревался чрезмерно
Направляющие троса лебедки крепятся болтами к нижней полке переднего буфера и задней поперечине лебедки.
Спереди между направляющими имеется направляющий ролик для троса лебедки и стержень, удерживающий трос от выпадения.
Ролик вращается на оси, закрепленной гайками в направляющих.
Смажьте подшипники качения через масленку, установленную на левом конце оси качения.
Карданный вал лебедки (рис. 3) трубчатый, с двумя шарнирами. На переднем конце карданного вала установлена вилка с предохранительным штифтом, а на заднем конце на шлицах установлена скользящая вилка.
При превышении допустимой нагрузки штифт срезается, предохраняя детали лебедки от поломки.
Техническое обслуживание лебедки состоит из проверки и подтяжки всех деталей крепления, смазки подшипников, замены масла в редукторе, проверки качества уплотнений, регулировки подшипников, проверки и регулировки осевого зазора вала барабана и зацепление червячного редуктора
Картер редуктора лебедки заливается маслом через люк в верхней части редуктора до уровня контрольного заливного отверстия.
После 15-20 подтягиваний автомобиля проверьте уровень масла.
При необходимости долейте масло до уровня контрольного отверстия.
Масло в редукторе следует менять в сроки, указанные в карте смазки.
Шарниры, шлицы приводных валов привода лебедки, подшипники вала барабана и направляющего ролика необходимо смазывать согласно карте смазки.
Отсоедините кардан. Освободить кронштейны 9 (рис. 4) от насадки и снять их вместе с направляющим роликом 14 и направляющим стержнем 13 троса.
Отвернуть болты крепления предохранительной скобы 4 лебедки к передней поперечине 15 лебедки и снять скобу.
Отстегнуть съемные кронштейны 2 переднего буфера. Отверните болты крепления кронштейнов переднего буфера к раме и болты крепления передней поперечины лебедки к переднему буферу.
Снимите болты, крепящие передний буфер к кронштейнам крепления переднего буфера 8. С помощью подъемника снимите передний буфер в сборе с лебедкой и отсоедините его от буфера. Поместите лебедку на стенд для разборки.
Перед разборкой лебедку необходимо очистить от грязи и пыли, промыть обезжиривающим раствором и продуть сжатым воздухом.
Разборку лебедки производят в исключительных случаях, так как она работает с перебоями и ее детали не имеют интенсивного износа.
Разборка лебедки
Снятие барабана.
Размотать трос, отвернуть болты крепления траверсы 10 к поперечинам лебедки, снять шплинт и выбить штифт 12 вилки зацепления барабана лебедки, затем снять траверсу, тормозную колодку 11, муфту лебедки, вынуть шпонки из пазов вала вынуть барабан 16 троса лебедки (рис. 5).
При разборке запрещается снимать барабан 15 (см. рис. 2) червячного тормоза лебедки, вкручивая болты до упора в манжету, что приводит к ее повреждению и потере герметичности.
Для того, чтобы болты не упирались в манжету, ввернуть болты на 7-8 мм, подцепить болты съемником и снять барабан.
Разборка редуктора лебедки
Отвернуть болты и снять крышки 6 и 26 (см. рис. 2).
Расшплинтовать и вывернуть болты крепления вала барабана 7 и снять монтажную шайбу 4 и прокладки 8.
Отвернуть болты крепления и снять крышку 12 картера 13 коробки передач.
Снять вал 7 барабана в сборе с червячным колесом 3.
Отвернуть гайку крепления фланца 16 червячного вала 21 редуктора, отвернуть гайку, снять шайбу и фланец вручную.
Если фланец невозможно снять вручную, используйте съемник мод. 20П-7968.
Отвернуть болты крепления крышки автоматического тормоза редуктора лебедки, снять крышку с манжетой 17 в сборе и упорной шайбой.
Отвернуть болты крышки 10 пружины 23 и снять крышку. Ослабьте гайки тормозной ленты и снимите ленту 9.
С помощью съемника снимите тормозной барабан 15 с манжетой.
Способ снятия тормозного барабана лебедки показан на рис. 5.
Отвернуть болты крепления и снять крышки 14 и 22 с прокладками (см. рис. 2).
Установите картер 13 редуктора в сборе с червяком на пресс и выпрессуйте червячный вал в сборе с кольцами подшипников (рис. 7).
Выпрессовывает одно наружное кольцо подшипника.
При необходимости другое кольцо можно выпрессовать с помощью оправки или съемника.
Спрессовать внутренние кольца подшипников с червячного вала с помощью съемника мод. 20П-7968 (рис. 6).
Снять подшипники 2 (см. рис. 2) вала барабана лебедки, выпрессовать штифт, соединяющий вал 7 и червячное колесо 3.
Установить червячное колесо под пресс на полую подставку, направляя вал барабана через него, затем выдавите вал из ступицы червячного колеса (рис. 9) и выньте шпонки из пазов вала.
Разборка карданного привода лебедки
Разборка карданной передачи лебедки производится аналогично разборке карданной передачи автомобиля.
Привод лебедки показан на рис. 3
Детали лебедки
При наличии трещин и разрывов на корпусе редуктора, крышках и других деталях лебедки их следует заменить.
Допускается заварка нескольких трещин на деталях из серого и ковкого чугуна. Повреждение резьбы на деталях лебедки допускается не более чем на две нити.
Изношенные отверстия в корпусе редуктора под наружные кольца подшипников устранить установкой ремонтных втулок.
Несоосность отверстия картера и отверстия ремонтной втулки под подшипник допускается не более 0,05 мм.
Неперпендикулярность торцов корпуса редуктора под крышками подшипников относительно поверхности отверстий под подшипники допускается не более 0,08 мм.
Изношенные шейки валов и осей избыточных размеров могут быть отремонтированы хромированием с последующей обработкой до номинальных размеров. Погнутые или искривленные валы подлежат замене.
Биение шеек червячного вала под подшипник допускается не более 0,05 мм. Биение торцевых поверхностей червячного вала в местах сопряжения с подшипниками не более 0,03 мм.
Биение торца венца червячного колеса (при установке вала на опоры) не более 0,12 мм. Биение конца вала, установленного с шейками на опорах, не более 0,06 мм.
Подшипники с повышенным люфтом, кольцевыми трещинами, забоинами и пятнами коррозии на рабочих поверхностях подлежат замене.
Фланцы не должны иметь повреждений сопрягаемых поверхностей. Задиры на поверхности фланца или на тормозном барабане необходимо удалить шлифовкой.
При наличии износа ножек вилки или износа канавки скользящей муфты чрезмерного размера в механизме зацепления барабана их следует заменить.
Погнутую вилку можно отремонтировать путем выпрямления. В случае поломки или износа зуба червяка или зуба венца червячного колеса чрезмерного размера их следует заменить.
Изношенные увеличенные втулки и фрикционные накладки тормозов подлежат замене.
Несоосность внутренних поверхностей втулок трубы ролика троса направляющего допускается не более 0,1 мм.
Сборка и регулировка лебедки
Детали лебедки перед сборкой необходимо промыть обезжиривающим раствором, продуть сжатым воздухом и проверить на пригодность к сборке. Манжеты, уплотнения и прокладки в случае повреждения необходимо заменить новыми.
Лебедка собирается в порядке, обратном разборке.
Перед запрессовкой манжеты крышки подшипника червяка коробки передач наружную поверхность корпуса манжеты и посадочное место манжеты следует смазать тонким слоем клея АК-20.
Конические роликоподшипники необходимо отрегулировать с предварительным натягом при установке крышек подшипников редуктора.
Крутящий момент, необходимый для вращения червячного вала в подшипниках, должен составлять 0,1-0,6 Н·м.
После регулировки червячный вал должен свободно вращаться при полностью затянутых болтах крышек подшипников, но без осевого зазора.
Регулировка конических подшипников осуществляется с помощью прокладок, подкладываемых под фланцы крышек.
Если червячный вал вращается слишком свободно или имеет осевой зазор, необходимо удалить часть прокладок одинаковой толщины из-под передней и задней крышек подшипников; если червячный вал вращается с крутящим моментом более 0,6 Нм, под обе крышки подшипников следует добавить прокладки одинаковой толщины.
Количество прокладок под крышки заднего и переднего подшипников должно быть примерно одинаковым или иметь разницу в толщине прокладок не более 0,1 мм.
Изменение толщины прокладок под крышками возможно только при регулировке зацепления зубьев червячной передачи.
Регулировка конических подшипников редуктора производится перед установкой червячного колеса в сборе с валом, фланцем и тормозным барабаном в редуктор.
После регулировки тормоза болты, прокладки и гайки крепления тормозного барабана посадить на клей АК-20.
После установки червячного колеса на вал лебедки нажмите и отцентрируйте штифт.
Перед установкой вала барабана с червячным колесом в сборе проверьте износ втулок и шеек вала барабана.
Допустимый зазор между диаметром втулок и шеек не должен превышать 0,6 мм.
Если зазор больше, втулки необходимо заменить. Установочный штифт втулки не должен выступать за поверхность внутреннего диаметра втулки.
После установки механизма переключения и траверсы на вал барабана зафиксируйте монтажную шайбу и отрегулируйте осевое перемещение вала.
Вал должен вращаться свободно, но не должен иметь осевой зазор более 0,1 мм (при измерении индикатором на левом конце вала барабана) при перемещении колеса в осевом направлении.
После регулировки подшипников червячного вала и регулировки осевого зазора вала барабана рекомендуется проверить правильность зацепления зубьев червячного колеса и червяка по «краске» по пятну контакта.
При правильно отрегулированной передаче пятно контакта на рабочей стороне зуба червячного колеса должно соответствовать участку, показанному на рис. 10.
Правильное расположение пятна контакта относительно оси симметрии зуба достигается соответствующим перемещением вала барабана с червячным колесом в направлении, противоположном смещению пятна контакта.
Для перемещения червячного колеса с валом барабана вправо или влево снять или добавить часть проставок под торец опорной шайбы
Регулировка размера пятна контакта по высоте зуба достигается за счет перемещение червяка относительно червячного колеса; для этого необходимо переложить прокладки из-под крышки подшипника с одной стороны на другую, не изменяя при этом предварительный натяг в подшипниках.
Червячная передача может надежно работать только в том случае, если она правильно зацеплена.
Неправильная регулировка приводит к сильному нагреву коробки передач.
При установке автоматического тормоза его необходимо отрегулировать.
Результат регулировки следует проверять при разматывании троса, при этом тормозной барабан не должен сильно нагреваться из-за трения тормозной ленты.
Слабое дымление тормозной ленты при обкатке не может быть браковочным признаком.
Натяжение тормозной ленты регулируется гайкой (рис. 11), которая при вращении вправо увеличивает натяжение ленты и торможение.
Для проверки затяжки червячного тормоза допускается снимать крышку тормоза редуктора и крышку пружины перед намоткой троса на барабан.
Зазор между витками пружины тормозной ленты должен быть в пределах 1-1,5 мм.
После сборки лебедки необходимо проверить работу механизма включения барабана лебедки.
При выключенном сцеплении тормозная колодка 2 (рис.
12) при вращении барабана должна подтормаживать барабан 1, что предотвратит возможность саморазматывания троса при ручной размотке.
Тормоз регулируется затягиванием или ослаблением пружины нажимного болта 3 с помощью гайки с контргайкой, а при необходимости (при недостаточной силе пружины) — перемещением этого болта путем ввинчивания или выкручивания направляющего нажимного болта.
Давление тормозной пружины установлено правильно, если трос разматывается вручную без саморасцепления.
При установке направляющего ролика троса лебедки затяните гайку крепления ролика моментом 120 Нм и загните края в паз.
Установка лебедки на автомобиль
Закрепите переднюю и заднюю поперечины на лебедке. Подсоедините передний буфер к передней поперечине лебедки.
Установите лебедку в сборе с передним буфером на раму автомобиля I с помощью подъемного устройства и закрепите заднюю поперечину лебедки на первой поперечине рамы, а буфер в сборе съемными кронштейнами к лонжероны рамы.


