Котел на твердом топливе МЕРКУРИЙ КСТБ 95 квт
Производимые котлы, работающие на местных (твердых) видах топлива, предназначены для отопления и теплоснабжения частных домов, помещений административного, бытового и производственного назначений, оборудованных системами водяного отопления и горячего водоснабжения с естественной либо принудительной циркуляцией теплоносителя.
- Мощность твердотопливных котлов ― до 100 кВт.
- Отапливаемая площадь помещений от использования одного твердотопливного котла КСТБ ― до 1200 м2.
- Котлы стальные, сварной конструкции, толщиной стали ― до 6 мм.
- Средний срок службы ― до 15 лет.
- Гарантийный срок ― 30 месяцев.
Качество отопительных котлов подтверждено сертификатами соответствия.
Котлы комплектуются предохранительным клапаном, который монтируется в верхней части котла, термометром и манометром.
Так же дополнительно отопительные твердотопливные котлы могут быть оборудованы терморегулятором (позволяющим регулировать температуру теплоносителя в отопительной системе в диапазоне 30°С ― 90°С. Конструкция котла КСТБ позволяет устанавливать высокопроизводительные проточные водонагреватели для снабжения помещений горячей водой (двухконтурные котлы). Для отопления используется твердые виды топлива: дрова, древесные отходы, каменный уголь, брикеты торфа, кокс и др.
Отличительная особенность предлагаемых нами твердотопливных котлов отопления: их высокая производительность, экологически чистые продукты сгорания (вредные выбросы практически отсутствуют), использование современных технологий, позволяющих использовать принцип газогенерации с целью экономного расходования топлива, увеличения коэффициента полезного действия и снижения вредных выбросов за счёт догорания в дополнительной конвективной части котла газов СО и СН, образующихся при первичном горении топлива. Длительность горения одной полной закладки топлива ― до 12 часов.
Дрова, уголь и торф – недорогая альтернатива газу и нефти. Сжигание опилок, щепы, подсолнечной лузги, а также производимые из них брикетов и гранул позволяет заодно решить проблему утилизации отходов деревообработки и сельскохозяйственных производств. Современные решения обеспечивают качественное экологически чистое сжигание и высокую степень автоматизации твердотопливных котлов.
Твердотопливные котлы КСТБ изготавливаются по патенту на основе передовых высокоэффективных европейских технологий под строгим контролем официальных представителей разработчика. Система контроля качества на всех этапах производства обеспечивает полное соответствие котлов нормам и стандартам качества установленными действующими техническими нормативно-правовыми актами Российской Федерации и Таможенного союза. Имеется действующий сертификат соответствия Таможенного союза, а также санитарно-гигиеническое заключение о пригодности к использованию котлов. Каждый выпускаемый котел подвергается сплошному контролю соответствия качества по всем параметрам. При выпуске продукции выполняются наладочные работы, а также приемочные испытания давлением каждой единицы в индивидуальном порядке.
Мы поможем Вам подобрать отопительный твердотопливный котел длительного горения КСТБ и BESSER наиболее удовлетворяющий Вас по соотношению цена/качество и максимально подходящий для Ваших целей и условий эксплуатации.
Котел КСТБ-95 с терморегулятором
Технические характеристики
| Наименование параметра | Норма и характеристика котла |
| Габаритные размеры, длина*ширина*высота, мм, не более | 1715х1030х1465 |
| Номинальная теплопроизводительность котла, кВт | 95 |
| Ориентировочная площадь обогрева, м2 | 1200 |
| Вид топлива | Дрова, щепа, опилки, отходы деревообработки, торф (брикеты) влажностью 30-40%, уголь влажностью до 25% |
| КПД, % | 85 |
| Объем воды в котле, м3, не менее | 0,93 |
| Рабочее давление воды, МПа, не более | 0,25 |
| Минимальная температура воды, °С | 40 |
| Максимальная температура воды, °С | 95 |
| Температура уходящих газов, °С, не менее | 140 |
| Разрежение за котлом, Па, не более | 40 |
| Обьем камеры сгорания, м3, не менее | 0,59 |
| Расход топлива, при установленной мощности кг/ч, не более | 48,5 |
| Масса, кг, не более | 750 |
deal.by
Газогенераторный котел КСТБ-95 с терморегулятором
Стальные твердотопливные бытовые котлы марки КСТБ теплопроизводительностью до 100 кВт, работают по принципу газогенерации, рассчитаны прежде всего на работу на местных видах твердого топлива – дрова, щепа, опилки, древесные отходы, брикет и т.п., так как только при сжигании дров и древесных отходов достигается идеальный принцип газогенерации (пиролиза) – догорание древесного газа, (соединений СО и СН) во вторичной камере сгорания котлов КСТБ, чем достигается высокий КПД ― 85% и выше в зависимости от качества используемого топлива и значительная экономия топлива. Котлы КСТБ выпускаются мощностью 10, 30, 50, 75 и 95 кВт, делятся на одноконтурные (только для отопления) и двухконтурные (отопление плюс горячее водоснабжение, имеется гигиеническое удостоверение).
Хорошая изоляция отопительного котла (толщина до 50 мм) обеспечивает малые теплопотери. В котле КСТБ имеется механизм для встряхивания колосниковой решетки во избежание затухания горения топлива, что позволяет встряхивать загрузку топлива без открывания дверец котла отопления. Отапливаемая площадь до 1200 м2. Котлы КСТБ изготовлены из стали толщиной до 6 мм, сварной конструкции. Средний срок службы до 15 лет. Твердотопливные котлы оборудованы системой ручной либо автоматической (термостат) регулировки подачи воздуха (естественной тяги) в камеру сгорания, позволяющей регулировать процесс горения топлива и температуру воды в отопительной системе в диапазоне 30°С ― 90°С с помощью регулировочного винта либо автоматического регулятора тяги ― терморегулятор. Загрузочная камера соединена в верхней части отопительного котла с конвекционными каналами, которые заканчиваются люком для прочистки и выходом в дымоход, обеспечивая лабиринтный ход дымовых газов. Котлы имеют развитую поверхность теплообмена.
Твердотопливные котлы КСТБ комплектуются предохранительным клапаном, который монтируется в верхней части котла, термометром и манометром.
Конструкция котла позволяет устанавливать высокопроизводительные проточные водонагреватели для снабжения помещений горячей водой (двухконтурные котлы).
Гигиеническое удостоверение №08-33-4.92791 от 03.08.2010г.
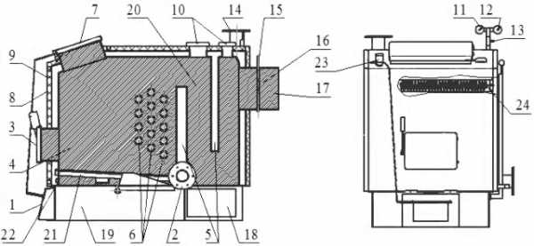
1 ― заслонка; 2 ― патрубок; 3 ― дверца нижняя; 4 ― топка; 5 ― перегородки; 6 ― трубы радиационные; 7 ― дверца верхняя; 8 ― обшивка; 9 ― теплоизоляция; 10 ― крышки; 11 ― манометр; 12 ― термометр; 13 ― клапан предохранительный; 14 ― патрубок верхний; 15 ― рукоятка шибера; 16 ― шибер; 17 ― дымоход; 18 ― лючок зольника; 19 ― зольник; 20 ― камера поворотная; 21 ― колосники; 22 ― патрубок опорожнения котла; 23 ― регулятор подачи воздуха механический; 24 ― водоподогреватель проточный.
Твердотопливный котел представляет собой стальную цельносварную конструкцию с нижним сгоранием твердого топлива состоящую из топки 4 (камеры сгорания), одновременно являющуюся загрузочной камерой, камеры поворотной дымовых газов (дожигания) 20, разделенными омываемыми водой перегородками 5. В топку, для улучшения теплообмена с теплоносителем, встроены омываемые водой цельнотянутые трубы радиационные 6 и колосники 21 (см. схему).
Пространство между стенками котла, разделительные перегородки, колосники и трубы радиационные образуют «водяную рубашку» котла КСТБ.
Для подсоединения котла к отопительной системе используется патрубок верхний 14 (выход нагретого теплоносителя из котла), служащий для подключения к подающему трубопроводу и патрубок нижний 2 (вход обратного теплоносителя), служащий для подключения к обратному трубопроводу.
На передней наклонной поверхности твердотопливного котла КСТБ расположена дверца верхняя 7, закрывающая загрузочное окно, через которое производится загрузка мелких фракций топлива в топку. Дверца нижняя 3 предназначена для обслуживания колосников и загрузки топлива крупных размеров (поленья древесины и др.).
Заслонка 1, регулируемая вручную либо при помощи регулятора подачи воздуха (терморегулятора) 23, предназначена для подачи в камеру сгорания воздуха, обеспечивающего горение топлива.
В дымоходе 16 размещен шибер 15 для регулировки величины разрежения за котлом. Положение шибера определяется положением рукоятки шибера 15.
Под камерой сгорания располагается лючок зольника 18, предназначенный для удаления золы, образующейся при сгорании твердого топлива.
Наружная поверхность твердотопливного котла защищена теплоизоляцией 9 и закрыта обшивкой 8.
На верхней поверхности котла находится патрубок для установки клапана предохранительного 13, служащего для защиты системы от превышения давления, манометра 11 и термометра 12.
На боковой поверхности котла КСТБ расположены водоподогреватель проточный 24 и патрубок опорожнения котла 22.
Водоподогреватель проточный предназначен для подогрева воды из системы центрального водоснабжения до температуры 35-70°С при потоке от 7 до 15 л/мин с целью использования ее для горячего водоснабжения.
Предлагаемые нами твердотопливные отопительные котлы широко применяются в жилищно-коммунальном хозяйстве, в сфере потребительских коопераций, в дорожно-ремонтных и строительных организациях, лесхозах и т.д. Котлы предназначены для теплоснабжения дачи, частного дома, малоэтажных жилых зданий, зданий и помещений административного, бытового и производственного назначений, оборудованных системами водяного отопления и горячего водоснабжения с естественной либо принудительной циркуляцией теплоносителя.
- Министерством природных ресурсов и охраны окружающей среды, Департаментом по энергоэффективности Государственного комитета по стандартизации.
- Модель котла защищена патентом № 3139 на полезную модель «Котел отопительный» выдан Национальным центром интеллектуальной собственности Государственного комитета по науке и технологиям, зарегистрирован в Государственном реестре полезных моделей 01 сентября 2006 года. Обозначение патента BY 3139 U 2006.12.30.
- Котлы марки КСТБ объявлены победителем конкурса «Лучший строительный продукт» в номинации «Отопительная техника и оборудование года» за 2009, 2010, 2011, 2012, 2013 и 2014 года.
Одноконтурные котлы
Все котлы изготавливаются из специальной котловой стали толщиной до 6мм. Котлы марок КСТБ, BESER в базовой комплектации производятся с ручной системой регулирования подачи воздуха в камеру сгорания (т.е. регулирование процесса горения происходит вручную с помощью регулировочного винта) либо могут комплектоваться механическим регулятором подачи воздуха в камеру сгорания (терморегулятор) с помощью регулировочной тяги (тросcик) по заявке заказчиков. Его наличие обеспечивает автоматическое регулирование процесса горения топлива (в зависимости от заданной ручным регулятором температуры теплоносителя).По специальному заказу котлы марки КСТБ, BESER, КТП вместо регулятора подачи воздуха в камеру сгорания либо в дополнение к нему могут быть оборудованы микропроцессорным контроллером управления работой котла (торговой марки TECH, KG-elektronik, Kom-Ster или других) с вентилятором наддува воздуха в камеру сгорания. На котлах всех марок любой теплопроизводительности конструкцией предусмотрена возможность установки водоподогревателей проточного типа для нужд горячего водоснабжения. По требованию заказчика (при оформлении соответствующего заказа) котел любой марки может быть дополнительно оборудован вышеуказанным водоподогревателем проточного типа.
Твердотопливные котлы без терморегулятора
Котёл на твердом топливе КСТБ-10
Теплопроизводительность котла: 10 кВтНазначение: отопление (одноконтурный)
Установка: напольная
Отапливаемая площадь: 120 м2
Размеры (ДхШхВ): 1050x520x950 мм
Вес: 180 кг
Гарантия: 2,5 года
Котёл на твердом топливе КСТБ-20
Теплопроизводительность котла: 20 кВтНазначение: отопление (одноконтурный)
Установка: напольная
Отапливаемая площадь: 230 м2
Размеры (ДхШхВ): 1150x650x1100 мм
Вес: 250 кг
Гарантия: 2,5 года
Котёл на твердом топливе КСТБ-30
Теплопроизводительность котла: 30 кВтНазначение: отопление (одноконтурный)
Установка: напольная
Отапливаемая площадь: 350 м2
Размеры (ДхШхВ): 1250x680x1150 мм
Вес: 350 кг
Гарантия: 2,5 года
Котёл на твердом топливе КСТБ-50
Теплопроизводительность котла: 50 кВтНазначение: отопление (одноконтурный)
Установка: напольная
Отапливаемая площадь: 620 м2
Размеры (ДхШхВ): 1470x870x1435 мм
Вес: 560 кг
Гарантия: 2,5 года
Котёл на твердом топливе КСТБ-75
Теплопроизводительность котла: 75 кВтНазначение: отопление (одноконтурный)
Установка: напольная
Отапливаемая площадь: 850 м2
Размеры (ДхШхВ): 1600x940x1485 мм
Вес: 640 кг
Гарантия: 2,5 года
Котёл на твердом топливе КСТБ-95
Теплопроизводительность котла: 95 кВтНазначение: отопление (одноконтурный)
Установка: напольная
Отапливаемая площадь: 1200 м2
Размеры (ДхШхВ): 1715x1030x1565 мм
Вес: 750 кг
Гарантия: 2,5 года
Котёл на твердом топливе КСТБ-150
Теплопроизводительность котла: 150 кВтНазначение: отопление (одноконтурный)
Установка: напольная
Отапливаемая площадь: 1600 м2
Размеры (ДхШхВ): 2030x1160x1600 мм
Вес: 940 кг
Гарантия: 2,5 года
Котел КСТБ-10 без терморегулятора и теплообменника
Технические характеристики
| Наименование параметра | Норма и характеристика котла |
| Габаритные размеры, длина*ширина*высота, мм, не более | 1050х520х950 |
| Номинальная теплопроизводительность котла, кВт | 10 |
| Ориентировочная площадь обогрева, м2 | 120 |
| Вид топлива | Дрова, щепа, опилки, отходы деревообработки, торф (брикеты) влажностью 30-40%, уголь влажностью до 25% |
| КПД, % | 85 |
| Рабочее давление воды, МПа, не более | 0,25 |
| Гидравлическое сопротивление, МПа не менее | 0,015 |
| Максимальная температура воды, °С | 95 |
| Температура уходящих газов, °С, не менее | 140 |
| Разрежение за котлом, Па, не более | 20 |
| Обьем камеры сгорания, м3, не менее | 0,06 |
| Расход топлива, при установленной мощности кг/ч, не более | 2,2 |
| Масса, кг, не более | 180 |
Котел КСТБ-30 без терморегулятора и теплообменника
Технические характеристики
| Наименование параметра | Норма и характеристика котла |
| Габаритные размеры, длина*ширина*высота, мм, не более | 1250х680х1150 |
| Номинальная теплопроизводительность котла, кВт | 30 |
| Ориентировочная площадь обогрева, м2 | 350 |
| Вид топлива | Дрова, щепа, опилки, отходы деревообработки, торф (брикеты) влажностью 30-40%, уголь влажностью до 25% |
| КПД, % | 85 |
| Рабочее давление воды, МПа, не более | 0,25 |
| Минимальная температура воды, °С | 40 |
| Максимальная температура воды, °С | 95 |
| Температура уходящих газов, °С, не менее | 140 |
| Разрежение за котлом, Па, не более | 40 |
| Обьем камеры сгорания, м3, не менее | 0,14 |
| Расход топлива, при установленной мощности кг/ч, не более | 5,2 |
| Масса, кг, не более | 350 |
Котел КСТБ-50 без терморегулятора и теплообменника
Технические характеристики
| Наименование параметра | Норма и характеристика котла |
| Габаритные размеры, длина*ширина*высота, мм, не более | 1470х870х1435 |
| Номинальная теплопроизводительность котла, кВт | 50 |
| Ориентировочная площадь обогрева, м2 | 620 |
| Вид топлива | Дрова, щепа, опилки, отходы деревообработки, торф (брикеты) влажностью 30-40%, уголь влажностью до 25% |
| КПД, % | 85 |
| Объем воды в котле, м3, не менее | 0,58 |
| Рабочее давление воды, МПа, не более | 0,25 |
| Минимальная температура воды, °С | 40 |
| Максимальная температура воды, °С | 95 |
| Температура уходящих газов, °С, не менее | 140 |
| Разрежение за котлом, Па, не более | 40 |
| Обьем камеры сгорания, м3, не менее | 0,31 |
| Расход топлива, при установленной мощности кг/ч, не более | 8,8 |
| Масса, кг, не более | 560 |
Котел BКСТБ-75 без терморегулятора и теплообменника
Технические характеристики
| Наименование параметра | Норма и характеристика котла |
| Габаритные размеры, длина*ширина*высота, мм, не более | 1600х940х1485 |
| Номинальная теплопроизводительность котла, кВт | 75 |
| Ориентировочная площадь обогрева, м2 | 850 |
| Вид топлива | Дрова, щепа, опилки, отходы деревообработки, торф (брикеты) влажностью 30-40%, уголь влажностью до 25% |
| КПД, % | 85 |
| Объем воды в котле, м3, не менее | 0,76 |
| Рабочее давление воды, МПа, не более | 0,25 |
| Минимальная температура воды, °С | 40 |
| Максимальная температура воды, °С | 95 |
| Температура уходящих газов, °С, не менее | 140 |
| Разрежение за котлом, Па, не более | 40 |
| Обьем камеры сгорания, м3, не менее | 0,44 |
| Расход топлива, при установленной мощности кг/ч, не более | 12,5 |
| Масса, кг, не более | 640 |
Котел КСТБ-95 без терморегулятора и теплообменника
Технические характеристики
| Наименование параметра | Норма и характеристика котла |
| Габаритные размеры, длина*ширина*высота, мм, не более | 1715х1030х1565 |
| Номинальная теплопроизводительность котла, кВт | 95 |
| Ориентировочная площадь обогрева, м2 | 1200 |
| Вид топлива | Дрова, щепа, опилки, отходы деревообработки, торф (брикеты) влажностью 30-40%, уголь влажностью до 25% |
| КПД, % | 85 |
| Объем воды в котле, м3, не менее | 0,93 |
| Рабочее давление воды, МПа, не более | 0,25 |
| Минимальная температура воды, °С | 40 |
| Максимальная температура воды, °С | 95 |
| Температура уходящих газов, °С, не менее | 140 |
| Разрежение за котлом, Па, не более | 40 |
| Обьем камеры сгорания, м3, не менее | 0,59 |
| Расход топлива, при установленной мощности кг/ч, не более | 16,2 |
| Масса, кг, не более | 750 |
Котел КСТБ-20 без терморегулятора и теплообменника
Технические характеристики
| Наименование параметра | Норма и характеристика котла |
| Габаритные размеры, длина*ширина*высота, мм, не более | 1150х650х1100 |
| Номинальная теплопроизводительность котла, кВт | 20 |
| Ориентировочная площадь обогрева, м2 | 230 |
| Вид топлива | Дрова, щепа, опилки, отходы деревообработки, торф (брикеты) влажностью 30-40%, уголь влажностью до 25% |
| КПД, % | 85 |
| Рабочее давление воды, МПа, не более | 0,25 |
| Минимальная температура воды, °С | 40 |
| Максимальная температура воды, °С | 95 |
| Температура уходящих газов, °С, не менее | 140 |
| Разрежение за котлом, Па, не более | 20 |
| Обьем камеры сгорания, м3, не менее | 0,59 |
| Расход топлива, при установленной мощности кг/ч, не более | 3,7 |
| Масса, кг, не более | 270 |
Котел КСТБ-150
Технические характеристики
| Наименование параметра | Норма и характеристика котла |
| Габаритные размеры, длина*ширина*высота, мм, не более | 2030х1160х1600 |
| Номинальная теплопроизводительность котла, кВт | 150 |
| Ориентировочная площадь обогрева, м2 | 1600 |
| Вид топлива | Дрова, щепа, опилки, отходы деревообработки, торф (брикеты) влажностью 30-40%, уголь влажностью до 25% |
| КПД, % | 80 |
| Объем воды в котле, м3, не менее | 0,18 |
| Рабочее давление воды, МПа, не более | 0,25 |
| Минимальная температура воды, °С | 55 |
| Максимальная температура воды, °С | 95 |
| Температура уходящих газов, °С, не менее | 140 |
| Разрежение за котлом, Па, не более | 40 |
| Обьем камеры сгорания, м3, не менее | 0,79 |
| Расход топлива, при установленной мощности кг/ч, не более | 22 |
| Масса, кг, не более | 940 |
Твердотопливные котлы c терморегулятором
Котёл на твердом топливе КСТБ-10
Теплопроизводительность котла: 10 кВтНазначение: отопление (одноконтурный)
Установка: напольная
Отапливаемая площадь: 120 м2
Размеры (ДхШхВ): 1050x520x950 мм
Вес: 180 кг
Гарантия: 2,5 года
Котёл на твердом топливе КСТБ-20
Теплопроизводительность котла: 20 кВтНазначение: отопление (одноконтурный)
Установка: напольная
Отапливаемая площадь: 230 м2
Размеры (ДхШхВ): 1150x650x1100 мм
Вес: 250 кг
Гарантия: 2,5 года
Котёл на твердом топливе КСТБ-30
Теплопроизводительность котла: 30 кВтНазначение: отопление (одноконтурный)
Установка: напольная
Отапливаемая площадь: 350 м2
Размеры (ДхШхВ): 1250x680x1150 мм
Вес: 350 кг
Гарантия: 2,5 года
Котёл на твердом топливе КСТБ-50
Теплопроизводительность котла: 50 кВтНазначение: отопление (одноконтурный)
Установка: напольная
Отапливаемая площадь: 620 м2
Размеры (ДхШхВ): 1470x870x1435 мм
Вес: 560 кг
Гарантия: 2,5 года
Котёл на твердом топливе КСТБ-75
Теплопроизводительность котла: 75 кВтНазначение: отопление (одноконтурный)
Установка: напольная
Отапливаемая площадь: 850 м2
Размеры (ДхШхВ): 1600x940x1485 мм
Вес: 640 кг
Гарантия: 2,5 года
Котёл на твердом топливе КСТБ-95
Теплопроизводительность котла: 95 кВтНазначение: отопление (одноконтурный)
Установка: напольная
Отапливаемая площадь: 1200 м2
Размеры (ДхШхВ): 1715x1030x1565 мм
Вес: 750 кг
Гарантия: 2,5 года
Котёл на твердом топливе КСТБ-150
Теплопроизводительность котла: 150 кВтНазначение: отопление (одноконтурный)
Установка: напольная
Отапливаемая площадь: 1600 м2
Размеры (ДхШхВ): 2030x1160x1600 мм
Вес: 940 кг
Гарантия: 2,5 года
Котел КСТБ-10 c терморегулятором
Технические характеристики
| Наименование параметра | Норма и характеристика котла |
| Габаритные размеры, длина*ширина*высота, мм, не более | 1050х520х950 |
| Номинальная теплопроизводительность котла, кВт | 10 |
| Ориентировочная площадь обогрева, м2 | 120 |
| Вид топлива | Дрова, щепа, опилки, отходы деревообработки, торф (брикеты) влажностью 30-40%, уголь влажностью до 25% |
| КПД, % | 85 |
| Объем воды в котле, м3, не менее | 0,18 |
| Рабочее давление воды, МПа, не более | 0,25 |
| Минимальная температура воды, °С | 40 |
| Максимальная температура воды, °С | 95 |
| Температура уходящих газов, °С, не менее | 140 |
| Разрежение за котлом, Па, не более | 20 |
| Обьем камеры сгорания, м3, не менее | 0,06 |
| Расход топлива, при установленной мощности кг/ч, не более | 2,2 |
| Масса, кг, не более | 180 |
Котел КСТБ-30 с терморегулятором
Технические характеристики
| Наименование параметра | Норма и характеристика котла |
| Габаритные размеры, длина*ширина*высота, мм, не более | 1250х680х1150 |
| Номинальная теплопроизводительность котла, кВт | 30 |
| Ориентировочная площадь обогрева, м2 | 350 |
| Вид топлива | Дрова, щепа, опилки, отходы деревообработки, торф (брикеты) влажностью 30-40%, уголь влажностью до 25% |
| КПД, % | 85 |
| Объем воды в котле, м3, не менее | 0,39 |
| Рабочее давление воды, МПа, не более | 0,25 |
| Минимальная температура воды, °С | 40 |
| Максимальная температура воды, °С | 95 |
| Температура уходящих газов, °С, не менее | 140 |
| Разрежение за котлом, Па, не более | 40 |
| Обьем камеры сгорания, м3, не менее | 0,14 |
| Расход топлива, при установленной мощности кг/ч, не более | 5,2 |
| Масса, кг, не более | 350 |
Котел КСТБ-50 с терморегулятором
Технические характеристики
| Наименование параметра | Норма и характеристика котла |
| Габаритные размеры, длина*ширина*высота, мм, не более | 1470х870х1435 |
| Номинальная теплопроизводительность котла, кВт | 50 |
| Ориентировочная площадь обогрева, м2 | 620 |
| Вид топлива | Дрова, щепа, опилки, отходы деревообработки, торф (брикеты) влажностью 30-40%, уголь влажностью до 25% |
| КПД, % | 85 |
| Объем воды в котле, м3, не менее | 0,58 |
| Рабочее давление воды, МПа, не более | 0,25 |
| Минимальная температура воды, °С | 40 |
| Максимальная температура воды, °С | 95 |
| Температура уходящих газов, °С, не менее | 140 |
| Разрежение за котлом, Па, не более | 40 |
| Обьем камеры сгорания, м3, не менее | 0,31 |
| Расход топлива, при установленной мощности кг/ч, не более | 8,8 |
| Масса, кг, не более | 560 |
Котел BКСТБ-75 с терморегулятором
Технические характеристики
| Наименование параметра | Норма и характеристика котла |
| Габаритные размеры, длина*ширина*высота, мм, не более | 1600х940х1485 |
| Номинальная теплопроизводительность котла, кВт | 75 |
| Ориентировочная площадь обогрева, м2 | 850 |
| Вид топлива | Дрова, щепа, опилки, отходы деревообработки, торф (брикеты) влажностью 30-40%, уголь влажностью до 25% |
| КПД, % | 85 |
| Объем воды в котле, м3, не менее | 0,76 |
| Рабочее давление воды, МПа, не более | 0,25 |
| Минимальная температура воды, °С | 40 |
| Максимальная температура воды, °С | 95 |
| Температура уходящих газов, °С, не менее | 140 |
| Разрежение за котлом, Па, не более | 40 |
| Обьем камеры сгорания, м3, не менее | 0,44 |
| Расход топлива, при установленной мощности кг/ч, не более | 12,5 |
| Масса, кг, не более | 640 |
Котел КСТБ-95 с терморегулятором
Технические характеристики
| Наименование параметра | Норма и характеристика котла |
| Габаритные размеры, длина*ширина*высота, мм, не более | 1715х1030х1565 |
| Номинальная теплопроизводительность котла, кВт | 95 |
| Ориентировочная площадь обогрева, м2 | 1200 |
| Вид топлива | Дрова, щепа, опилки, отходы деревообработки, торф (брикеты) влажностью 30-40%, уголь влажностью до 25% |
| КПД, % | 85 |
| Объем воды в котле, м3, не менее | 0,93 |
| Рабочее давление воды, МПа, не более | 0,25 |
| Минимальная температура воды, °С | 40 |
| Максимальная температура воды, °С | 95 |
| Температура уходящих газов, °С, не менее | 140 |
| Разрежение за котлом, Па, не более | 40 |
| Обьем камеры сгорания, м3, не менее | 0,59 |
| Расход топлива, при установленной мощности кг/ч, не более | 16,2 |
| Масса, кг, не более | 750 |
pkmercury.by
Газогенераторный котел КСТБ-95 двухконтурный с терморегулятором и автоматикой
Стальные твердотопливные бытовые котлы марки КСТБ теплопроизводительностью до 100 кВт, работают по принципу газогенерации, рассчитаны прежде всего на работу на местных видах твердого топлива – дрова, щепа, опилки, древесные отходы, брикет и т.п., так как только при сжигании дров и древесных отходов достигается идеальный принцип газогенерации (пиролиза) – догорание древесного газа, (соединений СО и СН) во вторичной камере сгорания котлов КСТБ, чем достигается высокий КПД ― 85% и выше в зависимости от качества используемого топлива и значительная экономия топлива. Котлы КСТБ выпускаются мощностью 10, 30, 50, 75 и 95 кВт, делятся на одноконтурные (только для отопления) и двухконтурные (отопление плюс горячее водоснабжение, имеется гигиеническое удостоверение).
Хорошая изоляция отопительного котла (толщина до 50 мм) обеспечивает малые теплопотери. В котле КСТБ имеется механизм для встряхивания колосниковой решетки во избежание затухания горения топлива, что позволяет встряхивать загрузку топлива без открывания дверец котла отопления. Отапливаемая площадь до 1200 м2. Котлы КСТБ изготовлены из стали толщиной до 6 мм, сварной конструкции. Средний срок службы до 15 лет. Твердотопливные котлы оборудованы системой ручной либо автоматической (термостат) регулировки подачи воздуха (естественной тяги) в камеру сгорания, позволяющей регулировать процесс горения топлива и температуру воды в отопительной системе в диапазоне 30°С ― 90°С с помощью регулировочного винта либо автоматического регулятора тяги ― терморегулятор. Загрузочная камера соединена в верхней части отопительного котла с конвекционными каналами, которые заканчиваются люком для прочистки и выходом в дымоход, обеспечивая лабиринтный ход дымовых газов. Котлы имеют развитую поверхность теплообмена.
Твердотопливные котлы КСТБ комплектуются предохранительным клапаном, который монтируется в верхней части котла, термометром и манометром.
Конструкция котла позволяет устанавливать высокопроизводительные проточные водонагреватели для снабжения помещений горячей водой (двухконтурные котлы).
Гигиеническое удостоверение №08-33-4.92791 от 03.08.2010г.
1 ― заслонка; 2 ― патрубок; 3 ― дверца нижняя; 4 ― топка; 5 ― перегородки; 6 ― трубы радиационные; 7 ― дверца верхняя; 8 ― обшивка; 9 ― теплоизоляция; 10 ― крышки; 11 ― манометр; 12 ― термометр; 13 ― клапан предохранительный; 14 ― патрубок верхний; 15 ― рукоятка шибера; 16 ― шибер; 17 ― дымоход; 18 ― лючок зольника; 19 ― зольник; 20 ― камера поворотная; 21 ― колосники; 22 ― патрубок опорожнения котла; 23 ― регулятор подачи воздуха механический; 24 ― водоподогреватель проточный.
Твердотопливный котел представляет собой стальную цельносварную конструкцию с нижним сгоранием твердого топлива состоящую из топки 4 (камеры сгорания), одновременно являющуюся загрузочной камерой, камеры поворотной дымовых газов (дожигания) 20, разделенными омываемыми водой перегородками 5. В топку, для улучшения теплообмена с теплоносителем, встроены омываемые водой цельнотянутые трубы радиационные 6 и колосники 21 (см. схему).
Пространство между стенками котла, разделительные перегородки, колосники и трубы радиационные образуют «водяную рубашку» котла КСТБ.
Для подсоединения котла к отопительной системе используется патрубок верхний 14 (выход нагретого теплоносителя из котла), служащий для подключения к подающему трубопроводу и патрубок нижний 2 (вход обратного теплоносителя), служащий для подключения к обратному трубопроводу.
На передней наклонной поверхности твердотопливного котла КСТБ расположена дверца верхняя 7, закрывающая загрузочное окно, через которое производится загрузка мелких фракций топлива в топку. Дверца нижняя 3 предназначена для обслуживания колосников и загрузки топлива крупных размеров (поленья древесины и др.).
Заслонка 1, регулируемая вручную либо при помощи регулятора подачи воздуха (терморегулятора) 23, предназначена для подачи в камеру сгорания воздуха, обеспечивающего горение топлива.
В дымоходе 16 размещен шибер 15 для регулировки величины разрежения за котлом. Положение шибера определяется положением рукоятки шибера 15.
Под камерой сгорания располагается лючок зольника 18, предназначенный для удаления золы, образующейся при сгорании твердого топлива.
Наружная поверхность твердотопливного котла защищена теплоизоляцией 9 и закрыта обшивкой 8.
На верхней поверхности котла находится патрубок для установки клапана предохранительного 13, служащего для защиты системы от превышения давления, манометра 11 и термометра 12.
На боковой поверхности котла КСТБ расположены водоподогреватель проточный 24 и патрубок опорожнения котла 22.
Водоподогреватель проточный предназначен для подогрева воды из системы центрального водоснабжения до температуры 35-70°С при потоке от 7 до 15 л/мин с целью использования ее для горячего водоснабжения.
Предлагаемые нами твердотопливные отопительные котлы широко применяются в жилищно-коммунальном хозяйстве, в сфере потребительских коопераций, в дорожно-ремонтных и строительных организациях, лесхозах и т.д. Котлы предназначены для теплоснабжения дачи, частного дома, малоэтажных жилых зданий, зданий и помещений административного, бытового и производственного назначений, оборудованных системами водяного отопления и горячего водоснабжения с естественной либо принудительной циркуляцией теплоносителя.
- Министерством природных ресурсов и охраны окружающей среды, Департаментом по энергоэффективности Государственного комитета по стандартизации.
- Модель котла защищена патентом № 3139 на полезную модель «Котел отопительный» выдан Национальным центром интеллектуальной собственности Государственного комитета по науке и технологиям, зарегистрирован в Государственном реестре полезных моделей 01 сентября 2006 года. Обозначение патента BY 3139 U 2006.12.30.
- Котлы марки КСТБ объявлены победителем конкурса «Лучший строительный продукт» в номинации «Отопительная техника и оборудование года» за 2009, 2010, 2011, 2012, 2013 и 2014 года.
teploskidka.ru
Газогенераторный котел КСТБ-95 с терморегулятором и автоматикой
Стальные твердотопливные бытовые котлы марки КСТБ теплопроизводительностью до 100 кВт, работают по принципу газогенерации, рассчитаны прежде всего на работу на местных видах твердого топлива – дрова, щепа, опилки, древесные отходы, брикет и т.п., так как только при сжигании дров и древесных отходов достигается идеальный принцип газогенерации (пиролиза) – догорание древесного газа, (соединений СО и СН) во вторичной камере сгорания котлов КСТБ, чем достигается высокий КПД ― 85% и выше в зависимости от качества используемого топлива и значительная экономия топлива. Котлы КСТБ выпускаются мощностью 10, 30, 50, 75 и 95 кВт, делятся на одноконтурные (только для отопления) и двухконтурные (отопление плюс горячее водоснабжение, имеется гигиеническое удостоверение).
Хорошая изоляция отопительного котла (толщина до 50 мм) обеспечивает малые теплопотери. В котле КСТБ имеется механизм для встряхивания колосниковой решетки во избежание затухания горения топлива, что позволяет встряхивать загрузку топлива без открывания дверец котла отопления. Отапливаемая площадь до 1200 м2. Котлы КСТБ изготовлены из стали толщиной до 6 мм, сварной конструкции. Средний срок службы до 15 лет. Твердотопливные котлы оборудованы системой ручной либо автоматической (термостат) регулировки подачи воздуха (естественной тяги) в камеру сгорания, позволяющей регулировать процесс горения топлива и температуру воды в отопительной системе в диапазоне 30°С ― 90°С с помощью регулировочного винта либо автоматического регулятора тяги ― терморегулятор. Загрузочная камера соединена в верхней части отопительного котла с конвекционными каналами, которые заканчиваются люком для прочистки и выходом в дымоход, обеспечивая лабиринтный ход дымовых газов. Котлы имеют развитую поверхность теплообмена.
Твердотопливные котлы КСТБ комплектуются предохранительным клапаном, который монтируется в верхней части котла, термометром и манометром.
Конструкция котла позволяет устанавливать высокопроизводительные проточные водонагреватели для снабжения помещений горячей водой (двухконтурные котлы).
Гигиеническое удостоверение №08-33-4.92791 от 03.08.2010г.
1 ― заслонка; 2 ― патрубок; 3 ― дверца нижняя; 4 ― топка; 5 ― перегородки; 6 ― трубы радиационные; 7 ― дверца верхняя; 8 ― обшивка; 9 ― теплоизоляция; 10 ― крышки; 11 ― манометр; 12 ― термометр; 13 ― клапан предохранительный; 14 ― патрубок верхний; 15 ― рукоятка шибера; 16 ― шибер; 17 ― дымоход; 18 ― лючок зольника; 19 ― зольник; 20 ― камера поворотная; 21 ― колосники; 22 ― патрубок опорожнения котла; 23 ― регулятор подачи воздуха механический; 24 ― водоподогреватель проточный.
Твердотопливный котел представляет собой стальную цельносварную конструкцию с нижним сгоранием твердого топлива состоящую из топки 4 (камеры сгорания), одновременно являющуюся загрузочной камерой, камеры поворотной дымовых газов (дожигания) 20, разделенными омываемыми водой перегородками 5. В топку, для улучшения теплообмена с теплоносителем, встроены омываемые водой цельнотянутые трубы радиационные 6 и колосники 21 (см. схему).
Пространство между стенками котла, разделительные перегородки, колосники и трубы радиационные образуют «водяную рубашку» котла КСТБ.
Для подсоединения котла к отопительной системе используется патрубок верхний 14 (выход нагретого теплоносителя из котла), служащий для подключения к подающему трубопроводу и патрубок нижний 2 (вход обратного теплоносителя), служащий для подключения к обратному трубопроводу.
На передней наклонной поверхности твердотопливного котла КСТБ расположена дверца верхняя 7, закрывающая загрузочное окно, через которое производится загрузка мелких фракций топлива в топку. Дверца нижняя 3 предназначена для обслуживания колосников и загрузки топлива крупных размеров (поленья древесины и др.).
Заслонка 1, регулируемая вручную либо при помощи регулятора подачи воздуха (терморегулятора) 23, предназначена для подачи в камеру сгорания воздуха, обеспечивающего горение топлива.
В дымоходе 16 размещен шибер 15 для регулировки величины разрежения за котлом. Положение шибера определяется положением рукоятки шибера 15.
Под камерой сгорания располагается лючок зольника 18, предназначенный для удаления золы, образующейся при сгорании твердого топлива.
Наружная поверхность твердотопливного котла защищена теплоизоляцией 9 и закрыта обшивкой 8.
На верхней поверхности котла находится патрубок для установки клапана предохранительного 13, служащего для защиты системы от превышения давления, манометра 11 и термометра 12.
На боковой поверхности котла КСТБ расположены водоподогреватель проточный 24 и патрубок опорожнения котла 22.
Водоподогреватель проточный предназначен для подогрева воды из системы центрального водоснабжения до температуры 35-70°С при потоке от 7 до 15 л/мин с целью использования ее для горячего водоснабжения.
Предлагаемые нами твердотопливные отопительные котлы широко применяются в жилищно-коммунальном хозяйстве, в сфере потребительских коопераций, в дорожно-ремонтных и строительных организациях, лесхозах и т.д. Котлы предназначены для теплоснабжения дачи, частного дома, малоэтажных жилых зданий, зданий и помещений административного, бытового и производственного назначений, оборудованных системами водяного отопления и горячего водоснабжения с естественной либо принудительной циркуляцией теплоносителя.
- Министерством природных ресурсов и охраны окружающей среды, Департаментом по энергоэффективности Государственного комитета по стандартизации.
- Модель котла защищена патентом № 3139 на полезную модель «Котел отопительный» выдан Национальным центром интеллектуальной собственности Государственного комитета по науке и технологиям, зарегистрирован в Государственном реестре полезных моделей 01 сентября 2006 года. Обозначение патента BY 3139 U 2006.12.30.
- Котлы марки КСТБ объявлены победителем конкурса «Лучший строительный продукт» в номинации «Отопительная техника и оборудование года» за 2009, 2010, 2011, 2012, 2013 и 2014 года.
teploskidka.ru
Котел на твердом топливе МЕРКУРИЙ КСТБ 95 квт с терморегулятором и с автоматикой Tech ST24
Компания «МЕРКУРИЙ» предлагает твердотопливные котлы «КСТБ» и «BESSER», оснащенные микропроцессорным регулятором ST-24, который позволяет регулировать подачу воздуха и управлять процессом горения в автоматическом режиме по заданным параметрам.
Данный регулятор предназначен для управления котлом, оснащенным наддувом и насосом циркуляции воды в системе отопления. Его задачей является поддержание заданной температуры при помощи вентилятора. Он управляет работой подающего вентилятора и циркуляционного насоса, имеет дополнительный датчик термической защиты, который отключает питание вентилятора в случае превышения температуры 85 °C,что предотвращает вскипание воды в случае перегрева котла или повреждения регулятора.
Благодаря работе вентилятора и автоматики мы имеем НЕОСПОРИМЫЕ ПРЕИМУЩЕСТВА при использовании их на твердотопливных котлах:
- достигается оптимальное и эффективное сгорание топлива
- продлевает срок службы котла
- экономия топлива
- увеличивает время горения без необходимости менять настройки при смене вида топлива
- способствует увеличению существующего КПД
- удобство обслуживания и простота запуска и эксплуатации, не требующие особой квалификации и длительного подбора установок работы как на котлах без электронного управления
Схема установки блока Tech ST24
Технические характеристики
- Напряжение питания: 230В/50Гц +/-10%
- Расход мощности: 2 Вт
- Температура окр. среды: 10-50 °С
- Нагрузка выхода для циркуляционного насоса: 1 А
- Нагрузка выхода на вентилятор: 1 А
- Диапазон измерения температуры: 0-85 °С Точность измерений: 1 °С
- Температурная прочность датчика: 25-100 °С
- Предохранительная плавкая вставка: 1,6 А
Котел КСТБ-95
Технические характеристики
| Наименование параметра | Норма и характеристика котла |
| Габаритные размеры, длина*ширина*высота, мм, не более | 1715х1030х1465 |
| Номинальная теплопроизводительность котла, кВт | 95 |
| Ориентировочная площадь обогрева, м2 | 1200 |
| Вид топлива | Дрова, щепа, опилки, отходы деревообработки, торф (брикеты) влажностью 30-40%, уголь влажностью до 25% |
| КПД, % | 85 |
| Объем воды в котле, м3, не менее | 0,93 |
| Рабочее давление воды, МПа, не более | 0,25 |
| Минимальная температура воды, °С | 40 |
| Максимальная температура воды, °С | 95 |
| Температура уходящих газов, °С, не менее | 140 |
| Разрежение за котлом, Па, не более | 40 |
| Обьем камеры сгорания, м3, не менее | 0,59 |
| Расход топлива, при установленной мощности кг/ч, не более | 48,5 |
| Масса, кг, не более | 750 |
Купить котел на твердом топливе МЕРКУРИЙ КСТБ 95 квт с терморегулятором и с автоматикой Tech ST24 и получить профессиональную консультацию Вы можете, обратившись в офис нашей компании Лаборатория Тепла по адресу: г. Минск,ул.Слободская, дом. 2, пом. 15.
deal.by
Газогенераторный котел КСТБ-95 с терморегулятором, теплообменником, контроллером и вентилятором
Стальные твердотопливные бытовые котлы марки КСТБ теплопроизводительностью до 100 кВт, работают по принципу газогенерации, рассчитаны прежде всего на работу на местных видах твердого топлива – дрова, щепа, опилки, древесные отходы, брикет и т.п., так как только при сжигании дров и древесных отходов достигается идеальный принцип газогенерации (пиролиза) – догорание древесного газа, (соединений СО и СН) во вторичной камере сгорания котлов КСТБ, чем достигается высокий КПД ― 85% и выше в зависимости от качества используемого топлива и значительная экономия топлива. Котлы КСТБ выпускаются мощностью 10, 30, 50, 75 и 95 кВт, делятся на одноконтурные (только для отопления) и двухконтурные (отопление плюс горячее водоснабжение, имеется гигиеническое удостоверение).
Хорошая изоляция отопительного котла (толщина до 50 мм) обеспечивает малые теплопотери. В котле КСТБ имеется механизм для встряхивания колосниковой решетки во избежание затухания горения топлива, что позволяет встряхивать загрузку топлива без открывания дверец котла отопления. Отапливаемая площадь до 1200 м2. Котлы КСТБ изготовлены из стали толщиной до 6 мм, сварной конструкции. Средний срок службы до 15 лет. Твердотопливные котлы оборудованы системой ручной либо автоматической (термостат) регулировки подачи воздуха (естественной тяги) в камеру сгорания, позволяющей регулировать процесс горения топлива и температуру воды в отопительной системе в диапазоне 30°С ― 90°С с помощью регулировочного винта либо автоматического регулятора тяги ― терморегулятор. Загрузочная камера соединена в верхней части отопительного котла с конвекционными каналами, которые заканчиваются люком для прочистки и выходом в дымоход, обеспечивая лабиринтный ход дымовых газов. Котлы имеют развитую поверхность теплообмена.
Твердотопливные котлы КСТБ комплектуются предохранительным клапаном, который монтируется в верхней части котла, термометром и манометром.
Конструкция котла позволяет устанавливать высокопроизводительные проточные водонагреватели для снабжения помещений горячей водой (двухконтурные котлы).
Гигиеническое удостоверение №08-33-4.92791 от 03.08.2010г.

1 ― заслонка; 2 ― патрубок; 3 ― дверца нижняя; 4 ― топка; 5 ― перегородки; 6 ― трубы радиационные; 7 ― дверца верхняя; 8 ― обшивка; 9 ― теплоизоляция; 10 ― крышки; 11 ― манометр; 12 ― термометр; 13 ― клапан предохранительный; 14 ― патрубок верхний; 15 ― рукоятка шибера; 16 ― шибер; 17 ― дымоход; 18 ― лючок зольника; 19 ― зольник; 20 ― камера поворотная; 21 ― колосники; 22 ― патрубок опорожнения котла; 23 ― регулятор подачи воздуха механический; 24 ― водоподогреватель проточный.
Твердотопливный котел представляет собой стальную цельносварную конструкцию с нижним сгоранием твердого топлива состоящую из топки 4 (камеры сгорания), одновременно являющуюся загрузочной камерой, камеры поворотной дымовых газов (дожигания) 20, разделенными омываемыми водой перегородками 5. В топку, для улучшения теплообмена с теплоносителем, встроены омываемые водой цельнотянутые трубы радиационные 6 и колосники 21 (см. схему).
Пространство между стенками котла, разделительные перегородки, колосники и трубы радиационные образуют «водяную рубашку» котла КСТБ.
Для подсоединения котла к отопительной системе используется патрубок верхний 14 (выход нагретого теплоносителя из котла), служащий для подключения к подающему трубопроводу и патрубок нижний 2 (вход обратного теплоносителя), служащий для подключения к обратному трубопроводу.
На передней наклонной поверхности твердотопливного котла КСТБ расположена дверца верхняя 7, закрывающая загрузочное окно, через которое производится загрузка мелких фракций топлива в топку. Дверца нижняя 3 предназначена для обслуживания колосников и загрузки топлива крупных размеров (поленья древесины и др.).
Заслонка 1, регулируемая вручную либо при помощи регулятора подачи воздуха (терморегулятора) 23, предназначена для подачи в камеру сгорания воздуха, обеспечивающего горение топлива.
В дымоходе 16 размещен шибер 15 для регулировки величины разрежения за котлом. Положение шибера определяется положением рукоятки шибера 15.
Под камерой сгорания располагается лючок зольника 18, предназначенный для удаления золы, образующейся при сгорании твердого топлива.
Наружная поверхность твердотопливного котла защищена теплоизоляцией 9 и закрыта обшивкой 8.
На верхней поверхности котла находится патрубок для установки клапана предохранительного 13, служащего для защиты системы от превышения давления, манометра 11 и термометра 12.
На боковой поверхности котла КСТБ расположены водоподогреватель проточный 24 и патрубок опорожнения котла 22.
Водоподогреватель проточный предназначен для подогрева воды из системы центрального водоснабжения до температуры 35-70°С при потоке от 7 до 15 л/мин с целью использования ее для горячего водоснабжения.
Предлагаемые нами твердотопливные отопительные котлы широко применяются в жилищно-коммунальном хозяйстве, в сфере потребительских коопераций, в дорожно-ремонтных и строительных организациях, лесхозах и т.д. Котлы предназначены для теплоснабжения дачи, частного дома, малоэтажных жилых зданий, зданий и помещений административного, бытового и производственного назначений, оборудованных системами водяного отопления и горячего водоснабжения с естественной либо принудительной циркуляцией теплоносителя.
- Министерством природных ресурсов и охраны окружающей среды, Департаментом по энергоэффективности Государственного комитета по стандартизации.
- Модель котла защищена патентом № 3139 на полезную модель «Котел отопительный» выдан Национальным центром интеллектуальной собственности Государственного комитета по науке и технологиям, зарегистрирован в Государственном реестре полезных моделей 01 сентября 2006 года. Обозначение патента BY 3139 U 2006.12.30.
- Котлы марки КСТБ объявлены победителем конкурса «Лучший строительный продукт» в номинации «Отопительная техника и оборудование года» за 2009, 2010, 2011, 2012, 2013 и 2014 года.
sbg.by
