Италия — Всё о Второй мировой
Ручная граната Breda-35
Граната выпускалась с 1935 г. Корпус гранаты изготовлен из алюминия и имел крышку в нижней части. Верхний и нижний футляры располагаются внутри корпуса и фиксировались при помощи засова. Детонатор гранаты вставлен в центральную трубку нижнего футляра. Захваченные Германией гранаты использовались под обозначением Handgranate-329 (i). ТТХ гранаты: масса гранаты – 217 г; масса заряда – 65 г; длина гранаты – 96 мм; диаметр корпуса – 53 мм.

Ручная граната OTO-35
Граната ударного действия выпускалась с 1939 г. Корпус гранаты изготовлен из алюминия и состоял из двух половин, соединенных резьбой. В нижнюю часть корпуса вложен футляр с зарядом ВВ. В верхней части — размещены ударный и предохранительный механизмы. Захваченные Вермахтом гранаты использовались под обозначением «Handgranate 327 (i)». ТТХ гранаты: масса гранаты — 230 г; масса заряда – 78 г; длина гранаты – 86 мм; диаметр корпуса – 53 мм; радиус поражения – 1 — 2 м.
Минометная граната 4.5 cm Brixia
Часть мин к миномету «45/5 Modello 35 Brixia» были преобразованы в гранаты. ТТХ гранаты: калибр – 45 мм; масса – 465 г; длина – 130 мм.

Ручная осколочная граната SRCM-35 Grenade

Дымовая граната SRCM-35 №1
Дымовая граната SRCM-35 №2
Ручная граната являлась наступательной гранатой осколочно-фугасного ударного действия и выпускалась с 1935 г. Корпус гранаты состоял из двух, соединенных накатной резьбой частей (половинок), причем обе части скреплены одна с другой при помощи пружинного латунного кольца, зуб которого входит в отверстия, имеющиеся на обеих частях корпуса. Ударный механизм гранаты простого инерционного действия. Для метания гранаты необходимо было одной рукой плотно обхватить гранату вместе с автоматическим предохранителем, другой рукой извлечь предохранитель и бросить гранату. В 1944 году на базе SRCM-35 были разработаны дымовые гранаты: №1 — с 8 отверстиями в верхней и 4 отверстиями в нижней части и возможностью многократного перезаряжания; №2 — с двумя отверстиями для выхода дыма. Захваченные Вермахтом гранаты использовалась под обозначением «Handgranate 328 (i)». Всего было выпущено 838,9 тыс. гранат. ТТХ гранаты: масса – 200 г; масса ВВ – 43 г.; длина – 80 мм; диаметр – 65 мм.
Ручная граната Breda-40
Ручная осколочная граната ударного действия была принята на вооружение в 1940 г. и предназначалась для поражения живой силы противника в наступательном бою. Корпус гранаты изготовлен из алюминия и окрашен в красный цвет или черный цвет с красной полосой. Он закрывается резьбовой крышкой. Футляр располагается внутри корпуса и фиксировался при помощи засова. Направляющая трубка, закрепленная в футляре, входила в центральную трубку инерционного тела. Детонатор гранаты вставлен в направляющую трубку футляра и поджимался контрпредохранительной пружиной. ТТХ гранаты: масса гранаты – 400 г; масса заряда – 63 г тротила; длина гранаты – 241 мм; длина корпуса – 96 мм; диаметр корпуса – 53 мм.

Ручная противотанковая граната Breda-42
Граната была создана на базе Breda-40 путем увеличения массы ВВ. ТТХ гранаты: масса – 1,2 кг; масса ВВ – 1 кг; длина – 305 мм; длина корпуса – 92 мм; диаметр – 95 мм.
Ручная граната S
Легкая наступательная граната состояла из двух половинок, изготовленных из тонкой листовой стали и соединенных между собой с помощью накатанной винтовой резьбы. Использовалась колониальными войсками. ТТХ гранаты: масса – 190 г; масса ВВ – 50 г. тротила; длина – 83 мм; диаметр – 55 мм.
Ручная граната MCS
Легкая наступательная граната выпускалась в 1925-1935 гг. и состояла из двух половинок, изготовленных из тонкой листовой стали и соединенных между собой с помощью накатанной винтовой резьбы. Граната имела ударный взрыватель. Использовалась колониальными войсками. ТТХ гранаты: масса – 180 г; масса ВВ – 40 г. тротила; длина – 80 мм; диаметр – 55 мм.
wwii.space
Гранаты союзников Германии — Вооружение
Италия:
Ручная граната SRCM 35

SRCM 35
Ручная граната SRCM 35 (Societa Romana Costrusioni Meccaniche, 1935 г) является наступательной гранатой осколочно-фугасного ударного действия.Корпус гранаты состоит из двух, соединенных накатной резьбой частей (половинок), причем обе части скреплены одна с другой при помощи пружинного латунного кольца, зуб которого входит в отверстия, имеющиеся на обеих частях корпуса.
Ударный механизм гранаты простого инерционного действия. Он состоит из двух инерционных тел (внутреннего и наружного). Во внутреннем помещается взрывчатое вещество и в нем расположен запал мгновенного действия, а в наружном закреплено жало.
При извлечении ручного и автоматического предохранителей сближению грузов препятствует помещенная между ними предохранительная пружина. Наружные концы инерционных грузов имеют конические углубления, в которых размещены упорные кольца. Наличие двух относительно свободных инерционных масс и конических углублений с кольцами обеспечивает всестороннюю работу ударного механизма, так как при любых положениях гранаты при встрече ее с преградой имеет место перемещение жала к детонатору.

SRCM 35
Для метания гранаты SRCM 35 необходимо одной рукой плотно обхватить гранату вместе с автоматическим предохранителем, другой рукой извлечь предохранитель и бросить гранату.Характеристики:
Масса гранаты, гр190
Полный вес инерционного груза, гр65
Вес автопредохранителя, гр18.5
Масса заряда (прессованная шашка TNT)44
Диаметр инерционного груза, мм30
Высота инерционного груза, мм56
Диаметр гранаты, мм50
Также в 1944 году на базе SRCM 35 были разработаны дымовые гранаты:
— мод. № 1 — с 8 отверстиями в верхней и 4 отверстиями в нижней части и возможностью многократного перезаряжания;
— мод. № 2 — с двумя отверстиями для выхода дыма.
осколочные гранаты SRCM 35 окрашивались в красный цвет, дымовые — в желтый.

осколочная SRCM 35 (слева) и дымовые гранаты № 1 и № 2Кроме того ручные гранаты SRCM 35 использовалась германскими вооруженными силами под обозначением «Handgranate 328 (i)».
Укупоркой гранат SRCM 35 является деревянный продолговатый ящик, в котором помещена цинковая запаянная коробка с гранатами, причем каждая граната обернута парафинированной бумагой и между гранатами имеются картонные прокладки в виде сетки.
При правильном использовании гранат они безопасны. Трогать брошенные, но неразорвавшиеся гранаты категорически воспрещается.
Гранаты SRCM 35 транспортируются в окончательно снаряженном виде.

устройство гранаты SRCM 35
1 — предохранительный колпак; 2 — матерчатый прорезиненный язычок ручного
предохранителя; 3 — предохранительная заслонка; 4 — кольцо автопредохранителя;
5 — нижняя часть корпуса гранаты; 6 — нижнее упорное кольцо; 7 — верхнее
упорное кольцо; 8 — верхняя часть корпуса гранаты; 9 — жало; 10 — пружина;
11 — поддон; 12 — предохранительный щиток-эксцентрик; 13 — автопредохранитель;
14 — свинцовая рубашка; 15 — капсюль-детонатор; 16 — корпус ударного
механизма; 17 — шашка ВВ; 18 — стакан для ВВ; 19 — проволочная сетка.
Ручная граната Breda 40
Breda 40

устройство гранаты Breda 40
1. корпус гранаты; 2. крышка корпуса;
3. внутренний футляр; 4. заряд ВВ;
5. направляющая трубка; 6. контр-
предохранительная пружина; 7. капсюль-
воспламенитель; 8. детонатор; 9. инерционное
тело; 10. ударник; 11. предохранительная
чека с вытяжным ушком; 12. предохранительный
колпак с предохранительной скобой;
13. предохранительный засов; 14. пружина
предохранительной скобы;
15. деревянная рукоятка.
Ручная осколочная граната ударного действия Breda 40 образца 1940 года, предназначена для поражения живой силы противника в наступательном бою.Граната Breda 40 состоит из:
— Корпуса.
— Футляра с зарядом ВВ.
— Ударного механизма.
— Предохранительного устройства.
— Детонатора.
— Рукоятки.
Корпус гранаты изготовлен из алюминия и окрашен в красный цвет или черный цвет с красной полосой. Корпус закрывается резьбовой крышкой.
Футляр располагается внутри корпуса и фиксируется при помощи засова. Направляющая трубка, закрепленная в футляре, входит в центральную трубку инерционного тела.
Детонатор гранаты вставлен в направляющую трубку футляра и поджимается контрпредохранительной пружиной.
Ударный механизм включает в себя:
— ударник с жалом, закрепленный в инерционном теле;
— инерционное тело, представляющее собой емкость, заполненную свинцовой дробью;
— направляющую трубку;
— контрпредохранительную пружину.
Контрпредохранительная пружина надета на детонатор гранаты. Пружина упирается в направляющую трубку.
Характеристики:
Масса гранаты, гр400
Масса заряда, гр (тип ВВ)63 (тротил)
Длина гранаты, мм241
Диаметр корпуса гранаты, мм53
Предохранительный механизм включает в себя:
— засов, соединенный с предохранительным колпаком;
— предохранительную чеку.
При хранении и транспортировке ударник и капсюль детонатора удерживаются при помощи засова, вставленного между ними и зафиксированного предохранительной чекой.
Для применения ручной гранаты Breda 40 необходимо:
1. Взять гранату в руку.
2. Удерживая пальцем колпачок выдернуть предохранительную чеку.
3. Метнуть гранату в цель.
В момент броска предохранительный колпак под напором воздуха отделяется от корпуса гранаты и вытягивает из корпуса засов. В этот момент граната переводится в боевое положение. При ударе о преграду, футляр, преодолевая сопротивление контрпредохранительной пружины, сближается с ударником, что приводит к наколу капсюля-воспламенителя и взрыву детонатора и основного заряда.
Ручная граната OTO 35
OTO 35
Ручная граната OTO 35 (Одеро-Терни-Орланда обр. 1935 г)Граната OTO 35 состоит из:
— корпуса;
— заряда ВВ;
— ударного механизма;
— предохранительного механизма;
— капсюля-детонатора.
Корпус гранаты изготовлен из алюминия и состоит из двух половин, соединенных при помощи резьбы. В нижнюю часть корпуса вложен алюминиевый футляр с зарядом ВВ. В верхней части корпуса размещены ударный и предохранительный механизмы.

устройство гранаты OTO 35
1. корпус гранаты; 2. внутренний футляр; 3. заряд ВВ;
4. центральная трубка футляра; 5. детонатор с капсюлем
воспламенителем; 6. предохранительный колпак;
7. соединительное звено; 8. коробчатый засов;
9. инерционное тело; 10. ударник; 11. крышка с
направляющим отверстием; 12. пластинчатая пружина;
13. предохранительная чека.
Капсюль-детонатор вставлен в центральную трубку футляра с зарядом ВВ.Разрывным зарядом является смесь тротила с динитронафталином.
Ударный механизм состоит из:
— ударника с жалом;
— крышка с направляющим отверстием;
— инерционного тела-шара, заполненного свинцовой дробью.
Предохранительный механизм состоит из:
— коробчатого засова;
— предохранительной чеки;
— пластинчатой пружины;
— предохранительного колпака.
При хранении и транспортировке ударник удерживается от перемещения при помощи коробчатого засова, который в свою очередь фиксируется предохранительной чекой. Предохранительный колпак соединен с коробчатым затвором соединительным звеном и крепится к корпусу при помощи второго короткого усика предохранительной чеки.
После броска предохранительный колпак гранаты под действием сопротивления воздуха отделяется от корпуса гранаты и вытягивает коробчатый засов. Теперь ударник гранаты удерживается от перемещения только пластинчатой пружиной. При ударе о преграду происходит сближение ударника и футляра с зарядом и накол капсюля детонатора, что приводит к его взрыву и взрыву заряда гранаты.

OTO 35
Для метания гранаты OTO 35 необходимо одной рукой плотно обхватить гранату вместе с автоматическим предохранителем, второй рукой извлечь предохранитель и бросить гранату в цель.Характеристики:
Масса гранаты, гр230
Масса заряда, гр78
Длина гранаты, мм86
Диаметр корпуса гранаты, мм53
Толщина стенок корпуса гранаты, м0.8
При падении гранаты любой точкой корпуса происходит взрыв.
Осколочное действие гранаты ничтожно и ограничивается зоной ее фугасного действия – 1-2 м.
Граната удобна при транспортировке и в применении.
При правильном использовании граната безопасна.
Категорически воспрещается разбирать боевые гранаты, трогать брошенные, но не разорвавшиеся гранаты.
Ручная граната Z 50
Ручная осколочная граната ударного действия Z 50, предназначена для поражения противника в наступательном бою.

Z 50
Граната Z 50 состоит из:— корпуса;
— заряда ВВ;
— капсюля-детонатора;
— ударного механизма;
— предохранительного устройства.
Корпус гранаты цилиндрической формы изготовлен из латуни и предназначен для образования осколков при взрыве гранаты. Сверху и снизу корпус закрывается крышками.
В корпусе помещаются все части и механизмы взрывателя.
Ударный механизм состоит из ударника с боевой пружиной размещенных в трубке верхней крышки корпуса. Трубка закрывается колпачком.
Предохранительное устройство включает в себя:
— Предохранительную пластинку.
— Поворотный рычаг.
— Инерционное тело.
— Предохранительную ленту.
— Предохранительную чеку с кольцом.

устройство гранаты Z 50
1. корпус гранаты; 2. заряд ВВ; 3. капсюль-
детонатор; 4. капсюль-воспламенитель;
5. заряд детонатора; 6. колпачок трубки
ударного механизма; 7. боевая пружина;
8. ударник; 9. предохранительная чека;
10. предохранительная лента; 11. планка
предохранительной ленты; 12. предохранительная
пластина; 13. выступ предохранительной пластины;
14. ось поворотного рычага; 15. поворотный
рычаг; 16. инерционное тело.
Предохранительная лента имеет на конце планку, наматывается на корпус гранаты и при помощи планки фиксируется предохранительной чекой, вставленной в проушину корпуса. К предохранительной ленте крепится предохранительная пластинка. Она вставляется в корпус гранаты и располагается между ударником и капсюлем-детонатором. Кроме того, пластинка имеет выступ, который в служебном обращении подпирает длинное плечо поворотного рычага и запрещает его движение. Инерционное тело представляет собой шар, вставленный в гнездо между выступом крышки корпуса и длинным плечом поворотного рычага. Поворотный рычаг крепится на оси и своим коротким плечом упирается в ударник, удерживая его во взведенном положении.Заряд ВВ (тротил) располагается внутри корпуса гранаты.
Капсюль-детонатор вставляется в корпус через отверстие в нижней крышке корпуса и находится под ударником.
Перед броском гранаты предохранительная чека удаляется. На траектории полета гранаты, лента под действием сопротивления воздуха разматывается и на расстоянии около 10 метров от гранатометчика, вытаскивает предохранительную пластинку и отделяется от корпуса гранаты. Теперь шар удерживается от перемещения только трением между выступом крышки корпуса и длинным плечом поворотного рычага. При ударе гранаты о преграду, шар либо выпадает через боковые отверстия наружу, либо давит на длинное плечо рычага и заставляет его поворачиваться вокруг оси так, что короткий рычаг поднимает ударник вверх, а затем соскальзывает с него. В обоих случаях, ударник освобождается и под действием боевой пружины устремляется вниз и накалывает капсюль-воспламенитель, что приводит к взрыву детонатора и заряда ВВ гранаты.
Для использования гранаты Z 50 необходимо:
1. Обхватить гранату ладонью, так, чтобы лента прижималась к корпусу.
2. За кольцо извлечь предохранительную чеку.
3. Метнуть гранату в цель.
Радиус зоны поражения гранатой составляет до 5 м.
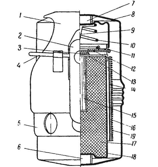
Ручная граната Breda 35

Breda 35 Ручная осколочная граната ударного действия Breda 35 образца 1935 года, предназначена для поражения живой силы в наступательном бою.

устройство гранаты Breda 35
1 — нижняя половина корпуса; 2 — верхняя половина корпуса;
3 — колпачок автоматического предохранителя; 4 — резиновый
язычок ручного предохранителя; 5 — ручной предохранитель;
6 — автоматический предохранитель; 7 — верхний инерционный
грузик с дополнительный зарядом ВВ и с дробью; 8 — жало;
9 — нижний инерционный грузик с основным зарядом;
10 — соединительная трубка; 11 — детонатор;
12 — предохранительная пружина.
Граната Breda 35 состоит из:— корпуса;
— верхнего и нижнего футляров с зарядом ВВ;
— ударного механизма;
— предохранительного устройства;
— детонатора.
Корпус гранаты изготовлен из алюминия и имеет крышку в нижней части.
Верхний и нижний футляры располагаются внутри корпуса и фиксируются при помощи засова. Направляющая трубка, закрепленная в верхнем футляре, входит в центральную трубку нижнего футляра.
Детонатор гранаты вставлен в центральную трубку нижнего футляра.
Ударный механизм включает в себя:
— ударник с жалом, закрепленный в верхнем футляре;
— инерционное тело, представляющее собой емкость, заполненную свинцовой дробью;
— направляющую трубку;
— контрпредохранительную пружину.
Контрпредохранительная пружина надета на детонатор гранаты. Пружина упирается в направляющую трубку.
Предохранительный механизм включает в себя:
— засов, соединенный с предохранительным колпаком;
— предохранительную чеку.

Breda 35
При хранении и транспортировке ударник и капсюль детонатора удерживаются при помощи засова, вставленного между ними и зафиксированного предохранительной чекой.Для использования ручной гранаты Breda 35 необходимо:
1. Взять гранату в руку.
2. Удерживая пальцем колпачок выдернуть предохранительную чеку.
3. Метнуть гранату в цель.
Характеристики:
Масса гранаты, гр217
Масса заряда гранаты, гр (тип ВВ)
65 (тротил)
Длина гранаты, мм96
Диаметр корпуса гранаты, мм53
В момент броска предохранительный колпак под напором воздуха отделяется от корпуса гранаты и вытягивает из корпуса засов. В этот момент граната переводится в боевое положение. При ударе о преграду, футляры, преодолевая сопротивление контрпредохранительной пружины, сближаются, что приводит к наколу капсюля-воспламенителя и взрыву детонатора и основного заряда.
Осколочное действие гранаты Breda 35, как и гранаты ОТО, весьма слабое.
www.nakop.ru
Итальянские гранаты Первой мировой , справочник: sassik — LiveJournal
.45 De Lisle Commando Carbine (два исследования и ещё немного)
01. Пост построен так : Сначала — пара исторических фото и пара видео, потом экстерьер , в конце — книжки. Книжки : 1) SMALL ARMS…
Официальный отчёт об XI-й летней Олимпиаде 1936. 1&2/2
THE XI-th OLYMPIC GAMES BERLIN, 1936 OFFICIAL REPORT VOLUME I & II BY ORGANISATIONSKOMITEE FÜR DIE XI. OLYMPIADE BERLIN 1936 E. V.…
Справочник по германским ручным и ружейным гранатам . Bulletin #59 , March 7 , 1944
01. CONFIDENTIAL GERMAN HAND & RIFLE GRENADES Bulletin #59 , March 7 , 1944 PDF .JPG со скрибда В посте — первые 15 страниц.…
«ROCKETS AND LAUNCHERS ALL TYPES» Feb. 1944 , справочник
01. OS 9-69 ORDNANCE SCHOOL TEXT ROCKETS AND LAUNCHERS ALL TYPES February 1944 Prepared by THE ORDNANCE SCHOOL ABERDEEN PROVING GROUND,…
Lockheed F-104 D Flight Manual (не официальный , 1960)
01. отсюда Lockheed F-104 Starfighter PDF .JPG со скрибда 02.
Waffen Revue Sonderdruck W 127
01. Обложка (обе стороны) Dokumentation W 127 Datenblätter für Heeres-Waffen, Fahrzeuge, Gerät Karl R. Pawlas —— Спецвыпуск…
«Невидимый враг : ловушки во Вьетнаме» , исследование
пример страницы . Перевод : ЯДОВИТЫЕ ЗМЕИ Змей привязывали проволокой или ниткой к палке или бамбуку в туннельных входах и узких проходах. Когда…
The Gun Digest Book © : Взрыв-схемы (975 шт.) , справочник , 2005
01. The Gun Digest Book © Of Exploded Gun Drawings 975 Isometric Views Handguns , Shotguns , Rifles Harold A. Murtz ©2005 KP Books…
Утилитарное
Хочу , чтобы летом эта книжка под рукой была . Ставлю , по понятным причинам — только титульный лист и PDF . Извините. Брал здесь , но там…
sassik.livejournal.com
Забытые гранатометы: Brixia Modelo 35, Италия, 1935 год. — Не теряйте мужества
Одним из самых интересных видов вооружения итальянской армии времен Второй Мировой, хотя и малоизвестных у нас, отчего-то, был …ну да, гранатомет, наверное, пускай и полуавтоматический, но все равно скорострельный, — Brixia Modelo 35, 45-мм оружие, числившиеся минометом.
Несмотря на ручное заряжание гранаты — это оружие могло делать до 20 выстрелов в минуту, на расстояние на 530 метров (правда, прицельная дальность не более 300 метров).
мины-гранаты, предохранители установлены (кликабельно)
Обратите внимание: у гранаты нет метательного заряда, и нет даже места для его размещения. Выстреливается она холостым пистолетным патроном, магазин с десятью штуками которых примыкается к миномету отдельно. Такое решение позволило упростить конструкцию мины, правда сам миномет-гранатомет был, на мой взгляд, переусложнен сверх всякой меры.
миномет крупно, хорошо виден «боевой рычаг» и магазин метательных патронов
Помимо того хитрого манипулирования выдвижным стволом, которое вы видели в ролике, — отдельной песТней было наведение миномета по дальности: помимо показанного в ролике изменения наклона ствола — можно было открывать и закрывать специальные отверстия в стволе. Таким образом получалось даже стрелять по навесной траектории на 30 метров!
Brixia Modelo 35, общий вид
Однофунтовая (454 грамма) граната обладала хорошим осколочным действием, а благодаря низкой скорости полета и чувствительному взрывателю (вот он, закрыт на предохранитель) — осколки стригли воздух низко и плотно. Фактически, эдакая «лимонка» дальнобойная. Но при необходимости на расстоянии метров в 100-200 — реализовывались и достаточно настильные траектории, так что попасть в окно многоэтажного дома, откуда стреляют — в принципе, можно было. При достаточном опыте — даже с первого выстрела. Это уже совершенно гранатометное применение минометы так не умеют.
миномет в бою (кликабельно)
Миномет-гранатомет производился компанией Breda, и являлся штатным вооружением итальянской армии. Зарекомендовал он себя неплохо, и пускай на равнине его «забивали» по своим характеристикам старшие товарищи — в горах и населенных пунктах он, благодаря своей гибкости применения оказался очень и очень неплох. Если бы еще и конструкция попроще — вес поменьше, так и вовсе, великолепное было бы решение.
На мой взгляд, поинтереснее немецкого 50-мм миномета будет оружие…
strangernn.livejournal.com
Гранаты Второй мировой войны
Предлагаю вниманию небольшой обзор ручных гранат Второй мировой


Великобритания
Ручная граната Миллса
Эта граната была разработана в Великобритании в 1915 году (Mills-bomb). Выпускалась под наименованиями Mills-bomb Mark 5 (Mk 5), Mills-bomb Mark 23 (Mk 23), Mills-bomb Mark 36 (Mk 36).
В частности, шайба в нижней части гранаты Mk 36 заменялась на шайбу со стержнем, а чека с кольцом заменялась на проволочную чеку, закреплявшуюся на винтовке. Стержень гранаты вставлялся в ствол винтовки. Производился выстрел холостым патроном и граната летела в цель.

Внешне граната имеет овальный ребристый корпус из чугуна. Продольные и поперечные проточки сделаны с целью образования при взрыве осколков определенного размера и массы. Толщина стенок гранаты 6 мм.
Характеристики гранаты модификации No.36M, взятые из FM 3-23.30:
-тип – дистанционная
-тип взрывателя – ударный
-масса – 600 гр.
-заряд ВВ (тротил) – 60 гр.
-длина – 10.2 см.
-диаметр – 6 см.
-материал корпуса – чугун
-время замедления – 3.5-4.5 сек.
-дальность броска – 25 м.
-радиус поражения – 30-100 м.
-количество осколков – 40 шт.

Для применения гранаты необходимо отвинтить шайбу на нижней стороны гранаты, вставить в нее капсюль-детонатор и вновь завернуть шайбу на место. Для применения гранаты необходимо взять гранату в правую руку, прижав рычаг к корпусу гранаты; левой рукой свести вместе усики предохранительной чеки (шплинта) и потянув за кольцо, вытянуть шплинт из отверстия рычага. После этого, размахнувшись, бросить гранату в цель и укрыться. Через 5-7 секунд произойдет взрыв.

Франция
Ручная осколочная граната F-1
Не желая повторять ошибки 1914 года, когда немецкая армия была неплохо обеспечена гранатами образца 1913 года и этим получала преимущество в окопной войне, французы решили создать гранату со сбалансированными характеристиками. Правильно учтя недостатки немецких гранат, как то, большой в диаметре, неудобный для охвата рукой корпус как у гранаты образца 1913 года, ненадежный взрыватель и слабое осколочное действие, французы разработали революционную для своего времени конструкцию гранаты, известную как F1.

Эта граната была принята на вооружение французской армии в 1915 году, после обобщения опыта по применению гранат в позиционной войне во время Первой Мировой войны.
Первоначально F1 выпускалась с запалом ударного воспламенения, но вскоре ее снабдили автоматическим рычажным запалом, конструкция которого с незначительными изменениями по сей день используется во многих запалах армий NATO.
Граната представляла собой изготовленный литьем ребристый яйцевидный корпус, из сталистого чугуна, с отверстием для запала, который был более удобным для броска, чем круглый или дискообразный корпус немецких гранат.

Ручная граната F1 была довольно технологичной, не требовала дефицитного сырья, несла умеренный заряд взрывчатого вещества и в то же время обладала большой мощностью и давала большое по тем временам количество убойных осколков. Пытаясь решить задачу правильного дробления корпуса при взрыве, конструкторы использовали глубокую насечку на корпусе. Однако боевой опыт показал, что при современных бризантных ВВ корпус такой формы при взрыве дробится непредсказуемо, причем основное количество осколков имеет малую массу и малоубойны уже в радиусе 20-25 метров, в то время как тяжелые осколки донца, верхней части гранаты и запала имеют высокую энергию за счет своей массы и опасны до 200 м. Поэтому все утверждения насчет того, что насечка имеет своей целью образование осколков по форме выступающих ребер, как минимум, неверна. То же самое следует сказать и насчет явно завышенной дистанции поражения, так как дальность сплошного поражения осколками не превышает 10-15 метров, а эффективная дальность, то есть такая, где хотя бы половина целей будет поражена – 25-30 метров. Цифра 200 метров – это не дальность поражения, а дальность безопасного удаления для своих частей. Потому метать гранату следовало из-за укрытия, что было вполне удобно в случае позиционной войны.

Ручная граната F1 стала образцом для создания всем известной советской гранаты Ф-1, которая, по сути, была слегка измененной французской гранатой с новым запалом Ковешникова.
Характеристики:
Длина гранаты, мм 130
Диаметр гранаты, мм 55
Масса гранаты, гр 690
Масса заряда, гр
(тип ВВ) 64
(тротил, шнейдерит или
менее мощные заменители)
Дальность метания, м 30
Радиус разлета осколков, м 200
Среднее количество осколков, шт 200
Время горения замедлителя, с 4 — 5

Италия
SRCM Mod. 35
Ручная граната SRCM 35 (Societa Romana Costrusioni Meccaniche, 1935 г) является наступательной гранатой осколочно-фугасного ударного действия.
Корпус гранаты состоит из двух, соединенных накатной резьбой частей (половинок), причем обе части скреплены одна с другой при помощи пружинного латунного кольца, зуб которого входит в отверстия, имеющиеся на обеих частях корпуса.
Ударный механизм гранаты простого инерционного действия. Он состоит из двух инерционных тел (внутреннего и наружного). Во внутреннем помещается взрывчатое вещество и в нем расположен запал мгновенного действия, а в наружном закреплено жало.

При извлечении ручного и автоматического предохранителей сближению грузов препятствует помещенная между ними предохранительная пружина. Наружные концы инерционных грузов имеют конические углубления, в которых размещены упорные кольца. Наличие двух относительно свободных инерционных масс и конических углублений с кольцами обеспечивает всестороннюю работу ударного механизма, так как при любых положениях гранаты при встрече ее с преградой имеет место перемещение жала к детонатору.
Для метания гранаты SRCM 35 необходимо одной рукой плотно обхватить гранату вместе с автоматическим предохранителем, другой рукой извлечь предохранитель и бросить гранату.

Характеристики
Масса гранаты, гр 190
Полный вес инерционного груза, гр 65
Вес автопредохранителя, гр 18.5
Масса заряда (прессованная шашка TNT) 44
Диаметр инерционного груза, мм 30
Высота инерционного груза, мм 56
Диаметр гранаты, мм 50

Япония
Тип 91 (граната)
Граната разработана и принята на вооружение Императорских вооружённых сил в 1931 году, как универсальная противопехотная осколочная граната, пригодная как для ручного метания, так и для запуска из гранатомёта или выстреливания в качестве ружейной гранаты.
Применялась сухопутными силами и подразделениями морской пехоты во всех военных операциях с 1931 года до окончания Второй мировой войны.
Граната Тип 91 явилась основой для ручной гранаты Тип 97, являвшейся стандартным оружием японской пехоты в период с 1937 по 1945 год.

Тактико-технические характеристики[править | править вики-текст]
Масса: 530 г
Масса взрывчатого вещества: 65 г
Высота корпуса с крышкой: 102 мм
Диаметр корпуса: 50 мм
Задержка: 7 — 8 с

Тип 97 (граната)
Ручная граната создана в 1936 году на основе японской универсальной осколочной гранаты Тип 91 образца 1931 года.
Принята на вооружение Императорских вооружённых сил в 1937 году и использовалась в качестве стандартного снаряжения пехоты во всех боевых операциях японских сухопутных войск до окончания Второй мировой войны.

Для боевого применения необходимо выдернуть предохранительную вилку за привязанную к ней верёвку, ударить гранату о твёрдый предмет и затем бросать. При ударе головной части гранаты о препятствие ударник преодолевает сопротивление контрпредохранительной пружины и накалывает капсюль, воспламеняющий пороховой замедлитель, который горит в течение 4-5 секунд, после чего воспламеняет детонатор, что приводит к взрыву основного заряда и поражению противника ударной волной и осколками чугунного корпуса.
Тактико-технические характеристики[править | править вики-текст]
Масса: 450 г
Масса взрывчатого вещества: 65 г
Высота корпуса с крышкой: 102 мм
Диаметр корпуса: 50 мм
Задержка: 4 — 5 с

Германия
Stielhandgranate
Граната предназначалась в первую очередь для поражения живой силы противника осколками и ударной волной, была разработана в Германии после начала Первой мировой войны и впервые поступила в рейхсвер в 1916 году.
У советских солдат получила прозвище «колотушка», у англоязычных союзников — «толкушка» (англ. «potato masher», то есть «картофелемялка»).
Вплоть до 1990-х годов ручная граната с рукояткой под наименованием HG-43 стояла на вооружении армии Швейцарии.

Для использования гранаты в качестве оборонительной применялась рубашка из стали или металлокерамического состава с насечками, которая крепилась к корпусу проволокой. Радиус поражения гранаты, оснащённой осколочной рубашкой, увеличивался до 30 м, а дальность разлёта отдельных осколков могла достигать 100 м.
Для применения гранаты Stielhandgranate 16 нужно было отвинтить крышку в нижней части рукоятки, энергично дёрнуть за выпадавший при этом шнур с фарфоровым шариком

Достоинствами гранаты являлись простота и дешевизна производства (особенно, в условиях военного времени), безопасность при падении (в том числе, в снаряжённом детонатором виде) и невозможность случайного срабатывания (из-за необходимости отвинчивания крышки для извлечения шнура, необходимого для приведения в действие запального механизма), а также возможность метания на большие расстояния благодаря длинной рукоятке и удачному расположению центра тяжести.
Недостатки гранаты являлись оборотной стороной её достоинств: взрывчатое вещество на основе аммиачной селитры быстро приходило в негодность при малейшем проникновении влаги в корпус, при длительном хранении на складе подвергалось слёживанию и не детонировало, а тёрочный механизм в условиях сырости или при недостаточно резком выдёргивании шнура не приводил к воспламенению тёрочного состава, что в боевых условиях приводило к довольно многочисленным отказам. По тем же причинам абсолютное большинство сохранившихся до настоящего времени гранат Stielhandgranate 24 и их аналогов, выпускавшихся в период Второй мировой войны, при штатном применении не представляют опасности взрыва.

Eihandgranate
В канун Второй мировой войны перед немецкими конструкторами была поставлена задача создать лёгкую ручную гранату для применения пехотой в наступательном бою, пригодную для броска на большое расстояние и незначительно увеличивающую вес амуниции солдата, поскольку стоявшая на вооружении Вермахта наступательная ручная граната образца 1924 года с деревянной ручкой была слишком тяжела.
Результатом стала основанная на модели 1917 года компактная и почти в три раза более лёгкая ручная граната «Яйцо», поступившая в войска 1939 году. Эта граната разрабатывалась как боеприпасы двойного применения: при замене обычного запала специальной трубкой, она могла выстреливаться из 26-мм сигнального пистолета «Вальтер».

Основным недостатком этой гранаты, помимо общих для всех гранат с тёрочным детонатором, являлась невысокая мощность и небольшой радиус сплошного поражения осколками (до 3 метров), в связи с чем основной (ручной) вариант популярностью у солдат не пользовался, тогда как в качестве выстрела для сигнального пистолета Eihandgranate успешно использовалась в уличных боях, а также на сторожевых постах (при обнаружении признаков движения противника по охраняемой местности).

Для применения гранаты следовало отвинтить колпачок, взяться за него и энергично дёрнуть шнур, после чего немедленно бросить гранату в цель.
Задержка времени взрыва зависела от запала: голубой колпачок обозначал задержку в 4,5 секунды, жёлтый — в 7,5 секунд. Запал Brennzunder Eifer 39 с красным колпачком (задержка в 1 секунду) и сходный по конструкции тёрочный воспламенитель мгновенного действия Zundschuranzunder 39 с серым колпачком в гранатах не использовались, так как после выдёргивания шнура не оставляли времени для броска.
Если шнур был выдернут недостаточно резко, тёрочный механизм не срабатывал, о чём свидетельствовало отсутствие взрыва по истечении 30 секунд, после которых граната уже не представляла опасности.
Теоретически, при замене запала не взорвавшаяся граната могла быть использована вновь.

СССР
РГД-33
Советская ручная граната РГД-33 относится к противопехотным осколочным ручным гранатам дистанционного действия двойного типа. Это означает, что она предназначена для поражения личного состава противника осколками корпуса при своем взрыве. К цели граната доставляется только за счет ее броска рукой солдата. Дистанционного действия — означает, что граната взорвется через определенный срок (3.5- 4 сек.) независимо от иных условий после того, как солдат совершит бросок. Двойного типа — означает, что граната может использоваться как наступательная, т.е. осколки гранаты имеют небольшую массу и летят на дальность, меньшую чем возможная дальность броска; или же как оборонительная, т.е осколки летят на дальность, превышающую дальность броска. Двойное действие достигается за счет надевания на гранату так называемой «рубашки» — чехла из толстого металла, обеспечивающего при взрыве осколки большей массы, летящих на большее расстояние

Наставление по стрелковому делу 1938 года предписывало использовать связку из трех-пяти гранат в качестве противотанковой. Однако такая связка при большом весе (1800-3000 гр.) имела явно недостаточный заряд ВВ (600-1000 гр. ) для того, чтобы поразить танк. Взрыв связки на крыше танка редко причинял ему существенный вред. Угадать же момент броска для взрыва связки под гусеницей было нереально. Бутылки с бензином или с самовоспламеяющейся жидкостью КС были эффективнее, т.к. затекающий внутрь танка горящий бензин мог вызвать пожар в танке.
Опыт применения гранат РГД-33 в боевых условиях показал, что оценка данная гранате при ее полигонных испытаниях очень завышена. Она даже не имеет сколько -нибудь серьезных преимуществ перед гранатой обр. 1914/30. Уже в 1941 году на замену РГД-33 была разработана граната РГ-41, которая после кратковременной апробации в войсках была доработана и поставлена на вооружение под индексом РГ-42. Простота конструкции и надежность применения обеспечила ей необыкновенно долгую жизнь. До сего времени РГ-42 состоит на вооружении в Российской Армии. Гранаты же РГД-33 очень быстро были израсходованы в боях 1941-42 годов. К 1943 году на фронте эта граната уже не встречалась.

Перед использованием гранаты необходимо было взвести пружину в рукоятке, поставить гранату на предохранитель, вложить в неё запал, а перед броском освободить предохранитель на ручке. За счёт взмаха внешняя часть рукоятки с ударником соскакивала с боевого взвода и накалывала капсюль запала.
Время горения запала составляло 3,5 — 4 секунды.
Дальность броска — от 30 до 40 метров

РГ-42
РГ-42 отличается предельно простой и технологичной конструкцией: цилиндрический корпус гранаты представляет собой тонкостенную консервную банку, внутри которой находится заряд взрывчатки массой 110 граммов. С целью увеличения числа осколков и поражающей способности гранаты внутри корпуса по стенкам проложена свернутая в четыре-шесть слоев лента из тонкой стали с насечками для образования осколков. К верхней крышке корпуса присоединена рукоять, в которую ввинчивают запал (до ввинчивания запала фланец закрыт пластмассовой пробкой)[2].
Радиус разлёта осколков составляет 25—30 метров, дальность броска зависит от физических качеств солдата и в среднем составляет 35—40 метров.

США
Mk II (ручная граната)
Mk 2 имеет яйцевидный оребрёный металлический корпус. Вдоль внутренней поверхности корпуса плотно уложена спираль из насечённой стальной проволоки. Разрывной заряд — 21 грамм бездымного пороха для холостых патронов марки EC или 57 грамм тринитротолуола.
Хотя граната считается оборонительной, быстрая потеря осколками убойной энергии позволяет использовать гранату как в обороне, так и в атаке.

Mk II – ручная осколочная граната разработанная в 1918 году и состоявшая на вооружении с 1920. Использовалась вплоть до Вьетнамской войны. В основе своей имеет чугунный корпус с насечками заполненный взрывчатым веществом (ВВ). Использование взрывчатого наполнителя – бездымного пороха не требовало наличия детонатора, поэтому в качестве запала сделали простейший пороховой воспламенитель с надежным замедлителем. Насечки на корпусе изначально были призваны облегчить деление на поражающие элементы, но впоследствии выяснили, что чугун лопается абстрактно, а гранату с насечками просто удобнее держать и бросать.
Существовало несколько модификаций Mk II. Так, например, изначально в корпусе было два отверстия сверху для запала, а снизу для засыпки ВВ, со временем от нижнего отверстия отказались. Граната в неофициальных кругах называется Mk IIA1, но военные ее так никогда не называли. Была модель заполненная вместо пороха тротилом, у которой была яркая особенность – слишком мелкая фрагментации корпуса от тротилового заряда. Поражающие элементы получались очень маленькими и быстро теряли убойную силу. Такие гранаты окрашивались в ярко-желтый цвет (затем просто наносили желтую полосу) и получили обозначение Mk II HE (high explosive).

Характеристики
Дальность броска: 20-40 м
Радиус поражения осколками: 15-20 м (убойное действие осколков)
Время замедления запала: 4-5 сек
Источник: http://fishki.net/2201830-granaty-vtoroj-mirovoj-vojny.html?mode=recent © Fishki.net
Понравился наш сайт? Присоединяйтесь или подпишитесь (на почту будут приходить уведомления о новых темах) на наш канал в МирТесен!
super-arsenal.ru
Нидерланды — Всё о Второй мировой

Дымовая граната Gashandgranaat. Граната была принята на вооружение до 1938 г.

Дымовая граната Hexiet Rookhandgranaat
Граната выпускалась до 1940 г. Захваченные Вермахтом гранаты использовались под обозначением 333(h). ТТХ гранаты: масса – 500 г; время выделения дыма – 2,5 м.

Ручная граната Offensieve №2
Граната с ударным взрывателем была принята на вооружение в 1928 г. Корпус гранаты был выполнен из картона, верхняя и нижние крышки – из дерева. ТТХ гранаты: масса – 500 гг.; длина – 130 мм; диаметр – 65 мм.

Ручная граната №3
Граната была принята на вооружение в 1941 г. ТТХ гранаты: длина – 111 мм; диаметр – 61 мм.

Ручная граната Eihandgranaat №1
Граната выпускалась до 1937 г. Она имела чугунный корпус и теречный взрыватель. Захваченные Германией гранаты использовались под обозначением Нandgranate 312(h). ТТХ гранаты: масса – 600 г; масса ВВ – 65 г. тротила.

Ручная граната Eihandgranaat №3

Учебная ручная граната Eihandgranaat №3А
Наступательная граната выпускалась до 1940 г. и имела корпус из тонкой листовой стали. Учебные гранаты имели деревянный корпус со свинцовым наполнением. Трофейные гранаты использовались Вермахтом. ТТХ гранаты: масса – 215 г.; масса ВВ – 120 г. тротила.
wwii.space
Великобритания — Всё о Второй мировой

Ручные гранаты Mills-bomb № 5, № 23 и № 36

Ружейный вариант гранаты Mills Bomb № 23 Mk-II
Ручная противопехотная осколочная граната была принята на вооружение в 1915 г. и выпускалась в трех вариантах: №5, №23 и №36 (выпускалась в период Второй мировой войны), которые отличались лишь устройством крышки детонатора. Также выпускалась ружейная граната №23 Mk-II и тропический вариант №36-М. Корпус гранаты был изготовлен из чугуна, снаружи имел поперечные и продольные насечки. На двух приливах корпуса крепилась предохранительная скоба. В отверстие в нижней части корпуса вставлялся запал (ударник с боевой пружиной и капсюль-воспламенитель). Отверстие корпуса закрывалось резьбовой пробкой.
Для применения гранаты необходимо было отвинтить шайбу на нижней стороне гранаты, вставить в нее капсюль-детонатор и вновь завернуть шайбу на место. Дальше необходимо взять гранату в правую руку, прижав рычаг к корпусу гранаты; левой рукой свести вместе усики предохранительной чеки (шплинта) и потянув за кольцо, вытянуть шплинт из отверстия рычага. После — бросить гранату в цель и укрыться. Всего было выпущено около 70 млн. гранат. ТТХ гранаты: масса – 600 — 700 г; масса ВВ – 60 — 70 г. тротила; длина – 100 мм; диаметр – 60 мм; радиус поражения – 30 м; задержка – 3,5-4,5 с; дальность стрельбы ружейной гранатой – 150 м.

Осветительная ракета №58
Ракета была принята на вооружение подразделений парашютистов. ТТХ гранаты: масса – 680 г; длина – 127 мм; диаметр – 51 мм.

Сигнальная ракета №59
Сигнальная ракета предназначалась для применения днем. ТТХ гранаты: масса – 1,5 кг; длина – 89 мм; диаметр – 51 мм.

Сигнальная ракета №60
Сигнальная ракета предназначалась для применения ночью. ТТХ гранаты: масса – 1,3 кг; длина – 140 мм; длина – 140 мм; диаметр – 51 мм.

Сигнальная ракета №61
Сигнальная ракета предназначалась для применения днем. ТТХ гранаты: масса – 567 г; длина – 140 мм; диаметр – 51 г.

Сигнальная ракета №62
Сигнальная ракета предназначалась для применения ночью. ТТХ гранаты: масса 567 г; длина — 140 мм; диаметр — 51 мм.

Аварийная дымовая граната №63
Граната в стальном корпусе выпускалась в 1935-1940 гг.

Ружейная граната №68 АТ Mk-1
Ружейная граната №68 АТ Mk-3

Ружейная граната №68 АТ Mk-4

Учебная ружейная граната №68 АТ
Ружейная противотанковая граната №68 выпускалась в 6 боевых вариантах (Мк-1 – Мк-VI) и одном учебном в 1940-1945 гг. Граната имела кумулятивный заряд и запал ударникового инерционного типа. Перед выстрелом необходимо было удалить чеку взрывателя. Оперение гранаты обеспечивало попадание в цель под углом 90º. Граната также использовалась в Канаде и США. Всего было выпущено 8 млн. единиц. ТТХ гранаты: калибр – 7,7 мм; масса – 893 г; масса ВВ – 160 г пентолита; длина – 178 мм; диаметр – 64 мм; бронепробиваемость – 52 мм.


Ручная граната №69
Легкая наступательная граната выпускалась в 1940-1945 гг. Она имела бакелитовый (пластиковый) корпус и маленький радиус поражения. В качестве ВВ использовали аматол, баратол или лудит. Для приведение гранаты в боевое положение достаточно было открутить колпачок. Граната также выпускалась в Австралии, как правило, из красного бакелита. ТТХ гранаты: масса — 383 г; масса ВВ – 92 г; длина – 115 мм; диаметр – 60 мм.

Ручная граната №70
Легкая ручная наступательная граната выпускалась в трех модификациях: Mk-1, Mk-2 и Mk-3. Корпус гранаты был изготовлен из чугуна. ТТХ гранаты: масса 453 г; масса ВВ – 57 г баратола; длина – 105 мм; диаметр – 51 мм.

Противотанковая граната №73 (Thermos)
Граната выпускалась с 1940 г. За свой внешний вид, напоминавший термос, граната получила название «Thermos» (термос). Корпус гранаты – простой цилиндрической формы, наполненный большим количество взрывчатого вещества. Из-за большого веса гранаты она использовалась только из укрытий и на небольших дистанциях (около 10 м.). «№73» являлась гранатой с обычным фугасным зарядом, причинявшим мало вреда бронетехнике, поэтому ее чаще использовали для разрушения легких укреплений и препятствий. ТТХ гранаты: масса – 1,8 кг; масса ВВ – 1,5 кг. динамита; длина – 280 мм; диаметр – 82 мм.
Противотанковая граната Sticky Bomb №74 Mk-1

Граната Sticky Bomb №74 Mk-1 со снятым кожухом
Противотанковая ручная «липкая бомба» №74 была разработана в 1940 г. и состояла из стеклянной колбы, облаченной в шерстяной чулок, пропитанный липкой массой, типа клея. Предполагалось, что до взрыва граната прилипала бы к брони. Перед использованием гранаты жестяной кожух снимался, выдергивалось предохранительное кольцо, и производился бросок. Граната начинялась нитроглицерином, это делало ее опасной не только для врага, но и для владельца, так как нитроглицерин очень чувствителен к ударам. Стеклянная колба при транспортировке могла треснуть, а при броске граната могла приклеиться к обмундированию солдата. Взрыватель располагался в бакелитовой рукоятке. Граната также использовалась в Австралии и Канаде. Всего было выпущено 2,5 млн. единиц. ТТХ гранаты: масса – 1022 г; масса ВВ – 604 г; диаметр гранаты – 127 мм; длина – 258 мм; задержка – 5 с.

Противотанковая граната «№75» (Hawkins)
Противотанковая ручная граната была принята на вооружение в 1942 г. и выпускалась в трех модификациях Mk1-MkIII, различающихся взрывателями. Прямоугольный корпус позволял ее использовать и как гранату, и как противотанковую мину (наличие нажимного датчика), и как взрывной заряд. Для борьбы с бронетехникой использовалось несколько гранат. Граната имела два химических воспламенителя. Граната также использовалась в Канаде и США. Всего было выпущено 190 тыс. единиц. ТТХ гранаты: масса – 1 кг; масса ВВ – 450 г. аммонала или тротила длина – 150 мм; ширина – 75 мм; высота – 48 мм; усилие срабатывания нажимного датчика – 136 кг.
Дымовая граната № 77 Mk-1

Дымовая граната №77 Mk-2
Граната №77 была принята на вооружение в 1943 г., относилась к типу гранат ударного действия и служила для постановки дымовых завес, а также для зажигания легковоспламеняющихся материалов. Она производилась в двух вариантах – №77 Mk-I (выпускалась в Канаде) и №77 Mk-II, отличавшихся между собой формой корпуса. Корпус гранаты представлял собой жестяной цилиндр (все швы пропаяны), в верхней части которого находилось отверстие с резьбой для ввинчивания корпуса ударного механизма. Корпус наполнялся фосфором. Сверху на корпус ударного механизма навинчивался колпак. Горение гранаты продолжалось 10-12 минут с выделением густого, низкостелящегося дыма и разбрасыванием горящих кусков фосфора на расстояние 10 — 15 метров. ТТХ гранаты: масса гранаты – 383 г; длина – 118 мм; диаметр – 58 мм.
Дымовая граната №79
Корпус ручной дымовой гранаты был выполнен из жести. Граната оснащалась ударным взрывателем №247. Оружие предназначалось для воздушно-десантных войск.

Дымовая граната №80
Корпус гранаты состоял из луженой жестяной банки. ТТХ гранаты: масса – 553 г; масса ВВ – 369 г; длина — 140 мм; диаметр – 64 мм.

Дымовая граната №81
Корпус гранаты состоит из двух жестяных цилиндров, которые после заполнения белым фосфором и взрывчатым веществом были объединены в одно целое. Детонатор вставлялся в верхнюю часть корпуса. ТТХ гранаты: масса – 241 г; масса ВВ – 156 г; длина – 133 мм; диаметр – 61 мм; задержка – 4 с.

Противотанковая граната №82 в незаполненном ВВ состоянии

Противотанковая граната №82 в боевом положении

Учебная граната №82
«Мягкая» граната № 82 (Gammon) — противотанковая фугасная граната ударного действия, предназначена для борьбы с бронетехникой. Она выпускалась в 1943-1945 гг. Корпусом гранаты служил матерчатый мешок, стянутый снизу тесьмой, а сверху заправленный в металлическую крышку, на которую навинчивался запал от гранат №69 или №73. Для использования гранаты в качестве противопехотной мешок наполовину заполнялся пластичным ВВ и металлическими осколками. Для борьбы с бронетехникой мешок полностью наполнялся ВВ (до 900 г), что делало №82 мощной фугасной гранатой. Предохранительная чека соединялась с матерчатой лентой, навитой на корпус взрывателя. Колпачок навинчивался на корпус взрывателя и удерживал ленту. Перед броском колпачок свинчивается и граната метается в цель. Благодаря своей форме граната получила название «окорок». Она поступала в основном на вооружение воздушно-десантных войск (у которых всегда в боекомплекте находилось пластичное ВВ) и предназначалась для борьбы с бронетехникой. Считалось, что для уничтожения танка достаточно двух гранат «прилепленных» на крышу башни или кормы. Конструкторы гранаты полагали, что мягкий корпус гранаты не будет отскакивать от брони, а «растечется» по ней, обеспечивая поражение танка. Граната также использовалась в Канаде и США. Всего было выпущено 45 тысяч единиц. ТТХ гранаты: масса – 1135 г; масса ВВ – 680 г; длина – 127 мм; диаметр – 102 мм.

Дымовая граната №83
Ружейная граната №85
Противотанковая ружейная граната была английским аналогом американской М-9А1, но оснащалась другими взрывателями. Она выпускалась в трех вариантах Mk1 — Mk3, отличающихся между собой детонаторами. ТТХ гранаты: масса – 574 г.; масса ВВ – 120 г. гексогена; длина – 266 мм; диаметр – 51 мм.
Ружейная дымовая граната №92

Зажигательные гранаты 1.25 Lbs
Корпус гранаты был выполнен из тонкой листовой стали и наполнен термитом. Взрыватель – бакелитовый, ударного типа. ТТХ гранаты: масса – 568 г; масса ВВ – 482 г.
Реактивные гранаты PIAT Grenade
Реактивная граната использовалась для гранатомета «PIAT» и выпускалось в трех вариантах: противотанковая, осколочная и дымовая. Граната состояла из взрывателя, вышибного патрона, корпуса и хвостовой части с оперением. Граната имела головной ударный взрыватель. ТТХ гранаты: масса – 1,4 кг; длина – 381 мм; диаметр – 83 мм; начальная скорость – 77 — 135 м/с.
Учебная граната «Blacker Bombard»
Оперенная граната выпускалась в 1940-1944 гг. для гранатомета «Blacker Bombard» (Projector Mk-2) в трех вариантах: противотанковая, осколочная и учебная. Метательным зарядом служил заряд дымного пороха. Всего было изготовлено около 300 тысяч гранат. ТТХ гранаты: калибр – 29 мм; масса гранаты – 6,5 — 9 кг; масса ВВ – 5 кг; длина – 699 мм; диаметр – 153 мм; прицельная дальность – 50 м, максимальная – 90 м.
wwii.space

.45 De Lisle Commando Carbine (два исследования и ещё немного)
Официальный отчёт об XI-й летней Олимпиаде 1936. 1&2/2
Справочник по германским ручным и ружейным гранатам . Bulletin #59 , March 7 , 1944
«ROCKETS AND LAUNCHERS ALL TYPES» Feb. 1944 , справочник
Lockheed F-104 D Flight Manual (не официальный , 1960)
Waffen Revue Sonderdruck W 127
«Невидимый враг : ловушки во Вьетнаме» , исследование
The Gun Digest Book © : Взрыв-схемы (975 шт.) , справочник , 2005
Утилитарное 