Порядок работы цилиндров ГАЗ 53
Порядок работы цилиндров ГАЗ 53 известен всем, кто хоть раз сталкивался с ремонтом этого популярного ГАЗона. Но сам двигатель – V-образная восьмерка, объемом 4,2 литра, не является «слабым местом» грузовика. Просто некачественная сборка, отсутствие необходимых смазочных материалов и надежда на «русский авось», свели на нет его достоинства.
То, что последний «газон» сошел с конвейера более двадцати лет назад, заставляет вспомнить о ремонте. И ремонт блока цилиндров с полной разборкой мотора – обязательное условие. Основываясь на том, что порядок работы цилиндров ГАЗ 53 – 1 – 5 – 4 – 2 – 6 – 3 – 7 – 8, сохранился и у приемника – модели ГАЗ 3307, можно смело говорить об удачности компоновки. Сам блок, равно, как две головки, были алюминиевыми, что благотворно сказалось на весе агрегата.
Ремонт мотора (конечно если он не совсем «убит») не будет ни сложным, ни разорительным. Только необходимо под рукой держать памятку или сохранить в голове порядок работы цилиндров ГАЗ 53, иначе, если промахнетесь, восстанавливать будет уже нечего. До сих пор выпускаются запчасти для ЗМЗ-53 (а именно он ставился на ГАЗ-53). «Доноры», брошенные прежними хозяевами. Наконец, просто «советские» запасные части, оставшиеся в различных АТП и на Ремонтных базах, делают оправданным капитальный ремонт двигателя. И ремонт этот не будет сложным, а необходимые для этого инструменты, есть везде.
Но помимо ремонта двигателя, рассматривайте и его замену. Ведь современный дизель не только легко впишется в грузовик, но и в дальнейшем сэкономит немало средств при эксплуатации. Но это будет уже не старый добрый «газик», с его плюсами и минусами.
И хоть «прожорливый» мотор в XXI веке для среднетоннажного грузовика – не лучший выбор, немало «старичков» – ГАЗ-53– бегают по дорогам и перевозят немало грузов. По дорогам не лучшего качества и заправляются топливом неизвестного происхождения. И не один десяток лет.
Еще по теме
awtosowet.ruКомплектующие детали двигателя ЗМЗ-511 грузовиков ГАЗ-66, 3307
______________________________________________________________________________________________________
На автомобиле ГАЗ-3307, ГАЗ-66 установлен V-образный восьмицилиндровый двигатель ЗМЗ-511, имеющий полнопоточную фильтрацию масла и закрытую систему вентиляции картера.
Блок цилиндров, поршни и коленвал двигателя ЗМЗ-511
В блок цилиндров двигателя ГАЗ-3307, 66 устанавливаются монолитные гильзы из износостойкого чугуна. Гильзы прижимаются к блоку головками.
Уплотнение в верхней части блока цилиндров ЗМЗ-511 осуществляется с помощью сталеасбестовых прокладок с круглыми водяными протоками, а в нижней — медными кольцевыми прокладками, установленными между блоком и гильзой.
Установка прокладок головок блока цилиндров ГАЗ-66, ГАЗ-3307 с фигурными водяными протоками на двигатели со степенью сжатия 7,6 не допускается.

Рис. 1. Порядок нумерации цилиндров двигателя ЗМЗ-511 (ГАЗ-3307, 66)
Головки блока цилиндров имеют высокотурбулентные камеры сгорания и винтовые впускные каналы, а также вставные седла и направляющие втулки клапанов.
В случае необходимости замены на двигателе одной из головок цилиндров последняя должна быть заменена головкой, имеющей аналогичную маркировку. Каждая из головок крепится к блоку с помощью восемнадцати шпилек.
Перед подтяжкой головки блока цилиндров ГАЗ-3307, 66 надо отвернуть гайки стоек оси коромысел и, приподняв стойки вместе с осью, обеспечить доступ к гайкам крепления головки. После подтяжки гаек головок цилиндров вновь затянуть отвернутые гайки.
После этого необходимо отрегулировать зазор между клапанами и коромыслами двигателя ЗМЗ-511. Гайки шпилек крепления головок подтягивать в течение первых трех ТО-1, а в дальнейшем эту операцию выполнять через одно ТО-2.
Указанную выше периодичность подтяжки гаек необходимо соблюдать и при замене прокладки, так как падение момента затяжки гаек головок цилиндров в основном вызывается усадкой материала прокладки головки в начальный период эксплуатации.
Подтяжка гаек выпускной трубы так же, как и установка ее на место после разборки, должна производиться со всей внимательностью во избежание течи воды в масло.
Перед установкой следует проверить состояние сопрягаемых плоскостей впускной трубы, головок и блока, а также прокладок. Гайки нужно подтянуть так, чтобы слегка прижать прокладки. Далее необходимо затянуть грузовые гайки.
После затяжки грузовых гаек необходимо затянуть гайки крепления впускной трубы попеременно с левой и правой сторон, начиная от грузовых гаек.
Поршни двигателя ЗМЗ-511 (ГАЗ-66, 3307) на боковой поверхности имеют надпись ПЕРЕД. Этого указания надо строго придерживаться при установке их в блок.
Поршневые пальцы. Для запрессовки пальца в поршень последний надо нагреть в горячей воде или масле до температуры 70—80 °С. Запрессовка без нагрева может привести к задирам.
Поршневые кольца ЗМЗ-511 устанавливают по три на каждом поршне: два компрессионных высотой 2 мм и одно маслосъёмное.
Компрессионные кольца устанавливают так, чтобы выточка (при ее наличии) на внутренней поверхности колец была обращена вверх. При установке компрессионных колец на поршень стыки колец должны быть смещены на 180°.

Рис. 2. Установка колец на поршне двигателя ЗМЗ-511 (ГАЗ-3307, 66)
1 —компрессионные кольца; 2—кольцевой диск маслосъемного кольца; 3—осевой расширитель; 4—радиальный расширитель
Маслосъемное кольцо состоит из двух плоских стальных хромированных колец и двух расширителей: осевого и радиального.
При установке поршня в блок двигателя ГАЗ-3307, 66 плоские кольцевые диски 2 нужно устанавливать так, чтобы их замки были расположены под углом 180° один к другому и под углом 90° к замкам компрессионных колец.
При этом замки осевого расширителя 3 и радиального расширителя 4 должны быть расположены под углом 90° к ним (каждый).
Шатуны с поршнями ЗМЗ-511 в сборе устанавливаются попарно на каждую из четырех шатунных шеек коленчатого вала. Нижняя головка шатуна обрабатывается совместно с крышкой.
Поэтому крышки при сборке должны всегда устанавливаться на прежнее место. На бобышках под болт шатуна и крышке выбит порядковый номер цилиндра.
Номер, выштампованный на стержне шатуна, и метка на крышке шатуна должны быть направлены в одну сторону. Шатунные болты взаимозаменяемы.
Самоотвертыванию гайки шатунного болта препятствует специальная штамповая стопорная гайка или установка основной гайки шатуна на герметик. В случае переборки шатуна, необходимо с болта и гайки удалить остатки ранее примененного герметика, тщательно протерев их ветошью, обезжирить бензином и просушить.
После наживления гайки на болт нанести на ее резьбовую часть 2—3 капли (0,06 г) герметика. В случае отсутствия герметика стопорение гайки необходимо производить штампованной стопорной гайкой.
Затяжку стопорной гайки необходимо производить путем ее поворота на 1,5—2 грани от положения соприкосновения торца стопорной гайки с торцем основной гайки. Шатунные вкладыши взаимозаменяемы, подгонка вкладышей не допускается.
При сборке шатунов с поршнями ГАЗ-3307, ГАЗ-66 необходимо соблюдать следующий порядок: шатуны левого ряда цилиндров устанавливать таким образом, чтобы номер на шатуне и метка на его крышке были обращены к передней части двигателя, а правого ряда — наоборот.
Поршни соединяются с шатунами так, чтобы во всех случаях надпись на поршне ПЕРЕД была обращена к передней части двигателя.
Коленчатый вал ЗМЗ-511 балансируется в сборе с маховиком и сцеплением. Крышки коренных подшипников чугунные. Перемещение вала в продольном направлении ограничивается упорными шайбами, расположенными по обеим сторонам первого коренного подшипника.
В каждой шатунной шейке коленвала ЗМЗ-511 (ГАЗ-66, 3307) имеется полость (грязеуловитель). При разборке двигателя грязеуловители надо очищать, для чего необходимо отвернуть резьбовые пробки, очистить полости (металлическим ершом, проволокой), промыть их и все каналы керосином, продуть воздухом, завернуть до упора пробки и закернить.
Для предотвращения утечки масла концы коленчатого вала уплотнены сальниками.
Маховик крепится к фланцу коленвала ГАЗ-3307, ГАЗ-66 с помощью четырех болтов, гайки которых зафиксированы от самоотворачивания специальными пластинами.
Для увеличения ресурса двигателя ЗМЗ-511 до первого капитального ремонта рекомендуется в процессе эксплуатации (но не в гарантийный период) произвести замену поршневых колец и вкладышей коленчатого вала деталями стандартного размера.
Вкладыши коренных подшипников подлежат замене при падении давления масла на прогретом двигателе ниже 100 кПа (1,0 кгс/см2) при 1200 об/мин, что соответствует скорости движения на прямой передаче около 30—35 км/ч.
Масляный радиатор при контроле давления масла должен быть выключен. Езда с давлением масла меньше 100 кПа (1,0 кгс/см2) на указанной и более высокой скорости не допускается.
При замене коренных вкладышей шатунные нужно осмотреть и заменить лишь в случае необходимости.
Одновременно с заменой вкладышей необходимо очистить полости шатунных шеек коленчатого вала ЗМЗ-511. Эта операция должна выполняться тщательно, так как остатки невычищенной грязи будут занесены маслом к шатунным вкладышам, что приведет к их задиру и износу. После очистки полостей пробки завернуть и закернить.
Поршневые кольца требуют замены, если расход масла на угар превысит 400 г/100 км. При замене колец рекомендуется устанавливать комплект колец, состоящий из 2-х компрессионных нехромированных (луженых или фосфатированных) колец и комплекта маслосъемного кольца с нехромированными стальными дисками.
При замене колец следует удалить на гильзе (шабером или иным способом) неизношенный выступающий поясок в ее верхней части. Одновременно следует очистить головки цилиндров и поршни от нагара, полость водяной рубашки—от накипи, а клапаны притереть.
Распределительный механизм и клапаны двигателя ЗМЗ-511 (ГАЗ-3307, 66)
Распредвал ЗМЗ-511 приводится во вращение двумя шестернями: стальной шестерней на коленчатом валу и текстолитовой на распределительном.
Для правильной взаимной установки шестерен при сборке необходимо совместить метку на шестерне распределительного вала с меткой 3 на шестерне коленчатого вала.
Пять подшипников распределительного вала ГАЗ-66, 3307 представляют собой биметаллические втулки, запрессованные в блок.
Осевое перемещение распредвала ограничивается упорным фланцем, который крепится к переднему торцу блока двумя болтами.
Клапаны двигателя приводятся в движение от распределительного вала через толкатели, штанги и коромысла (рис. 3). Пружина клапана упирается в тарелку 13, которая связана с клапаном через сухари 12.

Рис. 3. Механизм привода клапанов ЗМЗ-511 (ГАЗ-3307, 66)
1—отверстие для выхода масла; 2—толкатель; 3 и 7—наконечники штанги; 4—штанга; 5—клапан; 6—направляющая втулка; 8—коромысло; 9—контргайка; 10 — регулировочный винт; 11—ось коромысел; 12—сухари; 13—тарелка; 14—пружина; 15—опорная шайба
Зазор между коромыслом и клапаном двигателей должен быть в пределах 0,25—0,30 мм как для впускных, так и выпускных клапанов на холодном двигателе (при температуре 15—20 °С).
На работающем горячем двигателе вследствие неравномерности температур различных деталей зазор может несколько увеличиться против установленного.
Поэтому на некоторых режимах работы двигателя ЗМЗ-511 иногда прослушивается стук клапанов, который со временем может то пропадать, то возникать вновь. Такой маловыделяющийся стук не опасен, и уменьшать зазор между клапаном и коромыслом в этом случае не следует.
Если же на прогретом двигателе стук клапана слышен непрерывно, что чаще наблюдается у клапанов, расположенных по краям головок, то в этом случае у этих клапанов разрешается уменьшить зазор так, чтобы на холодном двигателе он был в пределах 0,1-5—0,20 мм.
Регулировка зазора между коромыслом и клапаном двигателя ЗМЗ-511 (ГАЗ-3307, 66)
— Снять крышки коромысел.
— Вывернуть свечу первого цилиндра.
— Установить поршень первого цилиндра в верхнюю мертвую точку (в. м. т.) такта сжатия, для этого закрыть пальцем отверстие для свечи первого цилиндра, провертывать коленчатый вал двигателя пусковой рукояткой до момента начала выхода воздуха из-под пальца. Это произойдет в начале такта сжатия в первом цилиндре.
— Осторожно проворачивать коленчатый вал ГАЗ-3307, 66 до совпадения указателя на картере сцепления с шариком, зачеканенным в маховик. При положении поршня первого цилиндра в в. м. т. такта сжатия впускной и выпускной клапаны полностью закрыты.
— Проверить зазор с помощью щупа: зазор между коромыслом и клапаном должен быть 0,25—0,30 мм на холодном (15—20 °С) двигателе.
Допускается уменьшение зазора до 0,15—0,20 мм у клапанов ЗМЗ-511, расположенных по краям головок: первого в восьмого впускных, четвертого и пятого выпускных.
При необходимости отрегулировать зазор в такой последовательности:
— ослабить контргайку регулировочного винта;
— вращая регулировочный винт, установить по щупу зазор;
— затянуть контргайку регулировочного винта и снова проверить зазор.
Проверить и при необходимости отрегулировать зазоры у клапанов остальных цилиндров ГАЗ-3307, 66 в последовательности, соответствующей порядку работы цилиндров (1—5—4—2—6—3—7—8), проворачивая коленчатый вал при переходе от цилиндра к цилиндру на 90°.
Установить на место крышки коромысел. Завернуть свечу первого цилиндра.
______________________________________________________________________________________________________
______________________________________________________________________________________________________
______________________________________________________________________________________________________
______________________________________________________________________________________________________
avtodetall.ru
Регулировка клапанов на двигателях автомобилей ГАЗ
Горьковский автомобильный завод успешно работает с 1932 года, и за это время создал немало легковых авто и грузовиков, некоторые модели машин стали легендами российской автомобильной промышленности. Двигатели этих автомобилей еще двадцать назад не имели гидравлических компенсаторов в газораспределительном механизме, и регулировка клапанов ГАЗ выполнялась вручную.

Первые три десятилетия на Горьковском автозаводе разрабатывались собственные моторы, но на рубеже пятидесятых и шестидесятых годов прошлого столетия был построен завод по производству моторов в Заволжье, на котором до сих пор выпускаются двигатели и моторные детали для «газовских» машин. Чтобы двигатель ЗМЗ мог работать бесперебойно, он нуждается в техническом обслуживании, в том числе и в регулировке клапанов.
Регулировка клапанов на автомобилях ГАЗ
В регулировке клапанов нуждаются двигатели легковых автомобилей «Волга» ГАЗ 21, ГАЗ 24 (или 2410), ГАЗ 3110, а также грузовиков ГАЗ 53 и ГАЗ 3307. Если вовремя не регулировать клапана, они будут стучать, а при слишком больших или маленьких зазорах мотор не сможет работать стабильно и выдавать положенную мощность.
В клапанах должны быть определенные зазоры, если зазоры слишком маленькие или их нет совсем:
- клапана не будут герметично прилегать к седлам в головке блока (ГБЦ), в результате в цилиндрах не будет создаваться необходимого сжатия топливной смеси, мотор потеряет мощность;
- от неплотного прилегания к седлам клапана прогорают.
Если зазор слишком большой, в газораспределительном механизме возникает стук, клапана открываются в недостаточном объеме, и так же теряется мощность ДВС.
На всех моторов ЗМЗ клапана регулируются с помощью регулировочных винтов, для того чтобы винты не раскручивались, сверху они фиксируются контргайками. В различных руководствах и инструкциях по эксплуатации указаны разные зазоры в клапанах, но считается, что они должны быть в пределах от 0,25 до 0,45 мм. Как регулировать зазоры, на горячем или холодном двигателе, давно ведутся споры, хотя во всех книжных руководствах рекомендуется регулировку клапанов на автомобилях ГАЗ делать на холодную.
Порядок регулировки клапанов ГАЗ
К двигателям Заволжского завода, которые нуждаются в регулировке клапанов, относятся ДВС ЗМЗ-402 (устанавливались на «Волгах») и ЗМЗ-53 (ЗМЗ-511) для грузовиков в различных модификациях. ЗМЗ-402 является четырехцилиндровым мотором, порядок работы цилиндров этого двигателя – 1-2-4-3. Двигатели типа ЗМЗ-53 – восьмицилиндровые, цилиндры работают в порядке 1-5-4-2-6-3-7-8. Клапана на ДВС всегда регулируют, руководствуясь порядком работы, и стараются начинать регулировку с первого цилиндра, когда его поршень находится в верхней мертвой точке.
Так как 8-ми и 4-х цилиндровые моторы имеет разную конструкцию, то и порядок регулировки клапанных зазоров у них разный. Ниже в статье мы рассмотрим, как выполнить регулировку для того и другого типа двигателя.
Регулировка клапанов ГАЗ 402
Мотор ЗМЗ-402 производится с 1985 года, впервые он появился на переходных моделях ГАЗ 24М. Восьмиклапанный двигатель имеет нижнее расположение распредвала и верхнее расположение клапанов, в его газораспределительном механизме присутствуют следующие детали:
- распределительный вал, он вращается в пяти опорах блока цилиндров;
- распредшестерня, передает движение от коленвала распределительному валу;
- 8 толкателей, приводятся в движение кулачками распредвала;
- 8 алюминиевых штанг;
- ось коромысел, на которой находится сами коромысла (8 шт.) с регулировочными винтами;
- выпускные и впускные клапана, расположенные в головке блока цилиндров.

- сначала в ДВС происходит впуск, топливовоздушная смесь заполняет цилиндр;
- затем в цилиндре совершается сжатие смеси, и она поджигается искрой от свечи зажигания;
- происходит рабочий ход;
- последний этап в процессе – выпуск отработанных газов.
Когда совершается сжатие, оба клапана закрыты и герметичны – регулировку клапанов выполняют именно в таком положении. Чтобы камера сгорания была герметичной в момент сжатия, между штоком клапана и коромыслом должен быть тепловой зазор – если его не будет, при расширении металла на горячем двигателе клапан не будет герметично прилегать к посадочному месту (седлу), мотор может потерять мощность, а в некоторых случаях и вовсе не будет запускаться.
Клапана на ЗМЗ-402 можно регулировать двумя способами. В первом варианте регулировка производится следующим образом (в качестве примера возьмем автомобиль ГАЗ 24):
- останавливаем двигатель, выключаем зажигание, ставим машину на нейтральную передачу;
- открываем капот, снимаем корпус воздушного фильтра;

- снимаем клапанную крышку, она держится на шести болтах;
- прокручиваем коленвал, выставляем по меткам первый цилиндр. Метка находится на переднем шкиве коленвала;

- следует отметить, что метки на шкиве могут совпадать при ВМТ (верхней мертвой точки) 1-го и 4-го цилиндров, и если клапана 1-го цилиндра при этом зажаты, а у четвертого свободны, значит, метки совпали с 4-ым цилиндром, а не с 1-ым. Это можно легко проверить – снять крышку трамблера и посмотреть, куда смотрит бегунок;
- регулируем оба клапана на первом цилиндре (зазор 0,3 мм), проворачиваем полоборота двигателя по часовой стрелке (метки должны находиться внизу)
- регулируем оба клапана на втором цилиндре;
- проворачиваем еще полоборота (метки снова наверху и совпадают), регулируем клапана 4 цилиндра;
- делаем еще половину оборота коленвала (метки опять внизу) и производим регулировку на третьем цилиндре.
Закрываем клапанную крышку, запускаем двигатель и проверяем, как работает мотор. Регулировку клапанных зазоров на всех автомобилях ГАЗ производят с помощью специальных щупов, обычно они собраны в одном наборе.
Есть такое понятие как перекрытие клапанов, и при свободных клапанах первого цилиндра (в ВМТ) будут зажаты оба клапана 4-го цилиндра, а вот на втором и третьем по одному клапану останутся свободными. Поэтому регулировку можно сделать за два проворачивания коленчатого вала:
- выставляем ВМТ первого цилиндра, регулируем клапана 1-2-4-6, считая их от передней части мотора;
- делаем оборот коленвала и регулируем все остальные клапана (3-5-7-8).
В книгах рекомендуется регулировку проводить на холодную, на крайних клапанах (1 и 8) устанавливать зазор 0,35 мм, на остальных – 0,3 мм. Но на холодную регулировку производить нельзя – алюминиевые штанги с нагревом двигателя расширяются, и зазоры на горячем ДВС в клапанах уменьшаются. Практика показала, что наиболее оптимальный вариант – это регулировка на хорошо прогретом двигателе с зазорами 0,3 мм на всех клапанах. Кстати, точно также производится регулировка клапанных зазоров на машине ГАЗ 21 «Волга».
Регулировка клапанов ГАЗ 53
Двигатель ЗМЗ-53 также имеет нижнее расположение распредвала и верхнее расположение клапанов, но у мотора две ГБЦ, две оси коромысел и 16 алюминиевых штанг. Регулировку клапанов можно произвести двумя способами:
- по каждому цилиндру, проворачивая коленвал каждый раз на четверть оборота;
- за два приема, выставляя ВМТ первого и шестого цилиндров.
При регулировке клапанов за два оборота выставляем ВМТ 1-го цилиндра и регулируем зазоры выпускных клапанов цилиндров 1-2-4-5, впускных – цилиндров 1-3-7-8. Далее делаем полный оборот коленвала (ВМТ 6-го цилиндра) и регулируем все остальные клапана.
Согласно руководство по эксплуатации на двигателе ЗМЗ-53 также рекомендуется проводить регулировку зазоров клапанов на холодном ДВС. У «газоновского» двигателя штанги значительно короче, чем у ЗМЗ-402, поэтому при нагреве зазор уменьшается меньше. Тем не менее, все же лучше делать регулировку на хорошо прогретом моторе, в таком случае клапана точно не будут зажаты при достижении рабочей температуры ДВС. Зазоры следует выставлять 0,25 мм на всех клапанах.
Регулировка клапанов ГАЗ 3307
Двигатель ЗМЗ-511 (и другие его модификации) устанавливается на автомобиль ГАЗ 3307. Принципиально этот движок совершенно ничем не отличается от мотора ЗМЗ-53, поэтому регулировка клапанов ГАЗ 3307 производится точно так же, как и клапанов на автомобиле ГАЗ 53. Разница между моторами только в конструкции впускного коллектора, камерах сгорания ГБЦ и в некоторых элементах навесного оборудования.
Нюансы при регулировке клапанов на автомобилях ГАЗ
Клапана не всегда поддаются регулировке, в некоторых случаях стук остается даже при установке рекомендуемых зазоров. Причин такого явления может быть несколько:
- изношены кулачки распредвала;
- ось, на которой стоят коромысла, имеет выработку;
- носики коромысел неравномерно сработались;
- износились толкатели;
- сработались сухари пружин.
Если на пяточках коромысел есть выработка, хорошо отрегулировать клапана с помощью щупов не получится, в таком случае следует пользоваться индикатором.
Когда есть дефекты на кулачках распредвала, избавиться от клапанного стука не получится, даже если делать регулировку с помощью индикатора. В этом случае требуется только замена распределительного вала, и никакие регулировки здесь не помогут. Если сработались сухари пружин, отрегулировать зазоры также не удастся, так как коромысла будут убираться не клапан, а в чашку клапанной пружины. Этот дефект удастся устранить установкой новых сухарей.
Статьи по теме:
- Практичная и надежная Волга ГАЗ 31029 Легковые автомобили «Волга» прочно вошли в историю российского автомобилестроения, первая модель ГАЗ- 21 была запущена в производство в 1956 году, и эта машина пользовалась большим спросом […]
- Ремонт двигателя автомобиля Газель Все моторы, устанавливаемые на автомобили Газель, достаточно надежны, хотя недостатки можно найти в любом автомобильном двигателе. У каждой модели ДВС есть свой определенный ресурс, и […]
- Особенности карбюраторов К126 – устройство, настройка и регулировка Автомобили с карбюраторными двигателями постепенно уходят в прошлое, и таких машин становится все меньше, но так как по дорогам России ездит еще немало подобных авто, запчасти для них […]
avtobrands.ru
как выставить по меткам, видео установки привода трамблера
Система зажигания играет важную роль для ДВС. От бесперебойной работы СЗ зависит своевременность и мощность образования искры и качественное сгорание топливно-горючей смеси. Как настроить правильно порядок зажигания ГАЗ-53, как устроена сама система, какие у нее основные неисправности – говорится в данной статье.
Содержание
Открытьполное содержание
[ Скрыть]
Устройство системы зажигания ГАЗ-53
Для того, чтобы ремонтировать и настраивать СЗ на ГАЗ-53, необходимо знать, как она устроена.

На данных грузовиках установлена бесконтактная СЗ, которая состоит из следующих компонент:
- источник питания – АКБ;
- коммутатор;
- провода;
- дополнительное реле;
- катушка;
- прерыватель-распределитель;
- указатель тока;
- резисторный элемент;
- замок зажигания (выключатель).
Зная устройство СЗ, схему подключения ЗЗ и других ее компонентов, а также функции, которые выполняет каждый элемент, можно по признакам определить неполадки и устранить их причину. Все компоненты СЗ можно распределить на группы по выполняемым задачам.
Для нормальной работы ДВС необходимо выполнение следующих условий:
- мощная искра;
- соответствие между образованием искры и работой силового агрегата;
- отсутствие пропусков образования искры.
Вся система электронного зажигания представляет собой две цепи: первичную и вторичную.
В первичную входят такие элементы:
- АКБ с многожильными кабелями большого сечения;
- выключатель, подающий питание в цепь;
- первичная обмотка;
- прерыватель распределитель, находящийся в трамблере;
- коммутаторное устройство, обеспечивающее стабильность работы;
- сопротивление необходимое для успешного запуска двигателя и разгрузки КЗ, исключающее ее перегрев.
Вторичная цепь включает в себя:
- распределитель;
- провода для подачи высоковольтного тока;
- свечи.
Когда первичная цепь получает питание, в прерывателе возникает магнитное поле. Вращения трамблера прерывают ток в этом месте, что приводит к исчезновению магнитного поля. В этот момент на вторичной обмотке возникает сигнал, который переходит на цилиндры.
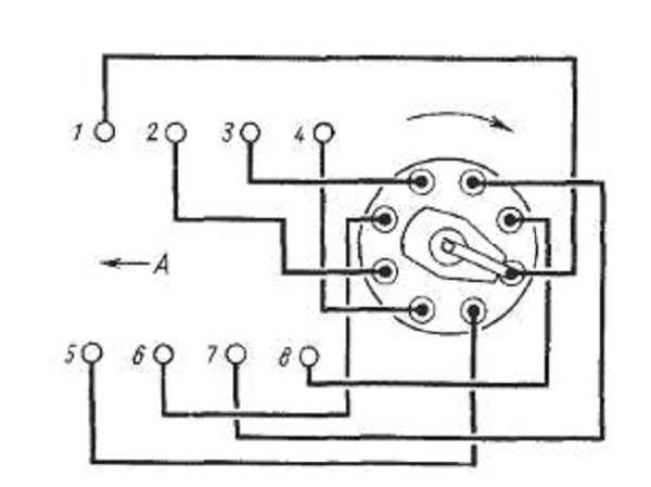
Фотогалерея
-
1. Схема контактной СЗ
-
2. Схема безконтактной СЗ ГАЗ-53 с коммутатором
Успешное искрообразование обеспечивается стабильной работой мотора и появлением достаточного напряжения на электродах. На мощность искры влияют размеры зазоров между электродами и величина поступающего напряжения.
При слабой искре или ее отсутствии увеличивается расход топлива, падает мощность двигателя.
Возможные неисправности СЗ: признаки и причины
Неисправности в СЗ отражаются на мощности силового агрегата, она снижается, и экономичном расходовании горючего.
Можно назвать следующие причины нестабильной работы СЗ на ГАЗ-53:
- Перегрев коммутатора или выход его из строя. Когда коммутатор перегревается, исчезает искра и двигатель не запускается. Завести двигатель становится возможным только после того, как он остынет и появится искра. Катушка также подвержена перегреву.
- Пробой в высоковольтных проводах. Это происходит, если провод держится недостаточно крепко в крышке трамблера: мотор будет работать нестабильно, с перебоями. Пробой проводов заметен в темноте — проскакивают искры голубого цвета.
- Прогорела крышка на прерывателе-распределителе. Обнаружить неисправность можно при визуальном осмотре. Возможно подгорание в месте, где установлен уголок с пружиной. Крышка должна быть без дефектов, не должна иметь выбоин, трещин.
- Могут подгореть контакты бегунка трамблера.
- Пробой свечей.
Если на вакуумном регуляторе трамблера диафрагма делает пропуски, то наблюдается падение мощности мотора. При этом если резко газовать, то силовой агрегат будет захлебывается и может перегреться. Трамблер выходит из строя редко, чаще всего причиной его поломки является износ по причине выработанного ресурса.
Инструкция по настройке зажигания
Причиной перегрева мотора и падения его мощности может быть позднее зажигание. Это может проявляться хлопками во впускном коллекторе. Поэтому нужно знать, как установить правильно зажигание (автор видео — Наиль Порошин).
Установка выполняется по меткам следующим образом:
- Сначала нужно поршень на первом цилиндре выставить в ВМТ и совместить метку указателя установки с меткой на шкиве коленчатого вала.
- Далее коленвал нужно поворачивать против движения часовой стрелки до совпадения риски 9 на указателе и метки на его шкиве.
- Затем нужно ослабить болт верхней пластины корректора, благодаря которому она крепится к прерывателю.
- Далее нужно подключить один провод контрольки к кузову авто (массе) и второй к клемме прерывателя. После включения зажигания прерыватель следует медленно поворачивать до момента, как засветится контролька. Это говорит о том, что контакты начали размыкаться.
- Теперь нужно затянуть крепежный болт прерывателя и установить крышку и ротор. На участке, противоположном тому, на котором устанавливалась пластина ротора, нужно присоединить высоковольтный провод к свече на 1-м цилиндре. Оставшиеся провода присоединяются к свечам цилиндров, согласно порядка, в котором они работают: 1-5-4-2-6-3-7-8.

Выставлять момент зажигания ГАЗ-53 нужно точно, так как при отклонениях падает мощность мотора и повышается расход топлива. Кроме того, возможно прогорание клапанов, поршней, пробои в прокладке ГБЦ и другие неполадки, связанные с детонацией.
Поэтому окончательная регулировка выполняется на работающем двигателе, который прогревается до температуры ОЖ в пределах 80 — 90 градусов. При работающем на холостых оборотах двигателе нужно гаечным ключом на «10» ослабить крепеж трамблера, чтобы его можно было провернуть. Слегка провернув трамблер против хода часовой стрелки, затягиваем болт крепления.
Нажимая на газ, как работает силовой агрегат. Если слышен «звон пальцев», то есть возникает детонация, проворачиваем трамблер по часовой стрелке в обратном направлении. Путем проб и ошибок устанавливаем нужный угол опережения.
Проверка делается на движущемся транспортном средстве. При стабильной работе силового агрегата настройка больше не нужна.
Порой трамблер отодвинут в крайнее положение, а регулировки не хватило. В этом случае нужно проконтролировать положение привода трамблера относительно двигателя.
Выполняется проверка на неработающем моторе:
- Сначала выставляются метки на переднем шкиве коленвала. Они должны совпадать на 1-м и 6-м цилиндрах. Чтобы не совершить ошибку, лучше снять крышку клапанов с первых 4-х цилиндров и проверить клапана. При правильном положении меток клапана в 1-м цилиндре будут свободными.
- Сняв трамблер осматриваем, как установлен привод. Если он расположен параллельно мотору, то необходима его замена или ремонт, регулировка, в этом случае, не поможет.
- Если положение привода неправильное, нужно открутить гайку крепления и снять деталь.
- После того, как привод будет полностью установлен на свое место, нужно проверить, чтобы канавка под трамблер шла параллельно ДВС (по ходу движения машины), а небольшой участок втулки на трамблере смотрел на 4-й и 8-й цилиндры (в сторону водителя). Опытным путем нужно добиться правильного положения привода распределителя.
Заключение
Следует выполнять настройку зажигания до тех пор, пока при значительной нагрузке на силовой агрегат двигателя будет появляться лишь небольшая детонация. Если выставлено раннее зажигание, это грозит пробоем прокладки ГБЦ и прогоранием клапанов и поршней. Если искра проскакивает позже, то увеличивается расход горючего, и возможен перегрев мотора. Точная установка выполняется с помощью стробоскопа.
Загрузка …Видео «Настройка зажигания по лампочке»
Как выставить зажигание по лампочке, демонстрирует следующий ролик (автор видео — Наиль Порошин).
avtoklema.com
Расположение и нумерация цилиндров в многоцилиндровых двигателях
Как могут располагаться цилиндры в многоцилиндровом двигателе?
Цилиндры в многоцилиндровом двигателе могут располагаться вертикально в один ряд (рис.9, а), наклонно к вертикали под углом 20° (рис.9, б), V-образно в два ряда, угол между которыми 90°, реже 75° (рис.9, в), горизонтально (оппозитно) – угол между цилиндрами 180° (рис.9, г).
Рис.9. Расположение цилиндров в двигателе:
а – вертикальное; б – наклонное; в – V- образное; г – оппозитное (горизонтальное).
На каких автомобилях применяются двигатели с вертикальным однорядным расположением цилиндров и в чем их недостатки?
Двигатели с вертикальным однорядным расположением цилиндров устанавливают на автомобилях ГАЗ-24 «Волга», ВАЗ, УАЗ-469, ГАЗ-51А, ГАЗ-52 и других. Недостатком их есть то, что с увеличением числа цилиндров увеличивается длина двигателя, ухудшая компоновку автомобиля, появляются крутильные колебания коленчатого вала.
На каких автомобилях устанавливаются V-образные двигатели?
На автомобилях ГАЗ-53А, ГАЗ·66, ГАЗ-14 «Чайка», ЗИЛ-130, ЗИЛ-131, ЗИЛ-117, Урал, КамАЗ, КрАЗ и других устанавливают V-образные восьмицилиндровые двигатели, в которых цилиндры расположены в два ряда, угол между которыми 90°. На автомобилях МАЗ-500А установлен V-образный шестицилиндровый, а на автомобилях ЗАЗ и ЛуАЗ – V-образны четырехцилиндровый двигатель, в которых угол между цилиндрами 90°.
V-образные двигатели значительно короче рядных двигателей с таким же количеством цилиндров и мощностью, что улучшает компоновку автомобиля, позволяет получить более просторый кузов легкового автомобиля, установить кабину водителя над двигателем и таким путем сдвинуть кузов грузового автомобиля ближе к переднему мосту, что позволяет более равномерно нагрузить оси автомобиля и повысить таким путем устойчивость при движении.
На каких автомобилях устанавливают двигатели с горизонтальным расположением цилиндров и в чем их преимущество?
Горизонтальное (оппозитное) расположение цилиндров в двигателе обычно применяется на автобусах («Икарус-250»), что позволяет установить двигатель непосредственно под полом салона автобуса, использовав весь кузов для размещения пассажиров.
Как нумеруются цилиндры в многоцилиндровых двигателях?
Нумерация цилиндров показана на рисунке 10: а – рядного четырехцилиндрового; б – рядного шестицилиндрового; в – V-образного четырехцилиндрового; г – V-образного шестицилиндрового; д – V-образного восьмицилиндрового двигателя.

Рис.10. Нумерация цилиндров двигателя:
а и б – рядных двигателей; в, г, д – V-образных двигателей.
***
Проверьте свои знания и ответьте на контрольные вопросы по теме «Многоцилиндровые двигатели. Кривошипно-шатунный механизм»
автомобиль, двигатель, расположение, цилиндр
Смотрите также:
avtomobil-1.ru
Как отрегулировать клапана двигателя ГАЗ-66, ГАЗ-53
Снимаем клапанные крышки.
Выворачиваем свечи зажигания.
Устанавливаем поршень первого цилиндра в верхнюю мертвую точку, для этого закрываем пальцем отверстие для свечи первого цилиндра и провертываем коленчатый вал двигателя пусковой рукояткой до момента начала выхода воздуха из под пальца. Это произойдет в начале такта сжатия в первом цилиндре.

Убедившись, что сжатие началось, осторожно проворачиваем коленчатый вал двигателя пусковой рукояткой до совпадения указателя на картере сцепления с шариком зачеканенным в маховик (рисунок 1), а у автомобиля ГАЗ-53 – до совпадения риски на шкиве коленчатого вала с центральной риской указателя в. м, т. (рис. 2).

При положении поршня первого цилиндра в ВМТ такта сжатия впускной и выпускной клапана полностью должны быть закрыты.

В этом положении устанавливаем или проверяем зазор между коромыслом и стержнем клапана, который должен быть 0,25 – 030 мм на холодном (15 – 20 ˚ С) двигателе.

Допускается уменьшение зазора до 0,15—0,20 мм у клапанов, расположенных по краям головок: первого и восьмого впускных, четвертого и пятого выпускных (рис. 3).
Если зазор не совпадает: — ослабляем контргайку регулировочного болта и, вращая регулировочный болт, устанавливаем по щупу необходимый зазор.
Затягиваем контргайку, удерживая от проворачивания болт, и снова проверяем зазор.
Зазоры у остальных цилиндров регулируем в порядке работы цилиндров 1-5-4-2-6-3-7-8, поворачивая коленчатый вал при переходе от цилиндра к цилиндру на ¼ оборота.

Чтобы лучше ориентироваться и ускорить процесс быстросохнущей краской размечаем приводной шкив на четыре части (рисунок 6).
autoruk.ru
Основные размеры и условия для сборки двигателя ГАЗ-66, ГАЗ-53
Страница 1 из 3
Все детали, поступающие на сборку, должны быть очищены от грязи, нагара и накипи, обезжирены, промыты и высушены.
Масляные каналы и отверстия в деталях должны быть прочищены, промыты под давлением и продуты сжатым воздухом.
Не допускается промывка деталей из алюминиевых и цинковых сплавов в щелочных растворах, применяемых для мойки стальных и чугунных деталей, так как алюминий и цинк растворяются в щелочах.
Все агрегаты, а также детали разобранных агрегатов при ремонте могут быть обезличены, за исключением следующих деталей:
— блока цилиндров и крышек коренных подшипников;
— шатуна и крышки шатуна;
— шестерен главной передачи;
— крышек подшипников дифференциала и картера главной передачи;
— правой и левой коробок сателлитов дифференциала. Допускается комплектование главной передачи из годных работавших или новых шестерен при условии обязательной проверки их зацепления на специальном приспособлении.
Отколы на зубьях шестерен и выкрашивание рабочей поверхности зубьев не допускаются.
Блок цилиндров
Блок цилиндров и крышки коренных подшипников при разборке, контроле и сортировке не должны раскомплектовываться, так как они обработаны совместно и поэтому не взаимозаменяемы.
Блоки цилиндров, поступающие на сборку, должны быть тщательно очищены от грязи и накипи, а масляные каналы — от шлама и стружки.
Гнезда вкладышей коренных подшипников должны быть расточены до номинального размера, если их размер и несоосность превышают допустимую величину. Чистота расточенных гнезд должна соответствовать классу 6-б по ГОСТ 2789—51, а максимальная их несоосность не должна превышать 0,02 мм.
При контроле, а также при растачивании гнезд момент затяжки болтов крепления, крышек коренных подшипников должен быть 11—12 кГм.
На поверхности расточенных гнезд вкладышей следы черноты не допускаются.
Втулки распределительного вала, запрессованные в блок цилиндров, должны быть расточены до номинального или одного из ремонтных размеров, приведенных в табл. 1.
Чистота расточенных поверхностей должна соответствовать классу 7 по ГОСТ 2789—51, а несоосность втулок не должна превышать 0,025 мм.
Непараллельность осей коленчатого и распределительного валов не должна превышать 0,04 мм на всей длине, а расстояние между осями должно находиться в пределах 125,5 ± 0,025 мм.
Отклонение от перпендикулярности оси отверстий под гильзу цилиндра к оси коленчатого вала допускается в пределах 0,015 мм на длине 100 мм, а оси отверстий под толкатели к оси распределительного вала—не более 0,050 мм на длине 100 мм.
Чтобы обеспечить селективную сборку в новых блоках цилиндров, отверстия под толкатели рассортированы на две размерные группы.
Маркируют размерные группы маслостойкой краской на приливах под толкатели.
После обработки отверстий под толкатели ремонтных размеров их необходимо также сортировать на размерные группы. Маркировка размерных групп и ремонтные размеры отверстий под толкатели приведены в табл. 2.
Гильзы цилиндров
Гильзы цилиндров, устанавливаемые на один двигатель, должны быть номинального размера или расточены и хонингованы до одного общего для всех гильз ремонтного размера, указанных в табл. 3.
Овальность и конусность окончательно обработанных гильз не должна превышать 0,02 мм. Причем большее основание конуса должно быть в нижней части гильзы. Бочкообразность и корсетность не более 0,01 мм. Поверхность гильзы должна быть зеркально-блестящей без рисок и черноты, ее чистота должна соответствовать классу 9-а.
Чтобы обеспечить селективную сборку сопряжения гильза — поршень, на автомобильных заводах гильзы номинального размера сортируют на пять размерных групп. Размерные группы обозначают буквами русского алфавита, которые нанесены резиновой печаткой на шлифованной наружной поверхности гильз. С этой же целью гильзы, обработанные до ремонтного размера, также должны быть рассортированы на размерные группы.
Если овальность посадочной поверхности гильзы превышает допустимую величину 0,025 мм, то поверхность должна быть восстановлена осталиванием с последующей обработкой до номинального размера. При этом биение посадочной поверхности относительно внутренней поверхности гильзы не должно превышать 0,08 мм, а непараллельность осей, указанных поверхностей не должна превышать 0,02 мм на длине 100 мм.
|
Таб. 3 Размерные группы гильз номинального и ремонтного размеров и их обозначения |
|||
|
Наименование |
Увеличение диаметра гильзы, мм |
Обозначение группы |
Диаметр гильз, мм |
|
Номинальный |
— |
А |
92,0+0,012 |
|
Б |
92,0+0,024 |
||
|
В |
92,0+0,036 |
||
|
Г |
92,0+0,048 |
||
|
Д |
92,0+0,060 |
||
|
1-й ремонтный |
0,5 |
1А |
92,5+0,012 |
|
1Б |
92,5+0,024 |
||
|
1В |
92,5+0,036 |
||
|
1Г |
92,5+0,048 |
||
|
1Д |
92,5+0,060 |
||
|
2-й ремонт |
1,0 |
2А |
93,0+0.012 |
|
2Б |
93,0+0.024 |
||
|
2В |
93,0+0.036 |
||
|
2Г |
93,0+0.048 |
||
|
2Д |
93,0+0,060 |
||
|
3-й ремонт |
1,5 |
3А |
9З,5-0,012 |
|
3Б |
9З,5+0,012 |
||
|
3В |
9З,5+0,024 |
||
|
3Г |
9З,5+0,036 |
||
|
3Д |
9З,5+0,048 |
||
|
Таб. 2 Размерные группы отверстий под толкатели номинального и ремонтных размеров |
||||
|
Наименование |
Увеличение диаметра отверстия, мм |
группа |
Цвет маркировки группы |
Диаметр отверстия, мм |
|
Номинальный |
— |
I |
Желтый |
25,0+0,011 |
|
II |
Голубой |
25,0+0,023 |
||
|
1-й ремонтный |
0,10 |
I |
Белый |
25,1+0,011 |
|
II |
Зеленый |
25,1+0,023 |
||
|
2-й ремонтный |
0,20 |
I |
Черный |
25,2+0,011 |
|
II |
Красный |
25,2+0,023 |
||
|
Таб. 1 Номинальный и ремонтные размеры отверстий во втулках распределительного вала |
||
|
Наименование размера |
Уменьшение диаметра, мм |
диаметр отверстия во втулке, мм |
|
Номинальный |
— |
50,0+0,05 |
|
1-й ремонтный |
0,25 |
49,75+0,05 |
|
2-й ремонтный |
0,5 |
49,5+0,05 |
Поршни и поршневые пальцы
|
Таб. 4 Размерные группы поршней номинального и ремонтного размеров и их обозначения |
|||
|
Наименование |
Увеличение диаметра гильзы, мм |
Обозначение группы |
Диаметр гильз, мм |
|
Номинальный |
— |
А |
92,0-0,012 |
|
Б |
92,0+0,012 |
||
|
В |
92,0+0,024 |
||
|
Г |
92,0+0,036 |
||
|
Д |
92,0+0,048 |
||
|
1-й ремонтный |
0,5 |
1А |
92,5-0,012 |
|
1Б |
92,5+0,012 |
||
|
1В |
92,5+0,024 |
||
|
1Г |
92,5+0,036 |
||
|
1Д |
92,5+0,048 |
||
|
2-й ремонт |
1,0 |
2А |
93,0-0.012 |
|
2Б |
93,0+0.012 |
||
|
2В |
93,0+0.024 |
||
|
2Г |
93,0+0.036 |
||
|
2Д |
93,0+0,048 |
||
|
3-й ремонт |
1,5 |
3А |
9З,5-0,012 |
|
3Б |
9З,5+0,012 |
||
|
3В |
9З,5+0,024 |
||
|
3Г |
9З,5+0,036 |
||
|
3Д |
9З,5+0,048 |
||
autoruk.ru



1. Схема контактной СЗ
2. Схема безконтактной СЗ ГАЗ-53 с коммутатором