ΠΠ°ΠΊ ΡΠ°ΠΌΠΎΠΌΡ ΡΠ΄Π΅Π»Π°ΡΡ ΡΠΊΠ»Π°Π΄Π½ΠΎΠΉ Π½ΠΎΠΆ, Ρ ΡΠ΅Π³ΠΎ Π½Π°ΡΠ°ΡΡ, Π²ΡΠ±ΠΎΡ ΠΌΠ°ΡΠ΅ΡΠΈΠ°Π»Π°
ΠΡ ΡΠ΅ΡΠΈΠ»ΠΈ, Π½Π°ΠΊΠΎΠ½Π΅Ρ, ΡΠ΄Π΅Π»Π°ΡΡ ΡΠ²ΠΎΠΉ ΠΏΠ΅ΡΠ²ΡΠΉ ΡΠΊΠ»Π°Π΄Π½ΠΎΠΉ Π½ΠΎΠΆ. ΠΡΠΎ ΠΏΡΠ°Π²ΠΈΠ»ΡΠ½ΠΎ. ΠΠΎ Π²ΡΡΠΊΠΎΠΌ ΡΠ»ΡΡΠ°Π΅, ΠΌΠ½Π΅ ΡΡΠΎΡ ΠΏΡΠΎΡΠ΅ΡΡ Π΄ΠΎΡΡΠ°Π²Π»ΡΠ΅Ρ Π±ΠΎΠ»ΡΡΠΎΠ΅ ΡΠ΄ΠΎΠ²ΠΎΠ»ΡΡΡΠ²ΠΈΠ΅, Π° ΡΠ΅Π·ΡΠ»ΡΡΠ°Ρ Π²Π΄ΠΎΡ Π½ΠΎΠ²Π»ΡΠ΅Ρ Π½Π° Π½ΠΎΠ²ΠΎΠ΅ ΡΠ²ΠΎΡΡΠ΅ΡΡΠ²ΠΎ. ΠΠΎΠΏΡΠΎΠ±ΡΠΉΡΠ΅. ΠΠ°Π»Π΅ΡΡ Π½Π΅ Π±ΡΠ΄Π΅ΡΠ΅ Π² Π»ΡΠ±ΠΎΠΌ ΡΠ»ΡΡΠ°Π΅. ΠΠ΅ΠΊΡΠΎ ΡΠΌΠ½ΡΠΉ ΡΠΊΠ°Π·Π°Π» ΠΎΠ΄Π½Π°ΠΆΠ΄Ρ: Β«Π»ΡΡΡΠ΅ ΡΠ΄Π΅Π»Π°ΡΡ, ΠΈ ΠΏΠΎΡΠΎΠΌ ΠΆΠ°Π»Π΅ΡΡ, ΡΠ΅ΠΌ ΠΆΠ°Π»Π΅ΡΡ, ΡΡΠΎ Π½Π΅ ΡΠ΄Π΅Π»Π°Π»Β».Β
ΠΠ°ΠΊ ΡΠ°ΠΌΠΎΠΌΡ ΡΠ΄Π΅Π»Π°ΡΡ ΡΠΊΠ»Π°Π΄Π½ΠΎΠΉ Π½ΠΎΠΆ, Ρ ΡΠ΅Π³ΠΎ Π½Π°ΡΠ°ΡΡ, Π²ΡΠ±ΠΎΡ ΠΌΠ°ΡΠ΅ΡΠΈΠ°Π»Π° ΠΊΠ»ΠΈΠ½ΠΊΠ° ΠΈ ΡΡΠΊΠΎΡΡΠΈ, ΠΈΠ·Π³ΠΎΡΠΎΠ²Π»Π΅Π½ΠΈΠ΅ ΠΏΠ»Π°ΡΠ΅ΠΊ ΡΡΠΊΠΎΡΡΠΈ, ΡΠ±ΠΎΡΠΊΠ° ΡΠ°ΠΌΠΎΠ΄Π΅Π»ΡΠ½ΠΎΠ³ΠΎ ΡΠΊΠ»Π°Π΄Π½ΠΎΠ³ΠΎ Π½ΠΎΠΆΠ°.
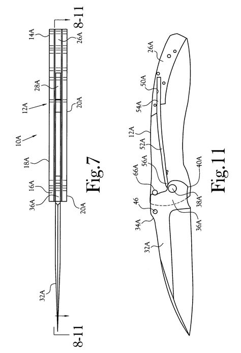
Π Π°Π· ΠΡ ΡΠΆΠ΅ ΡΠ΅ΡΠΈΠ»ΠΈΡΡ, Π·Π½Π°ΡΠΈΡ, Ρ ΠΠ°Ρ Π΅ΡΡΡ ΠΊΠ°ΠΊΠΈΠ΅-ΡΠΎ Π·Π°Π΄ΡΠΌΠΊΠΈ ΠΏΠΎ Π΄ΠΈΠ·Π°ΠΉΠ½Ρ. ΠΡΠ΅Π΄ΠΏΠΎΠ»ΠΎΠΆΠΈΠΌ, ΡΡΠΎ ΠΡ Π²ΡΠ±ΡΠ°Π»ΠΈ Π»ΠΈΠ½Π΅ΠΉΠ½ΡΠΉ Π·Π°ΠΌΠΎΠΊ (Liner Lock), Π° ΡΡΠΎ ΠΎΠ΄ΠΈΠ½ ΠΈΠ· Π»ΡΡΡΠΈΡ Π½ΠΎΠΆΠ΅Π²ΡΡ Π·Π°ΠΌΠΊΠΎΠ². ΠΡΠ»ΠΈ Π½Π΅ ΡΠ°ΠΌΡΠΉ Π»ΡΡΡΠΈΠΉ. ΠΠ½ ΡΠΎΠ΄Π΅ΡΠΆΠΈΡ ΠΌΠΈΠ½ΠΈΠΌΡΠΌ Π΄Π΅ΡΠ°Π»Π΅ΠΉ, Π° Π·Π½Π°ΡΠΈΡ ΠΎΠ±Π»Π°Π΄Π°Π΅Ρ ΠΌΠ°ΠΊΡΠΈΠΌΡΠΌΠΎΠΌ Π½Π°Π΄Π΅ΠΆΠ½ΠΎΡΡΠΈ.
ΠΠ΅ΠΌΠ½ΠΎΠΆΠΊΠΎ ΠΈΡΡΠΎΡΠΈΠΈ. Π‘ΠΎΠ²ΡΠ΅ΠΌΠ΅Π½Π½ΡΠΉ Π»ΠΈΠ½Π΅ΠΉΠ½ΡΠΉ Π·Π°ΠΌΠΎΠΊ Π±ΡΠ» ΠΈΠ·ΠΎΠ±ΡΠ΅ΡΠ΅Π½ ΠΠ°ΠΉΠΊΠ»ΠΎΠΌ Π£ΠΎΠΊΠ΅ΡΠΎΠΌ Π² 1981 Π³ΠΎΠ΄Ρ. Π‘Π°ΠΌΠΎΠ΅ Π³Π»Π°Π²Π½ΠΎΠ΅, ΡΡΠΎ ΡΠ΄Π΅Π»Π°Π» ΠΠ°ΠΉΠΊΠ», ΡΡΠΎ ΡΠΎΠ·Π΄Π°Π» ΡΠ°ΠΌΠΎΡΡΠΎΡΡΠ΅Π»ΡΠ½ΡΡ ΡΠΈΡΡΠ΅ΠΌΡ ΡΠΈΠΊΡΠ°ΡΠΈΠΈ ΠΊΠ»ΠΈΠ½ΠΊΠ°, ΠΈΠΌΠ΅ΡΡΡΡ ΡΠΎΠ»ΡΠΊΠΎ ΠΎΠ΄Π½Ρ ΠΏΡΡΠΆΠΈΠ½Ρ.
ΠΠ»Π°ΡΡΠΈΠ½ΡΠ°ΡΠ°Ρ ΠΏΡΡΠΆΠΈΠ½Π° Π·Π°ΠΌΠΊΠ° Π½Π΅ ΡΠΎΠ»ΡΠΊΠΎ Π±Π»ΠΎΠΊΠΈΡΡΠ΅Ρ ΠΊΠ»ΠΈΠ½ΠΎΠΊ Π² ΠΎΡΠΊΡΡΡΠΎΠΌ ΠΏΠΎΠ»ΠΎΠΆΠ΅Π½ΠΈΠΈ, Π½ΠΎ ΠΈ ΠΎΠ±Π΅ΡΠΏΠ΅ΡΠΈΠ²Π°Π΅Ρ Π΅Π³ΠΎ Π½Π°Π΄Π΅ΠΆΠ½ΡΡ ΡΠΈΠΊΡΠ°ΡΠΈΡ Π² Π·Π°ΠΊΡΡΡΠΎΠΌ.
ΠΡΠΎΠΌΠ΅ ΡΠΎΠ³ΠΎ, ΡΠ°ΠΊΠΎΠΉ Π·Π°ΠΌΠΎΠΊ ΠΏΠΎΠ·Π²ΠΎΠ»ΡΠ΅Ρ ΠΎΡΠΊΡΡΠ²Π°ΡΡ ΠΈ Π·Π°ΠΊΡΡΠ²Π°ΡΡ ΡΠΊΠ»Π°Π΄Π½ΠΎΠΉ Π½ΠΎΠΆ ΠΎΠ΄Π½ΠΎΠΉ ΡΡΠΊΠΎΠΉ. ΠΡΠΎ ΠΈΠ·ΠΎΠ±ΡΠ΅ΡΠ΅Π½ΠΈΠ΅ Π² ΠΏΠΎΠ»Π½ΠΎΠΌ ΡΠΌΡΡΠ»Π΅ ΡΡΠΎΠ³ΠΎ ΡΠ»ΠΎΠ²Π° ΠΈΠ·ΠΌΠ΅Π½ΠΈΠ»ΠΎ ΠΎΠ±Π»ΠΈΠΊ ΡΠΎΠ²ΡΠ΅ΠΌΠ΅Π½Π½ΠΎΠ³ΠΎ ΡΠΊΠ»Π°Π΄Π½ΠΎΠ³ΠΎ Π½ΠΎΠΆΠ°. Π§Π΅ΡΡΡ Π΅ΠΌΡ Π·Π° ΡΡΠΎ ΠΈ Ρ Π²Π°Π»Π°.
C ΡΠ΅Π³ΠΎ Π½Π°ΡΠ°ΡΡ ΡΠ°ΠΌΠΎΡΡΠΎΡΡΠ΅Π»ΡΠ½ΠΎΠ΅ ΠΈΠ·Π³ΠΎΡΠΎΠ²Π»Π΅Π½ΠΈΠ΅ ΡΠΊΠ»Π°Π΄Π½ΠΎΠ³ΠΎ Π½ΠΎΠΆΠ°.
Π‘Π΄Π΅Π»Π°ΠΉΡΠ΅ Π½Π°Π±ΡΠΎΡΠΎΠΊ Π±ΡΠ΄ΡΡΠ΅ΠΉ ΠΊΠΎΠ½ΡΡΡΡΠΊΡΠΈΠΈ Π½Π° Π±ΡΠΌΠ°Π³Π΅ ΠΈΠ»ΠΈ Π² ΠΊΠ°ΠΊΠΎΠΌ-Π½ΠΈΠ±ΡΠ΄Ρ Π³ΡΠ°ΡΠΈΡΠ΅ΡΠΊΠΎΠΌ ΡΠ΅Π΄Π°ΠΊΡΠΎΡΠ΅. ΠΠ°ΠΏΡΠΈΠΌΠ΅Ρ, ΠΏΠΎΠ»ΡΡΠΈΠ»ΠΎΡΡ ΡΠ°ΠΊ:
ΠΠΎΡΠ»Π΅ ΡΡΠΎΠ³ΠΎ Ρ ΡΠ΅ΠΊΠΎΠΌΠ΅Π½Π΄ΡΡ Π²ΡΡΠ΅Π·Π°ΡΡ ΡΠ°Π±Π»ΠΎΠ½Ρ Π»Π΅Π·Π²ΠΈΡ ΠΈ ΡΡΠΊΠΎΡΡΠΈ ΠΈΠ· ΠΊΠ°ΡΡΠΎΠ½Π°, ΠΏΡΠΎΡΠ΅Π·Π°ΡΡ ΠΎΡΠ²Π΅ΡΡΡΠΈΠ΅ ΠΏΠΎΠ΄ ΠΎΡΡ ΠΈ ΡΠΊΡΠ΅ΠΏΠΈΡΡ ΠΌΠΎΠ΄Π΅Π»Ρ Π½ΠΎΠΆΠ° Π²ΠΈΠ½ΡΠΎΠΌ Ρ Π³Π°ΠΉΠΊΠΎΠΉ. Π’Π΅ΠΏΠ΅ΡΡ ΠΡ ΠΌΠΎΠΆΠ΅ΡΠ΅ ΠΏΡΠΎΠ²Π΅ΡΠΈΡΡ, ΠΊΠ°ΠΊ Π·Π°ΠΊΡΡΠ²Π°Π΅ΡΡΡ ΠΈ ΠΎΡΠΊΡΡΠ²Π°Π΅ΡΡΡ Π²Π°Ρ Π±ΡΠ΄ΡΡΠΈΠΉ ΡΠΊΠ»Π°Π΄Π½ΠΎΠΉ Π½ΠΎΠΆ.
ΠΡΠ±Π΅ΡΠΈΡΠ΅ ΠΌΠ΅ΡΡΠΎ ΠΊΡΠ΅ΠΏΠ»Π΅Π½ΠΈΡ ΡΡΠΎΠΏΠΎΡΠ½ΠΎΠ³ΠΎ ΡΡΠΈΡΡΠ° ΠΈ ΠΏΡΠΎΠ²Π΅ΡΡΡΠ΅, Π½Π΅ ΡΠ΅ΠΏΠ»ΡΠ΅Ρ Π»ΠΈ Π΅Π³ΠΎ ΠΏΡΡΠΊΠ° ΠΊΠ»ΠΈΠ½ΠΊΠ° ΠΏΡΠΈ ΡΠΊΠ»Π°Π΄ΡΠ²Π°Π½ΠΈΠΈ. ΠΡΠ±Π΅ΡΠΈΡΠ΅ ΡΠΎΡΠΌΡ ΠΏΡΡΠΊΠΈ ΠΊΠ»ΠΈΠ½ΠΊΠ°. ΠΡΠ° ΡΠ°ΡΡΡ ΠΎΡΠ΅Π½Ρ Π²Π°ΠΆΠ½Π° Π΄Π»Ρ Π½ΠΎΡΠΌΠ°Π»ΡΠ½ΠΎΠ³ΠΎ ΡΡΠ½ΠΊΡΠΈΠΎΠ½ΠΈΡΠΎΠ²Π°Π½ΠΈΡ ΡΠΊΠ»Π°Π΄Π½ΠΎΠ³ΠΎ Π½ΠΎΠΆΠ°. ΠΠ΅ ΡΠ»Π΅Π΄ΡΠ΅Ρ ΠΏΡΠΎΡΡΠΈΡΡΠ²Π°ΡΡ Ρ ΠΎΡΠΎΠ±ΠΎΠΉ Π²Π½ΠΈΠΌΠ°ΡΠ΅Π»ΡΠ½ΠΎΡΡΡΡ.
ΠΠ±ΡΠ°ΡΠΈΡΠ΅ Π²Π½ΠΈΠΌΠ°Π½ΠΈΠ΅, ΡΡΠΎ ΠΎΠΏΠΎΡΠ½Π°Ρ ΡΠ°ΡΡΡ ΠΏΡΡΠΊΠΈ, ΠΊΠΎΡΠΎΡΠ°Ρ Π±ΡΠ΄Π΅Ρ ΠΊΠΎΠ½ΡΠ°ΠΊΡΠΈΡΠΎΠ²Π°ΡΡ Ρ ΠΏΠ»Π°ΡΡΠΈΠ½ΠΎΠΉ Π·Π°ΠΌΠΊΠ°, Π΄ΠΎΠ»ΠΆΠ½Π° ΠΈΠΌΠ΅ΡΡ ΡΠΊΠΎΡ ΠΏΡΡΠ΄ΠΊΠ° 7-9 Π³ΡΠ°Π΄ΡΡΠΎΠ², Π½Π΅ΠΎΠ±Ρ
ΠΎΠ΄ΠΈΠΌΡΠΉ Π΄Π»Ρ Π²ΡΠ±ΠΎΡΠΊΠΈ Π²ΠΎΠ·ΠΌΠΎΠΆΠ½ΠΎΠ³ΠΎ Π»ΡΡΡΠ°.
Π ΠΎΡΠ½ΠΎΠ²Π΅ ΡΠ°Π±ΠΎΡΡ Π»ΠΈΠ½Π΅ΠΉΠ½ΠΎΠ³ΠΎ Π·Π°ΠΌΠΊΠ° Π»Π΅ΠΆΠ°Ρ ΡΡΠΈ ΡΠΎΡΠΊΠΈ, ΠΎΠ±ΡΠ°Π·ΡΡΡΠΈΠ΅ ΡΡΠ΅ΡΠ³ΠΎΠ»ΡΠ½ΠΈΠΊ β ΡΠ°ΠΌΡΡ ΡΠΈΠ»ΡΠ½ΡΡ ΡΠΈΠ³ΡΡΡ Π² ΠΏΡΠΈΡΠΎΠ΄Π΅. ΠΠΎΡ ΡΡΠΈ ΡΡΠΈ ΡΠΎΡΠΊΠΈ: ΠΏΠΎΠ²ΠΎΡΠΎΡΠ½ΡΠΉ ΡΡΠΈΡΡ, ΡΡΠΎΠΏΠΎΡΠ½ΡΠΉ ΡΡΠΈΡΡ ΠΈ ΠΊΠΎΠ½ΡΠ°ΠΊΡΠ½Π°Ρ Π·ΠΎΠ½Π° ΠΎΠΏΠΎΡΠ½ΡΡ ΠΏΠ»ΠΎΡΠΊΠΎΡΡΠ΅ΠΉ ΠΏΡΡΠΊΠΈ ΠΊΠ»ΠΈΠ½ΠΊΠ° ΠΈ ΡΡΠΎΠΏΠΎΡΠ° (ΠΏΡΠΈΠΆΠΈΠΌΠ½ΠΎΠΉ ΠΏΠ»Π°ΡΡΠΈΠ½Ρ). ΠΠ΅ΡΠ΅Π΄Π°ΡΠ° ΡΠΆΠΈΠΌΠ°ΡΡΠ΅Π³ΠΎ ΡΡΠΈΠ»ΠΈΡ ΠΎΡ ΠΏΡΡΠΆΠΈΠ½Ρ Π²ΡΠ±ΠΈΡΠ°Π΅Ρ ΠΏΡΠΎΠ΄ΠΎΠ»ΡΠ½ΡΠ΅ Π»ΡΡΡΡ ΠΈ ΠΏΡΠΈΠ²ΠΎΠ΄ΠΈΡ Π²ΡΡ ΡΠΈΡΡΠ΅ΠΌΡ Π² ΠΆΠ΅ΡΡΠΊΠΎΠ΅ Π½Π°ΠΏΡΡΠΆΠ΅Π½Π½ΠΎΠ΅ ΡΠΎΡΡΠΎΡΠ½ΠΈΠ΅.
ΠΡΠΎΠΌΠ΅ ΡΠΈΠ»Ρ Π±ΠΎΠΊΠΎΠ²ΠΎΠ³ΠΎ Π΄Π°Π²Π»Π΅Π½ΠΈΡ ΡΠ°ΠΌΠΎΠ³ΠΎ ΡΡΠΎΠΏΠΎΡΠ°, Π² ΠΊΠΎΠ½ΡΡΡΡΠΊΡΠΈΠΈ Π·Π°ΠΌΠΊΠ° Π½Π΅Ρ ΡΠ»Π΅ΠΌΠ΅Π½ΡΠΎΠ², ΠΊΠΎΡΠΎΡΡΠ΅ Π±Ρ ΡΠΈΠΊΡΠΈΡΠΎΠ²Π°Π»ΠΈ ΡΠΊΠ»Π°Π΄Π½ΠΎΠΉ Π½ΠΎΠΆ Π² Π·Π°ΠΊΡΡΡΠΎΠΌ ΠΏΠΎΠ»ΠΎΠΆΠ΅Π½ΠΈΠΈ. ΠΠΎ ΡΡΠΎΠΉ ΠΏΡΠΈΡΠΈΠ½Π΅ Π² ΡΡΠΎΠΏΠΎΡ Π΄ΠΎΠΏΠΎΠ»Π½ΠΈΡΠ΅Π»ΡΠ½ΠΎ ΠΌΠΎΠ½ΡΠΈΡΡΠ΅ΡΡΡ Π½Π΅Π±ΠΎΠ»ΡΡΠΎΠΉ Π·Π°ΠΊΠ°Π»Π΅Π½Π½ΡΠΉ ΡΡΠ°Π»ΡΠ½ΠΎΠΉ ΡΠ°ΡΠΈΠΊ ΠΎΡ ΠΏΠΎΠ΄ΡΠΈΠΏΠ½ΠΈΠΊΠ°, ΡΠ²Π»ΡΡΡΠΈΠΉΡΡ ΡΠΈΠΊΡΠ°ΡΠΎΡΠΎΠΌ ΠΊΠ»ΠΈΠ½ΠΊΠ° Π² Π·Π°ΠΊΡΡΡΠΎΠΌ ΠΏΠΎΠ»ΠΎΠΆΠ΅Π½ΠΈΠΈ.
ΠΡ
ΠΎΠ΄Ρ Π² Π³Π½Π΅Π·Π΄ΠΎ ΡΡΠ΅ΡΠΈΡΠ΅ΡΠΊΠΎΠΉ ΡΠΎΡΠΌΡ Π½Π° ΠΏΡΡΠΊΠ΅ ΠΊΠ»ΠΈΠ½ΠΊΠ° ΡΡΠΎΡ ΡΠ²ΠΎΠ΅ΠΎΠ±ΡΠ°Π·Π½ΡΠΉ ΡΠΈΠΊΡΠ°ΡΠΎΡ, ΠΈΡΠΏΠΎΠ»ΡΠ·ΡΡ ΡΡΠΈΠ»ΠΈΠ΅ ΠΈΠ·ΠΎΠ³Π½ΡΡΠΎΠΉ ΠΏΠ»Π°ΡΡΠΈΠ½Ρ, ΡΠ΄Π΅ΡΠΆΠΈΠ²Π°Π΅Ρ ΠΊΠ»ΠΈΠ½ΠΎΠΊ Π² Π·Π°ΠΊΡΡΡΠΎΠΌ ΠΏΠΎΠ»ΠΎΠΆΠ΅Π½ΠΈΠΈ ΠΎΡ ΡΠ°ΠΌΠΎΠΏΡΠΎΠΈΠ·Π²ΠΎΠ»ΡΠ½ΠΎΠ³ΠΎ ΠΎΡΠΊΡΡΠ²Π°Π½ΠΈΡ.
ΠΡΠ°Π²ΠΈΠ»ΡΠ½ΠΎΠ΅ ΡΠ°ΡΠΏΠΎΠ»ΠΎΠΆΠ΅Π½ΠΈΠ΅ ΡΡΠΎΠ³ΠΎ ΡΠ°ΡΠΎΠ²ΠΎΠ³ΠΎ ΡΠΈΠΊΡΠ°ΡΠΎΡΠ° ΠΎΡΠ΅Π½Ρ Π²Π°ΠΆΠ½ΠΎ Π΄Π»Ρ ΡΡΠ½ΠΊΡΠΈΠΎΠ½ΠΈΡΠΎΠ²Π°Π½ΠΈΡ Π·Π°ΠΌΠΊΠ°.
ΠΡΠΌΠ΅ΡΡΡΠ΅ Π½Π° ΠΌΠ°ΠΊΠ΅ΡΠ΅ ΠΊΠ»ΠΈΠ½ΠΊΠ° ΠΈ ΡΡΠΎΠΏΠΎΡΠ½ΠΎΠΉ ΠΏΡΡΠΆΠΈΠ½Π΅ ΡΡΠΎ ΠΌΠ΅ΡΡΠΎ ΠΈ ΠΏΡΠΎΠ²Π΅ΡΡΡΠ΅, Π½Π΅ Π²ΡΡΠΊΠ°ΠΊΠΈΠ²Π°Π΅Ρ Π»ΠΈ ΡΠ°ΡΠΈΠΊ Π·Π° Π³Π°Π±Π°ΡΠΈΡΡ ΠΊΠ»ΠΈΠ½ΠΊΠ° ΠΏΡΠΈ ΡΠΊΠ»Π°Π΄ΡΠ²Π°Π½ΠΈΠΈ. ΠΠΏΡΠ΅Π΄Π΅Π»ΠΈΡΠ΅ ΠΌΠ΅ΡΡΠΎΠ½Π°Ρ ΠΎΠΆΠ΄Π΅Π½ΠΈΠ΅ Π²ΠΈΠ½ΡΠΎΠ², ΡΡΡΠ³ΠΈΠ²Π°ΡΡΠΈΡ ΠΌΠ΅ΠΆΠ΄Ρ ΡΠΎΠ±ΠΎΠΉ ΠΏΠ»Π°ΡΠΊΠΈ. ΠΠ΅ Π·Π°Π±ΡΠ²Π°ΠΉΡΠ΅ ΠΎ Π΄ΠΈΠ°ΠΌΠ΅ΡΡΠ΅ Π³ΠΎΠ»ΠΎΠ²ΠΎΠΊ ΠΊΡΠ΅ΠΏΠ΅ΠΆΠ°, ΠΊΠΎΡΠΎΡΡΠΉ Π²Ρ Π±ΡΠ΄Π΅ΡΠ΅ ΠΈΡΠΏΠΎΠ»ΡΠ·ΠΎΠ²Π°ΡΡ Π΄Π»Ρ ΡΠ±ΠΎΡΠΊΠΈ ΡΠΊΠ»Π°Π΄Π½ΠΎΠ³ΠΎ Π½ΠΎΠΆΠ°.
ΠΠ΅ ΡΠ°ΡΠΏΠΎΠ»Π°Π³Π°ΠΉΡΠ΅ ΠΎΡΠ²Π΅ΡΡΡΠΈΡ ΡΠ»ΠΈΡΠΊΠΎΠΌ Π±Π»ΠΈΠ·ΠΊΠΎ ΠΊ ΠΊΡΠ°Ρ ΡΡΠΊΠΎΡΡΠΈ. ΠΠ΅ΠΆΠ΄Ρ ΠΏΠ»Π°ΡΠΊΠ°ΠΌΠΈ ΠΌΠΎΠΆΠ΅Ρ Π±ΡΡΡ ΠΏΠΎΠΌΠ΅ΡΠ΅Π½Π° ΠΏΡΠΎΡΡΠ°Π²ΠΊΠ°, Π»ΠΈΠ±ΠΎ ΠΏΠΎΡΡΠ°Π²Π»Π΅Π½Ρ ΡΡΡΠ±ΡΠ°ΡΡΠ΅ ΡΡΠΎΠΉΠΊΠΈ β ΡΠ΅ΡΠ°ΡΡ ΠΠ°ΠΌ. ΠΡ Π²ΠΎΡ, ΠΎΠ±ΡΠ°Ρ Π³Π΅ΠΎΠΌΠ΅ΡΡΠΈΡ ΠΊΠ»ΠΈΠ½ΠΊΠ° ΠΈ ΠΏΠ»Π°ΡΠ΅ΠΊ ΠΎΠΏΡΠ΅Π΄Π΅Π»Π΅Π½Π°. ΠΠΎΡΠ° ΠΏΠ΅ΡΠ΅Ρ ΠΎΠ΄ΠΈΡΡ ΠΊ ΠΈΠ·Π³ΠΎΡΠΎΠ²Π»Π΅Π½ΠΈΡ ΡΠΊΠ»Π°Π΄Π½ΠΎΠ³ΠΎ Π½ΠΎΠΆΠ°.
ΠΡΠ±ΠΎΡ ΠΌΠ°ΡΠ΅ΡΠΈΠ°Π»Π° ΠΊΠ»ΠΈΠ½ΠΊΠ° ΠΈ ΡΡΠΊΠΎΡΡΠΈ Π΄Π»Ρ ΡΠ°ΠΌΠΎΠ΄Π΅Π»ΡΠ½ΠΎΠ³ΠΎ ΡΠΊΠ»Π°Π΄Π½ΠΎΠ³ΠΎ Π½ΠΎΠΆΠ°.
ΠΡΠ΅ΠΆΠ΄Π΅ Π²ΡΠ΅Π³ΠΎ, Π²ΡΠ±Π΅ΡΠΈΡΠ΅ ΠΌΠ°ΡΠ΅ΡΠΈΠ°Π»Ρ. ΠΠ»Ρ ΠΊΠ»ΠΈΠ½ΠΊΠ° ΠΏΡΠ΅Π΄ΠΏΠΎΡΡΠΈΡΠ΅Π»ΡΠ½Π° Π½Π΅ΡΠΆΠ°Π²Π΅ΠΉΠΊΠ°, ΡΠ°ΠΊ ΠΊΠ°ΠΊ ΠΏΡΠΈ ΠΏΠΎΠΏΠ°Π΄Π°Π½ΠΈΠΈ Π²Π»Π°Π³ΠΈ Π²Π½ΡΡΡΡ ΡΠΊΠ»Π°Π΄Π½ΠΎΠ³ΠΎ Π½ΠΎΠΆΠ° Π΅Π΅, Π²Π»Π°Π³Ρ, Π½Π΅ ΡΠ°ΠΊ ΠΏΡΠΎΡΡΠΎ ΡΠ΄Π°Π»ΠΈΡΡ. Π‘Π»Π΅Π΄ΠΎΠ²Π°ΡΠ΅Π»ΡΠ½ΠΎ, Π΅ΡΠ»ΠΈ Π΅ΡΡΡ ΡΠ΅ΠΌΡ ΡΠΆΠ°Π²Π΅ΡΡ, ΠΎΠ½ΠΎ ΠΏΠΎΡΠΆΠ°Π²Π΅Π΅Ρ. ΠΡΠ»ΠΈ Π΅ΡΡΡ ΡΠ΅ΡΠΌΠΈΡΡ, ΡΠΏΠΎΡΠΎΠ±Π½ΡΠΉ ΡΠ°Π±ΠΎΡΠ°ΡΡ Ρ Π²ΡΡΠΎΠΊΠΎΡΠ³Π»Π΅ΡΠΎΠ΄ΠΈΡΡΡΠΌΠΈ Π»Π΅Π³ΠΈΡΠΎΠ²Π°Π½Π½ΡΠΌΠΈ Π½Π΅ΡΠΆΠ°Π²Π΅ΠΉΠΊΠ°ΠΌΠΈ, ΡΠΎ ΠΠ°ΠΌ ΠΊΡΡΠΏΠ½ΠΎ ΠΏΠΎΠ²Π΅Π·Π»ΠΎ Π² ΠΆΠΈΠ·Π½ΠΈ (Π½Π° ΡΡΠΎΠ²Π½Π΅ ΡΡΠ°ΡΡΡΡ).![]()
ΠΡΠ»ΠΈ Π½Π΅Ρ, ΡΠΎ ΠΏΡΠΈΠ΄Π΅ΡΡΡ ΡΠ°Π±ΠΎΡΠ°ΡΡ Π½Π° Π·Π°ΠΊΠ°Π»Π΅Π½Π½ΠΎΠΌ ΠΌΠ°ΡΠ΅ΡΠΈΠ°Π»Π΅, Π° ΡΡΠΎ Π½Π΅ ΠΏΡΠΎΡΡΠΎ. ΠΠ»Ρ ΡΠ²Π΅ΡΠ»Π΅Π½ΠΈΡ ΠΎΡΠ²Π΅ΡΡΡΠΈΠΉ Π² ΠΊΠ°Π»Π΅Π½ΠΎΠΌ ΠΌΠ΅ΡΠ°Π»Π»Π΅ Ρ ΠΈΡΠΏΠΎΠ»ΡΠ·ΡΡ ΡΠ²Π΅ΡΠ»Π° ΠΏΠΎ ΠΊΠ΅ΡΠ°ΠΌΠΈΠΊΠ΅ ΠΈ ΡΡΠ΅ΠΊΠ»Ρ ΡΠΎ ΡΡΡΠ΅Π»ΠΎΠ²ΠΈΠ΄Π½ΡΠΌ Π½Π°ΠΊΠΎΠ½Π΅ΡΠ½ΠΈΠΊΠΎΠΌ. Π Π°Π±ΠΎΡΠ°ΡΡ Π½Π°Π΄ΠΎ ΠΆΠ΅ΡΡΠΊΠΎ, Π½Π° ΠΌΠ°Π»ΡΡ ΠΎΠ±ΠΎΡΠΎΡΠ°Ρ , Π½ΠΎ ΠΎΡΡΠΎΡΠΎΠΆΠ½ΠΎ. ΠΠΎΠΆΠ½ΠΎ Π²ΡΠΊΡΠΎΡΠΈΡΡ ΡΠ²Π΅ΡΠ»ΠΎ. Π, ΠΊΠΎΠ½Π΅ΡΠ½ΠΎ, ΡΠ»Π΅Π΄ΠΈΡΡ Π·Π° Π½Π°Π³ΡΠ΅Π²ΠΎΠΌ Π΄Π΅ΡΠ°Π»ΠΈ. ΠΠ±ΡΠ·Π°ΡΠ΅Π»ΡΠ½ΠΎ ΡΠ°ΡΡΠΎ ΠΎΡ Π»Π°ΠΆΠ΄Π°ΡΡ, ΠΈΠ½Π°ΡΠ΅ ΠΎΡΠΏΡΡΡΠΈΡΡΡ.
ΠΡΠΈΠ΄Π°ΠΉΡΠ΅ Π½ΡΠΆΠ½ΡΡ ΡΠΎΡΠΌΡ ΠΊΠ»ΠΈΠ½ΠΊΡ. Π― Π½Π΅ΡΠΊΠΎΠ»ΡΠΊΠΎ ΡΠ°Π· ΠΈΡΠΏΠΎΠ»ΡΠ·ΠΎΠ²Π°Π» Π»Π΅Π·Π²ΠΈΡ ΠΎΡ Π½ΠΎΠΆΠ΅ΠΉ Tramontina ΡΠ΅ΡΠΈΠΈ Professional Master. ΠΠ½ΠΈ ΡΡΡΡ Π΄ΠΎΡΠΎΠΆΠ΅ ΠΎΠ±ΡΡΠ½ΡΡ ΠΊΡΡ ΠΎΠ½Π½ΠΈΠΊΠΎΠ² ΡΡΠΎΠΉ ΡΠΈΡΠΌΡ, Π·Π°ΡΠΎ ΡΠ΄Π΅Π»Π°Π½Ρ ΠΈΠ· Π‘Π°Π½Π΄Π²ΠΈΠΊΠ° 12Π‘27 ΠΈΠ»ΠΈ ΠΈΠ· 1.4110 ΠΎΡ ΠΡΡΠΏΠ°. ΠΡΠΎ Ρ ΠΎΡΠΎΡΠ°Ρ ΡΡΠ°Π»Ρ.
ΠΠ»Ρ ΠΏΠ»Π°ΡΠ΅ΠΊ ΡΠΊΠ»Π°Π΄Π½ΠΎΠ³ΠΎ Π½ΠΎΠΆΠ° Ρ ΡΠ΅ΠΊΠΎΠΌΠ΅Π½Π΄ΡΡ ΡΠΈΡΠ°Π½. ΠΠ½ ΠΏΡΠΈ ΠΌΠ°Π»ΠΎΠΉ ΡΠΎΠ»ΡΠΈΠ½Π΅ Π΄ΠΎΡΡΠ°ΡΠΎΡΠ½ΠΎ ΠΏΡΠΎΡΠ΅Π½ ΠΈ ΠΎΠ±Π»Π°Π΄Π°Π΅Ρ Π΄ΠΎΡΡΠ°ΡΠΎΡΠ½ΠΎΠΉ ΠΆΠ΅ΡΡΠΊΠΎΡΡΡΡ ΠΈ ΠΏΡΡΠΆΠΈΠ½ΡΡΠΈΠΌΠΈ ΡΠ²ΠΎΠΉΡΡΠ²Π°ΠΌΠΈ. ΠΡΠΎΠΌΠ΅ ΡΠΎΠ³ΠΎ, ΡΠΈΡΠ°Π½ Π»Π΅Π³ΠΊΠΈΠΉ ΠΈ ΡΠΎΠ²Π΅ΡΡΠ΅Π½Π½ΠΎ Π½Π΅ ΡΠΆΠ°Π²Π΅Π΅Ρ. Π ΠΎΠ±ΡΠ°Π±ΠΎΡΠΊΠ΅ ΡΠΈΡΠ°Π½Π° Π΅ΡΡΡ Π½Π΅ΠΊΠΎΡΠΎΡΡΠ΅ ΠΎΡΠΎΠ±Π΅Π½Π½ΠΎΡΡΠΈ.
Π‘ ΡΠΈΡΠ°Π½ΠΎΠΌ ΡΠ»Π΅Π΄ΡΠ΅Ρ ΡΠ°Π±ΠΎΡΠ°ΡΡ Π½Π° ΠΌΠ°Π»ΡΡ
ΡΠΊΠΎΡΠΎΡΡΡΡ
. ΠΠ°ΠΏΡΠΈΠΌΠ΅Ρ, ΠΏΠ»Π°ΡΡΠΈΠ½Ρ 4 ΠΌΠΌ Ρ Π½Π΅ ΡΠΌΠΎΠ³ ΡΠ°ΡΠΏΠΈΠ»ΠΈΡΡ Π±ΠΎΠ»Π³Π°ΡΠΊΠΎΠΉ, Π° Π½ΠΎΠΆΠΎΠ²ΠΊΠΎΠΉ ΠΏΠΎ ΠΌΠ΅ΡΠ°Π»Π»Ρ Π²ΡΡΡΠ½ΡΡ β Π·Π°ΠΏΡΠΎΡΡΠΎ, ΠΏΡΠ°Π²Π΄Π°, Π΄ΠΎΠ»Π³ΠΎ.
Π Π΅Π·ΡΠ±Ρ Π² ΡΠΈΡΠ°Π½Π΅ Π½Π°ΡΠ΅Π·Π°ΡΡ Π½Π°Π΄ΠΎ ΠΌΠ΅Π΄Π»Π΅Π½Π½ΠΎ, Ρ ΠΌΠ°ΡΠ»ΠΎΠΌ, ΡΠ΅ΡΠ΅Π· ΠΊΠ°ΠΆΠ΄ΡΠ΅ 0,5-1 ΠΎΠ±ΠΎΡΠΎΡ Π²ΠΎΠ·Π²ΡΠ°ΡΠ°ΡΡΡΡ Π½Π°Π·Π°Π΄.
ΠΠ·Π³ΠΎΡΠΎΠ²Π»Π΅Π½ΠΈΠ΅ ΠΏΠ»Π°ΡΠ΅ΠΊ ΡΡΠΊΠΎΡΡΠΈ Π½Π° ΡΠΊΠ»Π°Π΄Π½ΠΎΠΉ Π½ΠΎΠΆ.
ΠΠ»Ρ Π²ΡΡΠ΅Π·Π°Π½ΠΈΡ ΠΊΠΎΠ½ΡΡΡΠ° ΡΡΠΎΠΏΠΎΡΠ½ΠΎΠΉ ΠΏΡΡΠΆΠΈΠ½Ρ Π² Π½ΠΈΠΆΠ½Π΅ΠΉ ΠΏΠ»Π°ΡΠΊΠ΅ Ρ, Π² ΠΌΠ΅ΡΡΠ΅ ΠΏΡΠ΅Π΄ΠΏΠΎΠ»Π°Π³Π°Π΅ΠΌΠΎΠ³ΠΎ Π΅Π΅ ΠΎΠΊΠΎΠ½ΡΠ°Π½ΠΈΡ, ΡΠ²Π΅ΡΠ»Ρ 3-4 ΠΎΡΠ²Π΅ΡΡΡΠΈΡ Π΄ΠΈΠ°ΠΌΠ΅ΡΡΠΎΠΌ 2,5 ΠΌΠΌ, ΡΠΎΠ΅Π΄ΠΈΠ½ΡΡ ΠΈΡ , Π·Π°Π²ΠΎΠΆΡ ΡΡΠ΄Π° Π½ΠΎΠΆΠΎΠ²ΠΎΡΠ½ΠΎΠ΅ ΠΏΠΎΠ»ΠΎΡΠ½ΠΎ ΠΈ Π²ΠΏΠ΅ΡΠ΅Π΄. ΠΠ΅ ΡΠΎΡΠΎΠΏΡΡΡ, ΠΏΠΎΡΡΠΈ Π΄ΠΎ ΠΎΡΠ²Π΅ΡΡΡΠΈΡ ΠΏΠΎΠ΄ ΠΎΡΡ. Π ΡΡΠΎΠΌ ΠΌΠ΅ΡΡΠ΅ ΡΠΎΠΆΠ΅ ΡΠ΅ΠΊΠΎΠΌΠ΅Π½Π΄ΡΡ ΠΏΡΠΎΡΠ²Π΅ΡΠ»ΠΈΡΡ Π½Π΅Π±ΠΎΠ»ΡΡΠΎΠ΅ ΡΠ΅Ρ Π½ΠΎΠ»ΠΎΠ³ΠΈΡΠ΅ΡΠΊΠΎΠ΅ ΠΎΡΠ²Π΅ΡΡΡΠΈΠ΅ Π΄Π»Ρ ΡΠ΅ΡΠΊΠΎΠ³ΠΎ ΠΎΠΊΠΎΠ½ΡΠ°Π½ΠΈΡ ΠΏΡΠΎΠΏΠΈΠ»Π°. ΠΡΡΠ°Π΅ΡΡΡ ΡΠΎΠ»ΡΠΊΠΎ ΠΏΡΠΎΠΏΠΈΠ»ΠΈΡΡ Π»ΠΈΠ½ΠΈΡ ΡΠΎΠ±ΡΡΠ²Π΅Π½Π½ΠΎ ΡΡΠΎΠΏΠΎΡΠ°. ΠΠ΄Π΅ΡΡ Π½Π΅ΠΎΠ±Ρ ΠΎΠ΄ΠΈΠΌΠΎ, ΡΡΠΎΠ±Ρ ΠΎΡΡΠ°Π»ΡΡ Π·Π°ΠΏΠ°Ρ, ΠΊΠΎΡΠΎΡΡΠΉ ΠΏΠΎΡΠΎΠΌ ΡΠ±ΠΈΡΠ°Π΅ΡΡΡ ΠΏΡΠΈ Π½Π°ΡΡΡΠΎΠΉΠΊΠ΅ Π·Π°ΠΌΠΊΠ°.
ΠΡΠΎΡΠ°Ρ, Π²Π΅ΡΡ
Π½ΡΡ, ΠΏΠ»Π°ΡΠΊΠ° ΠΈΠΌΠ΅Π΅Ρ ΡΠΎΡΠ½ΠΎ ΡΠ°ΠΊΠΈΠ΅ ΠΆΠ΅ ΡΠ°Π·ΠΌΠ΅ΡΡ (ΠΊΠ°ΠΊ ΠΏΡΠ°Π²ΠΈΠ»ΠΎ) ΠΊΠ°ΠΊ ΠΈ Π½ΠΈΠΆΠ½ΡΡ. ΠΠΎ Π² Π½Π΅ΠΉ Π΄ΠΎΠ»ΠΆΠ½Π° Π±ΡΡΡ ΠΏΡΠ΅Π΄ΡΡΠΌΠΎΡΡΠ΅Π½Π° Π²ΡΠ΅ΠΌΠΊΠ° ΠΏΠΎΠ΄ ΠΎΡΠ²Π΅ΡΡΡΠΈΠ΅ Π΄Π»Ρ ΠΎΡΠΊΡΡΠ²Π°Π½ΠΈΡ ΡΠΊΠ»Π°Π΄Π½ΠΎΠ³ΠΎ Π½ΠΎΠΆΠ°. ΠΡΠ΅ ΡΠΎΠΏΡΡΠ³Π°Π΅ΠΌΡΠ΅ ΠΎΡΠ²Π΅ΡΡΡΠΈΡ ΡΠ»Π΅Π΄ΡΠ΅Ρ ΡΠ²Π΅ΡΠ»ΠΈΡΡ ΠΏΠ°ΠΊΠ΅ΡΠΎΠΌ. ΠΠ°ΡΠΈΠ½Π°ΡΡ Ρ ΠΎΡΠ²Π΅ΡΡΡΠΈΠΉ ΠΏΠΎΠ΄ ΠΎΡΡ. ΠΠ΅ Π·Π°Π±ΡΠ΄ΡΡΠ΅, ΡΡΠΎ Π΄ΠΈΠ°ΠΌΠ΅ΡΡ ΠΎΡΠ²Π΅ΡΡΡΠΈΠΉ ΠΏΠΎΠ΄ ΡΠΊΡΠ΅ΠΏΠ»ΡΡΡΠΈΠ΅ Π²ΠΈΠ½ΡΡ Π² Π½ΠΈΠΆΠ½Π΅ΠΉ ΠΏΠ»Π°ΡΠΊΠ΅ Π΄ΠΎΠ»ΠΆΠ΅Π½ Π±ΡΡΡ ΠΏΠΎΠ΄ ΡΠ΅Π·ΡΠ±Ρ, Π° Π² Π²Π΅ΡΡ
Π½Π΅ΠΉ ΠΏΠΎΠ΄ Π΄ΠΈΠ°ΠΌΠ΅ΡΡ Π²ΠΈΠ½ΡΠ°.
Π‘Π±ΠΎΡΠΊΠ° ΡΠ°ΠΌΠΎΠ΄Π΅Π»ΡΠ½ΠΎΠ³ΠΎ ΡΠΊΠ»Π°Π΄Π½ΠΎΠ³ΠΎ Π½ΠΎΠΆΠ°.
ΠΡΠ°ΠΊ, Π²ΡΠ΅ Π²ΡΡΠ΅Π·Π°Π½ΠΎ ΠΈ Π²ΡΡΠ²Π΅ΡΠ»Π΅Π½ΠΎ. ΠΠΎΠ΄Π±Π΅ΡΠΈΡΠ΅, ΠΈΠ»ΠΈ ΡΠ΄Π΅Π»Π°ΠΉΡΠ΅ ΡΠ°ΠΌΠΎΡΡΠΎΡΡΠ΅Π»ΡΠ½ΠΎ, Π΄Π²Π΅ ΡΠ°ΠΉΠ±Ρ ΠΈΠ· ΡΡΠΎΡΠΎΠΏΠ»Π°ΡΡΠ° ΠΈΠ»ΠΈ Π±ΡΠΎΠ½Π·Ρ, ΠΊΠΎΡΠΎΡΡΠ΅ Π±ΡΠ΄ΡΡ ΠΈΡΠΏΠΎΠ»ΡΠ·ΠΎΠ²Π°ΡΡΡΡ Π² ΠΊΠ°ΡΠ΅ΡΡΠ²Π΅ ΠΏΠΎΠ΄ΡΠΈΠΏΠ½ΠΈΠΊΠ° Π½Π° ΠΎΡΠΈ Π²ΡΠ°ΡΠ΅Π½ΠΈΡ (ΡΠΊΠ»Π°Π΄ΡΠ²Π°Π½ΠΈΡ) Π½ΠΎΠΆΠ°. ΠΡΡΠ°Π²ΡΡΠ΅ ΠΎΡΡ Π² Π½ΠΈΠΆΠ½ΡΡ ΠΏΠ»Π°ΡΠΊΡ, ΠΏΠΎΡΡΠ°Π²ΡΡΠ΅ ΡΡΠΎΠΏΠΎΡΠ½ΡΠΉ ΡΡΠΈΡΡ, ΡΠ°ΠΉΠ±Ρ, ΠΊΠ»ΠΈΠ½ΠΎΠΊ, ΠΈ ΡΠ»ΠΎΠΆΠΈΡΠ΅ Π±ΡΠ΄ΡΡΠΈΠΉ ΡΠΊΠ»Π°Π΄Π½ΠΎΠΉ Π½ΠΎΠΆ.
ΠΡΠ»ΠΈ ΡΡΠΎ-ΡΠΎ Π½Π΅ ΡΠΎΠΏΡΡΠ³Π°Π΅ΡΡΡ, ΠΏΠΎΠ΄Π³ΠΎΠ½ΠΈΡΠ΅ Π² ΡΠ°Π·ΠΌΠ΅Ρ ΠΏΠΎ ΠΌΠ΅ΡΡΡ. ΠΠ΅Π»Π°ΡΡ ΡΡΠΎ Π½Π°Π΄ΠΎ ΠΎΡΠ΅Π½Ρ Π°ΠΊΠΊΡΡΠ°ΡΠ½ΠΎ ΠΈ ΠΎΡΡΠΎΡΠΎΠΆΠ½ΠΎ. ΠΠΎΠΌΠ½ΠΈΡΠ΅ ΠΠ²Π°Π½Π΅ΡΠΊΠΎΠ³ΠΎ: Β«ΠΠ΄Π½ΠΎ Π½Π΅ΠΎΡΡΠΎΡΠΎΠΆΠ½ΠΎΠ΅ Π΄Π²ΠΈΠΆΠ΅Π½ΠΈΠ΅: ΠΈ ΠΡ β ΠΎΡΠ΅ΡΒ». ΠΡ Π²ΠΎΡ, Π²ΡΠ΅ ΡΠΎΠΏΡΡΠ³Π°Π΅ΡΡΡ!
ΠΠ° ΡΡΠΎΠΏΠΎΡΠ½ΠΎΠΉ ΠΏΡΡΠΆΠΈΠ½Π΅ Π½ΠΈΠΆΠ½Π΅ΠΉ ΠΏΠ»Π°ΡΠΊΠΈ ΠΎΡΠΌΠ΅ΡΡΡΠ΅ ΠΌΠ΅ΡΡΠΎ Π΄Π»Ρ ΡΠ°ΡΠΈΠΊΠ° ΠΈ Π² ΡΡΠΎΠΌ ΠΌΠ΅ΡΡΠ΅ ΠΏΡΠΎΡΠ²Π΅ΡΠ»ΠΈΡΠ΅ ΠΎΡΠ²Π΅ΡΡΡΠΈΠ΅ Π΄ΠΈΠ°ΠΌΠ΅ΡΡΠΎΠΌ Π½Π° 0,1-0,2 ΠΌΠΌ ΠΌΠ΅Π½ΡΡΠΈΠΌ Π΄ΠΈΠ°ΠΌΠ΅ΡΡΠ° ΡΠ°ΡΠΈΠΊΠ°. Π― ΠΏΡΠΈΠΌΠ΅Π½ΡΡ ΡΠ°ΡΠΈΠΊΠΈ Π΄ΠΈΠ°ΠΌΠ΅ΡΡΠΎΠΌ 1,5-2 ΠΌΠΌ, ΠΎΡ ΠΏΠΎΠ΄ΡΠΈΠΏΠ½ΠΈΠΊΠ°. ΠΠ°ΡΠ΅ΠΌ Π² ΡΠΈΡΠΊΠ°Ρ (ΠΏΠΎΠ΄Π»ΠΎΠΆΠΈΠ² ΠΏΠΎΠ΄ ΡΠ°ΡΠΈΠΊ ΠΊΡΡΠΎΡΠ΅ΠΊ ΠΊΠ°Π»Π΅Π½ΠΎΠ³ΠΎ ΠΌΠ΅ΡΠ°Π»Π»Π°, ΠΈΠ½Π°ΡΠ΅ ΠΎΠ½ Π²Π»Π΅Π·Π΅Ρ Π² Π³ΡΠ±ΠΊΠΈ ΡΠΈΡΠΊΠΎΠ²) Π²ΠΏΡΠ΅ΡΡΡΠΉΡΠ΅ ΡΠ°ΡΠΈΠΊ Π² ΡΡΠΎΠΏΠΎΡΠ½ΡΡ ΠΏΠ»Π°ΡΡΠΈΠ½Ρ. Π¨Π°ΡΠΈΠΊ Π΄ΠΎΠ»ΠΆΠ΅Π½ Π²ΡΡΡΡΠΏΠ°ΡΡ Π½Π°ΡΡΠΆΡ ΠΏΡΠΈΠΌΠ΅ΡΠ½ΠΎ Π½Π° 0,5 ΠΌΠΌ. Π’ΠΎΠ»ΡΠΈΠ½Π° ΡΠ°ΠΉΠ±Ρ Π½Π° ΠΎΡΠΈ ΠΌΠ΅ΠΆΠ΄Ρ ΠΊΠ»ΠΈΠ½ΠΊΠΎΠΌ ΠΈ ΠΏΠ»Π°ΡΠΊΠΎΠΉ.
ΠΠ°Π»Π΅Π΅ ΠΏΡΠΈ ΠΏΠΎΠΌΠΎΡΠΈ ΠΌΠ°ΡΠΊΠ΅ΡΠ° Π·Π°ΡΠ΅ΡΠ½ΠΈΡΠ΅ ΡΠΎ ΠΌΠ΅ΡΡΠΎ ΠΏΡΡΠΊΠΈ ΠΊΠ»ΠΈΠ½ΠΊΠ°, Π³Π΄Π΅ Π±ΡΠ΄Π΅Ρ ΠΏΠ΅ΡΠ΅ΠΌΠ΅ΡΠ°ΡΡΡΡ ΡΠ°ΡΠΈΠΊ ΠΈ Π½Π΅ΡΠΊΠΎΠ»ΡΠΊΠΎ ΡΠ°Π· ΡΠ»ΠΎΠΆΠΈΡΠ΅/ΡΠ°Π·Π»ΠΎΠΆΠΈΡΠ΅ Π±ΡΠ΄ΡΡΠΈΠΉ ΡΠΊΠ»Π°Π΄Π½ΠΎΠΉ Π½ΠΎΠΆ.
ΠΠ° ΠΊΠ»ΠΈΠ½ΠΊΠ΅ Π±ΡΠ΄Π΅Ρ Π²ΠΈΠ΄Π΅Π½ ΡΠ΅ΡΠΊΠΈΠΉ ΡΠ»Π΅Π΄ ΠΎΡ ΡΠ°ΡΠΈΠΊΠ°. ΠΡΡΡΡΠΏΠΈΠ² ΠΎΡ ΠΌΠ΅ΡΡΠ°, Π³Π΄Π΅ ΠΎΠ½ (ΡΠ»Π΅Π΄) ΠΎΠΊΠ°Π½ΡΠΈΠ²Π°Π΅ΡΡΡ 0,3-0,5 ΠΌΠΌ Π²ΡΡΠ²Π΅ΡΠ»ΠΈΡΠ΅ Π»ΡΠ½ΠΊΡ, Π² ΠΊΠΎΡΠΎΡΡΡ Π±ΡΠ΄Π΅Ρ Π·Π°Ρ
ΠΎΠ΄ΠΈΡΡ ΡΠ°ΡΠΈΠΊ Π² ΡΠ»ΠΎΠΆΠ΅Π½Π½ΠΎΠΌ ΠΏΠΎΠ»ΠΎΠΆΠ΅Π½ΠΈΠΈ Π½ΠΎΠΆΠ°. ΠΡΡΠΎΡΠΎΠΆΠ½ΠΎ ΠΎΡΠΎΠ³Π½ΠΈΡΠ΅ ΠΏΠ»Π°ΡΡΠΈΠ½Ρ Π² Π½ΡΠΆΠ½ΠΎΠΌ Π½Π°ΠΏΡΠ°Π²Π»Π΅Π½ΠΈΠΈ.
Π‘ΠΎΠ±Π΅ΡΠΈΡΠ΅ ΡΠ²ΠΎΠΉ Π±ΡΠ΄ΡΡΠΈΠΉ ΡΠΊΠ»Π°Π΄Π½ΠΎΠΉ Π½ΠΎΠΆ Π±Π΅Π· Π²Π΅ΡΡ Π½Π΅ΠΉ ΠΏΠ»Π°ΡΠΊΠΈ ΠΈ ΠΏΠΎΠ΄Π³ΠΎΠ½ΠΈΡΠ΅ Π·Π°ΠΌΠΎΠΊ (Ρ ΠΠ°Ρ ΡΡΠΎΠΏΠΎΡ Π²ΡΡΠ΅Π·Π°Π½ Ρ Π·Π°ΠΏΠ°ΡΠΎΠΌ). ΠΠ΅Π»Π°ΠΉΡΠ΅ ΡΡΠΎ ΠΎΡΠ΅Π½Ρ ΠΎΡΡΠΎΡΠΎΠΆΠ½ΠΎ (ΠΏΠΎΠΌΠ½ΠΈΡΠ΅ ΠΠ²Π°Π½Π΅ΡΠΊΠΎΠ³ΠΎ). ΠΠ°ΠΊ ΡΠΎΠ»ΡΠΊΠΎ Π·Π°ΠΌΠΎΠΊ Π·Π°ΡΠ΅ΠΏΠΈΡΡΡ, ΠΎΡΡΠ°Π½ΠΎΠ²ΠΈΡΠ΅ΡΡ. Π‘ΠΎΠ±Π΅ΡΠΈΡΠ΅ ΡΠΊΠ»Π°Π΄Π½ΠΎΠΉ Π½ΠΎΠΆ ΠΏΠΎΠ»Π½ΠΎΡΡΡΡ, Ρ Π²Π΅ΡΡ Π½Π΅ΠΉ ΠΏΠ»Π°ΡΠΊΠΎΠΉ ΠΈ ΠΏΠΎΠΏΡΠΎΠ±ΡΠΉΡΠ΅ Π½Π΅ΡΠΊΠΎΠ»ΡΠΊΠΎ ΡΠ°Π· ΡΠ»ΠΎΠΆΠΈΡΡ/ΡΠ°Π·Π»ΠΎΠΆΠΈΡΡ Π΅Π³ΠΎ, ΠΏΡΠΈΠ»ΠΎΠΆΠΈΡΠ΅ ΡΡΠΈΠ»ΠΈΠ΅ (ΠΊΠ°ΠΊ Π±ΡΠ΄ΡΠΎ ΡΠ΅ΠΆΠ΅ΡΠ΅ ΡΡΠΎ-Π»ΠΈΠ±ΠΎ). ΠΡΠΎΠ΄Π΅Π»Π°ΠΉΡΠ΅ ΡΡΠΎ Π½Π΅ΡΠΊΠΎΠ»ΡΠΊΠΎ ΡΠ°Π·. Π ΠΎΡΠ»ΠΎΠΆΠΈΡΠ΅ Π²ΡΠ΅ Π΄ΠΎ Π·Π°Π²ΡΡΠ°.
ΠΠΊΠΎΠ½ΡΠ°ΡΠ΅Π»ΡΠ½Π°Ρ ΠΏΠΎΠ΄Π³ΠΎΠ½ΠΊΠ° Π΄Π΅ΡΠ°Π»Π΅ΠΉ ΡΠ°ΠΌΠΎΠ΄Π΅Π»ΡΠ½ΠΎΠ³ΠΎ ΡΠΊΠ»Π°Π΄Π½ΠΎΠ³ΠΎ Π½ΠΎΠΆΠ°.
ΠΠ΅ΡΠ΅ΡΠΏΠΈΡΠ΅ Ρ ΠΌΡΡΠ»ΡΡ, ΡΡΠΎ ΠΡ ΡΠ΄Π΅Π»Π°Π»ΠΈ ΡΠ²ΠΎΠΉ ΠΏΠ΅ΡΠ²ΡΠΉ ΡΠΊΠ»Π°Π΄Π½ΠΎΠΉ Π½ΠΎΠΆ. ΠΠ°Π·Π°Π²ΡΡΠ° ΠΎΠ±ΡΠ·Π°ΡΠ΅Π»ΡΠ½ΠΎ Π½Π°ΠΉΠ΄Π΅ΡΡΡ, ΡΡΠΎ Π΄ΠΎΠ΄Π΅Π»Π°ΡΡ. ΠΠΎΠ²Π΅Π΄ΠΈΡΠ΅ Π·Π°ΠΌΠΎΠΊ Π΄ΠΎ ΠΊΠΎΠ½Π΄ΠΈΡΠΈΠΈ. ΠΠ°ΠΏΠΈΡΠ°ΡΡΠ°Ρ ΠΏΠ»Π°ΡΡΠΈΠ½Π° Π½Π΅ Π΄ΠΎΠ»ΠΆΠ½Π° Π΄ΠΎΡ ΠΎΠ΄ΠΈΡΡ Π΄ΠΎ Π²Π΅ΡΡ Π½Π΅Π³ΠΎ ΠΊΠΎΠ½ΡΠ° ΡΡΠ΅Π·Π° ΠΏΡΡΠΊΠΈ ΠΊΠ»ΠΈΠ½ΠΊΠ°, ΠΈΠ½Π°ΡΠ΅ ΠΎΠ½Π° ΠΏΡΠΎΠ²Π°Π»ΠΈΡΡΡ Π°ΠΆ Π΄ΠΎ Π²Π΅ΡΡ Π½Π΅ΠΉ ΠΏΠ»Π°ΡΠΊΠΈ ΠΈ Π·Π°ΠΊΠ»ΠΈΠ½ΠΈΡ Π·Π°ΠΌΠΎΠΊ.
ΠΡΠ»ΠΈ ΠΏΡΡΠΆΠΈΠ½Π° ΠΎΠΊΠ°Π·Π°Π»Π°ΡΡ ΡΠ»ΠΈΡΠΊΠΎΠΌ ΡΡΠ³ΠΎΠΉ (Π·Π°Π²ΠΈΡΠΈΡ ΠΎΡ ΡΠΎΠ»ΡΠΈΠ½Ρ ΠΈ ΠΌΠ°ΡΠΊΠΈ ΠΏΡΠΈΠΌΠ΅Π½Π΅Π½Π½ΠΎΠ³ΠΎ ΠΌΠ°ΡΠ΅ΡΠΈΠ°Π»Π°) Π½Π°Π΄ΠΎ Π² Π΅Π΅ ΠΎΡΠ½ΠΎΠ²Π°Π½ΠΈΠΈ ΠΏΡΠΎΠΏΠΈΠ»ΠΈΡΡ ΡΠ³Π»ΡΠ±Π»Π΅Π½ΠΈΠ΅ ΡΠ°ΠΊ Π³Π»ΡΠ±ΠΎΠΊΠΎ, ΡΡΠΎΠ±Ρ ΡΡΠΈΠ»ΠΈΠ΅ Π½Π°ΠΆΠ°ΡΠΈΡ Π΄Π»Ρ ΠΎΡΠΊΡΡΠ²Π°Π½ΠΈΡ Π½ΠΎΠΆΠ° Π±ΡΠ»ΠΎ ΠΎΠΏΡΠΈΠΌΠ°Π»ΡΠ½ΡΠΌ.
Π’ΡΡ ΠΊΠ°ΠΆΠ΄ΠΎΠΌΡ ΡΠ²ΠΎΠ΅, ΠΏΠΎΠ΄Π±ΠΈΡΠ°Π΅ΡΡΡ ΠΏΠΎ ΠΎΡΡΡΠ΅Π½ΠΈΡΠΌ.
ΠΠΎΠ·Π΄ΡΠ°Π²Π»ΡΡ! Π£ ΠΠ°Ρ ΠΏΠΎΠ»ΡΡΠΈΠ»ΡΡ ΡΠ²ΠΎΠΉ ΡΠΎΠ±ΡΡΠ²Π΅Π½Π½ΡΠΉ, ΡΠ°ΠΌΠΎΡΡΠΎΡΡΠ΅Π»ΡΠ½ΠΎ ΠΈΠ·Π³ΠΎΡΠΎΠ²Π»Π΅Π½Π½ΡΠΉ ΠΏΡΠ΅ΠΊΡΠ°ΡΠ½ΡΠΉ ΡΠΊΠ»Π°Π΄Π½ΠΎΠΉ Π½ΠΎΠΆ.
Π‘ΡΠ°ΡΡΡ ΠΎΡ Metrolog.
Π‘ΠΊΠ»Π°Π΄Π½ΡΠ΅ Π½ΠΎΠΆΠΈ: ΡΠΈΠΏΡ ΠΊΠΎΠ½ΡΡΡΡΠΊΡΠΈΠΉ. ΠΠ°ΠΊ Π²ΡΠ±ΡΠ°ΡΡ?
ΠΠ»Ρ Π½Π΅ΡΠ»ΠΎΠΆΠ½ΡΡ ΡΠ°Π±ΠΎΡ Π² ΠΏΠΎΡ ΠΎΠ΄Π°Ρ ΠΈ ΠΏΠΎΠ΅Π·Π΄ΠΊΠ°Ρ , Π»ΡΡΡΠ΅ Π²ΡΠ΅Π³ΠΎ Π²ΡΠ±ΡΠ°ΡΡ ΡΠΊΠ»Π°Π΄Π½ΠΎΠΉ ΡΡΡΠΈΡΡΠΈΡΠ΅ΡΠΊΠΈΠΉ Π½ΠΎΠΆ. ΠΠ½ ΠΊΠ°ΡΠ΅ΡΡΠ²Π΅Π½Π½ΠΎ ΡΠΏΡΠ°Π²Π»ΡΠ΅ΡΡΡ c Π±ΠΎΠ»ΡΡΠΈΠ½ΡΡΠ²ΠΎΠΌ Π·Π°Π΄Π°Ρ ΠΏΠΎ Π½Π°ΡΠ΅Π·ΠΊΠ΅, Π½Π΅ Π·Π°Π½ΠΈΠΌΠ°Π΅Ρ ΠΌΠ½ΠΎΠ³ΠΎ ΠΌΠ΅ΡΡΠ°, ΠΊΠΎΠΌΠΏΠ°ΠΊΡΠ½ΡΠΉ ΠΈ ΠΊΠΎΠΌΡΠΎΡΡΠ½ΡΠΉ Π² ΠΈΡΠΏΠΎΠ»ΡΠ·ΠΎΠ²Π°Π½ΠΈΠΈ. ΠΠΎ, ΠΏΠΎΠΊΡΠΏΠ°Ρ ΡΠΊΠ»Π°Π΄Π½ΠΎΠΉ Π½ΠΎΠΆ, ΡΡΡΠΈΡΠ΅, ΡΡΠΎ Π΅Π³ΠΎ ΡΠ»Π°Π±ΠΎΠ΅ ΠΌΠ΅ΡΡΠΎ — Π·Π°ΠΌΠΎΠΊ. ΠΡΠΎ ΠΎΡΠ½ΠΎΠ²Π½ΠΎΠΉ ΠΌΠ΅Ρ Π°Π½ΠΈΠ·ΠΌ, ΠΊΠΎΡΠΎΡΡΠΉ ΠΎΡΠ²Π΅ΡΠ°Π΅Ρ ΠΊΠ°ΠΊ Π·Π° Π·Π°ΠΊΡΡΡΠΈΠ΅ ΠΈΠ½ΡΡΡΡΠΌΠ΅Π½ΡΠ°, ΡΠ°ΠΊ ΠΈ Π·Π° Π΅Π³ΠΎ ΡΠΈΠΊΡΠ°ΡΠΈΡ Π² ΠΎΡΠΊΡΡΡΠΎΠΌ ΠΏΠΎΠ»ΠΎΠΆΠ΅Π½ΠΈΠΈ. ΠΠΎΡΡΠΎΠΌΡ, ΠΏΡΠΈΠΎΠ±ΡΠ΅ΡΠ°Ρ ΡΠΊΠ»Π°Π΄Π½ΠΎΠΉ Π½ΠΎΠΆ, ΡΡΠΈΡΡΠ²Π°ΠΉΡΠ΅ ΠΎΡΠΎΠ±Π΅Π½Π½ΠΎΡΡΠΈ Π΅Π³ΠΎ ΠΊΠΎΠ½ΡΡΡΡΠΊΡΠΈΠΈ ΠΈ ΠΈΡΠΏΠΎΠ»ΡΠ·ΡΠ΅ΠΌΡΠΉ ΡΠΈΠΏ ΡΠΈΠΊΡΠ°ΡΠΎΡΠ°. Π ΡΠ΅Π³ΠΎΠ΄Π½ΡΡΠ½Π΅ΠΉ ΡΡΠ°ΡΡΠ΅ ΡΠ°ΡΡΠΌΠΎΡΡΠΈΠΌ ΡΠ°ΠΌΡΠ΅ ΡΠ°ΡΠΏΡΠΎΡΡΡΠ°Π½Π΅Π½Π½ΡΠ΅ ΡΠ°Π·Π½ΠΎΠ²ΠΈΠ΄Π½ΠΎΡΡΠΈ Π½ΠΎΠΆΠ΅Π²ΡΡ Π·Π°ΠΌΠΊΠΎΠ² ΠΈ ΡΠ΅ΠΌ ΠΎΠ½ΠΈ ΠΎΡΠ»ΠΈΡΠ°ΡΡΡΡ.
Liner Lock
ΠΠ°Π΄Π΅ΠΆΠ½ΡΠΉ Π½ΠΎΠΆΠ΅Π²ΠΎΠΉ Π·Π°ΠΌΠΎΠΊ. ΠΠ°ΠΊΡΠΈΠΌΠ°Π»ΡΠ½ΠΎ ΠΏΡΠΎΡΡ, Π±Π΅Π· Ρ
ΠΈΡΡΠΎΡΠΌΠ½ΡΡ
ΠΌΠ΅Ρ
Π°Π½ΠΈΠ·ΠΌΠΎΠ² ΠΈ ΠΏΡΡΠΆΠΈΠ½ΠΎΠΊ.
ΠΡΠ»ΠΈ Π½ΠΎΠΆ Π½Π°Ρ
ΠΎΠ΄ΠΈΡΡΡ Π² ΡΠ»ΠΎΠΆΠ΅Π½Π½ΠΎΠΌ ΡΠΎΡΡΠΎΡΠ½ΠΈΠΈ, ΡΠΎ Π»Π°ΠΉΠ½Π΅Ρ, ΠΏΡΠ΅Π΄ΡΡΠ°Π²Π»ΡΡΡΠΈΠΉ ΡΠΎΠ±ΠΎΠΉ ΡΠ΅Π»ΡΠ½ΡΡ ΠΏΠ»Π°ΡΡΠΈΠ½Ρ, ΡΠΊΡΡΠ²Π°Π΅ΡΡΡ Π² ΡΡΠΊΠΎΡΡΠΈ. ΠΠ³ΠΎ ΠΏΡΠΎΠ΄ΠΎΠ»ΠΆΠ΅Π½ΠΈΠ΅ — ΠΏΠ»ΠΎΡΠΊΠ°Ρ ΠΏΡΡΠΆΠΈΠ½Π°, Π² ΠΎΡΠΊΡΡΡΠΎΠΌ ΠΏΠΎΠ»ΠΎΠΆΠ΅Π½ΠΈΠΈ ΡΠΏΠΈΡΠ°Π΅ΡΡΡ Π² Ρ
Π²ΠΎΡΡΠΎΠ²ΠΈΠΊ ΠΈΠ½ΡΡΡΡΠΌΠ΅Π½ΡΠ°, ΡΠ°ΠΊΠΈΠΌ ΠΎΠ±ΡΠ°Π·ΠΎΠΌ, ΡΠΈΠΊΡΠΈΡΡΡ Π΅Π³ΠΎ. ΠΠ»Ρ Π·Π°ΠΊΡΡΡΠΈΡ Π½ΠΎΠΆΠ°, ΡΠΌΠ΅ΡΡΠΈΡΠ΅ Π»Π°ΠΉΠ½Π΅Ρ Π²Π±ΠΎΠΊ. Π§ΡΠΎΠ±Ρ ΠΏΡΠΎΠ²Π΅ΡΠΈΡΡ, Π½Π°ΡΠΊΠΎΠ»ΡΠΊΠΎ ΠΊΠ°ΡΠ΅ΡΡΠ²Π΅Π½Π½ΠΎ Π²ΡΠΏΠΎΠ»Π½Π΅Π½ ΠΌΠ΅Ρ
Π°Π½ΠΈΠ·ΠΌ, ΠΎΠ±ΡΠ°ΡΠΈΡΠ΅ Π²Π½ΠΈΠΌΠ°Π½ΠΈΠ΅ Π½Π° ΡΠΎ, Π³Π»ΡΠ±ΠΎΠΊΠΎ Π»ΠΈ ΠΏΡΡΠΆΠΈΠ½Π° Π·Π°Ρ
ΠΎΠ΄ΠΈΡ Π½Π° Ρ
Π²ΠΎΡΡΠΎΠ²ΠΈΠΊ.
ΠΠΎΠΆ ΡΠΊΠ»Π°Π΄Π½ΠΎΠΉ Ganzo G615
ΠΠΎΡΠΌΠΎΡΡΠ΅ΡΡ ΠΏΠΎΠ»Π½ΠΎΠ΅ ΠΎΠΏΠΈΡΠ°Π½ΠΈΠ΅ Π½ΠΎΠΆΠ°
Ganzo 615 β ΡΡΠΈΠ»ΡΠ½ΡΠΉ, ΠΊΠΎΠΌΠΏΠ°ΠΊΡΠ½ΡΠΉ ΠΈ ΡΠ΄ΠΈΠ²ΠΈΡΠ΅Π»ΡΠ½ΠΎ Π»Π΅Π³ΠΊΠΈΠΉ Π½ΠΎΠΆ ΠΏΠΎΡ ΠΎΠ΄Π½ΠΎΠ³ΠΎ Π½Π°Π·Π½Π°ΡΠ΅Π½ΠΈΡ. ΠΠ»ΠΈΠ½ΠΎΠΊ Ganzo 615 Π²ΡΠΏΠΎΠ»Π½Π΅Π½ ΠΈΠ· ΡΠ³Π»Π΅ΡΠΎΠ΄ΠΈΡΡΠΎΠΉ Π½Π΅ΡΠΆΠ°Π²Π΅ΡΡΠ΅ΠΉ ΡΡΠ°Π»ΠΈ ΠΊΠ»Π°ΡΡΠ° 440, Π΄Π»Ρ ΡΡΠΊΠΎΡΡΠΈ Π±ΡΠ» Π²ΡΠ±ΡΠ°Π½ ABS-ΠΏΠ»Π°ΡΡΠΈΠΊ β Π²ΡΡΠΎΠΊΠΎΡΠ΅Ρ Π½ΠΎΠ»ΠΎΠ³ΠΈΡΠ½ΡΠΉ ΠΌΠ°ΡΠ΅ΡΠΈΠ°Π», ΠΏΠΎΠ²ΡΠ΅ΠΌΠ΅ΡΡΠ½ΠΎ ΠΈΡΠΏΠΎΠ»ΡΠ·ΡΠ΅ΠΌΡΠΉ Π²ΠΎ ΠΌΠ½ΠΎΠ³ΠΈΡ ΠΎΠ±Π»Π°ΡΡΡΡ ΠΏΡΠΎΠΌΡΡΠ»Π΅Π½Π½ΠΎΡΡΠΈ Π² ΡΠΈΠ»Ρ ΡΠ²ΠΎΠΈΡ Π²ΡΡΠΎΡΠ°ΠΉΡΠΈΡ ΡΠΊΡΠΏΠ»ΡΠ°ΡΠ°ΡΠΈΠΎΠ½Π½ΠΎ-ΡΠ΅Ρ Π½ΠΈΡΠ΅ΡΠΊΠΈΡ Ρ Π°ΡΠ°ΠΊΡΠ΅ΡΠΈΡΡΠΈΠΊ. ΠΠ° Π½Π°Π΄Π΅ΠΆΠ½ΡΡ ΡΠΈΠΊΡΠ°ΡΠΈΡ Π»Π΅Π·Π²ΠΈΡ Π² ΡΠ°Π±ΠΎΡΠ΅ΠΌ ΠΈ ΡΠ»ΠΎΠΆΠ΅Π½Π½ΠΎΠΌ ΡΠΎΡΡΠΎΡΠ½ΠΈΠΈ ΠΎΡΠ²Π΅ΡΠ°Π΅Ρ ΠΊΠ»Π°ΡΡΠΈΡΠ΅ΡΠΊΠΈΠΉ Π·Π°ΠΌΠΎΡΠ½ΡΠΉ ΠΌΠ΅Ρ Π°Π½ΠΈΠ·ΠΌ β Liner Lock.
ΠΠΎΠΆ Spyderco Tenacious 122PBBK
ΠΠΎΡΠΌΠΎΡΡΠ΅ΡΡ ΠΏΠΎΠ»Π½ΠΎΠ΅ ΠΎΠΏΠΈΡΠ°Π½ΠΈΠ΅ Π½ΠΎΠΆΠ°
Π‘ΡΠ°Π»Ρ, ΠΏΠΎΡΠ»ΡΠΆΠΈΠ²ΡΠ°Ρ ΠΌΠ°ΡΠ΅ΡΠΈΠ°Π»ΠΎΠΌ Π΄Π»Ρ ΠΈΠ·Π³ΠΎΡΠΎΠ²Π»Π΅Π½ΠΈΡ ΡΠ°ΠΊΠΎΠ³ΠΎ ΠΈΠ·Π΄Π΅Π»ΠΈΡ Π°ΠΌΠ΅ΡΠΈΠΊΠ°Π½ΡΠΊΠΎΠΉ ΡΠΈΡΠΌΡ Β«SpydercoΒ», ΠΊΠ°ΠΊ Π½ΠΎΠΆ ΡΠΊΠ»Π°Π΄Π½ΠΎΠΉ Tenacious 122PBBK, ΠΏΡΠ΅Π΄ΡΡΠ°Π²Π»ΡΠ΅Ρ ΡΠΎΠ±ΠΎΠΉ ΠΎΠ±ΡΠ°Π·ΡΠΈΠΊ ΡΠ΅Π²ΠΎΠ»ΡΡΠΈΠΎΠ½Π½ΠΎΠΉ ΡΠ΅Ρ
Π½ΠΎΠ»ΠΎΠ³ΠΈΠΈ, Π·Π° ΡΡΠ΅Ρ ΠΊΠΎΡΠΎΡΠΎΠΉ ΡΠ΄Π°Π»ΠΎΡΡ Π΄ΠΎΠ±ΠΈΡΡΡΡ ΡΠ΅Π½ΠΎΠΌΠ΅Π½Π°Π»ΡΠ½ΠΎΠ³ΠΎ ΠΏΡΠΈΡΠΎΡΡΠ° ΠΏΡΠΎΡΠ½ΠΎΡΡΠΈ ΠΌΠ°ΡΠ΅ΡΠΈΠ°Π»Π°.
Back Lock
ΠΡΠ΅ ΠΎΠ΄Π½Π° ΡΠ°ΡΠΏΡΠΎΡΡΡΠ°Π½Π΅Π½Π½Π°Ρ ΡΠ°Π·Π½ΠΎΠ²ΠΈΠ΄Π½ΠΎΡΡΡ Π·Π°ΠΌΠΊΠ°, Π³Π΄Π΅ Ρ Π²ΠΎΡΡΠΎΠ²ΠΈΠΊ ΡΠΈΠΊΡΠΈΡΡΠ΅ΡΡΡ ΠΎΡ ΠΎΠ±ΡΡ Π°. Π ΠΊΠ°ΡΠ΅ΡΡΠ²Π΅ ΡΠΈΠΊΡΠ°ΡΠΎΡΠ° ΠΈΡΠΏΠΎΠ»ΡΠ·ΡΠ΅ΡΡΡ ΠΏΠΎΠ΄ΠΏΡΡΠΆΠΈΠ½Π΅Π½Π½ΡΠΉ ΡΡΡΠ°Π³. ΠΠ° ΠΏΡΡΠ΅ ΠΊΠ»ΠΈΠ½ΠΊΠ° ΡΠ°ΡΠΏΠΎΠ»Π°Π³Π°Π΅ΡΡΡ ΠΏΠ°Π·, ΠΊΡΠ΄Π° ΡΡΠΎΡ ΡΡΡΠ°Π³ Π΄ΠΎΠ»ΠΆΠ΅Π½ Π²ΠΎΠΉΡΠΈ. ΠΠ°Π΄Π΅ΠΆΠ½ΠΎΡΡΡ ΠΌΠ΅Ρ Π°Π½ΠΈΠ·ΠΌΠ° ΠΎΠΏΡΠ΅Π΄Π΅Π»ΡΠ΅ΡΡΡ ΡΠ΅ΠΌ, Π½Π°ΡΠΊΠΎΠ»ΡΠΊΠΎ ΡΠΎΡΠ½ΠΎ ΠΏΠΎΠ΄ΠΏΡΡΠΆΠΈΠ½Π΅Π½Π½ΡΠΉ ΡΡΡΠ°Π³ ΠΏΠΎΠΏΠ°Π΄Π°Π΅Ρ Π² Π½ΡΠΆΠ½ΡΡ ΠΏΡΠΎΡΠ΅Π·Ρ. Π ΠΏΡΠΎΡΠΈΠ²Π½ΠΎΠΌ ΡΠ»ΡΡΠ°Π΅, ΠΊΠ»ΠΈΠ½ΠΎΠΊ Π±ΡΠ΄Π΅Ρ ΠΏΠ»ΠΎΡ ΠΎ Π·Π°ΡΠΈΠΊΡΠΈΡΠΎΠ²Π°Π½, ΠΈ ΡΡΠ°Π½Π΅Ρ Π»ΠΈΠ±ΠΎ ΠΎΡΠΊΡΡΠ²Π°ΡΡΡΡ Π±Π΅Π· Π²Π΅Π΄ΠΎΠΌΠ° Π²Π»Π°Π΄Π΅Π»ΡΡΠ°, Π»ΠΈΠ±ΠΎ Π½Π°ΠΎΠ±ΠΎΡΠΎΡ, Π·Π°ΠΊΠ»ΠΈΠ½ΠΈΠ²Π°ΡΡ ΠΏΡΠΈ ΠΎΡΠΊΡΡΠ²Π°Π½ΠΈΠΈ/Π·Π°ΠΊΡΡΠ²Π°Π½ΠΈΠΈ ΠΈΠ½ΡΡΡΡΠΌΠ΅Π½ΡΠ°. Π’Π°ΠΊΠΆΠ΅, ΠΌΠΎΠΆΠ΅Ρ ΠΏΠΎΡΠ²ΠΈΡΡΡΡ Π»ΡΡΡ, ΠΊΠΎΡΠΎΡΡΠΉ Π½Π΅Π³Π°ΡΠΈΠ²Π½ΠΎ ΡΠΊΠ°Π·ΡΠ²Π°Π΅ΡΡΡ Π½Π° Π½Π°Π΄Π΅ΠΆΠ½ΠΎΡΡΠΈ Π²ΡΠ΅ΠΉ ΠΊΠΎΠ½ΡΡΡΡΠΊΡΠΈΠΈ.
ΠΠΎΠΆ Spyderco Endura 4 10FPBK
ΠΠΎΡΠΌΠΎΡΡΠ΅ΡΡ ΠΏΠΎΠ»Π½ΠΎΠ΅ ΠΎΠΏΠΈΡΠ°Π½ΠΈΠ΅ Π½ΠΎΠΆΠ°
ΠΠ° ΠΏΡΠΈΡΠΎΠ΄Π΅, Π² ΠΏΠΎΡ
ΠΎΠ΄Π΅, Π² Π±ΡΡΡ Π²ΡΠ΅Π³Π΄Π° ΠΏΡΠΈΠ³ΠΎΠ΄ΠΈΡΡΡ ΡΠΊΠ»Π°Π΄Π½ΠΎΠΉ Π½ΠΎΠΆ.
ΠΡΠ»ΠΈ Π½ΡΠΆΠ½ΠΎ ΡΡΠΎ-ΡΠΎ ΠΎΡΡΠ΅Π·Π°ΡΡ, ΡΠΎ Π½Π΅Ρ ΡΠΌΡΡΠ»Π° ΠΏΡΡΠ°ΡΡΡΡ Π΄Π΅Π»Π°ΡΡ ΡΡΠΎ ΠΏΠΎΠ΄ΡΡΡΠ½ΡΠΌΠΈ ΠΏΡΠ΅Π΄ΠΌΠ΅ΡΠ°ΠΌΠΈ β Π»ΡΡΡΠ΅ Π²ΠΎΠ·ΡΠΌΠΈΡΠ΅ Π½ΠΎΠΆ. ΠΠ»Ρ ΡΠ°ΠΊΠΈΡ
ΡΠ΅Π»Π΅ΠΉ ΠΏΡΠ΅ΠΊΡΠ°ΡΠ½ΠΎ ΠΏΠΎΠ΄Ρ
ΠΎΠ΄ΠΈΡ Β«Spyderco EnduraΒ». ΠΡΠΎ ΠΈΠ·Π²Π΅ΡΡΠ½ΡΠΉ Π±ΡΠ΅Π½Π΄, ΠΏΡΠΎΠ΄ΡΠΊΡΠΈΡ ΠΊΠΎΡΠΎΡΠΎΠ³ΠΎ ΠΎΡΠ»ΠΈΡΠ°Π΅ΡΡΡ Π²ΡΡΠΎΠΊΠΈΠΌ ΠΊΠ°ΡΠ΅ΡΡΠ²ΠΎΠΌ, ΡΡΠΈΠ»ΡΠ½ΡΠΌ Π΄ΠΈΠ·Π°ΠΉΠ½ΠΎΠΌ ΠΈ Π΄ΠΎΠ»Π³ΠΎΠ²Π΅ΡΠ½ΠΎΡΡΡΡ. ΠΠΎΠΆ Β«Spyderco EnduraΒ» ΠΎΡΠ΅Π½Ρ ΠΏΡΠΈΠΌΠ΅ΡΠ°ΡΠ΅Π»Π΅Π½ ΠΈ Π»Π΅Π³ΠΊΠΎ Π·Π°ΠΏΠΎΠΌΠΈΠ½Π°Π΅ΡΡΡ. ΠΠ½ ΠΎΡΠ»ΠΈΡΠ°Π΅ΡΡΡ ΡΠ΅Π·ΠΊΠΎΠΉ ΡΠΎΡΠΌΠΎΠΉ ΠΊΠ»ΠΈΠ½ΠΊΠ°, ΠΏΠ»Π°Π²Π½ΡΠΌΠΈ ΠΈ ΡΠΎΡΠ½ΡΠΌΠΈ Π»ΠΈΠ½ΠΈΡΠΌΠΈ ΡΡΠΊΠΎΡΡΠΈ, ΠΈ ΠΏΡΠΈΡΡΠ½ΡΠΌ Π±Π»Π΅ΡΠΊΠΎΠΌ ΡΡΠ°Π»ΠΈ, ΠΈΠ· ΠΊΠΎΡΠΎΡΠΎΠΉ Π²ΡΠΏΠΎΠ»Π½Π΅Π½Ρ Π²ΡΠ΅ ΡΠ»Π΅ΠΌΠ΅Π½ΡΡ ΠΈΠ·Π΄Π΅Π»ΠΈΡ. ΠΡΠΈ ΡΡΠΎΠΌ ΡΠ°ΠΊΠΎΠΉ ΠΈΠ½ΡΡΡΡΠΌΠ΅Π½Ρ ΡΠ°ΠΊΠΆΠ΅ ΠΌΠΎΠΆΠ΅Ρ ΠΏΠΎΡ
Π²Π°ΡΡΠ°ΡΡΡΡ Π΄ΠΎΡΡΡΠΏΠ½ΠΎΠΉ ΡΠ΅Π½ΠΎΠΉ.
ΠΠΎΠΆ Cold Steel «Slock Master Hunter» ΡΡΠΊΠΎΡΡΡ ΠΊΡΠ°ΡΠ½Π°Ρ GRN, ΡΡΠ°Π»Ρ 8Cr13MoV
ΠΠΎΡΠΌΠΎΡΡΠ΅ΡΡ ΠΏΠΎΠ»Π½ΠΎΠ΅ ΠΎΠΏΠΈΡΠ°Π½ΠΈΠ΅ Π½ΠΎΠΆΠ°
ΠΠΎΠΆ ΡΡΠ°Π½Π΅Ρ ΡΠ΄Π°ΡΠ½ΡΠΌ Π²ΡΠ±ΠΎΡΠΎΠΌ Π΄Π»Ρ ΠΏΠΎΠΊΡΠΏΠ°ΡΠ΅Π»Π΅ΠΉ, ΠΈΡΡΡΠΈΡ
ΠΈΠ½ΡΡΡΡΠΌΠ΅Π½Ρ Π΄Π»Ρ ΠΏΠΎΠ²ΡΠ΅Π΄Π½Π΅Π²Π½ΠΎΠ³ΠΎ Π½ΠΎΡΠ΅Π½ΠΈΡ Π² ΠΊΠ°ΡΠΌΠ°Π½Π΅. ΠΠ½ ΡΠΎΠ·Π΄Π°Π½ ΠΏΠΎ ΠΎΠ±ΡΠ°Π·ΡΡ Π·Π½Π°ΠΌΠ΅Π½ΠΈΡΠΎΠ³ΠΎ Voyager. ΠΠΎΠ΄Π΅Π»Ρ Π°Π±ΡΠΎΠ»ΡΡΠ½ΠΎ ΡΠ½ΠΈΠ²Π΅ΡΡΠ°Π»ΡΠ½Π° ΠΈ Π²Ρ ΠΌΠΎΠΆΠ΅ΡΠ΅ Π±ΡΡΡ ΡΠ²Π΅ΡΠ΅Π½Ρ, ΡΡΠΎ Π½ΠΎΠΆ ΡΠΏΡΠ°Π²ΠΈΡΡΡ Ρ Π»ΡΠ±ΠΎΠΉ ΡΠ°Π±ΠΎΡΠΎΠΉ. Π‘ΡΠ°Π»Ρ ΠΊΠ»ΠΈΠ½ΠΊΠ° 8Cr13MoV β ΡΡΠΎ Π²Π΅ΡΡΠΌΠ° Π½Π΅ΠΏΠ»ΠΎΡ
ΠΎΠΉ Π²Π°ΡΠΈΠ°Π½Ρ, Π΄Π»Ρ ΠΏΠΎΠ²ΡΠ΅Π΄Π½Π΅Π²Π½ΡΡ
Π½ΠΎΠΆΠ΅ΠΉ.
ΠΠ½Π° Π΄ΠΎΡΡΠ°ΡΠΎΡΠ½ΠΎ Ρ
ΠΎΡΠΎΡΠΎ ΡΠΎΠΏΡΠΎΡΠΈΠ²Π»ΡΠ΅ΡΡΡ ΠΊΠΎΡΡΠΎΠ·ΠΈΠΈ, ΠΏΠΎΠΊΠ°Π·ΡΠ²Π°Π΅Ρ Π½Π΅ΠΏΠ»ΠΎΡ
ΡΡ ΠΈΠ·Π½ΠΎΡΠΎΡΡΠΎΠΉΠΊΠΎΡΡΡ ΠΈ ΡΠ΅Π·. Π ΡΠΊΠΎΡΡΡ ΠΈΠ·Π³ΠΎΡΠΎΠ²Π»Π΅Π½Π° ΠΈΠ· FRN β ΡΡΠΎ ΠΆΠΈΠ²ΡΡΠΈΠΉ ΠΌΠ°ΡΠ΅ΡΠΈΠ°Π», ΠΊΠΎΡΠΎΡΡΠΉ Ρ
ΠΎΡΠΎΡΠΎ ΠΏΡΠΎΡΠΈΠ²ΠΎΡΡΠΎΠΈΡ ΡΠ΄Π°ΡΠ°ΠΌ ΠΈ ΠΎΡΠΊΡΡΡΠΎΠΌΡ ΠΎΠ³Π½Ρ. Π’ΠΈΠΏ ΠΎΠ±ΡΠ°Π±ΠΎΡΠΊΠΈ ΠΊΠ»ΠΈΠ½ΠΊΠ°: Satin. Π’ΠΈΠΏ Π·Π°ΠΌΠΊΠ°: Back-Lock. ΠΠ΅Ρ 110 Π³.
Tri-Ad Lock
ΠΠΎ ΡΡΡΠΈ, ΡΠ²Π»ΡΠ΅ΡΡΡ ΠΌΠΎΠ΄ΠΈΡΠΈΠΊΠ°ΡΠΈΠ΅ΠΉ ΠΌΠΎΠ΄Π΅Π»ΠΈ Π·Π°ΠΌΠΊΠ° Back Lock, Π²ΡΠΏΠΎΠ»Π½Π΅Π½Π½ΠΎΠΉ ΠΊΠΎΠΌΠΏΠ°Π½ΠΈΠ΅ΠΉ Cold Steel Π² 2008 Π³ΠΎΠ΄Ρ. Π ΠΊΠΎΠ½ΡΡΡΡΠΊΡΠΈΡ Π·Π°ΠΌΠΊΠ° Π΄ΠΎΠ±Π°Π²ΠΈΠ»ΠΈ ΡΠΏΠ΅ΡΠΈΠ°Π»ΡΠ½ΡΠΉ ΡΡΠΈΡΡ, ΠΏΡΠ΅Π΄Π½Π°Π·Π½Π°ΡΠ΅Π½Π½ΡΠΉ Π΄Π»Ρ ΡΠ½ΠΈΠΆΠ΅Π½ΠΈΡ Π½Π°Π³ΡΡΠ·ΠΊΠΈ Π½Π° ΠΊΠ»ΠΈΠ½ΠΎΠΊ, Π° ΡΠ°ΠΊΠΆΠ΅ ΠΏΠ΅ΡΠ΅ΡΠΌΠΎΡΡΠ΅Π»ΠΈ Π³Π΅ΠΎΠΌΠ΅ΡΡΠΈΡ ΡΡΡΠ°Π³Π° ΠΈ Π΅Π³ΠΎ Π²Π·Π°ΠΈΠΌΠΎΠ΄Π΅ΠΉΡΡΠ²ΠΈΠ΅ Ρ ΠΎΡΠ²Π΅ΡΡΡΠΈΠ΅ΠΌ Π² Ρ Π²ΠΎΡΡΠΎΠ²ΠΈΠΊΠ΅. ΠΡΠ²Π΅ΡΡΡΠΈΠ΅ ΠΏΡΠΈΠΎΠ±ΡΠ΅Π»ΠΎ ΠΎΠ²Π°Π»ΡΠ½ΡΡ ΡΠΎΡΠΌΡ. ΠΡΠ΅ ΡΡΠΈ Π½ΠΎΠ²ΠΎΠ²Π²Π΅Π΄Π΅Π½ΠΈΡ ΠΎΠΊΠ°Π·Π°Π»ΠΈ ΠΏΠΎΠ»ΠΎΠΆΠΈΡΠ΅Π»ΡΠ½ΠΎΠ΅ Π²Π»ΠΈΡΠ½ΠΈΠ΅ Π½Π° ΠΏΡΠΎΡΠ½ΠΎΡΡΡ ΠΊΠΎΠ½ΡΡΡΡΠΊΡΠΈΠΈ Π·Π°ΠΌΠΊΠ°, Π° ΡΠ°ΠΊΠΆΠ΅ ΡΠ±ΡΠ°Π»ΠΈ Π»ΡΡΡ, ΡΠΏΠΎΡΠΎΠ±ΡΡΠ²ΡΡΡΠΈΠΉ ΠΈΠ·Π½ΠΎΡΡ ΠΈΠ½ΡΡΡΡΠΌΠ΅Π½ΡΠ°.
ΠΠΎΠΆ Cold Steel «Code 4» ΡΠΊΠ»Π°Π΄Π½ΠΎΠΉ, ΡΡΠ°Π»Ρ S35VN, clip point, aluminium
ΠΠΎΡΠΌΠΎΡΡΠ΅ΡΡ ΠΏΠΎΠ»Π½ΠΎΠ΅ ΠΎΠΏΠΈΡΠ°Π½ΠΈΠ΅ Π½ΠΎΠΆΠ°
ΠΠ°Π½Π½ΡΠΉ Π½ΠΎΠΆ ΡΠ²Π»ΡΠ΅ΡΡΡ ΡΡΠΊΠΈΠΌ ΠΏΡΠ΅Π΄ΡΡΠ°Π²ΠΈΡΠ΅Π»Π΅ΠΌ Π³ΠΎΡΠΎΠ΄ΡΠΊΠΈΡ
ΡΠ°ΠΊΡΠΈΡΠ΅ΡΠΊΠΈΡ
Π½ΠΎΠΆΠ΅ΠΉ Ρ ΠΊΠ»ΠΈΠ½ΠΊΠΎΠΌ, ΠΈΠ·Π³ΠΎΡΠΎΠ²Π»Π΅Π½Π½ΡΠΌ ΠΈΠ· ΠΏΡΠ΅ΠΌΠΈΠ°Π»ΡΠ½ΡΡ
ΡΡΠ°Π»Π΅ΠΉ.
ΠΠ½ ΡΡΠ°Π½Π΅Ρ Π²Π°ΡΠΈΠΌ Π½Π°Π΄Π΅ΠΆΠ½ΡΠΌ ΡΠΏΡΡΠ½ΠΈΠΊΠΎΠΌ Π² Π΅ΠΆΠ΅Π΄Π½Π΅Π²Π½ΡΡ
Π΄Π΅Π»Π°Ρ
— Π΅Π³ΠΎ Π»Π΅Π³ΠΊΠΈΠΉ Π²Π΅Ρ ΠΈ ΠΊΠΎΠΌΠΏΠ°ΠΊΡΠ½ΡΠ΅ ΡΠ°Π·ΠΌΠ΅ΡΡ ΠΏΠΎΠ·Π²ΠΎΠ»ΡΡ Π²ΡΠ΅Π³Π΄Π° Π±ΡΠ°ΡΡ Π½ΠΎΠΆ Ρ ΡΠΎΠ±ΠΎΠΉ, Π²Π΅Π΄Ρ ΠΎΠ½ ΠΏΠΎΠΌΠ΅ΡΡΠΈΡΡΡ Π΄Π°ΠΆΠ΅ Π² ΠΊΠ°ΡΠΌΠ°Π½. ΠΠ°ΡΠ΅ΡΠΈΠ°Π»ΠΎΠΌ Π΄Π»Ρ ΠΊΠ»ΠΈΠ½ΠΊΠ° ΠΏΠΎΡΠ»ΡΠΆΠΈΠ»Π° ΠΏΡΠ΅ΠΌΠΈΠ°Π»ΡΠ½Π°Ρ ΡΡΠ°Π»Ρ S35VN: ΡΡΠΎΡ ΠΌΠ°ΡΠ΅ΡΠΈΠ°Π» Π»ΡΠ±ΠΈΠΌ Π½ΠΎΠΆΠ΅ΠΌΠ°Π½Π°ΠΌΠΈ Π·Π° ΡΠ²ΠΎΡ ΡΠ²Π΅ΡΠ΄ΠΎΡΡΡ, ΠΈ, Π²ΠΌΠ΅ΡΡΠ΅ Ρ ΡΠ΅ΠΌ, ΡΠΏΡΡΠ³ΠΎΡΡΡ, ΡΡΠΎ Π½ΠΎΠΆ, ΠΈΠ·Π³ΠΎΡΠΎΠ²Π»Π΅Π½Π½ΡΠΉ ΠΈΠ· Π½Π΅Π³ΠΎ, ΠΏΡΠ°ΠΊΡΠΈΡΠ΅ΡΠΊΠΈ ΡΠ½ΠΈΠ²Π΅ΡΡΠ°Π»ΡΠ½ΡΠΌ ΠΈΠ½ΡΡΡΡΠΌΠ΅Π½ΡΠΎΠΌ. Π’Π°ΠΊΠΆΠ΅ ΡΡΠ° ΡΡΠ°Π»Ρ Π½Π΅ ΠΏΠΎΠ΄Π²Π΅ΡΠΆΠ΅Π½Π° Π²Π»ΠΈΡΠ½ΠΈΡ ΠΊΠΎΡΡΠΎΠ·ΠΈΠΈ ΠΈ ΡΠΎΡ
ΡΠ°Π½ΡΠ΅Ρ ΡΠ²ΠΎΡ Π·Π°ΡΠΎΡΠΊΡ Π½Π° Π³ΠΎΡΠ°Π·Π΄ΠΎ Π±ΠΎΠ»Π΅Π΅ Π΄Π»ΠΈΡΠ΅Π»ΡΠ½ΡΠΉ ΡΡΠΎΠΊ, Π΅ΡΠ»ΠΈ ΡΡΠ°Π²Π½ΠΈΠ²Π°ΡΡ Ρ Π΄ΡΡΠ³ΠΈΠΌΠΈ ΠΌΠ°ΡΠ΅ΡΠΈΠ°Π»Π°ΠΌΠΈ. Π ΡΠΊΠΎΡΡΡ ΠΈΠ·Π³ΠΎΡΠΎΠ²Π»Π΅Π½Π° ΠΈΠ· Π°Π½ΠΎΠ΄ΠΈΡΠΎΠ²Π°Π½Π½ΠΎΠ³ΠΎ Π°Π»ΡΠΌΠΈΠ½ΠΈΠ΅Π²ΠΎΠ³ΠΎ ΡΠΏΠ»Π°Π²Π°, ΠΎΡΠ»ΠΈΡΠ½ΠΎ Π»Π΅ΠΆΠΈΡ Π² ΡΡΠΊΠ΅ ΠΈ Π½Π΅ Π²ΡΡΠΊΠ°Π»ΡΠ·ΡΠ²Π°Π΅Ρ Π΄Π°ΠΆΠ΅ ΠΏΡΠΈ Π°ΠΊΡΠΈΠ²Π½ΠΎΠΉ ΡΠ°Π±ΠΎΡΠ΅ Ρ Π½ΠΎΠΆΠΎΠΌ.
ΠΠΎΠΆ Cold Steel «Voyager» Clip Large Plain Edge, ΡΡΠ°Π»Ρ AUS10
ΠΠΎΡΠΌΠΎΡΡΠ΅ΡΡ ΠΏΠΎΠ»Π½ΠΎΠ΅ ΠΎΠΏΠΈΡΠ°Π½ΠΈΠ΅ Π½ΠΎΠΆΠ°
ΠΠΎΠΆ Cold Steel «Voyager» Clip Large Plain Edge, ΡΡΠ°Π»Ρ AUS10 — ΡΡΠΎ ΡΠΊΠ»Π°Π΄Π½ΠΎΠΉ Π½ΠΎΠΆ ΠΈΠ· ΡΠ΅ΡΠΈΠΈ Voyager, ΠΈΠ·Π³ΠΎΡΠΎΠ²Π»Π΅Π½Π½ΡΠΉ Ρ Π²ΡΡΠΎΠΊΠΎΠΉ ΡΠΎΡΠ½ΠΎΡΡΡΡ ΠΈ ΠΊΠ°ΡΠ΅ΡΡΠ²ΠΎΠΌ. ΠΠ»ΠΈΠ½ΠΎΠΊ ΠΈΠ·Π³ΠΎΡΠΎΠ²Π»Π΅Π½ ΠΈΠ· Π²ΡΡΠΎΠΊΠΎΠΊΠ°ΡΠ΅ΡΡΠ²Π΅Π½Π½ΠΎΠΉ ΠΈ ΠΏΡΠΎΡΠ½ΠΎΠΉ ΡΡΠ°Π»ΠΈ ΠΌΠ°ΡΠΊΠΈ AUS 10A, ΡΡΠΊΠΎΡΡΡ Π²ΡΠΏΠΎΠ»Π½Π΅Π½Π° ΠΈΠ· ΠΌΠ°ΡΠ΅ΡΠΈΠ°Π»Π° Long Griv-Ex.
ΠΠ°Π½Π½ΡΠΉ ΠΈΠ½ΡΡΡΡΠΌΠ΅Π½Ρ ΠΎΠ±Π»Π°Π΄Π°Π΅Ρ ΠΎΡΠ»ΠΈΡΠ½ΡΠΌΠΈ ΡΠ΅ΠΆΡΡΠΈΠΌΠΈ ΡΠ²ΠΎΠΉΡΡΠ²Π°ΠΌΠΈ ΠΈ Π²ΡΡΠΎΠΊΠΎΠΉ ΠΏΡΠΎΡΠ½ΠΎΡΡΡΡ. ΠΡΠΈΠ³ΠΎΠ΄ΠΈΡΡΡ ΡΠ²ΠΎΠ΅ΠΌΡ Π²Π»Π°Π΄Π΅Π»ΡΡΡ Π½Π° Π²ΡΠ΅ ΡΠ»ΡΡΠ°ΠΈ ΠΆΠΈΠ·Π½ΠΈ: Π½Π° ΠΏΡΠΈΡΠΎΠ΄Π΅, ΠΎΡ
ΠΎΡΠ΅, ΡΡΠ±Π°Π»ΠΊΠ΅ ΠΈΠ»ΠΈ Π² ΡΡΡΠΈΡΡΠΈΡΠ΅ΡΠΊΠΎΠΌ ΠΏΠΎΡ
ΠΎΠ΄Π΅.
Frame Lock
ΠΡΠΎ ΠΊΠΎΠ½ΡΠΈΠ³ΡΡΠ°ΡΠΈΡ Π²ΡΡΠ΅ΡΠΏΠΎΠΌΡΠ½ΡΡΠΎΠ³ΠΎ Liner Lock, ΠΏΡΠΎΡΡΠ°Ρ ΠΈ ΠΎΠ΄Π½ΠΎΠ²ΡΠ΅ΠΌΠ΅Π½Π½ΠΎ Π½Π°Π΄Π΅ΠΆΠ½Π°Ρ ΠΊΠΎΠ½ΡΡΡΡΠΊΡΠΈΡ. Π ΡΠ°ΠΊΠΈΡ Π½ΠΎΠΆΠ°Ρ ΡΠ°ΡΡΡ ΡΡΠΊΠΎΡΡΠΈ ΠΈΠ·Π³ΠΎΡΠΎΠ²Π»Π΅Π½Π° ΠΈΠ· ΠΌΠ΅ΡΠ°Π»Π»Π° ΠΈ ΠΎΠ½Π° Π²ΡΡΡΡΠΏΠ°Π΅Ρ Π² ΠΊΠ°ΡΠ΅ΡΡΠ²Π΅ ΠΏΠΎΠ΄ΠΏΡΡΠΆΠΈΠ½Π΅Π½Π½ΠΎΠΉ ΠΏΠ»Π°ΡΡΠΈΠ½Ρ. Π£ΠΏΡΡΠ³ΠΈΠΉ ΠΈ ΠΏΡΠΎΡΠ½ΡΠΉ ΠΌΠ΅ΡΠ°Π»Π» ΡΠΏΠΎΡΠΎΠ±ΡΡΠ²ΡΠ΅Ρ Π½Π°Π΄Π΅ΠΆΠ½ΠΎΡΡΠΈ Π·Π°ΠΏΠΈΡΠ°ΡΡΠ΅Π³ΠΎ ΡΡΡΡΠΎΠΉΡΡΠ²Π° ΠΈ Π΄Π΅Π»Π°Π΅Ρ Π½ΠΎΠΆ Π±ΠΎΠ»Π΅Π΅ Π±Π΅Π·ΠΎΠΏΠ°ΡΠ½ΡΠΌ, ΠΏΡΠ΅Π΄ΡΠΏΡΠ΅ΠΆΠ΄Π°Ρ Π½Π΅ΠΏΡΠΎΠΈΠ·Π²ΠΎΠ»ΡΠ½ΠΎΠ΅ ΠΎΡΠΊΡΡΡΠΈΠ΅ ΠΈ Π·Π°ΠΊΡΡΡΠΈΠ΅ ΠΈΠ½ΡΡΡΡΠΌΠ΅Π½ΡΠ°.
ΠΠΎΠΆ Adimanti by ganzo (Skimen design) ΡΠΈΠΎΠ»Π΅ΡΠΎΠ²ΡΠΉ
ΠΠΎΡΠΌΠΎΡΡΠ΅ΡΡ ΠΏΠΎΠ»Π½ΠΎΠ΅ ΠΎΠΏΠΈΡΠ°Π½ΠΈΠ΅ Π½ΠΎΠΆΠ°
ΠΠΎΠΆ Adimanti by ganzo (Skimen design) ΡΠΈΠΎΠ»Π΅ΡΠΎΠ²ΡΠΉ — ΡΠΊΠ»Π°Π΄Π½ΠΎΠΉ Π΄ΠΈΠ·Π°ΠΉΠ½Π΅ΡΡΠΊΠΈΠΉ Π½ΠΎΠΆ ΡΠ΅ΡΠΈΠΈ Adimanti. ΠΠ·Π³ΠΎΡΠΎΠ²Π»Π΅Π½ ΠΈΠ· ΡΠ²Π΅ΡΡ
ΠΏΡΠΎΡΠ½ΠΎΠΉ ΡΡΠ°Π»ΠΈ ΠΌΠ°ΡΠΊΠΈ D2. Π’ΠΈΠΏ Π·Π°ΡΠΎΡΠΊΠΈ — ΠΏΡΡΠΌΠΎΠΉ. Π ΡΡΠΊΠ° Π½ΠΎΠΆΠ° Π²ΡΠΏΠΎΠ»Π½Π΅Π½Π° ΠΈΠ· ΡΡΠ΅ΠΊΠ»ΠΎΡΠ΅ΠΊΡΡΠΎΠ»ΠΈΡΠ° G10. ΠΠΎΠ΄Π΅Π»Ρ ΡΠΊΠ»Π°Π΄Π½Π°Ρ, ΠΏΡΠΈ ΡΡΠΎΠΌ ΠΏΡΠΎΡΡΠ°Ρ Π² ΠΏΡΠΈΠΌΠ΅Π½Π΅Π½ΠΈΠΈ, ΠΈΠΌΠ΅Π΅Ρ Π±Π΅Π·ΠΎΠΏΠ°ΡΠ½ΡΡ ΠΊΠΎΠ½ΡΡΡΡΠΊΡΠΈΡ.
ΠΠΎΠΆ Π»Π΅Π³ΠΊΠΈΠΉ ΠΈ ΠΊΠΎΠΌΠΏΠ°ΠΊΡΠ½ΡΠΉ, Π²Π΅Ρ ΠΈΠ·Π΄Π΅Π»ΠΈΡ ΡΠΎΡΡΠ°Π²Π»ΡΠ΅Ρ Π²ΡΠ΅Π³ΠΎ 120 Π³ΡΠ°ΠΌΠΌ. ΠΠ±ΡΠ°Ρ Π΄Π»ΠΈΠ½Π° Π½ΠΎΠΆΠ° ΡΠΎΡΡΠ°Π²Π»ΡΠ΅Ρ 205 ΠΌΠΌ. Π€Π»ΠΈΠΏΠΏΠ΅Ρ Π½ΠΎΠΆΠ° Π²ΡΠΏΠΎΠ»Π½Π΅Π½ Π½Π° ΠΏΠΎΠ΄ΡΠΈΠΏΠ½ΠΈΠΊΠ°Ρ
Neformat.
ΠΠΎΠΆ ΡΠΊΠ»Π°Π΄Π½ΠΎΠΉ ΡΡΡΠΈΡΡΠΈΡΠ΅ΡΠΊΠΈΠΉ Ganzo G743-1-OR
ΠΠΎΡΠΌΠΎΡΡΠ΅ΡΡ ΠΏΠΎΠ»Π½ΠΎΠ΅ ΠΎΠΏΠΈΡΠ°Π½ΠΈΠ΅ Π½ΠΎΠΆΠ°
Π’ΡΡΠΈΡΡΠΈΡΠ΅ΡΠΊΠΈΠΉ ΡΠΊΠ»Π°Π΄Π½ΠΎΠΉ Π½ΠΎΠΆ Ganzo G743-1 — ΡΡΠΎ ΡΠΎΡΠ΅ΡΠ°Π½ΠΈΠ΅ ΠΏΡΠ°ΠΊΡΠΈΡΠ½ΠΎΡΡΠΈ ΠΈ Π²ΡΡΠΎΠΊΠΎΠ³ΠΎ ΠΊΠ°ΡΠ΅ΡΡΠ²Π°. Π£ΡΡΠ°Π½ΠΎΠ²Π»Π΅Π½ Π½Π°Π΄Π΅ΠΆΠ½ΡΠΉ ΡΠΈΠΊΡΠΈΡΡΡΡΠΈΠΉ Π·Π°ΠΌΠΎΠΊ Frame Lock. ΠΠ»ΠΈΠ½Π° ΠΊΠ»ΠΈΠ½ΠΊΠ° — 87 ΠΌΠΌ, Π° ΡΠΎΠ»ΡΠΈΠ½Π° ΠΎΠ±ΡΡ Π° — 3 ΠΌΠΌ. Π’ΠΈΠΏ Π·Π°ΡΠΎΡΠΊΠΈ Π»Π΅Π·Π²ΠΈΡ — ΠΏΡΡΠΌΠΎΠΉ. Π€ΠΎΡΠΌΠ° ΠΊΠ»ΠΈΠ½ΠΊΠ° ΠΊΠ»Π°ΡΡΠΈΡΠ΅ΡΠΊΠ°Ρ — Drop Point, ΠΌΠ°ΡΠ΅ΡΠΈΠ°Π» ΠΈΠ·Π³ΠΎΡΠΎΠ²Π»Π΅Π½ΠΈΡ — Π½Π΅ΡΠΆΠ°Π²Π΅ΡΡΠ°Ρ ΡΡΠ°Π»Ρ 440C Ρ ΡΠ²Π΅ΡΠ΄ΠΎΡΡΡΡ 58 HRC. ΠΠ±ΡΠ°Ρ Π΄Π»ΠΈΠ½Π° ΠΈΠ·Π΄Π΅Π»ΠΈΡ Π² ΠΎΡΠΊΡΡΡΠΎΠΌ ΡΠΎΡΡΠΎΡΠ½ΠΈΠΈ ΡΠΎΡΡΠ°Π²Π»ΡΠ΅Ρ 200 ΠΌΠΌ, Π° Π² Π·Π°ΠΊΡΡΡΠΎΠΌ — Π²ΡΠ΅Π³ΠΎ 113.
Compression Lock
ΠΡΠ° ΡΠ°Π·Π½ΠΎΠ²ΠΈΠ΄Π½ΠΎΡΡΡ ΠΏΡΠ΅Π΄ΡΡΠ°Π²Π»ΡΠ΅Ρ ΡΠΎΠ±ΠΎΠΉ ΡΠ²ΠΎΠ΅ΠΎΠ±ΡΠ°Π·Π½ΡΠΉ Π³ΠΈΠ±ΡΠΈΠ΄ Π΄Π²ΡΡ
Π΄ΡΡΠ³ΠΈΡ
Π²Π°ΡΠΈΠ°Π½ΡΠΎΠ² Π·Π°ΠΌΠΊΠ°: Liner Lock ΠΈ Back Lock. ΠΠ°ΠΊ ΠΈ Π² Liner Lock, Π² Π½Π΅ΠΌ ΠΏΡΠΈΡΡΡΡΡΠ²ΡΠ΅Ρ ΠΏΠ»ΠΎΡΠΊΠ°Ρ ΠΏΡΡΠΆΠΈΠ½Π°, Π½ΠΎ ΠΎΠ½Π° ΡΠΏΠΈΡΠ°Π΅ΡΡΡ Π² Π²Π΅ΡΡ
Π½ΡΡ ΡΠ°ΡΡΡ Ρ
Π²ΠΎΡΡΠΎΠ²ΠΈΠΊΠ°, Π° Π½Π΅ ΡΠ·Π°Π΄ΠΈ. ΠΠ΄Π½Π° ΡΡΠΎΡΠΎΠ½Π° ΡΡΠΎΠΉ ΠΏΡΡΠΆΠΈΠ½Ρ Π²Ρ
ΠΎΠ΄ΠΈΡ Π² Ρ
Π²ΠΎΡΡΠΎΠ²ΠΈΠΊ, Ρ Π΄ΡΡΠ³ΠΎΠΉ ΡΡΠΎΡΠΎΠ½Ρ Π½Π°Ρ
ΠΎΠ΄ΠΈΡΡΡ ΡΡΠΈΡΡ, Π² ΠΊΠΎΡΠΎΡΡΠΉ ΠΎΠ½Π° ΡΠΏΠΈΡΠ°Π΅ΡΡΡ.
Π ΡΡΠΊΠΎΡΡΠΈ Ρ Π·Π°ΠΌΠΊΠΎΠΌ ΡΠΈΠΏΠ° Compression Lock ΠΎΠ±ΡΡΠ½ΠΎ ΠΏΡΠΈΡΡΡΡΡΠ²ΡΡΡ Π²ΡΡΠ°Π²ΠΊΠΈ ΠΈΠ· ΠΌΠ΅ΡΠ°Π»Π»Π°.
ΠΠ΅ΡΠΎΠΌΠ½Π΅Π½Π½ΡΠΉ ΠΏΠ»ΡΡ ΡΠ°ΠΊΠΎΠ³ΠΎ ΡΠΈΠΏΠ° Π·Π°ΠΌΠΊΠ° — ΠΏΡΠΈ ΠΎΡΠΊΡΡΠ²Π°Π½ΠΈΠΈ Π½ΠΎΠΆΠ°, ΠΏΠ°Π»ΡΡΡ ΠΏΠΎΠ»ΡΠ·ΠΎΠ²Π°ΡΠ΅Π»Ρ Π½Π΅ ΡΡΠΎΠ»ΠΊΠ½ΡΡΡΡ Ρ Π»Π΅Π·Π²ΠΈΠ΅ΠΌ. ΠΡΠΎ ΡΠ±Π΅ΡΠ΅ΠΆΠ΅Ρ ΠΎΡ ΡΠ»ΡΡΠ°ΠΉΠ½ΡΡ ΡΡΠ°Π²ΠΌ ΠΏΡΠΈ ΠΈΡΠΏΠΎΠ»ΡΠ·ΠΎΠ²Π°Π½ΠΈΠΈ ΠΈΠ½ΡΡΡΡΠΌΠ΅Π½ΡΠ°.
ΠΠ·Π΄Π΅Π»ΠΈΡ Ρ Π·Π°ΠΌΠΊΠΎΠΌ ΡΠΈΠΏΠ° Compression Lock ΡΠ°Π±ΠΎΡΠ°ΡΡ ΡΠ°ΠΊ: ΠΌΠ΅ΠΆΠ΄Ρ ΡΡΠΈΡΡΠΎΠΌ ΠΈ ΠΏΡΡΠΎΠΉ ΠΊΠ»ΠΈΠ½ΠΊΠ° Π΅ΡΡΡ Π½Π΅Π±ΠΎΠ»ΡΡΠ°Ρ ΠΏΡΠΎΡΠ΅Π·Ρ, ΠΊΡΠ΄Π° Π²Ρ ΠΎΠ΄ΠΈΡ ΠΏΠΎΠ΄ΠΏΡΡΠΆΠΈΠ½Π΅Π½Π½Π°Ρ ΠΏΠ»Π°Π½ΠΊΠ°. Π’Π°ΠΊΠΈΠΌ ΠΎΠ±ΡΠ°Π·ΠΎΠΌ, Π½ΠΎΠΆ ΡΠΈΠΊΡΠΈΡΡΠ΅ΡΡΡ Π² ΠΎΡΠΊΡΡΡΠΎΠΌ ΠΏΠΎΠ»ΠΎΠΆΠ΅Π½ΠΈΠΈ.
ΠΠΎΠΆ Spyderco Para 3 223PBBK
ΠΠΎΡΠΌΠΎΡΡΠ΅ΡΡ ΠΏΠΎΠ»Π½ΠΎΠ΅ ΠΎΠΏΠΈΡΠ°Π½ΠΈΠ΅ Π½ΠΎΠΆΠ°
ΠΠΎΠΆ Spyderco Para 3 223PBBK — Π½ΠΎΠΆ ΠΏΡΠΎΠΈΠ·Π²ΠΎΠ΄ΡΡΠ²Π° Π°ΠΌΠ΅ΡΠΈΠΊΠ°Π½ΡΠΊΠΎΠ³ΠΎ Π±ΡΠ΅Π½Π΄Π° Spyderco. ΠΠ»ΠΈΠ½ΠΎΠΊ ΠΈΠ·Π³ΠΎΡΠΎΠ²Π»Π΅Π½ ΠΈΠ· Π²ΡΡΠΎΠΊΠΎΠΏΡΠΎΡΠ½ΠΎΠΉ ΡΡΠ°Π»ΠΈ. ΠΠ±ΡΠ°Ρ Π΄Π»ΠΈΠ½Π° Π½ΠΎΠΆΠ° ΡΠΎΡΡΠ°Π²Π»ΡΠ΅Ρ 184 ΠΌΠΌ. ΠΠ΅Ρ ΠΈΠ·Π΄Π΅Π»ΠΈΡ ΡΠΎΡΡΠ°Π²Π»ΡΠ΅Ρ Π²ΡΠ΅Π³ΠΎ 96 Π³Ρ. Π’ΠΎΠ»ΡΠΈΠ½Π° ΠΎΠ±ΡΡ
Π° — 3, 8 ΠΌΠΌ. Π ΡΠΊΠΎΡΡΡ Π²ΡΠΏΠΎΠ»Π½Π΅Π½Π° ΠΈΠ· ΡΡΠ΅ΠΊΠ»ΠΎΡΠ΅ΠΊΡΡΠΎΠ»ΠΈΡΠ°. Π ΠΊΠΎΠΌΠΏΠ»Π΅ΠΊΡΠ΅ ΠΊΠ°ΡΠΌΠ°Π½Π½Π°Ρ ΠΊΠ»ΠΈΠΏΡΠ° Π΄Π»Ρ Π½ΠΎΡΠ΅Π½ΠΈΡ Π½ΠΎΠΆΠ° Π½Π° ΠΏΠΎΡΡΠ΅ ΠΈΠ»ΠΈ Π² ΠΊΠ°ΡΠΌΠ°Π½Π΅. Π Π·Π°Π΄Π½Π΅ΠΉ ΡΠ°ΡΡΠΈ ΡΡΠΊΠΎΡΡΠΈ ΠΏΡΠ΅Π΄ΡΡΠΌΠΎΡΡΠ΅Π½ΠΎ ΠΎΡΠ²Π΅ΡΡΡΠΈΠ΅ Π΄Π»Ρ ΡΡΡΠ°Ρ
ΠΎΠ²ΠΎΡΠ½ΠΎΠ³ΠΎ ΠΊΠΎΡΠ΄Π° ΠΈΠ»ΠΈ ΡΠ΅ΠΌΠ½Ρ.
ΠΠΎΠΆ Spyderco Rhino 210CFP
ΠΠΎΡΠΌΠΎΡΡΠ΅ΡΡ ΠΏΠΎΠ»Π½ΠΎΠ΅ ΠΎΠΏΠΈΡΠ°Π½ΠΈΠ΅ Π½ΠΎΠΆΠ°
ΠΠ°ΡΠΌΠ°Π½Π½ΡΠΉ ΡΠΊΠ»Π°Π΄Π½ΠΎΠΉ Π½ΠΎΠΆ Spyderco Rhino 210CFP ΠΏΡΠ΅Π΄Π½Π°Π·Π½Π°ΡΠ΅Π½ Π΄Π»Ρ ΠΏΠΎΠ²ΡΠ΅Π΄Π½Π΅Π²Π½ΠΎΠ³ΠΎ Π³ΠΎΡΠΎΠ΄ΡΠΊΠΎΠ³ΠΎ Π½ΠΎΡΠ΅Π½ΠΈΡ. ΠΠ°Π½Π½Π°Ρ ΠΌΠΎΠ΄Π΅Π»Ρ ΠΏΡΠ΅ΠΊΡΠ°ΡΠ½ΠΎ ΡΠΎΡΠ΅ΡΠ°Π΅Ρ Π² ΡΠ΅Π±Π΅ Π½Π°Π΄Π΅ΠΆΠ½ΠΎΡΡΡ, ΡΠ΄ΠΎΠ±ΡΡΠ²ΠΎ ΠΈ Π»Π°ΠΊΠΎΠ½ΠΈΡΠ½ΡΠΉ Π΄ΠΈΠ·Π°ΠΉΠ½. ΠΠ»ΠΈΠ½ΠΎΠΊ ΠΈΠ·Π³ΠΎΡΠΎΠ²Π»Π΅Π½ ΠΈΠ· Π½Π΅ΡΠΆΠ°Π²Π΅ΡΡΠ΅ΠΉ ΠΏΠΎΡΠΎΡΠΊΠΎΠ²ΠΎΠΉ ΡΡΠ°Π»ΠΈ Carpenter CTS — XHP, ΡΠ²Π΅ΡΠ΄ΠΎΡΡΡ ΠΊΠΎΡΠΎΡΠΎΠΉ ΠΏΠΎ ΡΠΊΠ°Π»Π΅ Π ΠΎΠΊΠ²Π΅Π»Π»Π° ΡΠΎΡΡΠ°Π²Π»ΡΠ΅Ρ 60-62 HRC. Π ΡΠΊΠΎΡΡΡ Π²ΡΠΏΠΎΠ»Π½Π΅Π½Π° ΠΈΠ· G10. Π¦Π²Π΅Ρ ΡΡΠΊΠΎΡΡΠΈ — ΡΠ΅ΡΠ½ΡΠΉ. Π’ΠΈΠΏ Π·Π°ΠΌΠΊΠ°: Compression Lock. ΠΠ±ΡΠ°Ρ Π΄Π»ΠΈΠ½Π° ΠΈΠ·Π΄Π΅Π»ΠΈΡ Π² ΠΎΡΠΊΡΡΡΠΎΠΌ Π²ΠΈΠ΄Π΅ ΡΠ°Π²Π½Π° 151 ΠΌΠΌ, Π° Π² Π·Π°ΠΊΡΡΡΠΎΠΌ — Π²ΡΠ΅Π³ΠΎ 91 ΠΌΠΌ.
Viroblock
Π’Π°ΠΊΠΎΠΉ ΡΠΈΠΏ Π·Π°ΠΌΠΊΠ° Ρ Π°ΡΠ°ΠΊΡΠ΅ΡΠ΅Π½ Π΄Π»Ρ ΠΊΠ°ΡΠΌΠ°Π½Π½ΡΡ Π½ΠΎΠΆΠ΅ΠΉ ΠΎΡ ΠΊΠΎΠΌΠΏΠ°Π½ΠΈΠΈ Opinel. Π ΡΡΠΎΠΌ ΡΠ»ΡΡΠ°Π΅, ΡΡΠΎΠ±Ρ Π·Π°ΡΠΈΠΊΡΠΈΡΠΎΠ²Π°ΡΡ Π»Π΅Π·Π²ΠΈΠ΅ Π² Π½ΡΠΆΠ½ΠΎΠΌ ΠΏΠΎΠ»ΠΎΠΆΠ΅Π½ΠΈΠΈ, ΠΈΡΠΏΠΎΠ»ΡΠ·ΡΠ΅ΡΡΡ ΠΏΠΎΠ²ΠΎΡΠΎΡΠ½Π°Ρ ΠΌΡΡΡΠ° ΠΈΠ· ΠΌΠ΅ΡΠ°Π»Π»Π°. ΠΠ½Π° ΡΠ½Π°Π±ΠΆΠ΅Π½Π° ΡΠΏΠ΅ΡΠΈΠ°Π»ΡΠ½ΡΠΌ ΠΏΡΠΎΠ΄ΠΎΠ»ΡΠ½ΡΠΌ ΡΠ°Π·ΡΠ΅Π·ΠΎΠΌ. ΠΠΎΠ²ΠΎΡΠ°ΡΠΈΠ²Π°Ρ ΠΌΡΡΡΡ Π² ΡΠ°Π·Π½ΡΠ΅ ΡΡΠΎΡΠΎΠ½Ρ, ΠΌΠΎΠΆΠ½ΠΎ ΡΠΈΠΊΡΠΈΡΠΎΠ²Π°ΡΡ ΠΈΠ½ΡΡΡΡΠΌΠ΅Π½Ρ Π² ΠΎΡΠΊΡΡΡΠΎΠΌ ΠΈΠ»ΠΈ Π·Π°ΠΊΡΡΡΠΎΠΌ ΠΏΠΎΠ»ΠΎΠΆΠ΅Π½ΠΈΠΈ.
ΠΠΎΠΆ Opinel β 7 VRN
ΠΠΎΡΠΌΠΎΡΡΠ΅ΡΡ ΠΏΠΎΠ»Π½ΠΎΠ΅ ΠΎΠΏΠΈΡΠ°Π½ΠΈΠ΅ Π½ΠΎΠΆΠ°
ΠΠΎΠΆ Opinel β7 VRN ΡΠ²Π»ΡΠ΅ΡΡΡ ΡΠΎΠ²ΡΠ΅ΠΌΠ΅Π½Π½ΡΠΌ ΠΏΡΠΈΡΠΏΠΎΡΠΎΠ±Π»Π΅Π½ΠΈΠ΅ΠΌ, ΠΊΠΎΡΠΎΡΠΎΠ΅ ΠΌΠΎΠΆΠ½ΠΎ ΠΈΡΠΏΠΎΠ»ΡΠ·ΠΎΠ²Π°ΡΡ Π² ΡΠ°ΠΌΡΡ
ΡΠ°Π·Π½ΠΎΠΎΠ±ΡΠ°Π·Π½ΡΡ
ΡΠΈΡΡΠ°ΡΠΈΡΡ
: ΠΎΡ ΠΎΡΠ΄ΡΡ
Π° Π½Π° ΠΏΡΠΈΡΠΎΠ΄Π΅, Π΄ΠΎ ΠΎΡ
ΠΎΡΡ ΠΈΠ»ΠΈ ΡΡΠ±Π°Π»ΠΊΠΈ.
Π‘ΡΠ΅Π΄ΠΈ ΠΏΡΠ΅ΠΈΠΌΡΡΠ΅ΡΡΠ² ΠΈΠ·Π΄Π΅Π»ΠΈΡ ΡΡΠΎΠΈΡ ΠΎΡΠΌΠ΅ΡΠΈΡΡ ΡΠΏΠΎΡΡΠ΅Π±Π»Π΅Π½ΠΈΡ ΠΏΡΠΈ ΠΏΡΠΎΠΈΠ·Π²ΠΎΠ΄ΡΡΠ²Π΅ Π½ΠΎΠΆΠ° ΠΊΠ°ΡΠ΅ΡΡΠ²Π΅Π½Π½ΠΎΠΉ ΡΠ³Π»Π΅ΡΠΎΠ΄ΠΈΡΡΠΎΠΉ ΡΡΠ°Π»ΠΈ, ΠΊΠΎΡΠΎΡΠ°Ρ Π½Π΅ ΡΠΎΠ»ΡΠΊΠΎ ΠΏΡΠΎΡΠ½Π°Ρ, Π½ΠΎ ΠΈ ΠΈΠΌΠ΅Π΅Ρ Π΄Π»ΠΈΡΠ΅Π»ΡΠ½ΡΠΉ ΡΡΠΎΠΊ ΡΠΊΡΠΏΠ»ΡΠ°ΡΠ°ΡΠΈΠΈ. Π ΡΠΊΠΎΡΡΠΊΠ° ΠΈΠ½Π²Π΅Π½ΡΠ°ΡΡ ΡΠΎΠ·Π΄Π°Π½Π° ΠΈΠ· Π΄Π΅ΡΠ΅Π²Π° (Π±ΡΠΊΠ°) ΠΈ ΠΏΠΎΠΊΡΡΡΠ° ΡΠΏΠ΅ΡΠΈΠ°Π»ΡΠ½ΡΠΌ Π·Π°ΡΠΈΡΠ½ΡΠΌ ΡΠ»ΠΎΠ΅ΠΌ ΠΎΡ Π²Π»Π°ΠΆΠ½ΠΎΡΡΠΈ ΠΈ ΡΡΡΠΎΡΡΠΈ.
ΠΠ»Π°Π³ΠΎΠ΄Π°ΡΡ ΡΠΎΠΌΡ, ΡΡΠΎ Π² ΠΏΠΎΠ΄ΠΎΠ±Π½ΠΎΠΉ ΠΌΠΎΠ΄Π΅Π»ΠΈ ΠΏΡΠΈΠΌΠ΅Π½ΡΠ΅ΡΡΡ ΡΠ°Π·ΡΠ°Π±ΠΎΡΠ°Π½Π½Π°Ρ ΡΠΎΠ·Π΄Π°ΡΠ΅Π»Π΅ΠΌ ΠΊΠΎΠΌΠΏΠ°Π½ΠΈΠΈ Opinel ΡΠΈΡΡΠ΅ΠΌΠ° Viroblock, Π½ΠΎΠΆ Π½Π΅ ΡΠΎΠ»ΡΠΊΠΎ Π½Π°Π΄Π΅ΠΆΠ½ΠΎ ΡΠΈΠΊΡΠΈΡΡΠ΅ΡΡΡ Π² ΠΎΡΠΊΡΡΡΠΎΠΌ ΠΏΠΎΠ»ΠΎΠΆΠ΅Π½ΠΈΠΈ, Π½ΠΎ ΠΈ ΡΠ΄ΠΎΠ±Π½ΠΎ ΡΠΊΠ»Π°Π΄ΡΠ²Π°Π΅ΡΡΡ, ΡΡΠΎ Π΄Π΅Π»Π°Π΅Ρ ΡΠ°ΠΊΠΎΠ΅ ΠΈΠ·Π΄Π΅Π»ΠΈΠ΅ Π±ΠΎΠ»Π΅Π΅ Π±Π΅Π·ΠΎΠΏΠ°ΡΠ½ΡΠΌ Π΄Π»Ρ ΠΈΡΠΏΠΎΠ»ΡΠ·ΠΎΠ²Π°Π½ΠΈΡ ΠΈ ΡΡΠ°Π½ΡΠΏΠΎΡΡΠΈΡΠΎΠ²ΠΊΠΈ. ΠΠ°ΠΊΠ°Π·ΡΠ²Π°Ρ Π½ΠΎΠΆΠΈ ΡΡΠ°Π½ΡΡΠ·ΡΠΊΠΎΠ³ΠΎ ΠΏΡΠΎΠΈΠ·Π²ΠΎΠ΄ΡΡΠ²Π° Π² Π½Π°ΡΠ΅ΠΌ ΠΈΠ½ΡΠ΅ΡΠ½Π΅ΡβΠΌΠ°Π³Π°Π·ΠΈΠ½Π΅, ΠΡ Π½Π΅ ΡΠΎΠ»ΡΠΊΠΎ ΠΏΠΎΠΊΡΠΏΠ°Π΅ΡΠ΅ ΡΠΊΡΠΊΠ»ΡΠ·ΠΈΠ²Π½ΡΠΉ ΡΠΎΠ²Π°Ρ, Π½ΠΎ ΠΈ ΠΎΠ±ΡΠ΅ΡΠ°Π΅ΡΠ΅ Π½Π°Π΄Π΅ΠΆΠ½ΠΎΠ³ΠΎ ΠΏΠΎΠΌΠΎΡΠ½ΠΈΠΊΠ° Π² Π²ΡΠΏΠΎΠ»Π½Π΅Π½ΠΈΠΈ ΡΠ°Π·Π»ΠΈΡΠ½ΡΡ Π·Π°Π΄Π°Π½ΠΈΠΉ Π½Π° Π΄ΠΎΠ»Π³ΠΈΠ΅ Π³ΠΎΠ΄Ρ.
ΠΠΎΠΆ Opinel β 8 VRI Π³ΡΠΈΠ±Π½ΠΎΠΉ
ΠΠΎΡΠΌΠΎΡΡΠ΅ΡΡ ΠΏΠΎΠ»Π½ΠΎΠ΅ ΠΎΠΏΠΈΡΠ°Π½ΠΈΠ΅ Π½ΠΎΠΆΠ°
ΠΡΠ΅Π½Ρ ΡΠ΄ΠΎΠ±Π½ΡΠΉ ΡΠΊΠ»Π°Π΄Π½ΠΎΠΉ Π½ΠΎΠΆ Π³ΡΠΈΠ±Π½ΠΈΠΊΠ° Opinel 8 VRI ΠΎΡΠ½ΠΎΡΠΈΡΡΡ ΠΊ ΠΌΠΎΠ΄Π΅Π»ΡΠΌ ΡΡΠ΅Π΄Π½Π΅Π³ΠΎ ΡΠ°Π·ΠΌΠ΅ΡΠ° — Π΄Π»ΠΈΠ½Π° ΠΊΠ»ΠΈΠ½ΠΊΠ° 80 ΠΌΠΌ. Π ΡΠΊΠΎΡΡΠΊΠ° ΠΈΠ·Π³ΠΎΡΠΎΠ²Π»Π΅Π½Π° ΠΈΠ· ΡΠ²Π΅ΡΠ΄ΠΎΠΉ Π΄ΡΠ΅Π²Π΅ΡΠΈΠ½Ρ Π±ΡΠΊΠ°.
ΠΠ·Π²Π»Π΅ΠΊΠ°Π΅ΡΡΡ Π»Π΅Π·Π²ΠΈΠ΅ Π²ΡΡΡΠ½ΡΡ. Π ΠΎΡΠΊΡΡΡΠΎΠΌ ΡΠΎΡΡΠΎΡΠ½ΠΈΠΈ Π½ΠΎΠΆ ΡΠΈΠΊΡΠΈΡΡΠ΅ΡΡΡ Ρ ΠΏΠΎΠΌΠΎΡΡΡ ΠΊΠΎΠ»ΡΡΠ΅Π²ΠΎΠ³ΠΎ Π·Π°ΠΌΠΊΠ° Viroblock. ΠΡΠΎΡ Π·Π°ΠΌΠΎΠΊ ΠΏΡΠ΅Π΄ΡΡΠ°Π²Π»ΡΠ΅Ρ ΡΠΎΠ±ΠΎΠΉ ΠΌΠ΅ΡΠ°Π»Π»ΠΈΡΠ΅ΡΠΊΠΎΠ΅ ΠΊΠΎΠ»ΡΡΠΎ Ρ ΠΏΡΠΎΡΠ΅Π·ΡΡ, ΡΠ°ΡΠΏΠΎΠ»ΠΎΠΆΠ΅Π½Π½ΠΎΠ΅ Π² ΠΊΠΎΠ½ΡΠ΅ ΡΡΠΊΠΎΡΡΠΊΠΈ Π½Π°Π΄ ΠΎΡΡΡ Π²ΡΠ°ΡΠ΅Π½ΠΈΡ ΠΊΠ»ΠΈΠ½ΠΊΠ°. ΠΡΠΈ ΠΎΡΠΊΡΡΠ²Π°Π½ΠΈΠΈ Π½ΠΎΠΆΠ° Π»Π΅Π·Π²ΠΈΠ΅ ΠΏΡΠΎΡ
ΠΎΠ΄ΠΈΡ ΡΠ΅ΡΠ΅Π· ΠΏΡΠΎΡΠ΅Π·Ρ. ΠΠ»Ρ ΡΠΈΠΊΡΠ°ΡΠΈΠΈ Π»Π΅Π·Π²ΠΈΡ Π² ΠΎΡΠΊΡΡΡΠΎΠΌ ΡΠΎΡΡΠΎΡΠ½ΠΈΠΈ Π½Π°Π΄ΠΎ ΠΏΠΎΠ²Π΅ΡΠ½ΡΡΡ ΠΊΠΎΠ»ΡΡΠΎ, ΠΏΡΠΎΡΠ΅Π·Ρ ΡΠΌΠ΅ΡΡΠΈΡΡΡ ΠΈ Π½ΠΎΠΆ ΡΠ»ΡΡΠ°ΠΉΠ½ΠΎ Π·Π°ΠΊΡΡΡΡ Π±ΡΠ΄Π΅Ρ Π½Π΅Π²ΠΎΠ·ΠΌΠΎΠΆΠ½ΠΎ. ΠΠ°ΠΌΠΎΠΊ ΠΎΡΠ΅Π½Ρ Π½Π°Π΄Π΅ΠΆΠ΅Π½ Π² ΡΠΈΠ»Ρ ΡΠ²ΠΎΠ΅ΠΉ ΠΏΡΠΎΡΡΠΎΡΡ, Π»ΠΎΠΌΠ°ΡΡΡΡ Π½Π΅ΡΠ΅ΠΌΡ. Π ΡΠΎΠΌΡ ΠΆΠ΅, Π½Π°Π΄ΠΎ ΠΎΡΠΌΠ΅ΡΠΈΡΡ ΡΡΠΎ ΡΡΠ΅Π½ΠΊΠ° ΠΊΠΎΠ»ΡΡΠ° ΡΡΠ΄ΠΎΠΌ Ρ ΠΏΡΠΎΡΠ΅Π·ΡΡ ΡΠ΄Π΅Π»Π°Π½Π° Ρ Π½Π΅Π±ΠΎΠ»ΡΡΠΈΠΌ ΡΠΊΠΎΡΠΎΠΌ, ΡΡΠΎ ΠΏΠΎΠ·Π²ΠΎΠ»ΡΠ΅Ρ Π·Π°ΡΡΠ½ΡΡΡ ΠΊΠ»ΠΈΠ½ΠΎΠΊ, ΠΏΠΎΠ»Π½ΠΎΡΡΡΡ ΠΈΡΠΊΠ»ΡΡΠΈΠ² Π»ΡΡΡ.
Button Lock
Π Π½ΠΎΠΆΠ°Ρ Ρ ΡΠΈΡΡΠ΅ΠΌΠΎΠΉ Button Lock Π΅ΡΡΡ ΡΠΏΠ΅ΡΠΈΠ°Π»ΡΠ½Π°Ρ ΠΊΠ½ΠΎΠΏΠΊΠ°-ΡΡΠΈΡΡ, Ρ ΠΏΠΎΠΌΠΎΡΡΡ ΠΊΠΎΡΠΎΡΠΎΠΉ ΠΊΠ»ΠΈΠ½ΠΎΠΊ ΠΎΡΠ²ΠΎΠ±ΠΎΠΆΠ΄Π°Π΅ΡΡΡ ΠΈΠ»ΠΈ ΡΠ΄Π΅ΡΠΆΠΈΠ²Π°Π΅ΡΡΡ Π² ΡΡΠΊΠΎΡΡΠΈ. ΠΠ°ΠΆΠΈΠΌΠ°Ρ Π½Π° ΠΊΠ½ΠΎΠΏΠΊΡ, ΠΈΠ½ΡΡΡΡΠΌΠ΅Π½Ρ ΠΌΠΎΠΆΠ½ΠΎ Π·Π°ΡΠΈΠΊΡΠΈΡΠΎΠ²Π°ΡΡ ΠΊΠ°ΠΊ Π² ΠΎΡΠΊΡΡΡΠΎΠΌ, ΡΠ°ΠΊ ΠΈ Π² Π·Π°ΠΊΡΡΡΠΎΠΌ ΠΏΠΎΠ»ΠΎΠΆΠ΅Π½ΠΈΠΈ.
ΠΠ΅ΠΎΠ±Ρ ΠΎΠ΄ΠΈΠΌΠΎ ΠΈΠ·Π±Π΅Π³Π°ΡΡ ΠΏΠΎΠΏΠ°Π΄Π°Π½ΠΈΡ Π³ΡΡΠ·ΠΈ Π² ΠΌΠΈΠΊΡΠΎΡΠ΅Π»ΠΈ ΠΎΠΊΠΎΠ»ΠΎ ΠΊΠ½ΠΎΠΏΠΊΠΈ, ΠΏΠΎΡΠΊΠΎΠ»ΡΠΊΡ ΡΡΠΎ ΠΏΡΠ΅ΠΏΡΡΡΡΠ²ΡΠ΅Ρ Π΅Π΅ ΡΠ°Π±ΠΎΡΠ΅.
ΠΠΎΠΆ ΡΠΊΠ»Π°Π΄Π½ΠΎΠΉ ΡΡΡΠΈΡΡΠΈΡΠ΅ΡΠΊΠΈΠΉ Ganzo G7361-GR
ΠΠΎΡΠΌΠΎΡΡΠ΅ΡΡ ΠΏΠΎΠ»Π½ΠΎΠ΅ ΠΎΠΏΠΈΡΠ°Π½ΠΈΠ΅ Π½ΠΎΠΆΠ°
ΠΡΠ»ΠΈ Π²Π°ΠΌ Π½ΡΠΆΠ΅Π½ ΡΠ½ΠΈΠ²Π΅ΡΡΠ°Π»ΡΠ½ΡΠΉ Π²Π°ΡΠΈΠ°Π½Ρ Π½ΠΎΠΆΠ°, ΠΊΠΎΡΠΎΡΡΠΉ ΠΏΠΎΠ΄ΠΎΠΉΠ΄Π΅Ρ ΠΈ Π΄Π»Ρ Π΅ΠΆΠ΅Π΄Π½Π΅Π²Π½ΠΎΠΉ ΡΠΊΡΠΏΠ»ΡΠ°ΡΠ°ΡΠΈΠΈ Π² Π³ΠΎΡΠΎΠ΄ΡΠΊΠΈΡ
ΡΡΠ»ΠΎΠ²ΠΈΡΡ
, ΠΈ Π΄Π»Ρ ΠΏΠΎΠ΅Π·Π΄ΠΎΠΊ Π½Π° ΠΏΡΠΈΡΠΎΠ΄Π΅, ΡΠΎ Ρ
ΠΎΡΠΎΡΠΈΠΌ ΡΠ΅ΡΠ΅Π½ΠΈΠ΅ΠΌ Π±ΡΠ΄Π΅Ρ ΠΊΡΠΏΠΈΡΡ Ganzo G7361-GR.
ΠΡΠ° ΠΌΠΎΠ΄Π΅Π»Ρ ΠΈΠ·Π³ΠΎΡΠΎΠ²Π»Π΅Π½Π° ΠΈΠ· Π½Π°Π΄Π΅ΠΆΠ½ΡΡ
ΠΌΠ°ΡΠ΅ΡΠΈΠ°Π»ΠΎΠ² ΠΈ ΠΎΡΠ»ΠΈΡΠ°Π΅ΡΡΡ ΠΎΡΠ΅Π½Ρ ΡΠ΄Π΅ΡΠΆΠ°Π½Π½ΡΠΌ ΠΈ Π»Π°ΠΊΠΎΠ½ΠΈΡΠ½ΡΠΌ Π΄ΠΈΠ·Π°ΠΉΠ½ΠΎΠΌ. ΠΠΎΠΆ Π²ΡΠ³Π»ΡΠ΄ΠΈΡ ΠΎΡΠ΅Π½Ρ Π°ΠΊΠΊΡΡΠ°ΡΠ½ΡΠΌ, Π½ΠΎ ΡΠΏΠΎΡΠΎΠ±Π΅Π½ ΡΠ°Π±ΠΎΡΠ°ΡΡ ΠΏΡΠ°ΠΊΡΠΈΡΠ΅ΡΠΊΠΈ Ρ Π»ΡΠ±ΡΠΌΠΈ ΠΌΠ°ΡΠ΅ΡΠΈΠ°Π»Π°ΠΌΠΈ. ΠΠ»ΠΈΠ½ΠΎΠΊ Π½ΠΎΠΆΠ° ΡΠ΄Π΅Π»Π°Π½ ΠΈΠ· ΡΡΠ°Π»ΠΈ ΠΌΠ°ΡΠΊΠΈ 440Π‘.
ΠΠΎΠΆ ΡΠΊΠ»Π°Π΄Π½ΠΎΠΉ ΡΡΡΠΈΡΡΠΈΡΠ΅ΡΠΊΠΈΠΉ Ganzo G707
ΠΠΎΡΠΌΠΎΡΡΠ΅ΡΡ ΠΏΠΎΠ»Π½ΠΎΠ΅ ΠΎΠΏΠΈΡΠ°Π½ΠΈΠ΅ Π½ΠΎΠΆΠ°
Ganzo G707 β ΡΡΡΠΈΡΡΠΈΡΠ΅ΡΠΊΠΈΠΉ ΡΠΊΠ»Π°Π΄Π½ΠΎΠΉ Π½ΠΎΠΆ ΠΏΠΎΠ»ΡΠ°Π²ΡΠΎΠΌΠ°ΡΠΈΡΠ΅ΡΠΊΠΎΠ³ΠΎ ΡΠΈΠΏΠ° Ρ ΠΊΠΎΠΌΠ±ΠΈΠ½ΠΈΡΠΎΠ²Π°Π½Π½ΡΠΌ Π»Π΅Π·Π²ΠΈΠ΅ΠΌ ΠΏΡΡΠΌΠΎΠΉ Π·Π°ΡΠΎΡΠΊΠΈ. ΠΡΠ° ΠΌΠΎΠ΄Π΅Π»Ρ Π±ΡΠ΄Π΅Ρ ΠΏΠΎΠ»Π΅Π·Π½ΠΎΠΉ Π² ΠΎΠ±ΠΈΡ ΠΎΠ΄Π΅ ΡΠ΅Π»ΠΎΠ²Π΅ΠΊΠ°, Π»ΡΠ±ΡΡΠ΅Π³ΠΎ Π°ΠΊΡΠΈΠ²Π½ΡΠΉ ΠΎΡΠ΄ΡΡ , Π° ΡΠ°ΠΊΠΆΠ΅ Π½Π°ΠΉΠ΄Π΅Ρ ΡΠ²ΠΎΠ΅ ΠΌΠ΅ΡΡΠΎ Π² Π°ΡΡΠ΅Π½Π°Π»Π΅ Π΄Π°Π»ΡΠ½ΠΎΠ±ΠΎΠΉΡΠΈΠΊΠ°, ΡΡΠ±ΠΎΠ»ΠΎΠ²Π° ΠΈΠ»ΠΈ ΠΎΡ ΠΎΡΠ½ΠΈΠΊΠ°.
Axis Lock
ΠΠ°ΠΌΠΎΠΊ ΡΠΈΠΏΠ° Axis Lock — ΡΡΠΎ ΠΏΠ΅ΡΠ΅Π΄Π²ΠΈΠ³Π°ΡΡΠΈΠΉΡΡ Π²ΠΏΠ΅ΡΠ΅Π΄ ΠΈ Π½Π°Π·Π°Π΄ ΠΏΠΎ Π±ΠΎΡΠΎΠ·Π΄Π΅ ΡΡΠΊΠΎΡΡΠΈ ΠΏΡΡΠΆΠΈΠ½Π½ΡΠΉ ΡΡΠ΅ΡΠΆΠ΅Π½Ρ. ΠΠ·Π΄Π΅Π»ΠΈΠ΅ ΡΠΈΠΊΡΠΈΡΡΠ΅ΡΡΡ Π² ΠΎΡΠΊΡΡΡΠΎΠΌ ΡΠΎΡΡΠΎΡΠ½ΠΈΠΈ Ρ ΠΏΠΎΠΌΠΎΡΡΡ ΠΏΠ»ΠΎΡΠΊΠΎΠ³ΠΎ ΡΡΠ°ΡΡΠΊΠ°, ΡΠ°ΡΠΏΠΎΠ»ΠΎΠΆΠ΅Π½Π½ΠΎΠ³ΠΎ Π² ΠΏΡΡΠ΅ Π½ΠΎΠΆΠ°. ΠΡΠ»ΠΈ ΠΎΡΠ²Π΅ΡΡΠΈ ΡΡΠ΅ΡΠΆΠ΅Π½Ρ Π½Π°Π·Π°Π΄, ΡΠΎ Π½ΠΎΠΆ ΡΠΊΠ»Π°Π΄ΡΠ²Π°Π΅ΡΡΡ ΠΎΠ±ΡΠ°ΡΠ½ΠΎ.
ΠΠ»ΡΡ ΡΡΠΎΠΉ ΡΠ°Π·Π½ΠΎΠ²ΠΈΠ΄Π½ΠΎΡΡΠΈ Π·Π°ΠΌΠΊΠ° — ΠΊΠΎΠΌΡΠΎΡΡΠ½ΠΎΠ΅ ΠΈΡΠΏΠΎΠ»ΡΠ·ΠΎΠ²Π°Π½ΠΈΠ΅ ΡΠ°ΠΊΠΈΡ
ΠΈΠ½ΡΡΡΡΠΌΠ΅Π½ΡΠΎΠ² ΠΊΠ°ΠΊ ΠΏΡΠ°Π²ΡΠ°ΠΌΠΈ, ΡΠ°ΠΊ ΠΈ Π»Π΅Π²ΡΠ°ΠΌΠΈ.
ΠΠ· Π½Π΅Π΄ΠΎΡΡΠ°ΡΠΊΠΎΠ² — ΠΈΠ·-Π·Π° ΠΎΠ±ΠΈΠ»ΠΈΡ ΠΏΠΎΠ΄Π²ΠΈΠΆΠ½ΡΡ ΡΠ»Π΅ΠΌΠ΅Π½ΡΠΎΠ² Π² ΠΊΠΎΠ½ΡΡΡΡΠΊΡΠΈΠΈ, ΠΌΠΎΠΆΠ΅Ρ Π±ΡΡΡ Π·Π°ΡΡΡΠ΄Π½Π΅Π½Π° Π³ΠΈΠ³ΠΈΠ΅Π½Π° ΠΈΠ½ΡΡΡΡΠΌΠ΅Π½ΡΠ°. ΠΠΎΠΏΠ°Π΄Π°Π½ΠΈΠ΅ ΠΊΡΠΎΡΠ΅ΠΊ, Π³ΡΡΠ·ΠΈ ΠΈ ΠΏΡΠ»ΠΈ ΠΈΡΠΏΠΎΡΡΠΈΡ ΠΌΠ΅Ρ Π°Π½ΠΈΠ·ΠΌ ΠΈ Π½Π΅ Π΄Π°ΡΡ ΠΈΡΠΏΠΎΠ»ΡΠ·ΠΎΠ²Π°ΡΡ Π²ΡΠ΅ Π²ΠΎΠ·ΠΌΠΎΠΆΠ½ΠΎΡΡΠΈ ΠΈΠ·Π΄Π΅Π»ΠΈΡ.
ΠΠΎΠΆ ΡΠΊΠ»Π°Π΄Π½ΠΎΠΉ ΡΡΡΠΈΡΡΠΈΡΠ΅ΡΠΊΠΈΠΉ Firebird F7611-GR
ΠΠΎΡΠΌΠΎΡΡΠ΅ΡΡ ΠΏΠΎΠ»Π½ΠΎΠ΅ ΠΎΠΏΠΈΡΠ°Π½ΠΈΠ΅ Π½ΠΎΠΆΠ°
ΠΠ΅Π±ΠΎΠ»ΡΡΠΎΠΉ ΡΠΊΠ»Π°Π΄Π½ΠΎΠΉ Π½ΠΎΠΆ Π΄Π»Ρ Π΅ΠΆΠ΅Π΄Π½Π΅Π²Π½ΠΎΠ³ΠΎ Π½ΠΎΡΠ΅Π½ΠΈΡ Π² Π³ΠΎΡΠΎΠ΄Π΅ ΠΎΡ ΠΏΡΠΎΠΈΠ·Π²ΠΎΠ΄ΠΈΡΠ΅Π»Ρ Firebird. ΠΠ°Π½Π½Π°Ρ ΠΌΠΎΠ΄Π΅Π»Ρ Π½Π΅ ΠΎΡΡΠ°Π²ΠΈΡ ΡΠ°Π²Π½ΠΎΠ΄ΡΡΠ½ΡΠΌΠΈ Π½ΠΈ ΠΎΠ΄Π½ΠΎΠ³ΠΎ Π»ΡΠ±ΠΈΡΠ΅Π»Ρ ΡΠΊΠ»Π°Π΄Π½ΡΡ Π½ΠΎΠΆΠΈΠΊΠΎΠ², ΡΠ°ΠΊ ΠΊΠ°ΠΊ ΡΠΎΡΠ΅ΡΠ°Π΅Ρ Π² ΡΠ΅Π±Π΅ Π½Π΅ΠΎΠ±ΡΡΠ°ΠΉΠ½ΡΡ ΠΊΠΎΠΌΠΏΠ°ΠΊΡΠ½ΠΎΡΡΡ, Π»Π΅Π³ΠΊΠΎΡΡΡ ΠΈ ΡΠ΄ΠΎΠ±ΡΡΠ²ΠΎ Π² ΠΈΡΠΏΠΎΠ»ΡΠ·ΠΎΠ²Π°Π½ΠΈΠΈ. ΠΠ΅Π·Π²ΠΈΠ΅ ΠΈΠ·Π³ΠΎΡΠΎΠ²Π»Π΅Π½ΠΎ ΠΈΠ· ΠΏΡΠΎΡΠ½Π΅ΠΉΡΠ΅ΠΉ Π½Π΅ΡΠΆΠ°Π²Π΅ΡΡΠ΅ΠΉ ΡΡΠ°Π»ΠΈ 440C, Π±Π»Π°Π³ΠΎΠ΄Π°ΡΡ ΠΊΠΎΡΠΎΡΠΎΠΉ Π½ΠΎΠΆ ΡΠΌΠΎΠΆΠ΅Ρ Π²ΡΡΡΡΠΈΡΡ ΡΠ²ΠΎΠ΅Π³ΠΎ Π²Π»Π°Π΄Π΅Π»ΡΡΠ° Π΄Π΅ΠΉΡΡΠ²ΠΈΡΠ΅Π»ΡΠ½ΠΎ Π²ΠΎ ΠΌΠ½ΠΎΠ³ΠΈΡ ΡΠΈΡΡΠ°ΡΠΈΡΡ . ΠΡΠ΅ΠΏΠΊΠΈΠΉ Π·Π°ΠΌΠΎΠΊ AXIS Π½Π°Π΄Π΅ΠΆΠ½ΠΎ ΡΠΈΠΊΡΠΈΡΡΠ΅Ρ ΠΊΠ»ΠΈΠ½ΠΎΠΊ ΠΊΠ°ΠΊ Π² ΠΎΡΠΊΡΡΡΠΎΠΌ, ΡΠ°ΠΊ ΠΈ Π² Π·Π°ΠΊΡΡΡΠΎΠΌ ΡΠΎΡΡΠΎΡΠ½ΠΈΠΈ.
ΠΠΎΠΆ ΡΠΊΠ»Π°Π΄Π½ΠΎΠΉ ΡΡΡΠΈΡΡΠΈΡΠ΅ΡΠΊΠΈΠΉ Firebird FB7631-OR
ΠΠΎΡΠΌΠΎΡΡΠ΅ΡΡ ΠΏΠΎΠ»Π½ΠΎΠ΅ ΠΎΠΏΠΈΡΠ°Π½ΠΈΠ΅ Π½ΠΎΠΆΠ°
ΠΠ΅Π±ΠΎΠ»ΡΡΠΎΠΉ ΡΠΊΠ»Π°Π΄Π½ΠΎΠΉ Π½ΠΎΠΆ Π΄Π»Ρ Π΅ΠΆΠ΅Π΄Π½Π΅Π²Π½ΠΎΠ³ΠΎ Π½ΠΎΡΠ΅Π½ΠΈΡ Π² Π³ΠΎΡΠΎΠ΄Π΅ ΠΎΡ ΠΏΡΠΎΠΈΠ·Π²ΠΎΠ΄ΠΈΡΠ΅Π»Ρ Firebird.
ΠΠ°Π½Π½Π°Ρ ΠΌΠΎΠ΄Π΅Π»Ρ Π½Π΅ ΠΎΡΡΠ°Π²ΠΈΡ ΡΠ°Π²Π½ΠΎΠ΄ΡΡΠ½ΡΠΌΠΈ Π½ΠΈ ΠΎΠ΄Π½ΠΎΠ³ΠΎ Π»ΡΠ±ΠΈΡΠ΅Π»Ρ ΡΠΊΠ»Π°Π΄Π½ΡΡ
Π½ΠΎΠΆΠΈΠΊΠΎΠ², ΡΠ°ΠΊ ΠΊΠ°ΠΊ ΡΠΎΡΠ΅ΡΠ°Π΅Ρ Π² ΡΠ΅Π±Π΅ Π½Π΅ΠΎΠ±ΡΡΠ°ΠΉΠ½ΡΡ ΠΊΠΎΠΌΠΏΠ°ΠΊΡΠ½ΠΎΡΡΡ, Π»Π΅Π³ΠΊΠΎΡΡΡ ΠΈ ΡΠ΄ΠΎΠ±ΡΡΠ²ΠΎ Π² ΠΈΡΠΏΠΎΠ»ΡΠ·ΠΎΠ²Π°Π½ΠΈΠΈ. ΠΠ΅Π·Π²ΠΈΠ΅ ΠΈΠ·Π³ΠΎΡΠΎΠ²Π»Π΅Π½ΠΎ ΠΈΠ· ΠΏΡΠΎΡΠ½Π΅ΠΉΡΠ΅ΠΉ Π½Π΅ΡΠΆΠ°Π²Π΅ΡΡΠ΅ΠΉ ΡΡΠ°Π»ΠΈ 440C, Π±Π»Π°Π³ΠΎΠ΄Π°ΡΡ ΠΊΠΎΡΠΎΡΠΎΠΉ Π½ΠΎΠΆ ΡΠΌΠΎΠΆΠ΅Ρ Π²ΡΡΡΡΠΈΡΡ ΡΠ²ΠΎΠ΅Π³ΠΎ Π²Π»Π°Π΄Π΅Π»ΡΡΠ° Π΄Π΅ΠΉΡΡΠ²ΠΈΡΠ΅Π»ΡΠ½ΠΎ Π²ΠΎ ΠΌΠ½ΠΎΠ³ΠΈΡ
ΡΠΈΡΡΠ°ΡΠΈΡΡ
. ΠΡΠ΅ΠΏΠΊΠΈΠΉ Π·Π°ΠΌΠΎΠΊ AXIS Π½Π°Π΄Π΅ΠΆΠ½ΠΎ ΡΠΈΠΊΡΠΈΡΡΠ΅Ρ ΠΊΠ»ΠΈΠ½ΠΎΠΊ ΠΊΠ°ΠΊ Π² ΠΎΡΠΊΡΡΡΠΎΠΌ, ΡΠ°ΠΊ ΠΈ Π² Π·Π°ΠΊΡΡΡΠΎΠΌ ΡΠΎΡΡΠΎΡΠ½ΠΈΠΈ.
Slip Joint
ΠΠ΄Π½Π° ΠΈΠ· ΡΠ°ΠΌΡΡ ΠΏΡΠΎΡΡΡΡ ΡΠ°Π·Π½ΠΎΠ²ΠΈΠ΄Π½ΠΎΡΡΠ΅ΠΉ ΡΠΈΠΊΡΠΈΡΡΡΡΠΈΡ ΠΌΠ΅Ρ Π°Π½ΠΈΠ·ΠΌΠΎΠ². ΠΠ»ΠΈΠ½ΠΎΠΊ Π΄Π²ΠΈΠΆΠ΅ΡΡΡ Ρ ΠΏΠΎΠΌΠΎΡΡΡ ΡΠΏΠ΅ΡΠΈΠ°Π»ΡΠ½ΠΎΠΉ ΠΏΡΡΠΆΠΈΠ½Ρ, Π° Π΄Π»Ρ Π΅Π³ΠΎ ΡΠΈΠΊΡΠ°ΡΠΈΠΈ Π½Π° Ρ Π²ΠΎΡΡΠΎΠ²ΠΈΠΊΠ΅ ΠΈΠΌΠ΅ΡΡΡΡ Π²ΡΠΏΡΠΊΠ»ΠΎΡΡΠΈ, ΠΊΠΎΡΠΎΡΡΠ΅ ΡΠ°ΡΠΏΠΎΠ»ΠΎΠΆΠ΅Π½Ρ ΠΏΠ°ΡΠ°Π»Π»Π΅Π»ΡΠ½ΠΎ Π΅Π΅ Π΄Π²ΠΈΠΆΠ΅Π½ΠΈΡ.
Π’Π°ΠΊΠ°Ρ ΠΊΠΎΠ½ΡΡΡΡΠΊΡΠΈΡ Π½Π΅ ΡΠΏΠΎΡΠΎΠ±Π½Π° ΠΎΠ±Π΅ΡΠΏΠ΅ΡΠΈΡΡ ΠΏΠ»ΠΎΡΠ½ΡΡ ΡΠΈΠΊΡΠ°ΡΠΈΡ Π½ΠΎΠΆΠ° Π² ΠΎΡΠΊΡΡΡΠΎΠΌ ΠΈΠ»ΠΈ Π·Π°ΠΊΡΡΡΠΎΠΌ ΠΏΠΎΠ»ΠΎΠΆΠ΅Π½ΠΈΠΈ, ΠΏΠΎΡΡΠΎΠΌΡ ΠΈΠ½ΡΡΡΡΠΌΠ΅Π½ΡΡ Ρ ΡΠΈΠΏΠΎΠΌ Π·Π°ΠΌΠΊΠ° Slip Joint Π½Π΅ ΠΏΠΎΠ΄ΠΎΠΉΠ΄ΡΡ Π΄Π»Ρ Π²ΡΠΏΠΎΠ»Π½Π΅Π½ΠΈΡ ΡΡΠΆΠ΅Π»ΡΡ ΡΠ°Π±ΠΎΡ, ΡΡΠ΅Π±ΡΡΡΠΈΡ ΠΏΡΠΈΠ»ΠΎΠΆΠ΅Π½ΠΈΡ ΡΡΠΈΠ»ΠΈΠΉ.
ΠΠΎΠΆ SpydercΠΎ UK Pen C94PDBL
ΠΠΎΡΠΌΠΎΡΡΠ΅ΡΡ ΠΏΠΎΠ»Π½ΠΎΠ΅ ΠΎΠΏΠΈΡΠ°Π½ΠΈΠ΅ Π½ΠΎΠΆΠ°
ΠΠΎΠΆ SpydercΠΎ UK Pen C94PDBL β ΡΡΠΎ ΠΏΠΎΠ²ΡΠ΅Π΄Π½Π΅Π²Π½ΡΠΉ, Π½ΠΎ Π½Π΅ΠΎΠ±ΡΡΠ½ΡΠΉ Π½ΠΎΠΆ.
Π€ΠΎΡΠΌΠ° ΠΊΠ»ΠΈΠ½ΠΊΠ° wharncliffe ΠΏΠΎΠ·Π²ΠΎΠ»ΡΠ΅Ρ ΡΠ΅Π·Π°ΡΡ ΠΎΡΠ΅Π½Ρ ΡΠΎΡΠ½ΠΎ, Π·Π° ΡΡΠ΅Ρ ΡΠΎΠ³ΠΎ, ΡΡΠΎ Π²ΡΡ ΠΎΡΡΡΠΈΠ΅ Π½Π°Ρ
ΠΎΠ΄ΠΈΡΡΡ Π½Π° ΠΎΠ΄Π½ΠΎΠΉ ΠΏΡΡΠΌΠΎΠΉ. ΠΠ΅ΡΠ²ΠΎΠΊΠ»Π°ΡΡΠ½Π°Ρ ΡΡΠ°Π»Ρ ΠΊΠ»ΠΈΠ½ΠΊΠ° CTS BD1 ΠΏΠΎΡΡΠΈ ΠΏΠΎΠ»Π½ΠΎΡΡΡΡ ΠΎΡΠΈΡΠ΅Π½Π° ΠΎΡ Π½Π΅Π³Π°ΡΠΈΠ²Π½ΡΡ
ΠΏΡΠΈΠΌΠ΅ΡΠ΅ΠΉ Ρ ΠΏΠΎΠΌΠΎΡΡΡ ΠΌΠ΅ΡΠΎΠ΄Π° Π²Π°ΠΊΡΡΠΌΠ½ΠΎΠΉ ΠΏΠ»Π°Π²ΠΊΠΈ, ΡΡΠΎ ΠΎΠ±Π΅ΡΠΏΠ΅ΡΠΈΠ²Π°Π΅Ρ ΠΏΡΠ΅Π²ΠΎΡΡ
ΠΎΠ΄Π½ΡΡ ΠΏΡΠΎΡΠ½ΠΎΡΡΡ Π²ΠΊΡΠΏΠ΅ Ρ Π²ΡΡΠΎΠΊΠΎΠΉ ΡΠ²ΡΡΠ΄ΠΎΡΡΡΡ.
Π ΡΠΊΠΎΡΡΠΊΠ° Π½ΠΎΠΆΠ° Π²ΡΠΏΠΎΠ»Π½Π΅Π½Π° ΠΈΠ· ΡΡΠ΅ΠΊΠ»ΠΎΠ²ΠΎΠ»ΠΎΠΊΠ½Π°, ΡΡΠΎ ΠΎΠ±Π΅ΡΠΏΠ΅ΡΠΈΠ²Π°Π΅Ρ ΡΠ΄Π°ΡΠΎΡΡΠΎΠΉΠΊΠΎΡΡΡ ΠΈ Π½Π°Π΄ΡΠΆΠ½ΠΎΡΡΡ Π² ΡΠΊΡΡΡΠ΅ΠΌΠ°Π»ΡΠ½ΡΡ ΡΡΠ»ΠΎΠ²ΠΈΡΡ . Π’Π°ΠΊΠΆΠ΅ Π½Π΅ΠΎΠ±ΡΡΠ°ΠΉΠ½ΠΎ Π½ΠΈΠ·ΠΊΠΈΠΉ Π²Π΅Ρ, Π½Π°Π»ΠΈΡΠΈΠ΅ ΠΏΠΎΠ΄ΠΏΠ°Π»ΡΡΠ΅Π²ΠΎΠΉ Π²ΡΠ΅ΠΌΠΊΠΈ, Π½Π°Π»ΠΈΡΠΈΠ΅ ΠΎΡΠ²Π΅ΡΡΡΠΈΡ Π΄Π»Ρ ΡΠ΅ΠΌΠ»ΡΠΊΠ° ΠΈ Π²ΠΎΠ·ΠΌΠΎΠΆΠ½ΠΎΡΡΡ ΠΎΡΠΊΡΡΡΠΈΡ ΠΎΠ΄Π½ΠΎΠΉ ΡΡΠΊΠΎΠΉ Π΄Π΅Π»Π°ΡΡ Π½ΠΎΠΆ SpydercΠΎ UK Pen C94PDBL ΠΎΡΠ΅Π½Ρ ΡΠ΄ΠΎΠ±Π½ΡΠΌ Π² ΠΎΠ±ΡΠ°ΡΠ΅Π½ΠΈΠΈ. Π Π³Π°ΡΠ°Π½ΡΠΈΠ΅ΠΉ Π±Π΅Π·ΠΎΠΏΠ°ΡΠ½ΠΎΡΡΠΈ ΡΠ»ΡΠΆΠΈΡ ΡΠΈΠΊΡΠΈΡΡΡΡΠΈΠΉ Π·Π°ΠΌΠΎΠΊ Slip joint.
ΠΠΎΠΆ Spyderco Urban 127GPFG
ΠΠΎΡΠΌΠΎΡΡΠ΅ΡΡ ΠΏΠΎΠ»Π½ΠΎΠ΅ ΠΎΠΏΠΈΡΠ°Π½ΠΈΠ΅ Π½ΠΎΠΆΠ°
Π‘ΠΊΠ»Π°Π΄Π½ΠΎΠΉ Π½ΠΎΠΆ Spyderco Urban 127GPFG — ΡΡΠΎ ΠΈΠ΄Π΅Π°Π»ΡΠ½ΠΎΠ΅ ΡΠΎΡΠ΅ΡΠ°Π½ΠΈΠ΅ ΠΏΡΠ°ΠΊΡΠΈΡΠ½ΠΎΡΡΠΈ ΠΈ ΡΡΠΈΠ»Ρ. ΠΠ½ ΠΌΠ°Π»ΠΎΠ³Π°Π±Π°ΡΠΈΡΠ΅Π½ — Π²ΡΠ΅Π³ΠΎ 15,4 ΡΠΌ Π² Π΄Π»ΠΈΠ½Ρ, ΠΏΡΠΈ ΡΡΠΎΠΌ Π΄Π»ΠΈΠ½Π° Π»Π΅Π·Π²ΠΈΡ — 6,5 ΡΠΌ. Π ΡΠ»ΠΎΠΆΠ΅Π½Π½ΠΎΠΌ ΡΠΎΡΡΠΎΡΠ½ΠΈΠΈ ΠΎΠ½ Π²ΡΠ΅Π³ΠΎ 8,9 ΡΠΌ Π² Π΄Π»ΠΈΠ½Ρ.
ΠΠ»Π°Π³ΠΎΠ΄Π°ΡΡ ΡΡΠ΅ΠΊΠ»ΠΎΡΠ΅ΠΊΡΡΠΎΠ»ΠΈΡΡ G-10, ΠΈΠ· ΠΊΠΎΡΠΎΡΠΎΠ³ΠΎ ΠΈΠ·Π³ΠΎΡΠΎΠ²Π»Π΅Π½Π° ΡΡΠΊΠΎΡΡΡ, ΠΎΠ½ ΠΎΡΠ΅Π½Ρ Π»Π΅Π³ΠΊΠΈΠΉ — 58 Π³Ρ.
ΠΠ»ΠΈΠ½ΠΎΠΊ ΠΈΠ·Π³ΠΎΡΠΎΠ²Π»Π΅Π½ ΠΈΠ· ΡΡΠ°Π»ΠΈ VG-10, ΠΏΠΎΡΡΠΎΠΌΡ Π½Π΅ ΠΏΠΎΠ΄Π²Π΅ΡΠΆΠ΅Π½ ΠΊΠΎΡΡΠΎΠ·ΠΈΠΈ ΠΈ Π΄ΠΎΠ»Π³ΠΎ ΡΠΎΡ ΡΠ°Π½ΡΠ΅Ρ ΡΠ΅ΠΆΡΡΠΈΠ΅ ΡΠΏΠΎΡΠΎΠ±Π½ΠΎΡΡΠΈ. ΠΠ»ΠΈΠ½ΠΎΠΊ Π±ΡΡΡΡΠΎ ΠΈ ΡΡΡΠ΅ΠΊΡΠ½ΠΎ ΠΈΠ·Π²Π»Π΅ΠΊΠ°Π΅ΡΡΡ ΠΎΠ΄Π½ΠΈΠΌ ΠΏΠ°Π»ΡΡΠ΅ΠΌ, ΡΠ°ΠΊ ΠΊΠ°ΠΊ ΠΎΡΠ½Π°ΡΠ΅Π½ Π·Π°ΠΏΠ°ΡΠ΅Π½ΡΠΎΠ²Π°Π½Π½ΡΠΌ ΠΌΠ΅Ρ Π°Π½ΠΈΠ·ΠΌΠΎΠΌ Spyderco. ΠΠ°ΠΌΠΎΠΊ Slip Joint ΠΏΡΠΎΡΡ ΠΈ ΡΠ΄ΠΎΠ±Π΅Π½ Π² ΠΈΡΠΏΠΎΠ»ΡΠ·ΠΎΠ²Π°Π½ΠΈΠΈ, ΠΏΡΠΈ ΡΡΠΎΠΌ Π³Π°ΡΠ°Π½ΡΠΈΡΡΠ΅Ρ Π±Π΅Π·ΠΎΠΏΠ°ΡΠ½ΠΎΡΡΡ.
Π ΡΠΊΠΎΡΡΡ ΠΈΠΌΠ΅Π΅Ρ ΠΏΠΎΠ΄ΠΏΠ°Π»ΡΡΠ΅Π²ΡΠ΅ Π²ΡΠ΅ΠΌΠΊΠΈ ΠΈ ΠΏΠΎΠ²ΡΠΎΡΡΠ΅Ρ ΠΈΠ·Π³ΠΈΠ±Ρ Π»Π°Π΄ΠΎΠ½ΠΈ, ΠΏΠΎΠ²Π΅ΡΡ Π½ΠΎΡΡΡ ΡΡΠΊΠΎΡΡΠΈ ΡΠ΅ΠΊΡΡΡΡΠΈΡΠΎΠ²Π°Π½Π°, ΡΡΠΎ ΠΈΡΠΊΠ»ΡΡΠ°Π΅Ρ ΡΠΊΠΎΠ»ΡΠΆΠ΅Π½ΠΈΠ΅ Π² ΠΌΠΎΠΊΡΡΡ ΡΡΠΊΠ°Ρ . Π‘ ΠΏΠΎΠΌΠΎΡΡΡ ΠΊΠ»ΠΈΠΏΡΡ ΠΌΠΎΠΆΠ½ΠΎ ΡΠ΄ΠΎΠ±Π½ΠΎ Π·Π°ΠΊΡΠ΅ΠΏΠΈΡΡ Π½ΠΎΠΆ Π½Π° ΠΏΠΎΡΡΠ΅ Π±ΡΡΠΊ ΠΈΠ»ΠΈ Π² ΠΊΠ°ΡΠΌΠ°Π½Π°Ρ . Π’Π°ΠΊΠΈΠ΅ Ρ Π°ΡΠ°ΠΊΡΠ΅ΡΠΈΡΡΠΈΠΊΠΈ — ΡΠΎ, ΡΡΠΎ Π½ΡΠΆΠ½ΠΎ, ΡΡΠΎΠ±Ρ ΠΊΡΠΏΠΈΡΡ ΡΠΊΠ»Π°Π΄Π½ΠΎΠΉ Π½ΠΎΠΆ Spyderco Urban 127GPFG ΡΠΆΠ΅ ΡΠ΅ΠΉΡΠ°Ρ.
Ball Bearing Lock
ΠΠ°ΠΏΠ°ΡΠ΅Π½ΡΠΎΠ²Π°Π½Π½Π°Ρ ΡΠ°Π·ΡΠ°Π±ΠΎΡΠΊΠ° Π½ΠΎΠΆΠ΅Π²ΠΎΠΉ ΠΊΠΎΠΌΠΏΠ°Π½ΠΈΠΈ Spyderco. ΠΠ°ΠΏΠΈΡΠ°Π½ΠΈΠ΅ ΠΊΠ»ΠΈΠ½ΠΊΠ° ΠΎΡΡΡΠ΅ΡΡΠ²Π»ΡΠ΅ΡΡΡ Ρ ΠΏΠΎΠΌΠΎΡΡΡ ΠΌΠ°Π»Π΅Π½ΡΠΊΠΎΠ³ΠΎ ΡΠ°ΡΠΈΠΊΠ°. ΠΠ½ Π²ΡΡΡΡΠΏΠ°Π΅Ρ Π² ΠΊΠ°ΡΠ΅ΡΡΠ²Π΅ ΠΏΠ΅ΡΠ΅Π΄Π°ΡΡΠΈΠΊΠ° Π½Π°Π³ΡΡΠ·ΠΊΠΈ ΠΎΡ ΠΊΠ»ΠΈΠ½ΠΊΠ° Π½Π° ΡΠΏΠ΅ΡΠΈΠ°Π»ΡΠ½ΡΡ ΠΏΡΠΎΡΡΠ°Π²ΠΊΡ, ΡΠ°Π·Π΄Π΅Π»ΡΡΡΡΡ ΠΏΠ»Π°ΡΠΊΠΈ.
ΠΠΎΠΆ Spyderco Manix 2 LTW Plain edge Black C101PBK2
ΠΠΎΡΠΌΠΎΡΡΠ΅ΡΡ ΠΏΠΎΠ»Π½ΠΎΠ΅ ΠΎΠΏΠΈΡΠ°Π½ΠΈΠ΅ Π½ΠΎΠΆΠ°
Π 2010 Π³ΠΎΠ΄Ρ Π΄Π°Π½Π½Π°Ρ ΠΌΠΎΠ΄Π΅Π»Ρ Π½ΠΎΠΆΠ° ΡΠ΄ΠΎΡΡΠΎΠΈΠ»Π°ΡΡ ΠΏΡΠ΅ΡΡΠΈΠΆΠ½ΠΎΠΉ ΠΏΡΠ΅ΠΌΠΈΠΈ Π² ΠΈΠ½Π΄ΡΡΡΡΠΈΠΈ — βΠ‘Π°ΠΌΡΠΉ ΠΈΠ½Π½ΠΎΠ²Π°ΡΠΈΠΎΠ½Π½ΡΠΉ Π΄ΠΈΠ·Π°ΠΉΠ½β.
ΠΡΠ΅ΠΌΠΈΡ Π±ΡΠ»Π° ΠΏΡΠ΅Π΄ΠΎΡΡΠ°Π²Π»Π΅Π½Π° ΠΆΡΡΠ½Π°Π»ΠΎΠΌ Blade. Π, ΡΡΠΎΠΈΡ ΠΎΡΠΌΠ΅ΡΠΈΡΡ, ΡΡΠΎ Π½Π΅ΡΠΌΠΎΡΡΡ Π½Π° ΡΠΎ, ΡΡΠΎ Ρ ΡΠΎΠ³ΠΎ ΡΠ°ΠΌΠΎΠ³ΠΎ ΠΌΠΎΠΌΠ΅Π½ΡΠ° ΠΏΡΠΎΡΠ»ΠΎ ΡΠΆΠ΅ ΠΏΠΎΡΡΠΈ 10 Π»Π΅Ρ, Π½ΠΎΠΆ Spyderco Manix 2 LTW Plain edge Black C101PBK2 Π²ΡΠ΅ ΡΠ°ΠΊ ΠΆΠ΅ ΠΏΠΎΠΏΡΠ»ΡΡΠ΅Π½ Ρ ΠΏΠΎΠΊΡΠΏΠ°ΡΠ΅Π»Π΅ΠΉ — ΠΈ Π½Π΅ Π±Π΅Π· ΠΎΡΠ½ΠΎΠ²Π°Π½ΠΈΠΉ. ΠΠ½ ΠΎΡΠ΅Π½Ρ Π»Π΅Π³ΠΊΠΈΠΉ, ΠΈ ΠΌΠ°ΡΠ΅ΡΠΈΠ°Π»Ρ, ΠΈΠ· ΠΊΠΎΡΠΎΡΡΡ
ΠΎΠ½ ΠΈΠ·Π³ΠΎΡΠΎΠ²Π»Π΅Π½, ΠΏΡΠΈΠ½Π°Π΄Π»Π΅ΠΆΠ°Ρ ΠΊ ΠΏΡΠ΅ΠΌΠΈΡΠΌ-ΡΠ΅Π³ΠΌΠ΅Π½ΡΡ.
ΠΡ ΠΏΠ΅ΡΠ΅ΡΠΈΡΠ»ΠΈΠ»ΠΈ ΡΠ°ΠΌΡΠ΅ ΠΏΠΎΠΏΡΠ»ΡΡΠ½ΡΠ΅ ΠΈ ΡΠ°ΡΠΏΡΠΎΡΡΡΠ°Π½Π΅Π½Π½ΡΠ΅ ΡΠ°Π·Π½ΠΎΠ²ΠΈΠ΄Π½ΠΎΡΡΠΈ Π½ΠΎΠΆΠ΅Π²ΡΡ Π·Π°ΠΌΠΊΠΎΠ². ΠΠ° Π΄Π΅Π»Π΅, ΠΈΡ Π½Π΅ΠΌΠ½ΠΎΠ³ΠΎ Π±ΠΎΠ»ΡΡΠ΅, ΠΏΠ»ΡΡ ΠΊΠΎ Π²ΡΠ΅ΠΌΡ, ΠΏΡΠ°ΠΊΡΠΈΡΠ΅ΡΠΊΠΈ ΠΊΠ°ΠΆΠ΄Π°Ρ ΠΊΡΡΠΏΠ½Π°Ρ Π½ΠΎΠΆΠ΅Π²Π°Ρ ΠΊΠΎΠΌΠΏΠ°Π½ΠΈΡ ΠΈΠΌΠ΅Π΅Ρ ΡΠΎΠ±ΡΡΠ²Π΅Π½Π½ΡΠ΅ ΡΠ°Π·ΡΠ°Π±ΠΎΡΠΊΠΈ. Π’ΡΡΠ΄Π½ΠΎ ΠΎΡΠ²Π΅ΡΠΈΡΡ Π½Π° Π²ΠΎΠΏΡΠΎΡ βΠΠ°ΠΊΠΎΠΉ ΡΠΈΠΏ Π½ΠΎΠΆΠ΅Π²ΠΎΠ³ΠΎ Π·Π°ΠΌΠΊΠ° Π»ΡΡΡΠ΅β — ΠΊΠ°ΠΆΠ΄ΡΠΉ ΠΈΠΌΠ΅Π΅Ρ ΠΊΠ°ΠΊ ΠΏΠ»ΡΡΡ, ΡΠ°ΠΊ ΠΈ ΠΌΠΈΠ½ΡΡΡ. ΠΠΎΠ΄Π±ΠΈΡΠ°Ρ ΠΏΠΎΠ΄Ρ ΠΎΠ΄ΡΡΡΡ ΡΠ°Π·Π½ΠΎΠ²ΠΈΠ΄Π½ΠΎΡΡΡ, ΠΎΠΏΠΈΡΠ°ΠΉΡΠ΅ΡΡ Π½Π° ΡΠ΅Π»ΠΈ ΠΈ Π±ΡΠ΄ΡΡΡΡ ΡΡΠ΅ΡΡ ΠΏΡΠΈΠΌΠ΅Π½Π΅Π½ΠΈΡ ΠΏΠΎΠΊΡΠΏΠΊΠΈ. ΠΠ°ΠΆΠ½ΠΎ ΡΠ»Π΅Π΄ΠΈΡΡ Π·Π° ΠΈΡΠΏΡΠ°Π²Π½ΠΎΡΡΡΡ ΡΠΈΠΊΡΠΈΡΡΡΡΠ΅Π³ΠΎ ΠΌΠ΅Ρ Π°Π½ΠΈΠ·ΠΌΠ° — ΡΡΠΎ Π·Π°Π»ΠΎΠ³ Π΄ΠΎΠ»Π³ΠΎΠΉ ΠΈ ΠΊΠ°ΡΠ΅ΡΡΠ²Π΅Π½Π½ΠΎΠΉ ΡΠ»ΡΠΆΠ±Ρ Π²Π°ΡΠ΅Π³ΠΎ ΠΈΠ½ΡΡΡΡΠΌΠ΅Π½ΡΠ°.
Drawing Of Pocket Knife — Bilder und Stockfotos
Bilder
- Bilder
- Fotos
- Grafiken
- Vektoren
- Videos
DurchstΓΆbern Sie 897
drawing of pocket knife Stock- Π€ΠΎΡΠΎΠ³ΡΠ°ΡΠΈΠΈ ΠΈ ΡΠΎΡΠΎΠ³ΡΠ°ΡΠΈΠΈ.
Oder starten Sie eine neuesuche, um noch mehr Stock-Photografie und Bilder zu entdecken.ΠΠΎΠΌΠ΅Ρ Π·Π°ΠΊΠ°Π·Π°:
Am beliebtesten
sommercamp mit designelementen. Π²Π΅ΠΊΡΠΎΡΠΈΠ»Π»ΡΡΡΡΠ°ΡΠΈΡ. ΡΠΌΠ±Π»Π΅ΠΌΠ° Π΄Π»Ρ ΠΊΠ΅ΠΌΠΏΠΈΠ½Π³Π° ΠΈ ΠΎΡΠ΄ΡΡ Π° Π½Π° ΠΏΡΠΈΡΠΎΠ΄Π΅. ΡΠΈΠΏΠΎΠ³ΡΠ°ΡΡΠΊΠΈΠΉ Π΄ΠΈΠ·Π°ΠΉΠ½ Ρ ΡΠ΅ΡΡΠΎ-ΠΊΠ΅ΠΌΠΏΠΈΠ½Π³ΠΎΠΌ-ΡΠ΅ΠΊΠ΅ΡΡΠ΅Π»Π΅ΠΌ, taschenmesser, campingzelt, tasse und waldsilhouette. — ΡΠΈΡΡΠ½ΠΎΠΊ ΠΊΠ°ΡΠΌΠ°Π½Π½ΠΎΠ³ΠΎ Π½ΠΎΠΆΠ° ΡΡΠΎΠΊ-Π³ΡΠ°ΡΠΈΠΊ, -ΠΊΠ»ΠΈΠΏΠ°ΡΡ, -ΠΌΡΠ»ΡΡΠΈΠΊΠΈ ΠΈ -ΡΠΈΠΌΠ²ΠΎΠ»ΠΠ΅ΡΠ½ΠΈΠΉ Π»Π°Π³Π΅ΡΡ Ρ ΡΠ»Π΅ΠΌΠ΅Π½ΡΠ°ΠΌΠΈ Π΄ΠΈΠ·Π°ΠΉΠ½Π°. ΠΠ΅ΠΊΡΠΎΡΠΈΠ»Π»ΡΡΡΡΠ°ΡΠΈΡ. Emblem fΓΌr…
skizze fΓΌr ein taschenmesser. Π²Π΅ΠΊΡΠΎΡ-ΠΈΠ»Π»ΡΡΡΡΠ°ΡΠΈΡ. isoliert auf weiΓem Hintergrund. — ΡΠ΅ΡΡΠ΅ΠΆ ΡΠΊΠ»Π°Π΄Π½ΠΎΠ³ΠΎ Π½ΠΎΠΆΠ° — Π³ΡΠ°ΡΠΈΠΊΠ°, -ΠΊΠ»ΠΈΠΏΠ°ΡΡ, -ΠΌΡΠ»ΡΡΡΠΈΠ»ΡΠΌΡ ΠΈ -ΡΠΈΠΌΠ²ΠΎΠ»Skizze fΓΌr ein Taschenmesser. ΠΠ΅ΠΊΡΠΎΡ-ΠΈΠ»Π»ΡΡΡΡΠ°ΡΠΈΡ. Isoliert auf…
ΠΠ΅ΠΌΠΏΠΈΠ½Π³ handgezeichnetes Π²Π΅ΠΊΡΠΎΡΠ½ΡΠΉ Π½Π°Π±ΠΎΡ ΠΈΠΊΠΎΠ½ΠΎΠΊ Π΄Π»Ρ ΠΊΠ°ΡΠ°ΠΊΡΠ»Π΅ΠΉ — ΡΠΈΡΡΠ½ΠΎΠΊ ΠΊΠ°ΡΠΌΠ°Π½Π½ΠΎΠ³ΠΎ Π½ΠΎΠΆΠ° ΡΡΠΎΠΊΠΎΠ²Π°Ρ Π³ΡΠ°ΡΠΈΠΊΠ°, -ΠΊΠ»ΠΈΠΏΠ°ΡΡ, -ΠΌΡΠ»ΡΡΡΠΈΠ»ΡΠΌΡ ΠΈ -ΡΠΈΠΌΠ²ΠΎΠ»ΠΠ΅ΠΌΠΏΠΈΠ½Π³ Handgezeichnetes Π²Π΅ΠΊΡΠΎΡΠ½ΡΠΉ Π½Π°Π±ΠΎΡ ΠΈΠΊΠΎΠ½ΠΎΠΊ Π΄Π»Ρ ΠΊΠ°ΡΠ°ΠΊΡΠ»Π΅ΠΉ
KΓΌche scharfe Messer Werkzeug Typ isoliert ek-skizzen-set — ΡΠΈΡΡΠ½ΠΎΠΊ ΠΊΠ°ΡΠΌΠ°Π½Π½ΠΎΠ³ΠΎ Π½ΠΎΠΆΠ° Stock-grafiken, -clipart, -cartoons und -symboleKΓΌche scharfe Messer Werkzeug Typ isoliert Ek-Skizzen-Set
KΓΌchenmesser Besteck handgezeichnetes Skizzenset.
Π£Π½ΠΈΠ²Π΅ΡΡΠ°Π»ΡΠ½ΡΠΉ, Π½ΠΎΠ²ΡΠΉ, Koch Edelstahl Hackmesser, schnitzen Fisch, Filet, Fleisch, Hacken von GemΓΌse, KΓ€se, Brot Vector Illustration isoliert auf weiΓem Hintergrund
Besteck-set
Besteckset schwarz. Skizze, ΡΠΌΡΠΈ Π² Vektoren konvertiert wurde.
allzweck messer zeichnung — ΡΠΈΡΡΠ½ΠΎΠΊ ΡΠΊΠ»Π°Π΄Π½ΠΎΠ³ΠΎ Π½ΠΎΠΆΠ° Π³ΡΠ°ΡΠΈΠΊΠ°, ΠΊΠ»ΠΈΠΏΠ°ΡΡ, ΠΌΡΠ»ΡΡΡΠΈΠ»ΡΠΌΡ ΠΈ ΡΠΈΠΌΠ²ΠΎΠ»ΡAllzweck Messer Zeichnung
Handgezeichnete Vektorzeichnung eines Allzweckmessers. Π‘ΠΈΠΌΠ²ΠΎΠ» Π΄Π»Ρ Vielseitigkeit. Schwarz-WeiΓ-Skizze auf Transparentem Hintergrund (.eps-Datei). Enthaltene Dateien: EPS (v8) ΠΈ JPG Π²ΡΡΠΎΠΊΠΎΠ³ΠΎ ΡΠ°Π·ΡΠ΅ΡΠ΅Π½ΠΈΡ.
Π¨Π²Π΅ΠΉΡΠ΅Ρ ΠΠ΅ΡΡΠ΅Ρ-ΠΊΠ°ΡΠ°ΠΊΡΠ»ΠΈ-Π²Π΅ΠΊΡΠΎΡ-ΡΠΈΠΌΠ²ΠΎΠ». ΠΠ»Π»ΡΡΡΡΠ°ΡΠΈΡ eines touristenmesser-sets von ΓΆffnern. — ΡΠΈΡΡΠ½ΠΎΠΊ ΠΊΠ°ΡΠΌΠ°Π½Π½ΠΎΠ³ΠΎ Π½ΠΎΠΆΠ° ΡΡΠΎΠΊ-Π³ΡΠ°ΡΠΈΠΊ, -ΠΊΠ»ΠΈΠΏΠ°ΡΡ, -ΠΌΡΠ»ΡΡΠΈΠΊΠΈ ΠΈ -ΡΠΈΠΌΠ²ΠΎΠ»Schweizer Messer-Doodle-Vektor-Symbol. ΠΠ»Π»ΡΡΡΡΠ°ΡΠΈΠΈ eines…
klappmesser waketasche.
ΡΡΡΠΈΡΡΠΈΡΠ΅ΡΠΊΠΈΠΉ ΡΡΠ°Π³Π±Π°ΡΠ΅ΠΌΠ΅ΡΡΠ΅Ρ ΠΌΠΈΡ einer scharfen klinge fΓΌr reisen. Π²Π΅ΠΊΡΠΎΡΠ½Π°Ρ ΠΈΠ»Π»ΡΡΡΡΠ°ΡΠΈΡ Π² ΡΡΠΈΠ»Π΅ ΠΊΠ°ΡΠ°ΠΊΡΠ»ΠΈ — ΡΠΈΡΡΠ½ΠΎΠΊ ΡΠΊΠ»Π°Π΄Π½ΠΎΠ³ΠΎ Π½ΠΎΠΆΠ° — Π³ΡΠ°ΡΠΈΠΊΠ°, -ΠΊΠ»ΠΈΠΏΠ°ΡΡ, -ΠΌΡΠ»ΡΡΡΠΈΠ»ΡΠΌΡ ΠΈ -ΡΠΈΠΌΠ²ΠΎΠ»Klappmesser Wandertasche. Tourist tragbareMesser mit einer…
fischfilets von kabeljau, lachs, flunder zum grillen. kΓΆstliche meeresfrΓΌchte. ΠΌΠ΅Π½Ρ ΡΠ΅ΡΡΠΎΡΠ°Π½Π°ΡΠΊΡΠ°ΡΠ΅Π½ΠΈΠ΅. — ΡΠΈΡΡΠ½ΠΎΠΊ ΠΊΠ°ΡΠΌΠ°Π½Π½ΠΎΠ³ΠΎ Π½ΠΎΠΆΠ° ΡΡΠΎΠΊ-Π³ΡΠ°ΡΠΈΠΊ, -ΠΊΠ»ΠΈΠΏΠ°ΡΡ, -ΠΌΡΠ»ΡΡΠΈΠΊΠΈ ΠΈ -ΡΠΈΠΌΠ²ΠΎΠ»Fischfilets von Kabeljau, Lachs, Flunder zum Grillen. KΓΆstliche…
alle zwecke messer smartphone-konzept-abbildung — ΡΠΈΡΡΠ½ΠΎΠΊ ΡΠΊΠ»Π°Π΄Π½ΠΎΠ³ΠΎ Π½ΠΎΠΆΠ° Π³ΡΠ°ΡΠΈΠΊΠ°, -clipart, -cartoons und -symboleAlle Zwecke Messer Smartphone-Konzept-Abbildung
cartoon hand hΓ€lt europΓ€ische union und schweizer flaggen. beziehungen zwischen europa und der schweiz — ΡΠ΅ΡΡΠ΅ΠΆ ΡΠΊΠ»Π°Π΄Π½ΠΎΠ³ΠΎ Π½ΠΎΠΆΠ° — Π³ΡΠ°ΡΠΈΠΊΠ°, -ΠΊΠ»ΠΈΠΏΠ°ΡΡ, -ΠΌΡΠ»ΡΡΡΠΈΠ»ΡΠΌΡ ΠΈ -ΡΠΈΠΌΠ²ΠΎΠ»Cartoon Hand hΓ€lt EuropΓ€ische Union und Schweizer Flaggen….
Beziehungen zwischen der EU und der Schweiz. Konzept der Diplomatie, Politik und demokratischen Verhandlungen.
Isolierter Vektor mit flachem Design
Schweizer Messer. AusrΓΌstung fΓΌr Wandern und Tourismus….
ΠΠ΅ΠΌΠΏΠΈΠ½Π³-Π·Π½Π°ΡΠΊΠΈ ΠΊΠ°ΡΠ°ΠΊΡΠ»ΠΈ ΡΠ΅ΠΊΡΡ — ΡΠΈΡΡΠ½ΠΎΠΊ ΠΊΠ°ΡΠΌΠ°Π½Π½ΠΎΠ³ΠΎ Π½ΠΎΠΆΠ° Π³ΡΠ°ΡΠΈΠΊΠ°, -ΠΊΠ»ΠΈΠΏΠ°ΡΡ, -ΠΌΡΠ»ΡΡΡΠΈΠ»ΡΠΌΡ ΠΈ -ΡΠΈΠΌΠ²ΠΎΠ»ΠΠ΅ΠΌΠΏΠΈΠ½Π³-ΠΈΠΊΠΎΠ½ΠΊΠΈ ΠΊΠ°ΡΠ°ΠΊΡΠ»ΠΈ ΡΠ΅ΠΊΡΡ
ΠΠ΅ΠΊΡΠΎΡ ΡΡΡΠ½ΠΎΠΉ ΡΠ°Π±ΠΎΡΡ ΠΡΠ»ΡΡΡΠΈΠ»ΡΠΌ nahtlose ΠΠ΅ΠΌΠΏΠΈΠ½Π³-ΡΠΈΠΌΠ²ΠΎΠ». Picknick-, Reise- ΠΈ Campingthema. Schwarze und weiΓe Camping-Ikonen. Π’Π΅ΠΊΡΡΠΈΠ»Ρ, ΠΏΠ°ΠΏΡΠ΅, ΠΏΠΎΠ»ΠΈΠ³ΡΠ°ΡΠΈΡ, ΡΠΏΠΈΠ»Ρ, Π²Π΅Π±-Π΄ΠΈΠ·Π°ΠΉΠ½
Π²ΡΠ΅Ρ ΡΠ²Π΅ΡΠΎΠ² ΠΈ ΠΎΡΡΠ΅Π½ΠΊΠΎΠ². Π€Π΅ΡΠΈΠ½Π»Π°Π³Π΅Ρ. Π²Π΅ΠΊΡΠΎΡ. konzept fΓΌr shirt oder icon, ΠΏΠ΅ΡΠ°ΡΡ, ΡΡΠ΅Π±Π΅Π»Ρ ΠΈΠ»ΠΈ ΡΡΡΠ±ΠΎΠ»ΠΊΠ°. Π²ΠΈΠ½ΡΠ°ΠΆΠ½ΡΠΉ Π°ΡΡ-Π΄ΠΈΠ·Π°ΠΉΠ½ Ρ ΠΌΠ΅ΡΡΠ΅ΡΠΎΠΌ, Π±Π΅ΡΠ³Π΅Π½ΠΎΠΌ, Ρ ΠΈΡΡΠ΅ΠΌ ΠΈ Π²Π°Π»ΡΠ΄ΡΠΈΠ»ΡΡΡΠΎΠΌ. — ΡΠΈΡΡΠ½ΠΎΠΊ ΠΊΠ°ΡΠΌΠ°Π½Π½ΠΎΠ³ΠΎ Π½ΠΎΠΆΠ° ΡΡΠΎΠΊ-Π³ΡΠ°ΡΠΈΠΊ, -ΠΊΠ»ΠΈΠΏΠ°ΡΡ, -ΠΌΡΠ»ΡΡΠΈΠΊΠΈ ΠΈ -ΡΠΈΠΌΠ²ΠΎΠ» Alle guten Dinge sind wild und kostenlos.
Ferienlager. Vektor….
ΠΡΠ΅ ΠΏΡΠΎΠ΄ΡΠΊΡΡ Dinge sind wild und frei. Ferienlager. ΠΠ΅ΠΊΡΠΎΡΠ΄Π°ΡΡΡΠ΅Π»ΡΠ½Π³. Konzept fΓΌr Shirt ΠΈΠ»ΠΈ Icon, Print, Stempel ΠΈΠ»ΠΈ T-Shirt. Vintage-Linien-Kunstdesign mit Messer, Bergen, Hirschen und Waldsilhouette.
ΠΠ΅ΠΌΠΏΠΈΠ½Π³ und kritzeleien mit Rucksack und kompass — ΡΠΈΡΡΠ½ΠΎΠΊ ΠΊΠ°ΡΠΌΠ°Π½Π½ΠΎΠ³ΠΎ Π½ΠΎΠΆΠ° ΡΡΠΎΠΊΠΎΠ²Π°Ρ Π³ΡΠ°ΡΠΈΠΊΠ°, -ΠΊΠ»ΠΈΠΏΠ°ΡΡ, -ΠΌΡΠ»ΡΡΡΠΈΠ»ΡΠΌΡ ΠΈ -ΡΠΈΠΌΠ²ΠΎΠ»ΠΠ΅ΠΌΠΏΠΈΠ½Π³ und Kritzeleien mit ΡΡΠΊΠ·Π°ΠΊ ΠΈ ΠΊΠΎΠΌΠΏΠ°Ρ , -ΠΌΡΠ»ΡΡΠΈΠΊΠΈ ΠΈ -ΡΠΈΠΌΠ²ΠΎΠ»
ReisezubehΓΆr und touristische AusrΓΌstung Skizzenseset
ReisezubehΓΆr, touristische AusrΓΌstung fΓΌr Outdoor-Abenteuer. Gravierte Skizze von Thermoskanne, Tasse, Taschenlampe, Zelt, Rucksack, Axt, Stiefel, Messer, Seil, Kameravektorillustration isoliert auf weiΓem Hintergrund
kΓΌchenwerkzeug-set — ΡΠ΅ΡΡΠ΅ΠΆ ΠΊΠ°ΡΠΌΠ°Π½Π½ΠΎΠ³ΠΎ Π½ΠΎΠΆΠ° stock-grafiken, -clipart, -cartoons und -symboleKΓΌchenwerkzeug- ΠΠ°Π±ΠΎΡ
Vector handgezeichnete KΓΌchengerΓ€te.
Schwarz-weiΓe Vintage-KΓΌchengerΓ€te mit Tinte fΓΌr Ihr Papier, Polygraphie, Stoff, Webdesign
Einzelne durchgehende Linienzeichnung von Mehrzweck-Taschenmesser
Einzelne kontinuierliche Linienzeichnung von Mehrzweck-Taschenmesser Multifunktionswerkzeug Hover-Konzept. Moderne Einlinienzeichnung Design Grafik Vektorillustration
ΠΠ°Π±ΠΎΡ ΠΏΠ»ΠΎΡΠΊΠΈΡ ΠΈΠΊΠΎΠ½ΠΎΠΊ Π΄Π»Ρ ΡΠ»ΠΈΡΡ ΠΈ ΠΊΠ΅ΠΌΠΏΠΈΠ½Π³Π° — ΡΠΈΡΡΠ½ΠΎΠΊ ΡΠΊΠ»Π°Π΄Π½ΠΎΠ³ΠΎ Π½ΠΎΠΆΠ°, Π³ΡΠ°ΡΠΈΠΊΠ°, ΠΊΠ»ΠΈΠΏΠ°ΡΡ, ΠΌΡΠ»ΡΡΡΠΈΠ»ΡΠΌΡ ΠΈ ΡΠΈΠΌΠ²ΠΎΠ»ΡΠΠ°Π±ΠΎΡ ΠΏΠ»ΠΎΡΠΊΠΈΡ ΠΈΠΊΠΎΠ½ΠΎΠΊ Π΄Π»Ρ ΡΠ»ΠΈΡΡ ΠΈ ΠΊΠ΅ΠΌΠΏΠΈΠ½Π³Π°
ΠΠ°Π±ΠΎΡ ΠΏΠ»ΠΎΡΠΊΠΈΡ ΠΈΠΊΠΎΠ½ΠΎΠΊ Π΄Π»Ρ ΡΠ»ΠΈΡΡ ΠΈ ΠΊΠ΅ΠΌΠΏΠΈΠ½Π³Π° Ρ ΠΏΠ°ΡΡΠ΅Π»ΡΡ.
Flexible Messer linie-icon — ΡΠΈΡΡΠ½ΠΎΠΊ ΠΊΠ°ΡΠΌΠ°Π½Π½ΠΎΠ³ΠΎ Π½ΠΎΠΆΠ° Stock-grafiken, -clipart, -cartoons und -symboleFlexible Messer Line-icon
Mehrzweckmesser dickes Liniensymbol mit spitzen Ecken und Kanten fΓΌr Web, Mobile und Infografiken.
Π‘ΠΈΠΌΠ²ΠΎΠ» Π²Π΅ΠΊΡΠΎΡΠΈΡΠΎΠ»ΡΠ΅ΡΡΠ΅Ρ.
Schweizer Klappmesser, fltbares Stift-Armeewerkzeug-Symbol
Faltbares Schweizer Taschenmesser mit offenen Klingen, isoliertes Liniensymbol. Vector Penknife Multitool mit Γffner und Schraube, Multifunktionsinstrument, CampingwanderausrΓΌstung, kompaktes Expeditionswerkzeug
camping-konzept-set. Outdoor-aktivitΓ€ten, wakesammlung von objekten, die im skizzenstil gezeichnet sind. Π²ΠΈΠ½ΡΠ°ΠΆ-Π²Π΅ΠΊΡΠΎΡ-ΠΈΠ»Π»ΡΡΡΡΠ°ΡΠΈΡ — ΡΠΈΡΡΠ½ΠΎΠΊ ΠΊΠ°ΡΠΌΠ°Π½Π½ΠΎΠ³ΠΎ Π½ΠΎΠΆΠ° ΡΡΠΎΠΊ-Π³ΡΠ°ΡΠΈΠΊ, -ΠΊΠ»ΠΈΠΏΠ°ΡΡ, -ΠΌΡΠ»ΡΡΡΠΈΠ»ΡΠΌΡ ΠΈ -ΡΠΈΠΌΠ²ΠΎΠ»ΠΠ΅ΠΌΠΏΠΈΠ½Π³-Konzept-Set. Outdoor-AktivitΓ€ten, Wandersammlung von…
outdoor erholung handgezeichnete linie symbol set — ΡΠΈΡΡΠ½ΠΎΠΊ ΠΊΠ°ΡΠΌΠ°Π½Π½ΠΎΠ³ΠΎ Π½ΠΎΠΆΠ° stock-grafiken, -clipart, -cartoons und -symboleOutdoor Erholung Handgezeichnete Line Symbol Set
Outdoor Erholung Handgezeichnete Line Icon Set
Π£Π½ΠΈΠ²Π΅ΡΡΠ°Π»ΡΠ½ΡΠΉ klappmesser — ΡΠ΅ΡΡΠ΅ΠΆ ΠΊΠ°ΡΠΌΠ°Π½Π½ΠΎΠ³ΠΎ Π½ΠΎΠΆΠ° ΡΡΠΎΠΊ-Π³ΡΠ°ΡΠΈΠΊΠ°, -ΠΊΠ»ΠΈΠΏΠ°ΡΡ, -ΠΌΡΠ»ΡΡΡΠΈΠ»ΡΠΌΡ ΠΈ -ΡΠΈΠΌΠ²ΠΎΠ»Universelle Klappmesser
Π£Π½ΠΈΠ²Π΅ΡΡΠ°Π»ΡΠ½ΡΠΉ-Klappmesser.
CampingausrΓΌstung. Wander ΠΠ»ΠΈΠΏΠ°ΡΡΡ. Kinder entwerfen isoliertes Element Vektor Doodle naive Kunst ΠΠ»Π»ΡΡΡΡΠ°ΡΠΈΡ
Taschenmesser. WeiΓer Hintergrund, isolieren. ΠΠ΅ΠΊΡΠΎΡ-ΠΠ»Π»ΡΡΡΡΠ°ΡΠΈΡ
Taschenmesser. WeiΓer Hintergrund, isoliert. Vektorillustration
Outdoor-and Camping-icon set Ρ ΠΌΠ΅Π΄Π²Π΅ΠΆΡΠ΅ΠΉ ΠΏΠΎΠ»ΠΎΡΠΎΠΉ ΠΈ ΠΏΠΈΠΊΡΠ΅Π»ΡΠ½ΡΠΌ ΡΠΎΠ²Π΅ΡΡΠ΅Π½ΡΡΠ²ΠΎΠΌ. — ΡΠΈΡΡΠ½ΠΎΠΊ ΡΠΊΠ»Π°Π΄Π½ΠΎΠ³ΠΎ Π½ΠΎΠΆΠ° — Π³ΡΠ°ΡΠΈΠΊΠ°, -ΠΊΠ»ΠΈΠΏΠ°ΡΡ, -ΠΌΡΠ»ΡΡΡΠΈΠ»ΡΠΌΡ ΠΈ -ΡΠΈΠΌΠ²ΠΎΠ»Outdoor- und Camping-Icon-Set mit bearbeitbarem Strich und Pixel…
Moderne Messer mit schwarzen klingen. jagd-, militΓ€r- und faltmesser auf schwelender holzkohle. ΡΠ²Π°ΡΡΠ΅Ρ Ρ ΠΈΠ½ΡΠ΅ΡΠ³ΡΡΠ½Π΄. — ΡΠ΅ΡΡΠ΅ΠΆ ΡΠΊΠ»Π°Π΄Π½ΠΎΠ³ΠΎ Π½ΠΎΠΆΠ° Ρ ΡΠΎΡΠΎ ΠΈ ΠΈΠ·ΠΎΠ±ΡΠ°ΠΆΠ΅Π½ΠΈΠ΅ΠΌModerne Messer mit schwarzen Klingen. Jagd-, MilitΓ€r- und…
Moderne Messer mit schwarzen Klingen. Jagd-, MilitΓ€r- und Klappmesser auf glimmender Holzkohle.
Π¨Π²Π°ΡΡΠ΅Ρ Π₯ΠΈΠ½ΡΠ΅ΡΠ³ΡΡΠ½Π΄.
Klappmesser auf Holzkohle mit roten Hitzestreifen. ΠΡΠ½ΠΊΠ»Π΅Ρ…
handgezeichnete wakenausrΓΌstung — ΡΠΈΡΡΠ½ΠΎΠΊ ΡΠΊΠ»Π°Π΄Π½ΠΎΠ³ΠΎ Π½ΠΎΠΆΠ°, Π³ΡΠ°ΡΠΈΠΊΠ°, ΠΊΠ»ΠΈΠΏΠ°ΡΡ, -ΠΌΡΠ»ΡΡΡΠΈΠ»ΡΠΌΡ ΠΈ -ΡΠΈΠΌΠ²ΠΎΠ»Handgezeichnete WanderausrΓΌstung
WanderbΓΌndel. Handgezeichnete Vektor-TouristenausrΓΌstung — Zelte, Schlafsack, HΓ€ngematte, TrekkingstΓΆcke, RucksΓ€cke, Kompass, Taschenlampen, Fernglas, LagerkΓΌchenutensilien, Kleidung. Artikel fΓΌr Camping, Wandern, Trekking.
eisen- und Bronzefunde in Hallstadt und La TΓ©ne — ΡΠΈΡΡΠ½ΠΎΠΊ ΡΠΊΠ»Π°Π΄Π½ΠΎΠ³ΠΎ Π½ΠΎΠΆΠ° -Π³ΡΠ°ΡΠΈΠΊΠ°, -ΠΊΠ»ΠΈΠΏΠ°ΡΡ, -ΠΌΡΠ»ΡΡΡΠΈΠ»ΡΠΌΡ ΠΈ -ΡΠΈΠΌΠ²ΠΎΠ»Eisen- und Bronzefunde in Hallstadt und La TΓ©ne
Illustration aus dem 19. Jahrhundert
einfache illustration eines papierschreibwarenmessers ausnahme von arbeitsgerΓ€ten — ΡΠ΅ΡΡΠ΅ΠΆ ΠΊΠ°ΡΠΌΠ°Π½Π½ΠΎΠ³ΠΎ Π½ΠΎΠΆΠ° stock-grafiken, -clipart, -cartoons und -symbole und -symbole .
.
Einfache Illustration eines Papierschreibwarenmessers Ausnahme…
ΠΠ½Π°ΡΠΎΠΊ ΠΊΠ°Π½ΡΠ΅Π»ΡΡΡΠΊΠΎΠ³ΠΎ Π½ΠΎΠΆΠ° Π² ausrΓΌstung. ΠΠ°ΠΏΡΠ΅ Π¨ΡΠ°ΠΉΠ±Π²Π°ΡΠ΅Π½ ΠΠ΅ΡΡΠ΅Ρ Π€Π»Π°ΡΠ΅Ρ ΡΡΠΈΠ»Ρ. Π΄ΠΈΠ·Π°ΠΉΠ½ ΠΈΠΊΠΎΠ½ΠΎΠΊ Π½ΠΎΠΆΠ° ΠΈΠ· Π½Π΅ΡΠΆΠ°Π²Π΅ΡΡΠ΅ΠΉ ΡΡΠ°Π»ΠΈ — ΡΠΈΡΡΠ½ΠΎΠΊ ΡΠΊΠ»Π°Π΄Π½ΠΎΠ³ΠΎ Π½ΠΎΠΆΠ° Π³ΡΠ°ΡΠΈΠΊΠ°, -ΠΊΠ»ΠΈΠΏΠ°ΡΡ, -ΠΌΡΠ»ΡΡΡΠΈΠ»ΡΠΌΡ ΠΈ -ΡΠΈΠΌΠ²ΠΎΠ»ΠΠΊΠΎΠ½ΠΊΠ° ΠΊΠ°Π½ΡΠ΅Π»ΡΡΡΠΊΠΎΠ³ΠΎ Π½ΠΎΠΆΠ° Π² AusrΓΌstung. Papier Schreibwaren Messer…
Π·Π½Π°ΡΠΎΠΊ ΠΊΠ°Π½ΡΠ΅Π»ΡΡΡΠΊΠΎΠ³ΠΎ Π½ΠΎΠΆΠ° Π² ausrΓΌstung. ΠΠ°ΠΏΡΠ΅ Π¨ΡΠ°ΠΉΠ±Π²Π°ΡΠ΅Π½ ΠΠ΅ΡΡΠ΅Ρ Π€Π»Π°ΡΠ΅Ρ ΡΡΠΈΠ»Ρ. Π΄ΠΈΠ·Π°ΠΉΠ½ ΠΈΠΊΠΎΠ½ΠΊΠΈ Π½ΠΎΠΆΠ° ΠΈΠ· Π½Π΅ΡΠΆΠ°Π²Π΅ΡΡΠ΅ΠΉ ΡΡΠ°Π»ΠΈ — ΡΠΈΡΡΠ½ΠΎΠΊ ΡΠΊΠ»Π°Π΄Π½ΠΎΠ³ΠΎ Π½ΠΎΠΆΠ° — Π³ΡΠ°ΡΠΈΠΊΠ°, -ΠΊΠ»ΠΈΠΏΠ°ΡΡ, -ΠΌΡΠ»ΡΡΡΠΈΠ»ΡΠΌΡ ΠΈ -ΡΠΈΠΌΠ²ΠΎΠ»ΠΠ½Π°ΡΠΎΠΊ ΠΊΠ°Π½ΡΠ΅Π»ΡΡΡΠΊΠΎΠ³ΠΎ Π½ΠΎΠΆΠ° Π² AusrΓΌstung. Papier Schreibwaren Messer…
ΡΠΈΠΌΠ²ΠΎΠ» Π»ΠΈΠ½ΠΈΠΈ ΡΠΎΠ½Π°ΡΡ Π΄Π»Ρ ΠΊΠ΅ΠΌΠΏΠΈΠ½Π³Π°, Π΄ΠΈΠ·Π°ΠΉΠ½ Π±Π΅Π· ΡΠΈΡΡΠ½ΠΊΠ°, ΠΈΠ΄Π΅Π°Π»ΡΠ½ΡΠΉ ΠΏΠΈΠΊΡΠ΅Π»Ρ, ΡΡΠΈΠ»Ρ ΡΠ΅Π΄Π°ΠΊΡΠΈΡΠΎΠ²Π°Π½ΠΈΡ. ΠΡΠ΄ΡΡ Π½Π° ΠΏΡΠΈΡΠΎΠ΄Π΅. — ΡΠ΅ΡΡΠ΅ΠΆ ΡΠΊΠ»Π°Π΄Π½ΠΎΠ³ΠΎ Π½ΠΎΠΆΠ° — Π³ΡΠ°ΡΠΈΠΊΠ°, -ΠΊΠ»ΠΈΠΏΠ°ΡΡ, -ΠΌΡΠ»ΡΡΡΠΈΠ»ΡΠΌΡ ΠΈ -ΡΠΈΠΌΠ²ΠΎΠ» Camping Lantern Line Symbol, Skizzendesign, Pixel perfekt,.
..
Messer Briefpapier Symbol Vektor. ΠΠ°ΠΏΡΠ΅ Π¨ΡΠ°ΠΉΠ±Π²Π°ΡΠ΅Π½ ΠΠ΅ΡΡΠ΅Ρ…
cartoon doodle stiftmesser — ΡΠΈΡΡΠ½ΠΎΠΊ ΡΠΊΠ»Π°Π΄Π½ΠΎΠ³ΠΎ Π½ΠΎΠΆΠ° stock-grafiken, -clipart, -cartoons und -symboleRegenbogen-Farbverlaufslinienzeichnung eines Cartoon-Stiftmessers
ΠΎΡΠΊΡΡΡΡΠΉ erholung, ΠΊΠ΅ΠΌΠΏΠΈΠ½Π³, ΡΡΠΊΠ·Π°ΠΊ, ΠΊΠΎΠΌΠΏΠ°Ρ, wohnwagen, angel-ikonen — ΡΠ΅ΡΡΠ΅ΠΆ ΡΠΊΠ»Π°Π΄Π½ΠΎΠ³ΠΎ Π½ΠΎΠΆΠ° stock-grafiken, -clipart, -cartoons und -symboleOutdoor Erholung, Camping, Rucksack, Kompass, Wohnwagen, Angel-Iko
strichzeichnung cartoon federmesser — ΡΠΈΡΡΠ½ΠΎΠΊ ΠΊΠ°ΡΠΌΠ°Π½Π½ΠΎΠ³ΠΎ Π½ΠΎΠΆΠ° stock-grafiken, -clipart, -cartoons und -symboleStrichzeichnung Cartoon Federmesser
vektorillustration einer schlange, die sich um das messer Π²ΠΈΠΊΠ΅Π»ΡΡ. dΓΌnne linie symbol fΓΌr design, cover etc. — ΡΠΈΡΡΠ½ΠΎΠΊ ΡΠΊΠ»Π°Π΄Π½ΠΎΠ³ΠΎ Π½ΠΎΠΆΠ° — Π³ΡΠ°ΡΠΈΠΊΠ°, -ΠΊΠ»ΠΈΠΏΠ°ΡΡ, -ΠΌΡΠ»ΡΡΡΠΈΠ»ΡΠΌΡ ΠΈ -ΡΠΈΠΌΠ²ΠΎΠ» Vektorillustration einer Schlange, die sich um das Messer wickelt.
Cartoon Doodle Stiftmesser
Outdoor erholung, camping, rucksack, kompass, wohnwagen, angel-ikonen — ΡΠΈΡΡΠ½ΠΎΠΊ ΠΊΠ°ΡΠΌΠ°Π½Π½ΠΎΠ³ΠΎ Π½ΠΎΠΆΠ° stock-grafiken, -clipart, -cartoons und -symboleOutdoor Erholung, Camping, Rucksack, Kompass, Wohnwagen, Angel- Iko
ΡΠ΅Π°Π»ΠΈΡΡΠΈΡΠ½ΡΠΉ ΡΠΈΡΡΠ½ΠΎΠΊ ΠΈ Π°Π±ΡΡΡΠ°ΠΊΡΠΈΡ. 3d kΓΌnstlerischer pinsel, ΓΆlfarbrohr, spachtelmesser und blaue striche, kreative verbrauchsmaterialien draufsicht, kΓΌnstlerinstrument, Γ€uΓerster vektor isoliertes set — ΡΠΈΡΡΠ½ΠΎΠΊ ΠΊΠ°ΡΠΌΠ°Π½Π½ΠΎΠ³ΠΎ Π½ΠΎΠΆΠ° stock-grafiken, -clipart, -cartoons und -symboleΠ Π΅Π°Π»ΠΈΡΡΠΈΡΠ½Π°Ρ Π±ΡΠ»Π°Π²ΠΊΠ° ΠΈ Π°Π±ΡΡΡΠ°ΠΊΡΠΈΡ. 3D kΓΌnstlerischer Pinsel, Γlfar
cartoon doodle stiftmesser — ΡΠΈΡΡΠ½ΠΎΠΊ ΠΊΠ°ΡΠΌΠ°Π½Π½ΠΎΠ³ΠΎ Π½ΠΎΠΆΠ° stock-grafiken, -clipart, -cartoons und -symboleCartoon Doodle Stiftmesser
outdoor erholung, ΠΊΠ΅ΠΌΠΏΠΈΠ½Π³, ΡΡΠΊΠ·Π°ΠΊ, ΠΊΠΎΠΌΠΏΠ°Ρ, wohnwagen, angel-ikonen — ΡΠΈΡΡΠ½ΠΎΠΊ ΠΊΠ°ΡΠΌΠ°Π½Π½ΠΎΠ³ΠΎ Π½ΠΎΠΆΠ° Stock-grafiken, -clipart, -cartoons und -symboleOutdoor Erholung, Camping, Rucksack, Kompass, Wohnwagen, Angel-Iko
cartoon doodle stiftmesser — ΡΠΈΡΡΠ½ΠΎΠΊ ΠΊΠ°ΡΠΌΠ°Π½Π½ΠΎΠ³ΠΎ Π½ΠΎΠΆΠ° stock-grafiken, -clipart, -cartoons und -symboleCartoon Doodle Stiftmesser
ΡΠΊΠ»Π°Π΄Π½ΠΎΠΉ Π½ΠΎΠΆ-ΡΠΈΠΌΠ²ΠΎΠ».
isoliertes ΠΌΠ΅ΡΡΠ΅ΡΡΠΈΠΌΠ²ΠΎΠ». Π΄ΠΈΠ·Π°ΠΉΠ½ Π»ΠΎΠ³ΠΎΡΠΈΠΏΠ° ΡΠΊΠ»Π°Π΄Π½ΠΎΠ³ΠΎ Π½ΠΎΠΆΠ°. — ΡΠ΅ΡΡΠ΅ΠΆ ΡΠΊΠ»Π°Π΄Π½ΠΎΠ³ΠΎ Π½ΠΎΠΆΠ° — Π³ΡΠ°ΡΠΈΠΊΠ°, -ΠΊΠ»ΠΈΠΏΠ°ΡΡ, -ΠΌΡΠ»ΡΡΡΠΈΠ»ΡΠΌΡ ΠΈ -ΡΠΈΠΌΠ²ΠΎΠ»Π‘ΠΊΠ»Π°Π΄Π½ΠΎΠΉ Π½ΠΎΠΆ-Π‘ΠΈΠΌΠ²ΠΎΠ». Isoliertes ΠΠ΅ΡΡΠ΅ΡΡΠΈΠΌΠ²ΠΎΠ». ΠΠΈΠ·Π°ΠΉΠ½ Π»ΠΎΠ³ΠΎΡΠΈΠΏΠ° ΡΠΊΠ»Π°Π΄Π½ΠΎΠ³ΠΎ Π½ΠΎΠΆΠ°.
ΡΠΊΠ»Π°Π΄Π½ΠΎΠΉ Π½ΠΎΠΆ-ΡΠΈΠΌΠ²ΠΎΠ». isoliertes ΠΌΠ΅ΡΡΠ΅ΡΡΠΈΠΌΠ²ΠΎΠ». Π΄ΠΈΠ·Π°ΠΉΠ½ Π»ΠΎΠ³ΠΎΡΠΈΠΏΠ° ΡΠΊΠ»Π°Π΄Π½ΠΎΠ³ΠΎ Π½ΠΎΠΆΠ°. — ΡΠ΅ΡΡΠ΅ΠΆ ΡΠΊΠ»Π°Π΄Π½ΠΎΠ³ΠΎ Π½ΠΎΠΆΠ° — Π³ΡΠ°ΡΠΈΠΊΠ°, -ΠΊΠ»ΠΈΠΏΠ°ΡΡ, -ΠΌΡΠ»ΡΡΡΠΈΠ»ΡΠΌΡ ΠΈ -ΡΠΈΠΌΠ²ΠΎΠ»Π‘ΠΊΠ»Π°Π΄Π½ΠΎΠΉ Π½ΠΎΠΆ-Π‘ΠΈΠΌΠ²ΠΎΠ». Isoliertes ΠΠ΅ΡΡΠ΅ΡΡΠΈΠΌΠ²ΠΎΠ». ΠΠΈΠ·Π°ΠΉΠ½ Π»ΠΎΠ³ΠΎΡΠΈΠΏΠ° ΡΠΊΠ»Π°Π΄Π½ΠΎΠ³ΠΎ Π½ΠΎΠΆΠ°.
ΡΠΊΠ»Π°Π΄Π½ΠΎΠΉ Π½ΠΎΠΆ-ΡΠΈΠΌΠ²ΠΎΠ». isoliertes ΠΌΠ΅ΡΡΠ΅ΡΡΠΈΠΌΠ²ΠΎΠ». Π΄ΠΈΠ·Π°ΠΉΠ½ Π»ΠΎΠ³ΠΎΡΠΈΠΏΠ° ΡΠΊΠ»Π°Π΄Π½ΠΎΠ³ΠΎ Π½ΠΎΠΆΠ°. — ΡΠΈΡΡΠ½ΠΎΠΊ ΠΊΠ°ΡΠΌΠ°Π½Π½ΠΎΠ³ΠΎ Π½ΠΎΠΆΠ° ΡΡΠΎΠΊ-Π³ΡΠ°ΡΠΈΠΊ, -ΠΊΠ»ΠΈΠΏΠ°ΡΡ, -ΠΌΡΠ»ΡΡΠΈΠΊΠΈ ΠΈ -ΡΠΈΠΌΠ²ΠΎΠ»Π‘ΠΊΠ»Π°Π΄Π½ΠΎΠΉ Π½ΠΎΠΆ-Π‘ΠΈΠΌΠ²ΠΎΠ». Isoliertes ΠΠ΅ΡΡΠ΅ΡΡΠΈΠΌΠ²ΠΎΠ». ΠΠΈΠ·Π°ΠΉΠ½ Π»ΠΎΠ³ΠΎΡΠΈΠΏΠ° ΡΠΊΠ»Π°Π΄Π½ΠΎΠ³ΠΎ Π½ΠΎΠΆΠ°.
Outdoor erholung, camping, rucksack, kompass, wohnwagen, angel-ikonen — ΡΠ΅ΡΡΠ΅ΠΆ ΠΊΠ°ΡΠΌΠ°Π½Π½ΠΎΠ³ΠΎ Π½ΠΎΠΆΠ° stock-grafiken, -clipart, -ΠΌΡΠ»ΡΡΠΈΠΊΠΈ ΠΈ -symboleOutdoor Erholung, Camping, Rucksack, Kompass, Wohnwagen, Angel-Iko
doodle camping fernglas handgezeichnet — ΡΠΈΡΡΠ½ΠΎΠΊ ΠΊΠ°ΡΠΌΠ°Π½Π½ΠΎΠ³ΠΎ Π½ΠΎΠΆΠ° ΡΡΠΎΠΊΠΎΠ²Π°Ρ Π³ΡΠ°ΡΠΈΠΊΠ°, -ΠΊΠ»ΠΈΠΏΠ°ΡΡ, -ΠΌΡΠ»ΡΡΡΠΈΠ»ΡΠΌΡ ΠΈ -ΡΠΈΠΌΠ²ΠΎΠ»Doodle Camping Fernglas handgezeichnet
armeemesser-doodle-vektorsymbol.
Eine MilitΓ€rische Blankwaffe ΠΈΠ»ΠΈ Ein Campingmesser. auf weiΓ isolieren. — ΡΠΈΡΡΠ½ΠΎΠΊ ΠΊΠ°ΡΠΌΠ°Π½Π½ΠΎΠ³ΠΎ Π½ΠΎΠΆΠ° ΡΡΠΎΠΊ-Π³ΡΠ°ΡΠΈΠΊ, -ΠΊΠ»ΠΈΠΏΠ°ΡΡ, -ΠΌΡΠ»ΡΡΠΈΠΊΠΈ ΠΈ -ΡΠΈΠΌΠ²ΠΎΠ»Armeemesser-Doodle-ΠΠ΅ΠΊΡΠΎΡΡΠΈΠΌΠ²ΠΎΠ». Eine militΓ€rische Blankwaffe…
Π£ΡΠ΅Π±Π½ΡΠ΅ ΠΈΠ½ΡΡΡΡΠΌΠ΅Π½ΡΡ ΠΈ ΠΈΠ½ΡΡΡΡΠΌΠ΅Π½ΡΡ — ΡΠΈΡΡΠ½ΠΎΠΊ ΡΠΊΠ»Π°Π΄Π½ΠΎΠ³ΠΎ Π½ΠΎΠΆΠ°, Π³ΡΠ°ΡΠΈΠΊΠ°, ΠΊΠ»ΠΈΠΏΠ°ΡΡ, ΠΌΡΠ»ΡΡΡΠΈΠ»ΡΠΌΡ ΠΈ ΡΠΈΠΌΠ²ΠΎΠ»ΡΠ£ΡΠ΅Π±Π½ΡΠ΅ ΠΈΠ½ΡΡΡΡΠΌΠ΅Π½ΡΡ ΠΈ ΠΈΠ½ΡΡΡΡΠΌΠ΅Π½ΡΡ
Arbeitswerkzeuge Setzen Sie Symbole im Skizzenstil
ΠΎΡΠΊΡΡΡΡΠΉ ΡΡΠΊΠ·Π°ΠΊ, ΠΊΠ΅ΠΌΠΏΠΈΠ½Π³, ΡΡΠΊΠ·Π°ΠΊ, ΠΊΠΎΠΌΠΏΠ°Ρ , wohnwagen, angel-ikonen — ΡΠ΅ΡΡΠ΅ΠΆ ΠΊΠ°ΡΠΌΠ°Π½Π½ΠΎΠ³ΠΎ Π½ΠΎΠΆΠ° stock-grafiken, -clipart, -ΠΌΡΠ»ΡΡΠΈΠΊΠΈ ΠΈ -ΡΠΈΠΌΠ²ΠΎΠ»Outdoor Erholung, Camping, Rucksack, Kompass, Wohnwagen, Angel-Iko
taschenmesser mit holzgriff bleistiftskizze illustration — ΡΠΈΡΡΠ½ΠΎΠΊ ΠΊΠ°ΡΠΌΠ°Π½Π½ΠΎΠ³ΠΎ Π½ΠΎΠΆΠ° Stock-grafiken, -clipart, -cartoons und -symbole -symboleSet of Camping Doodle Icons
handgezeichnetes campingmesser, skizze farbige vektorillustration — ΡΠΈΡΡΠ½ΠΎΠΊ ΡΠΊΠ»Π°Π΄Π½ΠΎΠ³ΠΎ Π½ΠΎΠΆΠ° — Π³ΡΠ°ΡΠΈΠΊΠ°, -clipart, -cartoons und -symboleHandgezeichnetes Campingmesser, Skizze farbige Vektorillustration
Handgezeichnetes Camping Schweizer Messer, Skizze farbige Vektorillustration.
ΠΠ΅ΠΌΠΏΠΈΠ½Π³ ΠΎΡΠ΄Π΅Π»ΡΠ΅Ρ Symbol, buntes Doodle-Bild. Element fΓΌr die Verwendung in Design, Verpackung, Textil, Logo.
camExplore Hutlinie Symbol, Skizze Design, Pixel perfekt,… Π»Π°ΡΠ΅ΡΠ½Π΅ ΡΡ ΠΌΠ°ΡΠ΅Π½. — ΡΠΈΡΡΠ½ΠΎΠΊ ΠΊΠ°ΡΠΌΠ°Π½Π½ΠΎΠ³ΠΎ Π½ΠΎΠΆΠ° ΡΡΠΎΠΊΠΎΠ²ΡΠ΅ ΡΠΎΡΠΎΠ³ΡΠ°ΡΠΈΠΈ ΠΈ ΠΈΠ·ΠΎΠ±ΡΠ°ΠΆΠ΅Π½ΠΈΡ
Kaukasischer Mann mit seinen sΓΌΓen SΓΆhnen, die Augen auf einen KΓΌr
Kaukasischer Mann mit seinen niedlichen SΓΆhnen, die Augen auf einen KΓΌrbis ziehen, um Traditionalelle Jack-Laterne herzustellen. Hochwertiges Π€ΠΎΡΠΎ
ΡΠΎΠ½ 15 ΠΠ°ΡΠ΅Π½ΡΠ½ΡΠ΅ ΡΠ΅ΡΡΠ΅ΠΆΠΈ ΡΠΊΠ»Π°Π΄Π½ΠΎΠ³ΠΎ Π½ΠΎΠΆΠ°β ΠΈΠ΄Π΅ΠΈ ΠΏΠΎΠ΄Π°ΡΠΊΠΎΠ² Π½Π° Π΄Π΅Π½Ρ ΡΠΎΠΆΠ΄Π΅Π½ΠΈΡ Π² Π°Π²Π³ΡΡΡΠ΅
Etsy Π±ΠΎΠ»ΡΡΠ΅ Π½Π΅ ΠΏΠΎΠ΄Π΄Π΅ΡΠΆΠΈΠ²Π°Π΅Ρ ΡΡΠ°ΡΡΠ΅ Π²Π΅ΡΡΠΈΠΈ Π²Π°ΡΠ΅Π³ΠΎ Π²Π΅Π±-Π±ΡΠ°ΡΠ·Π΅ΡΠ°, ΡΡΠΎΠ±Ρ ΠΎΠ±Π΅ΡΠΏΠ΅ΡΠΈΡΡ Π±Π΅Π·ΠΎΠΏΠ°ΡΠ½ΠΎΡΡΡ ΠΏΠΎΠ»ΡΠ·ΠΎΠ²Π°ΡΠ΅Π»ΡΡΠΊΠΈΡ Π΄Π°Π½Π½ΡΡ . ΠΠΎΠΆΠ°Π»ΡΠΉΡΡΠ°, ΠΎΠ±Π½ΠΎΠ²ΠΈΡΠ΅ Π΄ΠΎ ΠΏΠΎΡΠ»Π΅Π΄Π½Π΅ΠΉ Π²Π΅ΡΡΠΈΠΈ.
ΠΠΎΡΠΏΠΎΠ»ΡΠ·ΡΠΉΡΠ΅ΡΡ Π²ΡΠ΅ΠΌΠΈ ΠΏΡΠ΅ΠΈΠΌΡΡΠ΅ΡΡΠ²Π°ΠΌΠΈ Π½Π°ΡΠ΅Π³ΠΎ ΡΠ°ΠΉΡΠ°, Π²ΠΊΠ»ΡΡΠΈΠ² JavaScript.
ΠΠ°ΠΆΠΌΠΈΡΠ΅, ΡΡΠΎΠ±Ρ ΡΠ²Π΅Π»ΠΈΡΠΈΡΡ
518 ΠΏΡΠΎΠ΄Π°ΠΆ |
5 ΠΈΠ· 5 Π·Π²Π΅Π·Π΄Π¦Π΅Π½Π°: β¬4,12
ΠΠ°Π³ΡΡΠ·ΠΊΠ°
ΠΠΊΠ»ΡΡΠ΅Π½ ΠΠΠ‘
ΠΠ½Π΅ΡΠ΅Π½ Π² ΡΠΏΠΈΡΠΎΠΊ 27 ΡΠ½Π²Π°ΡΡ 2023 Π³.
Π‘ΠΎΠΎΠ±ΡΠΈΡΡ ΠΎΠ± ΡΡΠΎΠΌ ΡΠ»Π΅ΠΌΠ΅Π½ΡΠ΅ Π² Etsy
ΠΡΠ±Π΅ΡΠΈΡΠ΅ ΠΏΡΠΈΡΠΈΠ½Ρβ¦ Π‘ ΠΌΠΎΠΈΠΌ Π·Π°ΠΊΠ°Π·ΠΎΠΌ Π²ΠΎΠ·Π½ΠΈΠΊΠ»Π° ΠΏΡΠΎΠ±Π»Π΅ΠΌΠ°ΠΠ½ ΠΈΡΠΏΠΎΠ»ΡΠ·ΡΠ΅Ρ ΠΌΠΎΡ ΠΈΠ½ΡΠ΅Π»Π»Π΅ΠΊΡΡΠ°Π»ΡΠ½ΡΡ ΡΠΎΠ±ΡΡΠ²Π΅Π½Π½ΠΎΡΡΡ Π±Π΅Π· ΡΠ°Π·ΡΠ΅ΡΠ΅Π½ΠΈΡΠ― Π½Π΅ Π΄ΡΠΌΠ°Ρ, ΡΡΠΎ ΡΡΠΎ ΡΠΎΠΎΡΠ²Π΅ΡΡΡΠ²ΡΠ΅Ρ ΠΏΠΎΠ»ΠΈΡΠΈΠΊΠ΅ EtsyΠΡΠ±Π΅ΡΠΈΡΠ΅ ΠΏΡΠΈΡΠΈΠ½Ρβ¦
ΠΠ΅ΡΠ²ΠΎΠ΅, ΡΡΠΎ Π²Ρ Π΄ΠΎΠ»ΠΆΠ½Ρ ΡΠ΄Π΅Π»Π°ΡΡ, ΡΡΠΎ ΡΠ²ΡΠ·Π°ΡΡΡΡ Ρ ΠΏΡΠΎΠ΄Π°Π²ΡΠΎΠΌ Π½Π°ΠΏΡΡΠΌΡΡ.
ΠΡΠ»ΠΈ Π²Ρ ΡΠΆΠ΅ ΡΠ΄Π΅Π»Π°Π»ΠΈ ΡΡΠΎ, Π²Π°Ρ ΡΠΎΠ²Π°Ρ Π½Π΅ ΠΏΡΠΈΠ±ΡΠ» ΠΈΠ»ΠΈ Π½Π΅ ΡΠΎΠΎΡΠ²Π΅ΡΡΡΠ²ΡΠ΅Ρ ΠΎΠΏΠΈΡΠ°Π½ΠΈΡ, Π²Ρ ΠΌΠΎΠΆΠ΅ΡΠ΅ ΡΠΎΠΎΠ±ΡΠΈΡΡ ΠΎΠ± ΡΡΠΎΠΌ Etsy, ΠΎΡΠΊΡΡΠ² ΠΊΠ΅ΠΉΡ.
Π‘ΠΎΠΎΠ±ΡΠΈΡΡ ΠΎ ΠΏΡΠΎΠ±Π»Π΅ΠΌΠ΅ Ρ Π·Π°ΠΊΠ°Π·ΠΎΠΌ
ΠΡ ΠΎΡΠ΅Π½Ρ ΡΠ΅ΡΡΠ΅Π·Π½ΠΎ ΠΎΡΠ½ΠΎΡΠΈΠΌΡΡ ΠΊ Π²ΠΎΠΏΡΠΎΡΠ°ΠΌ ΠΈΠ½ΡΠ΅Π»Π»Π΅ΠΊΡΡΠ°Π»ΡΠ½ΠΎΠΉ ΡΠΎΠ±ΡΡΠ²Π΅Π½Π½ΠΎΡΡΠΈ, Π½ΠΎ ΠΌΠ½ΠΎΠ³ΠΈΠ΅ ΠΈΠ· ΡΡΠΈΡ ΠΏΡΠΎΠ±Π»Π΅ΠΌ ΠΌΠΎΠ³ΡΡ Π±ΡΡΡ ΡΠ΅ΡΠ΅Π½Ρ Π½Π΅ΠΏΠΎΡΡΠ΅Π΄ΡΡΠ²Π΅Π½Π½ΠΎ Π·Π°ΠΈΠ½ΡΠ΅ΡΠ΅ΡΠΎΠ²Π°Π½Π½ΡΠΌΠΈ ΡΡΠΎΡΠΎΠ½Π°ΠΌΠΈ. ΠΡ ΡΠ΅ΠΊΠΎΠΌΠ΅Π½Π΄ΡΠ΅ΠΌ ΡΠ²ΡΠ·Π°ΡΡΡΡ Ρ ΠΏΡΠΎΠ΄Π°Π²ΡΠΎΠΌ Π½Π°ΠΏΡΡΠΌΡΡ, ΡΡΠΎΠ±Ρ ΡΠ²Π°ΠΆΠΈΡΠ΅Π»ΡΠ½ΠΎ ΠΏΠΎΠ΄Π΅Π»ΠΈΡΡΡΡ ΡΠ²ΠΎΠΈΠΌΠΈ ΠΏΡΠΎΠ±Π»Π΅ΠΌΠ°ΠΌΠΈ.
ΠΡΠ»ΠΈ Π²Ρ Ρ
ΠΎΡΠΈΡΠ΅ ΠΏΠΎΠ΄Π°ΡΡ Π·Π°ΡΠ²Π»Π΅Π½ΠΈΠ΅ ΠΎ Π½Π°ΡΡΡΠ΅Π½ΠΈΠΈ Π°Π²ΡΠΎΡΡΠΊΠΈΡ
ΠΏΡΠ°Π², Π²Π°ΠΌ Π½Π΅ΠΎΠ±Ρ
ΠΎΠ΄ΠΈΠΌΠΎ Π²ΡΠΏΠΎΠ»Π½ΠΈΡΡ ΠΏΡΠΎΡΠ΅Π΄ΡΡΡ, ΠΎΠΏΠΈΡΠ°Π½Π½ΡΡ Π² Π½Π°ΡΠ΅ΠΉ ΠΠΎΠ»ΠΈΡΠΈΠΊΠ΅ Π² ΠΎΡΠ½ΠΎΡΠ΅Π½ΠΈΠΈ Π°Π²ΡΠΎΡΡΠΊΠΈΡ
ΠΏΡΠ°Π² ΠΈ ΠΈΠ½ΡΠ΅Π»Π»Π΅ΠΊΡΡΠ°Π»ΡΠ½ΠΎΠΉ ΡΠΎΠ±ΡΡΠ²Π΅Π½Π½ΠΎΡΡΠΈ.
ΠΠΎΡΠΌΠΎΡΡΠΈΡΠ΅, ΠΊΠ°ΠΊ ΠΌΡ ΠΎΠΏΡΠ΅Π΄Π΅Π»ΡΠ΅ΠΌ ΡΡΡΠ½ΡΡ ΡΠ°Π±ΠΎΡΡ, Π²ΠΈΠ½ΡΠ°ΠΆ ΠΈ ΡΠ°ΡΡ ΠΎΠ΄Π½ΡΠ΅ ΠΌΠ°ΡΠ΅ΡΠΈΠ°Π»Ρ
ΠΠΎΡΠΌΠΎΡΡΠ΅ΡΡ ΡΠΏΠΈΡΠΎΠΊ Π·Π°ΠΏΡΠ΅ΡΠ΅Π½Π½ΡΡ ΠΏΡΠ΅Π΄ΠΌΠ΅ΡΠΎΠ² ΠΈ ΠΌΠ°ΡΠ΅ΡΠΈΠ°Π»ΠΎΠ²
ΠΠ·Π½Π°ΠΊΠΎΠΌΡΡΠ΅ΡΡ Ρ Π½Π°ΡΠ΅ΠΉ ΠΏΠΎΠ»ΠΈΡΠΈΠΊΠΎΠΉ Π² ββΠΎΡΠ½ΠΎΡΠ΅Π½ΠΈΠΈ ΠΊΠΎΠ½ΡΠ΅Π½ΡΠ° Π΄Π»Ρ Π²Π·ΡΠΎΡΠ»ΡΡ
Π’ΠΎΠ²Π°Ρ Π½Π° ΠΏΡΠΎΠ΄Π°ΠΆΡβ¦Π½Π΅ ΡΡΡΠ½Π°Ρ ΡΠ°Π±ΠΎΡΠ°
Π½Π΅ Π²ΠΈΠ½ΡΠ°ΠΆ (20+ Π»Π΅Ρ)
Π½Π΅ ΡΠ΅ΠΌΠ΅ΡΠ»Π΅Π½Π½ΡΠ΅ ΠΏΡΠΈΠ½Π°Π΄Π»Π΅ΠΆΠ½ΠΎΡΡΠΈ
Π·Π°ΠΏΡΠ΅ΡΠ΅Π½Ρ ΠΈΠ»ΠΈ ΠΈΡΠΏΠΎΠ»ΡΠ·ΡΡΡ Π·Π°ΠΏΡΠ΅ΡΠ΅Π½Π½ΡΠ΅ ΠΌΠ°ΡΠ΅ΡΠΈΠ°Π»Ρ
Π½Π΅ΠΏΡΠ°Π²ΠΈΠ»ΡΠ½ΠΎ ΠΏΠΎΠΌΠ΅ΡΠ΅Π½ ΠΊΠ°ΠΊ ΡΠΎΠ΄Π΅ΡΠΆΠΈΠΌΠΎΠ΅ Π΄Π»Ρ Π²Π·ΡΠΎΡΠ»ΡΡ
ΠΠΎΠΆΠ°Π»ΡΠΉΡΡΠ°, Π²ΡΠ±Π΅ΡΠΈΡΠ΅ ΠΏΡΠΈΡΠΈΠ½Ρ
Π Π°ΡΡΠΊΠ°ΠΆΠΈΡΠ΅ Π½Π°ΠΌ Π±ΠΎΠ»ΡΡΠ΅ ΠΎ ΡΠΎΠΌ, ΠΊΠ°ΠΊ ΡΡΠΎΡ ΡΠ»Π΅ΠΌΠ΅Π½Ρ Π½Π°ΡΡΡΠ°Π΅Ρ Π½Π°ΡΠΈ ΠΏΡΠ°Π²ΠΈΠ»Π°. Π Π°ΡΡΠΊΠ°ΠΆΠΈΡΠ΅ Π½Π°ΠΌ Π±ΠΎΠ»ΡΡΠ΅ ΠΎ ΡΠΎΠΌ, ΠΊΠ°ΠΊ ΡΡΠΎΡ ΡΠ»Π΅ΠΌΠ΅Π½Ρ Π½Π°ΡΡΡΠ°Π΅Ρ Π½Π°ΡΠΈ ΠΏΡΠ°Π²ΠΈΠ»Π°.
