Могла ли стрелять Царь-пушка?: starcom68 — LiveJournal
Оригинал взят у alexuslob в Пушка-Царь-Ядрён-батонИтак, внимание — если бы Царь-пушка могла стрелять (т.е. были соблюдены все условия для стрельбы — для начала хотя бы просверлили запальное отверстие), то вычисления (ссылка на источник в конце) показывают — ствол орудия весьма прочный, чтобы выдержать стрельбу гигантскими ядрами.
Предельное давление, которое может быть создано в канале ствола Царь-пушки при сгорании порохового заряда, не должно превосходить 1066,32 кг/см2
Предельная масса порохового заряда 117,8 кг
Порох дымный, гравиметрическую плотность брали из состава дымных порохов XVII в.
объем зарядной каморы 285 дм3, масса ядра — 1000 кг
Калибр 900 мм
Длина канала ствола 3190 мм
Скорость ядра при вылете из ствола 312 м/с (вообще диапазон скоростей 250-320 м/с)
Таблицы внешней баллистики:
при 5 градусах — 1455 м
при 10 ——— 2540 м
при 15 ——— 3390 м
при 20 ——— 4015 м
при 45 ———- 5160 м
Фантастика! Царь-пушка вполне могла выстрелить ядрышком в 1000 кг, причем снаряд в теории улетал бы за горизонт.
На самом деле, более верны, на мой взгляд, расчеты инженера Г.М.Захарикова, которые делались параллельно с «дзержинцами».
Он вычисляет массу ядра должна в 750 кг, а масса порохового заряда, исходя из относительного заряда 1 : 9, — 84 кг. Захариков, в отличие от «дзержинцев», учитывает материалы, из которых делались ядра — песчаник плотностью 2400 кг/м3
«Этот материал для каменных ядер широко использовался в бомбардах XV-XVII вв и мортирах XVII в., хотя имеются данные и об использовании в довольно большом количестве ядер из известняка.. Плотность известняков 2700-2900 кг/м3, колеблется в зависимости от содержания примесей доломита, кварца и других минералов«.
Что касается дымного пороха, то инженер использует данными из сочинения делль`Аква» (1630-1635 гг). «По сравнению с современным дымным порохом состав пороха, приведенный делль`Аквой в «Трактате», имеет избыток на 15% горючих веществ, которые при горении пороха во время выстрела орудия играют балластную роль и несколько замедляют скорость горения смеси. Повышенное содержание балластных веществ, практически пропорционально их содержанию, снижает силу пороха. Это позволяет принять для этого состава силу на 15% меньшую по сравнению с современным дымным порохом. «
Скорость ядра по Захарикову — 230 м/с — почти совпадает с вычислениями артиллерийской лаборатории.
И данные артиллерийской лаборатории, и вычисления Захарикова показывают, что Царь-пушка обладает достаточным пределом прочности, чтобы стрелять гигантскими ядрышками.

Как уже отмечалось, из Царь-пушки не было сделано ни одного выстрела — у орудия отсутствует запальное отверстие, а в канале ствола и Захариков, и «дзержинцы» обнаружили «наплывы высотой до 20 мм, неровности, горелая земля» — то есть внутренняя часть не зачищена после отливки, т.е. из пушки вообще не стреляли.
Вопрос — почему отверстие не было просверлено? В 1990-х гг заведующий сектором оружия музеев Московского Кремля Игорь Комаров залезал в Царь-пушку, и утверждал, что якобы отверстие просверлено, однако забито каким-то «железным ершиком». Однако тщательный, чуть ли не посантиметровый осмотр внутренней части перед и после реставрации в 1980 г. Царь-пушки независимых специалистов этого не показал.
Вот мне и подумалось грешным делом — а не могло ли быть так, что «железный ершик» — это застрявший в меди обломок сверла, которое осталось в теле орудия из-за невозможности извлечения (сверлить-то приходилось толстенный слой металла)? поэтому отверстие так и оказалось непросверленным?
Огромное спасибо Александру Чубинскому, с.н.с. Оружейной палаты, за предоставленные материалы!
Вот еще немного жЫра для затравки — из машинописного отчета «дзержинцев» об изучении Царь-Пушки и в продолжение очерка.
starcom68.livejournal.com
Царь-пушка должна удивлять нас гораздо больше, чем древние мегалиты
Царь-пушка – интереснейший экспонат. С одной стороны, это образец гигантской бутафории 19 века, с другой – одно из крупнейших действующих средневековых орудий. Вместе с тем, она замечательный свидетель упадка артиллерийских технологий средневековья.
Мы живём в своеобразной информационной матрице или театре, кому как нравится. Все события для нас кто-то заботливо украшает декорациями. Историческое прошлое обставляется, как музейные экспозиции. Одним из заметных элементов панорамы под названием «Средневековое Московское государство на диких просторах Русской равнины», является Царь-пушка.
На слово этим обманщикам-кукловодам мы не верим, поэтому каждый экспонат приходится изучать самостоятельно. Часто оказываются, что это подделка из картона или новодел. А иногда вещи настоящие, но не того времени или предназначения. Заниматься этим интересно, всегда узнаёшь что-то сокровенное.
Собрание заблуждений о Царь-пушке
Сегодня поговорим о Царь-пушке. В народе ходит много заблуждений про неё. Например: «В России была самая мощная и передовая в мире производственно-технологическая база изготовления чугуна, памятниками которой и являются эти уникальные артефакты (это про Царь-колокол и Царь-пушку, – авт.)… уже давно доказано, и есть документальные подтверждения того, что Царь-пушка реально стреляла» (комментарий к статье «Стены «Древнего Кремля» не древние», опубликованной на сайте «Ньюсленд»).
По колоколу и так понятно. Их делают исключительно из бронзы, причём не любой, а специального состава. Ну, а пушки, конечно, разные бывают. Для этого в тяжёлые времена наш замечательный народ использовал даже берёзовый кап. Брали плотную кряжистую берёзовую заготовку, делали в ней отверстие, оковывали железными полосами, прожигали маленькое отверстие в казённой части для запала и вот пушка готова. В 17…19 веках их, в основном, уже лили из чугуна. Но Царь-пушка всё-таки бронзовая.
О документальных доказательствах того, что пушка стреляла, замечание важное. Действительно, в народе крутится информация о том, что некие специалисты точно установили… обнаружили… и т.д. Слух этот запущен журналистами. О том кто, и что действительно установил, будет подробно рассказано ниже. Также рассмотрим вопрос о другом заблуждении, которое бродит в учёных умах. Многие из них считают, что Царь-пушка, это огромный дробовик. Очень удобное мнение, которое позволяет историкам объяснять многие загадки, связанные с ней. На самом деле, это не так, что и будет убедительно показано.
Бытует и ещё одно устойчивое заблуждение, заставляющее сомневаться в разумности человеческой природы. Утверждают, что Царь-пушка изготовлена, чтобы пугать иностранцев, в особенности послов крымских татар. Нелепость этого утверждения тоже станет очевидной, по мере прочтения статьи.
Артиллерийский комплекс «Царь-пушка», представленный в Кремле
Официально, Царь-пушка – средневековое артиллерийское орудие, памятник русской артиллерии и литейного искусства, отлитое из бронзы в 1586 году русским мастером Андреем Чоховым на Пушечном дворе. Длина пушки – 5,34 м, наружный диаметр ствола – 120 см, диаметр узорного пояса у дула – 134 см, калибр 890 мм (35 дюймов), масса – 39,31 т (2400 пудов).
С первого профессионального взгляда на Царь-пушку (автор – специалист по проектированию стрелкового оружия) становится понятно, что вот этим стрелять нельзя. Вообще-то, худо-бедно стрелять можно почти из всего – из обрезка водопроводной трубы, из лыжной палки и т.д. Но этот артиллерийский комплекс, выставленный на обозрение в Кремле – настоящая бутафория.
Во-первых, бросаются в глаза чугунные ядра, которые в 19 веке и стали источником тех самых разговоров о декоративном назначении пушки. В 16 веке пользовались каменными ядрами, а они в 2,5 раза легче выставленных чугунных. Можно совершенно точно сказать, что стенки пушки не выдержали бы давления пороховых газов, при выстреле таким ядром. Конечно, это понимали, когда их отливали на заводе Берда.
Во-вторых, бутафорский лафет, отлитый там же. Стрелять с него нельзя. При выстреле штатным каменным 800 килограммовым ядром из 40 тонной Царь-пушки, даже с небольшой начальной скоростью 100 метров в секунду, произойдёт следующее:
- расширяющиеся пороховые газы, создавая повышенное давление, будут как бы раздвигать пространство между ядром и дном пушки;
- ядро начнёт двигаться в одном направлении, а пушка – в противоположном, при этом скорость их движения будет обратно пропорциональна массе (во сколько раз легче тело, во столько раз быстрее полетит).
Масса пушки всего лишь в 50 раз больше массы ядра (в автомате Калашникова, например, это соотношение порядка 400), поэтому, когда ядро полетит вперёд со скоростью 100 метров в секунду, пушка покатится назад со скоростью около 2 метров в секунду. Эта махина остановится не сразу, всё-таки 40 тонн. Энергия отката будет приблизительно равна жёсткому удару КАМАЗа в препятствие на скорости 30 км/час.
Царь-пушку сорвёт с лафета. Тем более, что она просто лежит на нём сверху, как бревно. Удержать всё это может только специальный скользящий лафет с гидравлическими демпферами (гасителями отката), и надёжным креплением орудия. Уверяю вас, это и сегодня довольно внушительное устройство, а тогда такого просто не было. И всё это не только моё мнение: «В настоящее время Царь-пушка находится на чугунном декоративном лафете, а рядом лежат декоративные чугунные ядра, которые отлили в 1834 г. в Петербурге на чугунолитейном заводе Берда. Понятно, что ни стрелять с этого чугунного лафета, ни использовать чугунные ядра физически невозможно – Царь-пушку вдребезги разнесёт!» (Александр Широкорад «Чудо-оружие Российской империи»).
Поэтому, тот артиллерийский комплекс, который нам показывают в Кремле под названием Царь-пушка, это гигантская бутафория.
Назначение Царь-пушки
Сегодня упорно муссируются гипотезы о применении Царь-пушки в качестве дробовика. Мнение очень удобное для историков. Если это дробовик, то его таскать никуда не надо. Поставил к бойнице и всё, жди врага.
То, что отлил Андрей Чохов в 1586 году, то есть, сам бронзовый ствол, действительно могло бы стрелять. Только выглядело бы это совсем не так, как думают многие. Дело в том, что по своей конструкции Царь-пушка это не пушка, а классическая бомбарда (Рис. 1). Пушкой называется орудие с длиной ствола от 40 калибров и выше. У Царь-пушки длина канала ствола всего 4 калибра. А для бомбарды это как раз нормально. Они часто имели внушительный размер, и применялись для осады, какстенобитное орудие. Чтобы разрушить крепостную стену, нужен очень тяжёлый снаряд. Для этого и гигантские калибры.
Ни о каком лафете речь тогда не шла. Ствол просто прикапывали в грунт. Плоский торец упирали в глубоко забитые сваи (Рис. 2). Рядом копали ещё 2 окопчика для артиллерийского расчёта, поскольку такие орудия частенько разрывало. Заряжание иногда занимало сутки. Отсюда скорострельность подобных орудий – от 1 до 6 выстрелов в день. Но всё это стоило того, ибо позволяло сокрушать неприступные стены, обходиться без многомесячных осад и сокращать боевые потери при штурме.
Только в этом может быть смысл отливки 40 тонного ствола калибром 900 мм.Царь-пушка это бомбарда – стенобитное орудие, предназначенное для осады вражеских крепостей, а вовсе не дробовик, как некоторые склонны считать. Вот и мнение специалиста по данному вопросу: «…В качестве же дробовика Царь-пушка была крайне неэффективна. По стоимости затрат вместо неё можно было изготовить 20 малых дробовиков, на заряжание которых нужно не сутки, а всего 1-2 минуты. Замечу, что в официальной описи «При Московском арсенале состоящей артиллерии» на 1730 г. числилось 40 медных и 15 чугунных дробовиков. Обратим внимание на их калибры: 1500 фунтов – 1 (это и есть Царь-пушка), а затем следуют калибры: 25 фунтов – 2, 22 фунта – 1, 21 фунт – 3 и т.д. Наибольшее число дробовиков, 11, приходится на 2-фунтовый калибр. Риторический вопрос: каким местом думали наши военные, записавшие Царь-пушку в дробовики?..»(Александр Широкорад «Чудо-оружие Российской империи»).
Царь-пушка никогда не применялась по назначению
Как было сказано в начале статьи, ходят слухи о неких «документальных подтверждениях» того, что Царь-пушка стреляла. Вообще-то, имеет большое значение не только факт выстрела, но ещё и чем она стреляла, и при каких обстоятельствах. Ядра, которыми заряжали пушку, могли быть разного веса, и навеска пороха могла быть разная. От этого зависит давление в канале ствола и мощность выстрела. Всего этого сейчас не определить. Кроме того, если из орудия были произведены пробные испытательные выстрелы, то это одно, а если оно применялась в бою – совсем другое. Приведу по этому поводу цитату:
«Документы об испытаниях Царь-пушки или применении её в боевых условиях не сохранились, что дало основание позднейшим историкам для длительных споров о её назначении… Меньшая часть специалистов вообще исключает возможность боевого применения пушки, а изготовлена она, чтобы пугать иностранцев, в особенности послов крымских татар… Интересная деталь, в 1980 г. исследовавшие канал орудия специалисты из Академии им. Дзержинского сделали вывод, что из Царь-пушки стреляли, по крайней мере, 1 раз…» (Александр Широкорад «Чудо-оружие Российской империи»).
Кстати, отчёт этих самых специалистов по непонятным причинам не был опубликован. А раз отчёт никому не показывают, то его нельзя считать доказательством. Фраза «стреляли, по крайней мере, 1 раз» видимо кем-то из них была обронена в беседе или интервью, а то мы бы вообще ничего об этом не узнали. Если бы пушка использовалась по назначению, то неизбежно в стволе имелись бы не только частицы пороха, которые по слухам и были обнаружены, но и механические повреждения в виде продольных царапин. В бою из Царь-пушки стреляли бы не ватой, а каменными ядрами весом примерно 800 кг.
Должен быть и некоторый износ поверхности канала ствола. Иначе и быть не может, потому что бронза достаточно мягкий материал. Выражение «по крайней мере», как раз и свидетельствует о том, что кроме частиц пороха ничего существенного там обнаружить не удалось. Если это так, то пушка не применялась по назначению. А частицы пороха могли остаться от испытательных выстрелов. Точку в этом вопросе ставит тот факт, что Царь-пушка ни разу не покидала пределов Москвы:
«После того, как Царь-пушку отлили и отделали на Пушечном дворе, её перетащили к Спасскому мосту и уложили на землю рядом с пушкой «Павлин». Чтобы передвинуть орудие, к восьми скобам на его стволе привязывали верёвки, в эти верёвки впрягали одновременно 200 лошадей, и те катили пушку, лежащую на огромных брёвнах-катках. Первоначально орудия «Царь» и «Павлин» лежали на земле у моста, ведущего к Спасской башне, а Кашпирова пушка – у Земского приказа, располагавшегося там, где сейчас Исторический музей. В 1626 г. их подняли с земли и установили на бревенчатых срубах, плотно набитых землёй. Эти помосты назывались роскаты…» (Александр Широкорад «Чудо-оружие Российской империи»).
У себя дома применять стенобитное орудие по назначению как-то самоубийственно. В кого собирались стрелять 800 килограммовым ядром от стен Кремля? По живой силе противника 1 раз в день стрелять бессмысленно. Танков тогда не было. Наверное, ожидали появления Годзиллы. Разумеется, эти огромные стенобитные орудия были выставлены на всеобщее обозрение не с боевыми целями, а как элемент престижа державы. И, конечно, это не было их основным предназначением. При Петре I Царь-пушку установили на территории самого Кремля. Там она находится и по сей день. Почему она ни разу не использовалась в боевых действиях, хотя как стенобитное орудие вполне боеспособна? Может быть, причиной тому является её чересчур огромный вес? Реально ли было перемещать такое орудие на большие расстояния?
Транспортировка
Современные историки крайне редко задают себе вопрос: «для чего?». А вопрос – крайне полезный. Вот и давайте спросим, для чего было отливать осадное орудие весом 40 тонн, если бы его нельзя было доставить к вражескому городу? Для того, чтобы напугать послов? Вряд ли. Могли бы для этого изготовить дешёвый макет, и показывать его издалека. Зачем столько труда и бронзы тратить на блеф? Нет, Царь-пушку отлили, чтобы использовать её практически. Значит, могли и переместить. Как они могли это сделать?
40 тонн – это действительно очень тяжело. Такой вес не способен перевести грузовик КАМАЗ. Он рассчитан только на 10 тонн груза. При попытке погрузить на него пушку, сначала разрушится подвеска, затем погнётся рама. Для этого нужен тягач в 4 раза более прочный и мощный. А всё, что можно было изготовить из дерева, с целью удобной транспортировки пушки на колёсах, имело бы воистину циклопические размеры. Ось такого колёсного устройства была бы толщиной не менее 80 см. Дальше нет смысла представлять, всё равно никаких свидетельств о чём-то подобном нет. Везде написано, что Царь-пушку тащили, а не везли.
Посмотрите рисунок, на котором грузят тяжёлое орудие (Рис. 3). К сожалению, здесь мы видим только сталкивание бомбарды с настила, а не сам процесс перемещения. Но на заднем плане видна транспортная платформа. У неё загнутая к верху носовая часть (защита от утыкания в неровности). Платформу явно использовали для скольжения. То есть, груз тащили, а не катили. И это правильно. Катки можно использовать только на ровной и твёрдой поверхности. Где такую найдёшь? Вполне понятно и то, что загнутая носовая часть окована металлом, ведь груз очень тяжёлый. Вес большинства стенобитных орудий не превышал 20 тонн.
Допустим, что основную часть пути они преодолевали по воде. Перемещение этих бомбард волоком на небольшие расстояния в несколько километров с помощью множества лошадей, тоже выполнимая задача, хотя и очень нелёгкая. Но можно ли сделать то же самое с 40 тонным орудием? Обычно такие исследования заканчиваются выражениями типа «исторический казус». Как будто решили недотёпы всех удивить, отлили что-то рекордно гигантское, а как тащить не подумали. Вот, дескать, как это по-русски – Царь-колокол, который не звонит и Царь-пушка, которая не стреляет.
Но мы не будем продолжать в этом духе. Давайте прощаться с мыслями о том, что наши правители были глупее сегодняшних историков. Довольно валить всё на неопытность мастеров и самодурство царей. Царь, сумевший занять этот высокий пост, заказавший 40 тонное орудие, оплативший его изготовление, был явно не дурак, и должен был очень хорошо обдумать свой поступок. Такие затратные вопросы с кондачка не решаются. Он совершенно точно понимал, как собирается доставить этот «подарок» к стенам неприятельских городов.
Кстати, отговорка типа «сначала сделали, а потом подумали, как перетащить» довольно часто встречается в исторических исследованиях. Это стало привычным. Не так давно канал Культура рассказывал зрителям о китайской традиционной архитектуре. Показали вырубленную в скале плиту весом 86 000 тонн. Объяснение в общих чертах такое: «Китайский император, якобы, имел отклонения в психике на почве гигантского самолюбия и заказал себе немыслимых размеров гробницу. Он сам, архитекторы, тысячи каменотёсов, якобы, были психически неполноценными и в части логики. Десятилетиями все они осуществляли мегапроект. Вырубили, наконец, плиту и тут только поняли, что даже с места сдвинуть её не смогут. Ну и бросили это дело…» Похоже на наш случай.
То, что Царь-пушка – это не просто всплеск энтузиазма московских литейщиков, доказывает и существование ещё более громадного орудия Малик-э-Майдан (Рис. 4, Рис. 5). Оно было отлито в Ахман-дагаре в Индии в 1548 году, и имеет массу целых 57 тонн. Там историки тоже поют песни о 10 слонах и 400 буйволах, тащивших эту пушку. Это такое же по назначению осадное орудие, как Царь-пушка, только тяжелее на 17 тонн. Что это, второй исторический казус в это же историческое время? И сколько ещё таких орудий надо обнаружить, чтобы понять, что их в то время отливали, доставляли к осаждённым городам и практически использовали? Если мы сегодня не понимаем, как это происходило, значит, таковы наши познания.
Я считаю, что здесь мы снова сталкиваемся с остаточно-низким уровнем нашей сегодняшней технической культуры. Это связано с искажённым научным мировоззрением. С современных позиций мы не видим решения, которое было в то время очевидным. Остаётся сделать вывод, что ещё в 16 веке на Руси и в Индии знали что-то такое, что позволяло перемещать подобные грузы.
Упадок артиллерийских технологий в средние века
На примере бомбард можно увидеть очевидную деградацию артиллерийского искусства на протяжении столетий средневековья. Первые образцы изготавливались из двухслойного железа. Внутренний слой был сварен из продольных полос, а снаружи его укрепляли толстые поперечные кольца. Через некоторое время стали изготавливать литые орудия из бронзы. Это однозначно снизило их надёжность, и соответственно, увеличило вес. Любой инженер вам подтвердит, что кованое железо на порядок прочнее литой бронзы. Тем более, если оно собрано, как описано выше – двухслойным пакетом с направлением волокон соответствующим действующим нагрузкам. Вероятно, причина в стремлении удешевить процесс изготовления.
Конструкция первых бомбард тоже удивительно прогрессивна. Например, сегодня вы не найдёте современных образцов стрелкового оружия, которые заряжались бы со стороны дульного отверстия. Это очень примитивно. Уже полтора столетия в ходу заряжание с казённой части. В таком способе масса преимуществ – и скорострельность выше, и обслуживание орудия удобнее. Недостаток один – более сложная конструкция с запиранием казённой части ствола на момент выстрела.
Как интересно, что первые же в истории орудия (бомбарды), сразу имели прогрессивный способ заряжания с казённой части. Казённик часто крепился к стволу с помощью резьбы, то есть, ввинчивался. Такая конструкция некоторое время сохранялась и в литых орудиях. Посмотрите на Рис. 6. Здесь сравнивается турецкая бомбарда и Царь-пушка. По геометрическим параметрам они очень похожи, но Царь-пушка, отлитая на сотню лет позже, уже выполнена неразъёмной. Значит в 15…16 веках перешли на более примитивное дульное заряжание.
Вывод здесь может быть только один – первые бомбарды выполнялись состаточным знанием прогрессивных конструктивных решений артиллерийского оружия, а возможно, копировались с каких-то старых и более совершенных образцов. Однако технологическая база уже была довольно отсталой для этих конструктивных решений, и могла воспроизвести только то, что мы наблюдаем в средневековых орудиях. При таком уровне изготовления преимущества казённого заряжания уже практически не проявляются, но их упрямо продолжали делать казнозарядными, потому что не знали ещё, как можно по-другому. Со временем техническая культура продолжала деградировать, соответственно и орудия стали выполняться неразъёмными, по более упрощённой и примитивной схеме заряжания с дульной части.
Заключение
Вот и выстроилась логичная картинка. В 16 веке Московское княжество вело многочисленные боевые действия, как на востоке (взятие Казани), на юге (Астрахань), так и на западе (войны с Польшей, Литвой и Швецией). Пушку отлили в 1586 году. Казань к этому времени уже взяли. С западными странами было установлено шаткое перемирие, более похожее на передышку. Могла ли Царь-пушка быть востребована в этих условиях? Да, безусловно. От наличия стенобитной артиллерии зависел успех военной кампании. Города-крепости западных соседей надо было как-то брать. Иван Грозный умер в 1584 году, за 2 года до отливки пушки. Но именно он определил потребность государства в подобных орудиях, и процесс их изготовления был запущен. Вот как развивались события:
«С 1550 г. по 1565 г. на московском Пушечном дворе работами руководил Кишпир Ганусов (Ганус), по национальности, видимо, немец. В летописях встречаются упоминания об одиннадцати орудиях, им отлитых, но до нас не дошло ни одно. Самое большое медное орудие, отлитое Ганусовым в 1555 г., было названо Кашпирова пушка. Вес её составлял 19,65 т. В том же 1555 году московский мастер Степан Петров отлил пушку «Павлин» весом 16,7 т… Любопытно, что обе огромные пушки Иван Грозный повелел доставить к осажденному русскими Полоцку. 13 февраля 1563 г. царь приказал воеводе князю Михаилу Петровичу Репнину «пушки болшие Кашпирову да Степанову да Павлин да Орел да Медведь и весь наряд стенной и верхней поставити близко городских ворот» и стрелять «без опочивания, день и нощь». От этой стрельбы дрожала земля – «ядра у болших пушек по двадцети пуд, а у иных пушек немногим того полегче». На следующий день ворота были разрушены, и сделано несколько проломов в стене. 15 февраля Полоцк сдался на милость победителям. В 1568 г. молодой ученик Кашпира Андрей Чохов (до 1917 г. его писали Чехов) отлил своё первое орудие… Самым знаменитым орудием Андрея Чохова стала Царь-пушка (1586 г.)» (Александр Широкорад «Чудо-оружие Российской империи»).
При Иване Грозном было отлажено производство подобных орудий и освоено их применение, включая транспортировку. Однако, волевая государственная хватка пропала после его смерти и вступления на престол преемника. Фёдор 1 Иоаннович был человеком совсем другого склада. В народе его называли безгрешным и блаженным. Вероятно, стараниями последователей Ивана Грозного заказ на изготовление Царь-пушки всё же был сформирован. Однако, величие творения Андрея Чохова всё же превышало запросы нового царя. Поэтому Царь-пушка осталась невостребованной, хотя боевые действия с применением осадной артиллерии велись уже спустя 4 года (русско-шведская война 1590-1595 года).
Вывод
Царь-пушка – настоящая. Антураж вокруг неё – бутафория. Сформированное общественное мнение о ней – ложно. Царь-пушка должна удивлять нас гораздо больше, чем древние мегалиты. Ведь они удивительны тем, что огромные камни весом в несколько тонн доставлены… подняты… поставлены… и т.д. В 16 веке ничего принципиально нового, отличного от неолита в транспортировке и погрузке (согласно официальной точке зрения) не применялось, а 40-тонное орудие транспортировали. Кроме того, камни ставили один раз и на века, а не менее тяжёлую пушку предполагалось многократно перемещать на огромные расстояния.
Она тем более удивительна, что была изготовлена сравнительно недавно, ещё в 16 веке. Ведь про время мегалитов учёные вольны фантазировать, как им вздумается – сотни тысяч рабов, столетия строительства и т.д., но про 16 век много чего известно. Тут с фантазиями не разгуляешься.
В кремле выставлено на обозрение настоящее чудо, замаскированное под нелепость, но мы его не замечаем, потому что зомбированы пропагандой, ложными гипотезами и мнением авторитетов.
Алексей Артемьев
Источник
ss69100.livejournal.com
Царь-пушка стреляла — Ассоциация блогеров Санкт-Петербурга — LiveJournal
Долгое время было не понятно, стреляли из Царь-пушки хоть раз или нет, и если последнее, то тогда зачем её вообще отлили.
Пушка, конечно, знатная и по виду, и по происхождению. Появилась она с личного указа молодого русского царя Федора Иоанновича, сына Ивана Грозного, недавно взошедшего на престол. Отлил её на московском Пушечном дворе известный литейщик своего времени Андрей Чохов в конце XVI века. Отлит изначально, кстати, был только ствол, а музейные ядра и лафет изготовили лишь несколько столетий спусти, в веке XIX.
Но и без них это было страшное орудие сорока тонн веса и почти метрового калибра при длине ствола лишь в пять с половиной метров. Рельеф конного царя Федора придавал орудию царственный статус Царь-пушки.
Основных доводов за то, что пушка никогда не стреляла, а лишь служила олицетворением мощи русского оружия, пугая заезжих в столицу послов и купцов, два: во-первых, сам царь Федор был скорее миролюбивым строителем, возводившим новые города, чем кровожадным воителем, их разрушающим. Во-вторых, физика против: если зарядить пушку двухтонным ядром и количеством пороха, способным его вытолкнуть, то ствол не выдержит такого взрыва и разорвется в клочья. И даже если ствол выдержит, то лафет, точно, не сдюжит и разлетится на части.
Хотя если учесть, что в те времена стреляли не железными ядрами, а каменными, то, в принципе, в практическое применение Царь-пушки можно поверить. Тем более надо учитывать, что это не просто пушка, а бомбарда, по-современному мортира, т.е. пушка для осадного огня навесом. А при таком типе стрельбы никакого лафета не нужно – пушку просто вкапывали в землю, которая и поглощала ту ужасной силы отдачу, которую претерпевала бомбарда при каждом залпе. Скорострельность таких орудий была низкой, но пробивная мощь фантастически сокрушительной.

В итоге, современным баллистам и химикам при помощи современных методов анализа поверхности ствола пушки царя Федора Иоанновича удалось выяснить, что Царь-пушка таки стреляла. Однако сказать точно, сколько раз из неё палили, и быль ли это боевой огонь или всего лишь испытательный, на данный момент не представляется возможным.
goodspb.livejournal.com
Как царем из Царь-пушки стреляли
17 мая. О самом интересном событии этого дня, как обычно, расскажу в рубрике “Жили-были”. История совсем необычная, но поучительная. А от вас потребуется позвонить и поздравить с именинами близких — Климентия, Пелагею, Никифора, Флориана.
1606 год приходится на разгар Смутного времени. Борьба за власть, российский престол после смерти сына Ивана Грозного, царя Федора, который не оставил наследника. А его жена стала лишь номинальной царицей. В этот день произошло самое необычное и изобретательное “цареубийство”. Почему в кавычках? Скорее это был самозванец, но правды мы уже никогда не узнаем. Всей этой истории предшествовали важные события, о которых стоит упомянуть.
Считается, что младший сын царя Ивана играл в ножичек и в припадке эпилепсии упал на него. Да так удачно, что перерезал себе горло. Злые языки говорили, что трагедия была подстроена Годуновым, который так хотел стать царем, что “кушать не мог”. Мы об этом не знаем. Но в любой ситуации нужно искать того, кому это выгодно. С другой стороны, Дмитрий был сыном от шестого брака Грозного, и избранный царем Годунов не особо боялся его притязаний на трон.
Годунов взошел на трон спустя 7 лет после гибели Дмитрия Иоанновича. Но и царский век бывает недолог. Борис обозревал Москву с вышки, ему стало дурно. Лекарь не смог помочь, из ушей и рта пошла кровь, и царь отправился в мир иной. Последние годы Годунова были омрачены слухами о “чудесном спасении” царевича Дмитрия, и его претензий на тятин престол.
Кто же этот Лжедмитрий, который выдавал себя за законного наследника Грозного. Версий много, но наиболее достоверной можно считать историю про молодого монаха Чудова монастыря, который влюбился с первого взгляда в польскую красавицу Марину Мнишек из разорившегося рода аристократов. Возможно его звали Юрий Отрепьев. Кстати, монахи того времени, в отличии от устоявшегося мнения, были самыми образованными людьми.
Но что светило бедному монаху в сватаньях к дамочке благородного рода? Кукиш, не более. Смышленый юноша придумал интересный ход. Устроившись на службу к князю Адаму Вишневецкому, в горячечном бреду признался исповеднику, что он и есть сын Ивана Грозного! Какая красавица устоит перед искушением стать царицей. Опустим подробности, но все помнят, что с помощью польского войска Лжедмитрию удалось занять московский престол. Удивительно, что даже мать Дмитрия признала его настоящим сыном.
Марина Мнишек, несмотря на протесты папы римского, была миропомазана и бракосочеталась с новоиспеченным русским царем. С этого момента и начались неприятности. Пока весь народ, включая стражу и самого царя несколько дней отдавали должное винной коллекции кремлевских подвалов, в Москве начался бунт.
По приказу Шуйского ударили в набат в одной церкви, а другие подхватили, думая, что пожар. Сам зачинщик восстания во главе вооруженных рогатинами мятежников ворвался через Спасские ворота в Кремль. Царь с перепугу выпрыгнул во двор из окна, где и был захвачен толпой. Один из боярских сыновей выстрелил в монарха в упор, сказав: “Что толковать с еретиком: вот я благословляю польского свистуна!” Так погиб Лжедмитрий, всего на девятый день после свадьбы.
На этом злоключения не закончились, его труп отправили в морг для алкоголиков и бездомных, а потом выбросили на площадь на поругание толпе. Ну и это еще не все! Спустя несколько дней останки царя сожгли, прах смешали с порохом и этой смесью выстрелили из пушки. Это был единственный известный выстрел (зато какой!) знаменитой Царь-пушки.
Марине Мнишек повезло больше. По привычке она выйдет замуж за очередного Лжедмитрия, а потом ее заточат в Коломне в башне крепостных стен. Есть байка, что она не умерла, а обернувшись голубем выпорхнула на свободу из бойниц своей темницы. Но мы же в бабкины сказки не верим? Образованные же люди! Это же не мог быть голубь! Это была ворона! Использованы материалы wikipedia.org и открытых источников.
www.sboy.net
Лобин А. Пушка ли Царь-пушка?
Лобин А. Пушка ли Царь-пушка?
Сразу оговорюсь – столь тривиальное название данного очерка не случайно. С начала XIX в. и по сей день про детище мастера Андрея Чохова написано огромное количество текстов. По состоянию на июнь 2013 г. в интернете находилось до полумиллиона страниц с упоминанием «царь-пушки». Но до сих пор ведутся споры – к какому виду принадлежало орудие, стреляли из него или нет?
В 1727 г. И. Кирилов закончил свой труд «Цветущее состояние Всероссийского государства…», который был составлен на основе справок, запрошенных Сенатом в последние годы царствования Петра Первого. В отчете Кирилова Царь-пушка впервые упоминалась как «дробовик» калибром 1500 фунтов. До 1745 г. Царь-пушка лежала в Китай городе у Лобного места на раскате, внутри которого еще в 1626 г. были устроены винный погреб и трактир. 15 мая «большой Дробовик», лежащий «на сводах двух винных фартин», был снят, поскольку под его тяжестью обваливались своды. В 1820 г. Царь-пушка была перевезена к Арсеналу. Через 15 лет для орудия на чугунолитейном заводе Берда отлили декоративный лафет, чугунные ядра калибром 120 пудов. С тех пор вот уже 178 лет возле Царь-пушки красуется табличка «Дробовик Российский, лит 1586 г., вес ядра 120 пуд», которая до сих пор сбивает столку посетителей.

Царь-пушка в рисунках А.Висковатова «описание одежды и вооружения российских войск…»
Пожалуй, только Н.Е.Бранденбург высказал «крамольную» мысль, при этом ни разу не назвав ее «дробовиком»: «Пушка эта, стоящая ныне в московском кремле и составляющая предмет удивления простого народа, украсившего ее разными преданиями, заслуживает внимания более как грандиозный образчик древнего литейного дела, а никак не со стороны практического ее значения, в смысле боевого артиллерийского орудия, потому что едва-ли она в состоянии была выдержать хотя один выстрел. Целью ее изготовления, по всей вероятности, было похвастать, если даже не попугать татарских послов, ехавших в Москву».
В XX в., в советское время, появились новые трактовки о предназначении гигантского орудия. «Да ведь это не пушка и даже не гаубица, а мортира!» — восклицали авторы популярной книги 1938 г. «Артиллерия».
В 1950 г. профессор Н.И.Фальковский опубликовал свой фундаментальный труд «Москва в истории техники». В нем он привел результаты обмеров 1946 г. Царь-пушки и высказал ряд своих наблюдений.

Измерения Н.И.Фальковского
По его словам, «Отношение длины к калибру равно 6. Таким образом, по своему типу царь-пушка является мортирой (…) Характерно, что она называлась «Дробовик российский», т.е. была рассчитана на стрельбу каменным «дробом» (картечью), а не ядром. Назначением пушки являлось защищать Кремль от сосредоточенных полчищ врагов и прежде всего татар, появлявшихся со стороны Замоскворечья». Таким образом, Фальковский объединил две версии в одну. Царь-пушка – это якобы мортира-дробовик. Подобной же версии придерживался В.Гордеев, автор брошюры «Царь-пушка». Е.Немировский, автор биографической работы о литейщике Андрее Чохове полагает, ссылаясь на описи XVII в., что гигантское орудие – не что иное, как мортира.
Надо сказать, что в советское и постсоветское время сложился и получил распространение ряд легенд, которых периодически можно встретить не только в популярной, но и даже в научной литературе. Дескать, то из Царь-пушки стреляли всего один раз, в 1606 г. прахом Лжедмитрия I (Л.Гумилёв), что орудие было создано всего для одного выстрела, но очень страшного – на случай, если татары прорвутся в Кремль…
Одно из последних «открытий» принадлежит перу публициста Александра Широкорада. Изыскания сего автора о древней артиллерии изобилуют таким количеством откровений, что пропустить очередную порцию я никак не мог. В заметке с громким названием «Царь-пушка – вовсе не пушка: что же стоит в Кремле» Александр Борисович, опираясь на некие никому неизвестные черновые записи обследования 1980 г., писал: «Отчет по каким-то причинам опубликован не был, но из сохранившихся черновых материалов становится ясно, что Царь-пушка… не была пушкой!» — орудие Чохова, по его словам, является не пушкой, а бомбардой.
В настоящий момент можно насчитать шесть версий о предназначении Царь-пушки:
1. Царь-пушка – это не пушка, а дробовик.
2. Царь-пушка – это не дробовик, а мортира.
3. Царь-пушка – это мортира, стрелявшая дробом
4. Царь-пушка – это не мортира, а гаубица.
5. Царь-пушка – это не гаубица, а пушка.
6. Царь-пушка – это не пушка, а бомбарда.
От такого количества взаимоисключающих версий кругом идет голова. Так что же стоит в Кремле — дробовик, мортира, гаубица, пушка или бомбарда?
Новые появляющиеся «исследования», к сожалению, не проясняют вопрос, а еще более его запутывают, поскольку содержат ряд совершенно феерических измышлений. Например, А.Б.Широкорад, «ничтоже сумняшеся» заявляет, что, оказывается, Царь-пушка никогда не была пушкой, потому как это «большевики в 1930-х годах решили в пропагандистских целях повысить ее ранг и стали величать пушкой». Надо полагать, большевики были мастерами фальсификаций. Именно они, для того чтобы сбить с толку народ, подделали запись в Пискаревском летописце («Того же году повелением государя царя и великого князя Феодора Ивановича всеа Русии слита пушка большая, такова в Руси и в ыных землях не бывала, а имя ей “Царь”»), и, надо полагать, это они затем перебили литые надписи на самом стволе: «Повелением благоверного и христолюбивого царя и великого князя Федора Ивановича государя самодержца всея великия Россия при его благочестивой и христолюбивой царице великой княгине Ирине слита бысть сия пушка в преименитом граде Москве лета 7094 в третье лето государства его. Делал пушку пушечный литец Андрей Чохов».
Если отойти от сарказма, то автограф мастера на стволе весьма ценен для определения более точной датировки. Указание на 7094 год и «третье лето государства» Федора Ивановича позволяет определить временные рамки, в которые и было изготовлено орудие: 18 марта — 31 августа 1586 г.
Теперь необходимо разобраться с терминологией – так что же называли пушкой в XVI в.? Значение термина на протяжении веков могло меняться, и термин «пушка» — не исключение. В нарративных и делопроизводственных источниках того времени артиллерия («дела верхние и дела великия», «огнестрельный наряд», «болшой наряд стенной и верьхней») делилась на «пушки, пушки верховые и пищали». Обратим внимание — термины «пушки», «пушки верховые» и «пищали» не тождественны друг другу, в документах они всегда разнятся между собой, в отличие от более поздних актов XVII в. Источники XVI в. четко разграничивали длинноствольные орудия «пищали», стрелявшие по настильной траектории, и орудия, стрелявшие по навесной траектории — «пушки». В качестве примера приведу перечень артиллерии, отправленной в Ливонский поход 1577 г. Со слов «пометил государь наряду» начале перечисляются «пищали» от 100 до 30 фунтов калибром, а также «деветнатцеть пищалей полуторных — ядро по 6 гривенок, две пищали скорострелных с медеными ядры по гривенке». Затем идут шесть «пушек» (ядра от 13 до 6 пудов), а далее — «пушки верхние» (ядром от 6 до 1 ¼ пуда). Рассмотрим значения вышеуказанных терминов. «Пушки верховые» — это короткоствольные мортиры калибром от 1 ¼ до 6 пудов, пускавшие ядра «верхом», т.е. по навесной траектории. Но что же тогда называли в разрядах просто «пушками»? Если сопоставить упомянутые в источниках XVI в. «именные» орудия («Кашпирова пушка», «Степанова пушка», «Пушка Павлин» и др.) с их описаниями в архивных документах Пушкарского приказа за 1694—1695 гг., то можно заметить, что «пушками» названы гигантские бомбарды, по сути — мортиры с удлиненными стволами, которые выстреливали огромные ядра весом от 6 до 20 пудов. Русские пушки – это по сути аналог имперских «Hauptbüchsen» и «Hauptstücken». Длина ствола доходила до 8—10 калибров, так например у «Кашпировой пушки» ствол был длиной 4600 мм (калибр ок. 660 мм), у «Степановой пушки» — 4300 мм (ок. 600 мм), у «Павлина» 1488 г. длина ок. 4000 мм (калибр ок. 550 мм). В отличие от «верховых пушек» они не имели цапф и станков (см.сравнение пропорций Рис.3). Ствол укладывали в специально оборудованное из тяжелых брусьев ложе, имевшее сзади наклоненный вниз хвостовик-рикошетник, чтобы отдачу направить также вниз. В зависимости от заданного угла возвышения можно было стрелять как по навесной, так и по настильной траектории. То обстоятельство, что со временем термин «пушка» потерял свое первоначальное значение, необходимо принимать в расчет при работе с документами XVI в. Таким образом, Царь-пушка по терминологии и является пушкой, т.е. гигантской бомбардой.

Сравнение пропорций мортиры и Царь-пушки
Обращение к архивным документам — «Книге приходо-расходной пушкам и пищалей» 1694 г., а также фрагментам Описи московских орудий 1695 г. – помогает установить калибр «Царь-пушки» в каменных ядрах. Артиллерийские специалисты в конце XVII в. записали: «В Китае-городе у Лобного места на роскате пушка Царева, ядро каменное весом 52 пуда…». Приведенная цитата не является свидетельством того, что для чудо-орудия были сделаны известняковые ядра. Просто в XVI-XVII вв. калибр определялся по «розмерному пруту» — шкале Гартмана, которая представляла собой брусок, на гранях которого нарезаны весовые калибры для свинцовых, железных и каменных ядер. Прикладывая брусок к жерлу орудия, можно было определить вес снаряда. В XVII в. должностные лица – «пушкарские головы» — определили по диаметру жерла, что для этой бомбарды могут подойти каменные ядра весом в 52 пуда.
Теперь, наконец, переходим к последнему вопросу – стреляли из орудия или нет? Если возвратиться к opus`у А.Б.Широкорада, то можно обнаружить в нем на следующее «заключение»: «Точку в споре, стреляла ли Царь-пушка, поставили в 1980 году специалисты из Академии им. Дзержинского. Они исследовали канал орудия и по ряду признаков, в том числе по наличию частиц сгоревшего пороха сделали вывод, что из Царь-пушки стреляли, по крайней мере, один раз». На мой взгляд, точку уже давно Широкорад поставил … на своей репутации как «историка артиллерии». То у него пушки применялись татарами на Куликовом поле в 1380 г., то у него из Царь-пушки, оказывается, стреляли. Зачем придумывать какие-то неопубликованные «черновые записи отчета 1980 г.» и само «заключение», если результаты обследования были … опубликованы еще в 1984 г., в сборнике Института истории естествознания и техники Академии наук СССР (Захариков Г.М. О боевом назначении Царь-пушки» С.31-45) И надо отметить, что выводы специалистов были совершенно противоположные инсинуациям Широкорада.
В 1980 г. действительно, перед Олимпиадой Царь-пушка была отвезена на реставрацию. Исследование ствола проводила группа специалистов под руководством «оружейника» М.Е.Портнова, в качестве технического консультанта был приглашен инженер Г.М.Захариков. так вот, в ходе тщательного изучения выяснено, что у Царь-пушки … отсутствует запальное отверстие, через которое поджигался заряд! Проф. Фальковский ошибочно посчитал в 1946 г., что запал имелся – поэтому и изобразил его на чертеже. У Царь-пушки присутствует раковина, есть намётки запала (ок.10 мм в диаметре), но самого канала, идущего до казенной части, нет. К тому же внутренняя камера ствола не зачищена после отливки, на ней имеются приливы — остатки металла по краям формы, которые образуются в процессе литья. Если бы из пушки стреляли, то эти остатки бронзы удалились бы. Но этого не произошло. Два этих факта являются неоспоримыми свидетельствами, что из Царь-пушки не стреляли.
Интересно, что согласно техническому заключению, в случае, если бы орудие было законченным, то из неё можно было стрелять каменными ядрами до 750 кг (вспомним, что в соответствие с диаметром ствола, в XVII в. теоретический вес ядра считали в «52 пуда», т.е.832 кг) при заряде «черного» пороха в 84 кг.
Современный исследователь С.Н.Богатырев (Bronze Tsars: Ivan the Terrible and Fedor Ivanovich in the Décor of Early Modern Guns // SEER, Vol. 88, Nos. 1/2, January/April 2010. P. 66-67) справедливо полагает, что Царь-пушка была создана в демонстративных целях для укрепления позиций Федора Ивановича (и естественно Б.Годунова) в период волнений в Москве после смерти Ивана. Также большую роль играл и дипломатический фактор, поскольку в Речи Посполитой царя Федора не считали серьезным правителем, а пушка, находившаяся на виду у всех посольств, въезжавших в Кремль, должна была продемонстрировать воинственность сына Ивана Грозного и показать его величие.
Итак, выводы можно сделать следующие:
1. Царь-пушка, как это не банально звучит, была пушкой. Названа она была не столько из-за внушительных размеров, сколько из-за барельефного украшения – конного изображения царя Федора Ивановича
2. Пушками в XVI в. называли гигантские бомбарды, которые стреляли как большими каменными ядрами («в колено человеку и в пояс»), так связками железных ядер, окованными свинцовыми полосами.
3. Царь-пушка была создана в демонстративных целях для укрепления позиций царя Федора после прошедших волнений в Москве, а также для демонстрации мощи государства приезжавшим посольствам.
4. Царь-пушка представляет собой образец наступательного вооружения – стенобитных («осадных») бомбард XVI в.
5. Царь-пушка никогда не стреляла.

Автор благодарит за консультации проф.С.Н.Богатырева, с.н.с. Оружейной палаты, к.и.н. С.П.Орленко.
www.milhist.info
А Царь-Пушка то настоящая ?

Официально, Царь-пушка – средневековое артиллерийское орудие, памятник русской артиллерии и литейного искусства, отлитое из бронзы в 1586 году русским мастером Андреем Чоховым на Пушечном дворе. Длина пушки – 5,34 м, наружный диаметр ствола – 120 см, диаметр узорного пояса у дула – 134 см, калибр 890 мм (35 дюймов), масса – 39,31 т (2400 пудов).
С первого профессионального взгляда на Царь-пушку становится понятно, что вот этим стрелять нельзя. Вообще-то, худо-бедно стрелять можно почти из всего – из обрезка водопроводной трубы, из лыжной палки и т.д. Но этот артиллерийский комплекс, выставленный на обозрение в Кремле – настоящая бутафория. Или нет ?
Давайте разбираться подробнее …

В народе ходит много заблуждений про неё. Например: «В России была самая мощная и передовая в мире производственно-технологическая база изготовления чугуна, памятниками которой и являются эти уникальные артефакты (это про Царь-колокол и Царь-пушку, – авт.)… уже давно доказано, и есть документальные подтверждения того, что Царь-пушка реально стреляла» .
По колоколу и так понятно. Их делают исключительно из бронзы, причём не любой, а специального состава. Ну, а пушки, конечно, разные бывают. Для этого в тяжёлые времена наш замечательный народ использовал даже берёзовый кап. Брали плотную кряжистую берёзовую заготовку, делали в ней отверстие, оковывали железными полосами, прожигали маленькое отверстие в казённой части для запала и вот пушка готова. В 17…19 веках их, в основном, уже лили из чугуна. Но Царь-пушка всё-таки бронзовая.
О документальных доказательствах того, что пушка стреляла, замечание важное. Действительно, в народе крутится информация о том, что некие специалисты точно установили… обнаружили… и т.д. Слух этот запущен журналистами. О том кто, и что действительно установил, будет подробно рассказано ниже. Также рассмотрим вопрос о другом заблуждении, которое бродит в учёных умах. Многие из них считают, что Царь-пушка, это огромный дробовик. Очень удобное мнение, которое позволяет историкам объяснять многие загадки, связанные с ней. На самом деле, это не так, что и будет убедительно показано.
Бытует и ещё одно устойчивое заблуждение, заставляющее сомневаться в разумности человеческой природы. Утверждают, что Царь-пушка изготовлена, чтобы пугать иностранцев, в особенности послов крымских татар. Нелепость этого утверждения тоже станет очевидной, по мере прочтения статьи.
Какие можно привести аргументы:
Во-первых, бросаются в глаза чугунные ядра, которые в 19 веке и стали источником тех самых разговоров о декоративном назначении пушки. В 16 веке пользовались каменными ядрами, а они в 2,5 раза легче выставленных чугунных. Можно совершенно точно сказать, что стенки пушки не выдержали бы давления пороховых газов, при выстреле таким ядром. Конечно, это понимали, когда их отливали на заводе Берда.
Во-вторых, бутафорский лафет, отлитый там же. Стрелять с него нельзя. При выстреле штатным каменным 800 килограммовым ядром из 40 тонной Царь-пушки, даже с небольшой начальной скоростью 100 метров в секунду, произойдёт следующее:
- расширяющиеся пороховые газы, создавая повышенное давление, будут как бы раздвигать пространство между ядром и дном пушки;
- ядро начнёт двигаться в одном направлении, а пушка – в противоположном, при этом скорость их движения будет обратно пропорциональна массе (во сколько раз легче тело, во столько раз быстрее полетит).

Масса пушки всего лишь в 50 раз больше массы ядра (в автомате Калашникова, например, это соотношение порядка 400), поэтому, когда ядро полетит вперёд со скоростью 100 метров в секунду, пушка покатится назад со скоростью около 2 метров в секунду. Эта махина остановится не сразу, всё-таки 40 тонн. Энергия отката будет приблизительно равна жёсткому удару КАМАЗа в препятствие на скорости 30 км/час.
Царь-пушку сорвёт с лафета. Тем более, что она просто лежит на нём сверху, как бревно. Удержать всё это может только специальный скользящий лафет с гидравлическими демпферами (гасителями отката), и надёжным креплением орудия. Уверяю вас, это и сегодня довольно внушительное устройство, а тогда такого просто не было. И всё это не только моё мнение: «В настоящее время Царь-пушка находится на чугунном декоративном лафете, а рядом лежат декоративные чугунные ядра, которые отлили в 1834 г. в Петербурге на чугунолитейном заводе Берда. Понятно, что ни стрелять с этого чугунного лафета, ни использовать чугунные ядра физически невозможно – Царь-пушку вдребезги разнесёт!» (Александр Широкорад «Чудо-оружие Российской империи»).
Поэтому, тот артиллерийский комплекс, который нам показывают в Кремле под названием Царь-пушка, это гигантская бутафория.

Классическая бомбарда
Сегодня упорно муссируются гипотезы о применении Царь-пушки в качестве дробовика. Мнение очень удобное для историков. Если это дробовик, то его таскать никуда не надо. Поставил к бойнице и всё, жди врага.
То, что отлил Андрей Чохов в 1586 году, то есть, сам бронзовый ствол, действительно могло бы стрелять. Только выглядело бы это совсем не так, как думают многие. Дело в том, что по своей конструкции Царь-пушка это не пушка, а классическая бомбарда (Рис. 1). Пушкой называется орудие с длиной ствола от 40 калибров и выше. У Царь-пушки длина канала ствола всего 4 калибра. А для бомбарды это как раз нормально. Они часто имели внушительный размер, и применялись для осады, как стенобитное орудие. Чтобы разрушить крепостную стену, нужен очень тяжёлый снаряд. Для этого и гигантские калибры.

Ни о каком лафете речь тогда не шла. Ствол просто прикапывали в грунт. Плоский торец упирали в глубоко забитые сваи (Рис. 2). Рядом копали ещё 2 окопчика для артиллерийского расчёта, поскольку такие орудия частенько разрывало. Заряжание иногда занимало сутки. Отсюда скорострельность подобных орудий – от 1 до 6 выстрелов в день. Но всё это стоило того, ибо позволяло сокрушать неприступные стены, обходиться без многомесячных осад и сокращать боевые потери при штурме.

Только в этом может быть смысл отливки 40 тонного ствола калибром 900 мм. Царь-пушка это бомбарда – стенобитное орудие, предназначенное для осады вражеских крепостей, а вовсе не дробовик, как некоторые склонны считать.
Вот и мнение специалиста по данному вопросу: «…В качестве же дробовика Царь-пушка была крайне неэффективна. По стоимости затрат вместо неё можно было изготовить 20 малых дробовиков, на заряжание которых нужно не сутки, а всего 1-2 минуты. Замечу, что в официальной описи «При Московском арсенале состоящей артиллерии» на 1730 г. числилось 40 медных и 15 чугунных дробовиков. Обратим внимание на их калибры: 1500 фунтов – 1 (это и есть Царь-пушка), а затем следуют калибры: 25 фунтов – 2, 22 фунта – 1, 21 фунт – 3 и т.д. Наибольшее число дробовиков, 11, приходится на 2-фунтовый калибр. Риторический вопрос: каким местом думали наши военные, записавшие Царь-пушку в дробовики?..» (Александр Широкорад «Чудо-оружие Российской империи»).

Царь-пушка никогда не применялась по назначению
Как было сказано в начале статьи, ходят слухи о неких «документальных подтверждениях» того, что Царь-пушка стреляла. Вообще-то, имеет большое значение не только факт выстрела, но ещё и чем она стреляла, и при каких обстоятельствах. Ядра, которыми заряжали пушку, могли быть разного веса, и навеска пороха могла быть разная. От этого зависит давление в канале ствола и мощность выстрела. Всего этого сейчас не определить. Кроме того, если из орудия были произведены пробные испытательные выстрелы, то это одно, а если оно применялась в бою – совсем другое. Приведу по этому поводу цитату:
«Документы об испытаниях Царь-пушки или применении её в боевых условиях не сохранились, что дало основание позднейшим историкам для длительных споров о её назначении… Меньшая часть специалистов вообще исключает возможность боевого применения пушки, а изготовлена она, чтобы пугать иностранцев, в особенности послов крымских татар… Интересная деталь, в 1980 г. исследовавшие канал орудия специалисты из Академии им. Дзержинского сделали вывод, что из Царь-пушки стреляли, по крайней мере, 1 раз…» (Александр Широкорад «Чудо-оружие Российской империи»).

Кстати, отчёт этих самых специалистов по непонятным причинам не был опубликован. А раз отчёт никому не показывают, то его нельзя считать доказательством. Фраза «стреляли, по крайней мере, 1 раз» видимо кем-то из них была обронена в беседе или интервью, а то мы бы вообще ничего об этом не узнали. Если бы пушка использовалась по назначению, то неизбежно в стволе имелись бы не только частицы пороха, которые по слухам и были обнаружены, но и механические повреждения в виде продольных царапин. В бою из Царь-пушки стреляли бы не ватой, а каменными ядрами весом примерно 800 кг.

Должен быть и некоторый износ поверхности канала ствола. Иначе и быть не может, потому что бронза достаточно мягкий материал. Выражение «по крайней мере», как раз и свидетельствует о том, что кроме частиц пороха ничего существенного там обнаружить не удалось. Если это так, то пушка не применялась по назначению. А частицы пороха могли остаться от испытательных выстрелов. Точку в этом вопросе ставит тот факт, что Царь-пушка ни разу не покидала пределов Москвы:
«После того, как Царь-пушку отлили и отделали на Пушечном дворе, её перетащили к Спасскому мосту и уложили на землю рядом с пушкой «Павлин». Чтобы передвинуть орудие, к восьми скобам на его стволе привязывали верёвки, в эти верёвки впрягали одновременно 200 лошадей, и те катили пушку, лежащую на огромных брёвнах-катках. Первоначально орудия «Царь» и «Павлин» лежали на земле у моста, ведущего к Спасской башне, а Кашпирова пушка – у Земского приказа, располагавшегося там, где сейчас Исторический музей. В 1626 г. их подняли с земли и установили на бревенчатых срубах, плотно набитых землёй. Эти помосты назывались роскаты…» (Александр Широкорад «Чудо-оружие Российской империи»).
У себя дома применять стенобитное орудие по назначению как-то самоубийственно. В кого собирались стрелять 800 килограммовым ядром от стен Кремля? По живой силе противника 1 раз в день стрелять бессмысленно. Танков тогда не было. Наверное, ожидали появления Годзиллы. Разумеется, эти огромные стенобитные орудия были выставлены на всеобщее обозрение не с боевыми целями, а как элемент престижа державы. И, конечно, это не было их основным предназначением. При Петре I Царь-пушку установили на территории самого Кремля. Там она находится и по сей день. Почему она ни разу не использовалась в боевых действиях, хотя как стенобитное орудие вполне боеспособна? Может быть, причиной тому является её чересчур огромный вес? Реально ли было перемещать такое орудие на большие расстояния?

Транспортировка
Современные историки крайне редко задают себе вопрос: «для чего?». А вопрос – крайне полезный. Вот и давайте спросим, для чего было отливать осадное орудие весом 40 тонн, если бы его нельзя было доставить к вражескому городу? Для того, чтобы напугать послов? Вряд ли. Могли бы для этого изготовить дешёвый макет, и показывать его издалека. Зачем столько труда и бронзы тратить на блеф? Нет, Царь-пушку отлили, чтобы использовать её практически. Значит, могли и переместить. Как они могли это сделать?
40 тонн – это действительно очень тяжело. Такой вес не способен перевести грузовик КАМАЗ. Он рассчитан только на 10 тонн груза. При попытке погрузить на него пушку, сначала разрушится подвеска, затем погнётся рама. Для этого нужен тягач в 4 раза более прочный и мощный. А всё, что можно было изготовить из дерева, с целью удобной транспортировки пушки на колёсах, имело бы воистину циклопические размеры. Ось такого колёсного устройства была бы толщиной не менее 80 см. Дальше нет смысла представлять, всё равно никаких свидетельств о чём-то подобном нет. Везде написано, что Царь-пушку тащили, а не везли.

Посмотрите рисунок, на котором грузят тяжёлое орудие. К сожалению, здесь мы видим только сталкивание бомбарды с настила, а не сам процесс перемещения. Но на заднем плане видна транспортная платформа. У неё загнутая к верху носовая часть (защита от утыкания в неровности). Платформу явно использовали для скольжения. То есть, груз тащили, а не катили. И это правильно. Катки можно использовать только на ровной и твёрдой поверхности. Где такую найдёшь? Вполне понятно и то, что загнутая носовая часть окована металлом, ведь груз очень тяжёлый. Вес большинства стенобитных орудий не превышал 20 тонн.
Допустим, что основную часть пути они преодолевали по воде. Перемещение этих бомбард волоком на небольшие расстояния в несколько километров с помощью множества лошадей, тоже выполнимая задача, хотя и очень нелёгкая. Но можно ли сделать то же самое с 40 тонным орудием? Обычно такие исследования заканчиваются выражениями типа «исторический казус». Как будто решили недотёпы всех удивить, отлили что-то рекордно гигантское, а как тащить не подумали. Вот, дескать, как это по-русски – Царь-колокол, который не звонит и Царь-пушка, которая не стреляет.
Но мы не будем продолжать в этом духе. Давайте прощаться с мыслями о том, что наши правители были глупее сегодняшних историков. Довольно валить всё на неопытность мастеров и самодурство царей. Царь, сумевший занять этот высокий пост, заказавший 40 тонное орудие, оплативший его изготовление, был явно не дурак, и должен был очень хорошо обдумать свой поступок. Такие затратные вопросы с кондачка не решаются. Он совершенно точно понимал, как собирается доставить этот «подарок» к стенам неприятельских городов.

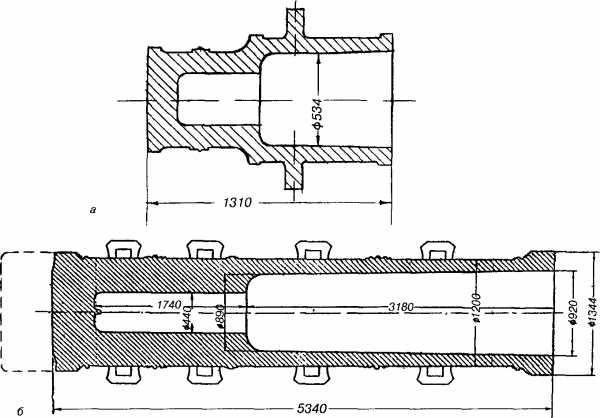
Конструкция стволов древних мортир А Чохова: а — Мортира «Самозванец», 1605 г.; б — «Царь-пушка», 1585 г .
Кстати, отговорка типа «сначала сделали, а потом подумали, как перетащить» довольно часто встречается в исторических исследованиях. Это стало привычным. Не так давно канал Культура рассказывал зрителям о китайской традиционной архитектуре. Показали вырубленную в скале плиту весом 86 000 тонн. Объяснение в общих чертах такое: «Китайский император, якобы, имел отклонения в психике на почве гигантского самолюбия и заказал себе немыслимых размеров гробницу. Он сам, архитекторы, тысячи каменотёсов, якобы, были психически неполноценными и в части логики. Десятилетиями все они осуществляли мегапроект. Вырубили, наконец, плиту и тут только поняли, что даже с места сдвинуть её не смогут. Ну и бросили это дело…» Похоже на наш случай.

Громадное орудие Малик-э-Майдан
То, что Царь-пушка – это не просто всплеск энтузиазма московских литейщиков, доказывает и существование ещё более громадного орудия Малик-э-Майдан (Рис. 4, Рис. 5). Оно было отлито в Ахман-дагаре в Индии в 1548 году, и имеет массу целых 57 тонн. Там историки тоже поют песни о 10 слонах и 400 буйволах, тащивших эту пушку. Это такое же по назначению осадное орудие, как Царь-пушка, только тяжелее на 17 тонн. Что это, второй исторический казус в это же историческое время? И сколько ещё таких орудий надо обнаружить, чтобы понять, что их в то время отливали, доставляли к осаждённым городам и практически использовали? Если мы сегодня не понимаем, как это происходило, значит, таковы наши познания.
Здесь мы снова сталкиваемся с остаточно-низким уровнем нашей сегодняшней технической культуры. Это связано с искажённым научным мировоззрением. С современных позиций мы не видим решения, которое было в то время очевидным. Остаётся сделать вывод, что ещё в 16 веке на Руси и в Индии знали что-то такое, что позволяло перемещать подобные грузы.

Упадок артиллерийских технологий в средние века
На примере бомбард можно увидеть очевидную деградацию артиллерийского искусства на протяжении столетий средневековья. Первые образцы изготавливались из двухслойного железа. Внутренний слой был сварен из продольных полос, а снаружи его укрепляли толстые поперечные кольца. Через некоторое время стали изготавливать литые орудия из бронзы. Это однозначно снизило их надёжность, и соответственно, увеличило вес. Любой инженер вам подтвердит, что кованое железо на порядок прочнее литой бронзы. Тем более, если оно собрано, как описано выше – двухслойным пакетом с направлением волокон соответствующим действующим нагрузкам. Вероятно, причина в стремлении удешевить процесс изготовления.
Конструкция первых бомбард тоже удивительно прогрессивна. Например, сегодня вы не найдёте современных образцов стрелкового оружия, которые заряжались бы со стороны дульного отверстия. Это очень примитивно. Уже полтора столетия в ходу заряжание с казённой части. В таком способе масса преимуществ – и скорострельность выше, и обслуживание орудия удобнее. Недостаток один – более сложная конструкция с запиранием казённой части ствола на момент выстрела.

Как интересно, что первые же в истории орудия (бомбарды), сразу имели прогрессивный способ заряжания с казённой части. Казённик часто крепился к стволу с помощью резьбы, то есть, ввинчивался. Такая конструкция некоторое время сохранялась и в литых орудиях. Посмотрите на Рис. 6. Здесь сравнивается турецкая бомбарда и Царь-пушка. По геометрическим параметрам они очень похожи, но Царь-пушка, отлитая на сотню лет позже, уже выполнена неразъёмной. Значит в 15…16 веках перешли на более примитивное дульное заряжание.
Вывод здесь может быть только один – первые бомбарды выполнялись с остаточным знанием прогрессивных конструктивных решений артиллерийского оружия, а возможно, копировались с каких-то старых и более совершенных образцов. Однако технологическая база уже была довольно отсталой для этих конструктивных решений, и могла воспроизвести только то, что мы наблюдаем в средневековых орудиях. При таком уровне изготовления преимущества казённого заряжания уже практически не проявляются, но их упрямо продолжали делать казнозарядными, потому что не знали ещё, как можно по-другому. Со временем техническая культура продолжала деградировать, соответственно и орудия стали выполняться неразъёмными, по более упрощённой и примитивной схеме заряжания с дульной части.

1894 год
Заключение
Вот и выстроилась логичная картинка. В 16 веке Московское княжество вело многочисленные боевые действия, как на востоке (взятие Казани), на юге (Астрахань), так и на западе (войны с Польшей, Литвой и Швецией). Пушку отлили в 1586 году. Казань к этому времени уже взяли. С западными странами было установлено шаткое перемирие, более похожее на передышку. Могла ли Царь-пушка быть востребована в этих условиях? Да, безусловно. От наличия стенобитной артиллерии зависел успех военной кампании. Города-крепости западных соседей надо было как-то брать. Иван Грозный умер в 1584 году, за 2 года до отливки пушки. Но именно он определил потребность государства в подобных орудиях, и процесс их изготовления был запущен. Вот как развивались события:
«С 1550 г. по 1565 г. на московском Пушечном дворе работами руководил Кишпир Ганусов (Ганус), по национальности, видимо, немец. В летописях встречаются упоминания об одиннадцати орудиях, им отлитых, но до нас не дошло ни одно. Самое большое медное орудие, отлитое Ганусовым в 1555 г., было названо Кашпирова пушка. Вес её составлял 19,65 т. В том же 1555 году московский мастер Степан Петров отлил пушку «Павлин» весом 16,7 т… Любопытно, что обе огромные пушки Иван Грозный повелел доставить к осажденному русскими Полоцку. 13 февраля 1563 г. царь приказал воеводе князю Михаилу Петровичу Репнину «пушки болшие Кашпирову да Степанову да Павлин да Орел да Медведь и весь наряд стенной и верхней поставити близко городских ворот» и стрелять «без опочивания, день и нощь». От этой стрельбы дрожала земля – «ядра у болших пушек по двадцети пуд, а у иных пушек немногим того полегче». На следующий день ворота были разрушены, и сделано несколько проломов в стене. 15 февраля Полоцк сдался на милость победителям. В 1568 г. молодой ученик Кашпира Андрей Чохов (до 1917 г. его писали Чехов) отлил своё первое орудие… Самым знаменитым орудием Андрея Чохова стала Царь-пушка (1586 г.)» (Александр Широкорад «Чудо-оружие Российской империи»).
При Иване Грозном было отлажено производство подобных орудий и освоено их применение, включая транспортировку. Однако, волевая государственная хватка пропала после его смерти и вступления на престол преемника. Фёдор 1 Иоаннович был человеком совсем другого склада. В народе его называли безгрешным и блаженным. Вероятно, стараниями последователей Ивана Грозного заказ на изготовление Царь-пушки всё же был сформирован. Однако, величие творения Андрея Чохова всё же превышало запросы нового царя. Поэтому Царь-пушка осталась невостребованной, хотя боевые действия с применением осадной артиллерии велись уже спустя 4 года (русско-шведская война 1590-1595 года).

Вывод
Царь-пушка – настоящая. Антураж вокруг неё – бутафория. Сформированное общественное мнение о ней – ложно. Царь-пушка должна удивлять нас, гораздо больше, чем древние мегалиты. Ведь они удивительны тем, что огромные камни весом в несколько тонн доставлены… подняты… поставлены… и т.д. В 16 веке ничего принципиально нового, отличного от неолита в транспортировке и погрузке (согласно официальной точке зрения) не применялось, а 40-тонное орудие транспортировали. Кроме того, камни ставили один раз и на века, а не менее тяжёлую пушку предполагалось многократно перемещать на огромные расстояния.
Она тем более удивительна, что была изготовлена сравнительно недавно, ещё в 16 веке. Ведь про время мегалитов учёные вольны фантазировать, как им вздумается – сотни тысяч рабов, столетия строительства и т.д., но про 16 век много чего известно. Тут с фантазиями не разгуляешься.
В кремле выставлено на обозрение настоящее чудо, замаскированное под нелепость, но мы его не замечаем, потому что зомбированы пропагандой, ложными гипотезами и мнением авторитетов.
С одной стороны, это образец гигантской бутафории 19 века, с другой – одно из крупнейших действующих средневековых орудий. Вместе с тем, она замечательный свидетель упадка артиллерийских технологий средневековья.
Оригинал взят у masterok в А Царь-Пушка то настоящая ?
slavikap-2.livejournal.com
Ящик пандоры – Царь-Пушка. Можно ли из неё выстрелить?

В этой статье: Что представляет собой Царь-Пушка? Кем и где она была создана? Для чего на самом деле её выставили на территории Кремля? Какой рекорд ей принадлежит? Где находятся её «близнецы» и неужели она ни разу не стреляла?
Царь-Пушка, как и Шапка Мономаха, знакома нам со школьной поры. Её фотографии есть почти в каждом учебнике или исторической энциклопедии. В разное время выпускались почтовые марки с её изображением. Ну, а в Москве её видел, пожалуй, каждый. Каждый турист, побывавший в Кремле, обязательно сделает сэлфи на её фоне. Ведь она не просто уникальная бомбарда и исторический памятник. Она демонстрирует искусство русских литейщиков и символизирует мощь российской артиллерии.

Но что ещё мы знаем о ней? Давайте ознакомимся с её интересной историей.
Внешний вид
Итак, рассмотрим поближе знаменитый памятник. Царь-Пушка сейчас находится в Москве на Ивановской площади недалеко от собора Двенадцати Апостолов. Она является дульнозарядным гладкоствольным орудием с самым большим калибром в мире. По длине ствола (у Пушки 6 калибров) по классификации 17 – 18 веков она считается бомбардой, по современной – мортирой. Отлита в Москве на Пушечном дворе в 1586 году.
Царь-Пушка – огромная бронзовая махина.Её вес 2 400 пудов, это почти 40 тонн. Длина достигает 5,3 метра, её диаметр по внешнему краю – 1,2 метра, а вместе с декоративным поясом и все 134 сантиметра. Её калибр составляет 35 дюймов (890 мм).

По длине ствол Пушки украшают четыре декоративных рельефных пояса, которые делят её на три равные части. С правой стороны почти у самого дула находится рельефное изображение всадника – царя Фёдора I Иоанновича (1557 – 1598), третьего сына Иоанна Грозного. Над ним написано:
По центру ствола находятся две надписи:
Царь-Пушка стоит на декоративном лафете из чугуна, который отлили в Санкт-Петербурге в 1835 году на заводе Берда. Художественное оформление разработал А. П. Брюллов, а чертёж подготовил П. Я. де Витте. Лафет украшен растительным орнаментом, спереди находится оскаленная морда льва, по бокам позади колёс изображены львы, пожирающие змей.

Перед Пушкой лежит пять чугунных ядер. Вес каждого достигает почти двух тонн. По мнению специалистов, стрелять ими Пушка не смогла бы.
«Отец» Царь-Пушки
Её создатель – Андрей Чохов – прославленный литейщик, колокольный и пушечный мастер. Даты его рождения нет, но считается, что он родился в 1545 году, а умер в 1629-ом. О его происхождении и личной жизни практически ничего неизвестно. До нас дошли лишь немногочисленные факты и результаты его трудов.
Известно, что литейному делу он учился у знаменитого пушечного мастера Кашпира Ганусова. Став знаменитым литейщиком, Чохов сам обучал многих учеников. Некоторые из них стали прославленными мастерами своего дела: П. Фёдоров, Г. Наумов, К. Михайлов и другие. С 1589 года и до своей кончины Андрей Чохов проработал в Москве на Пушечном дворе. За этот промежуток времени он создал более 20 различных артиллерийских орудий. Из них до нашего времени уцелело лишь несколько осадных пищалей разных калибров. Это пищали «Волк», «Лев», «Скоропея», и «Царь Ахиллес».

История и предназначение
Как было выше сказано, Царь-Пушку изготовили в 1586 году. Первоначально её установили у Лобного моста для обороны Красной площади. Так как лафет был отлит гораздо позднее, то она стояла на специальном настиле из брёвен, так называемом пушечном раскате. На этом месте Пушка стояла до 18 столетия, пока её не переместили к Спасским воротам – главным воротам Кремля. Спустя почти столетие Пушку поставили на лафет, описанный выше. И только в 1960-е годы Царь-Пушка «переехала» на то место, где мы видим её сегодня.

О предназначении Пушки споры идут до сих пор. По проведённому в 1980 году исследованию, советские специалисты пришли к выводу, что она предназначалась для ведения навесного огня дробом (небольшими каменными ядрами).

Но эту версию отвергают некоторые факты. Например, наличие приливов бронзы в стволе (они неизбежны при отливе орудий, но стираются вылетающим ядром при первом же выстреле). И, самое главное, у Пушки нет запального отверстия! А если невозможно зажечь порох, то и стрелять она не может по определению.
Так зачем было отливать такую громадину? Неужели лишняя бронза появилась?
По этому поводу есть некоторые предположения. Существует теория, что Пушку отлили для декоративных и демонстративных целей. Она должна была украсить собой Красную площадь, стать символом мощи и мастерства русских литейщиков, а также производить впечатление на послов, торговцев и прочих иностранцев. В общем, пустить пыль недругам в глаза и вызвать гордость у соотечественников.
«Близнецы» Царь-Пушки и её выдающийся рекорд
Она имеет своих двойников. Копия орудия стоит в Донецке перед зданием мэрии, ещё одно в Ижевске на территории предприятия «ОАО Ижсталь» и ещё одно в Йошкар-Оле.

Интересно, что Царь-Пушка попала в Книгу рекордов Гиннесса как пушка с самым большим калибром.
Источник: slavyanskaya-kultura.ru
pandoraopen.ru
