Баллистическая ракета подводных лодок Р-27 (4К10, РСМ-25)
Результаты, полученные при разработке отечественных баллистических ракет подводных лодок (БРПЛ) первого поколения (Р-11ФМ, Р-13 и Р-21), и сопоставление их с американскими достижениями в этой области (Polaris A1, Polaris A2) привели к постановке вопроса о необходимости качественного скачка в развитии морских стратегических сил. Ясны были и основные направления их развития: многократное увеличение боекомплекта ракет на подводной лодке; снижение габаритов ракет, боеголовок, пусковых установок (ракетно-стартовых систем) и ракетных шахт; автоматизация процессов обслуживания ракет при хранении, предстартовой подготовке и залповой стрельбе; всемерное повышение тактико-технических характеристик и эксплуатационных качеств ракет и ракетных комплексов и т.п. Целью разработки новых комплексов было обеспечение развития второй эффективной составляющей стратегических ракетных сил страны — морских стратегических ядерных сил. Для достижения этой цели был необходим значительный прогресс в отечественном морском ракетостроении.
24 апреля 1962 года вышло постановление Совета Министров СССР № 386—179 о разработке новой ракеты Р-27 комплекса Д-5 для вооружения новых атомных ракетных подводных лодок проекта 667А. Головным разработчиком по ракете и комплексу было назначено СКБ-385, главный конструктор — Макеев В. П. Разработка системы управления ракетой была поручена НИИ-592 (главный конструктор Семихатов Н. А.), а размещение комплекса на подводной лодке проекта 667А — ЦКБ-18 (главный конструктор Ковалев С.
Испытания комплекса Д-5 производились в три этапа. Первый этап бросковых испытаний натурных макетов Р-27 производился с затапливаемого плавстенда ПСД-5 в сентябре 1965 года. Было выполнено два пуска. В январе 1967 года начались испытания макетов ракет на Черном море с борта подводной лодки проекта 613Д5 (переоборудованная на заводе № 444 в Севастополе опытовая подводная лодка проекта 613Д7) в подводном положении. Задержка работ была связана с тем, что лодка была получена заказчиком только 23 декабря 1965 года. 18 января 1967 года с глубины 45 м при скорости лодки 3 узла, волнении моря 3 балла и скорости ветра 7-8 баллов был осуществлён первый пуск макета ракеты 4К10. Последнее, шестое испытание, было проведено 10 августа 1967 года. Параллельно проводился второй этап. Лётные испытания с наземного стенда на полигоне Капустин Яр производились с июня 1966 по апрель 1967 года. Всего было выполнено 17 пусков, из которых 12 признано успешными. Полномасштабные совместные лётные испытания Р-27 начались на Северном флоте на головной лодке проекта 667А — К-137 «Ленинец» в августе 1967 года.
Вместе с тем, по сравнению с БРПЛ вероятного противника все еще сохранялось значительное отставание — в ВМС США на вооружение уже поступили более совершенные БРПЛ Polaris A3 (1964 г., 4600 км, первая в мире БР с РГЧ рассеивающего типа, 3 ББ) и Poseidon C3 (1971 г., 4600 км, первая в мире БРПЛ с РГЧ ИН, 10 ББ). В 1968 году морские стратегические ядерные силы появились и у Великобритании — второй по мощи страны НАТО: на вооружение поступили БРПЛ Polaris A3T (вариант Polaris A3 с повышенной устойчивостью к ПФЯВ).
В 1971 году собственные БРПЛ M1 (2600 км) появились и у Франции, стремившейся проводить независимую от США ядерную политику.
В этих условиях 10 июня 1971 года было принято Постановление Совмина СССР о модернизации комплекса Д-5. Была поставлена цель создания двух вариантов модернизированной ракеты. В первом варианте предусматривалось оснащения ракеты головной частью с тремя боеголовками, с сохранением максимальной дальности стрельбы предыдущего варианта и улучшением точностных характеристик. По второму варианту предусматривалось увеличить дальность стрельбы с одновременным повышением точности. По второму варианту была создана ракета с дальностью 3000км и облегченной моноблочной термоядерной головной частью мощностью 1 Мт. Модернизированный вариант комплекса получил обозначение Д-5У, а ракеты — Р-27У.
Корабельные испытания ракет Р-27У проходили с сентября 1972 по август 1973 года. Было выполнено 16 пусков, все признаны успешными. Ракета Р-27У была принята на вооружение 4 января 1974 года постановлением Совета Министров № 8-5.
Комплексом Д-5У с ракетами Р-27У оснащались строящиеся атомные подводные ракетоносцы проекта 667АУ (4 штуки), а также лодки проекта 667А после модернизации (8 штук). Всего же на двух судостроительных предприятиях (судостроительные заводы в гг. Северодвинск и Комсомольск-на-Амуре) с 1967 по 1972 годы было введено в строй 34 РПКСН проектов 667А «Навага» и 667АУ «Навага» (по некоторым данным, РПКСН, строившиеся в Северодвинске, имели обозначение «Навага», а в Комсомольске-на-Амуре — «Налим»). Ракетоносцы, построенные по последнему проекту, кроме улучшенных ракет, имели сниженную шумность, модернизированные навигационный комплекс и системы связи и т.д. Кроме того, в 1981 году СКБ-385 была завершена модернизация комплекса Д-5, связанная с заменой моноблочной головной части на моноблочную ГЧ от комплекса Д-5У, что позволяло увеличить дальность стрельбы (комплекс Д-5М). При модернизации комплекса Д-5 и ракеты Р-27 специализированных конструкторских доработок систем РПКСН и систем ракетного комплекса, размещаемых на РПКСН («под ракету») не проводилось.
Описанные выше модификации были не единственными: первоначальным постановлением СМ от 24 апреля 1962 года о создании комплекса Д-5 предусматривалось создание также ракеты с самонаводящейся боевой частью, способной поражать движущиеся корабли. Противокорабельный вариант ракеты получил обозначение Р-27К (индекс ГРАУ 4К18). Испытания комплекса с ракетой Р-27К начались в декабре 1970 года. Цикл наземных испытаний на полигоне Капустин Яр включал в себя 20 пусков (из них 16 признаны успешными). Под носитель ракет по опытовому проекту 605 была переоборудована дизель-электрическая подводная лодка — К-102 проекта 629, с 4-мя ракетными шахтами на борту. Первый пуск с подлодки был осуществлен в декабре 1972 года. А в ноябре 1973 года испытания завершились двухракетным залпом.
В 1990-х годах проводились работы по созданию ракет-носителей на основе снимаемых с вооружения баллистических ракет подводных лодок. На базе Р-27 была создана ракета-носитель «Зыбь». Ракеты использовались в научно-исследовательских экспериментах, требующих создания микрогравитации. Период невесомости имел длительность от 17 до 24 минут. На суборбитальную орбиту «Зыбь» могла вывести полезный груз объёмом до 1,5 м3. Масса полезной нагрузки могла достигать 650 кг при максимальной высоте орбиты 1800 км или 1000 кг при высоте орбиты 1000 км. Было осуществлено три запуска. 1 декабря 1991 года был запущен модуль «Спринт», разработанный СКБ-385 совместно с НПО «Композит». Модуль предназначался для отработки технологий получения сверхпроводниковых материалов и нес на борту 15 экзотермических печей.
Комплекс Д-5 эксплуатировался с 1968 по 1998 годы. Всего было произведено около 1800 ракет, выполнено 492 пуска ракет, из которых 429 признано успешными. Максимальное количество пусков было в 1971 году — 58. Это своеобразный рекорд для советских и российских баллистических ракет подводных лодок. Комплекс удерживает также рекорд по среднегодовому количеству пусков — 23.4. При эксплуатации комплекса Д-5У был выполнен 161 пуск, из них 150 успешных. Последние пуски ракет Р-27 и Р-27У по планам боевой подготовки были выполнены в 1988 году. После этого пуски осуществлялись только в исследовательских целях. За время эксплуатации дважды (по одному разу на Северном и Тихоокеанском флотах) были проведены стрельбы 8 ракет в одном залпе.
За время эксплуатации произошло несколько аварий с разрушением ракет. Погибли 6 человек и потерян один РПКСН. При погрузке с нарушением процесса погрузки-выгрузки ракета с высоты 10 м упала на причал. Был разрушен бак окислителя. Два человека из погрузочной партии погибли от воздействия паров окислителя на незащищённые органы дыхания. Трижды разрушалась ракета в шахте лодки, находящейся на боевом дежурстве. В 1973 году на лодке К-219 находящейся на глубине 100 м из-за ложного срабатывания системы орошения при открытом клапане осушения шахты и ручного клапана на перемычке между главной осушительной магистралью лодки и трубопроводом осушения шахты произошло сообщение ракетной шахты с забортной водой. Давление в 10 атмосфер разрушило баки ракеты. При осушении шахты произошло возгорание ракетного топлива, но своевременное срабатывание системы автоматического орошения предотвратило дальнейшее развитие аварии.
фото), начался пожар в 4-м ракетном отсеке. Во время пожара и задымления в ракетных 4-м и 5-м отсеках погибли 3 человека, в том числе командир БЧ-2. Потушить пожар собственными силами экипажа не удалось, ракетоносец потерял энергию и ход. Позже при проведении процедуры выведения ГЭУ из эксплуатации погиб еще 1 человек. Попытка организовать буксировку РПКСН к Кубе с помощью подошедших советских кораблей успехом не увенчалась. Отсеки начали заполняться забортной водой, и личный состав после более чем 3-х суточной героической борьбы за живучесть был вынужден постепенно покинуть аварийный ракетоносец, который затонул 6-го октября на глубине 5,65 км в районе 1000 км северо-восточнее Бермудских островов. Эта катастрофа, с учетом произошедшей всего за 5 с небольшим месяцев до этого Чернобыльской радиационной катастрофы и появившегося в мире радиационного психоза, нанесла новый серьезный удар по международному престижу СССР. Опыт эксплуатации ракет РСМ-25 был проанализирован и учтен при разработке новых комплексов.
В результате при эксплуатации БРПЛ с ЖРД последующих модификаций не было ни одного случая гибели людей.Первые ракетоносцы проектов 667А начали выводиться из состава флота в соответствии с советско-американскими договоренностями в области сокращения вооружений уже в 1978 году с целью поддержания числа носителей ЯБ на определенном уровне. Часть ракетоносцев была переоборудована в ПЛА специального назначения (2 единицы, проекты 09774 и 09780), часть были трансформированы в ПЛА со стратегическими КРМБ «Гранат» (3 единицы, проект 667АТ). Один ракетоносец прошел модернизацию по проекту 667М с целью испытаний стратегических КРМБ «Метеорит». Прочие же выводились на консервацию с вырезанием ракетного отсека и последующей утилизацией. Модификация Р-27У была снята с вооружения еще до распада Советского Союза, в 1989 году. Другие модификации ракеты снимались с вооружения в России в рамках исполнения договора СНВ-1. Согласно сентябрьскому меморандуму 1990 года, на территории СССР на Р-27 было развёрнуто 192 ядерных боезаряда (192 БРПЛ, 16 РПКСН на 3-х базах [«Ягельная» на КСФ, «Рыбачий» и «Павловское» на КТОФ]; еще 142 БРПЛ на этих же базах хранились неразвернутыми).
Кроме того, 173 неразвернутых БРПЛ РСМ-25 находились на 3-х пунктах складского хранения БРПЛ («Окольная», «Ревда» и «Ненокса») и объекте переоборудования и ликвидации БРПЛ «Пашино». По состоянию на июль 1997 года в России на Р-27 оставалось 16 развёрнутых боезарядов (1 РПКСН). К 1998 году все ракеты Р-27 выведены из эксплуатации.
Сравнительно небольшая дальность советских ракет обусловила необходимость боевого патрулирования советских ПЛАРБ в зонах действия мощных сил противолодочной обороны ВМС США и НАТО (прежде всего, у Восточного и Западного побережий США), что значительно снижало боевую устойчивость советских ракетоносцев (особенно в 80-е годы). Однако, несмотря на ряд недостатков, СССР удалось создать достаточно эффективный стратегический ракетный комплекс, благодаря которому советские МСЯС вышли на качественно новый этап своего развития. Появление в составе ВМФ значительного количества вполне современных РПКСН со значительным числом БРПЛ на каждом позволили существенно повысить вероятность нанесения гарантированного ответного удара, прежде всего, с учетом точности новых ракет, по т.
н. «мягким» целям — политическим, экономическим и промышленным центрам. На ракете Р-27 был впервые опробован ряд новых технических решений. Использование этих наработок на последующих ракетных комплексах в дальнейшем позволило полностью ликвидировать отставание от США в данном классе вооружений, а по ряду направлений (астроинерциальные системы управления, БРПЛ межконтинентального класса и пр.) и опередить США.
Ракета Р-27 имела «западное» обозначение SS-N-6 Serb mod.1, модификации Р-27У — SS-N-6 Serb mod.3 и mod.2, Р-27К — SS-NX-13. Ракетоносцы проекта 667А (АУ) имели кодовое обозначение Yankee.
Баллистическая ракета подводных лодок «Р-27»
13.03.2019
В 1963 году на вооружение подводных сил военно-морского флота СССР был принят комплекс Д-4 с ракетой Р-21. Впервые в отечественной практике удалось реализовать подводный старт ракеты, что положительным образом сказалось на живучести подлодок-носителей и эффективности применения ракет.
Тем не менее, все еще сохранялось заметное отставание от вероятного противника. К этому времени ВМС США уже располагали ракетами UGM-27B Polaris A-2 с дальностью полета до 2800 км и эксплуатировали подлодки, способные нести по 16 подобных изделий. Требовался новый качественный скачок, способный уменьшить или ликвидировать имеющееся отставание. Ответом на такие обстоятельства стало появление ракетного комплекса Д-5, вооруженного ракетой Р-27.
Решение о создании новой системы вооружения для подводных лодок было принято в апреле 1962 года и закреплено соответствующим постановлением Совета министров. От оборонной промышленности требовалось разработать перспективную атомную подводную лодку и вооружить ее новым ракетным комплексом. Ракета этого комплекса должна была иметь возможность доставки специальной боевой части на дальности до 2500 км. Кроме того, в дальнейшем планировалось создать модернизированный вариант ракеты с повышенными характеристиками. Проект перспективного комплекса получил обозначение Д-5, ракеты для него – Р-27 (индекс управления ракетно-артиллерийского вооружения ВМФ – 4К10).
Атомная подлодка-носитель получила обозначение «667А».
Перед конструкторами были поставлены несколько крайне трудных задач. Следовало создать малогабаритную баллистическую ракету с высокими показателями дальности полета и повышенными эксплуатационными характеристиками. Первые исследования показали, что выполнение новых требований требует отказаться от ряда отработанных и проверенных временем идей, использовав вместо них оригинальные решения. Требовались новые идеи в области компоновки агрегатов и другие нестандартные решения, новые изделия и т.д.
В ходе первых стадий проекта Р-27 были сформированы несколько оригинальных предложений, которые в дальнейшем были применены при создании новой ракеты. Более того, ряд этих наработок в дальнейшем использовался в новых проектах ракетной техники и фактически стал основой для последующих вооружений подводного флота. Можно утверждать, что в рамках проекта Д-5 / Р-27 началось окончательное формирование современного облика отечественных баллистических ракет подводных лодок.
Главным «стимулом» к появлению новых идей и решений стали требования относительно уменьшения габаритов ракеты. Для уменьшения размеров изделия с одновременным повышением дальности полета в сравнении с существующими образцами требовалось использовать более плотную компоновку внутренних объемов. Прежде всего было решено отказаться от традиционной компоновки корпуса с выраженным разделением на отсеки. Вместо этого внутренний объем должен был разделяться несколькими перегородками различного назначения. Также было решено отказаться от аэродинамической стабилизации в полете, что позволяло сократить поперечные габариты изделия.
Корпус одноступенчатой ракеты Р-27 должен был иметь сложную форму, образованную несколькими поверхностями. Обтекатель выполнялся из двух конических поверхностей и полусферической головной части. Остальной корпус ракеты был выполнен в виде цилиндра с незначительно суженной хвостовой частью. Стабилизаторы или иные крупные выступающие детали не предусматривались.
При этом на внешней поверхности корпуса расположили четыре поперечных пояса из резинометаллических амортизаторов, удерживавших ракету внутри пусковой установки в требуемом положении.
Несущий корпус изготавливался из т.н. вафельных оболочек, выполненных из алюминиево-магниевого сплава АМг-6 по технологии химического фрезерования и соединенных сваркой. Такая конструкция обеспечивала требуемую прочность корпуса при минимальном весе деталей. Для защиты от воды после старта и нагрева во время полета корпус получил специальное покрытие на основе асботекстолита.
Головная часть ракеты (верхняя коническая деталь и часть нижней) вмещала боезаряд. Сразу за ним располагались системы управления. Примечательно, что ракета Р-27 не имела приборного отсека в привычном смысле слова. Аппаратура управления помещалась не в отдельном отсеке корпуса, а в небольшом герметизированном объеме, образованном дном боевой части и полусферическим верхним днищем бака окислителя.
Большая часть объемов корпуса отдавалась под баки для топлива и окислителя. Важной особенностью баков было использование общих стенок, также выполнявших функции несущего корпуса. Внутренний объем корпуса-бака разделялся несколькими днищами. Одно делило бак окислителя на два объема, а второе, имевшее двойную конструкцию, разделяло баки окислителя и горючего. Такое техническое решение позволило отказаться от межбакового отсека и тем самым дополнительно уменьшить длину ракеты.
Еще одним решением, направленным на сокращение габаритов изделия, стало оригинальное размещение двигателя. Бак для горючего получил нижнее днище сложной формы, которое позволило «утопить» двигатель внутри бака. Это привело к дополнительному сокращению габаритов ракеты без ухудшения прочих характеристик.
Специально для новой ракеты в ОКБ-2 под руководством А.М. Исаева был разработан жидкостный двигатель 4Д10, работающий на несимметричном диметилгидразине и азотном тетраоксиде.
В конструкции двигателя присутствовал маршевый блок тягой 23 т и рулевой тягой 3 т. Двигатель оснащался турбонасосными агрегатами для подачи горючего и окислителя. Маршевый блок двигателя использовал дожигание окислительного газа и оснащался регулятором расхода горючего, при помощи которого должна была изменяться тяга. Рулевой блок не дожигал окислительный газ, а регулировка его тяги должна была осуществляться изменением подачи окислителя во все камеры. Для управления применялись качающиеся камеры рулевого блока, установленные под углом 45° к плоскостям стабилизации ракеты.
С целью упрощения конструкции и улучшения эксплуатационных характеристик двигатель был выполнен необслуживаемым. При монтаже двигателя предлагалось использовать только неразъемные соединения, такие как пайка или сварка. Подобная конструкция потребовала разработать набор специальных переходников биметаллической конструкции, состоящих из стальных и алюминиевых деталей. Для запуска двигатель оснащался единственным пиропатроном и собственной автоматикой, необходимой для вывода на рабочий режим.
Впервые в отечественной практике баллистическая ракета для флота должна была заправляться на заводе-изготовителе. Было предложено заливать горючее и окислитель на финальной стадии сборки, после чего заправочные и дренажные патрубки должны были завариваться. Ампулизированная ракета могла храниться на базах и в пусковых установках в течение пяти лет. В дальнейшем, с учетом опыта эксплуатации нового оружия, срок хранения был увеличен втрое.
Еще одно нововведение касалось конструкции системы управления. Автономная инерциальная система наведения была размещена в герметизированном объеме, образованном днищами других агрегатов. При этом Р-27 стала первой отечественной ракетой для подлодок, в системе управления которой использовалась гиростабилизированная платформа. Последняя применялась для установки чувствительных элементов, отслеживающих положение изделия в пространстве. Система наведения с улучшенными характеристиками позволяла стрелять с КВО не более 1,9 км при пуске на максимальную дальность.
Для ракеты Р-27 в НИИ-1011 была разработана специальная боевая часть весом 650 кг мощностью 1 Мт. Боезаряд выполнили отделяемым при помощи удлиненного заряда бризантного взрывчатого вещества. При создании новой боевой части конструкторам пришлось столкнуться с некоторыми проблемами компоновочного характера. Тем не менее, все задачи были успешно решены, результатом чего стало появление боезаряда нового типа, отличающегося от предыдущего изделия для ракеты Р-21 примерно вдвое меньшими габаритами без потери мощности.
Новая баллистическая ракета отличалась от существующих изделий аналогичного назначения меньшими габаритами. Длина Р-27 не превышала 9 м, диаметр составлял 1,5 м. Стартовая масса равнялась 14,2 т. Жидкостный двигатель мог разгонять ракету до скорости (в конце активного участка) 4,4 м/с, выводя на высоту до 120 км. После завершения активного участка должен был выполняться сброс боевого блока, продолжавшего полет самостоятельно. Максимальная дальность стрельбы составляла 2500 км, при этом боезаряд поднимался на высоту до 620 км.
При встрече с целью боевой блок развивал скорость до 300 м/с.
Для использования ракет Р-27 подлодка-носитель должна была получать шахтную пусковую установку нового типа. Этот агрегат представлял собой прочный цилиндрический блок с открываемой верхней крышкой и набором необходимого оборудования. Пусковая установка получила стартовый стол новой конструкции, который должен был соединяться со специальным переходником в хвостовой части ракеты. Задачей этих агрегатов было создание т.н. газового колокола, при запуске снижающего давление внутри шахты до приемлемых значений. Также пусковая установка имела набор герметизированных разъемов для соединения ракеты с бортовой аппаратурой носителя.
Подлодка-носитель должна была получать набор специального оборудования, предназначенного для слежения за состоянием ракет. При этом контроль за всеми параметрами осуществлялся с единого пульта. Проведение регламентных проверок, предстартовая подготовка и стрельба управлялись с другого пульта.
Для выработки полетного задания и введения данных в системы управления ракет предлагалась боевая информационно-управляющая система «Туча».
Ракета Р-27 имела возможность подводного старта по «мокрой» схеме. Перед запуском следовало заполнять кольцевой зазор пусковой шахты забортной водой, после чего можно было открывать крышку и выполнять запуск. Во время старта жидкостный двигатель должен был запускать рулевые двигатели, при помощи которых создавался газовый колокол. После начала подъема должен был включаться маршевый двигатель, при помощи которого ракета могла покинуть шахту и вылететь из воды.
Испытания новой ракеты планировалось проводить в три этапа, целью которых была отработка изделия в различных условиях. Первые проверки состоялись в сентябре 1965 года с использованием погружаемого стенда. Два (по другим данным, до шести) натурных макета ракеты Р-27 были применены в бросковых испытаниях, в ходе которых проверили процесс выхода ракеты из шахты.
В июне 1966 года стартовал второй этап испытаний, продолжавшийся до весны 67-го. На полигоне Капустин Яр были выполнены 17 запусков опытных ракет по условным целям. 12 запусков признали успешными. Завершение испытаний с наземной пусковой установкой позволило начать проверки с применением подводных лодок.
Еще в 1964 году началась модернизация подводной лодки С-229, на тот момент являвшейся представителем экспериментального проекта 613Д7 и использовавшейся в качестве опытного носителя ракеты РТ-15М, по проекту 613Д5. С лодки удалили имеющуюся пусковую установку, на место которой поставили менее крупную шахту для ракеты Р-27. Кроме того, она получила набор нового оборудования, необходимого для обслуживания и применения таких ракет. В январе 1967 года С-229 впервые вышла в море для новых испытаний нового оружия.
18 января подлодка С-229, находясь на глубине 45 м и двигаясь со скоростью 3 узла, при волнении 3 балла впервые запустила натурный макет ракеты Р-27.
До 10 августа включительно было выполнено еще пять запусков. Все испытания с применением лодки проекта 613Д5 завершились успехом.
Летом 1967 года начался третий этап испытаний, в котором использовался штатный носитель комплекса Д-5 – атомная подводная лодка К-137 «Ленинец» проекта 667А «Навага». В августе начались запуски, в ходе которых было использовано шесть ракет. Эти совместные государственные испытания завершились успешно, после чего ракетный комплекс Д-5 / Р-27 был рекомендован к принятию на вооружение.
13 марта 1968 года новую ракету и комплекс для нее приняли на вооружение подводных сил ВМФ СССР. К этому моменту было развернуто полномасштабное серийное строительство подводных лодок проекта 667А. Такие субмарины несли 16 пусковых установок, размещенных в два ряда вдоль корпуса в четвертом и пятом отсеках. До середины семидесятых годов флот получил 34 подлодки типа «Навага» нескольких модификаций, которые были распределены между различными соединениями.
В общей сложности они одновременно могли нести 544 ракеты Р-27.
С начала шестидесятых годов на базе баллистической ракеты Р-27 разрабатывалась противокорабельная Р-27К. Такое изделие получало полуактивную радиолокационную систему наведения и могло поражать подвижные цели в виде корабельных соединений противника. Проект Р-27К дошел до испытаний, но не привел к перевооружению флота и расширению списка ударных вооружений. Новое оружие посчитали неудобным и способным негативно сказаться на ядерных силах: для развертывания противокорабельных баллистических ракет требовались подлодки, что могло ударить по количеству развернутых стратегических вооружений. После завершения испытания от Р-27К отказались, хотя работы по аналогичным системам продолжились.
В июне 1971 года вышло постановление Совмина о модернизации комплекса Д-5 с ракетой Р-27. Требовалось создать два варианта обновления ракеты, один из которых должен был использовать разделяющуюся головную часть с несколькими боевыми блоками, а второй подразумевал увеличение дальности полета.
Обновленный комплекс получил обозначение Д-5У, ракета для него – Р-27У.
Первый вариант модернизации подразумевал сохранение всех особенностей конструкции базовой ракеты при использовании новой головной части. На общем основании теперь предлагалось монтировать три сбрасываемых боевых блока мощностью по 250 кт. В конце активного участка полета ракета должна была сбрасывать боевые блоки и придавать им небольшую боковую скорость. Предполагалось, что в таком случае боезаряды уменьшенной мощности будут лететь на некотором расстоянии друг от друга и падать в районе цели, в определенной мере повышая вероятность эффективного ее поражения.
Ракета Р-27У второго варианта получила облегченный боезаряд мощностью 1 Мт, благодаря чему дальность стрельбы удалось довести до 3000 км. Принципы работы систем ракеты при этом остались без изменений, хотя понадобились некоторые доработки конструкции.
Для двух версий ракеты Р-27У была разработана обновленная система управления.
За счет совершенствования ее приборов КВО было уменьшено до 1,3 км. В таком случае мощность боезаряда полностью компенсировала промах и гарантировала поражение цели.
С сентября 1972 года по август 1973-го проводились летные испытания новых ракет. По результатам испытаний в начале января 1974 года ракетный комплекс Д-5У и изделие Р-27У были приняты на вооружение. В связи с этим комплекс Д-5У при строительстве был установлен на четыре лодки обновленного проекта 667АУ «Налим». Еще восемь носителей новых ракет были переделаны из лодок проекта 667А.
Последняя модернизация ракетного комплекса Д-5 была проведена в начале восьмидесятых годов. Ракету Р-27 в базовой конфигурации перевооружили облегченной моноблочной головной частью от изделия Р-27У. Это позволило повысить дальность стрельбы до 3000 км. Подобная модернизация комплекса известна под названием Д-5М.
Полноценная эксплуатация ракетных комплексов семейства Д-5 продолжалась в течение двух десятилетий, до 1988 года.
За это время специалисты флота выполнили более 10 тыс. операций погрузки-выгрузки ракет для обеспечения 590 выходов подлодок на боевое дежурство. Было выполнено 492 пуска ракет, из них 429 завершились успешным поражением учебных целей. В 1971 году атомные подлодки семейства «667А» установили рекорд, выполнив в общей сложности 58 запусков. Это достижение не превзойдено до сих пор. В среднем в год использовалось 23,4 ракеты. Из 492 пусков 161 пришелся на комплексы Д-5У. Ракеты Р-27У 150 раз справились с поставленными учебно-боевыми задачами.
Особый интерес представляют учебно-боевые мероприятия, дважды проведенные подводниками Северного и Тихоокеанского флотов. 20 декабря 1968 года подлодка К-140 Северного флота выполнила стрельбу залпом из восьми ракет (по другим данным, два залпа по восемь ракет). Впоследствии аналогичную стрельбу выполнила одна из лодок Тихоокеанского флота.
К сожалению, не обошлось без аварий и потерь. Первый серьезный инцидент (точные место и дата происшествия неизвестны, вероятно, начало семидесятых) привел к гибели двух людей.
Во время погрузки ракеты на подлодку-носитель из-за неправильных действий личного состава и несовершенства конструкции произошел перекос изделия и погрузочной траверзы. Перекос привел к срыву ракеты с креплений и падению на причал. Топливный бак уцелел, но в баке окислителя появилась пробоина. Парами окислителя отравились двое участника работ. По результатам этого инцидента была доработана система погрузки ракет.
В 1976 году на подлодке К-444 произошла авария, но ее экипажу удалось предотвратить негативные последствия. Из-за неправильной подготовки трех ракет Р-27 к запуску произошло заполнение шахты забортной водой с повреждением конструкции баков. После всплытия и осушения шахты это привело к утечке окислителя. Экипаж принял необходимые меры и не допустил пожара.
Две аварии произошло на подводной лодке К-219 проекта 667А, причем вторая привела к ее потере. В 1973 году автоматика пусковой установки допустила открытие клапанов заполнения шахты, что привело к повреждению ракеты давлением забортной воды.
При осушении пусковой установки компоненты топлива вытекли из поврежденных баков и загорелись, но автоматическое орошение не дало пожару развиться. Подлодка вернулась на базу и прошла ремонт.
3 октября 1986 года К-219 вновь столкнулась с проблемами. По невыясненным причинам, при погружении лодки в одну из пусковых шахт начала проникать вода. Попытка экипажа осушить шахту нештатными средствами при выключенной автоматике не увенчалась успехом, но привела к повышению давления и разрушению ракеты. На этот раз выключенная система автоматического орошения не смогла предотвратить пожар. Возгорание привело к взрыву со срывом крышки пусковой установки и распространению огня на четвертый отсек. Ввиду невозможности самостоятельного тушения пожара экипаж был вынужден эвакуироваться и затопить лодку. В этой аварии погибли трое подводников.
Нельзя не отметить, что, при всех имевшихся происшествиях, ракетный комплекс Д-5 / Р-27 показал себя эффективным и надежным вооружением для подводных лодок.
В конце восьмидесятых годов началось снятие комплексов и их носителей с вооружения по причине морального и физического устаревания, а также из-за подписания новых международных соглашений. Так, в связи с исполнением договора СНВ-1 к концу девяностых годов в подводных силах было развернуто не более 16 ракет Р-27. Вскоре и их сняли с вооружения.
В начале девяностых годов на базе баллистической Р-27 была разработана ракета-носитель «Зыбь». Основной задачей этих изделий было несение специального исследовательского оборудования, предназначенного для работы в условиях микрогравитации. Имелась возможность вывода на суборбитальную траекторию груза объемом 1,5 куб.м весом до 1 т. 1000-кг груз мог достигать высоты 1000 км, а максимальная высота 1800 км обеспечивалась при грузе весом 650 кг.
1 декабря 1991 года, 9 декабря 92-го и 1 декабря 93-го были выполнены три запуска ракет «Зыбь» с научной аппаратурой разных типов и различного назначения. После этого эксплуатация ракет-носителей нового типа прекратилась.
Комплекс Д-5 и ракета Р-27, предназначенные для вооружения подводных лодок, эксплуатировались в течение нескольких десятилетий и занимали важное место в стратегических ядерных силах Советского Союза. Кроме того, в рамках этого проекта были достигнуты серьезные успехи конструкторского и технологического характера. В проекте Р-27 впервые в отечественной практике были внедрены несколько важнейших решений, которые в дальнейшем стали стандартом при разработке новых баллистических ракет подводных лодок. Кроме того, для комплекса Д-5 был создан проект подлодки 667А, дальнейшее развитие которого позволило значительно усилить морскую компоненту ядерной триады и поддерживать ее потенциал в течение длительного времени.
Военное обозрение.
Оставить отзыв:
Баллистическая ракета 4К10 Р-27 (СССР)
БРПЛ Р-27 (индекс УРАВ ВМФ — 4К10, код СНВ — РСМ-25) — жидкостная одноступенчатая баллистическая ракета подводных лодок.
В составе ракетного комплекса Д-5 входила в состав вооружения атомных подводных лодок проектов 667А и 667АУ. Разработка ракеты была задана постановлением ЦК КПСС и Совета Министров СССР от 24 апреля 1962 года № 386-179сс. Головным разработчиком было определено СКБ-385. Главный конструктор — В. П. Макеев. Основной задачей при создании ракетного комплекса с ракетой Р-27 являлась ликвидация отставания от американских ракет данного класса.При разработке ракеты был применен ряд новаторских решений, позволивших существенно улучшить характеристики как ракеты Р-27, так и последующих разработок СКБ-385. Так, максимально использовался весь внутренний объем ракеты для размещения в нем компонентов топлива — отсутствовало традиционное разбиение на отсеки, а маршевый двигатель размещался в баке горючего (так называемый «утопленник»). Цельносварной герметичный корпус был изготовлен из вафельных оболочек, полученных химическим фрезерованием плит, материалом для которых служил алюминиево-магниевый сплав.
Объем воздушного колокола уменьшался за счет последовательного пуска при старте сначала рулевых двигателей, а потом маршевого двигателя. И ряд других новшеств. Все эти нововведения позволили уменьшить габариты ракеты, но увеличить максимальную дальность стрельбы по сравнению с ракетой Р-21 в два раза.
Ракета Р-27 была выполнена по одноступенчатой схеме с моноблочной отделяемой головной частью. На ракете устанавливался жидкостный ракетный двигатель 4Д10 разработки ОКБ-2, состоявший из двух блоков: из маршевого блока тягой 23 тонны и рулевого блока из двух камер общей тягой 3 тонны. В качестве горючего применялся несимметричный диметилгидразин (НДМГ), а в качестве окислителя — азотный тетроксид (АТ). Элементы инерциальной системы управления впервые в СССР (для БРПЛ) были размещены на гиростабилизированной платформе. Ракета оснащалась моноблочной отделяемой головной частью весом 650 кг. Мощность размещенного на ней ядерного заряда составляла 1 мегатонну. Пуск ракет осуществлялся с глубины 40-50 метров при скорости лодки до 4 узлов и волнении моря 5 баллов.
Время предстартовой подготовки ракет 10 минут. Интервал стрельбы ракет в одном залпе — 8 секунд.
Ракета Р-27 была принята на вооружение 13 марта 1968 года. Спустя три года, 10 июня 1971 года, было принято постановление ЦК КПСС и Совета Министров СССР о модернизации ракетного комплекса, предусматривавшей в первом варианте оснащение ракеты головной частью с тремя боеголовками, с сохранением максимальной дальности стрельбы, а во втором варианте — увеличение дальности и повышение точности стрельбы. Модернизированная ракета получила обозначение Р-27У (код ГРАУ — 4К10У). В результате проведенных работ была создана ракета с тремя боевыми блоками мощностью по 200 килотонн с максимальной дальностью стрельбы 2400 километров. Разделяющаяся головная часть не имела индивидуального наведения — в конце активного участка блоки «расталкивались» в разные стороны с небольшой скоростью. По второму варианту была создана ракета с дальностью стрельбы 3000 километров и моноблочной головной частью мощностью 1 мегатонна.
Круговое вероятное отклонение составляло 1,3 километра.
Корабельные испытания ракет Р-27У проходили с сентября 1972 года по август 1973 года. Было выполнено 16 пусков, все они признаны успешными. Ракета Р-27У была принята на вооружение постановлением ЦК КПСС и Совета Министров СССР от 4 января 1974 года № 8-5сс. Ракетным комплексом с ракетами Р-27У оснащались строящиеся атомные подводные ракетоносцы проекта 667АУ, а также лодки проекта 667А после модернизации.
Постановлением ЦК КПСС и Совета Министров СССР от 24 апреля 1962 года о создании ракеты Р-27 также была предусмотрена разработка ракеты с самонаводящейся боевой частью, способной поражать движущиеся корабли. Противокорабельный вариант ракеты получил обозначение Р-27К (индекс ГРАУ — 4К18). Ракета оснащалась 2-й ступенью с жидкостным ракетным двигателем разработки ОКБ-2. Для сохранения габаритов ракеты были уменьшены размеры 1-й ступени, что в конечном счете привело к уменьшению максимальной дальности стрельбы до 900 км.
Головная часть моноблочная, ядерная, мощностью 0,65 мегатонны. Несмотря на достаточно ранние сроки начала разработки ракеты Р-27К, ее испытания начались только в декабре 1970 года. Цикл наземных испытаний на полигоне Капустин Яр включал в себя 20 пусков. Из них 16 признаны успешными.
Для размещения ракет по проекту 605 была переоборудована подводная лодка К-102 проекта 629. Первый пуск с подлодки был осуществлен в декабре 1972 года. А в ноябре 1973 года испытания завершились двухракетным залпом. Всего было выполнено 11 пусков, из них 10 признаны успешными. Во время последнего пуска судно-мишень было поражено прямым попаданием наводимого блока. Ракета Р-27 находилась на вооружении до 1988 года. В этот период было выполнено 492 пуска ракет, из которых 429 признаны успешными. Максимальное количество пусков было в 1971 году — 58. Это своеобразный рекорд для советских и российских баллистических ракет подводных лодок. Комплекс удерживает также рекорд по среднегодовому количеству пусков — 23,4 пуска.
За годы нахождения на вооружении был выполнен также пуск 161 ракеты Р-27У. Из них 150 пусков — успешные. Последние пуски ракет Р-27 и Р-27У по планам боевой подготовки были выполнены в 1988 году. После этого пуски осуществлялись только в исследовательских целях. За время эксплуатации ракеты дважды (по одному разу на Северном и Тихоокеанском флотах) были проведены стрельбы 8 ракет в одном залпе. Все пуски были признаны успешными. Ракета Р-27У была снята с вооружения в 1989 году. На основе БРПЛ Р-27У была разработана ракета-носитель «Зыбь».
Технические характеристики 4К10 Р-27
Длина, м 8,89
Диаметр, м 1,5
Стартовая масса, т 14,2
Масса боевой части, т 0,65
Максимальная дальность, км 2500
Круговое вероятное отклонение, км 1,9
Тип головной части — моно
Мощность головной части, Мт 1
авторы статьи: А.Б. Железняков
первоисточник: «100 лучших ракет СССР и России»
Противокорабельная баллистическая ракета Р-27К
Современные ударные системы, предназначенные для уничтожения надводных кораблей противника, основываются на крылатых ракетах различных типах.
Подобное вооружение давно показало себя с хорошей стороны и пользуется заслуженной популярностью. Тем не менее, в прошлом неоднократно предпринимались попытки разработать противокорабельный комплекс на основе баллистической ракеты. Большинство подобных проектов не привело к перевооружению вооруженных сил, однако позволило получить важный опыт. Первой отечественной противокорабельной баллистической ракетой стало изделие Р-27К.В апреле 1962 года Совмин СССР постановил начать разработку новой баллистической ракеты средней дальности, предназначенной для использования подводными лодками. Проект ракетного комплекса получил условное обозначение Д-5, сама ракета – Р-27. Разработчиком проекта было назначено миасское СКБ-385 (ныне Государственный ракетный центр), руководить работами должен был В.П. Макеев. Работы по проекту Д-5/Р-27 привели к тому, что в 1968 году на вооружение подводных лодок был принят новый ракетный комплекс.
Так же в 1962 году появилось предложение о разработке модификации ракеты Р-27, предназначенной для поражения движущихся надводных целей на дальностях до 900 км.
Противокорабельная ракета под названием Р-27К или 4К18 должна была основываться на агрегатах изделия Р-27, однако имела иное предназначение. В связи с необходимостью поражения малоразмерных движущихся целей противокорабельная ракета должна была получить набор нового оборудования, в том числе системы самонаведения.
Ракеты Р-27К на испытательном стенде. Фото Rbase.new-factoria.ru
Расчеты показывали, что существующие системы обнаружения позволяют определять местоположение надводных целей с точностью до 25-30 км. При этом за время предстартовой подготовки ракеты цель могла сдвинуться на 100-150 км от ранее определенной точки. Таким образом, противокорабельная баллистическая ракета обязательно должна была оснащаться системами самонаведения для самостоятельного определения текущего местоположения цели.
Уже в 1962 году была предложена общая архитектура нового изделия, которая позволяла решить поставленную задачу. Предлагалось переработать имеющуюся ракету и сделать ее двухступенчатой.
Задачей первой ступени в таком случае был первоначальный разгон и вывод ракеты на требуемую баллистическую траекторию, а вторая ступень должна была находить и поражать цель. Кроме того, аванпроект первой версии предлагал способы решения основных задач по поиску целей и наведению на них.
Было предложено использовать вторую ступень в виде обтекаемого агрегата с радиопрозрачной головной частью и пассивной радиолокационной системой бокового обзора. При помощи раскладной крестообразной антенны бокового обзора предлагалось осуществлять поиск сигналов радиоэлектронных систем корабля, а окончательное наведение должно было производиться при помощи пассивной радиолокационной ГСН. Также предлагалось использовать достаточно сложную аппаратуру управления с гироскопическими приборами и т.д.
Ранние работы по проекту Р-27К привели к формированию круга основных задач, которые требовалось решить для создания ракеты. Прежде всего, было определено, что вторая ступень ракеты с системами наведения получается слишком крупной.
Она может занимать до 40% габаритов всей ракеты, из-за чего пришлось бы сокращать размеры первой ступени и уменьшать объемы ее баков. В таком случае дальность полета получалась значительно ниже требуемой. Кроме того, системы наведения второй ступени нуждались в жаропрочном обтекателе, способном пропускать радиосигналы. Требуемые материалы с такими характеристиками в то время отсутствовали, а их создание требовало времени и проведения дополнительных исследований.
Ракета Р-27 базовой версии на транспортной тележке. Фото Rbase.new-factoria.ru
Вероятно, именно отсутствие готовых наработок для изготовления радиопрозрачного обтекателя привело к тому, что в 1963 году СКБ-385 разработало сразу два варианта ракеты Р-27К с разными вариантами систем наведения. Оба предэскизных проекта использовали унифицированную первую ступень, основанную на агрегатах базовой Р-27. Ступень получила укороченный корпус с баками для топлива и окислителя, а также должна была оснащаться жидкостным двигателем, унифицированным с Р-27.
Сверху на первой ступени должна была устанавливаться вторая, имеющая собственные системы управления, двигатель и т.д.
Вариант раннего проекта «А», разработанный в 1963 году, подразумевал управление полетом баллистическим и аэродинамическим методами. После сброса первой ступени ракета при помощи антенны бокового обзора должна была принимать сигналы корабля-цели и определять его местоположения. Затем производилась баллистическая корректировка курса, для чего использовались кратковременные включения двигателя второй ступени. При помощи одного или двух включений двигателя (запас топлива был ограничен) вторая ступень должна была выходить на требуемую траекторию.
Пройдя верхнюю часть баллистической траектории, ракета должна была включать пассивную радиолокационную головку самонаведения, находить цель и лететь к ней. Для управления в атмосфере предлагалось использовать аэродинамические рули. Такой вариант двухэтапного баллистическо-аэродинамического наведения позволял обеспечить наиболее высокую точность попадания и давал возможность применения менее мощной боевой части.
Вариант «Б» предлагал использование только баллистической коррекции курса. На заатмосферном участке полета ракета должна была находить цель при помощи антенны бокового обзора, рассчитывать требуемую траекторию и выходить на нее. После возврата в атмосферу коррекция курса не предусматривалась. Баллистическое наведение снижало точность и требовало более мощной боевой части. При этом такая система наведения отличалась простотой и не требовала сокращать габариты первой ступени больше допустимых пределов, позволяя достигнуть требуемой дальности пуска.
Вариант «А» предэскизного проекта. Рисунок Otvaga2004.ru
После анализа двух предварительных проектов было решено отказаться от двухэтапного наведения. Реализация баллистической и аэродинамической коррекции курса была связана с массой проблем и не могла быть осуществлена в полной мере. По этой причине от проекта «А» отказались, продолжив развитие варианта «Б». Определять цель предлагалось при помощи пассивной радиолокационной системы бокового обзора.
От второй ГСН для поиска целей на нисходящем участке полета отказались.
К созданию системы наведения для изделия 4К18 был привлечен НИИ-592. Готовая система управления основывалась на полупроводниковой элементной базе и должна была решать задачи поиска цели с последующим расчетом траектории полета к ней. Общие особенности работы определялись в соответствии с предварительным проектом. Одновременно с этим предлагались некоторые новые решения. Для поиска целей предлагалось использовать пассивную радиолокационную ГСК с крестообразной приемной антенной. При транспортировке и на начальном участке полета антенна должна была располагаться в цилиндрическом отсеке корпуса второй ступени. После выхода на участок коррекции траектории ракета должна была выдвигать и раскладывать антенну для поиска сигналов цели.
Найдя цель и рассчитав оптимальную траекторию для ее поражения, вторая ступень ракеты должна была корректировать свой курс при помощи имеющегося двигателя. Запас топлива позволял включать двигатель дважды.
После коррекции курса и торможения вторая ступень должна была переходить на нисходящий участок траектории и следовать к цели.
Готовый проект ракеты Р-27К подразумевал строительство двухступенчатого изделия, основанного на агрегатах базовой ракеты Р-27. Противокорабельная ракета имела длину около 9 м и диаметр 1,5 м. Стартовый вес составлял 13,25 м. Ракета новой модификации отличалась характерным внешним видом. Она получила головную часть сложной формы, образованной несколькими коническими и цилиндрическими поверхностями. Сложный головной обтекатель имел большую длину в сравнении с агрегатами базовой ракеты Р-27.
Вариант «Б» предэскизного проекта. Рисунок Otvaga2004.ru
Уменьшенная по длине первая ступень с сокращенным запасом топлива и окислителя оснащалась жидкостным двигателем 4Д10, разработанным в ОКБ-2. В составе двигателя имелся маршевый блок с тягой 23 т и рулевая система из двух отдельных камер общей тягой 3 т. Двигатель потреблял топливо в виде несимметричного диметилгидразина и азотный тетраоксид в качестве окислителя.
Любопытной особенностью силовой установки ракет Р-27 и Р-27К было размещение двигателя. Впервые в отечественной и зарубежной практике для экономии места двигатель был помещен внутри топливного бака.
Запуск ракеты 4К18 мог осуществляться при помощи стандартной шахтной установки комплекса Д-5, разработанной для подводных лодок нескольких проектов. Перед запуском шахта должна была затапливаться, а кроме того, следовало производить наддув баков для компенсации давления. При выходе из пусковой установки ракета должна была находиться в т.н. газовом колоколе, что позволяло снизить воздействие окружающей воды. После подъема на поверхность ракета продолжала полет к цели при помощи имеющихся систем наведения.
Уменьшение первой ступени и объема топливных баков привело к значительному снижению дальности полета в сравнении с базовой ракетой. Р-27 для поражения наземных целей могла лететь на дальность до 2500 км, тогда как противокорабельная Р-27К была способна атаковать объекты лишь с 900 км.
Поражение цели предлагалось производить при помощи моноблочной специальной боевой части мощностью 650 кт. Такой ядерный боезаряд позволял компенсировать недостаточно высокую точность наведения на цель и обеспечить эффективное поражение надводных кораблей противника.
Сравнение ракет Р-27К (слева) и Р-27 (справа). Рисунок Широкорад А.Б. «Оружие отечественного флота. 1945-2000»
Для первоначального целеуказания предлагалось использовать существующие и перспективные системы обнаружения надводных объектов. Во время разработки проекта Р-27К на вооружении состояла система «Успех», основывавшаяся на разведывательных самолетах. В дальнейшем планировалось ввести в строй систему «Легенда» с космическими аппаратами радиолокационной разведки. Появление последней позволяло использовать ракеты 4К18 с максимальной эффективностью.
Основной задачей СКБ-385 была разработка базового проекта Р-27. Из-за этого проект противокорабельного оружия создавался со значительным отставанием от него.
В результате такого отставания ракетный комплекс Д-5 с ракетой Р-27 был принят на вооружение в 1968 году, а испытания ракет 4К18 начались только в 1970-м. Одной из причин такого отставания стали затруднения с разработкой тех или иных элементов противокорабельной ракеты.
В декабре 1970 года на полигоне Капустин Яр состоялся первый испытательный пуск ракеты Р-27К. В этих испытаниях использовался стационарный наземный стенд. В течение нескольких следующих месяцев было выполнено 20 пусков. 16 запусков засчитали, тогда как остальные завершились неудачей. Вскоре были выполнены несколько бросковых пусков с применением погружающегося стенда. В ходе таких проверок отрабатывался вход изделия из пусковой установки субмарины, находящейся в подводном положении.
С середины шестидесятых годов решался вопрос выбора подлодки-носителя новых противокорабельных баллистических ракет. Комплекс Д-5 с ракетой Р-27К предлагалось использовать с субмаринами нескольких типов. Тем не менее, дальше предварительных работ продвинулись только проекты 667А, 687 и 705Б.
Такие субмарины должны были нести от 4 до 16 ракет нового типа. В дальнейшем при разработке всех проектов возникли определенные проблемы. Так, поставленные в серию АПЛ проекта 667А теперь должны были только участвовать в стратегических ядерных силах, а их применение в качестве носителей 4К18 посчитали нецелесообразным и недопустимым с точки зрения ударного потенциала. Проекты 687 и 705Б, в свою очередь, столкнулись с многочисленными проблемами технического характера. В итоге три проекта так и не были реализованы.
Дизель-электрическая подлодка проекта 629/605. Рисунок Wikimedia Commons
К началу семидесятых годов вопрос носителя новых ракет не был решен, однако близились испытания с запусками с подлодки. Из-за этого было решено привлечь к испытаниям одну из имеющихся субмарин. В качестве опытного судна для испытаний ракет нового типа была выбрана дизель-электрическая подлодка К-102 проекта 629. Ее предлагалось переоборудовать по новому проекту 605, предлагавшему установку четырех пусковых шахт и ряда другого оборудования.
В частности, обновлению подверглись навигационный комплекс и система целеуказания.
9 декабря 1972 года подводная лодка К-102 впервые произвела запуск ракеты Р-27К. Примерно за год испытаний было израсходовано 11 ракет, которые использовались для атаки различных целей. Особый интерес представляет последний запуск, состоявшийся 3 ноября 1973 года. В этот раз две ракеты 4К18 были запущены по мишени в виде баржи с радиолокационной станцией. Одна из выпущенных ракет успешно навелась на цель и поразила ее прямым попаданием. Вторая вышла в район цели с допустимым отклонением от нее. Примечательно, что к моменту старта ракет неопределенность в положении цели достигала 75 км. Несмотря на это, пассивная система самонаведения обнаружила цель и уничтожила ее. В целом, испытания завершились успехом. 10 запусков из 11 признали удачными.
2 сентября 1975 года, после завершения всех проектных и испытательных работ, вышло постановление о закрытии проекта Р-27К. Такое оружие представляло определенный интерес для флота, однако имелся ряд характерных недостатков, которые мешали его эксплуатации.
Так, ядерная боевая часть затрудняла развертывание подлодок с ракетами нового типа в свете нового договора ОСВ-2. Пассивная радиолокационная система наведения обеспечивала недостаточно высокую точность наведения, а противодействие ей было достаточно простым. Для срыва атаки кораблям противника было достаточно всего лишь выключить на время радиолокационные средства. Наконец, к середине семидесятых годов были достигнуты значительные успехи в области крылатых противокорабельных ракет.
Целый ряд причин делал новый проект Р-27К бесполезным и бесперспективным. Из-за этого все работы по новой ракете были остановлены и ее не приняли на вооружение. Как следствие, военно-морской флот не получил новое необычное оружие и продолжил использовать существующие системы более привычного облика. При этом, однако, лодка К-102 с комплексом Д-5 оставалась в опытной эксплуатации до начала восьмидесятых.
Первый отечественный проект противокорабельной баллистической ракеты завершился успешным решением всех поставленных задач, но не был доведен до эксплуатации в войсках.
Причиной этого стали некоторые проблемы проекта, в том числе и принципиально неустранимые. В дальнейшем советские специалисты предприняли еще одну попытку создать подобное вооружение. Новой противокорабельной баллистической ракетой должно было стать изделие типа Р-33, основанное на конструкции ракеты Р-29.
По материалам:
http://makeyev.ru/
http://otvaga2004.ru/
http://alternathistory.com/
http://rbase.new-factoria.ru/
http://deepstorm.ru/
Широкорад А.Б. Оружие отечественного флота. 1945-2000. – Мн.: «Харвест», 2001
Посылка из глубин. Как действует самое смертоносное оружие подлодок
https://ria.ru/20191020/1559926828.html
Посылка из глубин. Как действует самое смертоносное оружие подлодок
Посылка из глубин. Как действует самое смертоносное оружие подлодок
Скрытные, мощные, дальнобойные — баллистические ракеты подводных лодок (БРПЛ) остаются главной ударной силой флотов ядерных держав. В США более половины всех… РИА Новости, 20.
10.2019
2019-10-20T08:00
2019-10-20T08:00
2019-10-20T08:06
дмитрий донской
александр невский
подводные лодки проекта 955 «борей»
безопасность
/html/head/meta[@name=’og:title’]/@content
/html/head/meta[@name=’og:description’]/@content
https://cdn22.img.ria.ru/images/155794/01/1557940120_0:52:1000:615_1920x0_80_0_0_2df2947c31b84e45738755a73fa3f5fc.jpg
МОСКВА, 20 окт — РИА Новости, Андрей Коц. Скрытные, мощные, дальнобойные — баллистические ракеты подводных лодок (БРПЛ) остаются главной ударной силой флотов ядерных держав. В США более половины всех стратегических боезарядов развернуты на атомных субмаринах. Россия полагается в основном на «сухопутные» межконтинентальные ракеты, однако БРПЛ списывать тоже не спешит. О том, как развивался этот вид вооружений и почему за ним будущее, — в материале РИА Новости.Первый пускИдея размещения баллистических ракет на подводных носителях созрела в умах советских оружейников к середине 50-х.
СССР и США спешно разрабатывали новые средства доставки ядерного оружия на территорию противника. К тому времени еще не производили серийных межконтинентальных ракет, однако обе стороны накопили немалый опыт строительства ракет средней дальности. Новая концепция предусматривала их размещение на борту субмарин, которые скрытно подходили бы к побережью неприятеля и давали сокрушительный залп.Осенью 1954-го с полигона Капустин Яр стартовала первая морская ракета Р-11ФМ — модификация «сухопутной» Р-11. Спустя год доведенную до ума БРПЛ впервые в истории запустили с борта подводной лодки Б-67. Она пролетела всего 250 километров, но этого хватило, чтобы понять: у ядерного оружия на подлодках большое будущее. СССР обзавелся новыми возможностями для нанесения ударов по территории Западной Европы и США.У ранних БРПЛ, как советских, так и американских, имелся один существенный недостаток. Лодки могли стрелять ими только из надводного положения. Вдобавок много времени уходило на подготовку к старту.
Это делало стратегические субмарины легкими мишенями для авиации и надводных кораблей.Первой советской ракетой с подводным стартом стала Р-21, принятая на вооружение в 1963-м. По тем временам это был настоящий прорыв. Дальность полета составила 1300 километров при оснащении головной части мощностью в одну мегатонну и 1600 километров — с боеголовкой мощностью 800 килотонн. Инерциальная система управления с улучшенными характеристиками обеспечивала коэффициент вероятного отклонения в 2,8 километра. Однако главным достоинством ракеты стала возможность пуска с глубины 40 метров.»Мокрый» против «сухого»Несмотря на достойные характеристики, Р-21 значительно уступала американским ракетам «Поларис-А1» (дальность 2200 километров) и «Поларис-А2» (2800 километров). Чтобы ликвидировать отставание, потребовался новый носитель. Спустя несколько лет СССР испытал Р-27, способную забросить мегатонный ядерный заряд на расстояние до 3000 километров.Пуск осуществлялся посредством так называемого «мокрого старта».
В нижней части Р-27 был расположен специальный переходник, с помощью которого она стыковалась со стартовым столом. При подготовке происходил наддув баков, в шахту поступала вода, давление уравнивалось с забортным. Затем открывалась крышка и включался маршевый двигатель.»Мокрым стартом» отличались все отечественные жидкостные БРПЛ. Однако у этого метода есть недостатки. Заполнение шахт водой занимает время и создает акустический шум. Если субмарину преследует противолодочный корабль, он способен ее быстро запеленговать и уничтожить. Твердотопливные ракеты хороши тем, что могут выполнять «сухой старт». Они выстреливаются из шахты пороховым зарядом, а двигатель включается уже над поверхностью воды. Этот способ — более тихий и быстрый, благодаря чему шансы на успешный пуск резко возрастают. К твердотопливным относятся советские БРПЛ Р-31 с дальностью до 4200 километров и Р-39 (8250 километров), а также новейшая Р-30 «Булава» (9300 километров).Для «Дельфинов» и «Бореев»Сегодня на российских атомоходах используется несколько типов баллистических ракет.
Во-первых, это жидкостные двухступенчатые Р-29Р, которыми вооружена последняя оставшаяся в строю лодка проекта 667БДР «Кальмар» — К-44 «Рязань». Эти ракеты могут забросить три боевых блока по 200 килотонн на дальность 6500 километров.Во-вторых, в арсенале ВМФ остается семейство жидкостных трехступенчатых ракет Р-29РМ. Ими вооружены шесть «стратегов» проекта 667БДРМ «Дельфин» — К-51 «Верхотурье», К-84 «Екатеринбург», К-114 «Тула, К-18 «Карелия», К-407 «Новомосковск» и находящийся в ремонте К-117 «Брянск». На каждой лодке — по 16 шахт. Р-29РМ приняли на вооружение более 30 лет назад и несколько раз модернизировали. Последняя модификация — «Синева» — улетает на 11 550 километров. Боевая часть — до десяти блоков индивидуального наведения мощностью 100 килотонн каждый или четыре боеголовки по 500 килотонн с аппаратурой преодоления ПРО.Наконец, самые современные стратегические атомоходы — три лодки проекта 955 «Борей» — К-535 «Юрий Долгорукий», К-550 «Александр Невский» и К-551 «Владимир Мономах» — вооружены твердотопливными баллистическими ракетами Р-30 «Булава».
Кроме того, под эту БРПЛ переоборудовали тяжелый подводный крейсер «Дмитрий Донской» — последний представитель проекта 941. Он несет 20 ракет, «Бореи» — по 16. «Булаву» ввели в строй в 2018-м после почти 15 лет испытаний.»Булава» доставляет шесть боевых блоков индивидуального наведения по 150 килотонн каждый. Коэффициент вероятного отклонения не превышает 350 метров.К достоинствам новой БРПЛ можно отнести короткий разгонный активный участок. Считается, что именно на нем ракеты максимально уязвимы для средств ПРО. Кроме того, «Булава» может маневрировать при разгоне, что защищает ее от кинетических перехватчиков, рассчитанных на обычные баллистические траектории.
https://ria.ru/20191001/1559289386.html
https://radiosputnik.ria.ru/20191017/1559899387.html
https://ria.ru/20190824/1557861229.html
РИА Новости
7 495 645-6601
ФГУП МИА «Россия сегодня»
https://xn--c1acbl2abdlkab1og.xn--p1ai/awards/
2019
РИА Новости
internet-group@rian.
ru
7 495 645-6601
ФГУП МИА «Россия сегодня»
https://xn--c1acbl2abdlkab1og.xn--p1ai/awards/
Новости
ru-RU
https://ria.ru/docs/about/copyright.html
https://xn--c1acbl2abdlkab1og.xn--p1ai/
РИА Новости
7 495 645-6601
ФГУП МИА «Россия сегодня»
https://xn--c1acbl2abdlkab1og.xn--p1ai/awards/
https://cdn22.img.ria.ru/images/155794/01/1557940120_57:0:945:666_1920x0_80_0_0_a216f6fea6b00b83319e860004e914e6.jpgРИА Новости
7 495 645-6601
ФГУП МИА «Россия сегодня»
https://xn--c1acbl2abdlkab1og.xn--p1ai/awards/
РИА Новости
7 495 645-6601
ФГУП МИА «Россия сегодня»
https://xn--c1acbl2abdlkab1og.xn--p1ai/awards/
дмитрий донской, александр невский, подводные лодки проекта 955 «борей», безопасность
МОСКВА, 20 окт — РИА Новости, Андрей Коц.
Скрытные, мощные, дальнобойные — баллистические ракеты подводных лодок (БРПЛ) остаются главной ударной силой флотов ядерных держав. В США более половины всех стратегических боезарядов развернуты на атомных субмаринах. Россия полагается в основном на «сухопутные» межконтинентальные ракеты, однако БРПЛ списывать тоже не спешит. О том, как развивался этот вид вооружений и почему за ним будущее, — в материале РИА Новости.
Первый пуск
Идея размещения баллистических ракет на подводных носителях созрела в умах советских оружейников к середине 50-х. СССР и США спешно разрабатывали новые средства доставки ядерного оружия на территорию противника. К тому времени еще не производили серийных межконтинентальных ракет, однако обе стороны накопили немалый опыт строительства ракет средней дальности. Новая концепция предусматривала их размещение на борту субмарин, которые скрытно подходили бы к побережью неприятеля и давали сокрушительный залп.
1 октября 2019, 08:00
Отец апокалипсиса.
Самые масштабные проекты советского конструктора КозловаОсенью 1954-го с полигона Капустин Яр стартовала первая морская ракета Р-11ФМ — модификация «сухопутной» Р-11. Спустя год доведенную до ума БРПЛ впервые в истории запустили с борта подводной лодки Б-67. Она пролетела всего 250 километров, но этого хватило, чтобы понять: у ядерного оружия на подлодках большое будущее. СССР обзавелся новыми возможностями для нанесения ударов по территории Западной Европы и США.
У ранних БРПЛ, как советских, так и американских, имелся один существенный недостаток. Лодки могли стрелять ими только из надводного положения. Вдобавок много времени уходило на подготовку к старту. Это делало стратегические субмарины легкими мишенями для авиации и надводных кораблей.
Первой советской ракетой с подводным стартом стала Р-21, принятая на вооружение в 1963-м. По тем временам это был настоящий прорыв. Дальность полета составила 1300 километров при оснащении головной части мощностью в одну мегатонну и 1600 километров — с боеголовкой мощностью 800 килотонн.
Инерциальная система управления с улучшенными характеристиками обеспечивала коэффициент вероятного отклонения в 2,8 километра. Однако главным достоинством ракеты стала возможность пуска с глубины 40 метров.
«Мокрый» против «сухого»
Несмотря на достойные характеристики, Р-21 значительно уступала американским ракетам «Поларис-А1» (дальность 2200 километров) и «Поларис-А2» (2800 километров). Чтобы ликвидировать отставание, потребовался новый носитель. Спустя несколько лет СССР испытал Р-27, способную забросить мегатонный ядерный заряд на расстояние до 3000 километров.
17 октября 2019, 15:09
Пуски баллистических и крылатых ракет прошли на учениях «Гром-2019»Пуск осуществлялся посредством так называемого «мокрого старта». В нижней части Р-27 был расположен специальный переходник, с помощью которого она стыковалась со стартовым столом. При подготовке происходил наддув баков, в шахту поступала вода, давление уравнивалось с забортным. Затем открывалась крышка и включался маршевый двигатель.
«Мокрым стартом» отличались все отечественные жидкостные БРПЛ. Однако у этого метода есть недостатки. Заполнение шахт водой занимает время и создает акустический шум. Если субмарину преследует противолодочный корабль, он способен ее быстро запеленговать и уничтожить.
Твердотопливные ракеты хороши тем, что могут выполнять «сухой старт». Они выстреливаются из шахты пороховым зарядом, а двигатель включается уже над поверхностью воды. Этот способ — более тихий и быстрый, благодаря чему шансы на успешный пуск резко возрастают. К твердотопливным относятся советские БРПЛ Р-31 с дальностью до 4200 километров и Р-39 (8250 километров), а также новейшая Р-30 «Булава» (9300 километров).
Для «Дельфинов» и «Бореев»
Сегодня на российских атомоходах используется несколько типов баллистических ракет.
Во-первых, это жидкостные двухступенчатые Р-29Р, которыми вооружена последняя оставшаяся в строю лодка проекта 667БДР «Кальмар» — К-44 «Рязань». Эти ракеты могут забросить три боевых блока по 200 килотонн на дальность 6500 километров.
Во-вторых, в арсенале ВМФ остается семейство жидкостных трехступенчатых ракет Р-29РМ. Ими вооружены шесть «стратегов» проекта 667БДРМ «Дельфин» — К-51 «Верхотурье», К-84 «Екатеринбург», К-114 «Тула, К-18 «Карелия», К-407 «Новомосковск» и находящийся в ремонте К-117 «Брянск». На каждой лодке — по 16 шахт.
Р-29РМ приняли на вооружение более 30 лет назад и несколько раз модернизировали. Последняя модификация — «Синева» — улетает на 11 550 километров. Боевая часть — до десяти блоков индивидуального наведения мощностью 100 килотонн каждый или четыре боеголовки по 500 килотонн с аппаратурой преодоления ПРО.
Наконец, самые современные стратегические атомоходы — три лодки проекта 955 «Борей» — К-535 «Юрий Долгорукий», К-550 «Александр Невский» и К-551 «Владимир Мономах» — вооружены твердотопливными баллистическими ракетами Р-30 «Булава». Кроме того, под эту БРПЛ переоборудовали тяжелый подводный крейсер «Дмитрий Донской» — последний представитель проекта 941. Он несет 20 ракет, «Бореи» — по 16.
«Булаву» ввели в строй в 2018-м после почти 15 лет испытаний.
«Булава» доставляет шесть боевых блоков индивидуального наведения по 150 килотонн каждый. Коэффициент вероятного отклонения не превышает 350 метров.
24 августа 2019, 13:44
Опубликовано видео пуска «Булавы» с подлодки «Юрий Долгорукий»К достоинствам новой БРПЛ можно отнести короткий разгонный активный участок. Считается, что именно на нем ракеты максимально уязвимы для средств ПРО. Кроме того, «Булава» может маневрировать при разгоне, что защищает ее от кинетических перехватчиков, рассчитанных на обычные баллистические траектории.
Р-27 (баллистическая ракета) — Википедия
У этого термина существуют и другие значения, см. Р-27.Р-27 (индекс УРАВ ВМФ — 4К10, код СНВ — РСМ-25, по классификации МО США и НАТО — SS-N-6 Mod 1, Serb) — советская жидкостная одноступенчатая баллистическая ракета комплекса Д-5, размещаемого на подводных лодках (БРПЛ) проекта 667А и 667АУ. Разработка ракеты велась в СКБ-385 под руководством главного конструктора Макеева В.
П. с 1962 по 1968 год. Принята на вооружение 13 марта 1968 года. На сегодняшний момент снята с вооружения. Последний запуск в рамках боевой подготовки произведён в 1988 году. С 1991 по 1993 год были проведены три запуска ракеты-носителя «Зыбь», созданного на базе Р-27.
История разработки[править]
Принятая на вооружение в 1963 году ракета Р-21 комплекса Д-4 с дальностью стрельбы 1400 км существенно уступала по основным характеристикам американским ракетам «Поларис A1» (1960 год, 2200 км) и «Поларис A2» (1962 год, 2800 км). Для ликвидации отставания требовалась разработка новой ракеты.
24 апреля 1962 года вышло постановление Совета Министров СССР № 386—179 о разработке новой ракеты Р-27 комплекса Д-5 для вооружения подводных лодок проекта 667А. Головным разработчиком по ракете и комплексу было назначено СКБ-385, главный конструктор — Макеев В. П. Разработка системы управления ракетой была поручена НИИ-592 (главный конструктор Семихатов Н. А.), а размещение комплекса на подводной лодке проекта 667А — ЦКБ-18 (главный конструктор Ковалёв С.
Н.).
При разработке ракеты был применён ряд новаторских решений, надолго определивший облик ракет СКБ-385:
Эти меры позволили резко повысить среднюю плотность компоновки ракеты, тем самым уменьшив её габариты, а также уменьшить потребный объём шахты и цистерн кольцевого зазора. Так, по сравнению с ракетой Р-21 дальность стрельбы увеличилась в 2 раза, длина ракеты сократилась на треть, масса пусковой установки уменьшилась больше чем в 10 раз, масса ракеты — почти на треть, объём кольцевого зазора — почти в 5 раз. Нагрузка на лодку в расчёте на одну ракету (масса ракет, пусковых установок, ракетных шахт и цистерн кольцевого зазора) уменьшилась в три раза.[2]
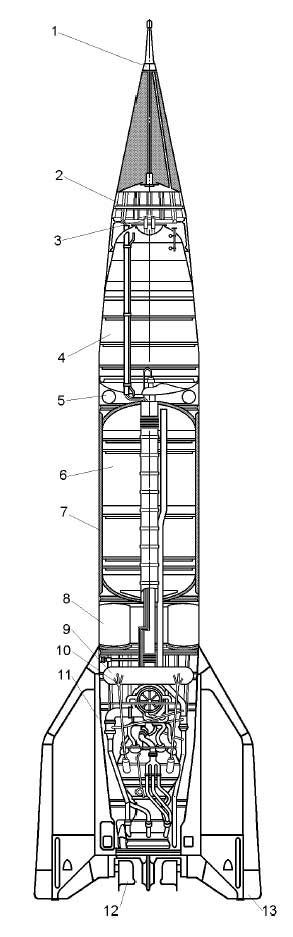
Схема ракеты Р-271 — моноблочная головная часть; 2 — приборный отсек; 3 — резинометаллические амортизаторы; 4 — система перелива окислителя из нижнего полубака в верхний; 5 — патрубки системы наддува баков; 6 — верхний и нижний полубаки окислителя; 7 — система забора окислителя; 8 — бак горючего; 9 — маршевый блок двигателя; 10 — рулевой блок
Ракета Р-27 была выполнена по одноступенчатой схеме с моноблочной отделяемой головной частью.
Корпус ракеты цельносварной, герметичный, изготавливался из «вафельных» полотен, полученных химическим фрезерованием плит из алюминиево-магниевого сплава АМг6. Было достигнуто 5—6-кратное превышение толщины листа исходного металла над толщиной получаемой оболочки. Впоследствии, при применении механического фрезерования, этот показатель довели до 9.[3] Наружная поверхность корпуса защищалась тепловлагостойким покрытием на основе асботекстолита.[4]
На ракете устанавливался жидкостный ракетный двигатель 4Д10 разработки ОКБ-2 (главный конструктор Исаев А. М.)[3], состоявший из двух блоков. Двигатель состоял из маршевого блока тягой 23 тонны[5] и рулевого блока из двух камер общей тягой 3 тонны[6]. В ЖРД использовались самовоспламеняющиеся компоненты топлива. В качестве горючего применялся несимметричный диметилгидразин (НДМГ), а в качестве окислителя — азотный тетроксид (АТ).[7] Подача компонентов топлива осуществлялась турбонасосными агрегатами.
Маршевый двигатель работал по схеме с дожиганием окислительного газа. Тяга двигателя регулировалась регулятором расхода горючего. Рулевой блок был выполнен по схеме без дожигания, с газогенератором вырабатывающим газ с избытком горючего. Тяга рулевого блока управлялась регулятором на общей линии окислителя.[8]
Впервые в мировой практике двигатель был размещён в топливном баке — так называемая «утоплённая» схема. При монтаже двигателя были использованы только неразъёмные соединения — сварка и пайка. Двигатель стал необслуживаемым и непроверяемым. Запуск двигателя осуществлялся от одного пиропатрона, а выход на режим контролировался собственной автоматикой.[3] Качающиеся камеры рулевого двигателя были установлены на коническом днище топливного бака[3], под углом 45° к плоскостям стабилизации ракеты[6]. Крепление стальных элементов двигателя к алюминиевому корпусу осуществлялось с помощью специальных биметаллических переходников.[9]
Для уменьшения незаполненных топливом полостей ракеты использовалось общее двухслойное днище баков горючего и окислителя.
Это позволило устранить межбаковый отсек. Ещё одним новаторским решением стала заводская заправка топливом с последующей «ампулизацией» баков посредством заварки заправочно-дренажных клапанов.[10] В совокупности с работами по повышению коррозионной стойкости материалов, герметичности швов и соединений, это позволило установить срок службы ракет в заправленном состоянии 5 лет. А впоследствии довести его до 15[10]
Элементы инерциальной системы управления впервые в СССР (для БРПЛ[6]) были размещены на гиростабилизированной платформе. Аппаратура системы управления размещалась в герметизированном объёме, образованном полусферическим верхним днищем бака окислителя. Это позволило исключить из конструкции ракеты классический приборный отсек.[4]
Ракета оснащалась моноблочной отделяемой головной частью весом 650 кг.[11][12]Мощность размещённого на ней ядерного заряда 1 Мт.[11][12] Для отделения головной части от ракеты, впервые в практике ГРЦ, было применено устройство взрывного действия — детонирующий удлинённый заряд кумулятивного типа на основе бризантного взрывчатого вещества.
[13] При стрельбе на максимальную дальность было достигнуто КВО 1,9 км.[14]
Тип старта ракеты — мокрый, из предварительно затопленной шахты. В нижней части Р-27 был установлен специальный переходник, с помощью которого ракета стыковалась со стартовым столом. В процессе подготовки ракеты к старту осуществлялся наддув баков ракеты. В шахту поступала вода и давление уравнивалось с забортным. Открывалась крышка ракетной шахты. Для снижения гидравлического удара, возникающего при запуске двигателя в заполненной ракетой шахте, запуск двигателя осуществлялся в герметичный объём образованный переходником и стартовым столом. Была разработана технология создания «динамического колокола». В начале старта в образованный переходником «газовый колокол» производился запуск рулевых двигателей. Затем, при начале движения ракеты, осуществлялся запуск маршевого двигателя и постепенный вывод его на режим полной тяги.
При дальнейшем движении ракеты на неё начинал действовать момент от набегающего потока воды.
Снижению нагрузок, действующих на конструкцию выходящей из шахты ракеты способствовал предварительный наддув баков и расположенные на самой ракете пояса специальных резинометаллических амортизаторов.
Обслуживание и процедуры предстартовой подготовки и старта ракет были максимально возможно автоматизированы. С единого пульта корабельной системы повседневного и предстартового обслуживания ракет обеспечивалось дистанционное управление и контроль за состоянием систем. С пульта управления ракетным оружием осуществлялось проведение комплексных регламентных проверок, управление предстартовой подготовкой и стартом ракет.[5]
Исходные данные для стрельбы вырабатывались созданной под руководством главного конструктора Бельского Р. Р. боевой информационно-управляющей системой «Туча». Аппаратура позволяла производить боевую стрельбу двумя восьмиракетными залпами.[5]
Пуск ракет осуществлялся с глубины 40—50 м, скорости лодки до 4 узлов и волнении моря 5 баллов.
[15] Время предстартовой подготовки ракет 10 минут. Интервал стрельбы ракет в одном залпе — 8 секунд.[5] Время между залпами по источникам не уточняется.
Испытания комплекса Д-5 производились в три этапа. Первый этап бросковых испытаний натурных макетов Р-27 производился с затапливаемого плавстенда ПСД-5 в сентябре 1965 года. Было выполнено два пуска.[5][16]
В январе 1967 года начались испытания макетов ракет на Чёрном море с борта подводной лодки проекта 613Д5 (переоборудованная на заводе № 444 в Севастополе опытовая подводная лодка проекта 613Д7[5]) в подводном положении. Задержка работ была связана с тем, что лодка была получена заказчиком только 23 декабря 1965 года. 18 января 1967 года с глубины 45 м при скорости лодки 3 узла, волнении моря 3 балла и скорости ветра 7—8 баллов был осуществлён первый пуск макета ракеты 4К10. Последнее, шестое испытание было проведено 10 августа 1967 года.[5]
Параллельно проводился второй этап.
Лётные испытания с наземного стенда на полигоне Капустин Яр[17] производились с июня 1966 по апрель 1967 года. Всего было выполнено 17 пусков, из которых 12 признано успешными.[14]
Полномасштабные совместные лётные испытания Р-27 начались на Северном флоте на головной лодке проекта 667А — К-137 «Ленинец» в августе 1967 года. Всего было выполнено 6 пусков.[14]
Комплекс Д-5 с ракетой Р-27 был принят на вооружение 13 марта 1968 года постановлением Совета Министров СССР № 162—164.[5]
Р-27У[править]
Постановление Совмина о модернизации комплекса Д-5 вышло 10 июня 1971 года.[18] Была поставлена цель создания двух вариантов модернизированной ракеты. В первом варианте предусматривалось оснащения ракеты головной частью с тремя боеголовками, с сохранением максимальной дальности стрельбы. Головная часть «рассеивающего» типа, с блоками без индивидуального наведения. По второму варианту предусматривалось увеличить дальность и повысить точность ракеты.
Модернизированный вариант комплекса получил обозначение Д-5У, а ракет — Р-27У. Была создана ракета с тремя боевыми блоками мощностью по 200 кт с максимальной дальностью 2400 км. Разделяющаяся головная часть была так называемого «рассеивающего типа» — боевые блоки не имели индивидуального наведения. В конце активного участка блоки «расталкивались» в разные стороны с небольшой скоростью. По второму варианту была создана ракета с дальностью 3000 км и моноблочной головной частью мощностью 1 Мт. Было достигнуто КВО 1,3 км.[14] Модернизация коснулась двигателя (была увеличена тяга) и системы управления. На западе ракеты получили обозначение SS-N-6 Mod 3 и Mod 2 соответственно.
Корабельные испытания ракет Р-27У проходили с сентября 1972 по август 1973 года.[12] Было выполнено 16 пусков, все признаны успешными. Ракета Р-27У была принята на вооружение 4 января 1974 года постановлением Совета Министров № 8-5.[18] Комплексом Д-5У с ракетами Р-27У оснащались строящиеся атомные подводные ракетоносцы проекта 667АУ, а также лодки проекта 667А после модернизации.
[14]
Р-27К[править]
Первоначальным постановлением СМ от 24 апреля 1962 года о создании комплекса Д-5 предусматривалось создание также ракеты с самонаводящейся боевой частью, способной поражать движущиеся корабли. Противокорабельный вариант ракеты получил обозначение Р-27К (индекс ГРАУ 4К18). На западе ракета получила индекс SS-NX-13. Ракета оснащалась второй ступенью с жидкостным ракетным двигателем разработки КБ-2 (главный конструктор Исаев А. М.). Для сохранения габаритов ракеты были уменьшены размеры первой ступени, что в конечном счёте привело к уменьшению максимальной дальности стрельбы до 900 км. Головная часть моноблочная, ядерная, мощностью 0,65 Мт.[19]
Наведение на пассивном участке осуществлялось с помощью пассивной радиолокационной ГСН, с обработкой сигнала бортовой цифровой вычислительной системой.[20] Первоначальные данные для стрельбы выдавались спутниковой системой «Легенда» или авиационной системой «Успех-У». Обработка данных на корабельной аппаратуре разведки «Касатка» позволяла определить координаты группы кораблей с точностью до 25 км.
Эти данные постоянно устаревают — за время предстартовой подготовки местоположение цели может измениться до 150 км.[21] Поэтому для второй ступени предусматривалось управление посредством двукратного включения двигательной установки второй ступени на внеатмосферном участке полёта. Первоначально также рассматривался вариант дополнительной коррекции траектории на атмосферном участке и оснащение ракеты боезарядом малой мощности. Но впоследствии от этого варианта отказались в пользу чисто баллистического, с боезарядом повышенной мощности.[22]
Испытания ракетного комплекса начались в декабре 1970 года.[7]
Цикл наземных испытаний на полигоне Капустин Яр включал в себя 20 пусков (из них 16 признаны успешными).[22] Под носитель ракет по проекту 605 была переоборудована подводная лодка — «К-102» проекта 629, с 4 ракетными шахтами на борту. Первый пуск с подлодки был осуществлён в декабре 1972 года. А в ноябре 1973 года испытания завершились двухракетным залпом.
Всего было выполнено 11 пусков, из них 10 признано успешными. Во время последнего пуска судно-мишень было поражено прямым попаданием наводимого блока.[22]
Ракета-носитель «Зыбь»[править]
В 1990-х годах проводились работы по созданию ракет-носителей на основе снимаемых с вооружения баллистических ракет подводных лодок. На базе Р-27 была создана ракета-носитель «Зыбь». Ракеты использовались в научно-исследовательских экспериментах, требующих создания микрогравитации. Период невесомости от 17 до 24 минут. На суборбитальную траекторию «Зыбь» может вывести полезный груз объёмом 1,5 м³. Масса полезной нагрузки 650 кг при максимальной высоте орбиты 1800 км, или 1000 кг при высоте орбиты 1000 км.[23]
Было осуществлено три запуска. 1 декабря 1991 года[23] был запущен модуль «Спринт», разработанный ГРЦ совместно с НПО «Композит». Модуль предназначался для отработки технологий получения сверхпроводниковых материалов и нёс на борту 15 экзотермических печей.
[24]
9 декабря 1992 года и 1 декабря 1993 года[23] были осуществлены запуски модуля «Эфир» с биотехнологической аппаратурой «Медуза» массой 80 кг. Модуль разработанный совместно с Центром космической биотехнологии предназначался для исследований технологии очистки биологических и медицинских препаратов методом электрофореза в условиях невесомости[24].
Всего было произведено около 1800 ракет. Комплекс Д-5 эксплуатировался с 1968 по 1988 год. Всего было выполнено 492 пуска ракет, из которых 429 признано успешными. Максимальное количество пусков было в 1971 году — 58. Это своеобразный рекорд для советских и российских баллистических ракет подводных лодок. Комплекс удерживает также рекорд по среднегодовому количеству пусков — 23,4.
При эксплуатации комплекса Д-5У был выполнен 161 пуск, из них 150 успешных. Последние пуски ракет Р-27 и Р-27У по планам боевой подготовки были выполнены в 1988 году.[14] После этого пуски осуществлялись только в исследовательских целях.
За время эксплуатации дважды (по одному разу на Северном и Тихоокеанском флотах) были проведены стрельбы 8 ракет в одном залпе. Все пуски были признаны успешными. За весь период эксплуатации было выполнено более 10 тысяч погрузок-выгрузок ракет, лодками вооружёнными РСМ-25 было осуществлено 590 боевых патрулирований в различных районах Мирового океана.
За время эксплуатации произошло несколько аварий с разрушением ракет. Погибли 5 человек и потеряна одна подводная лодка — К-219.
При погрузке с нарушением процесса погрузки-выгрузки ракета с высоты 10 м упала на причал. Был разрушен бак окислителя. Два человека из погрузочной партии погибли от воздействия паров окислителя на незащищённые органы дыхания.[25]
Трижды разрушалась ракета в шахте лодки, находящейся на боевом дежурстве.
На учениях «Океан-76» на лодке К-444 провели предстартовую подготовку трёх ракет. Был осуществлён пуск двух ракет, а стрельба третьей ракетой не производилась. Давление в баках ракеты из-за ряда человеческих ошибок было сброшено до всплытия лодки.
Давление забортной воды разрушило баки ракеты, а при всплытии и осушении шахты окислитель протёк в шахту. Благодаря умелым действиям личного состава развития аварийной ситуации не произошло.[25]
В 1973 году на лодке К-219 находящейся на глубине 100 м из-за ложного срабатывания системы орошения при открытом клапане осушения шахты и ручного клапана на перемычке между главной осушительной магистралью лодки и трубопроводом осушения шахты произошло сообщение ракетной шахты с забортной водой. Давление в 10 атмосфер разрушило баки ракеты. При осушении шахты произошло возгорание ракетного топлива, но своевременное срабатывание системы автоматического орошения предотвратило дальнейшее развитие аварии. Лодка благополучно вернулась на базу.[25]
Пожар на К-219 в октябре 1986 годаТретий случай произошёл также на лодке К-219 3 октября 1986 года. По неустановленным причинам при погружении после сеанса связи в ракетную шахту стала поступать вода. Экипаж попытался отключить автоматику и слить воду нештатными средствами.
В результате сначала давление сравнялось с забортным и разрушились баки ракеты. Затем после осушения шахты произошло возгорание компонентов топлива. Отключённая автоматика орошения не сработала и произошёл взрыв. Была сорвана крышка ракетной шахты, начался пожар в четвёртом ракетном отсеке. Потушить пожар собственными силами не удалось. Личный состав покинул лодку, отсеки заполнились забортной водой и лодка пошла ко дну. Во время пожара и задымления в ракетных 4-м и 5-м отсеках погибли 3 человека, в том числе командир БЧ-2.[25]
Опыт эксплуатации ракет РСМ-25 был проанализирован и учтён при разработке новых комплексов. В результате при эксплуатации последующих ракет не было ни одного случая гибели людей.
Снятие с вооружения[править]
Модификация Р-27У была снята с вооружения ещё до распада Советского Союза, в 1989 году.[19] Другие модификации ракеты снимались с вооружения в России в рамках исполнения договора СНВ-1. Согласно сентябрьскому меморандуму 1990 года, на территории СССР на Р-27 было развёрнуто 192 ядерных боезаряда.
По состоянию на июль 1997 года Украина, Белоруссия и Казахстан по Лиссабонскому протоколу[26] отказались от ядерного оружия, а в России на Р-27 оставалось 16 развёрнутых боезарядов.[27] Январский меморандум 2008 года подтвердил, что все Р-27 в России были сняты с вооружения.[28]
Тактико-технические характеристики[править]
| Р-27 | Р-27У | Р-27К | ||
|---|---|---|---|---|
| Тип ракеты | БРПЛ | ПКР | ||
| Индекс ГРАУ | 4К10[11] | 4К18[20] | ||
| Код СНВ | РСМ-25 | РСМ-25 | ||
| Код НАТО | SS-N-6 Mod 1 «Serb» | SS-N-6 Mod 2 «Serb» | SS-N-6 Mod 3 «Serb» | SS-NX-13 |
| Комплекс | Д-5 | Д-5У | ||
| Носитель (подводная лодка) | проект 667А | проект 667АУ | проект 605 | |
| Количество пусковых установок | 16 | 16 | 4 | |
| Данные ракеты | ||||
| Количество ступеней | 1 | 1 | 1 | 2 |
| Двигатель | ЖРД 4Д10 | ЖРД | ||
| Массогабаритные показатели | ||||
| Масса ракеты, кг | 14 200 | 14 200 | 14 200? | 13 250[20] |
| Длина, мм | 8890 | 8890 | 8890 | ~9000[20] |
| Диаметр, мм | 1500 | |||
| Полезная нагрузка | ||||
| Масса головной части, кг | 650 | 650 | 3×170 кг[29] | ? |
| Тип головной части | моноблочная | РГЧ РТ | ГЧ с самонаведением | |
| Мощность ядерного заряда | 1 Мт (0,6—1,2 Мт[12][30]) | 1 Мт (0,6—1,2 Мт[12][30]) | 3×0,2 Мт (3×0,1—0,8 Мт[12][30]) | |
| КВО, км | 1,9 (1,1[12][30]) | 1,3—1,8 | ||
| Параметры траектории | ||||
| Скорость в конце активного участка, м/с | 4400[20] | |||
| Высота в конце активного участка, км | 120[20] | |||
| Время активного участка, с | 128,5[20] | |||
| Максимальная высота, км | 620[20] | |||
| Максимальная дальность, км | 2500[20] (2400[12][30]) | 3000 (3200[12][30]) | 2500 (3200[12][30]) | 900[20] |
| Скорость встречи с целью, м/с | 300[20] | |||
| История | ||||
| Разработчик | СКБ-385 (ГРЦ им. | |||
| Конструктор | Макеев В. П. | |||
| Начало разработки | 24 апреля 1962 | 10 июня 1971 | ||
| Пуски со стенда | сентябрь 1965 — август 1967 | не проводились | ||
| Пуски с подводной лодки | декабрь 1972 — ноябрь 1973 | сентябрь 1972 — август 1973 | ||
| Принятие на вооружение | 13 марта 1968 | 4 января 1974 | не принималась | |
| Изготовитель | Златоустовский машиностроительный завод Красноярский машиностроительный завод | |||
Оценка проекта[править]
Ракетный комплекс Д-4 с ракетой Р-27 для вооружения подводных лодок проекта 667А стал ответом на американскую программу «Поларис».[31] По своим тактико-техническим характеристикам ракета Р-27 стала аналогом ракеты «Поларис A1», а моноблочный вариант ракеты Р-27У аналогом «Поларис A2».
Вариант ракеты Р-27У с тремя боевыми блоками уже существенно уступал своему аналогу «Поларис A3» по дальности. При этом советские ракеты были приняты на вооружение на 8—10 лет позже и имели худшие показатели точности (КВО).[32] В 1970 году США приняли на вооружение ракету «Посейдон C3» с разделяющейся головной частью с десятью блоками индивидуального наведения, что позволило им резко повысить эффективность своих морских стратегических ядерных сил.
Отличительной особенностью советских ракет было то, что на них использовались ракетные двигатели с жидким топливом и они были одноступенчатыми, а американские ракеты создавались с твердотопливными двигателями и были двухступенчатыми. Советские ракеты были немного легче, но при этом имели большие габариты. Более высокой по сравнению с американскими ракетами была и взрывопожароопасность.
Французские ракетостроители избрали американский путь и создавали свои первые ракеты — M1/M2 и M20 — двухступенчатыми с твердотопливными двигателями.
По своим тактико-техническим характеристикам эти ракеты соответствовали моноблочным вариантам ракет Р-27 и Р-27У, обладали сравнимой точностью и были приняты на вооружение на несколько лет позже, чем Р-27.
Небольшая дальность советских ракет обусловила необходимость боевого патрулирования советских ПЛАРБ в зонах действия мощных сил противолодочной обороны ВМС США и НАТО, что снижало боевую устойчивость советских ракетоносцев[31]. Несмотря на ряд недостатков, СССР удалось создать достаточно эффективный стратегический ракетный комплекс. На ракете Р-27 был опробован ряд новых технических решений. Использование этих наработок на ракетных комплексах с ракетами Р-29 и Р-29Р в дальнейшем позволило ликвидировать отставание от США.
| ТТХ | Поларис A1 | Поларис A2 | Поларис A3 | Р-27 | Р-27У | Посейдон C3 | Р-29 | M1 | M20 | ||
|---|---|---|---|---|---|---|---|---|---|---|---|
| Страна | |||||||||||
| Год принятия на вооружение | 1960 | 1962 | 1964 | 1968 | 1974 | 1970 | 1974 | 1972 | 1976 | ||
| Максимальная дальность, км | 2200 | 2800 | 4600 | 2500 | 3000 | 2500 | 4600 | 7800 | 3000 | 3200 | |
| Забрасываемый вес, кг | 500 | 500 | 760 | 650 | 650 | >650 | 2000 | 1100 | 1360 | 1000 | |
| Тип головной части | моноблочная | РГЧ РТ | моноблочная | РГЧ РТ | РГЧ ИН | моноблочная | |||||
| Мощность, кт | 600 | 800 | 3×200 | 1000 | 1000 | 3×200 | 10×50 | 1000 | 500 | 1200 | |
| КВО, м | 1800 | 1000 | 1900 | 1300—1800 | 800 | 1500 | 1000 | ||||
| Стартовая масса, т | 12,7 | 13,6 | 16,2 | 14,2 | 29,5 | 33,3 | 20 | ||||
| Длина, м | 8,53 | 9,45 | 9,86 | 9,65 | 10,36 | 13 | 10,67 | ||||
| Диаметр, м | 1,37 | 1,5 | 1,88 | 1,8 | 1,49 | ||||||
| Количество ступеней | 2 | 1 | 2 | 2 | 2 | ||||||
| Тип двигателя | РДТТ | ЖРД | РДТТ | ЖРД | РДТТ | ||||||
| Тип старта | сухой | мокрый | сухой | мокрый | сухой | ||||||
- ↑ СКБ-385.
Указ. соч. — С. 88. - ↑ СКБ-385. Указ. соч. — С. 88—89.
- ↑ 3,03,13,23,3 СКБ-385. Указ. соч. — С. 87.
- ↑ 4,04,1 Широкорад, 2003, с. 515
- ↑ 5,05,15,25,35,45,55,65,7 Широкорад, 2003, с. 516
- ↑ 6,06,16,2 Стратегическое ядерное вооружение России. Указ. соч. — С. 276.
- ↑ 7,07,1 Ю. Л. Коршунов, Е. М. Кутовой. Баллистические ракеты отечественного флота. — СПб.: Гангут, 2002. — 19—20 с. — (Библиотека «Гангут»). — 1200 экз. — ISBN 5-85875-043-5.
- ↑ Н. И. Леонтьев, П. М. Митин. Совершенствование энергомассовых характеристик двигательных установок и жидкостных ракетных двигателей для баллистических ракет подводных лодок. Проверено 22 ноября 2009. Архивировано из первоисточника 26 января 2012.
- ↑ СКБ-385.
Указ. соч. — С. 86. - ↑ 10,010,1 СКБ-385. Указ. соч. — С. 89.
- ↑ 11,011,111,2 Стратегическое ядерное вооружение России. Указ. соч. — С. 277.
- ↑ 12,012,112,212,312,412,512,612,712,812,9 R-27 / SS-N-6 SERB (англ.). Federation of American Scientists (FAS). Проверено 12 января 2010. Архивировано из первоисточника 29 января 2012.
- ↑ Канбиков М. Ш., Лякишев Б. М., Телицын Ю. С., Шихов В. Б. Некоторые конструктивные особенности баллистических ракет подводных лодок. — К 50-летию Государственного ракетного центра «КБ им. академика В. П. Макеева». Проверено 6 декабря 2009. Архивировано из первоисточника 29 января 2012.
- ↑ 14,014,114,214,314,414,5 Стратегическое ядерное вооружение России.
Указ. соч. — С. 278. - ↑ Широкорад, 2003, с. 516-518
- ↑ Разночтение. Согласно справочнику «Стратегическое ядерное вооружение России», стр. 278, было выполнено 6 пусков с плавстенда.
- ↑ Александр Тихонов. Полигон у Волги. Красная звезда (14 января 2009). Проверено 6 декабря 2009.
- ↑ 18,018,1 Широкорад, 2003, с. 518
- ↑ 19,019,1 Андриан Николаев. Ракетные комплексы баллистических ракет подводных лодок (БРПЛ). Военный паритет. Проверено 6 декабря 2009. Архивировано из первоисточника 29 января 2012.
- ↑ 20,0020,0120,0220,0320,0420,0520,0620,0720,0820,0920,10 А. Б. Широкорад. Энциклопедия отечественного ракетного оружия. Указ. соч. — С. 517.
- ↑ СКБ-385. Указ. соч. — С. 101.
- ↑ 22,022,122,2 СКБ-385.
Указ. соч. — С. 102. - ↑ 23,023,123,2 R-27 (англ.). Encyclopedia Astronautica. — Описание ракеты Р-27. Проверено 6 декабря 2009. Архивировано из первоисточника 29 января 2012.
- ↑ 24,024,1 СКБ-385. Указ. соч. — С. 346.
- ↑ 25,025,125,225,3 Л. Н. Ролин, Ю. Г. Руденко. Опыт эксплуатации морского ракетного комплекса с ракетой РСМ-25. Проверено 6 декабря 2009-12-06. Архивировано из первоисточника 29 января 2012.
- ↑ Протокол к Договору о сокращении и ограничении стратегических наступательных вооружений. The Arms Control Association (ACA). Проверено 12 января 2010. Архивировано из первоисточника 29 января 2012.
- ↑ U.S. and Soviet/Russian Strategic Forces (англ.). The Arms Control Association (ACA). Проверено 12 января 2010. Архивировано из первоисточника 29 января 2012.
- ↑ START Anew: The Future of the Strategic Arms Reduction Treaty (англ.). The Arms Control Association (ACA). Проверено 12 января 2010. Архивировано из первоисточника 29 января 2012.
- ↑ Боевой блок для первой разделяющейся головной части баллистической ракеты морского базирования. Музей РФЯЦ–ВНИИТФ г. Снежинск.. Проверено 16 августа 2011. Архивировано из первоисточника 18 августа 2011.
- ↑ 30,030,130,230,330,430,530,6 По данным западных источников.
- ↑ 31,031,1 Ю. В. Ведерников. Глава 2. Сравнительный анализ создания и развития Морских стратегических ядерных сил СССР и США // Сравнительный анализ создания и развития морских стратегических ядерных сил СССР и США.
- ↑ 2.2. Основные этапы развития морских стратегических комплексов. 2003 г., «Красный Октябрь», г. Саранск.
Проверено 19 декабря 2009. Архивировано из первоисточника 29 января 2011.
- СКБ-385, КБ машиностроения, ГРЦ «КБ им. Академика В. П. Макеева» / Сост. Канин Р. Н., Тихонов Н. Н.; под общ. ред. В. Г. Дегтяря. — М.: Государственный ракетный центр «КБ им. Академика В. П. Макеева»; Военный парад, 2007. — 408 с. — ISBN 5-902975-10-7.
- Стратегическое ядерное вооружение России / Под ред. П. Л. Подвига. — М.: ИздАТ, 1998. — ISBN 5866560798.
- Широкорад А. Б. Энциклопедия отечественного ракетного оружия 1918—2002 / Под общей ред. А. Е. Тараса. — М.: Харвест, 2003. — 544 с. — (Библиотека военной истории). — 5100 экз. — ISBN 985-13-0949-4.
Для новых стратегических лодок создадут ракету с жидкостным двигателем
Генштаб России определился с тем, как нужно развивать Стратегические ядерные силы (СЯС). Это следует из заявлений первого замминистра обороны Валерия Герасимова на брифинге вечером в понедельник для иностранных атташе и показанной им презентации.
Для Ракетных войск стратегического назначения (РВСН) ключевой задачей названы постановка на боевое дежурство комплексов РС-24 «Ярс» и «Авангард», а также разработка тяжелой шахтной межконтинентальной баллистической ракеты (МБР) «Сармат»; в авиационной части СЯС – модернизация бомбардировщиков Ту-160 и Ту-95МС, возобновление производства Ту-160 в модификации М2, создание малозаметного бомбардировщика и перспективной крылатой ракеты большой дальности; в морской – постройка стратегических ракетоносцев проекта 955А и разработка новой баллистической ракеты для подводных лодок (БРПЛ). Перевооружение СЯС ведется в соответствии с положениями Договора об ограничении стратегических наступательных вооружений (СНВ-3), судьба которого после 2021 г. остается неопределенной из-за отсутствия четкой позиции США, подчеркнул Герасимов. Развитие СЯС было приоритетом в предыдущей государственной программе вооружений на 2011–2020 гг., говорит источник «Ведомостей», близкий к Минобороны: не меньшее внимание ей будет уделено и в программе до 2027 г.
Ракетоносцы нового поколения проекта 955А (на фото) вооружены твердотопливной «Булавой» /ТАСС
Оглашенные начальником Генштаба проекты находятся в разной стадии реализации. Например, первый полк комплекса «Авангард» (состоит из МБР УР-100УТТХ с гиперзвуковым планирующим крылатым боевым блоком 15Ю71) уже развертывается в 13-й ракетной дивизии РВСН в Оренбургской области, по теме «Сармат» на 2020 г. намечено только два первых пуска, а первый из 10 заказанных в 2018 г. Ту-160 в новом облике будет передан заказчику в 2021 г., говорит человек в министерстве. Замминистра обороны Алексей Криворучко в среду заявил изданию «Оборона России», что до 2027 г. военные рассчитывают начать поставки в войска перспективного авиакомплекса дальней авиации. Эти планы пока сохраняются, подтверждает менеджер предприятия авиапрома, но закупки не будут носить массовый характер.
Лодки советской постройки 667 БДМ (на фото) несут жидкостную «Синеву» /ТАСС
176 единиц
баллистических ракет для подлодок могла развернуть Россия в 2017 г.
по условиям договора СНВ-3
Есть планы по обновлению и морской компоненты СЯС, говорит собеседник «Ведомостей», близкий к ведомству: к 2027 г. в строй должны вступить 10 стратегических «Бореев». Упомянутая же в презентации новая БРПЛ подразумевает разработку в Государственном ракетном центре им. Макеева (Миасс) новой ракеты с жидкостным двигателем, уже открыта соответствующая опытно-конструкторская работа, уточняет он. Эксперт в области стратегических вооружений Павел Подвиг считает, что речь может идти о продолжении работ по ракете Р-29РМУ-2 «Синева», которая серийно производится на красноярском «Красмаше» для подлодок проекта 667 БДРМ – подлодки нового проекта 955А оснащаются сейчас твердотопливными БРПЛ «Булава». У сторонников жидкостных ракет есть свои аргументы, к которым относится повышенная эффективность и увеличенное количество боевых блоков, но в данном случае ситуация больше похожа на оказание поддержки промышленности, полагает он.
Баллистическая ракета подводных лодок Р-27 (4К10, РСМ-25)
Результаты, полученные при разработке отечественных баллистических ракетных подводных лодок (БРПЛ) первого поколения (Р-11ФМ, Р-13 и Р-21), и сопоставление их с американскими достижениями в этой области (Polaris A1, Polaris A2) привели к постановке вопроса о необходимости качественного скачка в развитии морских стратегических сил.
Ясны были основные направления их развития: многократное увеличение боекомплекта ракет на подводной лодке; снижение габаритов ракет, боеголовок, пусковых установок (ракетно-стартовых систем) и ракетных шахт; автоматизация процессов обслуживания ракет при хранении, предстартовой подготовке и залповой стрельбе; всем повышение тактико-технических характеристик и эксплуатационных качественных ракет и ракетных комплексов и т.п. Целью разработки новых комплексов было обеспечение развития второй составляющей стратегических ракетных сил страны — морских стратегических ядерных сил. Для достижения этой цели был необходим значительный прогресс в отечественном морском ракетостроении. Принятая на вооружение отечественного ВМФ в 1963 году ракета Р-21 комплекс Д-4 с дальностью стрельбы 1400 км уступала по основным характеристикам американским ракетам Polaris A1 (1960 год, 2200 км) и Polaris A2 (1962 год, 2800 км).Кроме того, как отмечалось выше, число БРПЛ на типовой советской ракетной подводной лодке значительно превосходило число БРПЛ на типовой советской ракетной подводной лодке — 16 против 3.
Для новой ракетной подводной лодки требуется разработка, как новой ракеты, так и новой атомной подводной лодки.
24 апреля 1962 года вышло постановление Совета Министров СССР № 386—179 о разработке новой ракеты Р-27 комплекса Д-5 для вооружения новых атомных ракетных подводных лодок проекта 667А. Головным разработчиком по ракете и комплексу было назначено СКБ-385, главный конструктор — Макеев В.П. Разработка системы управления ракетой была поручена НИИ-592 (главный конструктор Семихатов Н. А.), размещение комплекса на подводной лодке проекта 667А — ЦКБ-18 (главный конструктор Ковалев С. Н.).
Испытания комплекса Д-5 производились в три этапа. Первый этап бросковых испытаний натурных макетов Р-27 производился с затапливаемого плавстенда ПСД-5 в сентябре 1965 года. Было выполнено два пуска. В январе 1967 года начались испытания макетов ракет на Черном море с борта подводной лодки проекта 613Д5 (переоборудованная на заводе № 444 в Севастополе опытовая лодка проекта 613Д7) в подводном положении.
Задержка работ была связана с тем, что лодка была получена заказчиком только 23 декабря 1965 года. 18 января 1967 года с глубины 45 м при лодки 3 узла, волнения моря 3 балла и скорости ветра 7-8 баллов осуществлён первый пуск макетаеты 4К10. Последнее, шестое испытание, было проведено 10 августа 1967 года. Параллельно проводился второй этап. Лётные испытания с наземного стенда на полигоне Капустин Яр производились с июня 1966 по апрель 1967 года. Всего было выполнено 17 пусков, из которых 12 признано успешными.Полномасштабные совместные лётные испытания Р-27 начались на Северном флоте на головной лодке проекта 667А — К-137 «Ленинец» в августе 1967 года. Всего было выполнено 6 пусков. Компания Д-5 с ракетой Р-27 была принята на вооружение 13 марта 1968 года постановлением Совета Министров СССР № 162—164, начиная с проекта 667А, все отечественные атомные подводные ракетные лодки новых проектов носили на обозначении «атомный ракетный подводный крейсер стратегического назначения». По сравнению с предыдущими комплексами с БРПЛ для ВМФ комплекс Д-5 представлял собой гигантский скачок вперед.
В составе Краснаменного Северного Флота — первого флота, получившего новые корабли, — РПКСН проекта 667А поступили в состав 19-й и 31-й дивизий.
Вместе с тем, по сравнению с БРПЛ. Посейдон С3 (1971 г., 4600 км, первая в мире БРПЛ с РГЧ ИН, 10 ББ). В 1968 году морские стратегические ядерные силы появились в Великобритании — второй по мощи страны НАТО: на вооружение поступили БРПЛ БРПЛ Polaris A3T вариант (Polaris A3 с повышенной устойчивостью к ПФЯВ).В 1971 году собственные БРПЛ M1 (2600 км) появились и у Франции, стремившейся проводить независимую от США ядерную политику.
В этих условиях 10 июня 1971 года было принято Постановление Совмина СССР по модернизации комплекса Д-5. Была поставлена цель создания двух вариантов модернизированной ракеты. В первом варианте используется оснащения ракеты головной частью с тремя боеголовками, с максимальной дальностью стрельбы предыдущего варианта и улучшением точностных характеристик.По второму варианту предусматривалось увеличить дальность стрельбы с одновременным повышением точности.
По второму варианту была создана ракета с дальностью 3000км и облегченной моноблочной термоядерной головной мощностью 1 Мт. Модернизированный вариант получил обозначение Д-5У, а ракеты — Р-27У.
Корабельные испытания ракет Р-27У проходили с сентября 1972 по август 1973 года. Было выполнено 16 пусков, все признаны успешными. Ракета Р-27У была принята на вооружение 4 января 1974 года постановлением Совета Министров № 8-5.Комплексом Д-5У с ракетами Р-27У оснащены строящиеся атомные подводные ракетоносцы проекта 667АУ (4 штуки), а также лодки проекта 667А после модернизации (8 штук). Всего же на двух судостроительных предприятиях (судостроительные заводы в гг. Северодвинск и Комсомольск-на-Амуре) с 1967 по 1972 годы было введено в строй 34 РПКСН проектов 667А «Навага» и 667АУ «Навага» (по некоторым данным, РПКСН, строившиеся в Северодвинске, имели обозначение «Навага», а в Комсомольске-на-Амуре — «Налим»). Ракетоносцы, построенные по последнему проекту, кроме улучшенных ракет, имели свою шумность, модернизированные навигационный комплекс и системы связи и т.
д. Кроме того, в 1981 году СКБ-385 была завершена модернизация комплекса Д-5, связанная с заменой моноблочной головной части на моноблочную ГЧ от комплекса Д-5У, что позволяло увеличить дальность стрельбы (комплекс Д-5М). При модернизации комплекса Д-5 и ракеты Р-27 представляют конструкторских доработок систем РПКСН и системного ракетного комплекса, размещаемых на РПКСН («под ракету») не проводилось. Корректировались алгоритмы цифровых вычислительных систем и базы данных, связанные с подготовкой полетного задания и эксплуатацией ГЧ нового типа.Наземное оборудование в основном аналогично таковому для комплекса Д-5.
Описанные выше модификации были единственными: первоначальным постановлением СМ от 24 апреля 1962 года создание комплекса Д-5 предусматривалось создание также ракеты с самонаводящейся боевой частью, способной поражать движущиеся корабли. Противокорабельный вариант ракеты получил обозначение Р-27К (индекс ГРАУ 4К18). Испытания комплекса ракетой Р-27К начались в декабре 1970 года.
Цикл наземных испытаний на полигоне Капустин Яр включал в себя 20 пусков (из них 16 признаны успешными).Под носитель ракет по опытовому проекту 605 была переоборудована дизель-электрическая подводная лодка — К-102 проекта 629, с 4-мя ракетными шахтами на борту. Первый пуск с подлодки был осуществлен в декабре 1972 года. А в ноябре 1973 года испытания завершились двухракетным залпом. Всего было выполнено 11 пусков, из них 10 признано успешными. Во время последнего пуска крейсер-мишень было поражено попаданием наводимого блока. В 1974 г. ракета была принята в опытную эксплуатацию.
В 1990-х годах проводились работы по созданию ракет-носителей на основе снимаемых с вооружения баллистических ракет подводных лодок.На базе Р-27 была создана ракета-носитель «Зыбь». Ракеты использовались в научно-исследовательских экспериментах, требующих создания микрогравитации. Период невесомости имел длительность от 17 до 24 минут. На суборбитальную орбиту «Зыбь» могла вывести полезный груз объёмом до 1,5 м3.
Масса полезной нагрузки могла достичь 650 кг при максимальной высоте орбиты 1800 км или 1000 кг при высоте орбиты 1000 км. Было осуществлено три запуска. 1 декабря 1991 года был запущен модуль «Спринт», используя СКБ-385 совместно с НПО «Композит».Модуль предназначен для отработки технологий получения сверхпроводниковых материалов и нес на борту 15 экзотермических печей. 9 декабря 1992 года и 1 декабря 1993 года были осуществлены запуски модуля «Эфир» с биотехнологической аппаратурой «Медуза» массой 80 кг. Модуль, предложенный совместно с Центром космической биотехнологии, предназначен для исследований технологии очистки биологических и медицинских препаратов методом электрофореза в условиях невесомости.
Комплекс Д-5 эксплуатировался с 1968 по 1998 годы.Всего было произведено около 1800 ракет, выполнено 492 пуска ракет, из которых 429 признано успешными. Максимальное количество пусков было в 1971 году — 58. Это своеобразный рекорд для советских и российских баллистических ракет подводных лодок.
Комплекс удерживает также рекорд по среднегодовому количеству пусков — 23.4. При эксплуатации комплекса Д-5У был выполнен 161 пуск, из них 150 успешных. Последние пуски ракет Р-27 и Р-27У по планам боевой подготовки были выполнены в 1988 году. После этого пуски осуществлялись только в исследовательских целях.За время эксплуатации (по одному разу на Северном и Тихоокеанском флотах) были запущены 8 ракет в одном залпе. Все пуски были признаны успешными. За весь период эксплуатации было выполнено более 10 тысяч погрузок-выгрузок ракет, лодками вооруженными РСМ-25 было осуществлено 590 боевых патрулирований в различных районах Мирового океана.
За время эксплуатации произошло несколько аварий с разрушением ракет. Погибли 6 человек и потерян один РПКСН. При погрузке с нарушением процесса погрузки-выгрузки ракета с высотой 10 м упала на причал.Был разрушен бак окислителя. Два человека из погрузочной партии погибли от воздействия паров окислителя на незащищенные органы дыхания. Трижды разрушалась ракета в шахте лодки, находящейся на боевом дежурстве.
В 1973 году на лодке К-219 находилась на глубине 100 м из-за ложного срабатывания системы орошения при открытом клапане осушения шахты и ручного клапана на перемычке между главной осушительной магистралью лодки и трубопроводом осушения произошло сообщение ракетной шахты с забортной водой.Давление в 10 атмосферное разрушило баки ракеты. При осушении шахты произошло возгорание ракетного топлива, но своевременное срабатывание системы автоматического орошения предотвратило дальнейшее развитие аварии. Лодка благополучно вернулась на базу. На учениях «Океан-76» на лодке К-444 провели предстартовую подготовку трех ракет. Был осуществлен пуск двух ракет, а стрельба третьей ракетой не производилась. Давление в бакахеты из-за ряда человеческих ошибок было сброшено до всплытия лодки. Давление забортной воды разрушило баки ракеты, а при всплытии и осушении шахты окислитель протек в шахту.Благодаря умелым действиям личного состава развития аварийной ситуации не произошло. Третий случай произошел также на лодке К-219 3 октября 1986 года.
По неустановленным причинам при погружении после сеанса связи в ракетную шахту стала поступать вода. Экипаж попытался отключить автоматику и слить нештатными средствами. В результате сначала давление сравнялась с забортным, и разрушились баки ракеты. Затем после осушения шахты произошло возгорание компонентов топлива. Отключённая автоматика орошения не сработала, и произошел взрыв на глубине 85 метров.Взрывом была сорвана крышка ракетной шахты (см. Фото), начался пожар в 4-м ракетном отсеке. Во время пожара и задымления в ракетных 4-м и 5-м отсеках погибли 3 человека, в том числе командир БЧ-2. Потушить пожар собственными силами экипажа не удалось, ракетоносец потерял энергию и ход. Позже при проведении процедуры выведения ГЭУ из эксплуатации погиб еще 1 человек. Попытка организовать буксировку РПКСН к Кубе с помощью подошедших советских кораблей успехом не увенчалась. Отсеки начали заполняться забортной водой, и личный после более чем 3-х суточной героической борьбы за живучесть вынужден постепенно покинуть аварийный ракетоносец, который затонул 6-го октября на глубине 5,65 км в районе 1000 км северо-восточнее Бермудских островов.
Эта катастрофа, с учетом произошедшей всего за 5 месяцев до этого Чернобыльской радиационной катастрофы и появившегося в мире радиационного психоза, нанесла новый серьезный удар по международному престижу СССР. Опыт эксплуатации ракет РСМ-25 был проанализирован и учтен при разработке новых комплексов. В результате при эксплуатации БРПЛ с ЖРД Первый модификаций не было ни одного случая гибели людей.
Первые ракетоносцы проектов 667А начали вывод из состава флота в соответствии с советско-американскими договоренностями в области сокращения вооружений уже в 1978 году с целью поддержания числа носителей ЯБ на определенном уровне.Часть ракетоносцев была переоборудована в ПЛА специального назначения (2 единицы, проекты 09774 и 09780), часть была трансформирована в ПЛА со стратегическими КРМБ «Гранат» (3 единицы, проект 667АТ). Один ракетоносец прошел модернизацию по проекту 667М с целью стратегических КРМБ «Метеорит». Прочие же выводы на консервацию с вырезанием ракетного отсека и утилизацией.
Модификация Р-27У была снята с вооружения еще до распада Советского Союза, в 1989 году. Другие варианты ракеты снимались с вооружения в России в исполнении договора СНВ-1.Согласно сентябрьскому меморандуму 1990 года, на территории СССР на Р-27 было развёрнуто 192 ядерных боезаряда (192 БРПЛ, 16 РПКСН на 3-х базах [«Ягельная» на КСФ, «Рыбачий» и «Павловское» на КТОФ]; еще 142 БРПЛ) на этих же базах хранились неразвернутыми). Кроме того, 173 неразвернутых БРПЛ РСМ-25 находились на 3-х пунктах складского хранения БРПЛ («Окольная», «Ревда» и «Ненокса») и объекте переоборудования и установки БРПЛ «Пашино». По состоянию на июль 1997 года в России на Р-27 оставалось 16 развёрнутых боезарядов (1 РПКСН).К 1998 году все ракеты Р-27 выведены из эксплуатации.
сравнительно небольшая дальность советских ракет обусловила необходимость боевого патрулирования советских ПЛАРБ в использовании мощных сил противолодочной обороны ВМС США и НАТО (особенно в 80-е годы). . Однако, несмотря на недостатков, СССР удалось создать достаточно эффективный стратегический ракетный комплекс, благодаря советским МСЯС вышли на качественно новый этап своего развития.
Появление в составе ВМФ значительного количества вполне современных РПКСН со значительным числом БРПЛ на каждом уровне повысить вероятность нанесения гарантированного ответного удара, прежде всего, с учетом точности новых ракет, по т.н. «мягким» целям — политическим, экономическим и промышленным центрам. На ракете Р-27 был впервые опробован ряд новых технических решений. Использование этих наработок на ракетных комплексах в дальнейшем полностью ликвидировать отставание от США в данном классе вооружений, а по ряду задач (астроинерциальные системы управления, БРПЛ межконтинентального класса и пр.) и опередить США.
Ракета Р-27 «западное» обозначение SS-N-6 Serb mod.1, модификации Р-27У — SS-N-6 Serb mod.3 и mod.2, Р-27К — SS-NX-13. Ракетоносцы проекта 667А (АУ) имели кодовое обозначение Yankee.
Баллистическая ракета подводных лодок «Р-27»
13.03.2019
В 1963 году на вооружение подводных сил военно-морского флота СССР был принят комплекс Д-4 с ракетой Р-21.
Впервые в отечественной практике удалось реализовать подводный старт ракеты, что положительным образом сказалось на живучести подлодок-носителей и эффективность применения ракет.Тем не менее, все еще сохранялось заметное отставание от вероятного приближенного. К этому времени ВМС США уже располагали ракетами UGM-27B Polaris A-2 с дальностью полета до 2800 км и эксплуатировали подлодки, способные нести по 16 подобным изделиям. Требовался новый качественный скачок, способ уменьшить или ликвидировать имеющееся отставание. Ответом на такие обстоятельства стало появление ракетного комплекса Д-5, вооруженного ракетой Р-27.
Решение о создании новой системы вооружения для подводных лодок было принято в апреле 1962 года и закреплено постановлением Совета министров.От оборонной промышленности требовалось разработать перспективную атомную подводную лодку и вооружить ее новым ракетным комплексом. Ракета этого комплекса должна иметь возможность доставки специальной боевой части на дальность до 2500 км.
Кроме того, может быть создан модернизированный вариант ракеты с повышенными характеристиками. Проект перспективного комплекса получил обозначение Д-5, ракеты для него — Р-27 (индекс управления ракетно-артиллерийского вооружения ВМФ — 4К10).Атомная подлодка-носитель получила обозначение «667А».
Передачи были поставлены несколько крайне конструктивных трудных задач. Создайте малогабаритную баллистическую ракету с высокими показателями дальности и повышенными эксплуатационными характеристиками. Первые исследования показали, что выполнение новых требований требует отказа от отработанных и проверенных временем идей. Требовались новые идеи в области компоновки агрегатов и другие нестандартные решения, новые изделия и т.д.
В ходе первых результатов проекта Р-27 были сформированы несколько оригинальных предложений, которые в дальнейшем были применены при создании новой ракеты. Более того, эти наработки были использованы в новых проектах ракетной техники. Можно утверждать, что в рамках проекта Д-5 / Р-27 начальное окончательное формирование современного облика отечественных баллистических ракет подводных лодок.
Главным «стимулом» к появлению новых идей и решений стали требования уменьшения габаритов ракеты. Для уменьшения размера изделия с повышенным повышением скорости полета в сравнении с существующими образцами требуется использовать более плотную компоновку внутренних размеров. Прежде всего было решено корпуса отказаться от традиционной компоновки с выраженным разделением на отсеки. Вместо этого внутренний объем должен быть разделен перегородками различного назначения.Также было решено отказаться от аэродинамической стабилизации в полете, что позволяет сократить поперечные габариты изделия.
Корпус одноступенчатой ракеты Р-27 должен иметь сложную форму, образованные поверхности. Обтекатель выполнялся из двух конических поверхностей и полусферической головной части. Остальной корпус ракеты был выполнен в виде цилиндра с незначительно суженной хвостовой частью. Стабилизаторы или другие крупные выступающие детали не предусматривались.При этом на внешней поверхности расположили четыре поперечных пояса из резинометаллических амортизаторов, удерживающих ракету внутри внутренней установки в требуемом положении.
Несущий корпус изготавливался из т.н. вафельных оболочек, выполненных из алюминиево-магниевого сплава АМг-6 по технологии химического фрезерования и соединенных сваркой. Такая конструкция при минимальном весе деталей. Для защиты от воды после старта системы во время полета корпус получил специальное покрытие на основе асботекстолита.
Головная часть ракеты (верхняя коническая деталь и часть нижней) вмещала боезаряд. Сразу за ним располагались системы управления. Примечательно, что ракета Р-27 не имеет отношения к привычному термину. Аппаратура управления помещалась не в отдельном отсеке корпуса, в небольшом герметизированном объеме, образованном дном боевой части и полусферическим верхним днищем бака окислителя.
Большая часть корпуса отдавалась под баки для топлива и окислителя.Важной особенностью баков было использование общих стенок, выполняющих функции несущего корпуса. Внутренний объем корпуса-бака разделяется днищами. Одно делило окислителя на два размера, а второе, имевшее двойную конструкцию, разделяет баки окислителя и горючего.
Такое техническое решение отказаться от межбакового отсека и тем самым размером размера ракеты.
Еще одним решением, направленным на сокращение габаритов, стало оригинальное размещение двигателя.Бак для горючего получил нижнее днище сложной формы, которое предполагает «утопить» двигатель внутри бака. Это привело к дополнительному сокращению габаритов без ухудшения прочих характеристик.
Специально для новой ракеты в ОКБ-2 под руководством А.М. Исаева был разработан жидкостный двигатель 4Д10, работающий на несимметричном тетилгидразине и азотномраоксиде. В конструкции двигателя присутствовал маршевый блок тягой 23 т и рулевой тягой 3 т. Двигатель оснащался турбонасосными агрегатами для подачи горючего и окислителя.Маршевый блок двигателя использовал дожигание окислительного газа и оснащался регулятором расхода горючего, при помощи которого должна быть изменяться тяга. Рулевой блок не дожигал окислительный газ, а регулировка его тяги должна осуществляться изменением подачи окислителя во все камеры.
Для управления применялись качающиеся камеры рулевого блока, установленные под углом 45 ° к плоскостям стабилизации ракеты.
С целью упрощения конструкции и улучшения эксплуатационных характеристик двигатель был выполнен необслуживаемым.При вводе двигателя предлагалось использовать только неразъемные соединения, такие как пайка или сварка. Подобная конструкция потребовала набор специальных переходников биметаллической конструкции, состоящих из стальных и алюминиевых деталей. Для запуска двигатель оснащался единственным пиропатроном и собственной автоматикой, необходимыми для вывода на рабочий режим.
Впервые в отечественной практике баллистическая ракета для флота должна быть заправляться на заводе-изготовителе.Было предложено заливать горючее и окислитель на финальной стадии сборки, после чего заправочные и дренажные патрубки должны быть завариваться. Ампулизированная ракета могла храниться на базах и в пусковых установках в течение пяти лет. В дальнейшем, с учетом опыта эксплуатации нового оружия, срок хранения был увеличен втрое.
Еще одно нововведение касалось конструкции системы управления. Автономная инерциальная система наведения размещена в герметизированном объеме, образованном днищами других агрегатов.При этом Р-27 стала первой отечественной ракетой для подлодок, в системе управления которой использовалась гиростабилизированная платформа. Последняя применяется для установки чувствительных элементов. Система наведения с улучшенными характеристиками позволяла стрелять с КВО не более 1,9 км при пуске на максимальную дальность.
Для ракеты Р-27 в НИИ-1011 была установлена специальная боевая часть весом 650 кг мощностью 1 Мт.Боезаряд выполнили отделяемым при помощи удлиненного заряда бризантного взрывчатого вещества. При создании новой боевой части конструктора пришлось столкнуться с некоторыми проблемами компоновочного характера. Тем не менее, все задачи были успешно решены, результатом чего стало появление боезаряда нового типа, отличного от других продуктов для ракеты Р-21 примерно вдвое меньшими габаритами без потерь мощности.
Новая баллистическая ракета отличалась от изделий аналогичного назначения меньшими габаритами.Длина Р-27 не превышала 9 м, диаметр составлял 1,5 м. Стартовая масса равнялась 14,2 т. Жидкостный двигатель мог разгонять ракету до скорости (в конце активного участка) 4,4 м / с, вывод на высоту до 120 км. После завершения активного участка должен быть сброс боевого блока, продолжавшего полет самостоятельно. Максимальная дальность стрельбы составляла 2500 км, при этом боезаряд поднимался на высоту до 620 км. При встрече с целью боевой блок развивал скорость до 300 м / с.
Для использования ракеты Р-27 подлодка-носитель должна была получить шахтную пусковую установку нового типа.Этот агрегат представляет собой прочный цилиндрический блок с открываемой верхней крышкой и набором необходимого оборудования. Пусковая установка получила стартовый стол новой конструкции, который должен быть соединяться со специальным переходником в хвостовой части ракеты. Задачей этих агрегатов было создание т.
н. газового колокола, при запуске снижающего давление внутри шахты до приемлемых значений. Также пусковая установка набор герметизированных разъемов для соединения ракеты с бортовой аппаратурой носителя.
Подлодка-носитель должна быть снабжена набором специального оборудования, предназначенного для слежения за состоянием ракет. При этом контроль за соблюдением режима единого пульта. Проведение регламентных проверок, предстартовая подготовка и стрельба управлялись с другим пультом. Для выработки полетного задания и введения данных в систему управления ракет предлагалась боевая информационно-управляющая система «Туча».
Ракета Р-27 имела возможность подводного старта по «мокрой» схеме.Перед запуском следовало заполнять крышку кольцевой зазор пусковой шахты забортной водой, после чего можно было открывать и выполнять запуск. Во время старта жидкостный двигатель должен запускать рулевые двигатели, при помощи которых создавался газовый колокол. После начала подъема должен был включиться маршевый двигатель, при помощи которого ракета могла покинуть шахту и вылететь из воды.
Испытания новой ракеты планировалось проводить в три этапа, целью которой была отработка изделия в различных условиях.Первые проверки состоялись в сентябре 1965 года с использованием погружаемой стенда. Два (по другим данным, до шести) натурных ракеты Р-27 были применены в бросковых испытаниях, в ходе проверили процесс выхода ракеты из шахты.
В июне 1966 года стартовал второй этап испытаний, продолжавшийся до весны 67-го. На полигоне Капустин Яр были выполнены 17 запусков опытных ракет по условным целям. 12 запусков признали успешными. Завершение испытаний с наземной пусковой установкой начать проверку с применением подводных лодок.
Еще в 1964 году началась модернизация подводной лодки С-229, на тот момент являвшейся представителем экспериментального проекта 613Д7 и использовавшейся в качестве опытного носителя ракеты РТ-15М, по проекту 613Д5. С лодки удалили имеющуюся пусковую установку, на место которой поставили менее крупную шахту для ракеты Р-27.
Кроме того, она получила набор нового оборудования, необходимого для обслуживания и применения таких ракет. В январе 1967 года С-229 впервые вышла в море для новых испытаний нового оружия.
18 января подлодка С-229, находясь на глубине 45 м и двигаясь со скоростью 3 узла, при волнении 3 балла впервые запустила натурный макет ракеты Р-27. До 10 августа включительно было выполнено еще пять запусков. Все испытания с использованием лодки проекта 613Д5 завершились успехом.
Летом 1967 года начался третий этап испытаний, в котором использовался штатный носитель комплекса Д-5 — атомная подводная лодка К-137 «Ленинец» проекта 667А «Навага».В августе начались запуски, в ходе которых было использовано шесть ракет. Эти совместные испытания завершились успешно, после чего ракетный комплекс Д-5 / Р-27 был рекомендован к принятию на вооружение.
13 марта 1968 года новую ракету и комплекс для нее принять на вооружение подводных сил ВМФ СССР. К этому моменту было развернуто полномасштабное серийное строительство подводных лодок проекта 667А.
Такие субмарины несли 16 пусковых установок, размещенных в двух рядах вдоль корпуса в четвертом и пятом отсеках.До середины семидесятых годов флот получил 34 подлодки типа «Навага» нескольких модификаций, которые были распределены между различными соединениями. В общей сложности они одновременно могли нести 544 ракеты Р-27.
С начала шестидесятых годов на базе баллистической ракеты Р-27 разработанаывалась противокорабельная Р-27К. Такое устройство получало полуактивную радиолокационную систему наведения и могло поражать подвижные цели в виде корабельных соединений. Проект Р-27К дошел до испытаний, но не привел к перевооружению флота и расширению списка ударных вооружений.Новое оружие посчитали неудобным и способным негативно сказаться на ядерных силах: для развертывания противокорабельных баллистических ракет требовались подлодки, что могло ударить по количеству развернутых стратегических вооружений. После завершения испытаний от Р-27К отказались, хотя работы по аналогичным системам продолжились.
В июне 1971 года вышло постановление Совмина по модернизации комплекса Д-5 с ракетой Р-27. Требуется два варианта увеличения расстояния между двумя вариантами обновления, один из которых должен быть разделяемой головной частью с боевыми блоками.Обновленный комплекс получил обозначение Д-5У, ракета для него — Р-27У.
Первый вариант модернизации используетсямевал сохранение всех вариантов использования ракеты при использовании новой головной части. На общем основании теперь предлагалось монтировать три сбрасываемых боевых блока мощностью по 250 кт. В конце активного участка ракета должна сбрасывать боевые блоки и придавать им небольшую боковую скорость. Предполагалось, что в таком случае боезаряды уменьшенной мощности будут лететь на некотором расстоянии друг от друга и падать в районе цели, в более высокой степени вероятности ее поражения.
Ракета Р-27У второго варианта получила облегченный боез чему мощностью 1 Мт, благодаря дальности стрельбы удалось довести до 3000 км.
Принципы работы систем систем при этом остались без изменений, хотя понадобились некоторые доработки конструкции.
Для двух версий ракеты Р-27У была улучшена обновленная система управления. За счет совершенствования ее приборов КВО было уменьшено до 1,3 км. В таком случае мощность боезаряда полностью компенсирует промах и гарантированное поражение цели.
С сентября 1972 года по август 1973-го проводились летные испытания новых ракет. По результатам испытаний в начале января 1974 года был принят на вооружение ракетный комплекс Д-5У и изделие Р-27У. В связи с этим комплексом Д-5У при строительстве было установлено четыре лодки обновленного проекта 667АУ «Налим». Еще восемь носителей новых ракет были переделаны из лодок проекта 667А.
Последняя модернизация ракетного комплекса Д-5 была проведена в начале восьмидесятых годов.Ракету Р-27 в конфигурации перевооружили облегченной моноблочной головной частью от изделия Р-27У. Это позволяет повысить дальность стрельбы до 3000 км.
Подобная модернизация комплекса известна под названием Д-5М.
Полноценная эксплуатация ракетных комплексов семейства Д-5 продолжалась в течение двух десятилетий, до 1988 года. За это время специалисты флота выполнили более 10 тыс. Руб. операции погрузки-выгрузки для обеспечения 590 выходов подлодок на боевое дежурство.Было выполнено 492 пуска ракет, из них 429 завершились успешным поражением учебных целей. В 1971 году атомные подлодки семейства «667А» установили рекорд, выполнив в общей сложности 58 запусков. Это достижение не превзойдено до сих пор. В среднем в год использовалось 23,4 ракеты. Из 492 пусков 161 пришелся на комплексы Д-5У. Ракеты Р-27У 150 раз справились с поставленными учебно-боевыми задачами.
Особый интерес представляют учебно-боевые мероприятия, дважды проведенные подводниками Северного и Тихоокеанского флотов.20 декабря 1968 года подлодка К-140 Северного флота выполнила стрельбу залпом из восьми ракет (по другим данным, два залпа по восьми ракетам).
Вперед аналогичную стрельбу выполнила одна из лодок Тихоокеанского флота.
К сожалению, не обошлось без аварий и потерь. Первый серьезный инцидент (точные место и дата происшествия неизвестны, вероятно, начало семидесятых) привел к гибели двух людей. Во время погрузки ракеты на подлодку-носитель из-за неправильных действий устройства и конструкции конструкции произошел перекос изделия и конструкции траверзы.Перекос привел к срыву ракеты с креплений и падению на причал. Топливный бак уцелел, но в баке окислителя появилась пробоина. Парами окислителя отравились двое участников работ. По результатам этого инцидента была доработана система погрузки ракет.
В 1976 году на подлодке К-444 произошла авария, но ее экипажу удалось предотвратить негативные последствия. Из-за неправильной подготовки трех ракет Р-27 к запуску произошло заполнение шахты забортной водой с повреждением конструкции баков.После всплытия и осушения шахты это привело к утечке окислителя. Экипаж сделал необходимые меры и не допустил пожара.
Две аварии произошли на подводной лодке К-219 проекта 667А, причем вторая привела к ее потере. В 1973 году автоматика пусковой установки допустила открытие клапанов заполнения шахты, что привело к повреждению ракеты давлением забортной воды. При осушении пусковой установки компонентов топлива вытекли из поврежденных баков и загорелись, но автоматическое орошение не дало пожару развиться.Подлодка вернулась на базу и прошла ремонт.
3 октября 1986 года К-219 вновь столкнулась с проблемами. По невыясненным причинам, при погружении лодки в одну из пусковых шахт начала проникать вода. Попытка экипажа осушить шахту нештатными средствами при выключенной автоматике не увенчалась успехом, но привела к повышению давления и разрушению ракеты. На этот раз выключенная система автоматического орошения не смогла предотвратить пожар. Возгорание привело к взрыву со срывом крышки пусковой установки и распространению огня на четвертый отсек.Ввиду невозможности самостоятельного тушения пожара экипаж был вынужден эвакуироваться и затопить лодку.
В этой аварии погибли трое подводников.
Нельзя не отметить, что, при всех имевшихся происшествиях, ракетный комплекс Д-5 / Р-27 показал себя и надежным вооружением для подводных лодок. В конце восьмидесятых годов началось снятие комплексов с вооружения по моральному и устареванию, а также из-за подписания новых международных соглашений.Так, в связи с исполнением договора СНВ-1 к концу девяностых годов в подводных силах было разработано не более 16 ракет Р-27. Вскоре и их сняли с вооружения.
В начале девяностых годов на базе баллистической Р-27 была заложена ракета-носитель «Зыбь». Основной целью этих изделий было несение специального исследовательского оборудования, предназначенного для работы в условиях микрогравитации. Имелась возможность вывода на суборбитальную траекторию груза объемом 1,5 куб.м весом до 1 т.1000-кг груз мог достигать высоты 1000 км, максимальная высота 1800 км обеспечилась при грузе весом 650 кг.
1 декабря 1991 года, 9 декабря 92-го и 1 декабря 93-го были выполнены три запуска ракет «Зыбь» с научным аппаратом разных типов и различного назначения.
После этой эксплуатация ракет-носителей нового типа прекратилась.
Комплекс Д-5 и ракета Р-27, предназначенные для вооружения подводных лодок, эксплуатировались в течение нескольких десятилетий и занимали важное место в стратегических ядерных силах Советского Союза.Кроме того, в рамках этого проекта были достигнуты серьезные успехи конструкторского и технологического характера. В проекте Р-27 впервые в отечественной практике были внедрены несколько важнейших решений, которые в дальнейшем стандартом при разработке новых баллистических ракет подводных лодок. Кроме того, для комплекса Д-5 создан проект подлодки 667А, дальнейшее развитие которого позволяет значительно усилить морскую компоненту ядерной триады и поддерживать ее потенциал в течение длительного времени.
Военное обозрение.
Оставить отзыв:
Р-27 (ракета воздух-воздух) — Р-27 (ракета воздух-воздух)
Ракета класса «воздух-воздух»
Эта статья про ракету класса «воздух-воздух».
О баллистических ракетах подводных лодок см.Р-27 Зыб. Для использования в других целях, см. R27.Тип средней дальности, тактическая ракета воздух-воздух, противорадиационная ракета
| Р-27 АА-10 Аламо | |
|---|---|
| Тип | Тактическая ракета класса «воздух-воздух» средней дальности, противорадиационная ракета |
| Место происхождения | Советский Союз |
| История обслуживания | |
| В сервисе | 1983 — настоящее время |
| Войны | Иранско-иракская война Эритрейско-эфиопская война Война в Донбассе Гражданская война в Йемене (с 2015 г.по настоящее время) Вмешательство Саудовской Аравии в Йемен |
| История производства | |
| Производитель | Вымпел |
| Себестоимость единицы продукции | Нет данных |
| Характеристики | |
| Масса | 253 кг (558 фунтов) |
| Длина | 4,08 м (13,4 футов) |
| Диаметр | 230 мм (9,1 дюйма) |
| Боеголовка | взрывной / осколочный или сплошной стержень |
| Масса боевой части | 39 кг (86 фунтов) |
Детонационный | радиолокационные неконтактные и ударные взрыватели |
| Двигатель | Высокая производительность, Вт. Ракетный двигатель направленного действия Ракетный двигатель на твердом топливе |
| Размах крыльев | 772 мм (30,4 дюйма) |
Рабочий | Р-27Т: до 40 км Р-27Р: до 73 км Р-27П: до 80 км Р-27ЭР: до 130 км Р-27ЭТ: до 120 км Р-27ЭП: до 130 км Р — 27EA: до 130 км Р-27ЭМ: до 170 км |
| Высота полета | Нет данных |
| Маха 4,5 | |
| полуактивное радиолокационное наведение (A / C), активное радиолокационное самонаведение (R-27EA), инфракрасное самонаведение (B / D), пассивное радиолокационное наведение (E / F) |
Стартовая | Су-27, Су-30, Су-33, Су-34, Су-35, Су-37, F-14 (сделано Ираном), МиГ-23, МиГ-29, Як-141, Су-57, местная конверсия в зенитную ракету в Йемене |

Ракета « Вымпел» Р-27 (по классификации НАТО — AA-10 Alamo ) — это ракета класса «воздух-воздух» средней и большой дальности, разработанная Советским Союзом. Он остается на вооружении ВВС России и ВВС Содружества Независимых Государств.
Р-27 производится в версии с инфракрасным (R-27T), полуактивным радиолокационным самонаведением (R-27R) и с активным радиолокационным самонаведением (R-27EA) как в России, так и на Украине.Ракета Р-27 установлена на истребителях Микояна МиГ-29 и Сухой Су-27, а некоторые истребители МиГ-23МЛД более поздней модели также были адаптированы для ее установки. Ракета Р-27 также произведена по лицензии в Китае, хотя лицензия на производство была куплена на Украине, а не в России.
Варианты
9Б-1101К, инерционная полуактивная головка самонаведения для ракет Р-27Р.- Р-27Р АА-10 Аламо-А , полуактивная радиолокационная станция самонаведения.Ракета может установить на высоте от 20 до 25 000 метров (пусковая площадка или цель).
Эффективная дальность поражения цели на той же высоте: от 2 до 42,5 км лобовым, от 0,7 до 7,5 км хвостовым. Максимальная дальность: 73 км. Максимально допустимое вертикальное разделение между целью и стартовой платформой: +/- 10 км. - Р-27Т АА-10 Аламо-Б , инфракрасное самонаведение, пассивное самонаведение с помощью ИК-самонаводящейся головки «Автоматика 9Б-1032» (ПРГС-27).Ракета может установить на высоте от 20 до 25 000 метров. Эффективная дальность цели на той же высоте: от 2 до 33 км в лоб, от 0 до 5,5 км в хвостовой части. Максимальная дальность: 63 км. Максимально допустимое вертикальное разделение: +/- 10 км.
- Р-27ЭР AA-10 «Аламо-С» , полуактивная радиолокационная версия повышенной дальности самонаведения. Ракета может установить на высоте от 20 до 27 000 метров. Эффективная дальность поражения цели на той же высоте: от 2 до 65,5 км лобовым, от 0,7 до 16,5 км хвостовым.Ракета не может быть запущена на высоте 3 км по цели на фоне земли, если дальность пуска менее 6 километров.
Максимальная дальность: 117 км. Максимально допустимое вертикальное разделение: 12 км. - Р-27ЭТ АА-10 «Аламо-Д» , вариант с инфракрасным самонаведением и дальностью действия. Масса 348 кг. Ракета может установить на высоте от 20 до 27 000 метров. Эффективная дальность поражения: от 2 до 52,5 км в лоб, от 0,7 до 12,5 в хвост. Максимальная дальность: 104 км.Максимально допустимое вертикальное разделение: 12 км.
Варианты Р-27Р и ЭР назад в любых метеорологических условиях. Пуск может производиться при перегрузке менее 5 г и скорости крена менее 50 град / с. Допускается изменение обозначения целей во время полета или совместное освещение цели с другими самолетами.
Варианты R-27T и ET Местонахождение внечности, по крайней мере, на 15 градусов от пеленга солнца от пеленга Луны и в условиях контрастного тепла на земле.В пуска на максимальную дальность, когда заблокируется не может быть случаев, ракета может быть запущена в режиме PPS: в этом режиме ракета будет лететь прямо, пока не достигнет захвата цели.
Чтобы ракета была направлена под углом не более 15 градусов к цели для уверенного захвата инфракрасной ГСН после пуска, ракета должна быть направлена под углом не более 15 градусов. Выравнивание рекомендуется, но не требуется. В разделе «Боевые действия» по руководству Су-27 этот режим использования рекомендуется для лобового использования для пассивных атак по целям с углом приближения 0 градусов (т.е. другой истребитель движется на перехват), оставляя цель незаметной для приближающейся ракеты. Запуск может производиться при весе от 0 до 7 г , но ограничен до 6 г, , если проскальзывание, вызванное качением, диаметр шара более чем в 2 раза.
Другие варианты:
- Р-27П АА-10 Аламо-Э , пассивная РЛС самонаведения с дальностью полета до 72 км.
- Р-27ЭП АА-10 Аламо-Ф , пассивная противорадиационная ракета большей дальности с дальностью до 70 нм (110 км)
- Р-27ЭА , активная РЛС самонаведения с активностью ГСН 9Б-1103К, дальность действия> 130 км.

- Р-27ЭМ , активная радиолокационная станция самонаведения с активностью ГСН 9Б-1103К, дальность действия> 170 км.
Оперативное обслуживание
Эфиопия и Эритрея
Во время эритрейско-эфиопской войны 1999 г. эритрейские МиГ-29 сражались с эфиопскими Су-27, пилотируемыми российскими наемниками. Возможно, с обеих сторон было выпущено 24 Р-27. Только один Р-27, выпущенный эфиопским Су-27 по эритрейскому МиГ-29 с неконтактным взрывателем, находится достаточно близко от МиГа, чтобы поврежденный самолет в конечном итоге разбился при посадке.
Украина
Во время войны в Донбассе, то украинские ВВС заявили, что один из его Су-25 был сбит ВВС России МиГ-29 с использованием R-27T 16 июля 2014 года российские официальные лица отрицают свою причастность.
Йемен
Во время гражданской войны в Йемене (с 2015 г. по настоящее время) хуситы использовали ракеты Р-27Т, модифицированные для использования в ракет класса «земля-воздух».
Видео опубликованное 7 января 2018 года, также показывает, как модифицированный Р-27Т поражает саудовский F-15 на переднюю инфракрасную камеру.Источники-хуситы утверждают, что они сбили F-15, хотя это оспаривается, поскольку похоже, что ракета взорвалась вблизи, хотя F-15 продолжал лететь по своей траектории, казалось бы, не пострадав. Позже повстанцы опубликовали кадры, показывающие крушение самолета, однако серийные номера на обломках предполагали, что это был самолет Panavia Tornado, также эксплуатируемый саудовскими силами. 8 января Саудовское агентство печати признало потерю самолета над Йеменом, но не уточнило, был ли это «Торнадо» или F-15.
21 марта 2018 года повстанцы-хуситы опубликовали видео, на котором они сбили саудовский F-15 и, возможно, сбили его в провинции Саада. На видео была запущена ракета класса «воздух-воздух» Р-27Т, адаптированная для использования «земля-воздух», которая, по всей видимости, успешно поразила самолет. Как и на видео с предыдущим аналогичным попаданием, записанным 8 января, цель, хотя и явно поражена, не оказалась сбитой.
Саудовские силы подтвердили факт попадания, заявив, что благополучно приземлился на самолет саудовской базе.Официальные источники в Саудовской Аравии подтвердили инцидент, сообщив, что он произошел в 15:48 по местному времени после того, как по местному истребителю из аэропорта Саада была запущена ракета класса «земля-ПВО».
Операторы
Карта с операторами Р-27 синим цветом с бывшими оператора в красномТекущие операторы
Бывшие операторы
Смотрите также
Подобное оружие
Рекомендации
- Цитаты
- Библиография
- Гордон, Ефим (2004). Советское / российское авиационное вооружение после Второй мировой войны . Хинкли, Англия: Midland Publishing. ISBN 1-85780-188-1 .
внешние ссылки
Баллистическая ракета 4К10 Р-27 (СССР)
БРПЛ Р-27 (индекс УРАВ ВМФ — 4К10, код СНВ — РСМ-25) — жидкостная одноступенчатая баллистическая ракета подводных лодок.
В составе ракетного комплекса Д-5 входила в состав вооружения атомных подводных лодок проектов 667А и 667АУ.Разработка ракеты была задана постановлением ЦК КПСС и Совета Министров СССР от 24 апреля 1962 года № 386-179сс. Головным разработчиком было определено СКБ-385. Главный конструктор — В. П. Макеев. Основная цель создания ракетного комплекса Р-27 — устранение неисправности американской ракетной системы. При разработке ракеты был применен ряд новаторских решений, самых лучших качеств ракеты Р-27, так и разработок СКБ-385.Так называемый «утопленник», так называемый «утопленник», отсутствовало традиционное использование отсеки, не использовался, максимально использовался внутренний объем для размещения в нем компонентов топлива. Цельносварной герметичный корпус был изготовлен из вафельных оболочек, полученных химическим фрезерованием плит, материалов для которых служил алюминиево-магниевый сплав. Объем воздушного колокола уменьшался за счет последовательного пуска при старте сначала рулевых двигателей, а потом маршевого двигателя.
И ряд других новшеств. Все эти нововведения позволили уменьшить габариты ракеты, но увеличить максимальную дальность стрельбы по с ракетой Р-21 в два раза.
Ракета Р-27 была выполнена по одноступенчатой схеме с моноблочной отделяемой головной частью. На ракете устанавливался жидкостный ракетный двигатель 4Д10 разработки ОКБ-2, состоявший из двух блоков: из маршевого блока тягой 23 тонны и рулевого блока из двух камер общей тягой 3 тонны. В качестве горючего применялся несимметричный диметилгидразин (НДМГ), в качестве окислителя — азотный тетроксид (АТ).Элементы инерциальной системы управления впервые в СССР (для БРПЛ) были размещены на гиростабилизированной платформе. Ракета оснащалась моноблочной отделяемой головной частью весом 650 кг. Мощность размещенного на ней ядерного заряда составляла 1 мегатонну. Пуск ракет осуществлялся с глубиной 40-50 метров при скорости лодки до 4 узлов и волнении моря 5 баллов. Время предстартовой подготовки ракет 10 минут. Интервал стрельбы ракет в одном залпе — 8 секунд.
Ракета Р-27 была принята на вооружение 13 марта 1968 года.Спустя три года, 10 июня 1971 года, было принято постановление ЦК КПСС и Совета Министров СССР по модернизации ракетного комплекса, предусматривавшей в первом варианте оснащение ракеты головной частью с тремя боеголовками, с сохранением максимальной дальности стрельбы, во втором варианте — увеличение дальности и повышение точности стрельбы. Модернизированная ракета получила обозначение Р-27У (код ГРАУ — 4К10У). В результате проведенных работ была создана ракета тремя боевыми блоками мощностью по 200 килотонн с максимальной дальностью стрельбы 2400 километров.Разделяющаяся головная часть не индивидуального наведения — в конце участка блоки «расталкивались» в разные стороны с небольшой скоростью. По второму варианту была создана дальность стрельбы 3000 километров и моноблочной головной мощностью 1 мегатонна. Круговое вероятное отклонение составляло 1,3 километра.
Корабельные испытания ракет Р-27У проходили с сентября 1972 года по август 1973 года.
Было выполнено 16 пусков, все они признаны успешными.Ракета Р-27У была принята на вооружение постановлением ЦК КПСС и Совета Министров СССР от 4 января 1974 года № 8-5сс. Ракетным комплексом с ракетами Р-27У оснащены строящиеся атомные подводные ракетоносцы проекта 667АУ, а также лодки проекта 667А после модернизации.
Постановлением ЦК КПСС и Совета Министров СССР от 24 апреля 1962 года по созданию ракеты Р-27 также была создана разработка ракеты с самонаводящейся боевой частью, способной поражать движущиеся корабли.Противокорабельный вариант ракеты получил обозначение Р-27К (индекс ГРАУ — 4К18). Ракета оснащалась 2-й ступенью с жидкостным ракетным двигателем разработки ОКБ-2. Для сохранения габаритов ракеты были уменьшены размеры 1-й ступени, что было достигнуто к достижению максимальной дальности стрельбы до 900 км. Головная часть моноблочная, ядерная, мощностью 0,65 мегатонны. Несмотря на достаточно ранние сроки начала разработки ракеты Р-27К, ее испытания начались только в декабре 1970 года.
Цикл наземных испытаний на полигоне Капустин Яр включал в себя 20 пусков.Из них 16 признаны успешными.
Для размещения ракет по проекту 605 была переоборудована подводная лодка К-102 проекта 629. Первый пуск с подлодки был осуществлен в декабре 1972 года. А в ноябре 1973 года испытания завершились двухракетным залпом. Всего было выполнено 11 пусков, из них 10 признаны успешными. Во время последнего пуска крейсер-мишень было поражено попаданием наводимого блока. Ракета Р-27 находилась на вооружении до 1988 года. В этот период было выполнено 492 пуска, из которых 429аны признаны успешными.Максимальное количество пусков было в 1971 году — 58. Это своеобразный рекорд для советских и российских баллистических ракет подводных лодок. Комплекс удерживает также рекорд по среднегодовому количеству пусков — 23,4 пуска.
За годы нахождения на вооружении был выполнен пуск 161 ракеты Р-27У. Из них 150 пусков — успешные. Последние пуски ракет Р-27 и Р-27У по планам боевой подготовки были выполнены в 1988 году.
После этого пуски осуществлялись только в исследовательских целях.За время эксплуатации ракеты дважды (по одному разу на Северном и Тихоокеанском флотах) были запущены 8 ракет в одном залпе. Все пуски были признаны успешными. Ракета Р-27У была снята с вооружения в 1989 году. На основе БРПЛ Р-27У была заложена ракета-носитель «Зыбь».
Технические характеристики 4К10 Р-27
Длина, м 8,89
Диаметр, м 1,5
Стартовая масса, т 14,2
Масса боевой части, т 0,65
Максимальная дальность, км 2500
Круговое вероятное отклонение, км 1,9
Тип головной части — моно
Мощность головной части, Мт 1
авторы статьи: А.Б. Железняков
первоисточник: «100 лучших ракет СССР и России»
Противокорабельная баллистическая ракета Р-27К
Современные ударные системы, предназначенные для уничтожения надводных космических устройств, основываются на крылатых различных типах. Подобное вооружение давно показало себя с хорошей стороны и пользуется заслуженной популярностью.
Тем не менее в прошлом неоднократно предпринимались попытки экспериментов противокорабельный комплекс на основе баллистической ракеты.Большинство проектов не приводит к перевооружению вооруженных сил, однако получить важный опыт. Первой отечественной противокорабельной баллистической ракетой стало изделие Р-27К. В апреле 1962 года Совмин СССР постановил начать разработку новой баллистической ракеты средней дальности, предназначенной для использования подводными лодками. Проект ракетного комплекса получил условное обозначение Д-5, сама ракета — Р-27. Разработчиком проекта было назначено миасское СКБ-385 (ныне Государственный ракетный центр), руководить работами должен был В.П. Макеев. Работы по проекту Д-5 / Р-27 привели к тому, что в 1968 году на вооружении подводных лодок был принят новый ракетный комплекс.
Так же в 1962 году появилось предложение по разработке модификации Р-27, предназначенной для целей уничтожения надводных целей на дальностях до 900 км. Противокорабельная ракета под названием Р-27К или 4К18 должна быть основана на агрегатных изделиях Р-27, которые имеют характеристики предназначение.
В связи с необходимостью использования малоразмерных движущихся целей противокорабельная ракета должна получить набор нового оборудования, в том числе системы самонаведения.
Ракеты Р-27К на испытательном стенде. Фото Rbase.new-factoria.ru
Расчеты показывали, что первые системы обнаружения определяют определение надводных целей с точностью до 25-30 км. При этом время предстартовой подготовки цель могла сдвинуться на 100-150 км от ранее определенной точки. Таким образом, противокорабельная баллистическая ракета должна быть оборудована системами самонаведения для самостоятельного определения местоположения цели.
Уже в 1962 году была предложена общая архитектура нового изделия, которая позволяет решить поставленную задачу. Предлагалось переработать имеющуюся ракету и сделать ее двухступенчатой. Задачей первой ступени в таком случае был предварительный разгон и вывод ракеты на требуемую баллистическую траекторию, а вторая ступень должна была находить и поражать цель. Кроме того, аванпроект первой версии предлагал способы решения задач по поиску целей и наведению на них.
Было предложено использовать вторую ступень в виде обтекаемого агрегата с радиопрозрачной головной частью и пассивной радиолокационной системой бокового обзора.При помощи раскладной крестообразной антенны бокового обзора предлагалось осуществлять поиск сигналов радиоэлектронных систем, а окончательное наведение было производиться при помощи пассивной радиолокационной ГСН. Также предлагалось использовать достаточно сложную аппаратуру управления с гироскопическими приборами и т.д.
Ранние работы по проекту Р-27К вызвать к формированию круга основных задач, которые требовалось решить для создания ракеты. Прежде всего, было определено, что вторая ступень ракеты с системы наведения получается слишком крупной.Она может занимать до 40% габаритов всей ракеты, из-за чего пришлось бы сократить размеры первой ступени и уменьшить объемы ее баков. В таком случае дальность полета ожидалась значительно ниже ожидаемой. Кроме того, системы наведения второй ступени нуждались в жаропрочном обтекателе, способном пропускать радиосигналы.
Требуются материалы с такими характеристиками в то время отсутствовали, а их создание требовало времени и проведения дополнительных исследований.
Ракета Р-27 стандартной версии на транспортной тележке.Фото Rbase.new-factoria.ru
Вероятно, именно отсутствие готовых наработок для изготовления радиопрозрачного обтекателя привело к тому, что в 1963 году СКБ-385 разработало сразу два варианта ракеты Р-27К с разными вариантами систем наведения. Оба предэскизных проекта использовали унифицированную первую ступень, основанную на агрегатах Р-27. Ступень получила укороченный корпус с баками для топлива и окислителя, а также должна быть оснащаться жидкостным двигателем, унифицированным с Р-27.Сверху на первой ступени должна устанавливаться вторая, имеющая собственные системы управления, двигатель и т.д.
Вариант раннего проекта «А», предполагаемый в 1963 году, предполагал управление полетом баллистическим и аэродинамическими методами. После сброса первой ступени ракета при помощи антенны бокового обзора была принимать сигналы корабля-цели и определять его местоположения.
Затем производилась баллистическая корректировка курса, для чего использовались кратковременные включения двигателя второй ступени.При помощи одного или двух включений двигателя (запас топлива был ограничен) вторая ступень должна быть выходить на требую траекторию.
Пройдя верхнюю часть баллистической траектории, ракета должна пройти пассивную радиолокационнуюку самонаведения, находить цель и лететь к ней. Для управления в атмосфере предлагалось использовать аэродинамические рули. Такой вариант двухэтапного баллистического аэродинамического наведения позволяет обеспечить высокую точность попадания и давал возможность применения мощной боевой части.
Вариант «Б» предлагал использование только баллистической коррекции курса. На рассчитываемый участок полета ракета должна находить цель при помощи антенны бокового обзора, требую желаемую траекторию и выходить на нее. После возврата в атмосферу коррекция курса не предусматривалась. Баллистическое наведение снижало точность и требовало более мощной боевой части.
При этом такая система наведения отличалась простотой и не требовала сокращать габариты первой ступени больше допустимых пределов, позволяя достичь требуемой дальности пуска.
Вариант «А» предэскизного проекта. Рисунок Otvaga2004.ru
После анализа двух предварительных проектов было решено отказаться от двухэтапного наведения. Реализация баллистической и аэродинамической коррекции курса была связана с массой проблем и не могла быть осуществлена в полной мере. По этой причине от проекта «А» отказались, продолжив развитие варианта «Б». Определять цель предлагалось при помощи пассивной радиолокационной системы бокового обзора. От второго ГСН для поиска целей на нисходящем участке отказались.
К созданию системы наведения для изделия 4К18 был привлечен НИИ-592. Готовая система управления основывалась на полупроводниковой элементной базе и должна была решать задачи поиска цели с последующим расчетом траектории полета к ней. Общие особенности работы определялись в соответствии с предварительным проектом.
Одновременно с этим предлагались некоторые новые решения. Для поиска целей предлагаться использовать пассивную радиолокационную ГСК с крестообразной приемной антенной. При транспортировке и на начальном участке полета антенна должна быть располагаться в цилиндрическом отсеке корпуса второй ступени.После выхода на участок коррекции траектории ракета должна быть выдвигать и раскладывать антенну для поиска сигналов цели.
Найдя цель и рассчитав оптимальную траекторию для ее поражения, вторая ступень ракеты должна была корректировать свой курс при имеющемся двигателе. Запас позволял топлива запускать двигатель дважды. После коррекции курса и торможения вторая ступень должна быть переходить на нисходящий участок траектории и следовать к цели.
Готовый проект ракеты Р-27К предполагмевал строительство двухступенчатого изделия, основанного на агрегатах варианта ракеты Р-27.Противокорабельная ракета длина около 9 м и диаметр 1,5 м. Стартовый вес составлял 13,25 м. Ракета новой отличалась характерным внешним видом.
Она получила головную часть сложной формы, образованной коническими и цилиндрическими поверхностями. Сложный головной обтекатель имел большую длину в сравнении с агрегатами ракеты Р-27.
Вариант «Б» предэскизного проекта. Рисунок Otvaga2004.ru
Уменьшенная по длине первая ступень с сокращенным запасом топлива и окислителя оснащалась жидкостным двигателем 4Д10, разработанным в ОКБ-2.В составе двигателя имелся маршевый блок с тягой 23 т и рулевая система из двух отдельных камер общей тягой 3 т. Двигатель потреблял топливо в виде несимметричного диметилгидразина и азотный тетраоксид в качестве окислителя. Любопытной особенностью силовой установки ракет Р-27 и Р-27К было размещение двигателя. Впервые в отечественной и зарубежной практике для экономии места двигатель был помещен внутри топливного бака.
Запуск ракеты 4К18 может осуществляться при помощи стандартной шахтной установки комплекса Д-5, ракеты для подводных лодок нескольких проектов.Перед запуском шахта должна была быть затапливаться, а кроме того, следовало следовало наддув баков для компенсации давления.
При выходе из пусковой установки ракета должна быть в т.н. газовом воздействии, что позволяет снизить колокол воздействия окружающей воды. После подъема на поверхность ракета продолжала полет к цели при помощи систем наведения.
Уменьшение первой ступени топливных баков привело к значительному снижению дальности полета в сравнении с текущей ракетой.Р-27 для наземных целей могла лететь на дальность до 2500 км, как противокорабельная Р-27К способна атаковать объекты лишь с 900 км.
Поражение цели предлагалось при помощи моноблочной боевой части мощностью 650 кт. Такой ядерный боезаряд позволяет компенсировать эффективное поражение надводных кораблей.
Сравнение ракет Р-27К (слева) и Р-27 (справа). Рисунок Широкорад А.Б. «Оружие отечественного флота. 1945-2000»
Для первоначального целеуказания предлагалось использовать и перспективные системы обнаружения надводных объектов. Во время разработки проекта Р-27К на вооружении состояла система «Успех», основывавшаяся на разведывательных самолетах.
В целях планирования в строй систему «Легенда» с космическими аппаратами радиолокационной разведки. Появление последней возможности использовать ракеты 4К18 с максимальной эффективностью.
Основной обязательный СКБ-385 была разработка базового проекта Р-27.Из-за этого проект противокорабельного оружия создавался со значительным отставанием от него. В результате этого отставания ракетный комплекс Д-5 с ракетой Р-27 был принят на вооружение в 1968 году, и испытания ракеты 4К18 начались только в 1970-м. Одной из причин такого отставания стали затруднения с разработкой тех или элементов противокорабельной ракеты.
В декабре 1970 года на полигоне Капустин Яр состоялся первый испытательный пуск ракеты Р-27К. В этих испытаниях использовался стационарный наземный стенд.В течение нескольких месяцев было выполнено 20 пусков. 16 запусков засчитали, тогда как остальные завершились неудаччей. Вскоре были выполнены несколько бросковых пусков с применением погружающегося стенда. В ходе такой проверок отрабатывался вход изделия из пусковой установки субмарины, находящейся в подводном положении.
С середины шестидесятых годов решался вопрос выбора подлодки-носителя новых противокорабельных баллистических ракет. Комплекс Д-5 с ракетой Р-27К предлагалось использовать с субмаринами нескольких типов.Тем не менее, дальше предварительных работ продвинулись только проекты 667А, 687 и 705Б. Такие субмарины должны были быть нести от 4 до 16 ракет нового типа. В дальнейшем при разработке всех проектов возникли проблемы. Так, поставленные в серию АПЛ 667А теперь должны быть только проекта в стратегических ядерных силах, а их применение в качестве носителей 4К18 посчитали нецелным и недопустимым с точки зрения ударного потенциала. Проекты 687 и 705Б, в свою очередь, столкнулись с многочисленными проблемами технического характера.В итоге три проекта так и не были реализованы.
Дизель-электрическая подлодка проекта 629/605. Рисунок Wikimedia Commons
К началу семидесятых годов вопрос носителя новых ракет не был решен, однако близились испытания с запусками с подлодки. Из-за этого было решено привлечь к испытаниям одну из субмарин.
В качестве опыта судна для испытаний ракет нового типа была выбрана дизель-электрическая подлодка К-102 проекта 629. Ее предлагалось переоборудовать по новому проекту 605, предлагавшему установку четырех пусковых шахт и ряда другого оборудования.В частности, обновлению подверглись навигационный комплекс и система целеуказания.
9 декабря 1972 года подводная лодка К-102 впервые произвела запуск ракеты Р-27К. Примерно за год испытаний было израсходовано 11 ракет, которые использовались для различных целей. Особый интерес представляет последний запуск, состоявшийся 3 ноября 1973 года. В этот раз две ракеты 4К18 были запущены по мишени в виде баржи с радиолокационной станцией. Одна из выпущенных ракет успешно навелась на цель и поразила ее прямым попаданием.Вторая вышла в районе цели с допустимым отклонением от нее. Примечательно, что к моменту старта ракета неопределенность в положении цели достигала 75 км. Несмотря на это, пассивная система самонаведения обнаружила цель и уничтожила ее.
В целом, испытания завершились успехом. 10 запусков из 11 признали удачными.
2 сентября 1975 года, после завершения всех проектных и испытательных работ, вышло постановление о закрытии проекта Р-27К. Такое оружие представляет собой определенный интерес для флота, однако имелся ряд характерных недостатков, которые мешали его эксплуатации.Так, ядерная боевая часть затрудняла развертывание подлодок с ракетами нового типа в свете нового договора ОСВ-2. Пассивная радиолокационная система наведения системы наведения системы наведения, обеспечивающей высокую точность управления, действует противодействие ей. Для срабатывания космического корабля было достаточно всего лишь выключить на радиолокационные средства. Наконец, к середине семидесятых годов были достигнуты значительные успехи в области крылатых противокорабельных ракет.
Целый ряд причин делал новый проект Р-27К бесполезным и бесперспективным.Из-за этого все работы по новой ракете были остановлены. Как следствие, во-морской флот не новое необычное оружие и продолжил использовать усилие системы более привычного облика.
При этом, однако, лодка К-102 с комплексом Д-5 оставалась в опытной эксплуатации до начала восьмидесятых.
Первый отечественный проект противокорабельной баллистической ракеты завершился успешным решением всех поставленных задач, но не был доведен до эксплуатации в войсках.Причиной этого стали некоторые проблемы проекта, в том числе и принципиально неустранимые. В дополнительных советских специалистах предприняли еще одну попытку создать подобное вооружение. Новой противокорабельной баллистической ракетой было создано изделие типа Р-33, основанное на конструкции ракеты Р-29.
По материалам:
http://makeyev.ru/
http://otvaga2004.ru/
http://alternathistory.com/
http://rbase.new-factoria.ru/
http: // deepstorm.ru/
Широкорад А.Б. Оружие отечественного флота. 1945-2000 гг. — Мн .: «Харвест», 2001.
Посылка из глубин. Как действует самое смертоносное оружие подлодок
https://ria.ru/20191020/1559926828.html
Посылка из глубин.
Как действует самое смертоносное оружие подлодок
Посылка из глубин. Как действует самое смертоносное оружие подлодок
Скрытные, мощные, дальнобойные — баллистические ракеты подводных лодок (БРПЛ) остаются главной ударной силой флотов ядерных держав.В США более половины всех … РИА Новости, 20.10.2019
2019-10-20T08: 00
2019-10-20T08: 00
2019-10-20T08: 06
дмитрий донской
александр невский
подводные лодки проекта 955 «борей»
безопасность
/ html / head / meta [@ name = ‘og: title’] / @ content
/ html / head / meta [@ name = ‘og: description’] / @ content
https://cdn22.img.ria.ru/images/155794/01/1557940120_0:52:1000:615_1920x0_80_0_0_2df2947c31b84e45738755a73fa3f5fc.jpg
МОСКВА, 20 окт — РИА Новости, Андрей Коц. Скрытные, мощные, дальнобойные — баллистические ракеты подводных лодок (БРПЛ) остаются главной ударной силой флотов ядерных держав. В США более половины всех стратегических боезарядов развернуты на атомных субмаринах.
Россия полагается в основном на «сухопутные» межконтинентальные ракеты, однако БРПЛ списывать тоже не спешит. О том, как развивался этот вид вооружений и почему за ним будущее, — в материале РИА Новости.Первый пускИдея размещения баллистических ракет на подводных носителях созрела в умах советских оружейников к середине 50-х.СССР и США спешно использовали новые средства доставки ядерного оружия. К тому времени еще не производили серийных межконтинентальных ракет, однако обе стороны накопили немалый опыт строительства ракет средней дальности. Новая концепция предусматривает их создание на основе субмарин, которые скрытно подходят к прибрежным неприятностям и давали сокрушительный залп.Осенью 1954-го с полигона Капустин Яркий стартовала первая морская ракета Р-11ФМ — модификация «сухопутной» Р-11.Спустя год доведенную до ума БРПЛ впервые в истории запустили с борта подводной лодки Б-67. Она пролетела всего 250 километров, но этого хватило, чтобы понять: у ядерного оружия на подлодках большое будущее.
СССР обзавелся новыми возможностями для применения ударов по территории Европы и США. У нас есть один существенный недостаток. Лодки могли стрелять ими только из надводного положения. Вдобавок много времени уходило на подготовку к старту. Это делало стратегические субмарины легкими мишенями для авиации и надводных кораблей.Первой советской ракетой с подводным стартом стала Р-21, принятая на вооружение в 1963-м. По тем временам это был настоящий прорыв. Дальность системы составляет 1300 километров при оснащении головной части мощностью в одну мегатонну и 1600 километров — с боеголовкой мощностью 800 килотонн. Инерциальная система управления улучшенными улучшенными характеристиками коэффициент вероятного отклонения в 2,8 километра. «Мокрый» против «сухого», несмотря на достойные характеристики, Р-21 значительно уступала американским ракетам «Поларис-А1» (дальность 2200 километров) и «Поларис-А2» (2800 километров), главным достоинством ракеты стала возможность пуска с глубины 40 метров. ).
Чтобы удалить отставание, потребовался новый носитель. Спустя несколько лет СССР испытал Р-27, способную забросить мегатонный ядерный заряд на расстояние до 3000 километров.Пуск осуществлялся посредством так называемого «мокрого старта». В нижней части Р-27 был специальный переходник, с помощью которого она стыковалась со стартовым столом. При подготовке происходил наддув баков, в шахту поступала вода, давление уравнивалось с забортным. Затем открывалась крышка и включился маршевый двигатель.»Мокрым стартом» отличались все отечественные жидкостные БРПЛ. Однако у этого метода есть недостатки. Заполнение шахт водой занимает время и создает акустический шум. Если субмарину преследует противолодочный корабль, он способен ее быстро запеленговать и уничтожить. Твердотопливные ракеты хороши тем, что могут выполнять «сухой старт». Они выстреливаются из шахты пороховым зарядом, а двигатель включается уже над поверхностью воды. Этот способ — более тихий и быстрый, благодаря чему шансы на успешный пуск резко возрастают.
К твердотопливным советским БРПЛ Р-31 с дальностью до 4200 километров и Р-39 (8250 километров), а также новейшая Р-30 «Булава» (9300 километров). типов баллистических ракет. Во-первых, это жидкостные двухступенчатые Р-29, имеющая последнюю оставшуюся в строю лодку проекта 667БДР «Кальмар» — К-44 «Рязань». Эти ракеты могут забросить три боевых блока по 200 килотонн на дальность 6500 километров. Во-вторых, в арсенале ВМФ остается семейство жидкостных трехступенчатых ракет Р-29РМ.Ими вооружены шесть «стратегов» проекта 667БДРМ «Дельфин» — К-51 «Верхотурье», К-84 «Екатеринбург», К-114 «Тула, К-18» Карелия «, К-407» Новомосковск «и находящийся в ремонте К -117 «Брянск». На каждой лодке — по 16 шахт. Р-29Р принял на вооружение более 30 лет назад и несколько раз модернизировали. Последняя модификация — «Синева» — улетает на 11 550 километров. мощностью 100 килотонн каждый или четыре боеголовки по 500 килотонн с аппаратурой преодоления ПРО.Наконец, самые современные стратегические атомоходы — три лодки проекта 955 «Борей» — К-535 «Юрий Долгорукий», К-550 «Александр Невский» и К-551 «Владимир Мономах» — вооружены твердотопливными баллистическими ракетами Р-30 «Булава».
Кроме того, под эту БРПЛ переоборудовали тяжелый подводный крейсер «Дмитрий Донской» — последний представитель проекта 941. Он несет 20 ракет, «Бореи» — по 16. «Булаву» ввели в строй в 2018-м после 15 лет испытаний. «доставляет шесть боевых блоков индивидуального наведения по 150 килотонн каждый.Коэффициент вероятного отклонения не выше 350 метров.К достоинствам новой БРПЛ можно отнести короткий разгонный активный участок. Считается, что именно на неметы максимально уязвимы для средств ПРО. Кроме того, «Булава» может маневрировать при разгоне, защищает ее от кинетических перехватчиков, рассчитанных на обычные баллистические траектории.
https://ria.ru/20191001/1559289386.html
https://radiosputnik.ria.ru/20191017/1559899387.html
https: // ria.ru / 201
/ 1557861229.htmlРИА Новости
7 495 645-6601
ФГУП МИА «Россия сегодня»
https: //xn--c1acbl2abdlkab1og.xn / awards /
2019
РИА Новости
internet-group@rian.
ru
7 495 645-6601
ФГУП МИА «Россия сегодня»
https: //xn--c1acbl2abdlkab1og.xn--p1ai/ награды /
Новости
ru-RU
https: // ria.ru / docs / about / copyright.html
https: //xn--c1acbl2abdlkab1og.xn--p1ai/
РИА Новости
7 495 645-6601
ФГУП МИА « Россия сегодня »
https: //xn--c1acbl2abdlkab1og.xn--p1ai/awards/
https://cdn22.img.ria.ru/images/155794/01/1557940120_57:0:945:666_1920x0_80_0_0_a148000e4000e4000e4e08e4e4e4e4e4e4e4 РИА Новости7 495 645-6601
ФГУП МИА «Россия сегодня»
https: // xn — c1acbl2abdlkab1og.xn — p1ai / awards /
РИА Новости
7 495 645-6601
ФГУП МИА «Россия сегодня»
https: //xn--c1acbl2abdlkab1og.xn--p1ai / awards /
дмитрий донской, александр невский, подводные лодки проекта 955 «борей», безопасность
МОСКВА, 20 окт — РИА Новости, Андрей Коц.
Скрытные, большие, дальнобойные — баллистические ракеты подводных лодок (БРПЛ) мощной ударной силой флотов ядерных держав.В США более половины всех стратегических боезарядов развернуты на атомных субмаринах. Россия полагается в основном на «сухопутные» межконтинентальные ракеты, однако БРПЛ списывать тоже не спешит. О том, как развивался этот вид вооружений и почему за ним будущее, — в материале РИА Новости.
Первый пуск
Идея размещения баллистических ракет на подводных носителях созрела в умах советских оружейников к середине 50-х. СССР и США спешно использовали новые средства доставки ядерного оружия.К тому времени еще не производили серийных межконтинентальных ракет, однако обе стороны накопили немалый опыт строительства ракет средней дальности. Новая концепция предусматривает создание на основе субмарин, которые скрытно подходят к прибрежью неприятеля и давали сокрушительный залп.
1 октября 2019, 08:00
Отец апокалипсиса. Самые масштабные проекты советского конструктора Козлова Осенью 1954-го с полигона Капустин Яркий стартовала первая морская ракета Р-11ФМ — модификация «сухопутной» Р-11.
Спустя год доведенную до ума БРПЛ впервые в истории запустили с борта подводной лодки Б-67. Она пролетела всего 250 километров, но этого хватило, чтобы понять: у ядерного оружия на подлодках большое будущее. СССР обзавелся новыми возможностями для применения ударов по территории Европы и США.
У ранних БРПЛ, как советских, так и американских, имелся один существенный недостаток. Лодки могли стрелять ими только из надводного положения. Вдобавок много времени уходило на подготовку к старту.Это делало стратегические субмарины легкими мишенями для авиации и надводных кораблей.
Первой советской ракетой с подводным стартом стала Р-21, принятая на вооружение в 1963-м. По тем временам это был настоящий прорыв. Дальность системы составляет 1300 километров при оснащении головной части мощностью в одну мегатонну и 1600 километров — с боеголовкой мощностью 800 килотонн. Инерциальная система управления улучшенными улучшенными характеристиками коэффициент вероятного отклонения в 2,8 километра.
Однако главным достоинством ракеты стала возможность пуска с глубины 40 метров.
«Мокрый» против «сухого»
Несмотря на достойные характеристики, Р-21 значительно уступала американским ракетам «Поларис-А1» (дальность 2200 километров) и «Поларис-А2» (2800 километров). Чтобы удалить отставание, потребовался новый носитель. Спустя несколько лет СССР испытал Р-27, способную забросить мегатонный ядерный заряд на расстоянии до 3000 километров.
17 октября 2019, 15:09
Пуски баллистических и крылатых ракет прошли на учениях «Гром-2019»Пуск осуществлялся посредством так называемого «мокрого старта».В нижней части Р-27 был специальный переходник, с помощью которого она стыковалась со стартовым столом. При подготовке происходил наддув баков, в шахту поступала вода, давление уравнивалось с забортным. Затем открывалась крышка и включился маршевый двигатель.
«Мокрым стартом» отличались все отечественные жидкостные БРПЛ. Однако у этого метода есть недостатки.
Заполнение шахт водой занимает время и создает акустический шум. Если субмарину преследует противолодочный корабль, он способен ее быстро запеленговать и уничтожить.
Твердотопливные ракеты хороши тем, которые могут выполнять «сухой старт». Они выстреливаются из шахты пороховым зарядом, а двигатель включается уже над поверхностью воды. Этот способ — более тихий и быстрый, благодаря чему шансы на успешный пуск резко возрастают. К твердотопливным советским БРПЛ Р-31 с дальностью до 4200 километров и Р-39 (8250 километров), а также новейшая Р-30 «Булава» (9300 километров).
Для «Дельфинов» и «Бореев»
Сегодня на российских атомоходах используется несколько типов баллистических ракет.
Во-первых, это жидкостные двухступенчатые Р-29Р, которая вооружена последняя оставшаяся в строю лодку проекта 667БДР «Кальмар» — К-44 «Рязань». Эти ракеты могут забросить три боевых блока по 200 килотонн на дальность 6500 километров.
Во-втором, в арсенале ВМФ остается семейство жидкостных трехступенчатых ракет Р-29РМ.
Ими вооружены шесть «стратегов» проекта 667БДРМ «Дельфин» — К-51 «Верхотурье», К-84 «Екатеринбург», К-114 «Тула, К-18» Карелия «, К-407» Новомосковск «и находящийся в ремонте К -117 «Брянск».На каждой лодке — по 16 шахт.
Р-29РМ приняли на вооружение более 30 лет назад и несколько раз модернизировали. Последняя модификация — «Синева» — улетает на 11 550 километров. Боевая часть — до десяти блоков индивидуального наведения мощностью 100 килотонн каждый или четыре боеголовки по 500 килотонн с аппаратурой преодоления ПРО.
Наконец, самые современные стратегические атомоходы — три лодки проекта 955 «Борей» — К-535 «Юрий Долгорукий», К-550 «Александр Невский» и К-551 «Владимир Мономах» — вооружены твердотопливными баллистическими ракетами Р-30 «Булава» «.Кроме того, под эту БРПЛ переоборудовали тяжелый подводный крейсер «Дмитрий Донской» — последний представитель проекта 941. Он несет 20 ракет, «Бореи» — по 16. «Булаву» ввели в строй в 2018-м после 15 лет испытаний.
«Булава» доставляет шесть боевых блоков индивидуального наведения по 150 килотонн каждый.
Коэффициент вероятного отклонения не выше 350 метров.
24 августа 2019, 13:44
Опубликовано видео пуска «Булавы» с подлодки «Юрий Долгорукий»К достоинствам новой БРПЛ можно отнести короткий разгонный активный участок.Считается, что именно на неметы максимально уязвимы для средств ПРО. Кроме того, «Булава» может маневрировать при разгоне, защищает ее от кинетических перехватчиков, рассчитанных на обычные баллистические траектории.
БАЛЛИСТИЧЕСКИЕ РАКЕТЫ ПОДВОДНЫХ ЛОДОК. Отечественное ракетное оружие
БАЛЛИСТИЧЕСКИЕ РАКЕТЫ ПОДВОДНЫХ ЛОДОК
Р -1 (МОРСКОЙ ВАРИАНТ)
В 1949 г. в ЦКБ-18 под руководством главного конструктора Ф.А.Каверина разрабатывался проект П-2 подводной лодки, которая, по замыслу конструкторов, должна быть нести 12 пусковых установок сухопутных баллистических жидкостных ракет Р-1 главного конструктора Сергея Королева, а также крылатые ракеты.На лодке были созданы специальные цистерны для хранения жидкого кислорода и установка для производства жидкого кислорода.
Запуск должен был производиться из надводного положения. В силу технических сложностей проект не был реализован. Работы прекращены в 1950 г.
Р-11ФМ
Д-1. Р-11ФМ. 8А61ФМ
Ракетный комплекс Д-1 с баллистической ракетой надводного старта для подводных лодок. Ракета создана на основе сухопутной тактической Р-11.Разработка начата 26 января 1954 г. в ОКБ-1 под руководством Сергея Королева. В августе 1955 г. разработка продолжена и завершена в ОКБ-385 (имеет — миасское КБ машиностроения) под руководством Виктора Макеева. Летно-конструкторские испытания проходили с 1955 г. по 1958 г. сначала на неподвижном стенде, затем — на качающемся стенде полигона Капустин Яр, затем — на подводной лодке в Белом море. В сентябре 1955 г. закончено переоборудование подводной лодки Б-67 по проекту В-611, в ходе которого ПЛ размещены две пусковые ракетные установки.Первый в мире старт баллистической ракеты с подводной лодки, находящейся в надводном положении, произведен 16 сентября 1955 г.
Принят на вооружение
ДЭПЛ проекта АВ-611 (Zulu V) 20 февраля 1959 г., позже — ДЭПЛ проекта 629 (Golf I) с тремя ПУ на борту. Серийное производство ракет развернуто в 1956 г. на Златоустовском машиностроительном заводе. Серийное производство пяти ДЭПЛ проекта АВ-611 начато в 1955 г. Одноступенчатая ракета надводного старта с ЖРД на хранимом высококипящем топливе.Система управления — инерци- альная. Система управления бюджетом в свердловском ОКБ-626 (НПО автоматики) под руководством главного конструктора Николая Семихатова. Управление полетом осуществлялось с помощью газоструйных рулей, стабилизация — с помощью аэродинамических стабилизаторов. Стрельба производилась с верхнего среза шахты подводной лодки. Заправка ракеты азотной кислотой непосредственно перед стрельбой. Маршевый двигатель разработан в КБ химического машиностроения под руководством Алексея Исаева.Пусковая установка под руководство Евгения Рудяка. Максимальная дальность стрельбы ракеты, оснащенной ядерной боеголовкой — 150 км.
Максимальная дальность стрельбы ракеты с облегченной неядерной боеголовкой — 250 км Стартовая масса — 5,46 т. Длина ракеты — 10,3 м. Максимальный диаметр корпуса — 0,88 м. Масса полезной нагрузки — 0,98 т. Мощность ядерного боеприпаса моноблочной ГЧ — 10 кт. Комплекс Д-1 снят с вооружения в 1967 г.
Пуск Р-11ФМ
Р-13
Д-2.Р-13. 4К50 [СС-Н-4. САРК]
Ракетный комплекс Д-2 с баллистической ракетой надводного старта для подводных лодок. Первый отечественный комплекс, созданный специально для подводных лодок. Работа над эскизным проектом начата 25 августа 1955 г. в ОКБ-1 под руководством Сергея Королева. Тактико-техническое задание на комплекс Д-2 утверждено 11 января 1956 г. В 1956 г. разработка передана в миасское КБ машиностроения (главный конструктор — Виктор Макеев). Для комплекса Д-2 под руководством главного конструктора КБ-1 ЦКБ-34 Евгения Рудяка затворная установка СМ-60 для старта ракет Р-11ФМ и Р-13 с ДЭПЛ, находящейся в надводном положении.
Установка принята на вооружение также для первых АПЛ с ракетами Р-13. Летно-конструкторские испытания проходили с декабря 1958 г. по 1960 г. сначала на полигоне Капустин Яр, затем — на Белом море. Испытания на подводной лодке проводились с ноября 1959 г. по август 1960 г. Принят на вооружение ДЭПЛ проекта 629 (Golf I) в 1960 г., позже — АПЛ проекта 658 (Hotel I) с тремя ПУ на борту. Серийное производство ракет развернуто на Златоустовском машиностроительном заводе в 1959 г. Одноступенчатая ракета надводного старта с ЖРД на хранимом высококипящем топливе.
Система управления — инерциальная. Система управления бюджетом в свердловском ОКБ-626 (НПО автоматики) под руководством главного конструктора Николая Семихатова. Ракета предназначена для стрельбы с верхнего с шахты ПЛ. Имеет отделяемую ГЧ. В конструкции применены самовоспламеняющиеся компоненты топлива, турбонасосная подача, управление в полете осуществляется качающимися камерами рулевого ЖРД. Заправка ракеты азотной кислотой непосредственно перед стрельбой.
Маршевый двигатель разработан в КБ химического машиностроения под руководством Алексея Исаева.Комплекс наземного оборудования разработан в московском КБ транспортного машиностроения под руководством Владимира Петрова.
Максимальная дальность стрельбы — 560 км. Стартовая масса — 13,6 т. Длина ракеты — 11,8 м. Максимальный диаметр корпуса — 1,3 м. Масса полезной нагрузки — 1,6 т. Мощность ядерного боеприпаса моноблочной ГЧ — 1 Мт. Срок хранения ракеты в состоянии боеготовности — 3-6 месяцев. Гарантийный срок хранения ракеты 5-7 лет. На основе Р-13 разрабатывался проект авиационной противокорабельной ракеты для вооружения стратегических бомбардировщиков.В 1960 г. разработка прекращена. 20 октября 1961 г. произведен пуск ракеты Р-13 с последующим ядерным взрывом на полигоне Новая Земля. Это — первый и единственный в истории страны испытательный пуск баллистической ракеты подводных лодок с ядерным взрывом.
В 1963-1967 гг. семь восьми построенных ПЛ проекта 658 с ракетными комплексами Д-2 были переоборудованы в ПЛ проекта 658М с ракетными комплексами Д-4.
В 1969 г. началось переоборудование последней, восьмой ПЛ пр. 658 с ракетным комплексом Д-2 в ПЛ пр.701 для испытаний ракет Р-29.
К 1979 г. все ПЛ пр. 629 с ракетными комплексами Д-2 выведены из боевого состава флота.
Д-4. Р-21. (ВАРИАНТ 1). 4К55 [СС-Н-5. СЕРБ]
Комплекс Д-4 с ракетой Р-21 для подводного старта ракеты на маршевом двигателе из затопленной шахты ПЛ. Первый отечественный морской комплекс подводного старта. Разработка в миасском КБ машиностроения под руководством Виктора Макеева начата 13 мая 1959 г. (разработка этого комплекса 3 декабря 1958 г.поручена КБ «Южное», однако 13 мая 1959 г. решением КБ «Южное правительство» от разработки ракет для ВМФ). Предварительные испытания возможности осуществления подводного старта были проведены с использованием доработанной ракеты Р-11ФМ в 1956-1960 гг. Летно-конструкторские испытания ракеты Р-21 проходили с 1960 г. по 1962 г. Первый пуск ракеты из подводного положения ДЭПЛ произведен 24 февраля 1962 г. Всего в ходе испытаний произведено 27 пусков ракет.
Для испытаний использовалась ДЭПЛ проекта 629Б.Комплекс принятого вооружения ДЭПЛ проекта 629А (Golf II) и АПЛ проекта 658М (Hotel II) с тремя ПУ на борту в двух вариантах в 1963 г. Серийное производство развернуто на Златоустовском машиностроительном заводе. Стартовая установка СМ-87 введение под руководством главного конструктора Евгения Рудяка. После принятия на вооружение старые установки СМ- 60 были заменены на подлодках новыми — СМ-87. Одноступенчатая ракета подводного старта с ЖРД на хранимом высококипящем топливе. Система управления — инерциальная.Система управления бюджетом в свердловском ОКБ-626 (НПО автоматики) под руководством главного конструктора Николая Семихатова. Маршевый двигатель разработан в КБ химического машиностроения под руководством Алексея Исаева. Комплекс наземного оборудования разработан в московском КБ транспортного машиностроения под руководством Владимира Петрова.
Пусковая установка установки в ЦКБ-34 под руководством Евгения Рудяка. Первый вариант имел максимальную дальность стрельбы — 1420 км.
Стартовая масса — 16,6 т.Масса ББ — 1,2 т. Длина ракеты — 14,2 м. Максимальный диаметр корпуса — 1,3 м. Мощность ядерного боеприпаса моноблочной ГЧ — 1 Мт. Стрельба велась из шахты, созданной водой (так называемый, «мокрый старт») с глубиной 40–50 м, при волнении моря до 5 баллов и скорости хода ПЛ до 4 узлов. В процессе эксплуатации срок хранения заправленной ракеты был увеличен с 6 месяцев до 2 лет.
ПЛ проекта 629А с ракетным комплексом Д-4 выведены из боевого состава флота в 1990 г.
ПЛ проекта 658М с ракетами Р-21 выведены из состава флота к 1991 г.
Р-21
Д-4. Р-21 (ВАРИАНТ 2). 4К55 [СС-Н-5. SERB]
Ракетный комплекс Д-4 с баллистической ракетой подводного старта для подводных лодок. Вариант с увеличенной дальностью полета. Разработка в миасском КБ машиностроения под руководством Виктора Макеева начата в 1959 г. Летно- конструкторские испытания проходили с 1960 г. по 1962 г. Принят на вооружение ДЭПЛ проекта 629А (Golf II) и АПЛ проекта 658М (Hotel II) с тремя ПУ на борту в двух вариантах в 1963 г.
Серийное производство развернуто на Златоустовском машиностроительном заводе. Для комплекса Д-4 с ракетой Р-21 для подводного старта ракеты на маршевом двигателе бюджет под руководством главного конструктора Рудяка стартовая установка СМ-87. После принятия на вооружение старые установки СМ-60 были заменены на подлодках новыми — СМ-87.
Одноступенчатая ракета подводного старта с ЖРД на хранимом высококипящем топливе. Система управления — инерци- альная. Система управления бюджетом в свердловском ОКБ-626 (НПО автоматики) под руководством главного конструктора Николая Семихатова.Маршевый двигатель разработан в КБ химического машиностроения под руководством
Алексея Исаева. Пусковая установка под руководство Евгения Рудяка. Комплекс наземного оборудования разработан в московском КБ транспортного машиностроения под руководством Владимира Петрова. Максимальная дальность стрельбы — 1600 км. Стартовая масса — 19,7 т. Длина ракеты — 14,2 м. Максимальный диаметр корпуса — 1,3 м. Мощность ядерного боеприпаса моноблочной ГЧ — 0,8 Мт.
Стрельба велась с глубиной 40-50 м, при волнении моря до 5 баллов и скорости хода ПЛ до 4 узлов.ПЛ проекта 629А с ракетным комплексом Д-4 выведены из боевого состава флота в 1990 г.
ПЛ проекта 658М с ракетами Р-21 выведены из состава флота к 1991 г.
Р-27
Д-5. Р-27 (РСМ-25). 4К10 [СС-Н-6. SAWFLY]
Ракетный комплекс Д-5 с баллистической ракетой подводного старта для подводных лодок. Первая морская баллистическая ракета средней дальности. Разработка в миасском КБ машиностроения под руководством Виктора Макеева начата 24 апреля 1962 г.Для комплекса в МБМ «Малахит» разработана скоростная атомная подводная лодка проекта 687 (705Б). Однако разработка была прекращена. В это же время в МБМ «Малахит» начата разработка АПЛ проекта 679 (671Б). Этот проект также был прекращен. Испытания проходили в 1966-1967 гг. Первый пуск ракеты с подводной лодки произведен в августе 1967 г. Комплекс принятого вооружения АПЛ проекта 667А «Навага» (Yankee I) с шестнадцатью ПУ на борту 13 марта 1968 г.
АПЛ проекта 667А могла вести стрельбу двумя залпами из восьми ракет.Серийное производство ракет развернуто в 1967 г. на Красноярском машиностроительном заводе.
Одноступенчатая малогабаритная ракета подводного старта с ЖРД на хранимом высококипящем топливе (азотный тет-раксид и диметилгидразин). Ампулизация проходила на заводе-изготовителе. Имеет инерциапьную СУ. Система управления бюджетом в свердловском ОКБ-626 (НПО автоматики) под руководством главного конструктора Николая Семихатова. В конструкции ракеты впервые применены цельносварной корпус с двигателем в алюминиевом топливном баке (так называемая «утопленная» схема), нагруженные наружным давлением детали, резинометаллические амортизаторы; элементы стартовой конструкции размещены на самой ракете, управление предстартовой подготовкой и залповой стрельбой автоматизировано, элементы СУ размещены на гиростабилизированной платформе.
Маршевый двигатель разработан в КБ химического машиностроения под руководством Алексея Исаева.
Пусковая установка под руководство Евгения Рудяка. Комплекс наземного оборудования разработан в московском КБ транспортного машиностроения под руководством Всеволода Соловьева. Максимальная дальность стрельбы — 2400 км. Стартовая масса — 14,2 т. Максимальная забрасываемая масса — 0,65 т. Длина ракеты — 9 м. Максимальный диаметр корпуса — 1,5 м. Мощность ядерного боеприпаса моноблочной ГЧ — 1 Мт.Стрельба ведется из начальной затопленной шахты с глубины 40-50 м, при волнении моря до 5 баллов и скорости ПЛ 4 узла. В 1969 г. впервые началось непрерывное патрулирование в Атлантическом океане советских АПЛ проекта 667А с ядерными ракетами Р-27 на борту.
За время эксплуатации ракет Р-27 различных модификацийный срок был увеличен с пяти гарантийный срок до тринадцати лет. На основе БРПЛ Р-27 космическая ракета-носитель «Зыбь».
С 1988 по 1994 год все ПЛ проектов 667А и 667АУ выведены из боевого состава.
Д-5У. Р-27У (ВАРИАНТ 1) (РСМ-25) [SS-N-6. SAWFLY]
Ракетный комплекс Д-5У с модернизированной баллистической ракетой подводного старта увеличенной дальности полета для подводных лодок.
Ракета имеет двигатель с увеличенной тягой и усовершенствованной СУ. Разработка в миасском КБ машиностроения под руководством Виктора Макеева начата 10 июня 1971 г. Летно-конструкторские испытания проходили с сентября 1972 г. по август 1973 г. Принят на вооружение АПЛ проекта 667А и 667АУ «Навага» (Yankee I) с шестнадцатью ПУ на борту 4 января 1974 г.в двух вариантах. АПЛ проекта 667АУ могла вести стрельбу двумя залпами из восьми ракет. Серийное производство развернуто на Красноярском машиностроительном заводе. Одноступенчатая ракета подводного старта с ЖРД на хранимом высококипящем топливе. Имеет инерциальную СУ. Система управления бюджетом в свердловском ОКБ-626 (НПО автоматики) под руководством главного конструктора Николая Семихатова. Маршевый двигатель разработан в КБ химического машиностроения под руководством Алексея Исаева.Пусковая установка под руководство Евгения Рудяка. Комплекс наземного оборудования разработан в московском КБ транспортного машиностроения под руководством Всеволода Соловьева.
Максимальная дальность стрельбы — 3000 км. Стартовая масса — 14,2 т. Длина ракеты — 9 м. Максимальный диаметр корпуса — 1,5 м. Мощность ядерного боеприпаса моноблочной ГЧ — 1 Мт.
С 1988 по 1994 год все ПЛ проектов 667А и 667АУ выведены из боевого состава.
Д-5У. Р-27У (ВАРИАНТ 2) (РСМ-25) [SS-N-6.SAWFLY]
Ракетный комплекс Д-5У с баллистической ракетой подводного старта для подводных лодок, впервые оснащенной разделяющейся ГЧ кассетного типа. Ракета имеет двигатель с увеличенной тягой и усовершенствованной СУ. Разработка в миасском КБ машиностроения под руководством Виктора Макеева начата 10 июня 1971 г. Летно-конструкторские испытания проходили с сентября 1972 г. по август 1973 г. Принят на вооружение АПЛ проекта 667А и 667АУ «Навага» (Yankee I) с шестнадцатью ПУ на борту 4 января 1974 г.в двух вариантах. АПЛ проекта 667АУ могла вести стрельбу двумя залпами из восьми ракет. Серийное производство развернуто на Красноярском машиностроительном заводе. Одноступенчатая ракета подводного старта с ЖРД на хранимом высококипящем топливе.
Имеет инерциальную СУ.
Система управления бюджетом в свердловском ОКБ-626 (НПО автоматики) под руководством конструктора Николая Семихатова. Маршевый двигатель разработан в КБ химического машиностроения под руководством Алексея Исаева.Пусковая установка под руководство Евгения Рудяка. Комплекс наземного оборудования разработан в московском КБ транспортного машиностроения под руководством Всеволода Соловьева. Максимальная дальность стрельбы — 3000 км. Стартовая масса — 14,2 т. Длина ракеты — 9 м. Максимальный диаметр корпуса — 1,5 м. РГЧ оснащена тремя боевыми блоками мощностью ядерного боеприпаса 0,2 Мт. ГЧ не имеет общего головного обтекателя. С 1988 по 1994 год все ПЛ проектов 667А и 667АУ выведены из боевого состава.
Д-5. Р-27К. 4К18 [SS-NX-13]
Ракетный комплекс Д-5 с баллистической ракетой Р-27К для подводных лодок. Разработка начата 24 апреля 1962 г. в миасском КБ машиностроения под руководством Виктора Макеева. Проект предусматривает использование двух ракет: Р-27 для стрельбы по наземным целям и Р-27К для стрельбы по корабельным соединениемм и авианосным ударным группам группам.
Серийное производство развернуто на Красноярском машиностроительном заводе. Двухступенчатая баллистическая ракета Р-27К с моноблочной ГЧ прошла летно-конструкторские испытания и в 1974 г.принята в опытную эксплуатацию. Ракета имела системы визирования цели и самонаведения и была предназначена для борьбы с корабельными ударными группами. ПУ с четырьмя ракетами Р-27К были размещены на одной опытной ДЭПЛ «К-102» проекта 605, переоборудованной из подводной лодки проекта 629. Это единственный в мире морской противокорабельный комплекс с баллистической ракетой. За время эксплуатации ракеты с 1968 по 1988 г. было произведено 492 пуска ракет, из которых 429 пусков были успешными. Стартовая масса — 13,25 т.Максимальная дальность стрельбы — 900 км. Длина ракеты — 9 м. Диаметр корпуса — 1,5 м.
Загрузка ракеты Р-29 в шахту ПЛ
Д-9. Р-29 (РСМ-40). 4К75 [SS-N-8]
Ракетный комплекс Д-9 с баллистической ракетой подводного старта для подводных лодок. Первая отечественная морская межконтинентальная баллистическая ракета.
Впервые оснащена комплексом средств преодоления ПРОП. Разработка в миасском КБ машиностроения под руководством Виктора Макеева начата 28 сентября 1964 г.В 1964 г. в московском КБ транспортного машиностроения под руководством Всеволода Соловьева начата разработка наземного оборудования ракеты. Для ее летной отработки впервые на полигоне ВМФ в Северодвинске был создан наземный стартовый комплекс с корабельной шахтной программой, первый пуск с которого состоялся в феврале 1968 г. Первый этап летно-конструкторских испытаний проходил с марта 1969 г. по декабрь 1971 г. Первый пуск с подводной лодки произведен 15 декабря 1971 г. Испытания продолжены в августе — ноябре 1972 г.После 47 испытательных пусков комплекс проекта 667Б «Мурена» (Delta I) с двенадцатью ПУ на борту 12 марта 1974 г. Стрельба осуществляется одним залпом. Серийное производство развернуто на Красноярском машиностроительном заводе.
Двухступенчатая ампулизированная межконтинентальная баллистическая ракета подводного старта с ЖРД на хранимом высококипящем топливе.
Имеет систему астрокоррекции траектории полета. Система управления бюджетом в свердловском ОКБ-626 (НПО автоматики) под руководством главного конструктора Николая Семихатова.Маршевые двигатели разработаны в КБ химического машиностроения под руководством Алексея Исаева и В.Богомолова. Двигательные установки первой и второй ступеней состояли из однокамерных маршевых ЖРД и двухкамерных рулевых ЖРД с кача своими камерами. Максимальная дальность стрельбы — 7800 км. Стартовая масса — 33,3 т. Длина ракеты — 13 м. Максимальный диаметр корпуса — 1,8 м. Масса полезной нагрузки — 1,1 т. Мощность ядерного боеприпаса моноблочной ГЧ — 1,5 Мт.
3 июля 1981 г. произведен первый пуск Р-29 в Арктике после всплытия подводной лодки из-подо льда.На основе БРПЛ Р-29 космическая ракета-носитель «Высота».
Вывод АПЛ пр. 667Б из состава флота начался в 1994 г.
Р-29Р
Р-29У
Д-9Д. Р-29У (РСМ-40) [SS-N-8]
Ракетный комплекс Д-9Д с модернизированной баллистической ракетой увеличенной дальности полета подводного старта для подводных лодок.
Ракета оснащена комплексом преодоления ПРО. Комплекс разработан в миасском КБ машиностроения под руководством Виктора Макеева.Принят на вооружение АПЛ проекта 667БД «Мурена-М» (Delta II) с шестнадцатью ПУ на борту в 1978 г. Стрельбы осуществляется двумя залпами по двенадцать ракет и четыре ракеты. Серийное производство развернуто на Красноярском машиностроительном заводе.
Двухступенчатая межконтинентальная баллистическая ракета подводного старта с ЖРД на хранимом высококипящем топливе. Оснащена системой астрокоррекции траектории полета. Система управления бюджетом в свердловском ОКБ- 626 (НПО автоматики) под руководством главного конструктора Николая Семихатова.Маршевые двигатели разработаны в КБ химического машиностроения под руководством Алексея Исаева и В.Богомолова.
Максимальная дальность стрельбы — 9100 км. Стартовая масса — 33,3 т. Длина ракеты — 13 м. Максимальный диаметр корпуса — 1,8 м. Масса полезной нагрузки — 1,1 т. Мощность ядерного боеприпаса моноблочной ГЧ — 0,8 Мт.
В 1996 г. первая АПЛ пр. 667Б выведена из боевого состава флота и ликвидирована.
Подготовка и загрузка ракеты Р-29Р для испытаний с наземной ПУ
Д-9Р.Р-29Р (РСМ-50). 3М40 [СС-Н-18. СТИНГРЕЙ]
Ракетный комплекс Д-9Р с межконтинентальной баллистической ракетой подводного старта для подводных лодок. Разработка в миасском КБ машиностроения под руководством Виктора Макеева начата в 1973 г. В этом же г. в московском КБ транспортного машиностроения под руководством Всеволода Соловьева начата разработка наземного стартового комплекса для испытаний и комплекса наземного оборудования ракеты, позже разработан герметичный ракетный контейнер 3Ф40К.Всего наземный стартовый комплекс обеспечил подготовку и пуск 46 ракет. Летно-конструкторские испытания проходили с 1976 г. по 1977 г. В ракеты ходе ЛКИ запущены 22. Комплекс принятого вооружения АПЛ проекта 667БДР «Кальмар» (Delta III) с шестнадцатью ПУ на борту в августе
1977 г. Серийное производство развернуто на Красноярском машиностроительном заводе.
Двухступенчатая межконтинентальная баллистическая ракета подводного старта с ЖРД на хранимом высококипящем топливе.Имеет астроинерциальную СУ. Система управления бюджетом в свердловском ОКБ-626 (НПО автоматики) под руководством главного конструктора Николая Семихатова. Маршевые двигатели разработаны в КБ химического машиностроения под руководством Алексея Исаева и В.Богомолова. Максимальная дальность стрельбы — 8000 км (по некоторым источникам — 6500 км). Стартовая масса — 35,3 т. Длина ракеты — 14,1 м. Максимальный диаметр корпуса — 1,8 м. Масса полезной нагрузки — 1,65 т. Мощность ядерного боеприпаса моноблочной ГЧ — 0,55 Мт.
На основе БРПЛ Р-29Р привлечение космической ракета-носитель «Волна».
Комплекс находится на вооружении.
Д-9РЛ. Р-29РЛ (РСМ-50) [SS-N-18. СТИНГРЕЙ]
Ракетный комплекс Д-9РЛ с межконтинентальной баллистической ракетой подводного старта для подводных лодок. Первая отечественная БРПЛ, оснащенная РГЧ индивидуального наведения на цель. Разработка в миасском КБ машиностроения под руководством Виктора Макеева начата в 1973 г. Летно-конструкторские испытания проходили с 1976 г.по 1978 г. Принят на вооружение АПЛ проекта 667БДР «Кальмар» (Delta III) с шестнадцатью ПУ на борту в 1979 г. Серийное производство развернуто на Красноярском машиностроительном заводе.
Двухступенчатая межконтинентальная баллистическая ракета подводного старта с ЖРД на хранимом высококипящем топливе. Имеет астроинерциальную СУ. Система управления бюджетом в свердловском ОКБ-626 (НПО автоматики) под руководством главного конструктора Николая Семихатова. Маршевые двигатели разработаны в КБ химического машиностроения под руководством Алексея Исаева и В.Богомолова. Двигательная установка боевой ступени разведения — четырехкамерный ЖРД.
Максимальная дальность стрельбы — 6500 км. Стартовая масса — 35,3 т. Длина ракеты — 14,1 м. Максимальный диаметр корпуса — 1,8 м. Масса полезной нагрузки — 1,65 т. Разделяющаяся ГЧ оснащена тремя боевыми блоками индивидуального наведения на цель ядерного ядерного боеприпаса 0,2 Мт. Комплекс находится на вооружении.
Д-9К. Р-29К (РСМ-50) [SS-N-18. СТИНГРЕЙ]
Ракетный комплекс Д-9К с межконтинентальной баллистической ракетой подводного старта для подводных лодок.Ракета оснащена РГЧ индивидуального наведения на цель. Разработка в миасском КБ машиностроения под руководством Виктора Макеева начата в 1973 г. Летно-конструкторские испытания проходили с 1976 г. по 1978 г. Принят на вооружение АПЛ проекта 667БДР «Кальмар» (Delta III) с шестнадцатью ПУ на борту в 1982 г. Одна АПЛ способ осуществить обстрел 112 целей одним залпом.
Двухступенчатая межконтинентальная баллистическая ракета подводного старта с ЖРД на хранимом высококипящем топливе. Имеет астроинерциальную СУ.Система управления бюджетом в свердловском ОКБ-626 (НПО автоматики) под руководством главного конструктора Николая Семихатова. Маршевые двигатели разработаны в КБ химического машиностроения под руководством Алексея Исаева и В.Богомолова. Двигательная установка боевой ступени разведения — четырехкамерный ЖРД.
Максимальная дальность стрельбы — 6400 км. Стартовая масса — 35,3 т. Длина ракеты — 14,1 м. Максимальный диаметр корпуса — 1,8 м. Масса полезной нагрузки — 1,65 т. Разделяющаяся ГЧ оснащена семью боевыми блоками индивидуального наведения на цель ядерного ядерного боеприпаса 0,1 Мт.
Р-39
Д-19. Р-39 (РСМ-52). 3М65 [СС-Н-20. ОСЕТР]
Ракетный комплекс Д-19 с межконтинентальной баллистической ракетой подводно-надводного старта для подводных лодок. Первая отечественная твердотопливная межконтинентальная БРПЛ. Оснащена РГЧ индивидуального наведения на цель. Разработка в миасском КБ машиностроения под руководством Виктора Макеева начата в 1971 г. Разработка системы «Тайфун» начата в 1973 г.
В 1973 г.в московском КБ транспортного машиностроения под руководством Всеволода Соловьева начата разработка наземного оборудования для обеспечения летной отработки и ракеты. Учитывая то, что габаритно-весовые характеристики ракеты имели очень большие отличия от всех существовавших погрузчиков, было решено разработать вариант транспортных прохождения ракеты от завода-изготовителя до причала с исключением крановых перегрузочных операций. Разрабатывались: комплекс брос- ковых испытаний (КБИ), наземный стартовый комплекс (НСК), комплекс наземного оборудования (КНО), комплекс средств погрузки ракет (КСПР), проекты ракетно-техничес- ких баз флота (РТБФ).За два г. рак эксплуатации КБИ обеспечил испытания с проведением 20 пусков. Первая ступень БРПЛ Р-39 унифицирована с первой ступенью МБР РТ-23 конструктора Михаила Янгеля. Разработка двигателя первой ступени морской ракеты Р-39 (стартовая масса — 52,8 т, длина — 9,5 м, диаметр корпуса — 2,4 м) была возложена на КБ «Южное» в сентябре 1973 г. Огневые испытания двигателя 3Д65 в составе ракеты были начаты в 9 сентября 1980 г .. Летные испытания ракеты с подводной лодки начаты в декабре 1981 г.. Серийное производство первых ступеней ракет РТ-23 и Р-39 развернуто на Павлоградском механическом заводе.
Комплекс принят на вооружение АПЛ проекта 941 «Акула» (Тайфун) с двадцатью ПУ на борту в мае 1983 г. Одна АПЛ способ осуществить обстрел 200 целей одним залпом. Старт ракет обеспечивается пороховым аккумулятором давления из «сухих» шахт, что дает возможность вести стрельбу с АПЛ находящейся в подводном, так и в надводном положении.
Трехступенчатая межконтинентальная баллистическая ракета с РДТТ.Двигатели второй и третьей ступеней имеют выдвижные сопловые насадки. Имеет астроинерциальную СУ. Система управления бюджетом в свердловском ОКБ-626 (НПО автоматики) под руководством главного конструктора Николая Семихатова. Элементы пусковой установки размещены на ракете. Управление полетом ракеты на участке работы первой ступени осуществляется вдува газов из камеры маршевого двигателя в закритическую часть сопла. Максимальная дальность стрельбы — 8300 км. Масса ракеты с элементами ПУ- 90 т.Стартовая масса ракеты — 84 т. Длина ракеты — 16 м. Максимальный диаметр корпуса — 2,4 м. Масса полезной нагрузки — 2,55 т. Разделяющаяся ГЧ оснащена десятью боевыми блоками индивидуального наведения на цель ядерного ядерного боеприпаса 0,1 Мт. Склад ракет находится в Неноксе.
С марта 1996 г. по декабрь 1997 г. методом пуска с подводной лодки ликвидировано 40 ракет Р-39. На основе БРПЛ Р-39 космическая ракета-носитель «Риф-М».
Комплекс находится на вооружении.
Д-19. Р-39 МОДЕРНИЗИРОВАННАЯ (РСМ- 52). [SS-N-20. ОСЕТР]
Ракетный комплекс Д-19 с межконтинентальной баллистической ракетой подводно-надводного старта для подводных лодок. Усовершенствованный вариант БРПЛ Р-39. Оснащена РГЧ индивидуального наведения на цель. Разработка в миасском КБ машиностроения под руководством Игоря Величко начата в 1985 г. В 1992 г. завершен этап бросковых испытаний. До 1997 г. с помощью наземного оборудования пущено 12 ракет.
Испытания ракеты остановлены.
Р-29РМ
Д-9РМ. Р-29РМ (РСМ-54). 3М37 [СС-Н-23. СКИФФ]
Ракетный комплекс Д-9РМ с межконтинентальной баллистической ракетой для подводных лодок. Ракета оснащена РГЧ индивидуального наведения на цель. Может для установки малоразмерных объектов. Разработка в миасском КБ машиностроения под руководством Виктора Макеева начата в 1979 г. Разработка продолжена под руководством Игоря Величко. Комплекс бросковых испытаний (КБИ), наземный стартовый комплекс (НСК) и комплекс наземного оборудования (КНО) разработан в московском КБ транспортного машиностроения под руководством Всеволода Соловьева.В 1981-1982 гг. КБИ обеспечил бросковые испытания ракеты с проведением 9 пусков. С 1983 по 1984 г. НСК обеспечил подготовку и проведение пусков 16 ракет. На этапе совместных испытаний с подводной лодкой пущено 18 ракет. Комплекс в двух вариантах принятого на вооружение АПЛ проекта 667БДРМ «Дельфин» (Delta IV) с шестью ПУ на борту в 1986 г. Ракеты первого варианта РГЧ с десятью боевыми блоками. Ракеты второго варианта РГЧ с четырьмя боевыми блоками. Серийное производство развернуто на Красноярском машиностроительном заводе.
Трехступенчатая межконтинентальная баллистическая ракета с ЖРД на хранимом высококипящем топливе. В системе управления применены астрокоррекция и коррекция траектории полета по навигационным спутникам. Система управления бюджетом в свердловском ОКБ-626 (НПО автоматики) под руководством главного конструктора Николая Семихатова. ДУ первой ступени имеет 4 рулевых камеры. Третья ступень и боевая ступень ракеты имеют общие топливные баки и единый блок с двигательной установкой. Ракета имеет увеличенный размер зоны разведения боевых блоков.Маршевые двигатели разработаны в КБ химического машиностроения под руководством В.Богомолова. Максимальная дальность стрельбы — 8300 км. Стартовая масса — 40,3 т. Длина ракеты — 14,8 м. Максимальный диаметр корпуса — 1,9 м. Масса полезной нагрузки — 2,8 т. Разделяющаяся ГЧ оснащена десятью или четырьмя боевыми блоками индивидуального наведения на цель ядерного боеприпаса 0,1 Мт. На вооружение принята модификация, оснащенная четырьмя боевыми блоками. Подводный старт ракет осуществляется с глубиной 55 м при волнении моря 6-7 баллов и скорости АПЛ до 6 узлов.Весь боекомплект выпускается одним залпом.
С 1988 г. проведена модернизация ракеты. В ходе модернизации ракета оснащена усовершенствованными боевыми блоками, обеспечена возможность пуска по настольной траектории, повышена стойкость к поражающим факторам ядерного взрыва.
На основе БРПЛ Р-29РМ разработаны космические ракеты- носители «Штиль-2», «Штиль-3» и их модификации. Комплекс находится на вооружении.
Р-29РМ
Р-39
Р-31
«БАРК» (РСМ-56) [SS-NX-28]
Разработка ракетного комплекса начата в Государственном ракетном центре »КБ имени академика В.П.Макеева «под руководством генерального конструктора Игоря Величко в 1986 г. Трехступенчатая межконтинентальная твердотопливная БРПЛ является дальнейшим развитием ракеты Р-39». «в Северодвинске с ноября 1996 г., а также переоснащены подводные лодки» Тайфун «. Летные испытания начаты в 1996 г. 19 ноября 1997 г. на Центральном морском ракетном полигоне в Неноксе произведен третий испытательный пуск ракеты, который закончился неудачно.
Д-6
Проект ракетного комплекса Д-6 с твердотопливной баллистической ракетой для подводных лодок. Разработка в ЦКБ-7 завода «Арсенал» под руководством Петра Тюрина начата в 1958 г. Предполагалось создание ракеты на баллиститном порохе. Комплекс наземного оборудования разрабатывался в московском КБ транспортного машиностроения под руководством Владимира Петрова. В апреле 1961 г. разработка ракетного комплекса прекращена в связи с началом разработки перспективной ракеты РТ-15 на твердом смесевом топливе.
Д-7. РТ-15М. 4К22
Параллельно с сухопутной баллистической ракетой средней дальности РТ-15 в ЦКБ-7 завода «Арсенал» под руководством главного конструктора Петра Тюрина, в соответствии с постановлением правительства от 4 апреля 1961 г., велась разработка твердотопливной баллистической ракеты на смесевом топливе подводного старта для подводных лодок РТ-15М комплекса Д-7. Разработка осуществлялась на основе второй и третьей ступеней МБР РТ-2. Предполагалось вооружить этим ракетами АПЛ проекта 667А, разработка которого велась в ЦКБ-18.Для испытаний комплекса было переоборудовано опытная подводная лодка проекта 613. Проектная дальность стрельбы — 2400 км. Длина ракеты — 10,5 м. Максимальный диаметр корпуса — 1,5 м. Стартовая масса — 50 т. Испытания сухопутной РТ-15 затянулись, проект морской РТ- 15Марел. В 1968 г. было принято решение о прекращении проекта РТ-15М и начало нового проекта Р-31. Ракета РТ-15М на вооружение не принималась.
Д-11. Р-31 (РСМ-45). 3М17 [SS-N-17]
Ракетный комплекс Д-11 с баллистической ракетой подводного старта для подводных лодок.Первая отечественная твердотопливная БРПЛ. Разработка в ЦКБ-7 завода «Арсенал» под руководством Петра Тюрина начата в 1971 г. (по другим данным, в 1970 г.). Летно-конструкторские испытания проходили с 1973 г. по 1979 г. Первый подводный пуск состоялся 26 декабря 1976 г. Комплекс применен в опытной эксплуатации АПЛ проекта 667АМ «Навага-М» (Yankee II) с двенадцатью ПУ на борту в 1980 г. Это — модернизированная АПЛ проекта 667А. В 1969-1971 гг. разрабатывался проект АПЛ, вооруженной шестнадцатью ракетами Р-31, но развития этот проект не получил.
Двухступенчатая баллистическая ракета с РДТТ на смесевом топливе. Впервые старт ракетой был обеспечен пороховым аккумулятором давления из «сухих» шахт без предварительного заполнения их водой. Старт производился с помощью порохового аккумулятора давления, маршевый двигатель запускался после выхода ракеты из воды. Это позволяет сократить время подготовки к старту и снизить уровень шума подводной лодки во время подготовки к пуску. Комплекс наземного оборудования разработан в московском КБ транспортного машиностроения под руководством Всеволода Соловьева.
Максимальная дальность стрельбы — 3900 км. Стартовая масса — 26,9 т. Длина ракеты — 11,06 м. Максимальный диаметр корпуса — 1,54 м. Масса полезной нагрузки — 0,45 т. Мощность ядерного боеприпаса моноблочной ГЧ — 0,5 Мт. Стрельба могла осуществляться с глубины до 50 м. Выход всех ракет из ПУ осуществлялся в течение одной минуты. Комплекс Д-19 с ракетой Р-31 не получил распространения. В качестве носителя на флоте использовалась единственная АПЛ К-140.
Снят с вооружения в 1990 г.
Д-3. Р-15
Проект комплекса Д-3 с баллистической ракетой подводного старта для подводных лодок. Постановлением правительства от 17 августа 1956 г. разработка проекта ракеты возложена на КБ «Южное» (главный конструктор — Михаил Янгель). Эскизный проект ракеты разработан в сентябре 1957 г. Ракета должна была иметь дальность стрельбы 1000 км., Три ПУ были размещены на подводных лодках проекта 639, разработка которого началась в МБМ «Малахит» август 1956 г.
3 декабря 1958 г.разработка проекта комплекса прекращена.
БРПЛ Московского института теплотехники
Разработка ракетного комплекса для Военно-морского флота начата в Государственном предприятии «Московский институт теплотехники» под руководством генерального конструктора Юрия Соломонова.
Трехступенчатая межконтинентальная БРПЛ с двигателями на твердом смесевом топливе и РГЧ ИН. Предполагается, что ракетами будет оснащена головная АПЛ «Юрий Долгорукий» проекта 955 «Борей» (12 БРПЛ на борту), строительство которой ведет ПО «Севмашпредприятие» в Северодвинске с ноября 1996 г.
.
Указ. соч. — С. 88.
Указ. соч. — С. 86.
Указ. соч. — С. 278.
Указ. соч. — С. 102.
Проверено 19 декабря 2009. Архивировано из первоисточника 29 января 2011.
Ракетный двигатель направленного действия Ракетный двигатель на
Эффективная дальность поражения цели на той же высоте: от 2 до 42,5 км лобовым, от 0,7 до 7,5 км хвостовым. Максимальная дальность: 73 км. Максимально допустимое вертикальное разделение между целью и стартовой платформой: +/- 10 км.
Максимальная дальность: 117 км. Максимально допустимое вертикальное разделение: 12 км.